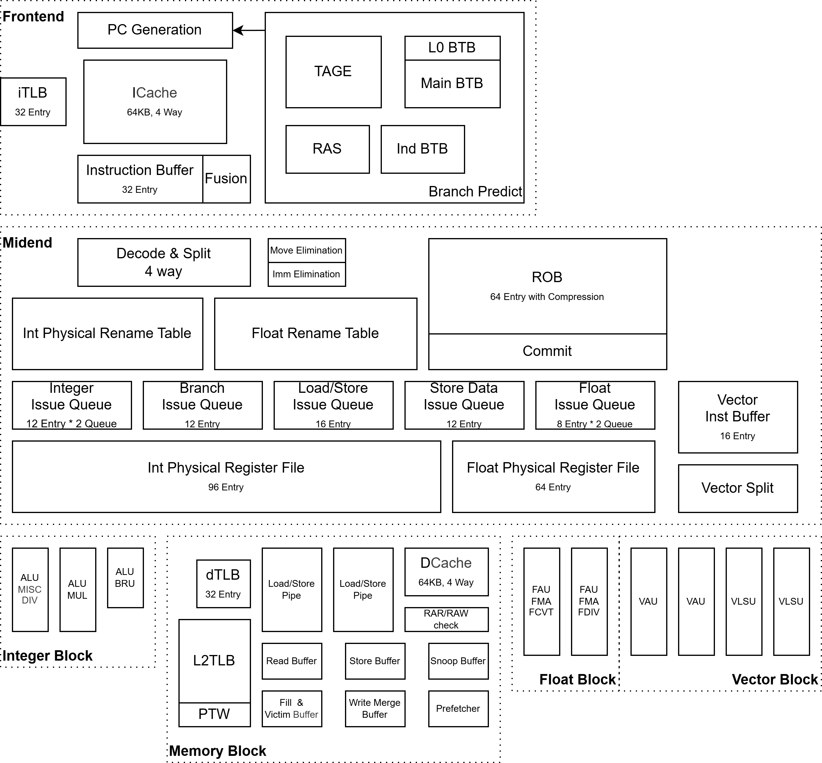
The SpacemiT-X100 is a 4-issue out-of-order RVA23 compatible core, with a VLEN of 256, running at 2.4GHz in the SpacemiT K3 SOC.
It support the optional RVA23 extensions Zbc, Zbkc, Zcd, Zfbfmin, Zfh, Zvbc, Zvfbfwma, Zvfh, Zvkng, Zvknha, Zvksc, Zvksg.
The SpacemiT-X100 is an 4-issue out-of-order RVA23 compatible cores, running at 2.4GHz, with a VLEN of 256.
Based on this commit.
Thanks to sanderjo, who had early access to the hardware, for running the benchmarks and putting up with my slightly broken instructions.
Note that all of these only apply to this processor and aren't set in stone.
SpacemiT published a paper covering the microarchitectural design of the SpacemiT K3: k3.pdf
The X100 is based on the open-source CPU OpenC910 design published by XuanTie, but substantially upgraded.
"The major improvements include: increasing frontend fetch bandwidth and improving branch prediction accuracy; widening decode and dispatch and leveraging multiple techniques to enhance execution efficiency; restructuring the load/store subsystem to increase memory bandwidth while substantially reducing access latency; adding a vector execution unit compliant with the RISC-V Vector Extension v1.0"
It has the microarchitectural design:
While the ROB has 64 entries, it can hold up to 3 uops in a single ROB entry due to a ROB compression scheme. This presumably works for adjacent instructions, which can't cause exceptions or cause speculative execution.
The decoder support instruction fusion, with the following fusion cases:
The vector unit is decoupled from the scalar core:
"After undergoing initial decoding and scalar operand renaming in the main pipeline, vector instructions are dispatched to a dedicated, independent vector unit for subsequent issue, split and execution."While the vector length is 256-bit, the core has two 128-bit-wide vector compute execution units, and two 128-bit-wide vector memory execution units.
"for handling complex vector memory patterns such as segment accesses, the LSU incorporates a dedicated transpose buffer to accelerate data reorganization"
The following are measured cycle averages when unrolling and looping over the given instruction, which should estimate the instruction throughput. The registers involved are randomized to usual values, that is floating point values are real numbers and not NaN/Inf, and instructions like vslide* stay within the vl range. Some valid vtype-instruction combinations are missing.
| LMUL=1 | LMUL=4 |
|
|
Note: Some of the supported crypto instructions weren't recorded.
| instruction | e8mf8 | e8mf4 | e8mf2 | e8m1 | e8m2 | e8m4 | e8m8 | e16mf8 | e16mf4 | e16mf2 | e16m1 | e16m2 | e16m4 | e16m8 | e32mf8 | e32mf4 | e32mf2 | e32m1 | e32m2 | e32m4 | e32m8 | e64mf8 | e64mf4 | e64mf2 | e64m1 | e64m2 | e64m4 | e64m8 |
|---|---|---|---|---|---|---|---|---|---|---|---|---|---|---|---|---|---|---|---|---|---|---|---|---|---|---|---|---|
| add t0,t1,t2 | 0.47 | 0.47 | 0.47 | 0.47 | 0.40 | 0.34 | 0.34 | 0.47 | 0.47 | 0.47 | 0.40 | 0.34 | 0.34 | 0.47 | 0.47 | 0.40 | 0.34 | 0.34 | 0.47 | 0.40 | 0.34 | 0.34 | ||||||
| mul t0,t1,t2 | 1.50 | 1.50 | 1.50 | 1.50 | 1.50 | 1.00 | 1.00 | 1.50 | 1.50 | 1.50 | 1.50 | 1.00 | 1.00 | 1.50 | 1.50 | 1.50 | 1.00 | 1.00 | 1.50 | 1.50 | 1.00 | 1.00 | ||||||
| vadd.vv v8,v16,v24 | 1.00 | 1.00 | 1.00 | 1.00 | 2.00 | 4.00 | 8.00 | 1.00 | 1.00 | 1.00 | 2.00 | 4.00 | 8.00 | 1.00 | 1.00 | 2.00 | 4.00 | 8.00 | 1.00 | 2.00 | 4.00 | 8.00 | ||||||
| vadd.vv v8,v16,v24,v0.t | 1.00 | 1.00 | 1.00 | 1.00 | 2.00 | 4.00 | 8.00 | 1.00 | 1.00 | 1.00 | 2.00 | 4.00 | 8.00 | 1.00 | 1.00 | 2.00 | 4.00 | 8.00 | 1.00 | 2.00 | 4.00 | 8.00 | ||||||
| vadd.vx v8,v16,t0 | 1.06 | 1.06 | 1.06 | 1.06 | 2.00 | 4.00 | 8.00 | 1.06 | 1.06 | 1.06 | 2.00 | 4.00 | 8.00 | 1.06 | 1.06 | 2.00 | 4.00 | 8.00 | 1.06 | 2.00 | 4.00 | 8.00 | ||||||
| vadd.vx v8,v16,t0,v0.t | 1.06 | 1.06 | 1.06 | 1.06 | 2.00 | 4.00 | 8.00 | 1.06 | 1.06 | 1.06 | 2.00 | 4.00 | 8.00 | 1.06 | 1.06 | 2.00 | 4.00 | 8.00 | 1.06 | 2.00 | 4.00 | 8.00 | ||||||
| vadd.vi v8,v16,13 | 1.00 | 1.00 | 1.00 | 1.00 | 2.00 | 4.00 | 8.00 | 1.00 | 1.00 | 1.00 | 2.00 | 4.00 | 8.00 | 1.00 | 1.00 | 2.00 | 4.00 | 8.00 | 1.00 | 2.00 | 4.00 | 8.00 | ||||||
| vadd.vi v8,v16,13,v0.t | 1.00 | 1.00 | 1.00 | 1.00 | 2.00 | 4.00 | 8.00 | 1.00 | 1.00 | 1.00 | 2.00 | 4.00 | 8.00 | 1.00 | 1.00 | 2.00 | 4.00 | 8.00 | 1.00 | 2.00 | 4.00 | 8.00 | ||||||
| vsub.vv v8,v16,v24 | 1.00 | 1.00 | 1.00 | 1.00 | 2.00 | 4.00 | 8.00 | 1.00 | 1.00 | 1.00 | 2.00 | 4.00 | 8.00 | 1.00 | 1.00 | 2.00 | 4.00 | 8.00 | 1.00 | 2.00 | 4.00 | 8.00 | ||||||
| vsub.vv v8,v16,v24,v0.t | 1.00 | 1.00 | 1.00 | 1.00 | 2.00 | 4.00 | 8.00 | 1.00 | 1.00 | 1.00 | 2.00 | 4.00 | 8.00 | 1.00 | 1.00 | 2.00 | 4.00 | 8.00 | 1.00 | 2.00 | 4.00 | 8.00 | ||||||
| vsub.vx v8,v16,t0 | 1.06 | 1.06 | 1.06 | 1.06 | 2.00 | 4.00 | 8.00 | 1.06 | 1.06 | 1.06 | 2.00 | 4.00 | 8.00 | 1.06 | 1.06 | 2.00 | 4.00 | 8.00 | 1.06 | 2.00 | 4.00 | 8.00 | ||||||
| vsub.vx v8,v16,t0,v0.t | 1.06 | 1.06 | 1.06 | 1.06 | 2.00 | 4.00 | 8.00 | 1.06 | 1.06 | 1.06 | 2.00 | 4.00 | 8.00 | 1.06 | 1.06 | 2.00 | 4.00 | 8.00 | 1.06 | 2.00 | 4.00 | 8.00 | ||||||
| vrsub.vx v8,v16,t0 | 1.06 | 1.06 | 1.06 | 1.06 | 2.00 | 4.00 | 8.00 | 1.06 | 1.06 | 1.06 | 2.00 | 4.00 | 8.00 | 1.06 | 1.06 | 2.00 | 4.00 | 8.00 | 1.06 | 2.00 | 4.00 | 8.00 | ||||||
| vrsub.vx v8,v16,t0,v0.t | 1.06 | 1.06 | 1.06 | 1.06 | 2.00 | 4.00 | 8.00 | 1.06 | 1.06 | 1.06 | 2.00 | 4.00 | 8.00 | 1.06 | 1.06 | 2.00 | 4.00 | 8.00 | 1.06 | 2.00 | 4.00 | 8.00 | ||||||
| vrsub.vi v8,v16,13 | 1.00 | 1.00 | 1.00 | 1.00 | 2.00 | 4.00 | 8.00 | 1.00 | 1.00 | 1.00 | 2.00 | 4.00 | 8.00 | 1.00 | 1.00 | 2.00 | 4.00 | 8.00 | 1.00 | 2.00 | 4.00 | 8.00 | ||||||
| vrsub.vi v8,v16,13,v0.t | 1.00 | 1.00 | 1.00 | 1.00 | 2.00 | 4.00 | 8.00 | 1.00 | 1.00 | 1.00 | 2.00 | 4.00 | 8.00 | 1.00 | 1.00 | 2.00 | 4.00 | 8.00 | 1.00 | 2.00 | 4.00 | 8.00 | ||||||
| vminu.vv v8,v16,v24 | 1.00 | 1.00 | 1.00 | 1.00 | 2.00 | 4.00 | 8.00 | 1.00 | 1.00 | 1.00 | 2.00 | 4.00 | 8.00 | 1.00 | 1.00 | 2.00 | 4.00 | 8.00 | 1.00 | 2.00 | 4.00 | 8.00 | ||||||
| vminu.vv v8,v16,v24,v0.t | 1.00 | 1.00 | 1.00 | 1.00 | 2.00 | 4.00 | 8.00 | 1.00 | 1.00 | 1.00 | 2.00 | 4.00 | 8.00 | 1.00 | 1.00 | 2.00 | 4.00 | 8.00 | 1.00 | 2.00 | 4.00 | 8.00 | ||||||
| vminu.vx v8,v16,t0 | 1.06 | 1.06 | 1.06 | 1.06 | 2.00 | 4.00 | 8.00 | 1.06 | 1.06 | 1.06 | 2.00 | 4.00 | 8.00 | 1.06 | 1.06 | 2.00 | 4.00 | 8.00 | 1.06 | 2.00 | 4.00 | 8.00 | ||||||
| vminu.vx v8,v16,t0,v0.t | 1.06 | 1.06 | 1.06 | 1.06 | 2.00 | 4.00 | 8.00 | 1.06 | 1.06 | 1.06 | 2.00 | 4.00 | 8.00 | 1.06 | 1.06 | 2.00 | 4.00 | 8.00 | 1.06 | 2.00 | 4.00 | 8.00 | ||||||
| vmin.vv v8,v16,v24 | 1.00 | 1.00 | 1.00 | 1.00 | 2.00 | 4.00 | 8.00 | 1.00 | 1.00 | 1.00 | 2.00 | 4.00 | 8.00 | 1.00 | 1.00 | 2.00 | 4.00 | 8.00 | 1.00 | 2.00 | 4.00 | 8.00 | ||||||
| vmin.vv v8,v16,v24,v0.t | 1.00 | 1.00 | 1.00 | 1.00 | 2.00 | 4.00 | 8.00 | 1.00 | 1.00 | 1.00 | 2.00 | 4.00 | 8.00 | 1.00 | 1.00 | 2.00 | 4.00 | 8.00 | 1.00 | 2.00 | 4.00 | 8.00 | ||||||
| vmin.vx v8,v16,t0 | 1.06 | 1.06 | 1.06 | 1.06 | 2.00 | 4.00 | 8.00 | 1.06 | 1.06 | 1.06 | 2.00 | 4.00 | 8.00 | 1.06 | 1.06 | 2.00 | 4.00 | 8.00 | 1.06 | 2.00 | 4.00 | 8.00 | ||||||
| vmin.vx v8,v16,t0,v0.t | 1.06 | 1.06 | 1.06 | 1.06 | 2.00 | 4.00 | 8.00 | 1.06 | 1.06 | 1.06 | 2.00 | 4.00 | 8.00 | 1.06 | 1.06 | 2.00 | 4.00 | 8.00 | 1.06 | 2.00 | 4.00 | 8.00 | ||||||
| vmaxu.vv v8,v16,v24 | 1.00 | 1.00 | 1.00 | 1.00 | 2.00 | 4.00 | 8.00 | 1.00 | 1.00 | 1.00 | 2.00 | 4.00 | 8.00 | 1.00 | 1.00 | 2.00 | 4.00 | 8.00 | 1.00 | 2.00 | 4.00 | 8.00 | ||||||
| vmaxu.vv v8,v16,v24,v0.t | 1.00 | 1.00 | 1.00 | 1.00 | 2.00 | 4.00 | 8.00 | 1.00 | 1.00 | 1.00 | 2.00 | 4.00 | 8.00 | 1.00 | 1.00 | 2.00 | 4.00 | 8.00 | 1.00 | 2.00 | 4.00 | 8.00 | ||||||
| vmaxu.vx v8,v16,t0 | 1.06 | 1.06 | 1.06 | 1.06 | 2.00 | 4.00 | 8.00 | 1.06 | 1.06 | 1.06 | 2.00 | 4.00 | 8.00 | 1.06 | 1.06 | 2.00 | 4.00 | 8.00 | 1.06 | 2.00 | 4.00 | 8.00 | ||||||
| vmaxu.vx v8,v16,t0,v0.t | 1.06 | 1.06 | 1.06 | 1.06 | 2.00 | 4.00 | 8.00 | 1.06 | 1.06 | 1.06 | 2.00 | 4.00 | 8.00 | 1.06 | 1.06 | 2.00 | 4.00 | 8.00 | 1.06 | 2.00 | 4.00 | 8.00 | ||||||
| vmax.vv v8,v16,v24 | 1.00 | 1.00 | 1.00 | 1.00 | 2.00 | 4.00 | 8.00 | 1.00 | 1.00 | 1.00 | 2.00 | 4.00 | 8.00 | 1.00 | 1.00 | 2.00 | 4.00 | 8.00 | 1.00 | 2.00 | 4.00 | 8.00 | ||||||
| vmax.vv v8,v16,v24,v0.t | 1.00 | 1.00 | 1.00 | 1.00 | 2.00 | 4.00 | 8.00 | 1.00 | 1.00 | 1.00 | 2.00 | 4.00 | 8.00 | 1.00 | 1.00 | 2.00 | 4.00 | 8.00 | 1.00 | 2.00 | 4.00 | 8.00 | ||||||
| vmax.vx v8,v16,t0 | 1.06 | 1.06 | 1.06 | 1.06 | 2.00 | 4.00 | 8.00 | 1.06 | 1.06 | 1.06 | 2.00 | 4.00 | 8.00 | 1.06 | 1.06 | 2.00 | 4.00 | 8.00 | 1.06 | 2.00 | 4.00 | 8.00 | ||||||
| vmax.vx v8,v16,t0,v0.t | 1.06 | 1.06 | 1.06 | 1.06 | 2.00 | 4.00 | 8.00 | 1.06 | 1.06 | 1.06 | 2.00 | 4.00 | 8.00 | 1.06 | 1.06 | 2.00 | 4.00 | 8.00 | 1.06 | 2.00 | 4.00 | 8.00 | ||||||
| vand.vv v8,v16,v24 | 1.00 | 1.00 | 1.00 | 1.00 | 2.00 | 4.00 | 8.00 | 1.00 | 1.00 | 1.00 | 2.00 | 4.00 | 8.00 | 1.00 | 1.00 | 2.00 | 4.00 | 8.00 | 1.00 | 2.00 | 4.00 | 8.00 | ||||||
| vand.vv v8,v16,v24,v0.t | 1.00 | 1.00 | 1.00 | 1.00 | 2.00 | 4.00 | 8.00 | 1.00 | 1.00 | 1.00 | 2.00 | 4.00 | 8.00 | 1.00 | 1.00 | 2.00 | 4.00 | 8.00 | 1.00 | 2.00 | 4.00 | 8.00 | ||||||
| vand.vx v8,v16,t0 | 1.06 | 1.06 | 1.06 | 1.06 | 2.00 | 4.00 | 8.00 | 1.06 | 1.06 | 1.06 | 2.00 | 4.00 | 8.00 | 1.06 | 1.06 | 2.00 | 4.00 | 8.00 | 1.06 | 2.00 | 4.00 | 8.00 | ||||||
| vand.vx v8,v16,t0,v0.t | 1.06 | 1.06 | 1.06 | 1.06 | 2.00 | 4.00 | 8.00 | 1.06 | 1.06 | 1.06 | 2.00 | 4.00 | 8.00 | 1.06 | 1.06 | 2.00 | 4.00 | 8.00 | 1.06 | 2.00 | 4.00 | 8.00 | ||||||
| vand.vi v8,v16,13 | 1.00 | 1.00 | 1.00 | 1.00 | 2.00 | 4.00 | 8.00 | 1.00 | 1.00 | 1.00 | 2.00 | 4.00 | 8.00 | 1.00 | 1.00 | 2.00 | 4.00 | 8.00 | 1.00 | 2.00 | 4.00 | 8.00 | ||||||
| vand.vi v8,v16,13,v0.t | 1.00 | 1.00 | 1.00 | 1.00 | 2.00 | 4.00 | 8.00 | 1.00 | 1.00 | 1.00 | 2.00 | 4.00 | 8.00 | 1.00 | 1.00 | 2.00 | 4.00 | 8.00 | 1.00 | 2.00 | 4.00 | 8.00 | ||||||
| vor.vv v8,v16,v24 | 1.00 | 1.00 | 1.00 | 1.00 | 2.00 | 4.00 | 8.00 | 1.00 | 1.00 | 1.00 | 2.00 | 4.00 | 8.00 | 1.00 | 1.00 | 2.00 | 4.00 | 8.00 | 1.00 | 2.00 | 4.00 | 8.00 | ||||||
| vor.vv v8,v16,v24,v0.t | 1.00 | 1.00 | 1.00 | 1.00 | 2.00 | 4.00 | 8.00 | 1.00 | 1.00 | 1.00 | 2.00 | 4.00 | 8.00 | 1.00 | 1.00 | 2.00 | 4.00 | 8.00 | 1.00 | 2.00 | 4.00 | 8.00 | ||||||
| vor.vx v8,v16,t0 | 1.06 | 1.06 | 1.06 | 1.06 | 2.00 | 4.00 | 8.00 | 1.06 | 1.06 | 1.06 | 2.00 | 4.00 | 8.00 | 1.06 | 1.06 | 2.00 | 4.00 | 8.00 | 1.06 | 2.00 | 4.00 | 8.00 | ||||||
| vor.vx v8,v16,t0,v0.t | 1.06 | 1.06 | 1.06 | 1.06 | 2.00 | 4.00 | 8.00 | 1.06 | 1.06 | 1.06 | 2.00 | 4.00 | 8.00 | 1.06 | 1.06 | 2.00 | 4.00 | 8.00 | 1.06 | 2.00 | 4.00 | 8.00 | ||||||
| vor.vi v8,v16,13 | 1.00 | 1.00 | 1.00 | 1.00 | 2.00 | 4.00 | 8.00 | 1.00 | 1.00 | 1.00 | 2.00 | 4.00 | 8.00 | 1.00 | 1.00 | 2.00 | 4.00 | 8.00 | 1.00 | 2.00 | 4.00 | 8.00 | ||||||
| vor.vi v8,v16,13,v0.t | 1.00 | 1.00 | 1.00 | 1.00 | 2.00 | 4.00 | 8.00 | 1.00 | 1.00 | 1.00 | 2.00 | 4.00 | 8.00 | 1.00 | 1.00 | 2.00 | 4.00 | 8.00 | 1.00 | 2.00 | 4.00 | 8.00 | ||||||
| vxor.vv v8,v16,v24 | 1.00 | 1.00 | 1.00 | 1.00 | 2.00 | 4.00 | 8.00 | 1.00 | 1.00 | 1.00 | 2.00 | 4.00 | 8.00 | 1.00 | 1.00 | 2.00 | 4.00 | 8.00 | 1.00 | 2.00 | 4.00 | 8.00 | ||||||
| vxor.vv v8,v16,v24,v0.t | 1.00 | 1.00 | 1.00 | 1.00 | 2.00 | 4.00 | 8.00 | 1.00 | 1.00 | 1.00 | 2.00 | 4.00 | 8.00 | 1.00 | 1.00 | 2.00 | 4.00 | 8.00 | 1.00 | 2.00 | 4.00 | 8.00 | ||||||
| vxor.vx v8,v16,t0 | 1.06 | 1.06 | 1.06 | 1.06 | 2.00 | 4.00 | 8.00 | 1.06 | 1.06 | 1.06 | 2.00 | 4.00 | 8.00 | 1.06 | 1.06 | 2.00 | 4.00 | 8.00 | 1.06 | 2.00 | 4.00 | 8.00 | ||||||
| vxor.vx v8,v16,t0,v0.t | 1.06 | 1.06 | 1.06 | 1.06 | 2.00 | 4.00 | 8.00 | 1.06 | 1.06 | 1.06 | 2.00 | 4.00 | 8.00 | 1.06 | 1.06 | 2.00 | 4.00 | 8.00 | 1.06 | 2.00 | 4.00 | 8.00 | ||||||
| vxor.vi v8,v16,13 | 1.00 | 1.00 | 1.00 | 1.00 | 2.00 | 4.00 | 8.00 | 1.00 | 1.00 | 1.00 | 2.00 | 4.00 | 8.00 | 1.00 | 1.00 | 2.00 | 4.00 | 8.00 | 1.00 | 2.00 | 4.00 | 8.00 | ||||||
| vxor.vi v8,v16,13,v0.t | 1.00 | 1.00 | 1.00 | 1.00 | 2.00 | 4.00 | 8.00 | 1.00 | 1.00 | 1.00 | 2.00 | 4.00 | 8.00 | 1.00 | 1.00 | 2.00 | 4.00 | 8.00 | 1.00 | 2.00 | 4.00 | 8.00 | ||||||
| vrgather.vv v8,v16,v24 | 1.00 | 1.00 | 1.00 | 2.00 | 8.00 | 32.00 | 127.96 | 1.00 | 1.00 | 2.00 | 8.00 | 32.00 | 127.96 | 1.00 | 2.00 | 8.00 | 32.00 | 127.96 | 2.00 | 8.00 | 32.00 | 127.96 | ||||||
| vrgather.vv v8,v16,v24,v0.t | 1.00 | 1.00 | 1.00 | 2.00 | 8.00 | 32.00 | 127.96 | 1.00 | 1.00 | 2.00 | 8.00 | 32.00 | 127.96 | 1.00 | 2.00 | 8.00 | 32.00 | 127.95 | 2.00 | 8.00 | 32.00 | 127.96 | ||||||
| vrgather.vx v8,v16,t0 | 1.32 | 1.32 | 1.32 | 2.07 | 4.00 | 8.00 | 16.00 | 1.32 | 1.32 | 2.07 | 4.00 | 8.00 | 16.00 | 1.32 | 2.07 | 4.00 | 8.00 | 16.00 | 2.07 | 4.00 | 8.00 | 16.00 | ||||||
| vrgather.vx v8,v16,t0,v0.t | 1.32 | 1.32 | 1.32 | 2.07 | 4.00 | 8.00 | 16.00 | 1.32 | 1.32 | 2.07 | 4.00 | 8.00 | 16.00 | 1.32 | 2.07 | 4.00 | 8.00 | 16.00 | 2.07 | 4.00 | 8.00 | 16.00 | ||||||
| vrgather.vi v8,v16,3 | 1.00 | 1.00 | 1.00 | 2.00 | 4.00 | 8.00 | 16.00 | 1.00 | 1.00 | 2.00 | 4.00 | 8.00 | 16.00 | 1.00 | 2.00 | 4.00 | 8.00 | 16.00 | 2.00 | 4.00 | 8.00 | 16.00 | ||||||
| vrgather.vi v8,v16,3,v0.t | 1.00 | 1.00 | 1.00 | 2.00 | 4.00 | 8.00 | 16.00 | 1.00 | 1.00 | 2.00 | 4.00 | 8.00 | 16.00 | 1.00 | 2.00 | 4.00 | 8.00 | 16.00 | 2.00 | 4.00 | 8.00 | 16.00 | ||||||
| vslideup.vx v8,v16,t0 | 1.06 | 1.06 | 1.06 | 2.00 | 4.00 | 8.00 | 16.00 | 1.06 | 1.06 | 2.00 | 4.00 | 8.00 | 16.00 | 1.06 | 2.00 | 4.00 | 8.00 | 16.00 | 2.00 | 4.00 | 8.00 | 16.00 | ||||||
| vslideup.vx v8,v16,t0,v0.t | 1.06 | 1.06 | 1.06 | 2.00 | 4.00 | 8.00 | 16.00 | 1.06 | 1.06 | 2.00 | 4.00 | 8.00 | 16.00 | 1.06 | 2.00 | 4.00 | 8.00 | 16.00 | 2.00 | 4.00 | 8.00 | 16.00 | ||||||
| vslideup.vi v8,v16,3 | 1.00 | 1.00 | 1.00 | 2.00 | 4.00 | 8.00 | 16.00 | 1.00 | 1.00 | 2.00 | 4.00 | 8.00 | 16.00 | 1.00 | 2.00 | 4.00 | 8.00 | 16.00 | 2.00 | 4.00 | 8.00 | 16.00 | ||||||
| vslideup.vi v8,v16,3,v0.t | 1.00 | 1.00 | 1.00 | 2.00 | 4.00 | 8.00 | 16.00 | 1.00 | 1.00 | 2.00 | 4.00 | 8.00 | 16.00 | 1.00 | 2.00 | 4.00 | 8.00 | 16.00 | 2.00 | 4.00 | 8.00 | 16.00 | ||||||
| vrgatherei16.vv v8,v16,v24 | 1.00 | 1.00 | 2.00 | 4.00 | 16.00 | 63.99 | 1.00 | 1.00 | 2.00 | 8.00 | 32.00 | 127.95 | 1.00 | 2.00 | 8.00 | 32.00 | 127.96 | 2.00 | 8.00 | 32.00 | 127.96 | |||||||
| vrgatherei16.vv v8,v16,v24,v0.t | 1.00 | 1.00 | 2.00 | 4.00 | 16.00 | 63.99 | 1.00 | 1.00 | 2.00 | 8.00 | 32.00 | 127.95 | 1.00 | 2.00 | 8.00 | 32.00 | 127.95 | 2.00 | 8.00 | 32.00 | 127.96 | |||||||
| vslidedown.vx v8,v16,t0 | 1.32 | 1.32 | 1.32 | 3.00 | 5.00 | 9.00 | 17.00 | 1.32 | 1.32 | 3.00 | 5.00 | 9.00 | 17.00 | 1.32 | 3.00 | 5.00 | 9.00 | 17.00 | 3.00 | 5.00 | 9.00 | 17.00 | ||||||
| vslidedown.vx v8,v16,t0,v0.t | 1.32 | 1.32 | 1.32 | 3.00 | 5.00 | 9.00 | 17.00 | 1.32 | 1.32 | 3.00 | 5.00 | 9.00 | 17.00 | 1.32 | 3.00 | 5.00 | 9.00 | 17.00 | 3.00 | 5.00 | 9.00 | 17.00 | ||||||
| vslidedown.vi v8,v16,3 | 1.00 | 1.00 | 1.00 | 3.00 | 5.00 | 9.00 | 17.00 | 1.00 | 1.00 | 3.00 | 5.00 | 9.00 | 17.00 | 1.00 | 3.00 | 5.00 | 9.00 | 17.00 | 3.00 | 5.00 | 9.00 | 17.00 | ||||||
| vslidedown.vi v8,v16,3,v0.t | 1.00 | 1.00 | 1.00 | 3.00 | 5.00 | 9.00 | 17.00 | 1.00 | 1.00 | 3.00 | 5.00 | 9.00 | 17.00 | 1.00 | 3.00 | 5.00 | 9.00 | 17.00 | 3.00 | 5.00 | 9.00 | 17.00 | ||||||
| vredsum.vs v8,v16,v24 | 1.00 | 1.00 | 1.00 | 1.00 | 2.00 | 5.50 | 19.00 | 1.00 | 1.00 | 1.00 | 2.00 | 5.50 | 19.00 | 1.00 | 1.00 | 2.00 | 5.50 | 19.00 | 1.00 | 2.00 | 5.50 | 19.00 | ||||||
| vredsum.vs v8,v16,v24,v0.t | 1.00 | 1.00 | 1.00 | 1.00 | 2.00 | 5.50 | 19.00 | 1.00 | 1.00 | 1.00 | 2.00 | 5.50 | 19.00 | 1.00 | 1.00 | 2.00 | 5.50 | 19.00 | 1.00 | 2.00 | 5.50 | 19.00 | ||||||
| vredand.vs v8,v16,v24 | 1.00 | 1.00 | 1.00 | 1.00 | 2.00 | 5.00 | 18.00 | 1.00 | 1.00 | 1.00 | 2.00 | 5.00 | 18.00 | 1.00 | 1.00 | 2.00 | 5.00 | 18.00 | 1.00 | 2.00 | 5.00 | 18.00 | ||||||
| vredand.vs v8,v16,v24,v0.t | 1.00 | 1.00 | 1.00 | 1.00 | 2.00 | 5.00 | 18.00 | 1.00 | 1.00 | 1.00 | 2.00 | 5.00 | 18.00 | 1.00 | 1.00 | 2.00 | 5.00 | 18.00 | 1.00 | 2.00 | 5.00 | 18.00 | ||||||
| vredor.vs v8,v16,v24 | 1.00 | 1.00 | 1.00 | 1.00 | 2.00 | 5.00 | 18.00 | 1.00 | 1.00 | 1.00 | 2.00 | 5.00 | 18.00 | 1.00 | 1.00 | 2.00 | 5.00 | 18.00 | 1.00 | 2.00 | 5.00 | 18.00 | ||||||
| vredor.vs v8,v16,v24,v0.t | 1.00 | 1.00 | 1.00 | 1.00 | 2.00 | 5.00 | 18.00 | 1.00 | 1.00 | 1.00 | 2.00 | 5.00 | 18.00 | 1.00 | 1.00 | 2.00 | 5.00 | 18.00 | 1.00 | 2.00 | 5.00 | 18.00 | ||||||
| vredxor.vs v8,v16,v24 | 1.00 | 1.00 | 1.00 | 1.00 | 2.00 | 5.00 | 18.00 | 1.00 | 1.00 | 1.00 | 2.00 | 5.00 | 18.00 | 1.00 | 1.00 | 2.00 | 5.00 | 18.00 | 1.00 | 2.00 | 5.00 | 18.00 | ||||||
| vredxor.vs v8,v16,v24,v0.t | 1.00 | 1.00 | 1.00 | 1.00 | 2.00 | 5.00 | 18.00 | 1.00 | 1.00 | 1.00 | 2.00 | 5.00 | 18.00 | 1.00 | 1.00 | 2.00 | 5.00 | 18.00 | 1.00 | 2.00 | 5.00 | 18.00 | ||||||
| vredminu.vs v8,v16,v24 | 1.00 | 1.00 | 1.00 | 1.00 | 2.00 | 5.50 | 19.00 | 1.00 | 1.00 | 1.00 | 2.00 | 5.50 | 19.00 | 1.00 | 1.00 | 2.00 | 5.50 | 19.00 | 1.00 | 2.00 | 5.50 | 19.00 | ||||||
| vredminu.vs v8,v16,v24,v0.t | 1.00 | 1.00 | 1.00 | 1.00 | 2.00 | 5.50 | 19.00 | 1.00 | 1.00 | 1.00 | 2.00 | 5.50 | 19.00 | 1.00 | 1.00 | 2.00 | 5.50 | 19.00 | 1.00 | 2.00 | 5.50 | 19.00 | ||||||
| vredmin.vs v8,v16,v24 | 1.00 | 1.00 | 1.00 | 1.00 | 2.00 | 5.50 | 19.00 | 1.00 | 1.00 | 1.00 | 2.00 | 5.50 | 19.00 | 1.00 | 1.00 | 2.00 | 5.50 | 19.00 | 1.00 | 2.00 | 5.50 | 19.00 | ||||||
| vredmin.vs v8,v16,v24,v0.t | 1.00 | 1.00 | 1.00 | 1.00 | 2.00 | 5.50 | 19.00 | 1.00 | 1.00 | 1.00 | 2.00 | 5.50 | 19.00 | 1.00 | 1.00 | 2.00 | 5.50 | 19.00 | 1.00 | 2.00 | 5.50 | 19.00 | ||||||
| vredmaxu.vs v8,v16,v24 | 1.00 | 1.00 | 1.00 | 1.00 | 2.00 | 5.50 | 19.00 | 1.00 | 1.00 | 1.00 | 2.00 | 5.50 | 19.00 | 1.00 | 1.00 | 2.00 | 5.50 | 19.00 | 1.00 | 2.00 | 5.50 | 19.00 | ||||||
| vredmaxu.vs v8,v16,v24,v0.t | 1.00 | 1.00 | 1.00 | 1.00 | 2.00 | 5.50 | 19.00 | 1.00 | 1.00 | 1.00 | 2.00 | 5.50 | 19.00 | 1.00 | 1.00 | 2.00 | 5.50 | 19.00 | 1.00 | 2.00 | 5.50 | 19.00 | ||||||
| vredmax.vs v8,v16,v24 | 1.00 | 1.00 | 1.00 | 1.00 | 2.00 | 5.50 | 19.00 | 1.00 | 1.00 | 1.00 | 2.00 | 5.50 | 19.00 | 1.00 | 1.00 | 2.00 | 5.50 | 19.00 | 1.00 | 2.00 | 5.50 | 19.00 | ||||||
| vredmax.vs v8,v16,v24,v0.t | 1.00 | 1.00 | 1.00 | 1.00 | 2.00 | 5.50 | 19.00 | 1.00 | 1.00 | 1.00 | 2.00 | 5.50 | 19.00 | 1.00 | 1.00 | 2.00 | 5.50 | 19.00 | 1.00 | 2.00 | 5.50 | 19.00 | ||||||
| vaaddu.vv v8,v16,v24 | 1.00 | 1.00 | 1.00 | 1.00 | 2.00 | 4.00 | 8.00 | 1.00 | 1.00 | 1.00 | 2.00 | 4.00 | 8.00 | 1.00 | 1.00 | 2.00 | 4.00 | 8.00 | 1.00 | 2.00 | 4.00 | 8.00 | ||||||
| vaaddu.vv v8,v16,v24,v0.t | 1.00 | 1.00 | 1.00 | 1.00 | 2.00 | 4.00 | 8.00 | 1.00 | 1.00 | 1.00 | 2.00 | 4.00 | 8.00 | 1.00 | 1.00 | 2.00 | 4.00 | 8.00 | 1.00 | 2.00 | 4.00 | 8.00 | ||||||
| vaaddu.vx v8,v16,t0 | 1.06 | 1.06 | 1.06 | 1.06 | 2.00 | 4.00 | 8.00 | 1.06 | 1.06 | 1.06 | 2.00 | 4.00 | 8.00 | 1.06 | 1.06 | 2.00 | 4.00 | 8.00 | 1.06 | 2.00 | 4.00 | 8.00 | ||||||
| vaaddu.vx v8,v16,t0,v0.t | 1.06 | 1.06 | 1.06 | 1.06 | 2.00 | 4.00 | 8.00 | 1.06 | 1.06 | 1.06 | 2.00 | 4.00 | 8.00 | 1.06 | 1.06 | 2.00 | 4.00 | 8.00 | 1.06 | 2.00 | 4.00 | 8.00 | ||||||
| vaadd.vv v8,v16,v24 | 1.00 | 1.00 | 1.00 | 1.00 | 2.00 | 4.00 | 8.00 | 1.00 | 1.00 | 1.00 | 2.00 | 4.00 | 8.00 | 1.00 | 1.00 | 2.00 | 4.00 | 8.00 | 1.00 | 2.00 | 4.00 | 8.00 | ||||||
| vaadd.vv v8,v16,v24,v0.t | 1.00 | 1.00 | 1.00 | 1.00 | 2.00 | 4.00 | 8.00 | 1.00 | 1.00 | 1.00 | 2.00 | 4.00 | 8.00 | 1.00 | 1.00 | 2.00 | 4.00 | 8.00 | 1.00 | 2.00 | 4.00 | 8.00 | ||||||
| vaadd.vx v8,v16,t0 | 1.06 | 1.06 | 1.06 | 1.06 | 2.00 | 4.00 | 8.00 | 1.06 | 1.06 | 1.06 | 2.00 | 4.00 | 8.00 | 1.06 | 1.06 | 2.00 | 4.00 | 8.00 | 1.06 | 2.00 | 4.00 | 8.00 | ||||||
| vaadd.vx v8,v16,t0,v0.t | 1.06 | 1.06 | 1.06 | 1.06 | 2.00 | 4.00 | 8.00 | 1.06 | 1.06 | 1.06 | 2.00 | 4.00 | 8.00 | 1.06 | 1.06 | 2.00 | 4.00 | 8.00 | 1.06 | 2.00 | 4.00 | 8.00 | ||||||
| vasubu.vv v8,v16,v24 | 1.00 | 1.00 | 1.00 | 1.00 | 2.00 | 4.00 | 8.00 | 1.00 | 1.00 | 1.00 | 2.00 | 4.00 | 8.00 | 1.00 | 1.00 | 2.00 | 4.00 | 8.00 | 1.00 | 2.00 | 4.00 | 8.00 | ||||||
| vasubu.vv v8,v16,v24,v0.t | 1.00 | 1.00 | 1.00 | 1.00 | 2.00 | 4.00 | 8.00 | 1.00 | 1.00 | 1.00 | 2.00 | 4.00 | 8.00 | 1.00 | 1.00 | 2.00 | 4.00 | 8.00 | 1.00 | 2.00 | 4.00 | 8.00 | ||||||
| vasubu.vx v8,v16,t0 | 1.06 | 1.06 | 1.06 | 1.06 | 2.00 | 4.00 | 8.00 | 1.06 | 1.06 | 1.06 | 2.00 | 4.00 | 8.00 | 1.06 | 1.06 | 2.00 | 4.00 | 8.00 | 1.06 | 2.00 | 4.00 | 8.00 | ||||||
| vasubu.vx v8,v16,t0,v0.t | 1.06 | 1.06 | 1.06 | 1.06 | 2.00 | 4.00 | 8.00 | 1.06 | 1.06 | 1.06 | 2.00 | 4.00 | 8.00 | 1.06 | 1.06 | 2.00 | 4.00 | 8.00 | 1.06 | 2.00 | 4.00 | 8.00 | ||||||
| vasub.vv v8,v16,v24 | 1.00 | 1.00 | 1.00 | 1.00 | 2.00 | 4.00 | 8.00 | 1.00 | 1.00 | 1.00 | 2.00 | 4.00 | 8.00 | 1.00 | 1.00 | 2.00 | 4.00 | 8.00 | 1.00 | 2.00 | 4.00 | 8.00 | ||||||
| vasub.vv v8,v16,v24,v0.t | 1.00 | 1.00 | 1.00 | 1.00 | 2.00 | 4.00 | 8.00 | 1.00 | 1.00 | 1.00 | 2.00 | 4.00 | 8.00 | 1.00 | 1.00 | 2.00 | 4.00 | 8.00 | 1.00 | 2.00 | 4.00 | 8.00 | ||||||
| vasub.vx v8,v16,t0 | 1.06 | 1.06 | 1.06 | 1.06 | 2.00 | 4.00 | 8.00 | 1.06 | 1.06 | 1.06 | 2.00 | 4.00 | 8.00 | 1.06 | 1.06 | 2.00 | 4.00 | 8.00 | 1.06 | 2.00 | 4.00 | 8.00 | ||||||
| vasub.vx v8,v16,t0,v0.t | 1.06 | 1.06 | 1.06 | 1.06 | 2.00 | 4.00 | 8.00 | 1.06 | 1.06 | 1.06 | 2.00 | 4.00 | 8.00 | 1.06 | 1.06 | 2.00 | 4.00 | 8.00 | 1.06 | 2.00 | 4.00 | 8.00 | ||||||
| vslide1up.vx v8,v16,t0 | 1.06 | 1.06 | 1.06 | 2.00 | 4.00 | 8.00 | 16.00 | 1.06 | 1.06 | 2.00 | 4.00 | 8.00 | 16.00 | 1.06 | 2.00 | 4.00 | 8.00 | 16.00 | 2.00 | 4.00 | 8.00 | 16.00 | ||||||
| vslide1up.vx v8,v16,t0,v0.t | 1.06 | 1.06 | 1.06 | 2.00 | 4.00 | 8.00 | 16.00 | 1.06 | 1.06 | 2.00 | 4.00 | 8.00 | 16.00 | 1.06 | 2.00 | 4.00 | 8.00 | 16.00 | 2.00 | 4.00 | 8.00 | 16.00 | ||||||
| vslide1down.vx v8,v16,t0 | 1.06 | 1.06 | 1.06 | 3.00 | 5.00 | 9.00 | 17.00 | 1.06 | 1.06 | 3.00 | 5.00 | 9.00 | 17.00 | 1.06 | 3.00 | 5.00 | 9.00 | 17.00 | 3.00 | 5.00 | 9.00 | 17.00 | ||||||
| vslide1down.vx v8,v16,t0,v0.t | 1.06 | 1.06 | 1.06 | 3.00 | 5.00 | 9.00 | 17.00 | 1.06 | 1.06 | 3.00 | 5.00 | 9.00 | 17.00 | 1.06 | 3.00 | 5.00 | 9.00 | 17.00 | 3.00 | 5.00 | 9.00 | 17.00 | ||||||
| vadc.vvm v8,v16,v24,v0 | 1.00 | 1.00 | 1.00 | 1.00 | 2.00 | 4.00 | 8.00 | 1.00 | 1.00 | 1.00 | 2.00 | 4.00 | 8.00 | 1.00 | 1.00 | 2.00 | 4.00 | 8.00 | 1.00 | 2.00 | 4.00 | 8.00 | ||||||
| vadc.vxm v8,v16,t0,v0 | 1.06 | 1.06 | 1.06 | 1.06 | 2.00 | 4.00 | 8.00 | 1.06 | 1.06 | 1.06 | 2.00 | 4.00 | 8.00 | 1.06 | 1.06 | 2.00 | 4.00 | 8.00 | 1.06 | 2.00 | 4.00 | 8.00 | ||||||
| vadc.vim v8,v16,13,v0 | 1.00 | 1.00 | 1.00 | 1.00 | 2.00 | 4.00 | 8.00 | 1.00 | 1.00 | 1.00 | 2.00 | 4.00 | 8.00 | 1.00 | 1.00 | 2.00 | 4.00 | 8.00 | 1.00 | 2.00 | 4.00 | 8.00 | ||||||
| vmadc.vvm v8,v16,v24,v0 | 1.00 | 1.00 | 1.00 | 2.00 | 2.50 | 5.00 | 11.00 | 1.00 | 1.00 | 2.00 | 2.50 | 5.00 | 18.00 | 1.00 | 2.00 | 2.50 | 5.00 | 18.00 | 2.00 | 2.50 | 5.00 | 18.00 | ||||||
| vmadc.vxm v8,v16,t0,v0 | 1.06 | 1.06 | 1.06 | 2.00 | 2.50 | 5.00 | 11.00 | 1.06 | 1.06 | 2.00 | 2.50 | 5.00 | 18.00 | 1.06 | 2.00 | 2.50 | 5.00 | 18.00 | 2.00 | 2.50 | 5.00 | 18.00 | ||||||
| vmadc.vim v8,v16,13,v0 | 1.00 | 1.00 | 1.00 | 2.00 | 2.50 | 5.00 | 11.00 | 1.00 | 1.00 | 2.00 | 2.50 | 5.00 | 18.00 | 1.00 | 2.00 | 2.50 | 5.00 | 18.00 | 2.00 | 2.50 | 5.00 | 18.00 | ||||||
| vmadc.vv v8,v16,v24 | 1.00 | 1.00 | 1.00 | 2.00 | 2.50 | 5.00 | 11.00 | 1.00 | 1.00 | 2.00 | 2.50 | 5.00 | 18.00 | 1.00 | 2.00 | 2.50 | 5.00 | 18.00 | 2.00 | 2.50 | 5.00 | 18.00 | ||||||
| vmadc.vx v8,v16,t0 | 1.06 | 1.06 | 1.06 | 2.00 | 2.50 | 5.00 | 11.00 | 1.06 | 1.06 | 2.00 | 2.50 | 5.00 | 18.00 | 1.06 | 2.00 | 2.50 | 5.00 | 18.00 | 2.00 | 2.50 | 5.00 | 18.00 | ||||||
| vmadc.vi v8,v16,13 | 1.00 | 1.00 | 1.00 | 2.00 | 2.50 | 5.00 | 11.00 | 1.00 | 1.00 | 2.00 | 2.50 | 5.00 | 18.00 | 1.00 | 2.00 | 2.50 | 5.00 | 18.00 | 2.00 | 2.50 | 5.00 | 18.00 | ||||||
| vsbc.vvm v8,v16,v24,v0 | 1.00 | 1.00 | 1.00 | 1.00 | 2.00 | 4.00 | 8.00 | 1.00 | 1.00 | 1.00 | 2.00 | 4.00 | 8.00 | 1.00 | 1.00 | 2.00 | 4.00 | 8.00 | 1.00 | 2.00 | 4.00 | 8.00 | ||||||
| vsbc.vxm v8,v16,t0,v0 | 1.06 | 1.06 | 1.06 | 1.06 | 2.00 | 4.00 | 8.00 | 1.06 | 1.06 | 1.06 | 2.00 | 4.00 | 8.00 | 1.06 | 1.06 | 2.00 | 4.00 | 8.00 | 1.06 | 2.00 | 4.00 | 8.00 | ||||||
| vmsbc.vvm v8,v16,v24,v0 | 1.00 | 1.00 | 1.00 | 2.00 | 2.50 | 5.00 | 11.00 | 1.00 | 1.00 | 2.00 | 2.50 | 5.00 | 18.00 | 1.00 | 2.00 | 2.50 | 5.00 | 18.00 | 2.00 | 2.50 | 5.00 | 18.00 | ||||||
| vmsbc.vxm v8,v16,t0,v0 | 1.06 | 1.06 | 1.06 | 2.00 | 2.50 | 5.00 | 11.00 | 1.06 | 1.06 | 2.00 | 2.50 | 5.00 | 18.00 | 1.06 | 2.00 | 2.50 | 5.00 | 18.00 | 2.00 | 2.50 | 5.00 | 18.00 | ||||||
| vmsbc.vv v8,v16,v24 | 1.00 | 1.00 | 1.00 | 2.00 | 2.50 | 5.00 | 11.00 | 1.00 | 1.00 | 2.00 | 2.50 | 5.00 | 18.00 | 1.00 | 2.00 | 2.50 | 5.00 | 18.00 | 2.00 | 2.50 | 5.00 | 18.00 | ||||||
| vmsbc.vx v8,v16,t0 | 1.06 | 1.06 | 1.06 | 2.00 | 2.50 | 5.00 | 11.00 | 1.06 | 1.06 | 2.00 | 2.50 | 5.00 | 18.00 | 1.06 | 2.00 | 2.50 | 5.00 | 18.00 | 2.00 | 2.50 | 5.00 | 18.00 | ||||||
| vmerge.vvm v8,v16,v24,v0 | 1.00 | 1.00 | 1.00 | 1.00 | 2.00 | 4.00 | 8.00 | 1.00 | 1.00 | 1.00 | 2.00 | 4.00 | 8.00 | 1.00 | 1.00 | 2.00 | 4.00 | 8.00 | 1.00 | 2.00 | 4.00 | 8.00 | ||||||
| vmerge.vxm v8,v16,t0,v0 | 1.06 | 1.06 | 1.06 | 1.06 | 2.00 | 4.00 | 8.00 | 1.06 | 1.06 | 1.06 | 2.00 | 4.00 | 8.00 | 1.06 | 1.06 | 2.00 | 4.00 | 8.00 | 1.06 | 2.00 | 4.00 | 8.00 | ||||||
| vmerge.vim v8,v16,13,v0 | 1.00 | 1.00 | 1.00 | 1.00 | 2.00 | 4.00 | 8.00 | 1.00 | 1.00 | 1.00 | 2.00 | 4.00 | 8.00 | 1.00 | 1.00 | 2.00 | 4.00 | 8.00 | 1.00 | 2.00 | 4.00 | 8.00 | ||||||
| vmv.v.v v8,v16 | 1.00 | 1.00 | 1.00 | 1.00 | 2.00 | 4.00 | 8.00 | 1.00 | 1.00 | 1.00 | 2.00 | 4.00 | 8.00 | 1.00 | 1.00 | 2.00 | 4.00 | 8.00 | 1.00 | 2.00 | 4.00 | 8.00 | ||||||
| vmv.v.x v8,t0 | 1.06 | 1.06 | 1.06 | 1.06 | 2.00 | 4.00 | 8.00 | 1.06 | 1.06 | 1.06 | 2.00 | 4.00 | 8.00 | 1.06 | 1.06 | 2.00 | 4.00 | 8.00 | 1.06 | 2.00 | 4.00 | 8.00 | ||||||
| vmv.v.i v8,13 | 1.00 | 1.00 | 1.00 | 1.00 | 2.00 | 4.00 | 8.00 | 1.00 | 1.00 | 1.00 | 2.00 | 4.00 | 8.00 | 1.00 | 1.00 | 2.00 | 4.00 | 8.00 | 1.00 | 2.00 | 4.00 | 8.00 | ||||||
| vmseq.vv v8,v16,v24 | 1.00 | 1.00 | 1.00 | 2.00 | 2.50 | 5.00 | 11.00 | 1.00 | 1.00 | 2.00 | 2.50 | 5.00 | 18.00 | 1.00 | 2.00 | 2.50 | 5.00 | 18.00 | 2.00 | 2.50 | 5.00 | 18.00 | ||||||
| vmseq.vv v8,v16,v24,v0.t | 1.00 | 1.00 | 1.00 | 2.00 | 2.50 | 5.00 | 11.00 | 1.00 | 1.00 | 2.00 | 2.50 | 5.00 | 18.00 | 1.00 | 2.00 | 2.50 | 5.00 | 18.00 | 2.00 | 2.50 | 5.00 | 18.00 | ||||||
| vmseq.vx v8,v16,t0 | 1.06 | 1.06 | 1.06 | 2.00 | 2.50 | 5.00 | 11.00 | 1.06 | 1.06 | 2.00 | 2.50 | 5.00 | 18.00 | 1.06 | 2.00 | 2.50 | 5.00 | 18.00 | 2.00 | 2.50 | 5.00 | 18.00 | ||||||
| vmseq.vx v8,v16,t0,v0.t | 1.06 | 1.06 | 1.06 | 2.00 | 2.50 | 5.00 | 11.00 | 1.06 | 1.06 | 2.00 | 2.50 | 5.00 | 18.00 | 1.06 | 2.00 | 2.50 | 5.00 | 18.00 | 2.00 | 2.50 | 5.00 | 18.00 | ||||||
| vmseq.vi v8,v16,13 | 1.00 | 1.00 | 1.00 | 2.00 | 2.50 | 5.00 | 11.00 | 1.00 | 1.00 | 2.00 | 2.50 | 5.00 | 18.00 | 1.00 | 2.00 | 2.50 | 5.00 | 18.00 | 2.00 | 2.50 | 5.00 | 18.00 | ||||||
| vmseq.vi v8,v16,13,v0.t | 1.00 | 1.00 | 1.00 | 2.00 | 2.50 | 5.00 | 11.00 | 1.00 | 1.00 | 2.00 | 2.50 | 5.00 | 18.00 | 1.00 | 2.00 | 2.50 | 5.00 | 18.00 | 2.00 | 2.50 | 5.00 | 18.00 | ||||||
| vmsne.vv v8,v16,v24 | 1.00 | 1.00 | 1.00 | 2.00 | 2.50 | 5.00 | 11.00 | 1.00 | 1.00 | 2.00 | 2.50 | 5.00 | 18.00 | 1.00 | 2.00 | 2.50 | 5.00 | 18.00 | 2.00 | 2.50 | 5.00 | 18.00 | ||||||
| vmsne.vv v8,v16,v24,v0.t | 1.00 | 1.00 | 1.00 | 2.00 | 2.50 | 5.00 | 11.00 | 1.00 | 1.00 | 2.00 | 2.50 | 5.00 | 18.00 | 1.00 | 2.00 | 2.50 | 5.00 | 18.00 | 2.00 | 2.50 | 5.00 | 18.00 | ||||||
| vmsne.vx v8,v16,t0 | 1.06 | 1.06 | 1.06 | 2.00 | 2.50 | 5.00 | 11.00 | 1.06 | 1.06 | 2.00 | 2.50 | 5.00 | 18.00 | 1.06 | 2.00 | 2.50 | 5.00 | 18.00 | 2.00 | 2.50 | 5.00 | 18.00 | ||||||
| vmsne.vx v8,v16,t0,v0.t | 1.06 | 1.06 | 1.06 | 2.00 | 2.50 | 5.00 | 11.00 | 1.06 | 1.06 | 2.00 | 2.50 | 5.00 | 18.00 | 1.06 | 2.00 | 2.50 | 5.00 | 18.00 | 2.00 | 2.50 | 5.00 | 18.00 | ||||||
| vmsne.vi v8,v16,13 | 1.00 | 1.00 | 1.00 | 2.00 | 2.50 | 5.00 | 11.00 | 1.00 | 1.00 | 2.00 | 2.50 | 5.00 | 18.00 | 1.00 | 2.00 | 2.50 | 5.00 | 18.00 | 2.00 | 2.50 | 5.00 | 18.00 | ||||||
| vmsne.vi v8,v16,13,v0.t | 1.00 | 1.00 | 1.00 | 2.00 | 2.50 | 5.00 | 11.00 | 1.00 | 1.00 | 2.00 | 2.50 | 5.00 | 18.00 | 1.00 | 2.00 | 2.50 | 5.00 | 18.00 | 2.00 | 2.50 | 5.00 | 18.00 | ||||||
| vmsltu.vv v8,v16,v24 | 1.00 | 1.00 | 1.00 | 2.00 | 2.50 | 5.00 | 11.00 | 1.00 | 1.00 | 2.00 | 2.50 | 5.00 | 18.00 | 1.00 | 2.00 | 2.50 | 5.00 | 18.00 | 2.00 | 2.50 | 5.00 | 18.00 | ||||||
| vmsltu.vv v8,v16,v24,v0.t | 1.00 | 1.00 | 1.00 | 2.00 | 2.50 | 5.00 | 11.00 | 1.00 | 1.00 | 2.00 | 2.50 | 5.00 | 18.00 | 1.00 | 2.00 | 2.50 | 5.00 | 18.00 | 2.00 | 2.50 | 5.00 | 18.00 | ||||||
| vmsltu.vx v8,v16,t0 | 1.06 | 1.06 | 1.06 | 2.00 | 2.50 | 5.00 | 11.00 | 1.06 | 1.06 | 2.00 | 2.50 | 5.00 | 18.00 | 1.06 | 2.00 | 2.50 | 5.00 | 18.00 | 2.00 | 2.50 | 5.00 | 18.00 | ||||||
| vmsltu.vx v8,v16,t0,v0.t | 1.06 | 1.06 | 1.06 | 2.00 | 2.50 | 5.00 | 11.00 | 1.06 | 1.06 | 2.00 | 2.50 | 5.00 | 18.00 | 1.06 | 2.00 | 2.50 | 5.00 | 18.00 | 2.00 | 2.50 | 5.00 | 18.00 | ||||||
| vmslt.vv v8,v16,v24 | 1.00 | 1.00 | 1.00 | 2.00 | 2.50 | 5.00 | 11.00 | 1.00 | 1.00 | 2.00 | 2.50 | 5.00 | 18.00 | 1.00 | 2.00 | 2.50 | 5.00 | 18.00 | 2.00 | 2.50 | 5.00 | 18.00 | ||||||
| vmslt.vv v8,v16,v24,v0.t | 1.00 | 1.00 | 1.00 | 2.00 | 2.50 | 5.00 | 11.00 | 1.00 | 1.00 | 2.00 | 2.50 | 5.00 | 18.00 | 1.00 | 2.00 | 2.50 | 5.00 | 18.00 | 2.00 | 2.50 | 5.00 | 18.00 | ||||||
| vmslt.vx v8,v16,t0 | 1.06 | 1.06 | 1.06 | 2.00 | 2.50 | 5.00 | 11.00 | 1.06 | 1.06 | 2.00 | 2.50 | 5.00 | 18.00 | 1.06 | 2.00 | 2.50 | 5.00 | 18.00 | 2.00 | 2.50 | 5.00 | 18.00 | ||||||
| vmslt.vx v8,v16,t0,v0.t | 1.06 | 1.06 | 1.06 | 2.00 | 2.50 | 5.00 | 11.00 | 1.06 | 1.06 | 2.00 | 2.50 | 5.00 | 18.00 | 1.06 | 2.00 | 2.50 | 5.00 | 18.00 | 2.00 | 2.50 | 5.00 | 18.00 | ||||||
| vmsleu.vv v8,v16,v24 | 1.00 | 1.00 | 1.00 | 2.00 | 2.50 | 5.00 | 11.00 | 1.00 | 1.00 | 2.00 | 2.50 | 5.00 | 18.00 | 1.00 | 2.00 | 2.50 | 5.00 | 18.00 | 2.00 | 2.50 | 5.00 | 18.00 | ||||||
| vmsleu.vv v8,v16,v24,v0.t | 1.00 | 1.00 | 1.00 | 2.00 | 2.50 | 5.00 | 11.00 | 1.00 | 1.00 | 2.00 | 2.50 | 5.00 | 18.00 | 1.00 | 2.00 | 2.50 | 5.00 | 18.00 | 2.00 | 2.50 | 5.00 | 18.00 | ||||||
| vmsleu.vx v8,v16,t0 | 1.06 | 1.06 | 1.06 | 2.00 | 2.50 | 5.00 | 11.00 | 1.06 | 1.06 | 2.00 | 2.50 | 5.00 | 18.00 | 1.06 | 2.00 | 2.50 | 5.00 | 18.00 | 2.00 | 2.50 | 5.00 | 18.00 | ||||||
| vmsleu.vx v8,v16,t0,v0.t | 1.06 | 1.06 | 1.06 | 2.00 | 2.50 | 5.00 | 11.00 | 1.06 | 1.06 | 2.00 | 2.50 | 5.00 | 18.00 | 1.06 | 2.00 | 2.50 | 5.00 | 18.00 | 2.00 | 2.50 | 5.00 | 18.00 | ||||||
| vmsleu.vi v8,v16,13 | 1.00 | 1.00 | 1.00 | 2.00 | 2.50 | 5.00 | 11.00 | 1.00 | 1.00 | 2.00 | 2.50 | 5.00 | 18.00 | 1.00 | 2.00 | 2.50 | 5.00 | 18.00 | 2.00 | 2.50 | 5.00 | 18.00 | ||||||
| vmsleu.vi v8,v16,13,v0.t | 1.00 | 1.00 | 1.00 | 2.00 | 2.50 | 5.00 | 11.00 | 1.00 | 1.00 | 2.00 | 2.50 | 5.00 | 18.00 | 1.00 | 2.00 | 2.50 | 5.00 | 18.00 | 2.00 | 2.50 | 5.00 | 18.00 | ||||||
| vmsle.vv v8,v16,v24 | 1.00 | 1.00 | 1.00 | 2.00 | 2.50 | 5.00 | 11.00 | 1.00 | 1.00 | 2.00 | 2.50 | 5.00 | 18.00 | 1.00 | 2.00 | 2.50 | 5.00 | 18.00 | 2.00 | 2.50 | 5.00 | 18.00 | ||||||
| vmsle.vv v8,v16,v24,v0.t | 1.00 | 1.00 | 1.00 | 2.00 | 2.50 | 5.00 | 11.00 | 1.00 | 1.00 | 2.00 | 2.50 | 5.00 | 18.00 | 1.00 | 2.00 | 2.50 | 5.00 | 18.00 | 2.00 | 2.50 | 5.00 | 18.00 | ||||||
| vmsle.vx v8,v16,t0 | 1.06 | 1.06 | 1.06 | 2.00 | 2.50 | 5.00 | 11.00 | 1.06 | 1.06 | 2.00 | 2.50 | 5.00 | 18.00 | 1.06 | 2.00 | 2.50 | 5.00 | 18.00 | 2.00 | 2.50 | 5.00 | 18.00 | ||||||
| vmsle.vx v8,v16,t0,v0.t | 1.06 | 1.06 | 1.06 | 2.00 | 2.50 | 5.00 | 11.00 | 1.06 | 1.06 | 2.00 | 2.50 | 5.00 | 18.00 | 1.06 | 2.00 | 2.50 | 5.00 | 18.00 | 2.00 | 2.50 | 5.00 | 18.00 | ||||||
| vmsle.vi v8,v16,13 | 1.00 | 1.00 | 1.00 | 2.00 | 2.50 | 5.00 | 11.00 | 1.00 | 1.00 | 2.00 | 2.50 | 5.00 | 18.00 | 1.00 | 2.00 | 2.50 | 5.00 | 18.00 | 2.00 | 2.50 | 5.00 | 18.00 | ||||||
| vmsle.vi v8,v16,13,v0.t | 1.00 | 1.00 | 1.00 | 2.00 | 2.50 | 5.00 | 11.00 | 1.00 | 1.00 | 2.00 | 2.50 | 5.00 | 18.00 | 1.00 | 2.00 | 2.50 | 5.00 | 18.00 | 2.00 | 2.50 | 5.00 | 18.00 | ||||||
| vmsgtu.vx v8,v16,t0 | 1.06 | 1.06 | 1.06 | 2.00 | 2.50 | 5.00 | 11.00 | 1.06 | 1.06 | 2.00 | 2.50 | 5.00 | 18.00 | 1.06 | 2.00 | 2.50 | 5.00 | 18.00 | 2.00 | 2.50 | 5.00 | 18.00 | ||||||
| vmsgtu.vx v8,v16,t0,v0.t | 1.06 | 1.06 | 1.06 | 2.00 | 2.50 | 5.00 | 11.00 | 1.06 | 1.06 | 2.00 | 2.50 | 5.00 | 18.00 | 1.06 | 2.00 | 2.50 | 5.00 | 18.00 | 2.00 | 2.50 | 5.00 | 18.00 | ||||||
| vmsgtu.vi v8,v16,13 | 1.00 | 1.00 | 1.00 | 2.00 | 2.50 | 5.00 | 11.00 | 1.00 | 1.00 | 2.00 | 2.50 | 5.00 | 18.00 | 1.00 | 2.00 | 2.50 | 5.00 | 18.00 | 2.00 | 2.50 | 5.00 | 18.00 | ||||||
| vmsgtu.vi v8,v16,13,v0.t | 1.00 | 1.00 | 1.00 | 2.00 | 2.50 | 5.00 | 11.00 | 1.00 | 1.00 | 2.00 | 2.50 | 5.00 | 18.00 | 1.00 | 2.00 | 2.50 | 5.00 | 18.00 | 2.00 | 2.50 | 5.00 | 18.00 | ||||||
| vmsgt.vx v8,v16,t0 | 1.06 | 1.06 | 1.06 | 2.00 | 2.50 | 5.00 | 11.00 | 1.06 | 1.06 | 2.00 | 2.50 | 5.00 | 18.00 | 1.06 | 2.00 | 2.50 | 5.00 | 18.00 | 2.00 | 2.50 | 5.00 | 18.00 | ||||||
| vmsgt.vx v8,v16,t0,v0.t | 1.06 | 1.06 | 1.06 | 2.00 | 2.50 | 5.00 | 11.00 | 1.06 | 1.06 | 2.00 | 2.50 | 5.00 | 18.00 | 1.06 | 2.00 | 2.50 | 5.00 | 18.00 | 2.00 | 2.50 | 5.00 | 18.00 | ||||||
| vmsgt.vi v8,v16,13 | 1.00 | 1.00 | 1.00 | 2.00 | 2.50 | 5.00 | 11.00 | 1.00 | 1.00 | 2.00 | 2.50 | 5.00 | 18.00 | 1.00 | 2.00 | 2.50 | 5.00 | 18.00 | 2.00 | 2.50 | 5.00 | 18.00 | ||||||
| vmsgt.vi v8,v16,13,v0.t | 1.00 | 1.00 | 1.00 | 2.00 | 2.50 | 5.00 | 11.00 | 1.00 | 1.00 | 2.00 | 2.50 | 5.00 | 18.00 | 1.00 | 2.00 | 2.50 | 5.00 | 18.00 | 2.00 | 2.50 | 5.00 | 18.00 | ||||||
| vcompress.vm v8,v16,v24 | 1.00 | 1.00 | 1.00 | 3.00 | 10.00 | 36.00 | 135.95 | 1.00 | 1.00 | 3.00 | 10.00 | 36.00 | 135.95 | 1.00 | 3.00 | 10.00 | 36.00 | 135.95 | 3.00 | 10.00 | 36.00 | 135.95 | ||||||
| vmandn.mm v8,v16,v24 | 1.00 | 1.00 | 1.00 | 1.00 | 1.00 | 1.00 | 1.00 | 1.00 | 1.00 | 1.00 | 1.00 | 1.00 | 1.00 | 1.00 | 1.00 | 1.00 | 1.00 | 1.00 | 1.00 | 1.00 | 1.00 | 1.00 | ||||||
| vmand.mm v8,v16,v24 | 1.00 | 1.00 | 1.00 | 1.00 | 1.00 | 1.00 | 1.00 | 1.00 | 1.00 | 1.00 | 1.00 | 1.00 | 1.00 | 1.00 | 1.00 | 1.00 | 1.00 | 1.00 | 1.00 | 1.00 | 1.00 | 1.00 | ||||||
| vmor.mm v8,v16,v24 | 1.00 | 1.00 | 1.00 | 1.00 | 1.00 | 1.00 | 1.00 | 1.00 | 1.00 | 1.00 | 1.00 | 1.00 | 1.00 | 1.00 | 1.00 | 1.00 | 1.00 | 1.00 | 1.00 | 1.00 | 1.00 | 1.00 | ||||||
| vmxor.mm v8,v16,v24 | 1.00 | 1.00 | 1.00 | 1.00 | 1.00 | 1.00 | 1.00 | 1.00 | 1.00 | 1.00 | 1.00 | 1.00 | 1.00 | 1.00 | 1.00 | 1.00 | 1.00 | 1.00 | 1.00 | 1.00 | 1.00 | 1.00 | ||||||
| vmorn.mm v8,v16,v24 | 1.00 | 1.00 | 1.00 | 1.00 | 1.00 | 1.00 | 1.00 | 1.00 | 1.00 | 1.00 | 1.00 | 1.00 | 1.00 | 1.00 | 1.00 | 1.00 | 1.00 | 1.00 | 1.00 | 1.00 | 1.00 | 1.00 | ||||||
| vmnand.mm v8,v16,v24 | 1.00 | 1.00 | 1.00 | 1.00 | 1.00 | 1.00 | 1.00 | 1.00 | 1.00 | 1.00 | 1.00 | 1.00 | 1.00 | 1.00 | 1.00 | 1.00 | 1.00 | 1.00 | 1.00 | 1.00 | 1.00 | 1.00 | ||||||
| vmnor.mm v8,v16,v24 | 1.00 | 1.00 | 1.00 | 1.00 | 1.00 | 1.00 | 1.00 | 1.00 | 1.00 | 1.00 | 1.00 | 1.00 | 1.00 | 1.00 | 1.00 | 1.00 | 1.00 | 1.00 | 1.00 | 1.00 | 1.00 | 1.00 | ||||||
| vmxnor.mm v8,v16,v24 | 1.00 | 1.00 | 1.00 | 1.00 | 1.00 | 1.00 | 1.00 | 1.00 | 1.00 | 1.00 | 1.00 | 1.00 | 1.00 | 1.00 | 1.00 | 1.00 | 1.00 | 1.00 | 1.00 | 1.00 | 1.00 | 1.00 | ||||||
| vsaddu.vv v8,v16,v24 | 1.00 | 1.00 | 1.00 | 1.00 | 2.00 | 4.00 | 8.00 | 1.00 | 1.00 | 1.00 | 2.00 | 4.00 | 8.00 | 1.00 | 1.00 | 2.00 | 4.00 | 8.00 | 1.00 | 2.00 | 4.00 | 8.00 | ||||||
| vsaddu.vv v8,v16,v24,v0.t | 1.00 | 1.00 | 1.00 | 1.00 | 2.00 | 4.00 | 8.00 | 1.00 | 1.00 | 1.00 | 2.00 | 4.00 | 8.00 | 1.00 | 1.00 | 2.00 | 4.00 | 8.00 | 1.00 | 2.00 | 4.00 | 8.00 | ||||||
| vsaddu.vx v8,v16,t0 | 1.06 | 1.06 | 1.06 | 1.06 | 2.00 | 4.00 | 8.00 | 1.06 | 1.06 | 1.06 | 2.00 | 4.00 | 8.00 | 1.06 | 1.06 | 2.00 | 4.00 | 8.00 | 1.06 | 2.00 | 4.00 | 8.00 | ||||||
| vsaddu.vx v8,v16,t0,v0.t | 1.06 | 1.06 | 1.06 | 1.06 | 2.00 | 4.00 | 8.00 | 1.06 | 1.06 | 1.06 | 2.00 | 4.00 | 8.00 | 1.06 | 1.06 | 2.00 | 4.00 | 8.00 | 1.06 | 2.00 | 4.00 | 8.00 | ||||||
| vsaddu.vi v8,v16,13 | 1.00 | 1.00 | 1.00 | 1.00 | 2.00 | 4.00 | 8.00 | 1.00 | 1.00 | 1.00 | 2.00 | 4.00 | 8.00 | 1.00 | 1.00 | 2.00 | 4.00 | 8.00 | 1.00 | 2.00 | 4.00 | 8.00 | ||||||
| vsaddu.vi v8,v16,13,v0.t | 1.00 | 1.00 | 1.00 | 1.00 | 2.00 | 4.00 | 8.00 | 1.00 | 1.00 | 1.00 | 2.00 | 4.00 | 8.00 | 1.00 | 1.00 | 2.00 | 4.00 | 8.00 | 1.00 | 2.00 | 4.00 | 8.00 | ||||||
| vsadd.vv v8,v16,v24 | 1.00 | 1.00 | 1.00 | 1.00 | 2.00 | 4.00 | 8.00 | 1.00 | 1.00 | 1.00 | 2.00 | 4.00 | 8.00 | 1.00 | 1.00 | 2.00 | 4.00 | 8.00 | 1.00 | 2.00 | 4.00 | 8.00 | ||||||
| vsadd.vv v8,v16,v24,v0.t | 1.00 | 1.00 | 1.00 | 1.00 | 2.00 | 4.00 | 8.00 | 1.00 | 1.00 | 1.00 | 2.00 | 4.00 | 8.00 | 1.00 | 1.00 | 2.00 | 4.00 | 8.00 | 1.00 | 2.00 | 4.00 | 8.00 | ||||||
| vsadd.vx v8,v16,t0 | 1.06 | 1.06 | 1.06 | 1.06 | 2.00 | 4.00 | 8.00 | 1.06 | 1.06 | 1.06 | 2.00 | 4.00 | 8.00 | 1.06 | 1.06 | 2.00 | 4.00 | 8.00 | 1.06 | 2.00 | 4.00 | 8.00 | ||||||
| vsadd.vx v8,v16,t0,v0.t | 1.06 | 1.06 | 1.06 | 1.06 | 2.00 | 4.00 | 8.00 | 1.06 | 1.06 | 1.06 | 2.00 | 4.00 | 8.00 | 1.06 | 1.06 | 2.00 | 4.00 | 8.00 | 1.06 | 2.00 | 4.00 | 8.00 | ||||||
| vsadd.vi v8,v16,13 | 1.00 | 1.00 | 1.00 | 1.00 | 2.00 | 4.00 | 8.00 | 1.00 | 1.00 | 1.00 | 2.00 | 4.00 | 8.00 | 1.00 | 1.00 | 2.00 | 4.00 | 8.00 | 1.00 | 2.00 | 4.00 | 8.00 | ||||||
| vsadd.vi v8,v16,13,v0.t | 1.00 | 1.00 | 1.00 | 1.00 | 2.00 | 4.00 | 8.00 | 1.00 | 1.00 | 1.00 | 2.00 | 4.00 | 8.00 | 1.00 | 1.00 | 2.00 | 4.00 | 8.00 | 1.00 | 2.00 | 4.00 | 8.00 | ||||||
| vssubu.vv v8,v16,v24 | 1.00 | 1.00 | 1.00 | 1.00 | 2.00 | 4.00 | 8.00 | 1.00 | 1.00 | 1.00 | 2.00 | 4.00 | 8.00 | 1.00 | 1.00 | 2.00 | 4.00 | 8.00 | 1.00 | 2.00 | 4.00 | 8.00 | ||||||
| vssubu.vv v8,v16,v24,v0.t | 1.00 | 1.00 | 1.00 | 1.00 | 2.00 | 4.00 | 8.00 | 1.00 | 1.00 | 1.00 | 2.00 | 4.00 | 8.00 | 1.00 | 1.00 | 2.00 | 4.00 | 8.00 | 1.00 | 2.00 | 4.00 | 8.00 | ||||||
| vssubu.vx v8,v16,t0 | 1.06 | 1.06 | 1.06 | 1.06 | 2.00 | 4.00 | 8.00 | 1.06 | 1.06 | 1.06 | 2.00 | 4.00 | 8.00 | 1.06 | 1.06 | 2.00 | 4.00 | 8.00 | 1.06 | 2.00 | 4.00 | 8.00 | ||||||
| vssubu.vx v8,v16,t0,v0.t | 1.06 | 1.06 | 1.06 | 1.06 | 2.00 | 4.00 | 8.00 | 1.06 | 1.06 | 1.06 | 2.00 | 4.00 | 8.00 | 1.06 | 1.06 | 2.00 | 4.00 | 8.00 | 1.06 | 2.00 | 4.00 | 8.00 | ||||||
| vssub.vv v8,v16,v24 | 1.00 | 1.00 | 1.00 | 1.00 | 2.00 | 4.00 | 8.00 | 1.00 | 1.00 | 1.00 | 2.00 | 4.00 | 8.00 | 1.00 | 1.00 | 2.00 | 4.00 | 8.00 | 1.00 | 2.00 | 4.00 | 8.00 | ||||||
| vssub.vv v8,v16,v24,v0.t | 1.00 | 1.00 | 1.00 | 1.00 | 2.00 | 4.00 | 8.00 | 1.00 | 1.00 | 1.00 | 2.00 | 4.00 | 8.00 | 1.00 | 1.00 | 2.00 | 4.00 | 8.00 | 1.00 | 2.00 | 4.00 | 8.00 | ||||||
| vssub.vx v8,v16,t0 | 1.06 | 1.06 | 1.06 | 1.06 | 2.00 | 4.00 | 8.00 | 1.06 | 1.06 | 1.06 | 2.00 | 4.00 | 8.00 | 1.06 | 1.06 | 2.00 | 4.00 | 8.00 | 1.06 | 2.00 | 4.00 | 8.00 | ||||||
| vssub.vx v8,v16,t0,v0.t | 1.06 | 1.06 | 1.06 | 1.06 | 2.00 | 4.00 | 8.00 | 1.06 | 1.06 | 1.06 | 2.00 | 4.00 | 8.00 | 1.06 | 1.06 | 2.00 | 4.00 | 8.00 | 1.06 | 2.00 | 4.00 | 8.00 | ||||||
| vsll.vv v8,v16,v24 | 1.00 | 1.00 | 1.00 | 2.00 | 4.00 | 8.00 | 16.00 | 1.00 | 1.00 | 2.00 | 4.00 | 8.00 | 16.00 | 1.00 | 2.00 | 4.00 | 8.00 | 16.00 | 2.00 | 4.00 | 8.00 | 16.00 | ||||||
| vsll.vv v8,v16,v24,v0.t | 1.00 | 1.00 | 1.00 | 2.00 | 4.00 | 8.00 | 16.00 | 1.00 | 1.00 | 2.00 | 4.00 | 8.00 | 16.00 | 1.00 | 2.00 | 4.00 | 8.00 | 16.00 | 2.00 | 4.00 | 8.00 | 16.00 | ||||||
| vsll.vx v8,v16,t0 | 1.06 | 1.06 | 1.06 | 2.00 | 4.00 | 8.00 | 16.00 | 1.06 | 1.06 | 2.00 | 4.00 | 8.00 | 16.00 | 1.06 | 2.00 | 4.00 | 8.00 | 16.00 | 2.00 | 4.00 | 8.00 | 16.00 | ||||||
| vsll.vx v8,v16,t0,v0.t | 1.06 | 1.06 | 1.06 | 2.00 | 4.00 | 8.00 | 16.00 | 1.06 | 1.06 | 2.00 | 4.00 | 8.00 | 16.00 | 1.06 | 2.00 | 4.00 | 8.00 | 16.00 | 2.00 | 4.00 | 8.00 | 16.00 | ||||||
| vsll.vi v8,v16,13 | 1.00 | 1.00 | 1.00 | 2.00 | 4.00 | 8.00 | 16.00 | 1.00 | 1.00 | 2.00 | 4.00 | 8.00 | 16.00 | 1.00 | 2.00 | 4.00 | 8.00 | 16.00 | 2.00 | 4.00 | 8.00 | 16.00 | ||||||
| vsll.vi v8,v16,13,v0.t | 1.00 | 1.00 | 1.00 | 2.00 | 4.00 | 8.00 | 16.00 | 1.00 | 1.00 | 2.00 | 4.00 | 8.00 | 16.00 | 1.00 | 2.00 | 4.00 | 8.00 | 16.00 | 2.00 | 4.00 | 8.00 | 16.00 | ||||||
| vsmul.vv v8,v16,v24 | 1.00 | 1.00 | 1.00 | 1.00 | 2.00 | 4.00 | 8.00 | 1.00 | 1.00 | 1.00 | 2.00 | 4.00 | 8.00 | 1.00 | 1.00 | 2.00 | 4.00 | 8.00 | 4.00 | 8.00 | 16.00 | 32.00 | ||||||
| vsmul.vv v8,v16,v24,v0.t | 1.00 | 1.00 | 1.00 | 1.00 | 2.00 | 4.00 | 8.00 | 1.00 | 1.00 | 1.00 | 2.00 | 4.00 | 8.00 | 1.00 | 1.00 | 2.00 | 4.00 | 8.00 | 4.00 | 8.00 | 16.00 | 32.00 | ||||||
| vsmul.vx v8,v16,t0 | 1.06 | 1.06 | 1.06 | 1.06 | 2.00 | 4.00 | 8.00 | 1.06 | 1.06 | 1.06 | 2.00 | 4.00 | 8.00 | 1.06 | 1.06 | 2.00 | 4.00 | 8.00 | 4.00 | 8.00 | 16.00 | 32.00 | ||||||
| vsmul.vx v8,v16,t0,v0.t | 1.06 | 1.06 | 1.06 | 1.06 | 2.00 | 4.00 | 8.00 | 1.06 | 1.06 | 1.06 | 2.00 | 4.00 | 8.00 | 1.06 | 1.06 | 2.00 | 4.00 | 8.00 | 4.00 | 8.00 | 16.00 | 32.00 | ||||||
| vmv1r.v v8,v16 | 1.00 | 1.00 | 1.00 | 1.00 | 1.00 | 1.00 | 2.00 | 1.00 | 1.00 | 1.00 | 1.00 | 1.00 | 2.00 | 1.00 | 1.00 | 1.00 | 1.00 | 2.00 | 1.00 | 1.00 | 1.00 | 2.00 | ||||||
| vmv2r.v v8,v16 | 2.00 | 2.00 | 3.00 | 2.00 | 2.00 | 3.00 | 2.00 | 2.00 | 3.00 | 2.00 | 2.00 | 3.00 | ||||||||||||||||
| vmv4r.v v8,v16 | 4.00 | 4.00 | 4.00 | 4.00 | 4.00 | 4.00 | 4.00 | 4.00 | ||||||||||||||||||||
| vmv8r.v v8,v16 | 8.00 | 8.00 | 8.00 | 8.00 | ||||||||||||||||||||||||
| vsrl.vv v8,v16,v24 | 1.00 | 1.00 | 1.00 | 2.00 | 4.00 | 8.00 | 16.00 | 1.00 | 1.00 | 2.00 | 4.00 | 8.00 | 16.00 | 1.00 | 2.00 | 4.00 | 8.00 | 16.00 | 2.00 | 4.00 | 8.00 | 16.00 | ||||||
| vsrl.vv v8,v16,v24,v0.t | 1.00 | 1.00 | 1.00 | 2.00 | 4.00 | 8.00 | 16.00 | 1.00 | 1.00 | 2.00 | 4.00 | 8.00 | 16.00 | 1.00 | 2.00 | 4.00 | 8.00 | 16.00 | 2.00 | 4.00 | 8.00 | 16.00 | ||||||
| vsrl.vx v8,v16,t0 | 1.06 | 1.06 | 1.06 | 2.00 | 4.00 | 8.00 | 16.00 | 1.06 | 1.06 | 2.00 | 4.00 | 8.00 | 16.00 | 1.06 | 2.00 | 4.00 | 8.00 | 16.00 | 2.00 | 4.00 | 8.00 | 16.00 | ||||||
| vsrl.vx v8,v16,t0,v0.t | 1.06 | 1.06 | 1.06 | 2.00 | 4.00 | 8.00 | 16.00 | 1.06 | 1.06 | 2.00 | 4.00 | 8.00 | 16.00 | 1.06 | 2.00 | 4.00 | 8.00 | 16.00 | 2.00 | 4.00 | 8.00 | 16.00 | ||||||
| vsrl.vi v8,v16,13 | 1.00 | 1.00 | 1.00 | 2.00 | 4.00 | 8.00 | 16.00 | 1.00 | 1.00 | 2.00 | 4.00 | 8.00 | 16.00 | 1.00 | 2.00 | 4.00 | 8.00 | 16.00 | 2.00 | 4.00 | 8.00 | 16.00 | ||||||
| vsrl.vi v8,v16,13,v0.t | 1.00 | 1.00 | 1.00 | 2.00 | 4.00 | 8.00 | 16.00 | 1.00 | 1.00 | 2.00 | 4.00 | 8.00 | 16.00 | 1.00 | 2.00 | 4.00 | 8.00 | 16.00 | 2.00 | 4.00 | 8.00 | 16.00 | ||||||
| vsra.vv v8,v16,v24 | 1.00 | 1.00 | 1.00 | 2.00 | 4.00 | 8.00 | 16.00 | 1.00 | 1.00 | 2.00 | 4.00 | 8.00 | 16.00 | 1.00 | 2.00 | 4.00 | 8.00 | 16.00 | 2.00 | 4.00 | 8.00 | 16.00 | ||||||
| vsra.vv v8,v16,v24,v0.t | 1.00 | 1.00 | 1.00 | 2.00 | 4.00 | 8.00 | 16.00 | 1.00 | 1.00 | 2.00 | 4.00 | 8.00 | 16.00 | 1.00 | 2.00 | 4.00 | 8.00 | 16.00 | 2.00 | 4.00 | 8.00 | 16.00 | ||||||
| vsra.vx v8,v16,t0 | 1.06 | 1.06 | 1.06 | 2.00 | 4.00 | 8.00 | 16.00 | 1.06 | 1.06 | 2.00 | 4.00 | 8.00 | 16.00 | 1.06 | 2.00 | 4.00 | 8.00 | 16.00 | 2.00 | 4.00 | 8.00 | 16.00 | ||||||
| vsra.vx v8,v16,t0,v0.t | 1.06 | 1.06 | 1.06 | 2.00 | 4.00 | 8.00 | 16.00 | 1.06 | 1.06 | 2.00 | 4.00 | 8.00 | 16.00 | 1.06 | 2.00 | 4.00 | 8.00 | 16.00 | 2.00 | 4.00 | 8.00 | 16.00 | ||||||
| vsra.vi v8,v16,13 | 1.00 | 1.00 | 1.00 | 2.00 | 4.00 | 8.00 | 16.00 | 1.00 | 1.00 | 2.00 | 4.00 | 8.00 | 16.00 | 1.00 | 2.00 | 4.00 | 8.00 | 16.00 | 2.00 | 4.00 | 8.00 | 16.00 | ||||||
| vsra.vi v8,v16,13,v0.t | 1.00 | 1.00 | 1.00 | 2.00 | 4.00 | 8.00 | 16.00 | 1.00 | 1.00 | 2.00 | 4.00 | 8.00 | 16.00 | 1.00 | 2.00 | 4.00 | 8.00 | 16.00 | 2.00 | 4.00 | 8.00 | 16.00 | ||||||
| vssrl.vv v8,v16,v24 | 1.00 | 1.00 | 1.00 | 2.00 | 4.00 | 8.00 | 16.00 | 1.00 | 1.00 | 2.00 | 4.00 | 8.00 | 16.00 | 1.00 | 2.00 | 4.00 | 8.00 | 16.00 | 2.00 | 4.00 | 8.00 | 16.00 | ||||||
| vssrl.vv v8,v16,v24,v0.t | 1.00 | 1.00 | 1.00 | 2.00 | 4.00 | 8.00 | 16.00 | 1.00 | 1.00 | 2.00 | 4.00 | 8.00 | 16.00 | 1.00 | 2.00 | 4.00 | 8.00 | 16.00 | 2.00 | 4.00 | 8.00 | 16.00 | ||||||
| vssrl.vx v8,v16,t0 | 1.06 | 1.06 | 1.06 | 2.00 | 4.00 | 8.00 | 16.00 | 1.06 | 1.06 | 2.00 | 4.00 | 8.00 | 16.00 | 1.06 | 2.00 | 4.00 | 8.00 | 16.00 | 2.00 | 4.00 | 8.00 | 16.00 | ||||||
| vssrl.vx v8,v16,t0,v0.t | 1.06 | 1.06 | 1.06 | 2.00 | 4.00 | 8.00 | 16.00 | 1.06 | 1.06 | 2.00 | 4.00 | 8.00 | 16.00 | 1.06 | 2.00 | 4.00 | 8.00 | 16.00 | 2.00 | 4.00 | 8.00 | 16.00 | ||||||
| vssrl.vi v8,v16,13 | 1.00 | 1.00 | 1.00 | 2.00 | 4.00 | 8.00 | 16.00 | 1.00 | 1.00 | 2.00 | 4.00 | 8.00 | 16.00 | 1.00 | 2.00 | 4.00 | 8.00 | 16.00 | 2.00 | 4.00 | 8.00 | 16.00 | ||||||
| vssrl.vi v8,v16,13,v0.t | 1.00 | 1.00 | 1.00 | 2.00 | 4.00 | 8.00 | 16.00 | 1.00 | 1.00 | 2.00 | 4.00 | 8.00 | 16.00 | 1.00 | 2.00 | 4.00 | 8.00 | 16.00 | 2.00 | 4.00 | 8.00 | 16.00 | ||||||
| vdivu.vv v8,v16,v24 | 11.16 | 11.96 | 12.62 | 25.63 | 50.79 | 101.39 | 204.76 | 10.41 | 10.81 | 22.01 | 43.59 | 87.53 | 175.58 | 10.39 | 20.82 | 41.88 | 83.63 | 167.54 | 19.63 | 39.77 | 79.86 | 157.90 | ||||||
| vdivu.vv v8,v16,v24,v0.t | 10.31 | 11.03 | 12.01 | 23.69 | 47.13 | 94.48 | 188.92 | 9.89 | 10.36 | 20.81 | 41.19 | 82.19 | 164.78 | 10.05 | 19.98 | 39.48 | 78.23 | 156.94 | 19.18 | 37.94 | 75.73 | 152.82 | ||||||
| vdivu.vx v8,v16,t0 | 9.31 | 9.31 | 9.35 | 18.62 | 36.90 | 73.59 | 147.18 | 9.30 | 9.30 | 18.61 | 37.25 | 73.97 | 147.98 | 9.54 | 19.00 | 37.92 | 75.47 | 147.74 | 18.56 | 36.00 | 71.99 | 143.99 | ||||||
| vdivu.vx v8,v16,t0,v0.t | 9.30 | 9.28 | 9.31 | 18.67 | 37.13 | 74.37 | 146.34 | 9.28 | 9.28 | 18.60 | 36.85 | 74.22 | 143.99 | 9.37 | 18.83 | 37.28 | 75.59 | 146.59 | 18.40 | 36.00 | 71.99 | 143.99 | ||||||
| vdiv.vv v8,v16,v24 | 11.88 | 12.37 | 13.22 | 26.77 | 53.39 | 107.01 | 211.91 | 11.13 | 11.50 | 23.41 | 46.84 | 93.35 | 186.25 | 11.16 | 22.56 | 45.08 | 89.77 | 179.71 | 21.55 | 42.75 | 86.20 | 171.64 | ||||||
| vdiv.vv v8,v16,v24,v0.t | 11.29 | 11.85 | 12.41 | 24.71 | 49.72 | 99.35 | 198.71 | 10.96 | 11.23 | 22.34 | 44.19 | 88.88 | 178.43 | 10.85 | 21.54 | 42.77 | 86.02 | 171.22 | 20.91 | 41.79 | 82.93 | 165.62 | ||||||
| vdiv.vx v8,v16,t0 | 10.38 | 10.45 | 10.33 | 21.05 | 41.39 | 82.44 | 160.19 | 10.30 | 10.37 | 20.71 | 41.24 | 82.79 | 161.59 | 10.53 | 20.91 | 41.53 | 83.77 | 168.53 | 20.43 | 40.00 | 79.99 | 159.98 | ||||||
| vdiv.vx v8,v16,t0,v0.t | 10.34 | 10.38 | 10.45 | 20.81 | 41.12 | 81.07 | 160.08 | 10.27 | 10.34 | 20.60 | 40.88 | 80.92 | 159.98 | 10.44 | 20.79 | 41.29 | 82.39 | 159.98 | 20.31 | 40.00 | 79.99 | 159.98 | ||||||
| vremu.vv v8,v16,v24 | 12.28 | 12.76 | 13.75 | 27.33 | 54.87 | 109.87 | 219.01 | 11.32 | 12.05 | 23.93 | 48.15 | 95.29 | 191.37 | 11.61 | 22.96 | 45.65 | 91.77 | 183.26 | 21.88 | 43.33 | 87.25 | 175.41 | ||||||
| vremu.vv v8,v16,v24,v0.t | 11.48 | 12.07 | 12.88 | 25.53 | 51.68 | 101.69 | 203.35 | 11.05 | 11.37 | 22.63 | 45.25 | 90.49 | 180.62 | 11.06 | 21.76 | 43.40 | 86.91 | 172.08 | 21.16 | 42.08 | 84.38 | 167.58 | ||||||
| vremu.vx v8,v16,t0 | 10.34 | 10.32 | 10.35 | 20.70 | 41.14 | 82.79 | 163.18 | 10.30 | 10.31 | 20.63 | 41.05 | 80.19 | 161.59 | 10.50 | 21.13 | 42.05 | 82.89 | 168.18 | 20.56 | 40.00 | 79.99 | 159.98 | ||||||
| vremu.vx v8,v16,t0,v0.t | 10.25 | 10.28 | 10.39 | 20.62 | 41.07 | 81.79 | 159.99 | 10.23 | 10.29 | 20.56 | 40.94 | 80.92 | 159.99 | 10.40 | 20.96 | 41.48 | 82.89 | 160.38 | 20.38 | 40.00 | 79.99 | 159.98 | ||||||
| vrem.vv v8,v16,v24 | 12.83 | 13.40 | 14.18 | 28.56 | 57.71 | 115.18 | 229.32 | 12.23 | 12.60 | 25.30 | 50.62 | 101.19 | 201.36 | 12.14 | 24.41 | 49.05 | 96.93 | 194.56 | 23.42 | 46.93 | 93.87 | 187.77 | ||||||
| vrem.vv v8,v16,v24,v0.t | 12.06 | 12.74 | 13.48 | 26.90 | 53.72 | 107.75 | 215.46 | 11.71 | 12.23 | 24.25 | 48.67 | 96.66 | 194.00 | 11.70 | 23.46 | 46.90 | 93.66 | 186.91 | 22.93 | 45.50 | 91.38 | 181.75 | ||||||
| vrem.vx v8,v16,t0 | 11.41 | 11.36 | 11.45 | 22.73 | 45.55 | 89.79 | 182.18 | 11.33 | 11.33 | 22.75 | 45.39 | 90.99 | 175.98 | 11.48 | 23.03 | 45.54 | 91.24 | 177.48 | 22.46 | 44.00 | 87.99 | 175.98 | ||||||
| vrem.vx v8,v16,t0,v0.t | 11.28 | 11.45 | 11.40 | 22.62 | 45.31 | 90.44 | 176.23 | 11.35 | 11.30 | 22.70 | 44.88 | 89.12 | 178.58 | 11.49 | 22.80 | 45.52 | 90.26 | 180.13 | 22.26 | 44.00 | 87.99 | 175.98 | ||||||
| vmulhu.vv v8,v16,v24 | 1.00 | 1.00 | 1.00 | 1.00 | 2.00 | 4.00 | 8.00 | 1.00 | 1.00 | 1.00 | 2.00 | 4.00 | 8.00 | 1.00 | 1.00 | 2.00 | 4.00 | 8.00 | 4.00 | 8.00 | 16.00 | 32.00 | ||||||
| vmulhu.vv v8,v16,v24,v0.t | 1.00 | 1.00 | 1.00 | 1.00 | 2.00 | 4.00 | 8.00 | 1.00 | 1.00 | 1.00 | 2.00 | 4.00 | 8.00 | 1.00 | 1.00 | 2.00 | 4.00 | 8.00 | 4.00 | 8.00 | 16.00 | 32.00 | ||||||
| vmulhu.vx v8,v16,t0 | 1.06 | 1.06 | 1.06 | 1.06 | 2.00 | 4.00 | 8.00 | 1.06 | 1.06 | 1.06 | 2.00 | 4.00 | 8.00 | 1.06 | 1.06 | 2.00 | 4.00 | 8.00 | 4.00 | 8.00 | 16.00 | 32.00 | ||||||
| vmulhu.vx v8,v16,t0,v0.t | 1.06 | 1.06 | 1.06 | 1.06 | 2.00 | 4.00 | 8.00 | 1.06 | 1.06 | 1.06 | 2.00 | 4.00 | 8.00 | 1.06 | 1.06 | 2.00 | 4.00 | 8.00 | 4.00 | 8.00 | 16.00 | 32.00 | ||||||
| vmul.vv v8,v16,v24 | 1.00 | 1.00 | 1.00 | 1.00 | 2.00 | 4.00 | 8.00 | 1.00 | 1.00 | 1.00 | 2.00 | 4.00 | 8.00 | 1.00 | 1.00 | 2.00 | 4.00 | 8.00 | 4.00 | 8.00 | 16.00 | 32.00 | ||||||
| vmul.vv v8,v16,v24,v0.t | 1.00 | 1.00 | 1.00 | 1.00 | 2.00 | 4.00 | 8.00 | 1.00 | 1.00 | 1.00 | 2.00 | 4.00 | 8.00 | 1.00 | 1.00 | 2.00 | 4.00 | 8.00 | 4.00 | 8.00 | 16.00 | 32.00 | ||||||
| vmul.vx v8,v16,t0 | 1.06 | 1.06 | 1.06 | 1.06 | 2.00 | 4.00 | 8.00 | 1.06 | 1.06 | 1.06 | 2.00 | 4.00 | 8.00 | 1.06 | 1.06 | 2.00 | 4.00 | 8.00 | 4.00 | 8.00 | 16.00 | 32.00 | ||||||
| vmul.vx v8,v16,t0,v0.t | 1.06 | 1.06 | 1.06 | 1.06 | 2.00 | 4.00 | 8.00 | 1.06 | 1.06 | 1.06 | 2.00 | 4.00 | 8.00 | 1.06 | 1.06 | 2.00 | 4.00 | 8.00 | 4.00 | 8.00 | 16.00 | 32.00 | ||||||
| vmulhsu.vv v8,v16,v24 | 1.00 | 1.00 | 1.00 | 1.00 | 2.00 | 4.00 | 8.00 | 1.00 | 1.00 | 1.00 | 2.00 | 4.00 | 8.00 | 1.00 | 1.00 | 2.00 | 4.00 | 8.00 | 4.00 | 8.00 | 16.00 | 32.00 | ||||||
| vmulhsu.vv v8,v16,v24,v0.t | 1.00 | 1.00 | 1.00 | 1.00 | 2.00 | 4.00 | 8.00 | 1.00 | 1.00 | 1.00 | 2.00 | 4.00 | 8.00 | 1.00 | 1.00 | 2.00 | 4.00 | 8.00 | 4.00 | 8.00 | 16.00 | 32.00 | ||||||
| vmulhsu.vx v8,v16,t0 | 1.06 | 1.06 | 1.06 | 1.06 | 2.00 | 4.00 | 8.00 | 1.06 | 1.06 | 1.06 | 2.00 | 4.00 | 8.00 | 1.06 | 1.06 | 2.00 | 4.00 | 8.00 | 4.00 | 8.00 | 16.00 | 32.00 | ||||||
| vmulhsu.vx v8,v16,t0,v0.t | 1.06 | 1.06 | 1.06 | 1.06 | 2.00 | 4.00 | 8.00 | 1.06 | 1.06 | 1.06 | 2.00 | 4.00 | 8.00 | 1.06 | 1.06 | 2.00 | 4.00 | 8.00 | 4.00 | 8.00 | 16.00 | 32.00 | ||||||
| vmulh.vv v8,v16,v24 | 1.00 | 1.00 | 1.00 | 1.00 | 2.00 | 4.00 | 8.00 | 1.00 | 1.00 | 1.00 | 2.00 | 4.00 | 8.00 | 1.00 | 1.00 | 2.00 | 4.00 | 8.00 | 4.00 | 8.00 | 16.00 | 32.00 | ||||||
| vmulh.vv v8,v16,v24,v0.t | 1.00 | 1.00 | 1.00 | 1.00 | 2.00 | 4.00 | 8.00 | 1.00 | 1.00 | 1.00 | 2.00 | 4.00 | 8.00 | 1.00 | 1.00 | 2.00 | 4.00 | 8.00 | 4.00 | 8.00 | 16.00 | 32.00 | ||||||
| vmulh.vx v8,v16,t0 | 1.06 | 1.06 | 1.06 | 1.06 | 2.00 | 4.00 | 8.00 | 1.06 | 1.06 | 1.06 | 2.00 | 4.00 | 8.00 | 1.06 | 1.06 | 2.00 | 4.00 | 8.00 | 4.00 | 8.00 | 16.00 | 32.00 | ||||||
| vmulh.vx v8,v16,t0,v0.t | 1.06 | 1.06 | 1.06 | 1.06 | 2.00 | 4.00 | 8.00 | 1.06 | 1.06 | 1.06 | 2.00 | 4.00 | 8.00 | 1.06 | 1.06 | 2.00 | 4.00 | 8.00 | 4.00 | 8.00 | 16.00 | 32.00 | ||||||
| vmadd.vv v8,v16,v24 | 1.00 | 1.00 | 1.00 | 1.00 | 2.00 | 4.00 | 8.00 | 1.00 | 1.00 | 1.00 | 2.00 | 4.00 | 8.00 | 1.00 | 1.00 | 2.00 | 4.00 | 8.00 | 4.00 | 8.00 | 16.00 | 32.00 | ||||||
| vmadd.vv v8,v16,v24,v0.t | 1.00 | 1.00 | 1.00 | 1.00 | 2.00 | 4.00 | 8.00 | 1.00 | 1.00 | 1.00 | 2.00 | 4.00 | 8.00 | 1.00 | 1.00 | 2.00 | 4.00 | 8.00 | 4.00 | 8.00 | 16.00 | 32.00 | ||||||
| vmadd.vx v8,t0,v16 | 1.06 | 1.06 | 1.06 | 1.06 | 2.00 | 4.00 | 8.00 | 1.06 | 1.06 | 1.06 | 2.00 | 4.00 | 8.00 | 1.06 | 1.06 | 2.00 | 4.00 | 8.00 | 4.00 | 8.00 | 16.00 | 32.00 | ||||||
| vmadd.vx v8,t0,v16,v0.t | 1.06 | 1.06 | 1.06 | 1.06 | 2.00 | 4.00 | 8.00 | 1.06 | 1.06 | 1.06 | 2.00 | 4.00 | 8.00 | 1.06 | 1.06 | 2.00 | 4.00 | 8.00 | 4.00 | 8.00 | 16.00 | 32.00 | ||||||
| vmacc.vv v8,v16,v24 | 1.00 | 1.00 | 1.00 | 1.00 | 2.00 | 4.00 | 8.00 | 1.00 | 1.00 | 1.00 | 2.00 | 4.00 | 8.00 | 1.00 | 1.00 | 2.00 | 4.00 | 8.00 | 4.00 | 8.00 | 16.00 | 32.00 | ||||||
| vmacc.vv v8,v16,v24,v0.t | 1.00 | 1.00 | 1.00 | 1.00 | 2.00 | 4.00 | 8.00 | 1.00 | 1.00 | 1.00 | 2.00 | 4.00 | 8.00 | 1.00 | 1.00 | 2.00 | 4.00 | 8.00 | 4.00 | 8.00 | 16.00 | 32.00 | ||||||
| vmacc.vx v8,t0,v16 | 1.06 | 1.06 | 1.06 | 1.06 | 2.00 | 4.00 | 8.00 | 1.06 | 1.06 | 1.06 | 2.00 | 4.00 | 8.00 | 1.06 | 1.06 | 2.00 | 4.00 | 8.00 | 4.00 | 8.00 | 16.00 | 32.00 | ||||||
| vmacc.vx v8,t0,v16,v0.t | 1.06 | 1.06 | 1.06 | 1.06 | 2.00 | 4.00 | 8.00 | 1.06 | 1.06 | 1.06 | 2.00 | 4.00 | 8.00 | 1.06 | 1.06 | 2.00 | 4.00 | 8.00 | 4.00 | 8.00 | 16.00 | 32.00 | ||||||
| vnsrl.wv v8,v16,v24 | 1.00 | 1.00 | 2.00 | 4.00 | 8.00 | 16.00 | 1.00 | 2.00 | 4.00 | 8.00 | 16.00 | 2.00 | 4.00 | 8.00 | 16.00 | |||||||||||||
| vnsrl.wv v8,v16,v24,v0.t | 1.00 | 1.00 | 2.00 | 4.00 | 8.00 | 16.00 | 1.00 | 2.00 | 4.00 | 8.00 | 16.00 | 2.00 | 4.00 | 8.00 | 16.00 | |||||||||||||
| vnsrl.wx v8,v16,t0 | 1.06 | 1.06 | 2.00 | 4.00 | 8.00 | 16.00 | 1.06 | 2.00 | 4.00 | 8.00 | 16.00 | 2.00 | 4.00 | 8.00 | 16.00 | |||||||||||||
| vnsrl.wx v8,v16,t0,v0.t | 1.06 | 1.06 | 2.00 | 4.00 | 8.00 | 16.00 | 1.06 | 2.00 | 4.00 | 8.00 | 16.00 | 2.00 | 4.00 | 8.00 | 16.00 | |||||||||||||
| vnsrl.wi v8,v16,13 | 1.00 | 1.00 | 2.00 | 4.00 | 8.00 | 16.00 | 1.00 | 2.00 | 4.00 | 8.00 | 16.00 | 2.00 | 4.00 | 8.00 | 16.00 | |||||||||||||
| vnsrl.wi v8,v16,13,v0.t | 1.00 | 1.00 | 2.00 | 4.00 | 8.00 | 16.00 | 1.00 | 2.00 | 4.00 | 8.00 | 16.00 | 2.00 | 4.00 | 8.00 | 16.00 | |||||||||||||
| vnsra.wv v8,v16,v24 | 1.00 | 1.00 | 2.00 | 4.00 | 8.00 | 16.00 | 1.00 | 2.00 | 4.00 | 8.00 | 16.00 | 2.00 | 4.00 | 8.00 | 16.00 | |||||||||||||
| vnsra.wv v8,v16,v24,v0.t | 1.00 | 1.00 | 2.00 | 4.00 | 8.00 | 16.00 | 1.00 | 2.00 | 4.00 | 8.00 | 16.00 | 2.00 | 4.00 | 8.00 | 16.00 | |||||||||||||
| vnsra.wx v8,v16,t0 | 1.06 | 1.06 | 2.00 | 4.00 | 8.00 | 16.00 | 1.06 | 2.00 | 4.00 | 8.00 | 16.00 | 2.00 | 4.00 | 8.00 | 16.00 | |||||||||||||
| vnsra.wx v8,v16,t0,v0.t | 1.06 | 1.06 | 2.00 | 4.00 | 8.00 | 16.00 | 1.06 | 2.00 | 4.00 | 8.00 | 16.00 | 2.00 | 4.00 | 8.00 | 16.00 | |||||||||||||
| vnsra.wi v8,v16,13 | 1.00 | 1.00 | 2.00 | 4.00 | 8.00 | 16.00 | 1.00 | 2.00 | 4.00 | 8.00 | 16.00 | 2.00 | 4.00 | 8.00 | 16.00 | |||||||||||||
| vnsra.wi v8,v16,13,v0.t | 1.00 | 1.00 | 2.00 | 4.00 | 8.00 | 16.00 | 1.00 | 2.00 | 4.00 | 8.00 | 16.00 | 2.00 | 4.00 | 8.00 | 16.00 | |||||||||||||
| vnclipu.wv v8,v16,v24 | 1.00 | 1.00 | 2.00 | 4.00 | 8.00 | 16.00 | 1.00 | 2.00 | 4.00 | 8.00 | 16.00 | 2.00 | 4.00 | 8.00 | 16.00 | |||||||||||||
| vnclipu.wv v8,v16,v24,v0.t | 1.00 | 1.00 | 2.00 | 4.00 | 8.00 | 16.00 | 1.00 | 2.00 | 4.00 | 8.00 | 16.00 | 2.00 | 4.00 | 8.00 | 16.00 | |||||||||||||
| vnclipu.wx v8,v16,t0 | 1.06 | 1.06 | 2.00 | 4.00 | 8.00 | 16.00 | 1.06 | 2.00 | 4.00 | 8.00 | 16.00 | 2.00 | 4.00 | 8.00 | 16.00 | |||||||||||||
| vnclipu.wx v8,v16,t0,v0.t | 1.06 | 1.06 | 2.00 | 4.00 | 8.00 | 16.00 | 1.06 | 2.00 | 4.00 | 8.00 | 16.00 | 2.00 | 4.00 | 8.00 | 16.00 | |||||||||||||
| vnclipu.wi v8,v16,13 | 1.00 | 1.00 | 2.00 | 4.00 | 8.00 | 16.00 | 1.00 | 2.00 | 4.00 | 8.00 | 16.00 | 2.00 | 4.00 | 8.00 | 16.00 | |||||||||||||
| vnclipu.wi v8,v16,13,v0.t | 1.00 | 1.00 | 2.00 | 4.00 | 8.00 | 16.00 | 1.00 | 2.00 | 4.00 | 8.00 | 16.00 | 2.00 | 4.00 | 8.00 | 16.00 | |||||||||||||
| vnclip.wv v8,v16,v24 | 1.00 | 1.00 | 2.00 | 4.00 | 8.00 | 16.00 | 1.00 | 2.00 | 4.00 | 8.00 | 16.00 | 2.00 | 4.00 | 8.00 | 16.00 | |||||||||||||
| vnclip.wv v8,v16,v24,v0.t | 1.00 | 1.00 | 2.00 | 4.00 | 8.00 | 16.00 | 1.00 | 2.00 | 4.00 | 8.00 | 16.00 | 2.00 | 4.00 | 8.00 | 16.00 | |||||||||||||
| vnclip.wx v8,v16,t0 | 1.06 | 1.06 | 2.00 | 4.00 | 8.00 | 16.00 | 1.06 | 2.00 | 4.00 | 8.00 | 16.00 | 2.00 | 4.00 | 8.00 | 16.00 | |||||||||||||
| vnclip.wx v8,v16,t0,v0.t | 1.06 | 1.06 | 2.00 | 4.00 | 8.00 | 16.00 | 1.06 | 2.00 | 4.00 | 8.00 | 16.00 | 2.00 | 4.00 | 8.00 | 16.00 | |||||||||||||
| vnclip.wi v8,v16,13 | 1.00 | 1.00 | 2.00 | 4.00 | 8.00 | 16.00 | 1.00 | 2.00 | 4.00 | 8.00 | 16.00 | 2.00 | 4.00 | 8.00 | 16.00 | |||||||||||||
| vnclip.wi v8,v16,13,v0.t | 1.00 | 1.00 | 2.00 | 4.00 | 8.00 | 16.00 | 1.00 | 2.00 | 4.00 | 8.00 | 16.00 | 2.00 | 4.00 | 8.00 | 16.00 | |||||||||||||
| vnmsub.vv v8,v16,v24 | 1.00 | 1.00 | 1.00 | 1.00 | 2.00 | 4.00 | 1.00 | 1.00 | 1.00 | 2.00 | 4.00 | 1.00 | 1.00 | 2.00 | 5.00 | |||||||||||||
| vnmsub.vv v8,v16,v24,v0.t | 1.00 | 1.00 | 1.00 | 1.00 | 2.00 | 4.00 | 1.00 | 1.00 | 1.00 | 2.00 | 4.00 | 1.00 | 1.00 | 2.00 | 5.00 | |||||||||||||
| vnmsub.vx v8,t0,v16 | 1.06 | 1.06 | 1.06 | 1.06 | 2.00 | 4.00 | 1.06 | 1.06 | 1.06 | 2.00 | 4.00 | 1.06 | 1.06 | 2.00 | 5.00 | |||||||||||||
| vnmsub.vx v8,t0,v16,v0.t | 1.06 | 1.06 | 1.06 | 1.06 | 2.00 | 4.00 | 1.06 | 1.06 | 1.06 | 2.00 | 4.00 | 1.06 | 1.06 | 2.00 | 5.00 | |||||||||||||
| vnmsac.vv v8,v16,v24 | 1.00 | 1.00 | 1.00 | 1.00 | 2.00 | 4.00 | 1.00 | 1.00 | 1.00 | 2.00 | 4.00 | 1.00 | 1.00 | 2.00 | 5.00 | |||||||||||||
| vnmsac.vv v8,v16,v24,v0.t | 1.00 | 1.00 | 1.00 | 1.00 | 2.00 | 4.00 | 1.00 | 1.00 | 1.00 | 2.00 | 4.00 | 1.00 | 1.00 | 2.00 | 5.00 | |||||||||||||
| vnmsac.vx v8,t0,v16 | 1.06 | 1.06 | 1.06 | 1.06 | 2.00 | 4.00 | 1.06 | 1.06 | 1.06 | 2.00 | 4.00 | 1.06 | 1.06 | 2.00 | 5.00 | |||||||||||||
| vnmsac.vx v8,t0,v16,v0.t | 1.06 | 1.06 | 1.06 | 1.06 | 2.00 | 4.00 | 1.06 | 1.06 | 1.06 | 2.00 | 4.00 | 1.06 | 1.06 | 2.00 | 5.00 | |||||||||||||
| vwaddu.vv v8,v16,v24 | 1.00 | 1.00 | 2.00 | 2.00 | 4.00 | 8.00 | 1.00 | 2.00 | 2.00 | 4.00 | 8.00 | 2.00 | 2.00 | 4.00 | 8.00 | |||||||||||||
| vwaddu.vv v8,v16,v24,v0.t | 1.00 | 1.00 | 2.00 | 2.00 | 4.00 | 8.00 | 1.00 | 2.00 | 2.00 | 4.00 | 8.00 | 2.00 | 2.00 | 4.00 | 8.00 | |||||||||||||
| vwaddu.vx v8,v16,t0 | 1.06 | 1.06 | 2.00 | 2.00 | 4.00 | 8.00 | 1.06 | 2.00 | 2.00 | 4.00 | 8.00 | 2.00 | 2.00 | 4.00 | 8.00 | |||||||||||||
| vwaddu.vx v8,v16,t0,v0.t | 1.06 | 1.06 | 2.00 | 2.00 | 4.00 | 8.00 | 1.06 | 2.00 | 2.00 | 4.00 | 8.00 | 2.00 | 2.00 | 4.00 | 8.00 | |||||||||||||
| vwadd.vv v8,v16,v24 | 1.00 | 1.00 | 2.00 | 2.00 | 4.00 | 8.00 | 1.00 | 2.00 | 2.00 | 4.00 | 8.00 | 2.00 | 2.00 | 4.00 | 8.00 | |||||||||||||
| vwadd.vv v8,v16,v24,v0.t | 1.00 | 1.00 | 2.00 | 2.00 | 4.00 | 8.00 | 1.00 | 2.00 | 2.00 | 4.00 | 8.00 | 2.00 | 2.00 | 4.00 | 8.00 | |||||||||||||
| vwadd.vx v8,v16,t0 | 1.06 | 1.06 | 2.00 | 2.00 | 4.00 | 8.00 | 1.06 | 2.00 | 2.00 | 4.00 | 8.00 | 2.00 | 2.00 | 4.00 | 8.00 | |||||||||||||
| vwadd.vx v8,v16,t0,v0.t | 1.06 | 1.06 | 2.00 | 2.00 | 4.00 | 8.00 | 1.06 | 2.00 | 2.00 | 4.00 | 8.00 | 2.00 | 2.00 | 4.00 | 8.00 | |||||||||||||
| vwsubu.vv v8,v16,v24 | 1.00 | 1.00 | 2.00 | 2.00 | 4.00 | 8.00 | 1.00 | 2.00 | 2.00 | 4.00 | 8.00 | 2.00 | 2.00 | 4.00 | 8.00 | |||||||||||||
| vwsubu.vv v8,v16,v24,v0.t | 1.00 | 1.00 | 2.00 | 2.00 | 4.00 | 8.00 | 1.00 | 2.00 | 2.00 | 4.00 | 8.00 | 2.00 | 2.00 | 4.00 | 8.00 | |||||||||||||
| vwsubu.vx v8,v16,t0 | 1.06 | 1.06 | 2.00 | 2.00 | 4.00 | 8.00 | 1.06 | 2.00 | 2.00 | 4.00 | 8.00 | 2.00 | 2.00 | 4.00 | 8.00 | |||||||||||||
| vwsubu.vx v8,v16,t0,v0.t | 1.06 | 1.06 | 2.00 | 2.00 | 4.00 | 8.00 | 1.06 | 2.00 | 2.00 | 4.00 | 8.00 | 2.00 | 2.00 | 4.00 | 8.00 | |||||||||||||
| vwsub.vv v8,v16,v24 | 1.00 | 1.00 | 2.00 | 2.00 | 4.00 | 8.00 | 1.00 | 2.00 | 2.00 | 4.00 | 8.00 | 2.00 | 2.00 | 4.00 | 8.00 | |||||||||||||
| vwsub.vv v8,v16,v24,v0.t | 1.00 | 1.00 | 2.00 | 2.00 | 4.00 | 8.00 | 1.00 | 2.00 | 2.00 | 4.00 | 8.00 | 2.00 | 2.00 | 4.00 | 8.00 | |||||||||||||
| vwsub.vx v8,v16,t0 | 1.06 | 1.06 | 2.00 | 2.00 | 4.00 | 8.00 | 1.06 | 2.00 | 2.00 | 4.00 | 8.00 | 2.00 | 2.00 | 4.00 | 8.00 | |||||||||||||
| vwsub.vx v8,v16,t0,v0.t | 1.06 | 1.06 | 2.00 | 2.00 | 4.00 | 8.00 | 1.06 | 2.00 | 2.00 | 4.00 | 8.00 | 2.00 | 2.00 | 4.00 | 8.00 | |||||||||||||
| vwaddu.wv v8,v16,v24 | 1.00 | 1.00 | 2.00 | 2.00 | 4.00 | 8.00 | 1.00 | 2.00 | 2.00 | 4.00 | 8.00 | 2.00 | 2.00 | 4.00 | 8.00 | |||||||||||||
| vwaddu.wv v8,v16,v24,v0.t | 1.00 | 1.00 | 2.00 | 2.00 | 4.00 | 8.00 | 1.00 | 2.00 | 2.00 | 4.00 | 8.00 | 2.00 | 2.00 | 4.00 | 8.00 | |||||||||||||
| vwaddu.wx v8,v16,t0 | 1.06 | 1.06 | 2.00 | 2.00 | 4.00 | 8.00 | 1.06 | 2.00 | 2.00 | 4.00 | 8.00 | 2.00 | 2.00 | 4.00 | 8.00 | |||||||||||||
| vwaddu.wx v8,v16,t0,v0.t | 1.06 | 1.06 | 2.00 | 2.00 | 4.00 | 8.00 | 1.06 | 2.00 | 2.00 | 4.00 | 8.00 | 2.00 | 2.00 | 4.00 | 8.00 | |||||||||||||
| vwadd.wv v8,v16,v24 | 1.00 | 1.00 | 2.00 | 2.00 | 4.00 | 8.00 | 1.00 | 2.00 | 2.00 | 4.00 | 8.00 | 2.00 | 2.00 | 4.00 | 8.00 | |||||||||||||
| vwadd.wv v8,v16,v24,v0.t | 1.00 | 1.00 | 2.00 | 2.00 | 4.00 | 8.00 | 1.00 | 2.00 | 2.00 | 4.00 | 8.00 | 2.00 | 2.00 | 4.00 | 8.00 | |||||||||||||
| vwadd.wx v8,v16,t0 | 1.06 | 1.06 | 2.00 | 2.00 | 4.00 | 8.00 | 1.06 | 2.00 | 2.00 | 4.00 | 8.00 | 2.00 | 2.00 | 4.00 | 8.00 | |||||||||||||
| vwadd.wx v8,v16,t0,v0.t | 1.06 | 1.06 | 2.00 | 2.00 | 4.00 | 8.00 | 1.06 | 2.00 | 2.00 | 4.00 | 8.00 | 2.00 | 2.00 | 4.00 | 8.00 | |||||||||||||
| vwsubu.wv v8,v16,v24 | 1.00 | 1.00 | 2.00 | 2.00 | 4.00 | 8.00 | 1.00 | 2.00 | 2.00 | 4.00 | 8.00 | 2.00 | 2.00 | 4.00 | 8.00 | |||||||||||||
| vwsubu.wv v8,v16,v24,v0.t | 1.00 | 1.00 | 2.00 | 2.00 | 4.00 | 8.00 | 1.00 | 2.00 | 2.00 | 4.00 | 8.00 | 2.00 | 2.00 | 4.00 | 8.00 | |||||||||||||
| vwsubu.wx v8,v16,t0 | 1.06 | 1.06 | 2.00 | 2.00 | 4.00 | 8.00 | 1.06 | 2.00 | 2.00 | 4.00 | 8.00 | 2.00 | 2.00 | 4.00 | 8.00 | |||||||||||||
| vwsubu.wx v8,v16,t0,v0.t | 1.06 | 1.06 | 2.00 | 2.00 | 4.00 | 8.00 | 1.06 | 2.00 | 2.00 | 4.00 | 8.00 | 2.00 | 2.00 | 4.00 | 8.00 | |||||||||||||
| vwsub.wv v8,v16,v24 | 1.00 | 1.00 | 2.00 | 2.00 | 4.00 | 8.00 | 1.00 | 2.00 | 2.00 | 4.00 | 8.00 | 2.00 | 2.00 | 4.00 | 8.00 | |||||||||||||
| vwsub.wv v8,v16,v24,v0.t | 1.00 | 1.00 | 2.00 | 2.00 | 4.00 | 8.00 | 1.00 | 2.00 | 2.00 | 4.00 | 8.00 | 2.00 | 2.00 | 4.00 | 8.00 | |||||||||||||
| vwsub.wx v8,v16,t0 | 1.06 | 1.06 | 2.00 | 2.00 | 4.00 | 8.00 | 1.06 | 2.00 | 2.00 | 4.00 | 8.00 | 2.00 | 2.00 | 4.00 | 8.00 | |||||||||||||
| vwsub.wx v8,v16,t0,v0.t | 1.06 | 1.06 | 2.00 | 2.00 | 4.00 | 8.00 | 1.06 | 2.00 | 2.00 | 4.00 | 8.00 | 2.00 | 2.00 | 4.00 | 8.00 | |||||||||||||
| vwmulu.vv v8,v16,v24 | 1.00 | 1.00 | 2.00 | 2.00 | 4.00 | 8.00 | 1.00 | 2.00 | 2.00 | 4.00 | 8.00 | 2.00 | 2.00 | 4.00 | 8.00 | |||||||||||||
| vwmulu.vv v8,v16,v24,v0.t | 1.00 | 1.00 | 2.00 | 2.00 | 4.00 | 8.00 | 1.00 | 2.00 | 2.00 | 4.00 | 8.00 | 2.00 | 2.00 | 4.00 | 8.00 | |||||||||||||
| vwmulu.vx v8,v16,t0 | 1.06 | 1.06 | 2.00 | 2.00 | 4.00 | 8.00 | 1.06 | 2.00 | 2.00 | 4.00 | 8.00 | 2.00 | 2.00 | 4.00 | 8.00 | |||||||||||||
| vwmulu.vx v8,v16,t0,v0.t | 1.06 | 1.06 | 2.00 | 2.00 | 4.00 | 8.00 | 1.06 | 2.00 | 2.00 | 4.00 | 8.00 | 2.00 | 2.00 | 4.00 | 8.00 | |||||||||||||
| vwmulsu.vv v8,v16,v24 | 1.00 | 1.00 | 2.00 | 2.00 | 4.00 | 8.00 | 1.00 | 2.00 | 2.00 | 4.00 | 8.00 | 2.00 | 2.00 | 4.00 | 8.00 | |||||||||||||
| vwmulsu.vv v8,v16,v24,v0.t | 1.00 | 1.00 | 2.00 | 2.00 | 4.00 | 8.00 | 1.00 | 2.00 | 2.00 | 4.00 | 8.00 | 2.00 | 2.00 | 4.00 | 8.00 | |||||||||||||
| vwmulsu.vx v8,v16,t0 | 1.06 | 1.06 | 2.00 | 2.00 | 4.00 | 8.00 | 1.06 | 2.00 | 2.00 | 4.00 | 8.00 | 2.00 | 2.00 | 4.00 | 8.00 | |||||||||||||
| vwmulsu.vx v8,v16,t0,v0.t | 1.06 | 1.06 | 2.00 | 2.00 | 4.00 | 8.00 | 1.06 | 2.00 | 2.00 | 4.00 | 8.00 | 2.00 | 2.00 | 4.00 | 8.00 | |||||||||||||
| vwmul.vv v8,v16,v24 | 1.00 | 1.00 | 2.00 | 2.00 | 4.00 | 8.00 | 1.00 | 2.00 | 2.00 | 4.00 | 8.00 | 2.00 | 2.00 | 4.00 | 8.00 | |||||||||||||
| vwmul.vv v8,v16,v24,v0.t | 1.00 | 1.00 | 2.00 | 2.00 | 4.00 | 8.00 | 1.00 | 2.00 | 2.00 | 4.00 | 8.00 | 2.00 | 2.00 | 4.00 | 8.00 | |||||||||||||
| vwmul.vx v8,v16,t0 | 1.06 | 1.06 | 2.00 | 2.00 | 4.00 | 8.00 | 1.06 | 2.00 | 2.00 | 4.00 | 8.00 | 2.00 | 2.00 | 4.00 | 8.00 | |||||||||||||
| vwmul.vx v8,v16,t0,v0.t | 1.06 | 1.06 | 2.00 | 2.00 | 4.00 | 8.00 | 1.06 | 2.00 | 2.00 | 4.00 | 8.00 | 2.00 | 2.00 | 4.00 | 8.00 | |||||||||||||
| vwmaccu.vv v8,v16,v24 | 1.00 | 1.00 | 2.00 | 2.00 | 4.00 | 8.00 | 1.00 | 2.00 | 2.00 | 4.00 | 8.00 | 2.00 | 2.00 | 4.00 | 8.00 | |||||||||||||
| vwmaccu.vv v8,v16,v24,v0.t | 1.00 | 1.00 | 2.00 | 2.00 | 4.00 | 8.00 | 1.00 | 2.00 | 2.00 | 4.00 | 8.00 | 2.00 | 2.00 | 4.00 | 8.00 | |||||||||||||
| vwmaccu.vx v8,t0,v16 | 1.06 | 1.06 | 2.00 | 2.00 | 4.00 | 8.00 | 1.06 | 2.00 | 2.00 | 4.00 | 8.00 | 2.00 | 2.00 | 4.00 | 8.00 | |||||||||||||
| vwmaccu.vx v8,t0,v16,v0.t | 1.06 | 1.06 | 2.00 | 2.00 | 4.00 | 8.00 | 1.06 | 2.00 | 2.00 | 4.00 | 8.00 | 2.00 | 2.00 | 4.00 | 8.00 | |||||||||||||
| vwmacc.vv v8,v16,v24 | 1.00 | 1.00 | 2.00 | 2.00 | 4.00 | 8.00 | 1.00 | 2.00 | 2.00 | 4.00 | 8.00 | 2.00 | 2.00 | 4.00 | 8.00 | |||||||||||||
| vwmacc.vv v8,v16,v24,v0.t | 1.00 | 1.00 | 2.00 | 2.00 | 4.00 | 8.00 | 1.00 | 2.00 | 2.00 | 4.00 | 8.00 | 2.00 | 2.00 | 4.00 | 8.00 | |||||||||||||
| vwmacc.vx v8,t0,v16 | 1.06 | 1.06 | 2.00 | 2.00 | 4.00 | 8.00 | 1.06 | 2.00 | 2.00 | 4.00 | 8.00 | 2.00 | 2.00 | 4.00 | 8.00 | |||||||||||||
| vwmacc.vx v8,t0,v16,v0.t | 1.06 | 1.06 | 2.00 | 2.00 | 4.00 | 8.00 | 1.06 | 2.00 | 2.00 | 4.00 | 8.00 | 2.00 | 2.00 | 4.00 | 8.00 | |||||||||||||
| vwmaccsu.vv v8,v16,v24 | 1.00 | 1.00 | 2.00 | 2.00 | 4.00 | 8.00 | 1.00 | 2.00 | 2.00 | 4.00 | 8.00 | 2.00 | 2.00 | 4.00 | 8.00 | |||||||||||||
| vwmaccsu.vv v8,v16,v24,v0.t | 1.00 | 1.00 | 2.00 | 2.00 | 4.00 | 8.00 | 1.00 | 2.00 | 2.00 | 4.00 | 8.00 | 2.00 | 2.00 | 4.00 | 8.00 | |||||||||||||
| vwmaccsu.vx v8,t0,v16 | 1.06 | 1.06 | 2.00 | 2.00 | 4.00 | 8.00 | 1.06 | 2.00 | 2.00 | 4.00 | 8.00 | 2.00 | 2.00 | 4.00 | 8.00 | |||||||||||||
| vwmaccsu.vx v8,t0,v16,v0.t | 1.06 | 1.06 | 2.00 | 2.00 | 4.00 | 8.00 | 1.06 | 2.00 | 2.00 | 4.00 | 8.00 | 2.00 | 2.00 | 4.00 | 8.00 | |||||||||||||
| vwmaccus.vx v8,t0,v16 | 1.06 | 1.06 | 2.00 | 2.00 | 4.00 | 8.00 | 1.06 | 2.00 | 2.00 | 4.00 | 8.00 | 2.00 | 2.00 | 4.00 | 8.00 | |||||||||||||
| vwmaccus.vx v8,t0,v16,v0.t | 1.06 | 1.06 | 2.00 | 2.00 | 4.00 | 8.00 | 1.06 | 2.00 | 2.00 | 4.00 | 8.00 | 2.00 | 2.00 | 4.00 | 8.00 | |||||||||||||
| vfadd.vv v8,v16,v24 | 1.00 | 1.00 | 1.00 | 2.00 | 4.00 | 8.00 | 1.00 | 1.00 | 2.00 | 4.00 | 8.00 | 1.00 | 2.00 | 4.00 | 8.00 | |||||||||||||
| vfadd.vv v8,v16,v24,v0.t | 1.00 | 1.00 | 1.00 | 2.00 | 4.00 | 8.00 | 1.00 | 1.00 | 2.00 | 4.00 | 8.00 | 1.00 | 2.00 | 4.00 | 8.00 | |||||||||||||
| vfadd.vf v8,v16,ft0 | 1.00 | 1.00 | 1.00 | 2.00 | 4.00 | 8.00 | 1.00 | 1.00 | 2.00 | 4.00 | 8.00 | 1.00 | 2.00 | 4.00 | 8.00 | |||||||||||||
| vfadd.vf v8,v16,ft0,v0.t | 1.00 | 1.00 | 1.00 | 2.00 | 4.00 | 8.00 | 1.00 | 1.00 | 2.00 | 4.00 | 8.00 | 1.00 | 2.00 | 4.00 | 8.00 | |||||||||||||
| vfsub.vv v8,v16,v24 | 1.00 | 1.00 | 1.00 | 2.00 | 4.00 | 8.00 | 1.00 | 1.00 | 2.00 | 4.00 | 8.00 | 1.00 | 2.00 | 4.00 | 8.00 | |||||||||||||
| vfsub.vv v8,v16,v24,v0.t | 1.00 | 1.00 | 1.00 | 2.00 | 4.00 | 8.00 | 1.00 | 1.00 | 2.00 | 4.00 | 8.00 | 1.00 | 2.00 | 4.00 | 8.00 | |||||||||||||
| vfsub.vf v8,v16,ft0 | 1.00 | 1.00 | 1.00 | 2.00 | 4.00 | 8.00 | 1.00 | 1.00 | 2.00 | 4.00 | 8.00 | 1.00 | 2.00 | 4.00 | 8.00 | |||||||||||||
| vfsub.vf v8,v16,ft0,v0.t | 1.00 | 1.00 | 1.00 | 2.00 | 4.00 | 8.00 | 1.00 | 1.00 | 2.00 | 4.00 | 8.00 | 1.00 | 2.00 | 4.00 | 8.00 | |||||||||||||
| vfmin.vv v8,v16,v24 | 1.00 | 1.00 | 1.00 | 2.00 | 4.00 | 8.00 | 1.00 | 1.00 | 2.00 | 4.00 | 8.00 | 1.00 | 2.00 | 4.00 | 8.00 | |||||||||||||
| vfmin.vv v8,v16,v24,v0.t | 1.00 | 1.00 | 1.00 | 2.00 | 4.00 | 8.00 | 1.00 | 1.00 | 2.00 | 4.00 | 8.00 | 1.00 | 2.00 | 4.00 | 8.00 | |||||||||||||
| vfmin.vf v8,v16,ft0 | 1.00 | 1.00 | 1.00 | 2.00 | 4.00 | 8.00 | 1.00 | 1.00 | 2.00 | 4.00 | 8.00 | 1.00 | 2.00 | 4.00 | 8.00 | |||||||||||||
| vfmin.vf v8,v16,ft0,v0.t | 1.00 | 1.00 | 1.00 | 2.00 | 4.00 | 8.00 | 1.00 | 1.00 | 2.00 | 4.00 | 8.00 | 1.00 | 2.00 | 4.00 | 8.00 | |||||||||||||
| vfmax.vv v8,v16,v24 | 1.00 | 1.00 | 1.00 | 2.00 | 4.00 | 8.00 | 1.00 | 1.00 | 2.00 | 4.00 | 8.00 | 1.00 | 2.00 | 4.00 | 8.00 | |||||||||||||
| vfmax.vv v8,v16,v24,v0.t | 1.00 | 1.00 | 1.00 | 2.00 | 4.00 | 8.00 | 1.00 | 1.00 | 2.00 | 4.00 | 8.00 | 1.00 | 2.00 | 4.00 | 8.00 | |||||||||||||
| vfmax.vf v8,v16,ft0 | 1.00 | 1.00 | 1.00 | 2.00 | 4.00 | 8.00 | 1.00 | 1.00 | 2.00 | 4.00 | 8.00 | 1.00 | 2.00 | 4.00 | 8.00 | |||||||||||||
| vfmax.vf v8,v16,ft0,v0.t | 1.00 | 1.00 | 1.00 | 2.00 | 4.00 | 8.00 | 1.00 | 1.00 | 2.00 | 4.00 | 8.00 | 1.00 | 2.00 | 4.00 | 8.00 | |||||||||||||
| vfsgnj.vv v8,v16,v24 | 1.00 | 1.00 | 2.00 | 4.00 | 8.00 | 16.00 | 1.00 | 2.00 | 4.00 | 8.00 | 16.00 | 2.00 | 4.00 | 8.00 | 16.00 | |||||||||||||
| vfsgnj.vv v8,v16,v24,v0.t | 1.00 | 1.00 | 2.00 | 4.00 | 8.00 | 16.00 | 1.00 | 2.00 | 4.00 | 8.00 | 16.00 | 2.00 | 4.00 | 8.00 | 16.00 | |||||||||||||
| vfsgnj.vf v8,v16,ft0 | 1.00 | 1.00 | 2.00 | 4.00 | 8.00 | 16.00 | 1.00 | 2.00 | 4.00 | 8.00 | 16.00 | 2.00 | 4.00 | 8.00 | 16.00 | |||||||||||||
| vfsgnj.vf v8,v16,ft0,v0.t | 1.00 | 1.00 | 2.00 | 4.00 | 8.00 | 16.00 | 1.00 | 2.00 | 4.00 | 8.00 | 16.00 | 2.00 | 4.00 | 8.00 | 16.00 | |||||||||||||
| vfsgnjn.vv v8,v16,v24 | 1.00 | 1.00 | 2.00 | 4.00 | 8.00 | 16.00 | 1.00 | 2.00 | 4.00 | 8.00 | 16.00 | 2.00 | 4.00 | 8.00 | 16.00 | |||||||||||||
| vfsgnjn.vv v8,v16,v24,v0.t | 1.00 | 1.00 | 2.00 | 4.00 | 8.00 | 16.00 | 1.00 | 2.00 | 4.00 | 8.00 | 16.00 | 2.00 | 4.00 | 8.00 | 16.00 | |||||||||||||
| vfsgnjn.vf v8,v16,ft0 | 1.00 | 1.00 | 2.00 | 4.00 | 8.00 | 16.00 | 1.00 | 2.00 | 4.00 | 8.00 | 16.00 | 2.00 | 4.00 | 8.00 | 16.00 | |||||||||||||
| vfsgnjn.vf v8,v16,ft0,v0.t | 1.00 | 1.00 | 2.00 | 4.00 | 8.00 | 16.00 | 1.00 | 2.00 | 4.00 | 8.00 | 16.00 | 2.00 | 4.00 | 8.00 | 16.00 | |||||||||||||
| vfsgnjx.vv v8,v16,v24 | 1.00 | 1.00 | 2.00 | 4.00 | 8.00 | 16.00 | 1.00 | 2.00 | 4.00 | 8.00 | 16.00 | 2.00 | 4.00 | 8.00 | 16.00 | |||||||||||||
| vfsgnjx.vv v8,v16,v24,v0.t | 1.00 | 1.00 | 2.00 | 4.00 | 8.00 | 16.00 | 1.00 | 2.00 | 4.00 | 8.00 | 16.00 | 2.00 | 4.00 | 8.00 | 16.00 | |||||||||||||
| vfsgnjx.vf v8,v16,ft0 | 1.00 | 1.00 | 2.00 | 4.00 | 8.00 | 16.00 | 1.00 | 2.00 | 4.00 | 8.00 | 16.00 | 2.00 | 4.00 | 8.00 | 16.00 | |||||||||||||
| vfsgnjx.vf v8,v16,ft0,v0.t | 1.00 | 1.00 | 2.00 | 4.00 | 8.00 | 16.00 | 1.00 | 2.00 | 4.00 | 8.00 | 16.00 | 2.00 | 4.00 | 8.00 | 16.00 | |||||||||||||
| vfslide1up.vf v8,v16,ft0 | 1.00 | 1.00 | 2.00 | 4.00 | 8.00 | 16.00 | 1.00 | 2.00 | 4.00 | 8.00 | 16.00 | 2.00 | 4.00 | 8.00 | 16.00 | |||||||||||||
| vfslide1up.vf v8,v16,ft0,v0.t | 1.00 | 1.00 | 2.00 | 4.00 | 8.00 | 16.00 | 1.00 | 2.00 | 4.00 | 8.00 | 16.00 | 2.00 | 4.00 | 8.00 | 16.00 | |||||||||||||
| vfslide1down.vf v8,v16,ft0 | 1.00 | 1.00 | 3.00 | 5.00 | 9.00 | 17.00 | 1.00 | 3.00 | 5.00 | 9.00 | 17.00 | 3.00 | 5.00 | 9.00 | 17.00 | |||||||||||||
| vfslide1down.vf v8,v16,ft0,v0.t | 1.00 | 1.00 | 3.00 | 5.00 | 9.00 | 17.00 | 1.00 | 3.00 | 5.00 | 9.00 | 17.00 | 3.00 | 5.00 | 9.00 | 17.00 | |||||||||||||
| vfredusum.vs v8,v16,v24 | 8.00 | 8.00 | 8.00 | 14.00 | 20.00 | 57.00 | 5.00 | 6.50 | 11.00 | 17.00 | 53.99 | 4.00 | 7.00 | 15.50 | 51.99 | |||||||||||||
| vfredusum.vs v8,v16,v24,v0.t | 8.00 | 8.00 | 8.00 | 14.00 | 20.00 | 56.99 | 5.00 | 6.50 | 11.00 | 17.00 | 53.99 | 4.00 | 7.00 | 15.50 | 52.00 | |||||||||||||
| vfredosum.vs v8,v16,v24 | 8.00 | 20.00 | 23.00 | 47.00 | 95.98 | 383.65 | 8.00 | 11.00 | 23.00 | 48.00 | 191.90 | 5.50 | 11.50 | 24.50 | 96.98 | |||||||||||||
| vfredosum.vs v8,v16,v24,v0.t | 8.00 | 20.00 | 23.00 | 47.00 | 95.98 | 383.66 | 8.00 | 11.00 | 23.00 | 47.99 | 191.90 | 5.50 | 11.50 | 24.50 | 96.98 | |||||||||||||
| vfredmin.vs v8,v16,v24 | 8.00 | 8.00 | 8.00 | 14.00 | 20.00 | 56.99 | 5.00 | 6.50 | 11.00 | 17.00 | 54.00 | 4.00 | 7.00 | 14.00 | 51.00 | |||||||||||||
| vfredmin.vs v8,v16,v24,v0.t | 8.00 | 8.00 | 8.00 | 14.00 | 20.00 | 56.99 | 5.00 | 6.50 | 11.00 | 17.00 | 54.00 | 4.00 | 7.00 | 14.00 | 51.00 | |||||||||||||
| vfredmax.vs v8,v16,v24 | 8.00 | 8.00 | 8.00 | 14.00 | 20.00 | 57.00 | 5.00 | 6.50 | 11.00 | 17.00 | 54.00 | 4.00 | 7.00 | 14.00 | 51.00 | |||||||||||||
| vfredmax.vs v8,v16,v24,v0.t | 8.00 | 8.00 | 8.00 | 14.00 | 20.00 | 56.99 | 5.00 | 6.50 | 11.00 | 17.00 | 54.00 | 4.00 | 7.00 | 14.00 | 51.00 | |||||||||||||
| vfmerge.vfm v8,v16,ft0,v0 | 1.00 | 1.00 | 2.00 | 4.00 | 8.00 | 16.00 | 1.00 | 2.00 | 4.00 | 8.00 | 16.00 | 2.00 | 4.00 | 8.00 | 16.00 | |||||||||||||
| vfmv.v.f v8,ft0 | 1.00 | 1.00 | 2.00 | 4.00 | 8.00 | 16.00 | 1.00 | 2.00 | 4.00 | 8.00 | 16.00 | 2.00 | 4.00 | 8.00 | 16.00 | |||||||||||||
| vmfeq.vv v8,v16,v24 | 1.00 | 1.00 | 2.00 | 2.50 | 5.00 | 18.00 | 1.00 | 2.00 | 2.50 | 5.00 | 18.00 | 2.00 | 2.50 | 5.00 | 18.00 | |||||||||||||
| vmfeq.vv v8,v16,v24,v0.t | 1.00 | 1.00 | 2.00 | 2.50 | 5.00 | 18.00 | 1.00 | 2.00 | 2.50 | 5.00 | 18.00 | 2.00 | 2.50 | 5.00 | 18.00 | |||||||||||||
| vmfeq.vf v8,v16,ft0 | 1.00 | 1.00 | 2.00 | 2.50 | 5.00 | 18.00 | 1.00 | 2.00 | 2.50 | 5.00 | 18.00 | 2.00 | 2.50 | 5.00 | 18.00 | |||||||||||||
| vmfeq.vf v8,v16,ft0,v0.t | 1.00 | 1.00 | 2.00 | 2.50 | 5.00 | 18.00 | 1.00 | 2.00 | 2.50 | 5.00 | 18.00 | 2.00 | 2.50 | 5.00 | 18.00 | |||||||||||||
| vmfle.vv v8,v16,v24 | 1.00 | 1.00 | 2.00 | 2.50 | 5.00 | 18.00 | 1.00 | 2.00 | 2.50 | 5.00 | 18.00 | 2.00 | 2.50 | 5.00 | 18.00 | |||||||||||||
| vmfle.vv v8,v16,v24,v0.t | 1.00 | 1.00 | 2.00 | 2.50 | 5.00 | 18.00 | 1.00 | 2.00 | 2.50 | 5.00 | 18.00 | 2.00 | 2.50 | 5.00 | 18.00 | |||||||||||||
| vmfle.vf v8,v16,ft0 | 1.00 | 1.00 | 2.00 | 2.50 | 5.00 | 18.00 | 1.00 | 2.00 | 2.50 | 5.00 | 18.00 | 2.00 | 2.50 | 5.00 | 18.00 | |||||||||||||
| vmfle.vf v8,v16,ft0,v0.t | 1.00 | 1.00 | 2.00 | 2.50 | 5.00 | 18.00 | 1.00 | 2.00 | 2.50 | 5.00 | 18.00 | 2.00 | 2.50 | 5.00 | 18.00 | |||||||||||||
| vmflt.vv v8,v16,v24 | 1.00 | 1.00 | 2.00 | 2.50 | 5.00 | 18.00 | 1.00 | 2.00 | 2.50 | 5.00 | 18.00 | 2.00 | 2.50 | 5.00 | 18.00 | |||||||||||||
| vmflt.vv v8,v16,v24,v0.t | 1.00 | 1.00 | 2.00 | 2.50 | 5.00 | 18.00 | 1.00 | 2.00 | 2.50 | 5.00 | 18.00 | 2.00 | 2.50 | 5.00 | 18.00 | |||||||||||||
| vmflt.vf v8,v16,ft0 | 1.00 | 1.00 | 2.00 | 2.50 | 5.00 | 18.00 | 1.00 | 2.00 | 2.50 | 5.00 | 18.00 | 2.00 | 2.50 | 5.00 | 18.00 | |||||||||||||
| vmflt.vf v8,v16,ft0,v0.t | 1.00 | 1.00 | 2.00 | 2.50 | 5.00 | 18.00 | 1.00 | 2.00 | 2.50 | 5.00 | 18.00 | 2.00 | 2.50 | 5.00 | 18.00 | |||||||||||||
| vmfne.vv v8,v16,v24 | 1.00 | 1.00 | 2.00 | 2.50 | 5.00 | 18.00 | 1.00 | 2.00 | 2.50 | 5.00 | 18.00 | 2.00 | 2.50 | 5.00 | 18.00 | |||||||||||||
| vmfne.vv v8,v16,v24,v0.t | 1.00 | 1.00 | 2.00 | 2.50 | 5.00 | 18.00 | 1.00 | 2.00 | 2.50 | 5.00 | 18.00 | 2.00 | 2.50 | 5.00 | 18.00 | |||||||||||||
| vmfne.vf v8,v16,ft0 | 1.00 | 1.00 | 2.00 | 2.50 | 5.00 | 18.00 | 1.00 | 2.00 | 2.50 | 5.00 | 18.00 | 2.00 | 2.50 | 5.00 | 18.00 | |||||||||||||
| vmfne.vf v8,v16,ft0,v0.t | 1.00 | 1.00 | 2.00 | 2.50 | 5.00 | 18.00 | 1.00 | 2.00 | 2.50 | 5.00 | 18.00 | 2.00 | 2.50 | 5.00 | 18.00 | |||||||||||||
| vmfgt.vv v8,v16,v24 | 1.00 | 1.00 | 2.00 | 2.50 | 5.00 | 18.00 | 1.00 | 2.00 | 2.50 | 5.00 | 18.00 | 2.00 | 2.50 | 5.00 | 18.00 | |||||||||||||
| vmfgt.vv v8,v16,v24,v0.t | 1.00 | 1.00 | 2.00 | 2.50 | 5.00 | 18.00 | 1.00 | 2.00 | 2.50 | 5.00 | 18.00 | 2.00 | 2.50 | 5.00 | 18.00 | |||||||||||||
| vmfgt.vf v8,v16,ft0 | 1.00 | 1.00 | 2.00 | 2.50 | 5.00 | 18.00 | 1.00 | 2.00 | 2.50 | 5.00 | 18.00 | 2.00 | 2.50 | 5.00 | 18.00 | |||||||||||||
| vmfgt.vf v8,v16,ft0,v0.t | 1.00 | 1.00 | 2.00 | 2.50 | 5.00 | 18.00 | 1.00 | 2.00 | 2.50 | 5.00 | 18.00 | 2.00 | 2.50 | 5.00 | 18.00 | |||||||||||||
| vmfge.vv v8,v16,v24 | 1.00 | 1.00 | 2.00 | 2.50 | 5.00 | 18.00 | 1.00 | 2.00 | 2.50 | 5.00 | 18.00 | 2.00 | 2.50 | 5.00 | 18.00 | |||||||||||||
| vmfge.vv v8,v16,v24,v0.t | 1.00 | 1.00 | 2.00 | 2.50 | 5.00 | 18.00 | 1.00 | 2.00 | 2.50 | 5.00 | 18.00 | 2.00 | 2.50 | 5.00 | 18.00 | |||||||||||||
| vmfge.vf v8,v16,ft0 | 1.00 | 1.00 | 2.00 | 2.50 | 5.00 | 18.00 | 1.00 | 2.00 | 2.50 | 5.00 | 18.00 | 2.00 | 2.50 | 5.00 | 18.00 | |||||||||||||
| vmfge.vf v8,v16,ft0,v0.t | 1.00 | 1.00 | 2.00 | 2.50 | 5.00 | 18.00 | 1.00 | 2.00 | 2.50 | 5.00 | 18.00 | 2.00 | 2.50 | 5.00 | 18.00 | |||||||||||||
| vfdiv.vv v8,v16,v24 | 13.83 | 14.00 | 28.11 | 56.46 | 113.36 | 225.03 | 18.11 | 36.25 | 72.59 | 145.09 | 289.57 | 65.99 | 131.96 | 263.83 | 527.32 | |||||||||||||
| vfdiv.vv v8,v16,v24,v0.t | 13.96 | 14.20 | 27.91 | 55.75 | 111.07 | 222.69 | 18.09 | 36.29 | 72.55 | 139.75 | 275.96 | 52.50 | 106.34 | 200.48 | 403.82 | |||||||||||||
| vfdiv.vf v8,v16,ft0 | 7.03 | 7.20 | 14.28 | 28.57 | 56.77 | 112.19 | 11.58 | 21.88 | 48.33 | 96.44 | 174.28 | 12.00 | 24.00 | 48.00 | 95.99 | |||||||||||||
| vfdiv.vf v8,v16,ft0,v0.t | 7.21 | 7.16 | 14.17 | 28.38 | 56.77 | 112.49 | 11.23 | 22.14 | 47.28 | 95.31 | 199.92 | 12.00 | 24.00 | 48.00 | 95.99 | |||||||||||||
| vfrdiv.vf v8,v16,ft0 | 6.93 | 7.14 | 13.93 | 28.01 | 56.39 | 112.49 | 11.43 | 23.04 | 48.11 | 97.04 | 212.66 | 12.00 | 24.00 | 48.00 | 95.99 | |||||||||||||
| vfrdiv.vf v8,v16,ft0,v0.t | 6.90 | 7.20 | 14.17 | 28.42 | 57.37 | 114.74 | 11.36 | 22.74 | 47.28 | 93.74 | 156.43 | 12.00 | 24.00 | 48.00 | 95.99 | |||||||||||||
| vfmul.vv v8,v16,v24 | 1.00 | 1.00 | 1.00 | 2.00 | 4.00 | 8.00 | 1.00 | 1.00 | 2.00 | 4.00 | 8.00 | 1.00 | 2.00 | 4.00 | 8.00 | |||||||||||||
| vfmul.vv v8,v16,v24,v0.t | 1.00 | 1.00 | 1.00 | 2.00 | 4.00 | 8.00 | 1.00 | 1.00 | 2.00 | 4.00 | 8.00 | 1.00 | 2.00 | 4.00 | 8.00 | |||||||||||||
| vfmul.vf v8,v16,ft0 | 1.00 | 1.00 | 1.00 | 2.00 | 4.00 | 8.00 | 1.00 | 1.00 | 2.00 | 4.00 | 8.00 | 1.00 | 2.00 | 4.00 | 8.00 | |||||||||||||
| vfmul.vf v8,v16,ft0,v0.t | 1.00 | 1.00 | 1.00 | 2.00 | 4.00 | 8.00 | 1.00 | 1.00 | 2.00 | 4.00 | 8.00 | 1.00 | 2.00 | 4.00 | 8.00 | |||||||||||||
| vfrsub.vf v8,v16,ft0 | 1.00 | 1.00 | 1.00 | 2.00 | 4.00 | 8.00 | 1.00 | 1.00 | 2.00 | 4.00 | 8.00 | 1.00 | 2.00 | 4.00 | 8.00 | |||||||||||||
| vfrsub.vf v8,v16,ft0,v0.t | 1.00 | 1.00 | 1.00 | 2.00 | 4.00 | 8.00 | 1.00 | 1.00 | 2.00 | 4.00 | 8.00 | 1.00 | 2.00 | 4.00 | 8.00 | |||||||||||||
| vfmadd.vv v8,v16,v24 | 1.00 | 1.00 | 1.00 | 2.00 | 4.00 | 8.00 | 1.00 | 1.00 | 2.00 | 4.00 | 8.00 | 1.00 | 2.00 | 4.00 | 8.00 | |||||||||||||
| vfmadd.vv v8,v16,v24,v0.t | 1.00 | 1.00 | 1.00 | 2.00 | 4.00 | 8.00 | 1.00 | 1.00 | 2.00 | 4.00 | 8.00 | 1.00 | 2.00 | 4.00 | 8.00 | |||||||||||||
| vfmadd.vf v8,ft0,v16 | 1.00 | 1.00 | 1.00 | 2.00 | 4.00 | 8.00 | 1.00 | 1.00 | 2.00 | 4.00 | 8.00 | 1.00 | 2.00 | 4.00 | 8.00 | |||||||||||||
| vfmadd.vf v8,ft0,v16,v0.t | 1.00 | 1.00 | 1.00 | 2.00 | 4.00 | 8.00 | 1.00 | 1.00 | 2.00 | 4.00 | 8.00 | 1.00 | 2.00 | 4.00 | 8.00 | |||||||||||||
| vfmsub.vv v8,v16,v24 | 1.00 | 1.00 | 1.00 | 2.00 | 4.00 | 8.00 | 1.00 | 1.00 | 2.00 | 4.00 | 8.00 | 1.00 | 2.00 | 4.00 | 8.00 | |||||||||||||
| vfmsub.vv v8,v16,v24,v0.t | 1.00 | 1.00 | 1.00 | 2.00 | 4.00 | 8.00 | 1.00 | 1.00 | 2.00 | 4.00 | 8.00 | 1.00 | 2.00 | 4.00 | 8.00 | |||||||||||||
| vfmsub.vf v8,ft0,v16 | 1.00 | 1.00 | 1.00 | 2.00 | 4.00 | 8.00 | 1.00 | 1.00 | 2.00 | 4.00 | 8.00 | 1.00 | 2.00 | 4.00 | 8.00 | |||||||||||||
| vfmsub.vf v8,ft0,v16,v0.t | 1.00 | 1.00 | 1.00 | 2.00 | 4.00 | 8.00 | 1.00 | 1.00 | 2.00 | 4.00 | 8.00 | 1.00 | 2.00 | 4.00 | 8.00 | |||||||||||||
| vfmacc.vv v8,v16,v24 | 1.00 | 1.00 | 1.00 | 2.00 | 4.00 | 8.00 | 1.00 | 1.00 | 2.00 | 4.00 | 8.00 | 1.00 | 2.00 | 4.00 | 8.00 | |||||||||||||
| vfmacc.vv v8,v16,v24,v0.t | 1.00 | 1.00 | 1.00 | 2.00 | 4.00 | 8.00 | 1.00 | 1.00 | 2.00 | 4.00 | 8.00 | 1.00 | 2.00 | 4.00 | 8.00 | |||||||||||||
| vfmacc.vf v8,ft0,v16 | 1.00 | 1.00 | 1.00 | 2.00 | 4.00 | 8.00 | 1.00 | 1.00 | 2.00 | 4.00 | 8.00 | 1.00 | 2.00 | 4.00 | 8.00 | |||||||||||||
| vfmacc.vf v8,ft0,v16,v0.t | 1.00 | 1.00 | 1.00 | 2.00 | 4.00 | 8.00 | 1.00 | 1.00 | 2.00 | 4.00 | 8.00 | 1.00 | 2.00 | 4.00 | 8.00 | |||||||||||||
| vfmsac.vv v8,v16,v24 | 1.00 | 1.00 | 1.00 | 2.00 | 4.00 | 8.00 | 1.00 | 1.00 | 2.00 | 4.00 | 8.00 | 1.00 | 2.00 | 4.00 | 8.00 | |||||||||||||
| vfmsac.vv v8,v16,v24,v0.t | 1.00 | 1.00 | 1.00 | 2.00 | 4.00 | 8.00 | 1.00 | 1.00 | 2.00 | 4.00 | 8.00 | 1.00 | 2.00 | 4.00 | 8.00 | |||||||||||||
| vfmsac.vf v8,ft0,v16 | 1.00 | 1.00 | 1.00 | 2.00 | 4.00 | 8.00 | 1.00 | 1.00 | 2.00 | 4.00 | 8.00 | 1.00 | 2.00 | 4.00 | 8.00 | |||||||||||||
| vfmsac.vf v8,ft0,v16,v0.t | 1.00 | 1.00 | 1.00 | 2.00 | 4.00 | 8.00 | 1.00 | 1.00 | 2.00 | 4.00 | 8.00 | 1.00 | 2.00 | 4.00 | 8.00 | |||||||||||||
| vfnmsac.vv v8,v16,v24 | 1.00 | 1.00 | 1.00 | 2.00 | 5.00 | 1.00 | 1.00 | 2.00 | 5.00 | |||||||||||||||||||
| vfnmsac.vv v8,v16,v24,v0.t | 1.00 | 1.00 | 1.00 | 2.00 | 5.00 | 1.00 | 1.00 | 2.00 | 5.00 | |||||||||||||||||||
| vfnmsac.vf v8,ft0,v16 | 1.00 | 1.00 | 1.00 | 2.00 | 5.00 | 1.00 | 1.00 | 2.00 | 5.00 | |||||||||||||||||||
| vfnmsac.vf v8,ft0,v16,v0.t | 1.00 | 1.00 | 1.00 | 2.00 | 5.00 | 1.00 | 1.00 | 2.00 | 5.00 | |||||||||||||||||||
| vfnmacc.vv v8,v16,v24 | 1.00 | 1.00 | 1.00 | 2.00 | 5.00 | 1.00 | 1.00 | 2.00 | 5.00 | |||||||||||||||||||
| vfnmacc.vv v8,v16,v24,v0.t | 1.00 | 1.00 | 1.00 | 2.00 | 5.00 | 1.00 | 1.00 | 2.00 | 5.00 | |||||||||||||||||||
| vfnmacc.vf v8,ft0,v16 | 1.00 | 1.00 | 1.00 | 2.00 | 5.00 | 1.00 | 1.00 | 2.00 | 5.00 | |||||||||||||||||||
| vfnmacc.vf v8,ft0,v16,v0.t | 1.00 | 1.00 | 1.00 | 2.00 | 5.00 | 1.00 | 1.00 | 2.00 | 5.00 | |||||||||||||||||||
| vfnmsub.vv v8,v16,v24 | 1.00 | 1.00 | 1.00 | 2.00 | 5.00 | 1.00 | 1.00 | 2.00 | 5.00 | |||||||||||||||||||
| vfnmsub.vv v8,v16,v24,v0.t | 1.00 | 1.00 | 1.00 | 2.00 | 5.00 | 1.00 | 1.00 | 2.00 | 5.00 | |||||||||||||||||||
| vfnmsub.vf v8,ft0,v16 | 1.00 | 1.00 | 1.00 | 2.00 | 5.00 | 1.00 | 1.00 | 2.00 | 5.00 | |||||||||||||||||||
| vfnmsub.vf v8,ft0,v16,v0.t | 1.00 | 1.00 | 1.00 | 2.00 | 5.00 | 1.00 | 1.00 | 2.00 | 5.00 | |||||||||||||||||||
| vfnmadd.vv v8,v16,v24 | 1.00 | 1.00 | 1.00 | 2.00 | 5.00 | 1.00 | 1.00 | 2.00 | 5.00 | |||||||||||||||||||
| vfnmadd.vv v8,v16,v24,v0.t | 1.00 | 1.00 | 1.00 | 2.00 | 5.00 | 1.00 | 1.00 | 2.00 | 5.00 | |||||||||||||||||||
| vfnmadd.vf v8,ft0,v16 | 1.00 | 1.00 | 1.00 | 2.00 | 5.00 | 1.00 | 1.00 | 2.00 | 5.00 | |||||||||||||||||||
| vfnmadd.vf v8,ft0,v16,v0.t | 1.00 | 1.00 | 1.00 | 2.00 | 5.00 | 1.00 | 1.00 | 2.00 | 5.00 | |||||||||||||||||||
| vwredsumu.vs v8,v16,v24 | 1.00 | 1.00 | 1.00 | 1.00 | 2.00 | 5.50 | 19.00 | 1.00 | 1.00 | 1.00 | 2.00 | 5.50 | 19.00 | 1.00 | 1.00 | 2.00 | 5.50 | 19.00 | ||||||||||
| vwredsumu.vs v8,v16,v24,v0.t | 1.00 | 1.00 | 1.00 | 1.00 | 2.00 | 5.50 | 19.00 | 1.00 | 1.00 | 1.00 | 2.00 | 5.50 | 19.00 | 1.00 | 1.00 | 2.00 | 5.50 | 19.00 | ||||||||||
| vwredsum.vs v8,v16,v24 | 1.00 | 1.00 | 1.00 | 1.00 | 2.00 | 5.50 | 19.00 | 1.00 | 1.00 | 1.00 | 2.00 | 5.50 | 19.00 | 1.00 | 1.00 | 2.00 | 5.50 | 19.00 | ||||||||||
| vwredsum.vs v8,v16,v24,v0.t | 1.00 | 1.00 | 1.00 | 1.00 | 2.00 | 5.50 | 19.00 | 1.00 | 1.00 | 1.00 | 2.00 | 5.50 | 19.00 | 1.00 | 1.00 | 2.00 | 5.50 | 19.00 | ||||||||||
| vfwadd.vv v8,v16,v24 | 1.00 | 2.00 | 2.00 | 4.00 | 8.00 | 2.00 | 2.00 | 4.00 | 8.00 | |||||||||||||||||||
| vfwadd.vv v8,v16,v24,v0.t | 1.00 | 2.00 | 2.00 | 4.00 | 8.00 | 2.00 | 2.00 | 4.00 | 8.00 | |||||||||||||||||||
| vfwadd.vf v8,v16,ft0 | 1.00 | 2.00 | 2.00 | 4.00 | 8.00 | 2.00 | 2.00 | 4.00 | 8.00 | |||||||||||||||||||
| vfwadd.vf v8,v16,ft0,v0.t | 1.00 | 2.00 | 2.00 | 4.00 | 8.00 | 2.00 | 2.00 | 4.00 | 8.00 | |||||||||||||||||||
| vfwsub.vv v8,v16,v24 | 1.00 | 2.00 | 2.00 | 4.00 | 8.00 | 2.00 | 2.00 | 4.00 | 8.00 | |||||||||||||||||||
| vfwsub.vv v8,v16,v24,v0.t | 1.00 | 2.00 | 2.00 | 4.00 | 8.00 | 2.00 | 2.00 | 4.00 | 8.00 | |||||||||||||||||||
| vfwsub.vf v8,v16,ft0 | 1.00 | 2.00 | 2.00 | 4.00 | 8.00 | 2.00 | 2.00 | 4.00 | 8.00 | |||||||||||||||||||
| vfwsub.vf v8,v16,ft0,v0.t | 1.00 | 2.00 | 2.00 | 4.00 | 8.00 | 2.00 | 2.00 | 4.00 | 8.00 | |||||||||||||||||||
| vfwadd.wv v8,v16,v24 | 2.00 | 2.00 | 4.00 | 8.00 | 16.00 | 2.00 | 4.00 | 8.00 | 16.00 | |||||||||||||||||||
| vfwadd.wv v8,v16,v24,v0.t | 2.00 | 2.00 | 4.00 | 8.00 | 16.00 | 2.00 | 4.00 | 8.00 | 16.00 | |||||||||||||||||||
| vfwadd.wf v8,v16,ft0 | 2.00 | 2.00 | 4.00 | 8.00 | 16.00 | 2.00 | 4.00 | 8.00 | 16.00 | |||||||||||||||||||
| vfwadd.wf v8,v16,ft0,v0.t | 2.00 | 2.00 | 4.00 | 8.00 | 16.00 | 2.00 | 4.00 | 8.00 | 16.00 | |||||||||||||||||||
| vfwsub.wv v8,v16,v24 | 2.00 | 2.00 | 4.00 | 8.00 | 16.00 | 2.00 | 4.00 | 8.00 | 16.00 | |||||||||||||||||||
| vfwsub.wv v8,v16,v24,v0.t | 2.00 | 2.00 | 4.00 | 8.00 | 16.00 | 2.00 | 4.00 | 8.00 | 16.00 | |||||||||||||||||||
| vfwsub.wf v8,v16,ft0 | 2.00 | 2.00 | 4.00 | 8.00 | 16.00 | 2.00 | 4.00 | 8.00 | 16.00 | |||||||||||||||||||
| vfwsub.wf v8,v16,ft0,v0.t | 2.00 | 2.00 | 4.00 | 8.00 | 16.00 | 2.00 | 4.00 | 8.00 | 16.00 | |||||||||||||||||||
| vfwmul.vv v8,v16,v24 | 1.00 | 2.00 | 2.00 | 4.00 | 8.00 | 2.00 | 2.00 | 4.00 | 8.00 | |||||||||||||||||||
| vfwmul.vv v8,v16,v24,v0.t | 1.00 | 2.00 | 2.00 | 4.00 | 8.00 | 2.00 | 2.00 | 4.00 | 8.00 | |||||||||||||||||||
| vfwmul.vf v8,v16,ft0 | 1.00 | 2.00 | 2.00 | 4.00 | 8.00 | 2.00 | 2.00 | 4.00 | 8.00 | |||||||||||||||||||
| vfwmul.vf v8,v16,ft0,v0.t | 1.00 | 2.00 | 2.00 | 4.00 | 8.00 | 2.00 | 2.00 | 4.00 | 8.00 | |||||||||||||||||||
| vfwmacc.vv v8,v16,v24 | 1.00 | 2.00 | 2.00 | 4.00 | 8.00 | 2.00 | 2.00 | 4.00 | 8.00 | |||||||||||||||||||
| vfwmacc.vv v8,v16,v24,v0.t | 1.00 | 2.00 | 2.00 | 4.00 | 8.00 | 2.00 | 2.00 | 4.00 | 8.00 | |||||||||||||||||||
| vfwmacc.vf v8,ft0,v16 | 1.00 | 2.00 | 2.00 | 4.00 | 8.00 | 2.00 | 2.00 | 4.00 | 8.00 | |||||||||||||||||||
| vfwmacc.vf v8,ft0,v16,v0.t | 1.00 | 2.00 | 2.00 | 4.00 | 8.00 | 2.00 | 2.00 | 4.00 | 8.00 | |||||||||||||||||||
| vfwnmacc.vv v8,v16,v24 | 1.00 | 2.00 | 2.00 | 4.00 | 8.00 | 2.00 | 2.00 | 4.00 | 8.00 | |||||||||||||||||||
| vfwnmacc.vv v8,v16,v24,v0.t | 1.00 | 2.00 | 2.00 | 4.00 | 8.00 | 2.00 | 2.00 | 4.00 | 8.00 | |||||||||||||||||||
| vfwnmacc.vf v8,ft0,v16 | 1.00 | 2.00 | 2.00 | 4.00 | 8.00 | 2.00 | 2.00 | 4.00 | 8.00 | |||||||||||||||||||
| vfwnmacc.vf v8,ft0,v16,v0.t | 1.00 | 2.00 | 2.00 | 4.00 | 8.00 | 2.00 | 2.00 | 4.00 | 8.00 | |||||||||||||||||||
| vfwmsac.vv v8,v16,v24 | 1.00 | 2.00 | 2.00 | 4.00 | 8.00 | 2.00 | 2.00 | 4.00 | 8.00 | |||||||||||||||||||
| vfwmsac.vv v8,v16,v24,v0.t | 1.00 | 2.00 | 2.00 | 4.00 | 8.00 | 2.00 | 2.00 | 4.00 | 8.00 | |||||||||||||||||||
| vfwmsac.vf v8,ft0,v16 | 1.00 | 2.00 | 2.00 | 4.00 | 8.00 | 2.00 | 2.00 | 4.00 | 8.00 | |||||||||||||||||||
| vfwmsac.vf v8,ft0,v16,v0.t | 1.00 | 2.00 | 2.00 | 4.00 | 8.00 | 2.00 | 2.00 | 4.00 | 8.00 | |||||||||||||||||||
| vfwnmsac.vv v8,v16,v24 | 1.00 | 2.00 | 2.00 | 4.00 | 8.00 | 2.00 | 2.00 | 4.00 | 8.00 | |||||||||||||||||||
| vfwnmsac.vv v8,v16,v24,v0.t | 1.00 | 2.00 | 2.00 | 4.00 | 8.00 | 2.00 | 2.00 | 4.00 | 8.00 | |||||||||||||||||||
| vfwnmsac.vf v8,ft0,v16 | 1.00 | 2.00 | 2.00 | 4.00 | 8.00 | 2.00 | 2.00 | 4.00 | 8.00 | |||||||||||||||||||
| vfwnmsac.vf v8,ft0,v16,v0.t | 1.00 | 2.00 | 2.00 | 4.00 | 8.00 | 2.00 | 2.00 | 4.00 | 8.00 | |||||||||||||||||||
| vfwredosum.vs v8,v16,v24 | 10.00 | 26.00 | 31.00 | 62.99 | 127.96 | 511.34 | 10.00 | 15.00 | 31.00 | 65.99 | 256.83 | |||||||||||||||||
| vfwredosum.vs v8,v16,v24,v0.t | 10.00 | 26.00 | 31.00 | 62.99 | 127.96 | 511.34 | 10.00 | 15.00 | 31.00 | 65.99 | 256.83 | |||||||||||||||||
| vfwredusum.vs v8,v16,v24 | 10.00 | 26.00 | 31.00 | 62.99 | 127.96 | 511.34 | 10.00 | 15.00 | 31.00 | 65.99 | 256.83 | |||||||||||||||||
| vfwredusum.vs v8,v16,v24,v0.t | 10.00 | 26.00 | 31.00 | 62.99 | 127.96 | 511.34 | 10.00 | 15.00 | 31.00 | 65.99 | 256.83 | |||||||||||||||||
| vmv.s.x v8,t0 | 1.06 | 1.06 | 1.06 | 1.06 | 1.06 | 1.54 | 3.00 | 1.06 | 1.06 | 1.06 | 1.06 | 1.54 | 3.00 | 1.06 | 1.06 | 1.06 | 1.54 | 3.00 | 1.06 | 1.06 | 1.54 | 3.00 | ||||||
| vmv.x.s t0,v8 | 6.00 | 6.00 | 6.00 | 6.00 | 6.00 | 6.00 | 6.00 | 6.00 | 6.00 | 6.00 | 6.00 | 6.00 | 6.00 | 6.00 | 6.00 | 6.00 | 6.00 | 6.00 | 6.00 | 6.00 | 6.00 | 6.00 | ||||||
| vcpop.m t0,v8 | 6.00 | 6.00 | 6.00 | 6.00 | 6.00 | 6.00 | 7.00 | 6.00 | 6.00 | 6.00 | 6.00 | 6.00 | 6.00 | 6.00 | 6.00 | 6.00 | 6.00 | 6.00 | 6.00 | 6.00 | 6.00 | 6.00 | ||||||
| vcpop.m t0,v8,v0.t | 6.00 | 6.00 | 6.00 | 6.00 | 6.00 | 6.00 | 7.00 | 6.00 | 6.00 | 6.00 | 6.00 | 6.00 | 6.00 | 6.00 | 6.00 | 6.00 | 6.00 | 6.00 | 6.00 | 6.00 | 6.00 | 6.00 | ||||||
| vfirst.m t0,v8 | 6.00 | 6.00 | 6.00 | 6.00 | 6.00 | 6.00 | 7.00 | 6.00 | 6.00 | 6.00 | 6.00 | 6.00 | 6.00 | 6.00 | 6.00 | 6.00 | 6.00 | 6.00 | 6.00 | 6.00 | 6.00 | 6.00 | ||||||
| vfirst.m t0,v8,v0.t | 6.00 | 6.00 | 6.00 | 6.00 | 6.00 | 6.00 | 7.00 | 6.00 | 6.00 | 6.00 | 6.00 | 6.00 | 6.00 | 6.00 | 6.00 | 6.00 | 6.00 | 6.00 | 6.00 | 6.00 | 6.00 | 6.00 | ||||||
| vzext.vf2 v8,v16 | 1.00 | 1.00 | 2.00 | 4.00 | 8.00 | 16.00 | 1.00 | 2.00 | 4.00 | 8.00 | 16.00 | 2.00 | 4.00 | 8.00 | 16.00 | |||||||||||||
| vzext.vf2 v8,v16,v0.t | 1.00 | 1.00 | 2.00 | 4.00 | 8.00 | 16.00 | 1.00 | 2.00 | 4.00 | 8.00 | 16.00 | 2.00 | 4.00 | 8.00 | 16.00 | |||||||||||||
| vsext.vf2 v8,v16 | 1.00 | 1.00 | 2.00 | 4.00 | 8.00 | 16.00 | 1.00 | 2.00 | 4.00 | 8.00 | 16.00 | 2.00 | 4.00 | 8.00 | 16.00 | |||||||||||||
| vsext.vf2 v8,v16,v0.t | 1.00 | 1.00 | 2.00 | 4.00 | 8.00 | 16.00 | 1.00 | 2.00 | 4.00 | 8.00 | 16.00 | 2.00 | 4.00 | 8.00 | 16.00 | |||||||||||||
| vzext.vf4 v8,v16 | 1.00 | 2.00 | 4.00 | 8.00 | 16.00 | 2.00 | 4.00 | 8.00 | 16.00 | |||||||||||||||||||
| vzext.vf4 v8,v16,v0.t | 1.00 | 2.00 | 4.00 | 8.00 | 16.00 | 2.00 | 4.00 | 8.00 | 16.00 | |||||||||||||||||||
| vsext.vf4 v8,v16 | 1.00 | 2.00 | 4.00 | 8.00 | 16.00 | 2.00 | 4.00 | 8.00 | 16.00 | |||||||||||||||||||
| vsext.vf4 v8,v16,v0.t | 1.00 | 2.00 | 4.00 | 8.00 | 16.00 | 2.00 | 4.00 | 8.00 | 16.00 | |||||||||||||||||||
| vzext.vf8 v8,v16 | 2.00 | 4.00 | 8.00 | 16.00 | ||||||||||||||||||||||||
| vzext.vf8 v8,v16,v0.t | 2.00 | 4.00 | 8.00 | 16.00 | ||||||||||||||||||||||||
| vsext.vf8 v8,v16 | 2.00 | 4.00 | 8.00 | 16.00 | ||||||||||||||||||||||||
| vsext.vf8 v8,v16,v0.t | 2.00 | 4.00 | 8.00 | 16.00 | ||||||||||||||||||||||||
| vfmv.f.s ft0,v8 | 6.00 | 6.00 | 6.00 | 6.00 | 6.00 | 6.00 | 6.00 | 6.00 | 6.00 | 6.00 | 6.00 | 6.00 | 6.00 | 6.00 | 6.00 | |||||||||||||
| vfmv.s.f v8,ft0 | 1.00 | 1.00 | 1.00 | 1.00 | 1.50 | 3.00 | 1.00 | 1.00 | 1.00 | 1.50 | 3.00 | 1.00 | 1.00 | 1.50 | 3.00 | |||||||||||||
| vfcvt.xu.f.v v8,v16 | 1.00 | 1.00 | 2.00 | 4.00 | 8.00 | 16.00 | 1.00 | 2.00 | 4.00 | 8.00 | 16.00 | 2.00 | 4.00 | 8.00 | 16.00 | |||||||||||||
| vfcvt.xu.f.v v8,v16,v0.t | 1.00 | 1.00 | 2.00 | 4.00 | 8.00 | 16.00 | 1.00 | 2.00 | 4.00 | 8.00 | 16.00 | 2.00 | 4.00 | 8.00 | 16.00 | |||||||||||||
| vfcvt.x.f.v v8,v16 | 1.00 | 1.00 | 2.00 | 4.00 | 8.00 | 16.00 | 1.00 | 2.00 | 4.00 | 8.00 | 16.00 | 2.00 | 4.00 | 8.00 | 16.00 | |||||||||||||
| vfcvt.x.f.v v8,v16,v0.t | 1.00 | 1.00 | 2.00 | 4.00 | 8.00 | 16.00 | 1.00 | 2.00 | 4.00 | 8.00 | 16.00 | 2.00 | 4.00 | 8.00 | 16.00 | |||||||||||||
| vfcvt.f.xu.v v8,v16 | 1.00 | 1.00 | 2.00 | 4.00 | 8.00 | 16.00 | 1.00 | 2.00 | 4.00 | 8.00 | 16.00 | 2.00 | 4.00 | 8.00 | 16.00 | |||||||||||||
| vfcvt.f.xu.v v8,v16,v0.t | 1.00 | 1.00 | 2.00 | 4.00 | 8.00 | 16.00 | 1.00 | 2.00 | 4.00 | 8.00 | 16.00 | 2.00 | 4.00 | 8.00 | 16.00 | |||||||||||||
| vfcvt.f.x.v v8,v16 | 1.00 | 1.00 | 2.00 | 4.00 | 8.00 | 16.00 | 1.00 | 2.00 | 4.00 | 8.00 | 16.00 | 2.00 | 4.00 | 8.00 | 16.00 | |||||||||||||
| vfcvt.f.x.v v8,v16,v0.t | 1.00 | 1.00 | 2.00 | 4.00 | 8.00 | 16.00 | 1.00 | 2.00 | 4.00 | 8.00 | 16.00 | 2.00 | 4.00 | 8.00 | 16.00 | |||||||||||||
| vfcvt.rtz.x.f.v v8,v16 | 1.00 | 1.00 | 2.00 | 4.00 | 8.00 | 16.00 | 1.00 | 2.00 | 4.00 | 8.00 | 16.00 | 2.00 | 4.00 | 8.00 | 16.00 | |||||||||||||
| vfcvt.rtz.x.f.v v8,v16,v0.t | 1.00 | 1.00 | 2.00 | 4.00 | 8.00 | 16.00 | 1.00 | 2.00 | 4.00 | 8.00 | 16.00 | 2.00 | 4.00 | 8.00 | 16.00 | |||||||||||||
| vfcvt.rtz.xu.f.v v8,v16 | 1.00 | 1.00 | 2.00 | 4.00 | 8.00 | 16.00 | 1.00 | 2.00 | 4.00 | 8.00 | 16.00 | 2.00 | 4.00 | 8.00 | 16.00 | |||||||||||||
| vfcvt.rtz.xu.f.v v8,v16,v0.t | 1.00 | 1.00 | 2.00 | 4.00 | 8.00 | 16.00 | 1.00 | 2.00 | 4.00 | 8.00 | 16.00 | 2.00 | 4.00 | 8.00 | 16.00 | |||||||||||||
| vfwcvt.xu.f.v v8,v16 | 1.00 | 2.00 | 4.00 | 8.00 | 16.00 | 2.00 | 4.00 | 8.00 | 16.00 | |||||||||||||||||||
| vfwcvt.xu.f.v v8,v16,v0.t | 1.00 | 2.00 | 4.00 | 8.00 | 16.00 | 2.00 | 4.00 | 8.00 | 16.00 | |||||||||||||||||||
| vfwcvt.x.f.v v8,v16 | 1.00 | 2.00 | 4.00 | 8.00 | 16.00 | 2.00 | 4.00 | 8.00 | 16.00 | |||||||||||||||||||
| vfwcvt.x.f.v v8,v16,v0.t | 1.00 | 2.00 | 4.00 | 8.00 | 16.00 | 2.00 | 4.00 | 8.00 | 16.00 | |||||||||||||||||||
| vfwcvt.f.xu.v v8,v16 | 1.00 | 2.00 | 4.00 | 8.00 | 16.00 | 2.00 | 4.00 | 8.00 | 16.00 | |||||||||||||||||||
| vfwcvt.f.xu.v v8,v16,v0.t | 1.00 | 2.00 | 4.00 | 8.00 | 16.00 | 2.00 | 4.00 | 8.00 | 16.00 | |||||||||||||||||||
| vfwcvt.f.x.v v8,v16 | 1.00 | 2.00 | 4.00 | 8.00 | 16.00 | 2.00 | 4.00 | 8.00 | 16.00 | |||||||||||||||||||
| vfwcvt.f.x.v v8,v16,v0.t | 1.00 | 2.00 | 4.00 | 8.00 | 16.00 | 2.00 | 4.00 | 8.00 | 16.00 | |||||||||||||||||||
| vfwcvt.f.f.v v8,v16 | 1.00 | 2.00 | 4.00 | 8.00 | 16.00 | 2.00 | 4.00 | 8.00 | 16.00 | |||||||||||||||||||
| vfwcvt.f.f.v v8,v16,v0.t | 1.00 | 2.00 | 4.00 | 8.00 | 16.00 | 2.00 | 4.00 | 8.00 | 16.00 | |||||||||||||||||||
| vfwcvt.rtz.xu.f.v v8,v16 | 1.00 | 2.00 | 4.00 | 8.00 | 16.00 | 2.00 | 4.00 | 8.00 | 16.00 | |||||||||||||||||||
| vfwcvt.rtz.xu.f.v v8,v16,v0.t | 1.00 | 2.00 | 4.00 | 8.00 | 16.00 | 2.00 | 4.00 | 8.00 | 16.00 | |||||||||||||||||||
| vfwcvt.rtz.x.f.v v8,v16 | 1.00 | 2.00 | 4.00 | 8.00 | 16.00 | 2.00 | 4.00 | 8.00 | 16.00 | |||||||||||||||||||
| vfwcvt.rtz.x.f.v v8,v16,v0.t | 1.00 | 2.00 | 4.00 | 8.00 | 16.00 | 2.00 | 4.00 | 8.00 | 16.00 | |||||||||||||||||||
| vfncvt.xu.f.w v8,v16 | 1.00 | 2.00 | 4.00 | 8.00 | 16.00 | 2.00 | 4.00 | 8.00 | 16.00 | |||||||||||||||||||
| vfncvt.xu.f.w v8,v16,v0.t | 1.00 | 2.00 | 4.00 | 8.00 | 16.00 | 2.00 | 4.00 | 8.00 | 16.00 | |||||||||||||||||||
| vfncvt.x.f.w v8,v16 | 1.00 | 2.00 | 4.00 | 8.00 | 16.00 | 2.00 | 4.00 | 8.00 | 16.00 | |||||||||||||||||||
| vfncvt.x.f.w v8,v16,v0.t | 1.00 | 2.00 | 4.00 | 8.00 | 16.00 | 2.00 | 4.00 | 8.00 | 16.00 | |||||||||||||||||||
| vfncvt.f.xu.w v8,v16 | 1.00 | 2.00 | 4.00 | 8.00 | 16.00 | 2.00 | 4.00 | 8.00 | 16.00 | |||||||||||||||||||
| vfncvt.f.xu.w v8,v16,v0.t | 1.00 | 2.00 | 4.00 | 8.00 | 16.00 | 2.00 | 4.00 | 8.00 | 16.00 | |||||||||||||||||||
| vfncvt.f.x.w v8,v16 | 1.00 | 2.00 | 4.00 | 8.00 | 16.00 | 2.00 | 4.00 | 8.00 | 16.00 | |||||||||||||||||||
| vfncvt.f.x.w v8,v16,v0.t | 1.00 | 2.00 | 4.00 | 8.00 | 16.00 | 2.00 | 4.00 | 8.00 | 16.00 | |||||||||||||||||||
| vfncvt.f.f.w v8,v16 | 1.00 | 2.00 | 4.00 | 8.00 | 16.00 | 2.00 | 4.00 | 8.00 | 16.00 | |||||||||||||||||||
| vfncvt.f.f.w v8,v16,v0.t | 1.00 | 2.00 | 4.00 | 8.00 | 16.00 | 2.00 | 4.00 | 8.00 | 16.00 | |||||||||||||||||||
| vfncvt.rtz.x.f.w v8,v16 | 1.00 | 2.00 | 4.00 | 8.00 | 16.00 | 2.00 | 4.00 | 8.00 | 16.00 | |||||||||||||||||||
| vfncvt.rtz.x.f.w v8,v16,v0.t | 1.00 | 2.00 | 4.00 | 8.00 | 16.00 | 2.00 | 4.00 | 8.00 | 16.00 | |||||||||||||||||||
| vfncvt.rtz.xu.f.w v8,v16 | 1.00 | 2.00 | 4.00 | 8.00 | 16.00 | 2.00 | 4.00 | 8.00 | 16.00 | |||||||||||||||||||
| vfncvt.rtz.xu.f.w v8,v16,v0.t | 1.00 | 2.00 | 4.00 | 8.00 | 16.00 | 2.00 | 4.00 | 8.00 | 16.00 | |||||||||||||||||||
| vfncvt.rod.f.f.w v8,v16 | 1.00 | 2.00 | 4.00 | 8.00 | 16.00 | 2.00 | 4.00 | 8.00 | 16.00 | |||||||||||||||||||
| vfncvt.rod.f.f.w v8,v16,v0.t | 1.00 | 2.00 | 4.00 | 8.00 | 16.00 | 2.00 | 4.00 | 8.00 | 16.00 | |||||||||||||||||||
| vfsqrt.v v8,v16 | 12.69 | 13.23 | 26.30 | 52.11 | 104.82 | 210.64 | 17.64 | 34.81 | 70.41 | 138.78 | 275.37 | 52.00 | 102.61 | 203.28 | 411.76 | |||||||||||||
| vfsqrt.v v8,v16,v0.t | 11.94 | 12.65 | 24.93 | 48.74 | 98.29 | 197.62 | 15.63 | 28.89 | 58.15 | 115.69 | 223.39 | 37.98 | 73.26 | 132.40 | 280.75 | |||||||||||||
| vfrsqrt7.v v8,v16 | 1.00 | 1.00 | 2.00 | 4.00 | 8.00 | 16.00 | 1.00 | 2.00 | 4.00 | 8.00 | 16.00 | 2.00 | 4.00 | 8.00 | 16.00 | |||||||||||||
| vfrsqrt7.v v8,v16,v0.t | 1.00 | 1.00 | 2.00 | 4.00 | 8.00 | 16.00 | 1.00 | 2.00 | 4.00 | 8.00 | 16.00 | 2.00 | 4.00 | 8.00 | 16.00 | |||||||||||||
| vfrec7.v v8,v16 | 1.00 | 1.00 | 2.00 | 4.00 | 8.00 | 16.00 | 1.00 | 2.00 | 4.00 | 8.00 | 16.00 | 2.00 | 4.00 | 8.00 | 16.00 | |||||||||||||
| vfrec7.v v8,v16,v0.t | 1.00 | 1.00 | 2.00 | 4.00 | 8.00 | 16.00 | 1.00 | 2.00 | 4.00 | 8.00 | 16.00 | 2.00 | 4.00 | 8.00 | 16.00 | |||||||||||||
| vfclass.v v8,v16 | 1.00 | 1.00 | 2.00 | 4.00 | 8.00 | 16.00 | 1.00 | 2.00 | 4.00 | 8.00 | 16.00 | 2.00 | 4.00 | 8.00 | 16.00 | |||||||||||||
| vfclass.v v8,v16,v0.t | 1.00 | 1.00 | 2.00 | 4.00 | 8.00 | 16.00 | 1.00 | 2.00 | 4.00 | 8.00 | 16.00 | 2.00 | 4.00 | 8.00 | 16.00 | |||||||||||||
| vmsbf.m v8,v16 | 1.00 | 1.00 | 1.00 | 1.00 | 1.00 | 1.50 | 3.00 | 1.00 | 1.00 | 1.00 | 1.00 | 1.50 | 3.00 | 1.00 | 1.00 | 1.00 | 1.50 | 3.00 | 1.00 | 1.00 | 1.50 | 3.00 | ||||||
| vmsbf.m v8,v16,v0.t | 1.00 | 1.00 | 1.00 | 1.00 | 1.00 | 1.50 | 3.00 | 1.00 | 1.00 | 1.00 | 1.00 | 1.50 | 3.00 | 1.00 | 1.00 | 1.00 | 1.50 | 3.00 | 1.00 | 1.00 | 1.50 | 3.00 | ||||||
| vmsof.m v8,v16 | 1.00 | 1.00 | 1.00 | 1.00 | 1.00 | 1.50 | 3.00 | 1.00 | 1.00 | 1.00 | 1.00 | 1.50 | 3.00 | 1.00 | 1.00 | 1.00 | 1.50 | 3.00 | 1.00 | 1.00 | 1.50 | 3.00 | ||||||
| vmsof.m v8,v16,v0.t | 1.00 | 1.00 | 1.00 | 1.00 | 1.00 | 1.50 | 3.00 | 1.00 | 1.00 | 1.00 | 1.00 | 1.50 | 3.00 | 1.00 | 1.00 | 1.00 | 1.50 | 3.00 | 1.00 | 1.00 | 1.50 | 3.00 | ||||||
| vmsif.m v8,v16 | 1.00 | 1.00 | 1.00 | 1.00 | 1.00 | 1.50 | 3.00 | 1.00 | 1.00 | 1.00 | 1.00 | 1.50 | 3.00 | 1.00 | 1.00 | 1.00 | 1.50 | 3.00 | 1.00 | 1.00 | 1.50 | 3.00 | ||||||
| vmsif.m v8,v16,v0.t | 1.00 | 1.00 | 1.00 | 1.00 | 1.00 | 1.50 | 3.00 | 1.00 | 1.00 | 1.00 | 1.00 | 1.50 | 3.00 | 1.00 | 1.00 | 1.00 | 1.50 | 3.00 | 1.00 | 1.00 | 1.50 | 3.00 | ||||||
| viota.m v8,v16 | 1.00 | 1.00 | 1.00 | 2.00 | 4.00 | 8.00 | 16.00 | 1.00 | 1.00 | 2.00 | 4.00 | 8.00 | 16.00 | 1.00 | 2.00 | 4.00 | 8.00 | 16.00 | 2.00 | 4.00 | 8.00 | 16.00 | ||||||
| viota.m v8,v16,v0.t | 1.00 | 1.00 | 1.00 | 2.00 | 4.00 | 8.00 | 16.00 | 1.00 | 1.00 | 2.00 | 4.00 | 8.00 | 16.00 | 1.00 | 2.00 | 4.00 | 8.00 | 16.00 | 2.00 | 4.00 | 8.00 | 16.00 | ||||||
| vid.v v8 | 1.00 | 1.00 | 1.00 | 2.00 | 4.00 | 8.00 | 16.00 | 1.00 | 1.00 | 2.00 | 4.00 | 8.00 | 16.00 | 1.00 | 2.00 | 4.00 | 8.00 | 16.00 | 2.00 | 4.00 | 8.00 | 16.00 | ||||||
| vid.v v8,v0.t | 1.00 | 1.00 | 1.00 | 2.00 | 4.00 | 8.00 | 16.00 | 1.00 | 1.00 | 2.00 | 4.00 | 8.00 | 16.00 | 1.00 | 2.00 | 4.00 | 8.00 | 16.00 | 2.00 | 4.00 | 8.00 | 16.00 | ||||||
| vle8.v v8,(t0) | 1.30 | 1.40 | 1.20 | 1.33 | 2.47 | 5.86 | 12.60 | 1.32 | 1.37 | 1.22 | 1.33 | 2.55 | 6.10 | 1.32 | 1.25 | 1.22 | 2.00 | 4.00 | 1.30 | 1.20 | 2.00 | 4.00 | ||||||
| vle8.v v8,(t0),v0.t | 1.30 | 1.10 | 1.25 | 1.30 | 2.58 | 5.92 | 12.40 | 1.25 | 1.12 | 1.25 | 1.22 | 2.58 | 5.94 | 1.27 | 1.30 | 1.37 | 2.00 | 4.00 | 1.17 | 1.35 | 2.00 | 4.00 | ||||||
| vle16.v v8,(t0) | 1.35 | 1.20 | 1.45 | 1.27 | 1.30 | 1.33 | 2.51 | 5.88 | 12.55 | 1.25 | 1.12 | 1.33 | 2.81 | 6.01 | 1.27 | 1.22 | 2.00 | 4.00 | ||||||||||
| vle16.v v8,(t0),v0.t | 1.20 | 1.22 | 1.26 | 1.05 | 1.35 | 1.41 | 2.77 | 5.94 | 12.45 | 1.25 | 1.22 | 1.15 | 2.62 | 6.03 | 1.45 | 1.17 | 2.00 | 4.00 | ||||||||||
| vle32.v v8,(t0) | 1.22 | 1.41 | 1.15 | 1.37 | 1.20 | 1.37 | 2.81 | 5.91 | 12.50 | 1.32 | 1.26 | 2.58 | 6.03 | |||||||||||||||
| vle32.v v8,(t0),v0.t | 1.15 | 1.60 | 1.20 | 1.48 | 1.20 | 1.45 | 2.73 | 5.88 | 12.50 | 1.15 | 1.52 | 2.51 | 5.97 | |||||||||||||||
| vle64.v v8,(t0) | 1.41 | 1.26 | 1.18 | 1.11 | 2.45 | 6.00 | 12.35 | |||||||||||||||||||||
| vle64.v v8,(t0),v0.t | 1.18 | 1.30 | 1.18 | 1.22 | 2.18 | 5.92 | 12.35 | |||||||||||||||||||||
| vse8.v v8,(t0) | 1.22 | 1.27 | 1.40 | 2.55 | 6.29 | 10.96 | 17.22 | 1.20 | 1.40 | 1.65 | 2.50 | 5.55 | 10.29 | 1.37 | 1.50 | 1.55 | 2.20 | 4.40 | 1.15 | 1.35 | 1.45 | 2.40 | ||||||
| vse8.v v8,(t0),v0.t | 1.37 | 1.35 | 1.40 | 2.50 | 4.35 | 14.27 | 16.90 | 1.37 | 1.37 | 1.50 | 2.60 | 4.55 | 13.93 | 1.27 | 1.42 | 1.50 | 2.45 | 5.00 | 1.22 | 1.37 | 1.35 | 2.50 | ||||||
| vse16.v v8,(t0) | 1.50 | 1.50 | 2.50 | 1.40 | 1.70 | 2.50 | 4.60 | 10.65 | 17.20 | 1.30 | 1.45 | 2.35 | 4.55 | 9.20 | 1.27 | 1.25 | 2.55 | 5.55 | ||||||||||
| vse16.v v8,(t0),v0.t | 1.45 | 1.25 | 2.70 | 1.25 | 1.50 | 2.45 | 4.60 | 11.48 | 17.70 | 1.27 | 1.55 | 2.45 | 4.30 | 15.43 | 1.37 | 1.75 | 2.65 | 4.35 | ||||||||||
| vse32.v v8,(t0) | 1.35 | 2.40 | 1.60 | 2.50 | 1.55 | 2.60 | 4.40 | 9.80 | 18.05 | 1.25 | 2.60 | 4.40 | 10.80 | |||||||||||||||
| vse32.v v8,(t0),v0.t | 1.50 | 2.35 | 1.35 | 2.50 | 1.60 | 2.80 | 4.40 | 9.80 | 17.63 | 1.55 | 2.25 | 4.40 | 10.14 | |||||||||||||||
| vse64.v v8,(t0) | 2.40 | 2.15 | 2.25 | 2.15 | 4.25 | 9.26 | 17.28 | |||||||||||||||||||||
| vse64.v v8,(t0),v0.t | 2.40 | 2.25 | 2.45 | 2.40 | 4.30 | 8.48 | 16.25 | |||||||||||||||||||||
| vle8ff.v v8,(t0) | 1.27 | 1.30 | 1.27 | 1.30 | 2.47 | 5.89 | 12.40 | 1.37 | 1.20 | 1.20 | 1.48 | 2.73 | 5.92 | 1.22 | 1.32 | 1.17 | 2.00 | 4.00 | 1.27 | 1.20 | 2.00 | 4.00 | ||||||
| vle8ff.v v8,(t0),v0.t | 1.27 | 1.22 | 1.30 | 1.45 | 2.55 | 5.87 | 12.50 | 1.25 | 1.22 | 1.32 | 1.56 | 2.51 | 6.05 | 1.22 | 1.37 | 1.10 | 2.00 | 4.00 | 1.20 | 1.22 | 2.00 | 4.00 | ||||||
| vle16ff.v v8,(t0) | 1.22 | 1.20 | 1.48 | 1.22 | 1.25 | 1.33 | 2.55 | 5.92 | 12.40 | 1.20 | 1.32 | 1.22 | 2.62 | 5.94 | 1.27 | 1.22 | 2.00 | 4.00 | ||||||||||
| vle16ff.v v8,(t0),v0.t | 1.27 | 1.17 | 1.26 | 1.17 | 1.15 | 1.26 | 2.70 | 5.92 | 12.35 | 1.25 | 1.40 | 1.37 | 2.62 | 6.03 | 1.27 | 1.17 | 2.00 | 4.00 | ||||||||||
| vle32ff.v v8,(t0) | 1.27 | 1.41 | 1.22 | 1.48 | 1.30 | 1.26 | 2.40 | 5.83 | 12.55 | 1.32 | 1.22 | 2.66 | 6.01 | |||||||||||||||
| vle32ff.v v8,(t0),v0.t | 1.22 | 1.45 | 1.20 | 1.22 | 1.32 | 1.26 | 2.62 | 5.91 | 12.55 | 1.15 | 1.41 | 2.58 | 6.01 | |||||||||||||||
| vle64ff.v v8,(t0) | 1.33 | 1.37 | 1.41 | 1.18 | 2.07 | 5.94 | 12.40 | |||||||||||||||||||||
| vle64ff.v v8,(t0),v0.t | 1.03 | 1.30 | 1.03 | 1.18 | 2.22 | 5.94 | 12.15 | |||||||||||||||||||||
| vlm.v v8,(t0) | 1.25 | 1.20 | 1.12 | 1.17 | 1.22 | 2.00 | 4.00 | 1.20 | 1.25 | 1.20 | 1.22 | 2.00 | 4.00 | 1.40 | 1.30 | 1.15 | 2.00 | 4.00 | 1.25 | 1.17 | 2.00 | 4.00 | ||||||
| vsm.v v8,(t0) | 1.20 | 1.22 | 1.30 | 1.27 | 1.45 | 1.40 | 2.50 | 1.25 | 1.22 | 1.22 | 1.27 | 1.42 | 1.70 | 1.20 | 1.25 | 1.27 | 1.27 | 1.17 | 1.25 | 1.20 | 1.22 | 1.22 | ||||||
| vlse8.v v8,(t2),t3 | 3.00 | 5.00 | 9.00 | 21.10 | 50.01 | 114.01 | 242.01 | 3.00 | 5.00 | 9.00 | 21.00 | 50.01 | 114.01 | 3.00 | 5.00 | 9.00 | 21.10 | 50.01 | 3.00 | 5.00 | 9.00 | 21.13 | ||||||
| vlse8.v v8,(t2),t3,v0.t | 3.00 | 5.00 | 9.00 | 21.00 | 50.01 | 114.01 | 242.01 | 3.00 | 5.00 | 9.00 | 21.07 | 50.01 | 114.01 | 3.00 | 5.00 | 9.00 | 21.15 | 50.01 | 3.00 | 5.00 | 9.00 | 21.07 | ||||||
| vlse8.v v8,(t2),x0 | 3.00 | 5.00 | 9.00 | 17.07 | 50.01 | 114.01 | 242.01 | 3.00 | 5.00 | 9.00 | 17.07 | 50.01 | 114.01 | 3.00 | 5.00 | 9.00 | 17.07 | 50.01 | 3.00 | 5.00 | 9.00 | 17.07 | ||||||
| vlse8.v v8,(t2),x0,v0.t | 3.00 | 5.00 | 9.00 | 17.07 | 50.01 | 114.01 | 242.01 | 3.00 | 5.00 | 9.00 | 17.07 | 50.01 | 114.01 | 3.00 | 5.00 | 9.00 | 17.07 | 50.01 | 3.00 | 5.00 | 9.00 | 17.07 | ||||||
| vlse8.v v8,(t2),t1/*-1*/ | 3.00 | 5.00 | 9.00 | 22.79 | 48.04 | 114.01 | 242.02 | 3.00 | 5.00 | 9.00 | 22.49 | 48.05 | 114.01 | 3.00 | 5.00 | 9.00 | 23.03 | 48.03 | 3.00 | 5.00 | 9.00 | 23.50 | ||||||
| vlse8.v v8,(t2),t1/*-1*/,v0.t | 3.00 | 5.00 | 9.00 | 22.80 | 48.03 | 114.01 | 242.02 | 3.00 | 5.00 | 9.00 | 23.13 | 48.06 | 114.01 | 3.00 | 5.00 | 9.00 | 23.09 | 48.04 | 3.00 | 5.00 | 9.00 | 22.33 | ||||||
| vlse16.v v8,(t2),t3 | 3.00 | 5.00 | 9.00 | 3.00 | 5.00 | 9.00 | 22.22 | 50.01 | 114.01 | 3.00 | 5.00 | 9.00 | 22.20 | 50.01 | 3.00 | 5.00 | 9.00 | 21.62 | ||||||||||
| vlse16.v v8,(t2),t3,v0.t | 3.00 | 5.00 | 9.00 | 3.00 | 5.00 | 9.00 | 21.57 | 50.01 | 114.01 | 3.00 | 5.00 | 9.00 | 21.75 | 50.01 | 3.00 | 5.00 | 9.00 | 21.75 | ||||||||||
| vlse16.v v8,(t2),x0 | 3.00 | 5.00 | 9.00 | 3.00 | 5.00 | 9.00 | 17.07 | 50.01 | 114.01 | 3.00 | 5.00 | 9.00 | 17.07 | 50.01 | 3.00 | 5.00 | 9.00 | 17.07 | ||||||||||
| vlse16.v v8,(t2),x0,v0.t | 3.00 | 5.00 | 9.00 | 3.00 | 5.00 | 9.00 | 17.07 | 50.01 | 114.01 | 3.00 | 5.00 | 9.00 | 17.07 | 50.01 | 3.00 | 5.00 | 9.00 | 17.07 | ||||||||||
| vlse16.v v8,(t2),t1/*-1*/ | 3.00 | 5.00 | 9.00 | 3.00 | 5.00 | 9.00 | 24.00 | 50.01 | 114.01 | 3.00 | 5.00 | 9.00 | 24.00 | 50.01 | 3.00 | 5.00 | 9.00 | 24.00 | ||||||||||
| vlse16.v v8,(t2),t1/*-1*/,v0.t | 3.00 | 5.00 | 9.00 | 3.00 | 5.00 | 9.00 | 24.00 | 50.01 | 114.01 | 3.00 | 5.00 | 9.00 | 24.00 | 50.01 | 3.00 | 5.00 | 9.00 | 24.00 | ||||||||||
| vlse32.v v8,(t2),t3 | 3.00 | 5.00 | 3.00 | 5.00 | 3.00 | 5.00 | 9.00 | 20.00 | 50.01 | 3.00 | 5.00 | 9.00 | 20.00 | |||||||||||||||
| vlse32.v v8,(t2),t3,v0.t | 3.00 | 5.00 | 3.00 | 5.00 | 3.00 | 5.00 | 9.00 | 20.00 | 50.01 | 3.00 | 5.00 | 9.00 | 20.00 | |||||||||||||||
| vlse32.v v8,(t2),x0 | 3.00 | 5.00 | 3.00 | 5.00 | 3.00 | 5.00 | 9.00 | 17.07 | 50.01 | 3.00 | 5.00 | 9.00 | 17.07 | |||||||||||||||
| vlse32.v v8,(t2),x0,v0.t | 3.00 | 5.00 | 3.00 | 5.00 | 3.00 | 5.00 | 9.00 | 17.07 | 50.01 | 3.00 | 5.00 | 9.00 | 17.07 | |||||||||||||||
| vlse32.v v8,(t2),t1/*-1*/ | 3.00 | 5.00 | 3.00 | 5.00 | 3.00 | 5.00 | 9.00 | 20.00 | 50.01 | 3.00 | 5.00 | 9.00 | 20.00 | |||||||||||||||
| vlse32.v v8,(t2),t1/*-1*/,v0.t | 3.00 | 5.00 | 3.00 | 5.00 | 3.00 | 5.00 | 9.00 | 20.00 | 50.01 | 3.00 | 5.00 | 9.00 | 20.00 | |||||||||||||||
| vlse64.v v8,(t2),t3 | 3.00 | 3.00 | 3.00 | 3.00 | 5.00 | 10.18 | 24.00 | |||||||||||||||||||||
| vlse64.v v8,(t2),t3,v0.t | 3.00 | 3.00 | 3.00 | 3.00 | 5.00 | 10.13 | 24.00 | |||||||||||||||||||||
| vlse64.v v8,(t2),x0 | 3.00 | 3.00 | 3.00 | 3.00 | 5.00 | 9.00 | 22.00 | |||||||||||||||||||||
| vlse64.v v8,(t2),x0,v0.t | 3.00 | 3.00 | 3.00 | 3.00 | 5.00 | 9.00 | 22.00 | |||||||||||||||||||||
| vlse64.v v8,(t2),t1/*-1*/ | 3.00 | 3.00 | 3.00 | 3.00 | 5.00 | 10.26 | 24.00 | |||||||||||||||||||||
| vlse64.v v8,(t2),t1/*-1*/,v0.t | 3.00 | 3.00 | 3.00 | 3.00 | 5.00 | 10.35 | 24.00 | |||||||||||||||||||||
| vsse8.v v8,(t2),t3 | 4.00 | 8.00 | 16.00 | 32.69 | 64.00 | 128.00 | 256.00 | 4.00 | 8.00 | 16.00 | 32.00 | 64.00 | 128.00 | 4.00 | 8.00 | 16.00 | 34.02 | 64.00 | 4.00 | 8.00 | 16.00 | 32.00 | ||||||
| vsse8.v v8,(t2),t3,v0.t | 4.00 | 8.00 | 16.00 | 32.00 | 64.00 | 128.00 | 256.00 | 4.00 | 8.00 | 16.00 | 32.00 | 64.00 | 128.00 | 4.00 | 8.00 | 16.00 | 32.00 | 64.00 | 4.00 | 8.00 | 16.00 | 32.46 | ||||||
| vsse8.v v8,(t2),x0 | 4.00 | 8.00 | 16.00 | 32.00 | 64.00 | 128.00 | 256.00 | 4.00 | 8.00 | 16.00 | 32.00 | 64.00 | 128.00 | 4.00 | 8.00 | 16.00 | 32.00 | 64.00 | 4.00 | 8.00 | 16.00 | 32.00 | ||||||
| vsse8.v v8,(t2),x0,v0.t | 4.00 | 8.00 | 16.00 | 32.00 | 64.00 | 128.00 | 256.00 | 4.00 | 8.00 | 16.00 | 32.00 | 64.00 | 128.00 | 4.00 | 8.00 | 16.00 | 32.00 | 64.00 | 4.00 | 8.00 | 16.00 | 32.00 | ||||||
| vsse8.v v8,(t2),t1/*-1*/ | 4.00 | 8.00 | 16.00 | 32.00 | 64.00 | 128.75 | 258.88 | 5.80 | 8.00 | 16.00 | 32.00 | 64.00 | 130.10 | 4.00 | 8.00 | 16.00 | 32.00 | 64.00 | 4.00 | 8.00 | 16.00 | 32.00 | ||||||
| vsse8.v v8,(t2),t1/*-1*/,v0.t | 4.00 | 8.00 | 16.00 | 32.00 | 64.00 | 128.64 | 256.00 | 4.00 | 8.00 | 16.00 | 32.00 | 64.00 | 130.29 | 4.00 | 8.00 | 16.00 | 32.00 | 64.00 | 4.02 | 8.00 | 16.00 | 32.00 | ||||||
| vsse16.v v8,(t2),t3 | 4.00 | 8.00 | 17.90 | 4.00 | 8.95 | 16.00 | 32.95 | 64.00 | 128.00 | 4.00 | 8.00 | 16.00 | 33.37 | 64.00 | 4.00 | 8.00 | 17.80 | 33.37 | ||||||||||
| vsse16.v v8,(t2),t3,v0.t | 4.00 | 8.00 | 16.00 | 4.00 | 8.00 | 16.00 | 33.46 | 64.00 | 128.00 | 4.00 | 8.00 | 16.27 | 33.62 | 64.00 | 4.71 | 8.00 | 16.00 | 33.62 | ||||||||||
| vsse16.v v8,(t2),x0 | 4.00 | 8.00 | 16.00 | 4.00 | 8.00 | 16.00 | 32.00 | 64.00 | 128.00 | 4.00 | 8.00 | 16.00 | 32.00 | 64.00 | 4.00 | 8.00 | 16.00 | 32.00 | ||||||||||
| vsse16.v v8,(t2),x0,v0.t | 4.00 | 8.00 | 16.00 | 4.00 | 8.00 | 16.00 | 32.00 | 64.00 | 128.00 | 4.00 | 8.00 | 16.00 | 32.00 | 64.00 | 4.00 | 8.00 | 16.00 | 32.00 | ||||||||||
| vsse16.v v8,(t2),t1/*-1*/ | 4.00 | 8.00 | 16.00 | 4.00 | 8.00 | 16.00 | 32.00 | 64.00 | 131.31 | 4.00 | 8.00 | 16.00 | 32.00 | 64.62 | 4.60 | 8.00 | 16.00 | 32.00 | ||||||||||
| vsse16.v v8,(t2),t1/*-1*/,v0.t | 4.00 | 8.00 | 16.00 | 5.17 | 8.00 | 16.00 | 32.30 | 64.50 | 128.00 | 4.00 | 8.00 | 16.00 | 32.00 | 64.32 | 4.00 | 8.00 | 16.00 | 32.00 | ||||||||||
| vsse32.v v8,(t2),t3 | 4.02 | 8.26 | 4.00 | 8.74 | 4.14 | 8.22 | 16.11 | 32.00 | 64.00 | 4.00 | 8.00 | 16.08 | 32.00 | |||||||||||||||
| vsse32.v v8,(t2),t3,v0.t | 4.00 | 8.00 | 4.00 | 8.29 | 4.00 | 8.00 | 16.23 | 32.00 | 64.00 | 4.00 | 8.00 | 16.19 | 32.00 | |||||||||||||||
| vsse32.v v8,(t2),x0 | 4.00 | 8.00 | 4.00 | 8.00 | 4.00 | 8.00 | 16.00 | 32.00 | 64.00 | 4.00 | 8.00 | 16.00 | 32.00 | |||||||||||||||
| vsse32.v v8,(t2),x0,v0.t | 4.00 | 8.00 | 4.00 | 8.00 | 4.00 | 8.00 | 16.00 | 32.00 | 64.00 | 4.00 | 8.00 | 16.00 | 32.00 | |||||||||||||||
| vsse32.v v8,(t2),t1/*-1*/ | 4.00 | 8.00 | 4.00 | 8.00 | 4.00 | 8.00 | 16.00 | 34.70 | 65.64 | 4.00 | 8.00 | 16.00 | 33.51 | |||||||||||||||
| vsse32.v v8,(t2),t1/*-1*/,v0.t | 4.00 | 8.00 | 4.00 | 8.00 | 4.00 | 8.00 | 16.00 | 32.51 | 70.12 | 4.00 | 8.00 | 16.00 | 34.16 | |||||||||||||||
| vsse64.v v8,(t2),t3 | 7.27 | 6.00 | 4.69 | 5.12 | 9.23 | 16.00 | 32.00 | |||||||||||||||||||||
| vsse64.v v8,(t2),t3,v0.t | 4.00 | 4.00 | 4.05 | 4.17 | 8.76 | 16.00 | 32.00 | |||||||||||||||||||||
| vsse64.v v8,(t2),x0 | 4.00 | 4.00 | 4.00 | 4.00 | 8.00 | 16.00 | 32.00 | |||||||||||||||||||||
| vsse64.v v8,(t2),x0,v0.t | 4.00 | 4.00 | 4.00 | 4.00 | 8.00 | 16.00 | 32.00 | |||||||||||||||||||||
| vsse64.v v8,(t2),t1/*-1*/ | 4.00 | 4.00 | 4.00 | 4.00 | 8.00 | 17.19 | 34.00 | |||||||||||||||||||||
| vsse64.v v8,(t2),t1/*-1*/,v0.t | 5.17 | 4.00 | 4.00 | 4.00 | 8.00 | 17.23 | 32.00 | |||||||||||||||||||||
| vlseg2e8.v v8,(t0) | 4.85 | 4.87 | 4.62 | 7.40 | 12.65 | 28.39 | 4.87 | 4.87 | 4.62 | 4.71 | 12.74 | 4.87 | 4.87 | 2.65 | 4.75 | 4.87 | 2.23 | 3.04 | ||||||||||
| vlseg2e8.v v8,(t0),v0.t | 4.87 | 4.87 | 4.50 | 7.41 | 12.60 | 28.09 | 4.87 | 4.87 | 4.62 | 4.59 | 12.69 | 4.87 | 4.87 | 2.80 | 4.81 | 4.87 | 2.22 | 2.93 | ||||||||||
| vlseg2e16.v v8,(t0) | 4.87 | 4.71 | 7.35 | 4.87 | 4.68 | 7.30 | 12.31 | 27.78 | 4.87 | 4.50 | 4.84 | 12.74 | 4.87 | 2.80 | 4.72 | |||||||||||||
| vlseg2e16.v v8,(t0),v0.t | 4.87 | 4.65 | 7.34 | 4.87 | 4.56 | 7.42 | 12.60 | 28.10 | 4.87 | 4.53 | 4.65 | 12.69 | 4.87 | 2.60 | 4.75 | |||||||||||||
| vlseg2e32.v v8,(t0) | 4.74 | 7.41 | 4.65 | 7.36 | 4.65 | 7.34 | 12.43 | 28.34 | 4.59 | 4.78 | 12.77 | |||||||||||||||||
| vlseg2e32.v v8,(t0),v0.t | 4.53 | 7.35 | 4.68 | 7.34 | 4.77 | 7.33 | 12.38 | 28.47 | 4.50 | 4.81 | 12.79 | |||||||||||||||||
| vlseg2e64.v v8,(t0) | 7.45 | 7.42 | 7.45 | 7.41 | 12.31 | 28.84 | ||||||||||||||||||||||
| vlseg2e64.v v8,(t0),v0.t | 7.41 | 7.40 | 7.45 | 7.41 | 12.71 | 28.10 | ||||||||||||||||||||||
| vsseg2e8.v v8,(t0) | 3.00 | 3.00 | 4.00 | 8.00 | 16.00 | 32.00 | 3.00 | 3.00 | 4.30 | 8.20 | 16.00 | 3.00 | 3.00 | 4.20 | 8.00 | 3.00 | 3.00 | 4.00 | ||||||||||
| vsseg2e8.v v8,(t0),v0.t | 3.00 | 3.00 | 4.00 | 8.00 | 16.00 | 32.00 | 3.00 | 3.00 | 4.00 | 8.01 | 16.00 | 3.00 | 3.00 | 4.00 | 8.00 | 3.00 | 3.00 | 4.00 | ||||||||||
| vsseg2e16.v v8,(t0) | 3.00 | 4.00 | 8.00 | 3.00 | 4.00 | 8.00 | 16.00 | 32.00 | 3.00 | 4.00 | 8.00 | 16.00 | 3.00 | 4.00 | 8.00 | |||||||||||||
| vsseg2e16.v v8,(t0),v0.t | 3.00 | 4.00 | 8.00 | 3.00 | 4.00 | 8.00 | 16.00 | 32.00 | 3.00 | 4.00 | 8.00 | 16.00 | 3.00 | 4.00 | 8.00 | |||||||||||||
| vsseg2e32.v v8,(t0) | 4.14 | 8.00 | 4.00 | 8.00 | 4.00 | 8.00 | 16.00 | 32.00 | 4.00 | 8.00 | 16.00 | |||||||||||||||||
| vsseg2e32.v v8,(t0),v0.t | 4.00 | 8.00 | 4.00 | 8.00 | 4.00 | 8.00 | 16.00 | 32.00 | 4.00 | 8.00 | 16.00 | |||||||||||||||||
| vsseg2e64.v v8,(t0) | 8.00 | 8.00 | 8.00 | 8.00 | 16.00 | 32.00 | ||||||||||||||||||||||
| vsseg2e64.v v8,(t0),v0.t | 8.00 | 8.00 | 8.00 | 8.00 | 16.00 | 32.00 | ||||||||||||||||||||||
| vlseg3e8.v v8,(t0) | 5.06 | 4.92 | 5.66 | 9.38 | 19.35 | 5.04 | 4.98 | 5.65 | 8.74 | 5.06 | 4.83 | 5.37 | 5.03 | 5.23 | ||||||||||||||
| vlseg3e8.v v8,(t0),v0.t | 5.05 | 4.90 | 5.83 | 9.05 | 19.56 | 5.09 | 4.90 | 5.66 | 8.66 | 5.06 | 4.97 | 5.33 | 5.06 | 5.13 | ||||||||||||||
| vlseg3e16.v v8,(t0) | 5.07 | 5.53 | 9.19 | 4.86 | 5.43 | 9.59 | 19.45 | 5.02 | 5.54 | 8.62 | 4.89 | 5.34 | ||||||||||||||||
| vlseg3e16.v v8,(t0),v0.t | 5.03 | 5.60 | 9.09 | 4.96 | 5.25 | 9.51 | 19.27 | 4.86 | 5.60 | 8.84 | 5.01 | 5.30 | ||||||||||||||||
| vlseg3e32.v v8,(t0) | 5.49 | 8.81 | 5.20 | 9.61 | 5.41 | 9.29 | 19.41 | 5.41 | 8.62 | |||||||||||||||||||
| vlseg3e32.v v8,(t0),v0.t | 5.42 | 8.94 | 5.41 | 9.50 | 5.41 | 9.69 | 19.33 | 5.48 | 8.61 | |||||||||||||||||||
| vlseg3e64.v v8,(t0) | 10.14 | 10.12 | 10.13 | 10.15 | 19.44 | |||||||||||||||||||||||
| vlseg3e64.v v8,(t0),v0.t | 10.12 | 10.14 | 10.12 | 10.13 | 19.54 | |||||||||||||||||||||||
| vsseg3e8.v v8,(t0) | 4.00 | 5.00 | 7.00 | 14.15 | 28.00 | 4.00 | 5.00 | 7.00 | 14.00 | 4.00 | 5.00 | 7.00 | 4.00 | 5.00 | ||||||||||||||
| vsseg3e8.v v8,(t0),v0.t | 4.00 | 5.00 | 7.00 | 16.21 | 28.00 | 4.00 | 5.00 | 7.00 | 16.39 | 4.00 | 5.00 | 7.00 | 4.00 | 5.40 | ||||||||||||||
| vsseg3e16.v v8,(t0) | 5.00 | 7.00 | 14.00 | 5.00 | 7.00 | 14.00 | 28.00 | 5.00 | 7.00 | 14.00 | 5.00 | 7.00 | ||||||||||||||||
| vsseg3e16.v v8,(t0),v0.t | 5.00 | 7.00 | 14.00 | 5.05 | 7.00 | 14.00 | 28.00 | 5.00 | 7.00 | 16.34 | 5.00 | 7.00 | ||||||||||||||||
| vsseg3e32.v v8,(t0) | 7.00 | 14.00 | 7.00 | 14.00 | 7.00 | 14.00 | 28.00 | 7.00 | 14.00 | |||||||||||||||||||
| vsseg3e32.v v8,(t0),v0.t | 7.00 | 14.00 | 7.00 | 14.00 | 7.00 | 14.00 | 28.00 | 7.00 | 14.00 | |||||||||||||||||||
| vsseg3e64.v v8,(t0) | 12.00 | 12.00 | 12.00 | 12.00 | 24.00 | |||||||||||||||||||||||
| vsseg3e64.v v8,(t0),v0.t | 12.00 | 12.00 | 12.00 | 12.00 | 24.00 | |||||||||||||||||||||||
| vlseg4e8.v v8,(t0) | 5.40 | 5.36 | 7.02 | 11.22 | 27.62 | 5.37 | 5.34 | 7.34 | 10.93 | 5.44 | 5.33 | 6.97 | 5.40 | 6.04 | ||||||||||||||
| vlseg4e8.v v8,(t0),v0.t | 5.37 | 5.35 | 7.18 | 11.16 | 27.62 | 5.37 | 5.34 | 7.34 | 10.96 | 5.49 | 5.34 | 6.92 | 5.46 | 6.11 | ||||||||||||||
| vlseg4e16.v v8,(t0) | 5.34 | 7.18 | 11.14 | 5.35 | 7.10 | 11.16 | 27.82 | 5.35 | 7.10 | 10.96 | 5.34 | 6.99 | ||||||||||||||||
| vlseg4e16.v v8,(t0),v0.t | 5.34 | 6.86 | 11.08 | 5.35 | 7.26 | 11.17 | 28.01 | 5.34 | 7.10 | 10.93 | 5.36 | 6.98 | ||||||||||||||||
| vlseg4e32.v v8,(t0) | 7.26 | 11.14 | 6.94 | 11.18 | 6.94 | 11.16 | 28.01 | 7.10 | 11.00 | |||||||||||||||||||
| vlseg4e32.v v8,(t0),v0.t | 7.18 | 11.14 | 7.27 | 11.18 | 6.94 | 11.19 | 28.21 | 6.94 | 10.90 | |||||||||||||||||||
| vlseg4e64.v v8,(t0) | 12.05 | 12.43 | 12.14 | 11.87 | 26.36 | |||||||||||||||||||||||
| vlseg4e64.v v8,(t0),v0.t | 11.73 | 11.60 | 11.60 | 12.03 | 26.25 | |||||||||||||||||||||||
| vsseg4e8.v v8,(t0) | 5.00 | 6.00 | 8.00 | 16.00 | 32.00 | 5.00 | 6.00 | 8.00 | 16.00 | 5.00 | 6.00 | 8.00 | 5.00 | 6.00 | ||||||||||||||
| vsseg4e8.v v8,(t0),v0.t | 5.00 | 6.00 | 9.05 | 16.00 | 32.00 | 5.00 | 6.00 | 9.40 | 16.00 | 5.00 | 6.00 | 8.00 | 5.00 | 6.00 | ||||||||||||||
| vsseg4e16.v v8,(t0) | 6.00 | 8.00 | 16.00 | 6.00 | 8.05 | 16.00 | 32.00 | 6.00 | 8.00 | 16.00 | 6.00 | 8.00 | ||||||||||||||||
| vsseg4e16.v v8,(t0),v0.t | 6.00 | 8.00 | 16.00 | 6.00 | 8.00 | 16.00 | 32.00 | 6.00 | 8.00 | 16.00 | 6.00 | 8.00 | ||||||||||||||||
| vsseg4e32.v v8,(t0) | 8.00 | 16.00 | 8.00 | 16.00 | 8.00 | 16.00 | 32.00 | 8.00 | 16.00 | |||||||||||||||||||
| vsseg4e32.v v8,(t0),v0.t | 8.00 | 16.00 | 8.00 | 16.00 | 8.00 | 16.00 | 32.00 | 8.00 | 16.00 | |||||||||||||||||||
| vsseg4e64.v v8,(t0) | 16.00 | 16.00 | 16.00 | 16.00 | 32.00 | |||||||||||||||||||||||
| vsseg4e64.v v8,(t0),v0.t | 16.00 | 16.00 | 16.00 | 16.00 | 32.00 | |||||||||||||||||||||||
| vlseg5e8.v v8,(t0) | 20.00 | 40.00 | 80.00 | 159.37 | 20.00 | 40.00 | 80.00 | 20.00 | 40.00 | 20.00 | ||||||||||||||||||
| vlseg5e8.v v8,(t0),v0.t | 20.00 | 40.00 | 80.00 | 159.35 | 20.00 | 40.00 | 80.00 | 20.00 | 40.00 | 20.00 | ||||||||||||||||||
| vlseg5e16.v v8,(t0) | 20.00 | 40.00 | 79.21 | 20.00 | 40.00 | 79.21 | 20.00 | 40.00 | 20.00 | |||||||||||||||||||
| vlseg5e16.v v8,(t0),v0.t | 20.00 | 40.00 | 79.31 | 20.00 | 40.00 | 79.20 | 20.00 | 40.00 | 20.00 | |||||||||||||||||||
| vlseg5e32.v v8,(t0) | 20.00 | 39.34 | 20.00 | 39.33 | 20.00 | 39.39 | 20.00 | |||||||||||||||||||||
| vlseg5e32.v v8,(t0),v0.t | 20.00 | 39.35 | 20.00 | 39.32 | 20.00 | 39.31 | 20.00 | |||||||||||||||||||||
| vlseg5e64.v v8,(t0) | 19.56 | 19.58 | 19.58 | 19.60 | ||||||||||||||||||||||||
| vlseg5e64.v v8,(t0),v0.t | 19.60 | 19.62 | 19.58 | 19.59 | ||||||||||||||||||||||||
| vsseg5e8.v v8,(t0) | 20.00 | 40.00 | 80.00 | 163.65 | 20.00 | 40.00 | 80.05 | 20.00 | 40.00 | 20.00 | ||||||||||||||||||
| vsseg5e8.v v8,(t0),v0.t | 20.00 | 40.00 | 80.00 | 160.60 | 20.00 | 40.00 | 80.00 | 20.00 | 40.00 | 20.00 | ||||||||||||||||||
| vsseg5e16.v v8,(t0) | 20.00 | 40.00 | 83.75 | 20.00 | 40.00 | 84.65 | 20.00 | 40.00 | 20.00 | |||||||||||||||||||
| vsseg5e16.v v8,(t0),v0.t | 20.00 | 40.00 | 80.84 | 20.00 | 40.00 | 80.66 | 20.00 | 40.00 | 20.00 | |||||||||||||||||||
| vsseg5e32.v v8,(t0) | 20.00 | 44.77 | 20.00 | 43.38 | 20.00 | 43.37 | 20.00 | |||||||||||||||||||||
| vsseg5e32.v v8,(t0),v0.t | 20.00 | 44.49 | 20.00 | 43.38 | 20.00 | 40.57 | 20.00 | |||||||||||||||||||||
| vsseg5e64.v v8,(t0) | 20.00 | 20.00 | 20.01 | 20.00 | ||||||||||||||||||||||||
| vsseg5e64.v v8,(t0),v0.t | 20.00 | 20.00 | 20.00 | 20.04 | ||||||||||||||||||||||||
| vlseg6e8.v v8,(t0) | 24.37 | 48.37 | 96.37 | 191.37 | 24.37 | 48.37 | 96.37 | 24.37 | 48.37 | 24.37 | ||||||||||||||||||
| vlseg6e8.v v8,(t0),v0.t | 24.37 | 48.37 | 96.37 | 191.33 | 24.37 | 48.37 | 96.37 | 24.37 | 48.37 | 24.37 | ||||||||||||||||||
| vlseg6e16.v v8,(t0) | 24.37 | 48.37 | 95.15 | 24.37 | 48.37 | 95.15 | 24.37 | 48.37 | 24.37 | |||||||||||||||||||
| vlseg6e16.v v8,(t0),v0.t | 24.37 | 48.37 | 95.15 | 24.37 | 48.37 | 95.12 | 24.37 | 48.37 | 24.37 | |||||||||||||||||||
| vlseg6e32.v v8,(t0) | 24.37 | 47.26 | 24.37 | 47.27 | 24.37 | 47.26 | 24.37 | |||||||||||||||||||||
| vlseg6e32.v v8,(t0),v0.t | 24.37 | 47.40 | 24.37 | 47.28 | 24.37 | 47.35 | 24.37 | |||||||||||||||||||||
| vlseg6e64.v v8,(t0) | 23.21 | 23.34 | 23.25 | 23.28 | ||||||||||||||||||||||||
| vlseg6e64.v v8,(t0),v0.t | 23.30 | 23.23 | 23.23 | 23.25 | ||||||||||||||||||||||||
| vsseg6e8.v v8,(t0) | 24.00 | 48.00 | 96.00 | 196.15 | 24.00 | 48.00 | 96.00 | 24.00 | 48.00 | 24.00 | ||||||||||||||||||
| vsseg6e8.v v8,(t0),v0.t | 24.00 | 48.00 | 96.00 | 192.00 | 24.00 | 48.00 | 96.00 | 24.00 | 48.00 | 24.00 | ||||||||||||||||||
| vsseg6e16.v v8,(t0) | 24.00 | 48.00 | 102.19 | 24.00 | 48.00 | 96.00 | 24.00 | 48.00 | 24.00 | |||||||||||||||||||
| vsseg6e16.v v8,(t0),v0.t | 24.00 | 48.00 | 103.92 | 24.00 | 48.00 | 103.60 | 24.00 | 48.00 | 24.00 | |||||||||||||||||||
| vsseg6e32.v v8,(t0) | 24.06 | 48.00 | 24.46 | 48.00 | 24.43 | 48.00 | 24.53 | |||||||||||||||||||||
| vsseg6e32.v v8,(t0),v0.t | 24.26 | 52.93 | 24.00 | 54.93 | 24.00 | 52.64 | 24.00 | |||||||||||||||||||||
| vsseg6e64.v v8,(t0) | 24.00 | 24.00 | 24.00 | 24.00 | ||||||||||||||||||||||||
| vsseg6e64.v v8,(t0),v0.t | 24.00 | 24.06 | 24.00 | 24.00 | ||||||||||||||||||||||||
| vlseg7e8.v v8,(t0) | 28.25 | 56.25 | 112.25 | 223.35 | 28.25 | 56.25 | 112.25 | 28.25 | 56.25 | 28.25 | ||||||||||||||||||
| vlseg7e8.v v8,(t0),v0.t | 28.25 | 56.25 | 112.25 | 223.29 | 28.25 | 56.25 | 112.25 | 28.25 | 56.25 | 28.25 | ||||||||||||||||||
| vlseg7e16.v v8,(t0) | 28.25 | 56.25 | 111.12 | 28.25 | 56.25 | 111.12 | 28.25 | 56.25 | 28.25 | |||||||||||||||||||
| vlseg7e16.v v8,(t0),v0.t | 28.25 | 56.25 | 111.12 | 28.25 | 56.25 | 111.12 | 28.25 | 56.25 | 28.25 | |||||||||||||||||||
| vlseg7e32.v v8,(t0) | 28.25 | 55.05 | 28.25 | 55.04 | 28.25 | 55.06 | 28.25 | |||||||||||||||||||||
| vlseg7e32.v v8,(t0),v0.t | 28.25 | 55.08 | 28.25 | 55.04 | 28.25 | 55.04 | 28.25 | |||||||||||||||||||||
| vlseg7e64.v v8,(t0) | 27.23 | 27.19 | 27.21 | 27.19 | ||||||||||||||||||||||||
| vlseg7e64.v v8,(t0),v0.t | 27.16 | 27.20 | 27.17 | 27.19 | ||||||||||||||||||||||||
| vsseg7e8.v v8,(t0) | 28.00 | 56.00 | 112.90 | 227.95 | 28.00 | 56.00 | 112.00 | 28.00 | 56.00 | 28.00 | ||||||||||||||||||
| vsseg7e8.v v8,(t0),v0.t | 28.00 | 56.00 | 112.00 | 224.00 | 28.00 | 56.00 | 112.00 | 28.00 | 56.00 | 28.00 | ||||||||||||||||||
| vsseg7e16.v v8,(t0) | 28.00 | 56.00 | 116.42 | 28.00 | 56.48 | 113.32 | 28.00 | 57.57 | 28.00 | |||||||||||||||||||
| vsseg7e16.v v8,(t0),v0.t | 28.00 | 56.18 | 114.08 | 28.00 | 56.00 | 112.58 | 28.00 | 56.23 | 28.00 | |||||||||||||||||||
| vsseg7e32.v v8,(t0) | 28.00 | 56.94 | 28.15 | 58.95 | 28.19 | 56.38 | 28.02 | |||||||||||||||||||||
| vsseg7e32.v v8,(t0),v0.t | 28.03 | 60.34 | 28.57 | 57.11 | 28.00 | 62.35 | 28.20 | |||||||||||||||||||||
| vsseg7e64.v v8,(t0) | 28.30 | 28.32 | 28.40 | 28.32 | ||||||||||||||||||||||||
| vsseg7e64.v v8,(t0),v0.t | 28.07 | 28.15 | 28.05 | 28.17 | ||||||||||||||||||||||||
| vlseg8e8.v v8,(t0) | 32.15 | 64.12 | 128.12 | 255.18 | 32.15 | 64.12 | 128.12 | 32.15 | 64.12 | 32.15 | ||||||||||||||||||
| vlseg8e8.v v8,(t0),v0.t | 32.15 | 64.12 | 128.13 | 255.18 | 32.15 | 64.12 | 128.12 | 32.15 | 64.12 | 32.15 | ||||||||||||||||||
| vlseg8e16.v v8,(t0) | 32.13 | 64.14 | 127.13 | 32.13 | 64.13 | 127.13 | 32.13 | 64.13 | 32.13 | |||||||||||||||||||
| vlseg8e16.v v8,(t0),v0.t | 32.13 | 64.13 | 127.13 | 32.13 | 64.14 | 127.13 | 32.13 | 64.13 | 32.13 | |||||||||||||||||||
| vlseg8e32.v v8,(t0) | 32.19 | 63.18 | 32.18 | 63.18 | 32.19 | 63.15 | 32.19 | |||||||||||||||||||||
| vlseg8e32.v v8,(t0),v0.t | 32.18 | 63.19 | 32.17 | 63.16 | 32.20 | 63.17 | 32.20 | |||||||||||||||||||||
| vlseg8e64.v v8,(t0) | 31.12 | 31.12 | 31.12 | 31.12 | ||||||||||||||||||||||||
| vlseg8e64.v v8,(t0),v0.t | 31.12 | 31.12 | 31.12 | 31.12 | ||||||||||||||||||||||||
| vsseg8e8.v v8,(t0) | 32.00 | 64.00 | 129.21 | 257.85 | 32.00 | 64.00 | 129.38 | 32.00 | 64.00 | 32.00 | ||||||||||||||||||
| vsseg8e8.v v8,(t0),v0.t | 32.00 | 64.00 | 128.23 | 264.94 | 32.00 | 64.00 | 129.73 | 32.00 | 64.00 | 32.00 | ||||||||||||||||||
| vsseg8e16.v v8,(t0) | 32.53 | 64.00 | 129.20 | 32.43 | 64.00 | 128.00 | 32.30 | 64.00 | 32.40 | |||||||||||||||||||
| vsseg8e16.v v8,(t0),v0.t | 32.00 | 64.77 | 135.20 | 32.00 | 65.58 | 138.35 | 32.00 | 65.58 | 32.00 | |||||||||||||||||||
| vsseg8e32.v v8,(t0) | 32.86 | 65.01 | 32.62 | 64.00 | 32.80 | 65.40 | 32.80 | |||||||||||||||||||||
| vsseg8e32.v v8,(t0),v0.t | 32.40 | 66.57 | 33.17 | 72.27 | 32.27 | 75.04 | 34.06 | |||||||||||||||||||||
| vsseg8e64.v v8,(t0) | 33.55 | 33.25 | 33.06 | 33.60 | ||||||||||||||||||||||||
| vsseg8e64.v v8,(t0),v0.t | 32.19 | 32.69 | 32.76 | 34.03 | ||||||||||||||||||||||||
| vlseg2e8ff.v v8,(t0) | 4.87 | 4.87 | 4.65 | 7.34 | 12.20 | 28.32 | 4.87 | 4.87 | 4.71 | 4.90 | 12.76 | 4.87 | 4.87 | 2.67 | 4.81 | 4.87 | 2.22 | 2.90 | ||||||||||
| vlseg2e8ff.v v8,(t0),v0.t | 4.87 | 4.87 | 4.59 | 7.30 | 12.31 | 27.98 | 4.87 | 4.87 | 4.47 | 4.87 | 12.89 | 4.87 | 4.87 | 2.77 | 4.81 | 4.87 | 2.22 | 2.90 | ||||||||||
| vlseg2e16ff.v v8,(t0) | 4.87 | 4.59 | 7.34 | 4.87 | 4.56 | 7.34 | 12.49 | 28.46 | 4.87 | 4.71 | 4.73 | 12.89 | 4.87 | 2.75 | 4.81 | |||||||||||||
| vlseg2e16ff.v v8,(t0),v0.t | 4.87 | 4.65 | 7.33 | 4.87 | 4.62 | 7.45 | 12.43 | 28.54 | 4.87 | 4.68 | 4.93 | 12.62 | 4.87 | 2.85 | 4.90 | |||||||||||||
| vlseg2e32ff.v v8,(t0) | 4.65 | 7.40 | 4.68 | 7.33 | 4.59 | 7.37 | 12.48 | 28.11 | 4.62 | 4.84 | 12.82 | |||||||||||||||||
| vlseg2e32ff.v v8,(t0),v0.t | 4.59 | 7.35 | 4.65 | 7.33 | 4.53 | 7.33 | 12.20 | 28.07 | 4.62 | 4.84 | 12.79 | |||||||||||||||||
| vlseg2e64ff.v v8,(t0) | 7.44 | 7.40 | 7.40 | 7.37 | 12.09 | 28.62 | ||||||||||||||||||||||
| vlseg2e64ff.v v8,(t0),v0.t | 7.41 | 7.48 | 7.45 | 7.37 | 12.37 | 28.64 | ||||||||||||||||||||||
| vlseg3e8ff.v v8,(t0) | 5.08 | 4.95 | 5.32 | 8.85 | 19.34 | 5.05 | 4.92 | 5.56 | 9.39 | 5.03 | 4.90 | 5.43 | 5.05 | 5.17 | ||||||||||||||
| vlseg3e8ff.v v8,(t0),v0.t | 5.03 | 5.00 | 5.66 | 9.26 | 19.38 | 5.07 | 4.89 | 5.59 | 8.74 | 5.05 | 4.98 | 5.41 | 5.05 | 5.15 | ||||||||||||||
| vlseg3e16ff.v v8,(t0) | 4.95 | 5.54 | 9.47 | 5.07 | 5.38 | 9.48 | 19.52 | 4.83 | 5.65 | 8.63 | 4.86 | 5.32 | ||||||||||||||||
| vlseg3e16ff.v v8,(t0),v0.t | 4.95 | 5.71 | 9.09 | 4.88 | 5.49 | 8.71 | 19.42 | 5.08 | 5.76 | 8.62 | 4.90 | 5.33 | ||||||||||||||||
| vlseg3e32ff.v v8,(t0) | 5.36 | 8.82 | 5.19 | 9.57 | 5.42 | 9.37 | 19.49 | 5.59 | 8.82 | |||||||||||||||||||
| vlseg3e32ff.v v8,(t0),v0.t | 5.68 | 9.32 | 5.42 | 8.92 | 5.24 | 9.49 | 19.57 | 5.30 | 8.61 | |||||||||||||||||||
| vlseg3e64ff.v v8,(t0) | 10.14 | 10.13 | 10.14 | 10.15 | 19.57 | |||||||||||||||||||||||
| vlseg3e64ff.v v8,(t0),v0.t | 10.12 | 10.15 | 10.13 | 10.12 | 19.63 | |||||||||||||||||||||||
| vlseg4e8ff.v v8,(t0) | 5.41 | 5.33 | 7.26 | 11.10 | 27.82 | 5.49 | 5.35 | 7.75 | 10.90 | 5.46 | 5.37 | 6.96 | 5.35 | 6.14 | ||||||||||||||
| vlseg4e8ff.v v8,(t0),v0.t | 5.39 | 5.35 | 6.86 | 11.17 | 28.07 | 5.37 | 5.36 | 7.43 | 10.93 | 5.44 | 5.34 | 6.93 | 5.32 | 5.88 | ||||||||||||||
| vlseg4e16ff.v v8,(t0) | 5.34 | 7.18 | 11.16 | 5.34 | 7.02 | 11.15 | 27.81 | 5.35 | 7.43 | 10.93 | 5.35 | 6.97 | ||||||||||||||||
| vlseg4e16ff.v v8,(t0),v0.t | 5.34 | 7.18 | 11.12 | 5.34 | 7.34 | 11.18 | 28.21 | 5.34 | 6.94 | 10.93 | 5.34 | 7.02 | ||||||||||||||||
| vlseg4e32ff.v v8,(t0) | 7.51 | 11.18 | 7.02 | 11.12 | 7.34 | 11.18 | 27.52 | 7.51 | 11.03 | |||||||||||||||||||
| vlseg4e32ff.v v8,(t0),v0.t | 7.18 | 11.14 | 7.10 | 11.16 | 6.86 | 11.12 | 28.57 | 7.02 | 11.12 | |||||||||||||||||||
| vlseg4e64ff.v v8,(t0) | 12.47 | 11.73 | 11.33 | 12.00 | 26.30 | |||||||||||||||||||||||
| vlseg4e64ff.v v8,(t0),v0.t | 11.60 | 11.87 | 12.00 | 11.73 | 26.25 | |||||||||||||||||||||||
| vlseg5e8ff.v v8,(t0) | 20.00 | 40.00 | 80.00 | 159.40 | 20.00 | 40.00 | 80.00 | 20.00 | 40.00 | 20.00 | ||||||||||||||||||
| vlseg5e8ff.v v8,(t0),v0.t | 20.00 | 40.00 | 80.00 | 159.38 | 20.00 | 40.00 | 80.00 | 20.00 | 40.00 | 20.00 | ||||||||||||||||||
| vlseg5e16ff.v v8,(t0) | 20.00 | 40.00 | 79.25 | 20.00 | 40.00 | 79.24 | 20.00 | 40.00 | 20.00 | |||||||||||||||||||
| vlseg5e16ff.v v8,(t0),v0.t | 20.00 | 40.00 | 79.20 | 20.00 | 40.00 | 79.21 | 20.00 | 40.00 | 20.00 | |||||||||||||||||||
| vlseg5e32ff.v v8,(t0) | 20.00 | 39.34 | 20.00 | 39.31 | 20.00 | 39.41 | 20.00 | |||||||||||||||||||||
| vlseg5e32ff.v v8,(t0),v0.t | 20.00 | 39.30 | 20.00 | 39.33 | 20.00 | 39.31 | 20.00 | |||||||||||||||||||||
| vlseg5e64ff.v v8,(t0) | 19.57 | 19.56 | 19.61 | 19.61 | ||||||||||||||||||||||||
| vlseg5e64ff.v v8,(t0),v0.t | 19.62 | 19.56 | 19.58 | 19.59 | ||||||||||||||||||||||||
| vlseg6e8ff.v v8,(t0) | 24.37 | 48.37 | 96.37 | 191.35 | 24.37 | 48.37 | 96.37 | 24.37 | 48.37 | 24.37 | ||||||||||||||||||
| vlseg6e8ff.v v8,(t0),v0.t | 24.37 | 48.37 | 96.37 | 191.35 | 24.37 | 48.37 | 96.37 | 24.37 | 48.37 | 24.37 | ||||||||||||||||||
| vlseg6e16ff.v v8,(t0) | 24.37 | 48.37 | 95.15 | 24.37 | 48.37 | 95.13 | 24.37 | 48.37 | 24.37 | |||||||||||||||||||
| vlseg6e16ff.v v8,(t0),v0.t | 24.37 | 48.37 | 95.12 | 24.37 | 48.37 | 95.13 | 24.37 | 48.37 | 24.37 | |||||||||||||||||||
| vlseg6e32ff.v v8,(t0) | 24.37 | 47.41 | 24.37 | 47.36 | 24.37 | 47.34 | 24.37 | |||||||||||||||||||||
| vlseg6e32ff.v v8,(t0),v0.t | 24.37 | 47.29 | 24.37 | 47.35 | 24.37 | 47.36 | 24.37 | |||||||||||||||||||||
| vlseg6e64ff.v v8,(t0) | 23.25 | 23.25 | 23.30 | 23.27 | ||||||||||||||||||||||||
| vlseg6e64ff.v v8,(t0),v0.t | 23.18 | 23.27 | 23.23 | 23.21 | ||||||||||||||||||||||||
| vlseg7e8ff.v v8,(t0) | 28.25 | 56.25 | 112.25 | 223.33 | 28.25 | 56.25 | 112.25 | 28.25 | 56.25 | 28.25 | ||||||||||||||||||
| vlseg7e8ff.v v8,(t0),v0.t | 28.25 | 56.25 | 112.25 | 223.29 | 28.25 | 56.25 | 112.25 | 28.25 | 56.25 | 28.25 | ||||||||||||||||||
| vlseg7e16ff.v v8,(t0) | 28.25 | 56.25 | 111.12 | 28.25 | 56.25 | 111.13 | 28.25 | 56.25 | 28.25 | |||||||||||||||||||
| vlseg7e16ff.v v8,(t0),v0.t | 28.25 | 56.25 | 111.12 | 28.25 | 56.25 | 111.12 | 28.25 | 56.25 | 28.25 | |||||||||||||||||||
| vlseg7e32ff.v v8,(t0) | 28.25 | 55.05 | 28.25 | 55.06 | 28.25 | 55.02 | 28.25 | |||||||||||||||||||||
| vlseg7e32ff.v v8,(t0),v0.t | 28.25 | 55.03 | 28.25 | 55.04 | 28.25 | 55.04 | 28.25 | |||||||||||||||||||||
| vlseg7e64ff.v v8,(t0) | 27.26 | 27.29 | 27.19 | 27.17 | ||||||||||||||||||||||||
| vlseg7e64ff.v v8,(t0),v0.t | 27.26 | 27.20 | 27.26 | 27.20 | ||||||||||||||||||||||||
| vlseg8e8ff.v v8,(t0) | 32.15 | 64.12 | 128.12 | 255.17 | 32.15 | 64.12 | 128.12 | 32.15 | 64.12 | 32.15 | ||||||||||||||||||
| vlseg8e8ff.v v8,(t0),v0.t | 32.15 | 64.12 | 128.13 | 255.18 | 32.15 | 64.12 | 128.12 | 32.15 | 64.12 | 32.15 | ||||||||||||||||||
| vlseg8e16ff.v v8,(t0) | 32.13 | 64.13 | 127.13 | 32.13 | 64.14 | 127.14 | 32.14 | 64.13 | 32.13 | |||||||||||||||||||
| vlseg8e16ff.v v8,(t0),v0.t | 32.13 | 64.14 | 127.13 | 32.13 | 64.13 | 127.13 | 32.13 | 64.13 | 32.13 | |||||||||||||||||||
| vlseg8e32ff.v v8,(t0) | 32.19 | 63.16 | 32.19 | 63.16 | 32.21 | 63.18 | 32.19 | |||||||||||||||||||||
| vlseg8e32ff.v v8,(t0),v0.t | 32.19 | 63.16 | 32.21 | 63.17 | 32.18 | 63.14 | 32.18 | |||||||||||||||||||||
| vlseg8e64ff.v v8,(t0) | 31.12 | 31.12 | 31.12 | 31.12 | ||||||||||||||||||||||||
| vlseg8e64ff.v v8,(t0),v0.t | 31.12 | 31.12 | 31.12 | 31.12 | ||||||||||||||||||||||||
| vlsseg2e8.v v8,(t2),t3 | 5.15 | 6.07 | 11.26 | 25.00 | 59.01 | 137.01 | 5.33 | 6.09 | 10.76 | 25.00 | 59.01 | 5.31 | 6.12 | 9.50 | 25.00 | 5.29 | 5.45 | 9.50 | ||||||||||
| vlsseg2e8.v v8,(t2),t3,v0.t | 5.21 | 6.12 | 11.66 | 25.00 | 59.01 | 137.01 | 5.23 | 6.07 | 11.31 | 24.92 | 59.01 | 5.21 | 6.02 | 9.50 | 24.95 | 5.20 | 5.40 | 9.50 | ||||||||||
| vlsseg2e8.v v8,(t2),x0 | 5.25 | 5.62 | 9.00 | 19.50 | 55.50 | 130.00 | 5.28 | 5.62 | 9.00 | 19.50 | 55.50 | 5.26 | 5.62 | 9.00 | 19.50 | 5.14 | 5.00 | 9.00 | ||||||||||
| vlsseg2e8.v v8,(t2),x0,v0.t | 5.21 | 5.62 | 9.00 | 19.50 | 55.50 | 130.00 | 5.21 | 5.62 | 9.00 | 19.50 | 55.50 | 5.21 | 5.62 | 9.00 | 19.50 | 5.28 | 5.00 | 9.00 | ||||||||||
| vlsseg2e8.v v8,(t2),t1/*-1*/ | 5.34 | 6.07 | 9.50 | 24.70 | 60.00 | 137.01 | 5.24 | 5.97 | 9.50 | 24.85 | 60.00 | 5.41 | 6.02 | 9.50 | 24.30 | 5.19 | 5.37 | 9.50 | ||||||||||
| vlsseg2e8.v v8,(t2),t1/*-1*/,v0.t | 5.09 | 5.98 | 9.50 | 25.50 | 60.00 | 137.01 | 5.23 | 5.97 | 9.50 | 26.05 | 60.00 | 5.02 | 5.97 | 9.50 | 26.15 | 5.07 | 5.35 | 9.50 | ||||||||||
| vlsseg2e16.v v8,(t2),t3 | 5.13 | 6.38 | 14.00 | 5.14 | 6.43 | 14.00 | 35.55 | 81.25 | 5.14 | 6.38 | 14.00 | 35.35 | 5.12 | 5.50 | 14.00 | |||||||||||||
| vlsseg2e16.v v8,(t2),t3,v0.t | 5.19 | 6.69 | 14.00 | 5.20 | 6.28 | 14.00 | 35.25 | 81.35 | 5.19 | 6.48 | 14.00 | 35.55 | 5.20 | 5.50 | 14.00 | |||||||||||||
| vlsseg2e16.v v8,(t2),x0 | 5.23 | 5.62 | 11.50 | 5.25 | 5.62 | 11.50 | 32.00 | 75.49 | 5.25 | 5.62 | 11.50 | 32.00 | 5.21 | 5.00 | 11.50 | |||||||||||||
| vlsseg2e16.v v8,(t2),x0,v0.t | 5.44 | 5.62 | 11.50 | 5.22 | 5.62 | 11.50 | 32.00 | 75.45 | 5.19 | 5.62 | 11.50 | 32.00 | 5.14 | 5.00 | 11.50 | |||||||||||||
| vlsseg2e16.v v8,(t2),t1/*-1*/ | 5.05 | 6.12 | 13.66 | 4.92 | 6.12 | 13.55 | 36.00 | 80.45 | 5.18 | 6.12 | 13.72 | 35.77 | 5.07 | 5.50 | 13.65 | |||||||||||||
| vlsseg2e16.v v8,(t2),t1/*-1*/,v0.t | 4.86 | 6.12 | 13.51 | 5.25 | 6.12 | 13.53 | 35.95 | 80.45 | 5.09 | 6.12 | 13.57 | 35.85 | 4.89 | 5.50 | 13.76 | |||||||||||||
| vlsseg2e32.v v8,(t2),t3 | 4.94 | 9.59 | 4.86 | 9.87 | 4.78 | 9.83 | 21.95 | 51.86 | 4.86 | 9.72 | 21.86 | |||||||||||||||||
| vlsseg2e32.v v8,(t2),t3,v0.t | 4.86 | 9.97 | 5.01 | 9.81 | 4.89 | 9.87 | 21.80 | 51.81 | 4.91 | 9.90 | 21.86 | |||||||||||||||||
| vlsseg2e32.v v8,(t2),x0 | 5.28 | 9.00 | 5.28 | 9.00 | 5.35 | 9.12 | 20.51 | 46.01 | 5.25 | 9.05 | 20.51 | |||||||||||||||||
| vlsseg2e32.v v8,(t2),x0,v0.t | 5.21 | 9.00 | 5.35 | 9.00 | 5.32 | 9.12 | 20.51 | 46.01 | 5.11 | 9.04 | 20.52 | |||||||||||||||||
| vlsseg2e32.v v8,(t2),t1/*-1*/ | 4.87 | 8.95 | 4.85 | 8.95 | 4.83 | 9.00 | 23.55 | 52.53 | 4.88 | 8.82 | 23.55 | |||||||||||||||||
| vlsseg2e32.v v8,(t2),t1/*-1*/,v0.t | 4.82 | 8.95 | 4.85 | 9.00 | 4.85 | 8.90 | 23.01 | 52.55 | 4.86 | 9.00 | 22.42 | |||||||||||||||||
| vlsseg2e64.v v8,(t2),t3 | 5.90 | 5.88 | 5.95 | 5.82 | 15.00 | 32.07 | ||||||||||||||||||||||
| vlsseg2e64.v v8,(t2),t3,v0.t | 5.97 | 5.97 | 5.80 | 5.92 | 15.00 | 32.07 | ||||||||||||||||||||||
| vlsseg2e64.v v8,(t2),x0 | 7.30 | 7.03 | 7.33 | 6.90 | 13.98 | 31.61 | ||||||||||||||||||||||
| vlsseg2e64.v v8,(t2),x0,v0.t | 6.41 | 7.03 | 7.16 | 7.16 | 13.98 | 33.41 | ||||||||||||||||||||||
| vlsseg2e64.v v8,(t2),t1/*-1*/ | 5.84 | 5.99 | 5.88 | 5.84 | 15.00 | 32.07 | ||||||||||||||||||||||
| vlsseg2e64.v v8,(t2),t1/*-1*/,v0.t | 5.90 | 5.78 | 5.86 | 5.88 | 15.00 | 32.07 | ||||||||||||||||||||||
| vssseg2e8.v v8,(t2),t3 | 4.00 | 8.90 | 17.00 | 34.00 | 68.00 | 136.00 | 4.30 | 9.00 | 17.00 | 34.00 | 68.00 | 4.10 | 9.00 | 17.00 | 36.82 | 4.65 | 9.00 | 17.00 | ||||||||||
| vssseg2e8.v v8,(t2),t3,v0.t | 4.00 | 9.00 | 17.00 | 34.00 | 68.00 | 136.00 | 4.00 | 8.90 | 17.00 | 34.00 | 68.00 | 4.20 | 8.90 | 17.13 | 39.18 | 4.00 | 8.65 | 17.00 | ||||||||||
| vssseg2e8.v v8,(t2),x0 | 4.00 | 8.00 | 16.00 | 32.00 | 64.00 | 128.00 | 4.00 | 8.00 | 16.00 | 32.00 | 64.00 | 4.00 | 8.00 | 16.00 | 32.00 | 4.00 | 8.00 | 16.00 | ||||||||||
| vssseg2e8.v v8,(t2),x0,v0.t | 4.00 | 8.00 | 16.00 | 32.00 | 64.00 | 128.00 | 4.00 | 8.00 | 16.00 | 32.00 | 64.00 | 4.00 | 8.00 | 16.00 | 32.00 | 4.00 | 8.00 | 16.00 | ||||||||||
| vssseg2e8.v v8,(t2),t1/*-1*/ | 4.65 | 8.70 | 17.00 | 34.00 | 68.00 | 136.00 | 4.65 | 8.75 | 17.00 | 34.00 | 68.00 | 4.50 | 8.60 | 17.00 | 34.00 | 4.35 | 8.85 | 17.00 | ||||||||||
| vssseg2e8.v v8,(t2),t1/*-1*/,v0.t | 4.63 | 8.65 | 17.00 | 34.00 | 68.00 | 139.88 | 4.50 | 8.75 | 17.00 | 34.00 | 68.38 | 4.70 | 8.75 | 17.00 | 34.00 | 4.70 | 8.75 | 17.00 | ||||||||||
| vssseg2e16.v v8,(t2),t3 | 4.20 | 9.07 | 18.00 | 4.10 | 9.43 | 18.00 | 36.00 | 72.00 | 4.30 | 9.00 | 24.19 | 36.00 | 4.63 | 9.00 | 22.15 | |||||||||||||
| vssseg2e16.v v8,(t2),t3,v0.t | 4.15 | 9.00 | 20.30 | 4.25 | 9.00 | 19.45 | 36.70 | 72.00 | 4.05 | 9.00 | 22.56 | 37.66 | 4.20 | 9.00 | 20.43 | |||||||||||||
| vssseg2e16.v v8,(t2),x0 | 4.00 | 8.00 | 16.00 | 4.00 | 8.00 | 16.00 | 32.00 | 64.00 | 4.00 | 8.00 | 16.00 | 32.00 | 4.00 | 8.00 | 16.00 | |||||||||||||
| vssseg2e16.v v8,(t2),x0,v0.t | 4.00 | 8.00 | 16.00 | 4.00 | 8.00 | 16.00 | 32.00 | 64.00 | 4.00 | 8.00 | 16.00 | 32.00 | 4.00 | 8.00 | 16.00 | |||||||||||||
| vssseg2e16.v v8,(t2),t1/*-1*/ | 4.60 | 9.00 | 18.00 | 4.80 | 9.00 | 18.00 | 36.00 | 75.91 | 4.70 | 9.00 | 18.00 | 36.00 | 4.55 | 9.00 | 18.00 | |||||||||||||
| vssseg2e16.v v8,(t2),t1/*-1*/,v0.t | 4.70 | 9.00 | 18.00 | 4.80 | 9.00 | 18.00 | 36.00 | 76.10 | 4.70 | 9.00 | 18.00 | 36.00 | 6.13 | 9.00 | 18.00 | |||||||||||||
| vssseg2e32.v v8,(t2),t3 | 5.96 | 10.48 | 5.00 | 10.02 | 5.00 | 10.55 | 21.42 | 40.00 | 5.00 | 10.00 | 21.14 | |||||||||||||||||
| vssseg2e32.v v8,(t2),t3,v0.t | 5.00 | 10.00 | 5.41 | 10.15 | 5.00 | 10.00 | 21.52 | 41.11 | 5.00 | 10.00 | 21.17 | |||||||||||||||||
| vssseg2e32.v v8,(t2),x0 | 4.00 | 8.00 | 4.20 | 8.00 | 4.00 | 8.00 | 16.00 | 32.00 | 4.00 | 8.00 | 16.00 | |||||||||||||||||
| vssseg2e32.v v8,(t2),x0,v0.t | 4.40 | 8.00 | 4.00 | 8.00 | 4.00 | 8.00 | 16.00 | 32.00 | 4.00 | 8.00 | 16.00 | |||||||||||||||||
| vssseg2e32.v v8,(t2),t1/*-1*/ | 5.00 | 10.00 | 6.12 | 10.00 | 5.00 | 10.00 | 20.00 | 43.52 | 5.30 | 10.00 | 20.00 | |||||||||||||||||
| vssseg2e32.v v8,(t2),t1/*-1*/,v0.t | 5.00 | 10.00 | 5.00 | 10.00 | 5.00 | 10.00 | 20.00 | 43.59 | 5.00 | 10.00 | 20.00 | |||||||||||||||||
| vssseg2e64.v v8,(t2),t3 | 8.20 | 8.30 | 8.82 | 8.00 | 16.00 | 32.50 | ||||||||||||||||||||||
| vssseg2e64.v v8,(t2),t3,v0.t | 8.00 | 8.00 | 8.00 | 8.00 | 16.00 | 32.50 | ||||||||||||||||||||||
| vssseg2e64.v v8,(t2),x0 | 8.00 | 8.00 | 8.00 | 8.00 | 16.00 | 32.00 | ||||||||||||||||||||||
| vssseg2e64.v v8,(t2),x0,v0.t | 8.00 | 8.00 | 8.00 | 8.20 | 16.00 | 32.00 | ||||||||||||||||||||||
| vssseg2e64.v v8,(t2),t1/*-1*/ | 8.00 | 8.00 | 8.00 | 8.00 | 16.00 | 33.02 | ||||||||||||||||||||||
| vssseg2e64.v v8,(t2),t1/*-1*/,v0.t | 8.00 | 8.00 | 8.00 | 8.00 | 16.00 | 32.93 | ||||||||||||||||||||||
| vlsseg3e8.v v8,(t2),t3 | 5.43 | 6.38 | 12.61 | 27.20 | 68.01 | 5.47 | 6.33 | 12.82 | 28.40 | 5.40 | 6.33 | 12.48 | 5.50 | 6.75 | ||||||||||||||
| vlsseg3e8.v v8,(t2),t3,v0.t | 5.45 | 6.33 | 12.60 | 28.70 | 68.01 | 5.50 | 6.33 | 12.55 | 29.00 | 5.61 | 6.33 | 12.65 | 5.56 | 6.75 | ||||||||||||||
| vlsseg3e8.v v8,(t2),x0 | 5.01 | 6.25 | 9.83 | 22.00 | 60.63 | 4.90 | 6.25 | 9.83 | 22.00 | 5.00 | 6.25 | 9.83 | 5.02 | 6.25 | ||||||||||||||
| vlsseg3e8.v v8,(t2),x0,v0.t | 4.99 | 6.25 | 9.83 | 22.00 | 60.58 | 4.98 | 6.25 | 9.83 | 22.00 | 4.99 | 6.25 | 9.83 | 5.03 | 6.25 | ||||||||||||||
| vlsseg3e8.v v8,(t2),t1/*-1*/ | 5.20 | 6.60 | 10.83 | 30.02 | 68.01 | 5.22 | 6.71 | 10.83 | 28.87 | 5.18 | 6.74 | 10.83 | 5.18 | 6.89 | ||||||||||||||
| vlsseg3e8.v v8,(t2),t1/*-1*/,v0.t | 5.20 | 6.60 | 10.83 | 29.32 | 68.01 | 5.19 | 6.54 | 10.83 | 28.92 | 5.21 | 6.71 | 10.83 | 5.18 | 6.99 | ||||||||||||||
| vlsseg3e16.v v8,(t2),t3 | 5.06 | 7.25 | 17.87 | 5.06 | 7.25 | 18.00 | 42.55 | 5.06 | 7.28 | 17.37 | 5.04 | 7.25 | ||||||||||||||||
| vlsseg3e16.v v8,(t2),t3,v0.t | 5.06 | 7.21 | 17.95 | 5.05 | 7.32 | 17.32 | 43.61 | 5.06 | 7.25 | 17.62 | 5.06 | 7.25 | ||||||||||||||||
| vlsseg3e16.v v8,(t2),x0 | 5.01 | 6.25 | 11.50 | 4.89 | 6.60 | 11.51 | 37.00 | 4.95 | 6.25 | 11.50 | 4.88 | 6.25 | ||||||||||||||||
| vlsseg3e16.v v8,(t2),x0,v0.t | 4.98 | 6.25 | 11.50 | 4.92 | 6.25 | 11.50 | 42.96 | 4.87 | 7.32 | 12.02 | 4.93 | 6.42 | ||||||||||||||||
| vlsseg3e16.v v8,(t2),t1/*-1*/ | 5.18 | 6.83 | 14.31 | 5.21 | 6.83 | 14.32 | 42.54 | 5.17 | 6.83 | 14.10 | 5.20 | 7.25 | ||||||||||||||||
| vlsseg3e16.v v8,(t2),t1/*-1*/,v0.t | 5.22 | 6.83 | 14.29 | 5.24 | 6.83 | 14.11 | 42.22 | 5.22 | 6.83 | 14.10 | 5.23 | 7.25 | ||||||||||||||||
| vlsseg3e32.v v8,(t2),t3 | 5.25 | 11.00 | 5.25 | 11.00 | 5.25 | 11.00 | 31.90 | 5.25 | 11.00 | |||||||||||||||||||
| vlsseg3e32.v v8,(t2),t3,v0.t | 5.25 | 11.00 | 5.25 | 11.00 | 5.25 | 11.00 | 32.59 | 5.25 | 11.00 | |||||||||||||||||||
| vlsseg3e32.v v8,(t2),x0 | 5.24 | 9.50 | 5.17 | 9.37 | 5.61 | 9.37 | 28.95 | 5.38 | 9.73 | |||||||||||||||||||
| vlsseg3e32.v v8,(t2),x0,v0.t | 5.24 | 10.50 | 5.38 | 9.12 | 5.31 | 10.12 | 28.37 | 4.98 | 10.12 | |||||||||||||||||||
| vlsseg3e32.v v8,(t2),t1/*-1*/ | 5.25 | 10.45 | 5.25 | 10.56 | 5.25 | 10.66 | 31.20 | 5.25 | 10.38 | |||||||||||||||||||
| vlsseg3e32.v v8,(t2),t1/*-1*/,v0.t | 5.25 | 10.45 | 5.25 | 10.56 | 5.25 | 10.38 | 31.00 | 5.25 | 10.45 | |||||||||||||||||||
| vlsseg3e64.v v8,(t2),t3 | 10.33 | 10.24 | 10.33 | 10.19 | 24.00 | |||||||||||||||||||||||
| vlsseg3e64.v v8,(t2),t3,v0.t | 10.38 | 10.05 | 10.35 | 10.33 | 24.00 | |||||||||||||||||||||||
| vlsseg3e64.v v8,(t2),x0 | 10.80 | 11.19 | 11.03 | 11.15 | 23.46 | |||||||||||||||||||||||
| vlsseg3e64.v v8,(t2),x0,v0.t | 10.80 | 11.11 | 10.88 | 11.34 | 23.47 | |||||||||||||||||||||||
| vlsseg3e64.v v8,(t2),t1/*-1*/ | 9.37 | 9.36 | 9.38 | 9.38 | 22.00 | |||||||||||||||||||||||
| vlsseg3e64.v v8,(t2),t1/*-1*/,v0.t | 9.37 | 9.37 | 9.37 | 9.39 | 22.00 | |||||||||||||||||||||||
| vssseg3e8.v v8,(t2),t3 | 4.51 | 9.10 | 18.00 | 36.00 | 81.38 | 4.25 | 9.10 | 18.00 | 36.00 | 4.35 | 9.15 | 18.00 | 4.15 | 9.00 | ||||||||||||||
| vssseg3e8.v v8,(t2),t3,v0.t | 4.55 | 9.00 | 18.00 | 36.00 | 72.00 | 4.10 | 9.00 | 18.00 | 36.00 | 4.55 | 9.20 | 18.00 | 4.25 | 9.20 | ||||||||||||||
| vssseg3e8.v v8,(t2),x0 | 4.00 | 8.00 | 16.00 | 32.00 | 64.01 | 4.00 | 8.00 | 16.00 | 32.00 | 4.00 | 8.00 | 16.00 | 4.00 | 8.00 | ||||||||||||||
| vssseg3e8.v v8,(t2),x0,v0.t | 4.00 | 8.00 | 16.00 | 32.00 | 64.01 | 4.00 | 8.00 | 16.00 | 32.00 | 4.00 | 8.00 | 16.00 | 4.00 | 8.00 | ||||||||||||||
| vssseg3e8.v v8,(t2),t1/*-1*/ | 4.80 | 9.30 | 18.00 | 36.00 | 72.00 | 5.00 | 9.50 | 18.00 | 36.00 | 5.10 | 9.70 | 18.00 | 5.10 | 9.40 | ||||||||||||||
| vssseg3e8.v v8,(t2),t1/*-1*/,v0.t | 5.30 | 9.00 | 18.00 | 36.00 | 72.01 | 5.50 | 9.30 | 18.00 | 36.00 | 4.60 | 9.50 | 18.00 | 5.20 | 9.10 | ||||||||||||||
| vssseg3e16.v v8,(t2),t3 | 5.00 | 13.96 | 20.00 | 5.15 | 14.71 | 20.00 | 46.65 | 5.00 | 10.00 | 20.00 | 5.00 | 10.00 | ||||||||||||||||
| vssseg3e16.v v8,(t2),t3,v0.t | 5.00 | 10.00 | 20.00 | 5.00 | 10.00 | 20.00 | 40.56 | 5.00 | 10.00 | 20.00 | 5.00 | 10.00 | ||||||||||||||||
| vssseg3e16.v v8,(t2),x0 | 5.00 | 8.00 | 16.00 | 5.00 | 8.00 | 16.00 | 32.00 | 5.30 | 8.00 | 16.00 | 5.00 | 8.00 | ||||||||||||||||
| vssseg3e16.v v8,(t2),x0,v0.t | 5.00 | 8.00 | 16.00 | 5.00 | 8.80 | 16.00 | 32.00 | 5.00 | 8.00 | 16.00 | 5.15 | 8.00 | ||||||||||||||||
| vssseg3e16.v v8,(t2),t1/*-1*/ | 5.80 | 10.00 | 20.00 | 5.81 | 10.00 | 20.00 | 40.88 | 5.47 | 10.00 | 20.00 | 5.80 | 10.00 | ||||||||||||||||
| vssseg3e16.v v8,(t2),t1/*-1*/,v0.t | 7.90 | 10.00 | 20.00 | 5.65 | 10.00 | 20.00 | 41.12 | 5.55 | 10.00 | 20.00 | 6.20 | 10.00 | ||||||||||||||||
| vssseg3e32.v v8,(t2),t3 | 8.53 | 14.00 | 7.00 | 14.00 | 7.05 | 14.00 | 28.40 | 8.38 | 14.00 | |||||||||||||||||||
| vssseg3e32.v v8,(t2),t3,v0.t | 7.00 | 14.00 | 7.00 | 14.00 | 8.24 | 14.00 | 28.06 | 7.03 | 14.00 | |||||||||||||||||||
| vssseg3e32.v v8,(t2),x0 | 7.30 | 14.30 | 7.15 | 14.60 | 7.50 | 14.80 | 28.00 | 7.30 | 14.20 | |||||||||||||||||||
| vssseg3e32.v v8,(t2),x0,v0.t | 7.00 | 14.60 | 7.20 | 14.80 | 7.10 | 14.30 | 30.20 | 7.25 | 14.80 | |||||||||||||||||||
| vssseg3e32.v v8,(t2),t1/*-1*/ | 7.00 | 14.00 | 8.40 | 14.00 | 7.00 | 14.00 | 28.00 | 7.00 | 14.00 | |||||||||||||||||||
| vssseg3e32.v v8,(t2),t1/*-1*/,v0.t | 8.37 | 14.00 | 7.00 | 14.00 | 7.15 | 14.00 | 28.00 | 7.00 | 14.00 | |||||||||||||||||||
| vssseg3e64.v v8,(t2),t3 | 12.00 | 12.00 | 12.00 | 12.00 | 24.00 | |||||||||||||||||||||||
| vssseg3e64.v v8,(t2),t3,v0.t | 12.00 | 12.00 | 12.00 | 12.00 | 24.00 | |||||||||||||||||||||||
| vssseg3e64.v v8,(t2),x0 | 12.00 | 12.00 | 12.00 | 12.00 | 24.00 | |||||||||||||||||||||||
| vssseg3e64.v v8,(t2),x0,v0.t | 12.00 | 12.00 | 12.00 | 12.00 | 24.00 | |||||||||||||||||||||||
| vssseg3e64.v v8,(t2),t1/*-1*/ | 12.00 | 12.00 | 12.00 | 12.00 | 24.00 | |||||||||||||||||||||||
| vssseg3e64.v v8,(t2),t1/*-1*/,v0.t | 12.00 | 12.00 | 12.00 | 12.00 | 24.00 | |||||||||||||||||||||||
| vlsseg4e8.v v8,(t2),t3 | 5.99 | 6.80 | 13.15 | 28.80 | 72.01 | 5.81 | 6.90 | 13.11 | 27.00 | 5.80 | 6.90 | 13.16 | 6.00 | 6.90 | ||||||||||||||
| vlsseg4e8.v v8,(t2),t3,v0.t | 6.00 | 7.02 | 13.14 | 29.70 | 72.01 | 5.65 | 6.95 | 13.22 | 30.00 | 5.69 | 6.87 | 13.23 | 5.65 | 6.87 | ||||||||||||||
| vlsseg4e8.v v8,(t2),x0 | 5.80 | 6.25 | 10.25 | 22.00 | 63.00 | 5.38 | 6.25 | 10.65 | 22.00 | 5.72 | 6.25 | 10.25 | 5.81 | 6.56 | ||||||||||||||
| vlsseg4e8.v v8,(t2),x0,v0.t | 5.75 | 6.25 | 10.25 | 22.00 | 63.00 | 5.69 | 6.25 | 10.25 | 22.00 | 5.85 | 6.25 | 10.25 | 5.80 | 6.56 | ||||||||||||||
| vlsseg4e8.v v8,(t2),t1/*-1*/ | 6.09 | 7.25 | 11.75 | 29.47 | 72.01 | 6.08 | 6.90 | 11.75 | 29.42 | 6.06 | 7.57 | 11.75 | 6.09 | 7.40 | ||||||||||||||
| vlsseg4e8.v v8,(t2),t1/*-1*/,v0.t | 6.08 | 7.37 | 11.75 | 29.97 | 72.01 | 6.09 | 7.40 | 11.75 | 29.70 | 6.09 | 7.45 | 11.75 | 6.07 | 7.44 | ||||||||||||||
| vlsseg4e16.v v8,(t2),t3 | 5.43 | 7.93 | 19.27 | 5.38 | 7.91 | 19.12 | 47.06 | 5.43 | 7.90 | 19.17 | 5.43 | 8.07 | ||||||||||||||||
| vlsseg4e16.v v8,(t2),t3,v0.t | 5.38 | 8.02 | 19.05 | 5.45 | 7.86 | 19.27 | 48.62 | 5.38 | 7.90 | 19.12 | 5.41 | 8.03 | ||||||||||||||||
| vlsseg4e16.v v8,(t2),x0 | 5.68 | 6.45 | 14.05 | 5.49 | 6.85 | 14.05 | 39.50 | 5.59 | 6.65 | 13.61 | 5.33 | 6.56 | ||||||||||||||||
| vlsseg4e16.v v8,(t2),x0,v0.t | 5.69 | 7.85 | 15.41 | 5.43 | 6.65 | 13.61 | 40.67 | 5.39 | 6.45 | 14.96 | 5.58 | 6.56 | ||||||||||||||||
| vlsseg4e16.v v8,(t2),t1/*-1*/ | 5.92 | 7.75 | 16.87 | 5.97 | 7.75 | 16.87 | 49.69 | 6.01 | 7.75 | 16.92 | 5.90 | 7.75 | ||||||||||||||||
| vlsseg4e16.v v8,(t2),t1/*-1*/,v0.t | 6.05 | 7.75 | 16.77 | 6.01 | 7.75 | 16.95 | 49.65 | 5.91 | 7.75 | 16.95 | 5.82 | 7.77 | ||||||||||||||||
| vlsseg4e32.v v8,(t2),t3 | 6.11 | 12.00 | 6.08 | 12.00 | 6.06 | 12.00 | 37.55 | 6.08 | 12.00 | |||||||||||||||||||
| vlsseg4e32.v v8,(t2),t3,v0.t | 6.10 | 12.00 | 6.08 | 12.00 | 6.09 | 12.00 | 37.65 | 6.09 | 12.00 | |||||||||||||||||||
| vlsseg4e32.v v8,(t2),x0 | 5.22 | 12.05 | 5.52 | 12.15 | 5.61 | 11.85 | 33.17 | 5.73 | 12.09 | |||||||||||||||||||
| vlsseg4e32.v v8,(t2),x0,v0.t | 5.70 | 12.05 | 5.73 | 12.25 | 5.29 | 11.95 | 32.54 | 5.41 | 12.25 | |||||||||||||||||||
| vlsseg4e32.v v8,(t2),t1/*-1*/ | 6.06 | 12.12 | 6.06 | 12.11 | 6.06 | 12.11 | 36.65 | 6.06 | 12.04 | |||||||||||||||||||
| vlsseg4e32.v v8,(t2),t1/*-1*/,v0.t | 6.06 | 12.16 | 6.06 | 12.07 | 6.06 | 12.12 | 36.65 | 6.06 | 12.04 | |||||||||||||||||||
| vlsseg4e64.v v8,(t2),t3 | 10.50 | 10.66 | 10.71 | 10.62 | 31.25 | |||||||||||||||||||||||
| vlsseg4e64.v v8,(t2),t3,v0.t | 10.58 | 10.71 | 10.66 | 10.54 | 31.05 | |||||||||||||||||||||||
| vlsseg4e64.v v8,(t2),x0 | 11.43 | 11.41 | 11.32 | 11.34 | 29.05 | |||||||||||||||||||||||
| vlsseg4e64.v v8,(t2),x0,v0.t | 11.32 | 11.39 | 11.39 | 11.19 | 29.40 | |||||||||||||||||||||||
| vlsseg4e64.v v8,(t2),t1/*-1*/ | 13.00 | 13.00 | 13.00 | 13.00 | 32.43 | |||||||||||||||||||||||
| vlsseg4e64.v v8,(t2),t1/*-1*/,v0.t | 13.00 | 13.00 | 13.00 | 13.00 | 32.69 | |||||||||||||||||||||||
| vssseg4e8.v v8,(t2),t3 | 5.69 | 9.30 | 19.00 | 38.00 | 78.56 | 5.00 | 9.45 | 19.00 | 38.00 | 5.00 | 9.35 | 19.00 | 5.00 | 9.30 | ||||||||||||||
| vssseg4e8.v v8,(t2),t3,v0.t | 5.00 | 9.20 | 19.00 | 38.00 | 76.00 | 5.00 | 9.15 | 19.00 | 39.56 | 5.00 | 9.10 | 19.00 | 5.00 | 9.45 | ||||||||||||||
| vssseg4e8.v v8,(t2),x0 | 5.01 | 8.00 | 16.00 | 32.00 | 64.00 | 5.00 | 8.00 | 16.00 | 32.00 | 5.00 | 8.00 | 16.00 | 5.00 | 8.00 | ||||||||||||||
| vssseg4e8.v v8,(t2),x0,v0.t | 5.00 | 8.00 | 16.00 | 32.00 | 64.00 | 5.00 | 8.00 | 16.00 | 32.00 | 5.00 | 8.00 | 16.00 | 5.00 | 8.00 | ||||||||||||||
| vssseg4e8.v v8,(t2),t1/*-1*/ | 6.10 | 9.50 | 19.00 | 38.00 | 76.03 | 6.20 | 9.20 | 19.00 | 38.00 | 5.90 | 10.25 | 19.00 | 6.20 | 10.15 | ||||||||||||||
| vssseg4e8.v v8,(t2),t1/*-1*/,v0.t | 6.30 | 9.60 | 19.00 | 38.00 | 76.00 | 6.30 | 9.30 | 19.00 | 38.00 | 5.70 | 9.85 | 19.00 | 6.00 | 10.20 | ||||||||||||||
| vssseg4e16.v v8,(t2),t3 | 6.00 | 11.10 | 22.70 | 6.00 | 11.30 | 22.60 | 52.18 | 6.00 | 11.35 | 22.60 | 6.00 | 11.20 | ||||||||||||||||
| vssseg4e16.v v8,(t2),t3,v0.t | 6.00 | 11.35 | 23.67 | 6.00 | 11.60 | 24.16 | 46.65 | 6.00 | 11.30 | 23.20 | 6.00 | 11.40 | ||||||||||||||||
| vssseg4e16.v v8,(t2),x0 | 6.00 | 10.00 | 20.28 | 6.40 | 11.20 | 20.28 | 52.00 | 6.20 | 10.30 | 20.28 | 6.00 | 10.00 | ||||||||||||||||
| vssseg4e16.v v8,(t2),x0,v0.t | 6.00 | 11.20 | 21.45 | 6.20 | 11.50 | 21.45 | 53.20 | 6.20 | 12.10 | 23.21 | 6.00 | 11.20 | ||||||||||||||||
| vssseg4e16.v v8,(t2),t1/*-1*/ | 7.61 | 12.65 | 28.80 | 6.70 | 12.60 | 24.44 | 55.00 | 6.55 | 12.30 | 26.66 | 7.50 | 12.65 | ||||||||||||||||
| vssseg4e16.v v8,(t2),t1/*-1*/,v0.t | 6.69 | 12.20 | 26.24 | 8.25 | 12.45 | 26.99 | 58.73 | 6.50 | 12.50 | 24.93 | 7.63 | 12.75 | ||||||||||||||||
| vssseg4e32.v v8,(t2),t3 | 9.50 | 18.75 | 9.21 | 18.93 | 9.30 | 18.67 | 39.40 | 9.35 | 18.47 | |||||||||||||||||||
| vssseg4e32.v v8,(t2),t3,v0.t | 9.55 | 18.74 | 9.40 | 18.91 | 9.60 | 19.10 | 39.48 | 9.25 | 19.02 | |||||||||||||||||||
| vssseg4e32.v v8,(t2),x0 | 9.10 | 18.57 | 9.30 | 18.14 | 9.20 | 18.14 | 41.00 | 9.10 | 18.14 | |||||||||||||||||||
| vssseg4e32.v v8,(t2),x0,v0.t | 9.10 | 16.85 | 9.40 | 16.64 | 9.40 | 18.35 | 42.00 | 8.80 | 18.35 | |||||||||||||||||||
| vssseg4e32.v v8,(t2),t1/*-1*/ | 9.10 | 18.80 | 9.40 | 18.72 | 9.20 | 18.72 | 39.44 | 9.25 | 19.25 | |||||||||||||||||||
| vssseg4e32.v v8,(t2),t1/*-1*/,v0.t | 9.82 | 19.47 | 9.25 | 18.95 | 9.25 | 18.87 | 39.40 | 10.71 | 19.10 | |||||||||||||||||||
| vssseg4e64.v v8,(t2),t3 | 17.00 | 16.40 | 17.20 | 16.00 | 33.50 | |||||||||||||||||||||||
| vssseg4e64.v v8,(t2),t3,v0.t | 16.90 | 16.40 | 16.80 | 16.70 | 34.79 | |||||||||||||||||||||||
| vssseg4e64.v v8,(t2),x0 | 16.50 | 16.30 | 16.40 | 16.70 | 33.46 | |||||||||||||||||||||||
| vssseg4e64.v v8,(t2),x0,v0.t | 16.80 | 16.60 | 16.80 | 16.80 | 34.59 | |||||||||||||||||||||||
| vssseg4e64.v v8,(t2),t1/*-1*/ | 16.80 | 16.30 | 16.30 | 17.10 | 32.80 | |||||||||||||||||||||||
| vssseg4e64.v v8,(t2),t1/*-1*/,v0.t | 16.60 | 16.40 | 16.50 | 16.60 | 33.60 | |||||||||||||||||||||||
| vlsseg5e8.v v8,(t2),t3 | 20.00 | 40.00 | 80.00 | 159.33 | 20.00 | 40.00 | 80.00 | 20.00 | 40.00 | 20.00 | ||||||||||||||||||
| vlsseg5e8.v v8,(t2),t3,v0.t | 20.00 | 40.00 | 80.00 | 159.31 | 20.00 | 40.00 | 80.00 | 20.00 | 40.00 | 20.00 | ||||||||||||||||||
| vlsseg5e8.v v8,(t2),x0 | 20.00 | 40.00 | 80.00 | 159.20 | 20.00 | 40.00 | 80.00 | 20.00 | 40.00 | 20.00 | ||||||||||||||||||
| vlsseg5e8.v v8,(t2),x0,v0.t | 20.00 | 40.00 | 80.00 | 159.20 | 20.00 | 40.00 | 80.00 | 20.00 | 40.00 | 20.00 | ||||||||||||||||||
| vlsseg5e8.v v8,(t2),t1/*-1*/ | 20.00 | 40.00 | 80.00 | 159.20 | 20.00 | 40.00 | 80.00 | 20.00 | 40.00 | 20.00 | ||||||||||||||||||
| vlsseg5e8.v v8,(t2),t1/*-1*/,v0.t | 20.00 | 40.00 | 80.00 | 159.20 | 20.00 | 40.00 | 80.00 | 20.00 | 40.00 | 20.00 | ||||||||||||||||||
| vlsseg5e16.v v8,(t2),t3 | 20.00 | 40.00 | 79.24 | 20.00 | 40.00 | 79.25 | 20.00 | 40.00 | 20.00 | |||||||||||||||||||
| vlsseg5e16.v v8,(t2),t3,v0.t | 20.00 | 40.00 | 79.24 | 20.00 | 40.00 | 79.28 | 20.00 | 40.00 | 20.00 | |||||||||||||||||||
| vlsseg5e16.v v8,(t2),x0 | 20.00 | 40.00 | 79.20 | 20.00 | 40.00 | 79.20 | 20.00 | 40.00 | 20.00 | |||||||||||||||||||
| vlsseg5e16.v v8,(t2),x0,v0.t | 20.00 | 40.00 | 79.20 | 20.00 | 40.00 | 79.20 | 20.00 | 40.00 | 20.00 | |||||||||||||||||||
| vlsseg5e16.v v8,(t2),t1/*-1*/ | 20.00 | 40.00 | 79.20 | 20.00 | 40.00 | 79.23 | 20.00 | 40.00 | 20.00 | |||||||||||||||||||
| vlsseg5e16.v v8,(t2),t1/*-1*/,v0.t | 20.00 | 40.00 | 79.20 | 20.00 | 40.00 | 79.20 | 20.00 | 40.00 | 20.00 | |||||||||||||||||||
| vlsseg5e32.v v8,(t2),t3 | 20.00 | 39.52 | 20.00 | 39.48 | 20.00 | 39.39 | 20.00 | |||||||||||||||||||||
| vlsseg5e32.v v8,(t2),t3,v0.t | 20.00 | 39.44 | 20.00 | 39.39 | 20.00 | 39.45 | 20.00 | |||||||||||||||||||||
| vlsseg5e32.v v8,(t2),x0 | 20.00 | 39.20 | 20.00 | 39.20 | 20.00 | 39.20 | 20.00 | |||||||||||||||||||||
| vlsseg5e32.v v8,(t2),x0,v0.t | 20.00 | 39.20 | 20.00 | 39.20 | 20.00 | 39.20 | 20.00 | |||||||||||||||||||||
| vlsseg5e32.v v8,(t2),t1/*-1*/ | 20.00 | 39.37 | 20.00 | 39.40 | 20.00 | 39.46 | 20.00 | |||||||||||||||||||||
| vlsseg5e32.v v8,(t2),t1/*-1*/,v0.t | 20.00 | 39.42 | 20.00 | 39.51 | 20.00 | 39.51 | 20.00 | |||||||||||||||||||||
| vlsseg5e64.v v8,(t2),t3 | 19.37 | 19.37 | 19.37 | 19.37 | ||||||||||||||||||||||||
| vlsseg5e64.v v8,(t2),t3,v0.t | 19.37 | 19.37 | 19.37 | 19.37 | ||||||||||||||||||||||||
| vlsseg5e64.v v8,(t2),x0 | 19.47 | 19.49 | 19.48 | 19.49 | ||||||||||||||||||||||||
| vlsseg5e64.v v8,(t2),x0,v0.t | 19.47 | 19.47 | 19.48 | 19.48 | ||||||||||||||||||||||||
| vlsseg5e64.v v8,(t2),t1/*-1*/ | 19.37 | 19.37 | 19.37 | 19.37 | ||||||||||||||||||||||||
| vlsseg5e64.v v8,(t2),t1/*-1*/,v0.t | 19.37 | 19.37 | 19.37 | 19.37 | ||||||||||||||||||||||||
| vssseg5e8.v v8,(t2),t3 | 20.00 | 40.00 | 80.00 | 160.00 | 20.00 | 40.00 | 80.00 | 20.00 | 40.00 | 20.00 | ||||||||||||||||||
| vssseg5e8.v v8,(t2),t3,v0.t | 20.00 | 40.00 | 80.00 | 160.00 | 20.00 | 40.00 | 80.00 | 20.00 | 40.00 | 20.00 | ||||||||||||||||||
| vssseg5e8.v v8,(t2),x0 | 20.00 | 40.00 | 80.00 | 160.00 | 20.00 | 40.00 | 80.00 | 20.00 | 40.00 | 20.00 | ||||||||||||||||||
| vssseg5e8.v v8,(t2),x0,v0.t | 20.00 | 40.00 | 80.00 | 160.00 | 20.00 | 40.00 | 80.00 | 20.00 | 40.00 | 20.00 | ||||||||||||||||||
| vssseg5e8.v v8,(t2),t1/*-1*/ | 20.00 | 40.00 | 80.00 | 160.00 | 20.00 | 40.00 | 80.00 | 20.00 | 40.00 | 20.00 | ||||||||||||||||||
| vssseg5e8.v v8,(t2),t1/*-1*/,v0.t | 20.00 | 40.00 | 80.00 | 160.00 | 20.00 | 40.00 | 80.00 | 20.00 | 40.00 | 20.00 | ||||||||||||||||||
| vssseg5e16.v v8,(t2),t3 | 20.00 | 40.00 | 80.00 | 20.00 | 40.00 | 80.03 | 20.00 | 40.00 | 20.00 | |||||||||||||||||||
| vssseg5e16.v v8,(t2),t3,v0.t | 20.00 | 40.00 | 80.00 | 20.00 | 40.00 | 80.00 | 20.00 | 40.00 | 20.00 | |||||||||||||||||||
| vssseg5e16.v v8,(t2),x0 | 20.00 | 40.00 | 80.00 | 20.00 | 40.00 | 80.00 | 20.00 | 40.00 | 20.00 | |||||||||||||||||||
| vssseg5e16.v v8,(t2),x0,v0.t | 20.00 | 40.00 | 80.00 | 20.00 | 40.00 | 80.00 | 20.00 | 40.00 | 20.00 | |||||||||||||||||||
| vssseg5e16.v v8,(t2),t1/*-1*/ | 20.00 | 40.00 | 80.00 | 20.00 | 40.00 | 80.00 | 20.00 | 40.00 | 20.00 | |||||||||||||||||||
| vssseg5e16.v v8,(t2),t1/*-1*/,v0.t | 20.00 | 40.00 | 80.00 | 20.00 | 40.00 | 80.00 | 20.00 | 40.00 | 20.00 | |||||||||||||||||||
| vssseg5e32.v v8,(t2),t3 | 20.00 | 40.10 | 20.00 | 40.30 | 20.00 | 40.15 | 20.00 | |||||||||||||||||||||
| vssseg5e32.v v8,(t2),t3,v0.t | 20.00 | 40.00 | 20.00 | 40.00 | 20.00 | 40.13 | 20.00 | |||||||||||||||||||||
| vssseg5e32.v v8,(t2),x0 | 20.00 | 40.00 | 20.00 | 40.00 | 20.00 | 40.00 | 20.00 | |||||||||||||||||||||
| vssseg5e32.v v8,(t2),x0,v0.t | 20.00 | 40.00 | 20.00 | 40.00 | 20.00 | 40.00 | 20.00 | |||||||||||||||||||||
| vssseg5e32.v v8,(t2),t1/*-1*/ | 20.00 | 40.00 | 20.10 | 40.00 | 20.00 | 40.00 | 20.00 | |||||||||||||||||||||
| vssseg5e32.v v8,(t2),t1/*-1*/,v0.t | 20.00 | 40.00 | 20.21 | 40.00 | 20.00 | 40.00 | 20.00 | |||||||||||||||||||||
| vssseg5e64.v v8,(t2),t3 | 20.38 | 21.35 | 22.32 | 21.34 | ||||||||||||||||||||||||
| vssseg5e64.v v8,(t2),t3,v0.t | 21.56 | 20.00 | 21.40 | 20.00 | ||||||||||||||||||||||||
| vssseg5e64.v v8,(t2),x0 | 20.00 | 20.00 | 20.00 | 20.00 | ||||||||||||||||||||||||
| vssseg5e64.v v8,(t2),x0,v0.t | 20.00 | 20.00 | 20.00 | 20.00 | ||||||||||||||||||||||||
| vssseg5e64.v v8,(t2),t1/*-1*/ | 20.00 | 20.00 | 20.00 | 20.00 | ||||||||||||||||||||||||
| vssseg5e64.v v8,(t2),t1/*-1*/,v0.t | 20.32 | 20.00 | 20.00 | 20.00 | ||||||||||||||||||||||||
| vlsseg6e8.v v8,(t2),t3 | 24.37 | 48.37 | 96.37 | 191.14 | 24.37 | 48.37 | 96.37 | 24.37 | 48.37 | 24.37 | ||||||||||||||||||
| vlsseg6e8.v v8,(t2),t3,v0.t | 24.37 | 48.37 | 96.37 | 191.16 | 24.37 | 48.37 | 96.37 | 24.37 | 48.37 | 24.37 | ||||||||||||||||||
| vlsseg6e8.v v8,(t2),x0 | 24.37 | 48.37 | 96.37 | 191.37 | 24.37 | 48.37 | 96.37 | 24.37 | 48.37 | 24.37 | ||||||||||||||||||
| vlsseg6e8.v v8,(t2),x0,v0.t | 24.37 | 48.37 | 96.37 | 191.37 | 24.37 | 48.37 | 96.37 | 24.37 | 48.37 | 24.37 | ||||||||||||||||||
| vlsseg6e8.v v8,(t2),t1/*-1*/ | 24.37 | 48.37 | 96.37 | 191.12 | 24.37 | 48.37 | 96.37 | 24.37 | 48.37 | 24.37 | ||||||||||||||||||
| vlsseg6e8.v v8,(t2),t1/*-1*/,v0.t | 24.37 | 48.37 | 96.37 | 191.12 | 24.37 | 48.37 | 96.37 | 24.37 | 48.37 | 24.37 | ||||||||||||||||||
| vlsseg6e16.v v8,(t2),t3 | 24.37 | 48.37 | 95.17 | 24.37 | 48.37 | 95.27 | 24.37 | 48.37 | 24.37 | |||||||||||||||||||
| vlsseg6e16.v v8,(t2),t3,v0.t | 24.37 | 48.37 | 95.25 | 24.37 | 48.37 | 95.20 | 24.37 | 48.37 | 24.37 | |||||||||||||||||||
| vlsseg6e16.v v8,(t2),x0 | 24.37 | 48.37 | 95.25 | 24.37 | 48.37 | 95.25 | 24.37 | 48.37 | 24.37 | |||||||||||||||||||
| vlsseg6e16.v v8,(t2),x0,v0.t | 24.37 | 48.37 | 95.25 | 24.37 | 48.37 | 95.25 | 24.37 | 48.37 | 24.37 | |||||||||||||||||||
| vlsseg6e16.v v8,(t2),t1/*-1*/ | 24.37 | 48.37 | 95.15 | 24.37 | 48.37 | 95.13 | 24.37 | 48.37 | 24.37 | |||||||||||||||||||
| vlsseg6e16.v v8,(t2),t1/*-1*/,v0.t | 24.37 | 48.37 | 95.15 | 24.37 | 48.37 | 95.14 | 24.37 | 48.37 | 24.37 | |||||||||||||||||||
| vlsseg6e32.v v8,(t2),t3 | 24.37 | 47.26 | 24.37 | 47.22 | 24.37 | 47.27 | 24.37 | |||||||||||||||||||||
| vlsseg6e32.v v8,(t2),t3,v0.t | 24.37 | 47.30 | 24.37 | 47.22 | 24.37 | 47.25 | 24.37 | |||||||||||||||||||||
| vlsseg6e32.v v8,(t2),x0 | 24.37 | 47.50 | 24.37 | 47.50 | 24.37 | 47.48 | 24.37 | |||||||||||||||||||||
| vlsseg6e32.v v8,(t2),x0,v0.t | 24.37 | 47.50 | 24.37 | 47.50 | 24.37 | 47.49 | 24.37 | |||||||||||||||||||||
| vlsseg6e32.v v8,(t2),t1/*-1*/ | 24.37 | 47.30 | 24.37 | 47.28 | 24.37 | 47.30 | 24.37 | |||||||||||||||||||||
| vlsseg6e32.v v8,(t2),t1/*-1*/,v0.t | 24.37 | 47.30 | 24.37 | 47.34 | 24.37 | 47.28 | 24.37 | |||||||||||||||||||||
| vlsseg6e64.v v8,(t2),t3 | 23.21 | 23.21 | 23.18 | 23.21 | ||||||||||||||||||||||||
| vlsseg6e64.v v8,(t2),t3,v0.t | 23.20 | 23.20 | 23.20 | 23.23 | ||||||||||||||||||||||||
| vlsseg6e64.v v8,(t2),x0 | 23.50 | 23.50 | 23.50 | 23.50 | ||||||||||||||||||||||||
| vlsseg6e64.v v8,(t2),x0,v0.t | 23.50 | 23.50 | 23.50 | 23.50 | ||||||||||||||||||||||||
| vlsseg6e64.v v8,(t2),t1/*-1*/ | 23.19 | 23.20 | 23.23 | 23.15 | ||||||||||||||||||||||||
| vlsseg6e64.v v8,(t2),t1/*-1*/,v0.t | 23.24 | 23.19 | 23.20 | 23.24 | ||||||||||||||||||||||||
| vssseg6e8.v v8,(t2),t3 | 24.00 | 48.00 | 96.00 | 192.00 | 24.00 | 48.00 | 96.00 | 24.00 | 48.00 | 24.00 | ||||||||||||||||||
| vssseg6e8.v v8,(t2),t3,v0.t | 24.00 | 48.00 | 96.00 | 192.00 | 24.00 | 48.00 | 96.00 | 24.00 | 48.00 | 24.00 | ||||||||||||||||||
| vssseg6e8.v v8,(t2),x0 | 24.00 | 48.00 | 96.00 | 192.00 | 24.00 | 48.00 | 96.00 | 24.00 | 48.00 | 24.00 | ||||||||||||||||||
| vssseg6e8.v v8,(t2),x0,v0.t | 24.00 | 48.00 | 96.00 | 192.00 | 24.00 | 48.00 | 96.00 | 24.00 | 48.00 | 24.00 | ||||||||||||||||||
| vssseg6e8.v v8,(t2),t1/*-1*/ | 24.00 | 48.00 | 96.00 | 192.00 | 24.00 | 48.00 | 96.00 | 24.00 | 48.00 | 24.00 | ||||||||||||||||||
| vssseg6e8.v v8,(t2),t1/*-1*/,v0.t | 24.00 | 48.00 | 96.00 | 192.00 | 24.00 | 48.00 | 96.00 | 24.00 | 48.00 | 24.00 | ||||||||||||||||||
| vssseg6e16.v v8,(t2),t3 | 24.00 | 48.00 | 96.00 | 24.00 | 48.00 | 96.00 | 24.00 | 48.00 | 24.00 | |||||||||||||||||||
| vssseg6e16.v v8,(t2),t3,v0.t | 24.00 | 48.00 | 96.00 | 24.00 | 48.00 | 96.00 | 24.00 | 48.00 | 24.00 | |||||||||||||||||||
| vssseg6e16.v v8,(t2),x0 | 24.00 | 48.00 | 96.00 | 24.00 | 48.00 | 96.00 | 24.00 | 48.00 | 24.00 | |||||||||||||||||||
| vssseg6e16.v v8,(t2),x0,v0.t | 24.00 | 48.00 | 96.00 | 24.00 | 48.00 | 96.00 | 24.00 | 48.00 | 24.00 | |||||||||||||||||||
| vssseg6e16.v v8,(t2),t1/*-1*/ | 24.00 | 48.00 | 96.00 | 24.00 | 48.00 | 96.00 | 24.00 | 48.00 | 24.00 | |||||||||||||||||||
| vssseg6e16.v v8,(t2),t1/*-1*/,v0.t | 24.00 | 48.00 | 96.00 | 24.00 | 48.00 | 96.00 | 24.00 | 48.00 | 24.00 | |||||||||||||||||||
| vssseg6e32.v v8,(t2),t3 | 24.00 | 48.43 | 24.00 | 49.03 | 24.00 | 49.02 | 24.00 | |||||||||||||||||||||
| vssseg6e32.v v8,(t2),t3,v0.t | 24.00 | 49.58 | 24.01 | 49.25 | 24.00 | 49.27 | 24.00 | |||||||||||||||||||||
| vssseg6e32.v v8,(t2),x0 | 24.00 | 48.00 | 24.00 | 48.00 | 24.00 | 48.00 | 24.00 | |||||||||||||||||||||
| vssseg6e32.v v8,(t2),x0,v0.t | 24.00 | 48.00 | 24.00 | 48.00 | 24.00 | 48.00 | 24.00 | |||||||||||||||||||||
| vssseg6e32.v v8,(t2),t1/*-1*/ | 24.00 | 48.00 | 24.00 | 48.00 | 24.00 | 48.00 | 24.00 | |||||||||||||||||||||
| vssseg6e32.v v8,(t2),t1/*-1*/,v0.t | 24.00 | 48.00 | 24.10 | 48.00 | 24.00 | 48.00 | 24.00 | |||||||||||||||||||||
| vssseg6e64.v v8,(t2),t3 | 24.11 | 25.22 | 25.58 | 25.02 | ||||||||||||||||||||||||
| vssseg6e64.v v8,(t2),t3,v0.t | 25.58 | 26.01 | 25.79 | 25.67 | ||||||||||||||||||||||||
| vssseg6e64.v v8,(t2),x0 | 24.00 | 24.00 | 24.00 | 24.00 | ||||||||||||||||||||||||
| vssseg6e64.v v8,(t2),x0,v0.t | 24.00 | 24.00 | 24.00 | 24.00 | ||||||||||||||||||||||||
| vssseg6e64.v v8,(t2),t1/*-1*/ | 24.00 | 24.14 | 24.00 | 24.52 | ||||||||||||||||||||||||
| vssseg6e64.v v8,(t2),t1/*-1*/,v0.t | 24.07 | 24.92 | 24.00 | 24.00 | ||||||||||||||||||||||||
| vlsseg7e8.v v8,(t2),t3 | 28.25 | 56.25 | 112.25 | 223.12 | 28.25 | 56.25 | 112.25 | 28.25 | 56.25 | 28.25 | ||||||||||||||||||
| vlsseg7e8.v v8,(t2),t3,v0.t | 28.25 | 56.25 | 112.25 | 223.12 | 28.25 | 56.25 | 112.25 | 28.25 | 56.25 | 28.25 | ||||||||||||||||||
| vlsseg7e8.v v8,(t2),x0 | 28.25 | 56.25 | 112.25 | 223.00 | 28.25 | 56.25 | 112.25 | 28.25 | 56.25 | 28.25 | ||||||||||||||||||
| vlsseg7e8.v v8,(t2),x0,v0.t | 28.25 | 56.25 | 112.25 | 223.00 | 28.25 | 56.25 | 112.25 | 28.25 | 56.25 | 28.25 | ||||||||||||||||||
| vlsseg7e8.v v8,(t2),t1/*-1*/ | 28.25 | 56.25 | 112.25 | 223.13 | 28.25 | 56.25 | 112.25 | 28.25 | 56.25 | 28.25 | ||||||||||||||||||
| vlsseg7e8.v v8,(t2),t1/*-1*/,v0.t | 28.25 | 56.25 | 112.25 | 223.14 | 28.25 | 56.25 | 112.25 | 28.25 | 56.25 | 28.25 | ||||||||||||||||||
| vlsseg7e16.v v8,(t2),t3 | 28.25 | 56.25 | 111.11 | 28.25 | 56.25 | 111.12 | 28.25 | 56.25 | 28.25 | |||||||||||||||||||
| vlsseg7e16.v v8,(t2),t3,v0.t | 28.25 | 56.25 | 111.13 | 28.25 | 56.25 | 111.16 | 28.25 | 56.25 | 28.25 | |||||||||||||||||||
| vlsseg7e16.v v8,(t2),x0 | 28.25 | 56.25 | 111.37 | 28.25 | 56.25 | 111.37 | 28.25 | 56.25 | 28.25 | |||||||||||||||||||
| vlsseg7e16.v v8,(t2),x0,v0.t | 28.25 | 56.25 | 111.37 | 28.25 | 56.25 | 111.37 | 28.25 | 56.25 | 28.25 | |||||||||||||||||||
| vlsseg7e16.v v8,(t2),t1/*-1*/ | 28.25 | 56.25 | 111.12 | 28.25 | 56.25 | 111.10 | 28.25 | 56.25 | 28.25 | |||||||||||||||||||
| vlsseg7e16.v v8,(t2),t1/*-1*/,v0.t | 28.25 | 56.25 | 111.12 | 28.25 | 56.25 | 111.12 | 28.25 | 56.25 | 28.25 | |||||||||||||||||||
| vlsseg7e32.v v8,(t2),t3 | 28.25 | 55.16 | 28.25 | 55.24 | 28.25 | 55.23 | 28.25 | |||||||||||||||||||||
| vlsseg7e32.v v8,(t2),t3,v0.t | 28.25 | 55.23 | 28.25 | 55.14 | 28.25 | 55.21 | 28.25 | |||||||||||||||||||||
| vlsseg7e32.v v8,(t2),x0 | 28.25 | 55.26 | 28.25 | 55.26 | 28.25 | 55.25 | 28.25 | |||||||||||||||||||||
| vlsseg7e32.v v8,(t2),x0,v0.t | 28.25 | 55.26 | 28.25 | 55.25 | 28.25 | 55.28 | 28.25 | |||||||||||||||||||||
| vlsseg7e32.v v8,(t2),t1/*-1*/ | 28.25 | 55.11 | 28.25 | 55.07 | 28.25 | 54.98 | 28.25 | |||||||||||||||||||||
| vlsseg7e32.v v8,(t2),t1/*-1*/,v0.t | 28.25 | 55.14 | 28.25 | 55.07 | 28.25 | 55.05 | 28.25 | |||||||||||||||||||||
| vlsseg7e64.v v8,(t2),t3 | 27.20 | 27.20 | 27.17 | 27.20 | ||||||||||||||||||||||||
| vlsseg7e64.v v8,(t2),t3,v0.t | 27.16 | 27.18 | 27.21 | 27.13 | ||||||||||||||||||||||||
| vlsseg7e64.v v8,(t2),x0 | 27.21 | 27.21 | 27.21 | 27.21 | ||||||||||||||||||||||||
| vlsseg7e64.v v8,(t2),x0,v0.t | 27.24 | 27.24 | 27.20 | 27.24 | ||||||||||||||||||||||||
| vlsseg7e64.v v8,(t2),t1/*-1*/ | 27.12 | 27.01 | 27.11 | 27.11 | ||||||||||||||||||||||||
| vlsseg7e64.v v8,(t2),t1/*-1*/,v0.t | 27.07 | 27.06 | 27.06 | 27.06 | ||||||||||||||||||||||||
| vssseg7e8.v v8,(t2),t3 | 28.00 | 56.00 | 112.00 | 224.15 | 28.00 | 56.00 | 112.00 | 28.00 | 56.00 | 28.00 | ||||||||||||||||||
| vssseg7e8.v v8,(t2),t3,v0.t | 28.00 | 56.00 | 112.00 | 224.27 | 28.00 | 56.00 | 112.00 | 28.00 | 56.00 | 28.00 | ||||||||||||||||||
| vssseg7e8.v v8,(t2),x0 | 28.00 | 56.00 | 112.00 | 224.00 | 28.00 | 56.00 | 112.00 | 28.00 | 56.00 | 28.00 | ||||||||||||||||||
| vssseg7e8.v v8,(t2),x0,v0.t | 28.00 | 56.00 | 112.00 | 224.00 | 28.00 | 56.00 | 112.00 | 28.00 | 56.00 | 28.00 | ||||||||||||||||||
| vssseg7e8.v v8,(t2),t1/*-1*/ | 28.00 | 56.00 | 112.00 | 224.00 | 28.00 | 56.00 | 112.00 | 28.00 | 56.00 | 28.00 | ||||||||||||||||||
| vssseg7e8.v v8,(t2),t1/*-1*/,v0.t | 28.00 | 56.00 | 112.00 | 224.00 | 28.00 | 56.00 | 112.00 | 28.00 | 56.00 | 28.00 | ||||||||||||||||||
| vssseg7e16.v v8,(t2),t3 | 28.00 | 56.00 | 112.03 | 28.00 | 56.00 | 112.00 | 28.00 | 56.00 | 28.00 | |||||||||||||||||||
| vssseg7e16.v v8,(t2),t3,v0.t | 28.00 | 56.00 | 112.13 | 28.00 | 56.00 | 112.65 | 28.00 | 56.00 | 28.00 | |||||||||||||||||||
| vssseg7e16.v v8,(t2),x0 | 28.00 | 56.00 | 112.00 | 28.00 | 56.00 | 112.00 | 28.00 | 56.00 | 28.00 | |||||||||||||||||||
| vssseg7e16.v v8,(t2),x0,v0.t | 28.00 | 56.00 | 112.00 | 28.00 | 56.00 | 112.00 | 28.00 | 56.00 | 28.00 | |||||||||||||||||||
| vssseg7e16.v v8,(t2),t1/*-1*/ | 28.00 | 56.00 | 112.00 | 28.00 | 56.00 | 112.00 | 28.00 | 56.00 | 28.00 | |||||||||||||||||||
| vssseg7e16.v v8,(t2),t1/*-1*/,v0.t | 28.00 | 56.00 | 112.00 | 28.00 | 56.00 | 112.00 | 28.00 | 56.00 | 28.00 | |||||||||||||||||||
| vssseg7e32.v v8,(t2),t3 | 28.00 | 56.34 | 28.14 | 57.84 | 28.00 | 56.45 | 28.45 | |||||||||||||||||||||
| vssseg7e32.v v8,(t2),t3,v0.t | 28.39 | 56.93 | 28.00 | 56.10 | 28.15 | 57.66 | 28.00 | |||||||||||||||||||||
| vssseg7e32.v v8,(t2),x0 | 28.00 | 56.00 | 28.00 | 56.00 | 28.00 | 56.00 | 28.00 | |||||||||||||||||||||
| vssseg7e32.v v8,(t2),x0,v0.t | 28.00 | 56.00 | 28.00 | 56.00 | 28.00 | 56.00 | 28.00 | |||||||||||||||||||||
| vssseg7e32.v v8,(t2),t1/*-1*/ | 28.00 | 56.00 | 28.00 | 56.00 | 28.00 | 56.00 | 28.00 | |||||||||||||||||||||
| vssseg7e32.v v8,(t2),t1/*-1*/,v0.t | 28.00 | 56.00 | 28.00 | 56.00 | 28.00 | 56.00 | 28.00 | |||||||||||||||||||||
| vssseg7e64.v v8,(t2),t3 | 29.31 | 29.61 | 29.54 | 29.75 | ||||||||||||||||||||||||
| vssseg7e64.v v8,(t2),t3,v0.t | 28.72 | 28.67 | 28.67 | 28.58 | ||||||||||||||||||||||||
| vssseg7e64.v v8,(t2),x0 | 28.00 | 28.95 | 28.71 | 28.96 | ||||||||||||||||||||||||
| vssseg7e64.v v8,(t2),x0,v0.t | 28.00 | 28.00 | 28.00 | 28.00 | ||||||||||||||||||||||||
| vssseg7e64.v v8,(t2),t1/*-1*/ | 28.00 | 28.00 | 28.00 | 28.00 | ||||||||||||||||||||||||
| vssseg7e64.v v8,(t2),t1/*-1*/,v0.t | 28.00 | 28.00 | 29.28 | 28.00 | ||||||||||||||||||||||||
| vlsseg8e8.v v8,(t2),t3 | 32.15 | 64.23 | 128.13 | 255.12 | 32.15 | 64.22 | 128.13 | 32.15 | 64.23 | 32.15 | ||||||||||||||||||
| vlsseg8e8.v v8,(t2),t3,v0.t | 32.15 | 64.24 | 128.14 | 255.12 | 32.15 | 64.20 | 128.12 | 32.15 | 64.20 | 32.15 | ||||||||||||||||||
| vlsseg8e8.v v8,(t2),x0 | 32.15 | 64.25 | 128.12 | 255.25 | 32.15 | 64.25 | 128.12 | 32.15 | 64.25 | 32.15 | ||||||||||||||||||
| vlsseg8e8.v v8,(t2),x0,v0.t | 32.15 | 64.25 | 128.12 | 255.25 | 32.15 | 64.25 | 128.12 | 32.15 | 64.25 | 32.15 | ||||||||||||||||||
| vlsseg8e8.v v8,(t2),t1/*-1*/ | 32.15 | 64.25 | 128.12 | 255.14 | 32.15 | 64.25 | 128.12 | 32.15 | 64.25 | 32.15 | ||||||||||||||||||
| vlsseg8e8.v v8,(t2),t1/*-1*/,v0.t | 32.15 | 64.25 | 128.12 | 255.13 | 32.15 | 64.25 | 128.12 | 32.15 | 64.25 | 32.15 | ||||||||||||||||||
| vlsseg8e16.v v8,(t2),t3 | 32.14 | 64.12 | 127.12 | 32.14 | 64.12 | 127.12 | 32.14 | 64.13 | 32.14 | |||||||||||||||||||
| vlsseg8e16.v v8,(t2),t3,v0.t | 32.14 | 64.13 | 127.12 | 32.14 | 64.13 | 127.12 | 32.14 | 64.13 | 32.14 | |||||||||||||||||||
| vlsseg8e16.v v8,(t2),x0 | 32.15 | 64.25 | 127.18 | 32.15 | 64.25 | 127.18 | 32.15 | 64.25 | 32.15 | |||||||||||||||||||
| vlsseg8e16.v v8,(t2),x0,v0.t | 32.15 | 64.25 | 127.18 | 32.15 | 64.25 | 127.18 | 32.15 | 64.25 | 32.15 | |||||||||||||||||||
| vlsseg8e16.v v8,(t2),t1/*-1*/ | 32.15 | 64.23 | 127.18 | 32.15 | 64.24 | 127.18 | 32.15 | 64.24 | 32.15 | |||||||||||||||||||
| vlsseg8e16.v v8,(t2),t1/*-1*/,v0.t | 32.15 | 64.22 | 127.18 | 32.15 | 64.23 | 127.18 | 32.15 | 64.22 | 32.15 | |||||||||||||||||||
| vlsseg8e32.v v8,(t2),t3 | 32.14 | 63.12 | 32.13 | 63.12 | 32.13 | 63.12 | 32.15 | |||||||||||||||||||||
| vlsseg8e32.v v8,(t2),t3,v0.t | 32.13 | 63.12 | 32.13 | 63.12 | 32.14 | 63.12 | 32.15 | |||||||||||||||||||||
| vlsseg8e32.v v8,(t2),x0 | 32.14 | 63.19 | 32.14 | 63.18 | 32.14 | 63.21 | 32.15 | |||||||||||||||||||||
| vlsseg8e32.v v8,(t2),x0,v0.t | 32.14 | 63.19 | 32.14 | 63.19 | 32.15 | 63.18 | 32.15 | |||||||||||||||||||||
| vlsseg8e32.v v8,(t2),t1/*-1*/ | 32.12 | 63.14 | 32.13 | 63.14 | 32.12 | 63.14 | 32.13 | |||||||||||||||||||||
| vlsseg8e32.v v8,(t2),t1/*-1*/,v0.t | 32.12 | 63.13 | 32.13 | 63.15 | 32.12 | 63.14 | 32.13 | |||||||||||||||||||||
| vlsseg8e64.v v8,(t2),t3 | 31.14 | 31.14 | 31.14 | 31.14 | ||||||||||||||||||||||||
| vlsseg8e64.v v8,(t2),t3,v0.t | 31.14 | 31.14 | 31.15 | 31.14 | ||||||||||||||||||||||||
| vlsseg8e64.v v8,(t2),x0 | 31.14 | 31.13 | 31.13 | 31.13 | ||||||||||||||||||||||||
| vlsseg8e64.v v8,(t2),x0,v0.t | 31.14 | 31.13 | 31.12 | 31.13 | ||||||||||||||||||||||||
| vlsseg8e64.v v8,(t2),t1/*-1*/ | 31.18 | 31.17 | 31.19 | 31.18 | ||||||||||||||||||||||||
| vlsseg8e64.v v8,(t2),t1/*-1*/,v0.t | 31.19 | 31.16 | 31.17 | 31.18 | ||||||||||||||||||||||||
| vssseg8e8.v v8,(t2),t3 | 32.00 | 64.00 | 128.00 | 256.08 | 32.00 | 64.00 | 128.00 | 32.00 | 64.00 | 32.00 | ||||||||||||||||||
| vssseg8e8.v v8,(t2),t3,v0.t | 32.00 | 64.00 | 128.00 | 256.00 | 32.00 | 64.00 | 128.00 | 32.00 | 64.00 | 32.00 | ||||||||||||||||||
| vssseg8e8.v v8,(t2),x0 | 32.00 | 64.00 | 128.00 | 256.00 | 32.00 | 64.00 | 128.00 | 32.00 | 64.00 | 32.00 | ||||||||||||||||||
| vssseg8e8.v v8,(t2),x0,v0.t | 32.00 | 64.00 | 128.00 | 256.00 | 32.00 | 64.00 | 128.00 | 32.00 | 64.00 | 32.00 | ||||||||||||||||||
| vssseg8e8.v v8,(t2),t1/*-1*/ | 32.00 | 64.00 | 128.00 | 256.00 | 32.00 | 64.00 | 128.00 | 32.00 | 64.00 | 32.00 | ||||||||||||||||||
| vssseg8e8.v v8,(t2),t1/*-1*/,v0.t | 32.00 | 64.00 | 128.00 | 256.00 | 32.00 | 64.00 | 128.00 | 32.00 | 64.00 | 32.00 | ||||||||||||||||||
| vssseg8e16.v v8,(t2),t3 | 32.64 | 64.00 | 128.25 | 32.00 | 64.00 | 128.04 | 32.00 | 64.00 | 32.00 | |||||||||||||||||||
| vssseg8e16.v v8,(t2),t3,v0.t | 32.00 | 64.00 | 128.24 | 32.00 | 64.00 | 128.05 | 32.00 | 64.00 | 32.00 | |||||||||||||||||||
| vssseg8e16.v v8,(t2),x0 | 32.00 | 64.00 | 128.00 | 32.00 | 64.00 | 128.00 | 32.00 | 64.00 | 32.00 | |||||||||||||||||||
| vssseg8e16.v v8,(t2),x0,v0.t | 32.00 | 64.00 | 128.00 | 32.00 | 64.00 | 128.00 | 32.00 | 64.00 | 32.00 | |||||||||||||||||||
| vssseg8e16.v v8,(t2),t1/*-1*/ | 32.00 | 64.00 | 128.00 | 32.00 | 64.00 | 128.00 | 32.00 | 64.00 | 32.00 | |||||||||||||||||||
| vssseg8e16.v v8,(t2),t1/*-1*/,v0.t | 32.00 | 64.00 | 128.00 | 32.00 | 64.00 | 128.00 | 32.00 | 64.00 | 32.00 | |||||||||||||||||||
| vssseg8e32.v v8,(t2),t3 | 32.33 | 64.16 | 32.10 | 64.33 | 32.22 | 64.06 | 32.78 | |||||||||||||||||||||
| vssseg8e32.v v8,(t2),t3,v0.t | 33.17 | 64.46 | 32.16 | 65.30 | 32.63 | 64.65 | 32.00 | |||||||||||||||||||||
| vssseg8e32.v v8,(t2),x0 | 32.00 | 64.00 | 32.00 | 64.00 | 32.00 | 64.00 | 32.00 | |||||||||||||||||||||
| vssseg8e32.v v8,(t2),x0,v0.t | 32.00 | 64.00 | 32.00 | 64.00 | 32.00 | 64.00 | 32.00 | |||||||||||||||||||||
| vssseg8e32.v v8,(t2),t1/*-1*/ | 32.00 | 64.00 | 32.00 | 64.32 | 32.46 | 64.00 | 32.00 | |||||||||||||||||||||
| vssseg8e32.v v8,(t2),t1/*-1*/,v0.t | 32.00 | 64.00 | 32.00 | 64.00 | 32.00 | 64.00 | 32.00 | |||||||||||||||||||||
| vssseg8e64.v v8,(t2),t3 | 34.19 | 34.79 | 34.08 | 34.00 | ||||||||||||||||||||||||
| vssseg8e64.v v8,(t2),t3,v0.t | 34.60 | 34.25 | 34.13 | 34.23 | ||||||||||||||||||||||||
| vssseg8e64.v v8,(t2),x0 | 32.00 | 32.00 | 32.00 | 32.00 | ||||||||||||||||||||||||
| vssseg8e64.v v8,(t2),x0,v0.t | 32.00 | 32.00 | 32.00 | 32.00 | ||||||||||||||||||||||||
| vssseg8e64.v v8,(t2),t1/*-1*/ | 32.20 | 32.00 | 32.41 | 32.88 | ||||||||||||||||||||||||
| vssseg8e64.v v8,(t2),t1/*-1*/,v0.t | 32.28 | 32.50 | 32.29 | 32.21 | ||||||||||||||||||||||||
| vandn.vv v8,v16,v24 | 1.00 | 1.00 | 1.00 | 1.00 | 2.00 | 4.00 | 8.00 | 1.00 | 1.00 | 1.00 | 2.00 | 4.00 | 8.00 | 1.00 | 1.00 | 2.00 | 4.00 | 8.00 | 1.00 | 2.00 | 4.00 | 8.00 | ||||||
| vandn.vv v8,v16,v24,v0.t | 1.00 | 1.00 | 1.00 | 1.00 | 2.00 | 4.00 | 8.00 | 1.00 | 1.00 | 1.00 | 2.00 | 4.00 | 8.00 | 1.00 | 1.00 | 2.00 | 4.00 | 8.00 | 1.00 | 2.00 | 4.00 | 8.00 | ||||||
| vandn.vx v8,v16,t0 | 1.06 | 1.06 | 1.06 | 1.06 | 2.00 | 4.00 | 8.00 | 1.06 | 1.06 | 1.06 | 2.00 | 4.00 | 8.00 | 1.06 | 1.06 | 2.00 | 4.00 | 8.00 | 1.06 | 2.00 | 4.00 | 8.00 | ||||||
| vandn.vx v8,v16,t0,v0.t | 1.06 | 1.06 | 1.06 | 1.06 | 2.00 | 4.00 | 8.00 | 1.06 | 1.06 | 1.06 | 2.00 | 4.00 | 8.00 | 1.06 | 1.06 | 2.00 | 4.00 | 8.00 | 1.06 | 2.00 | 4.00 | 8.00 | ||||||
| vbrev.v v8,v16 | 1.00 | 1.00 | 1.00 | 2.00 | 4.00 | 8.00 | 16.00 | 1.00 | 1.00 | 2.00 | 4.00 | 8.00 | 16.00 | 1.00 | 2.00 | 4.00 | 8.00 | 16.00 | 2.00 | 4.00 | 8.00 | 16.00 | ||||||
| vbrev.v v8,v16,v0.t | 1.00 | 1.00 | 1.00 | 2.00 | 4.00 | 8.00 | 16.00 | 1.00 | 1.00 | 2.00 | 4.00 | 8.00 | 16.00 | 1.00 | 2.00 | 4.00 | 8.00 | 16.00 | 2.00 | 4.00 | 8.00 | 16.00 | ||||||
| vbrev8.v v8,v16 | 1.00 | 1.00 | 1.00 | 2.00 | 4.00 | 8.00 | 16.00 | 1.00 | 1.00 | 2.00 | 4.00 | 8.00 | 16.00 | 1.00 | 2.00 | 4.00 | 8.00 | 16.00 | 2.00 | 4.00 | 8.00 | 16.00 | ||||||
| vbrev8.v v8,v16,v0.t | 1.00 | 1.00 | 1.00 | 2.00 | 4.00 | 8.00 | 16.00 | 1.00 | 1.00 | 2.00 | 4.00 | 8.00 | 16.00 | 1.00 | 2.00 | 4.00 | 8.00 | 16.00 | 2.00 | 4.00 | 8.00 | 16.00 | ||||||
| vclz.v v8,v16 | 1.00 | 1.00 | 1.00 | 2.00 | 4.00 | 8.00 | 16.00 | 1.00 | 1.00 | 2.00 | 4.00 | 8.00 | 16.00 | 1.00 | 2.00 | 4.00 | 8.00 | 16.00 | 2.00 | 4.00 | 8.00 | 16.00 | ||||||
| vclz.v v8,v16,v0.t | 1.00 | 1.00 | 1.00 | 2.00 | 4.00 | 8.00 | 16.00 | 1.00 | 1.00 | 2.00 | 4.00 | 8.00 | 16.00 | 1.00 | 2.00 | 4.00 | 8.00 | 16.00 | 2.00 | 4.00 | 8.00 | 16.00 | ||||||
| vctz.v v8,v16 | 1.00 | 1.00 | 1.00 | 2.00 | 4.00 | 8.00 | 16.00 | 1.00 | 1.00 | 2.00 | 4.00 | 8.00 | 16.00 | 1.00 | 2.00 | 4.00 | 8.00 | 16.00 | 2.00 | 4.00 | 8.00 | 16.00 | ||||||
| vctz.v v8,v16,v0.t | 1.00 | 1.00 | 1.00 | 2.00 | 4.00 | 8.00 | 16.00 | 1.00 | 1.00 | 2.00 | 4.00 | 8.00 | 16.00 | 1.00 | 2.00 | 4.00 | 8.00 | 16.00 | 2.00 | 4.00 | 8.00 | 16.00 | ||||||
| vcpop.v v8,v16 | 1.00 | 1.00 | 1.00 | 2.00 | 4.00 | 8.00 | 16.00 | 1.00 | 1.00 | 2.00 | 4.00 | 8.00 | 16.00 | 1.00 | 2.00 | 4.00 | 8.00 | 16.00 | 2.00 | 4.00 | 8.00 | 16.00 | ||||||
| vcpop.v v8,v16,v0.t | 1.00 | 1.00 | 1.00 | 2.00 | 4.00 | 8.00 | 16.00 | 1.00 | 1.00 | 2.00 | 4.00 | 8.00 | 16.00 | 1.00 | 2.00 | 4.00 | 8.00 | 16.00 | 2.00 | 4.00 | 8.00 | 16.00 | ||||||
| vrol.vv v8,v16,v24 | 1.00 | 1.00 | 1.00 | 2.00 | 4.00 | 8.00 | 16.00 | 1.00 | 1.00 | 2.00 | 4.00 | 8.00 | 16.00 | 1.00 | 2.00 | 4.00 | 8.00 | 16.00 | 2.00 | 4.00 | 8.00 | 16.00 | ||||||
| vrol.vv v8,v16,v24,v0.t | 1.00 | 1.00 | 1.00 | 2.00 | 4.00 | 8.00 | 16.00 | 1.00 | 1.00 | 2.00 | 4.00 | 8.00 | 16.00 | 1.00 | 2.00 | 4.00 | 8.00 | 16.00 | 2.00 | 4.00 | 8.00 | 16.00 | ||||||
| vrol.vx v8,v16,t0 | 1.06 | 1.06 | 1.06 | 2.00 | 4.00 | 8.00 | 16.00 | 1.06 | 1.06 | 2.00 | 4.00 | 8.00 | 16.00 | 1.06 | 2.00 | 4.00 | 8.00 | 16.00 | 2.00 | 4.00 | 8.00 | 16.00 | ||||||
| vrol.vx v8,v16,t0,v0.t | 1.06 | 1.06 | 1.06 | 2.00 | 4.00 | 8.00 | 16.00 | 1.06 | 1.06 | 2.00 | 4.00 | 8.00 | 16.00 | 1.06 | 2.00 | 4.00 | 8.00 | 16.00 | 2.00 | 4.00 | 8.00 | 16.00 | ||||||
| vror.vv v8,v16,v24 | 1.00 | 1.00 | 1.00 | 2.00 | 4.00 | 8.00 | 16.00 | 1.00 | 1.00 | 2.00 | 4.00 | 8.00 | 16.00 | 1.00 | 2.00 | 4.00 | 8.00 | 16.00 | 2.00 | 4.00 | 8.00 | 16.00 | ||||||
| vror.vv v8,v16,v24,v0.t | 1.00 | 1.00 | 1.00 | 2.00 | 4.00 | 8.00 | 16.00 | 1.00 | 1.00 | 2.00 | 4.00 | 8.00 | 16.00 | 1.00 | 2.00 | 4.00 | 8.00 | 16.00 | 2.00 | 4.00 | 8.00 | 16.00 | ||||||
| vror.vx v8,v16,t0 | 1.06 | 1.06 | 1.06 | 2.00 | 4.00 | 8.00 | 16.00 | 1.06 | 1.06 | 2.00 | 4.00 | 8.00 | 16.00 | 1.06 | 2.00 | 4.00 | 8.00 | 16.00 | 2.00 | 4.00 | 8.00 | 16.00 | ||||||
| vror.vx v8,v16,t0,v0.t | 1.06 | 1.06 | 1.06 | 2.00 | 4.00 | 8.00 | 16.00 | 1.06 | 1.06 | 2.00 | 4.00 | 8.00 | 16.00 | 1.06 | 2.00 | 4.00 | 8.00 | 16.00 | 2.00 | 4.00 | 8.00 | 16.00 | ||||||
| vwsll.vv v8,v16,v24 | 1.00 | 1.00 | 2.00 | 4.00 | 8.00 | 16.00 | 1.00 | 2.00 | 4.00 | 8.00 | 16.00 | 2.00 | 4.00 | 8.00 | 16.00 | |||||||||||||
| vwsll.vv v8,v16,v24,v0.t | 1.00 | 1.00 | 2.00 | 4.00 | 8.00 | 16.00 | 1.00 | 2.00 | 4.00 | 8.00 | 16.00 | 2.00 | 4.00 | 8.00 | 16.00 | |||||||||||||
| vwsll.vx v8,v16,t0 | 1.06 | 1.06 | 2.00 | 4.00 | 8.00 | 16.00 | 1.06 | 2.00 | 4.00 | 8.00 | 16.00 | 2.00 | 4.00 | 8.00 | 16.00 | |||||||||||||
| vwsll.vx v8,v16,t0,v0.t | 1.06 | 1.06 | 2.00 | 4.00 | 8.00 | 16.00 | 1.06 | 2.00 | 4.00 | 8.00 | 16.00 | 2.00 | 4.00 | 8.00 | 16.00 | |||||||||||||
| vclmul.vv v8,v16,v24 | 2.00 | 4.00 | 8.00 | 16.00 | ||||||||||||||||||||||||
| vclmul.vv v8,v16,v24,v0.t | 2.00 | 4.00 | 8.00 | 16.00 | ||||||||||||||||||||||||
| vclmul.vx v8,v16,t0 | 2.00 | 4.00 | 8.00 | 16.00 | ||||||||||||||||||||||||
| vclmul.vx v8,v16,t0,v0.t | 2.00 | 4.00 | 8.00 | 16.00 | ||||||||||||||||||||||||
| vclmulh.vv v8,v16,v24 | 2.00 | 4.00 | 8.00 | 16.00 | ||||||||||||||||||||||||
| vclmulh.vv v8,v16,v24,v0.t | 2.00 | 4.00 | 8.00 | 16.00 | ||||||||||||||||||||||||
| vclmulh.vx v8,v16,t0 | 2.00 | 4.00 | 8.00 | 16.00 | ||||||||||||||||||||||||
| vclmulh.vx v8,v16,t0,v0.t | 2.00 | 4.00 | 8.00 | 16.00 | ||||||||||||||||||||||||
| vghsh.vv v8,v16,v24 | 2.00 | 4.00 | 8.00 | 16.00 | ||||||||||||||||||||||||
| vgmul.vv v8,v16 | 2.00 | 4.00 | 8.00 | 16.00 |
| instruction | e8mf8 | e8mf4 | e8mf2 | e8m1 | e8m2 | e8m4 | e8m8 | e16mf8 | e16mf4 | e16mf2 | e16m1 | e16m2 | e16m4 | e16m8 | e32mf8 | e32mf4 | e32mf2 | e32m1 | e32m2 | e32m4 | e32m8 | e64mf8 | e64mf4 | e64mf2 | e64m1 | e64m2 | e64m4 | e64m8 |
|---|---|---|---|---|---|---|---|---|---|---|---|---|---|---|---|---|---|---|---|---|---|---|---|---|---|---|---|---|
| add t0,t1,t2 | 0.47 | 0.47 | 0.47 | 0.47 | 0.40 | 0.34 | 0.34 | 0.47 | 0.47 | 0.47 | 0.40 | 0.34 | 0.34 | 0.47 | 0.47 | 0.40 | 0.34 | 0.34 | 0.47 | 0.40 | 0.34 | 0.34 | ||||||
| mul t0,t1,t2 | 1.50 | 1.50 | 1.50 | 1.50 | 1.50 | 1.00 | 1.00 | 1.50 | 1.50 | 1.50 | 1.50 | 1.00 | 1.00 | 1.50 | 1.50 | 1.50 | 1.00 | 1.00 | 1.50 | 1.50 | 1.00 | 1.00 | ||||||
| vadd.vv v8,v16,v24 | 1.00 | 1.00 | 1.00 | 1.00 | 2.00 | 4.00 | 8.00 | 1.00 | 1.00 | 1.00 | 2.00 | 4.00 | 8.00 | 1.00 | 1.00 | 2.00 | 4.00 | 8.00 | 1.00 | 2.00 | 4.00 | 8.00 | ||||||
| vadd.vv v8,v16,v24,v0.t | 1.00 | 1.00 | 1.00 | 1.00 | 2.00 | 4.00 | 8.00 | 1.00 | 1.00 | 1.00 | 2.00 | 4.00 | 8.00 | 1.00 | 1.00 | 2.00 | 4.00 | 8.00 | 1.00 | 2.00 | 4.00 | 8.00 | ||||||
| vadd.vx v8,v16,t0 | 1.06 | 1.06 | 1.06 | 1.06 | 2.00 | 4.00 | 8.00 | 1.06 | 1.06 | 1.06 | 2.00 | 4.00 | 8.00 | 1.06 | 1.06 | 2.00 | 4.00 | 8.00 | 1.06 | 2.00 | 4.00 | 8.00 | ||||||
| vadd.vx v8,v16,t0,v0.t | 1.06 | 1.06 | 1.06 | 1.06 | 2.00 | 4.00 | 8.00 | 1.06 | 1.06 | 1.06 | 2.00 | 4.00 | 8.00 | 1.06 | 1.06 | 2.00 | 4.00 | 8.00 | 1.06 | 2.00 | 4.00 | 8.00 | ||||||
| vadd.vi v8,v16,13 | 1.00 | 1.00 | 1.00 | 1.00 | 2.00 | 4.00 | 8.00 | 1.00 | 1.00 | 1.00 | 2.00 | 4.00 | 8.00 | 1.00 | 1.00 | 2.00 | 4.00 | 8.00 | 1.00 | 2.00 | 4.00 | 8.00 | ||||||
| vadd.vi v8,v16,13,v0.t | 1.00 | 1.00 | 1.00 | 1.00 | 2.00 | 4.00 | 8.00 | 1.00 | 1.00 | 1.00 | 2.00 | 4.00 | 8.00 | 1.00 | 1.00 | 2.00 | 4.00 | 8.00 | 1.00 | 2.00 | 4.00 | 8.00 | ||||||
| vsub.vv v8,v16,v24 | 1.00 | 1.00 | 1.00 | 1.00 | 2.00 | 4.00 | 8.00 | 1.00 | 1.00 | 1.00 | 2.00 | 4.00 | 8.00 | 1.00 | 1.00 | 2.00 | 4.00 | 8.00 | 1.00 | 2.00 | 4.00 | 8.00 | ||||||
| vsub.vv v8,v16,v24,v0.t | 1.00 | 1.00 | 1.00 | 1.00 | 2.00 | 4.00 | 8.00 | 1.00 | 1.00 | 1.00 | 2.00 | 4.00 | 8.00 | 1.00 | 1.00 | 2.00 | 4.00 | 8.00 | 1.00 | 2.00 | 4.00 | 8.00 | ||||||
| vsub.vx v8,v16,t0 | 1.06 | 1.06 | 1.06 | 1.06 | 2.00 | 4.00 | 8.00 | 1.06 | 1.06 | 1.06 | 2.00 | 4.00 | 8.00 | 1.06 | 1.06 | 2.00 | 4.00 | 8.00 | 1.06 | 2.00 | 4.00 | 8.00 | ||||||
| vsub.vx v8,v16,t0,v0.t | 1.06 | 1.06 | 1.06 | 1.06 | 2.00 | 4.00 | 8.00 | 1.06 | 1.06 | 1.06 | 2.00 | 4.00 | 8.00 | 1.06 | 1.06 | 2.00 | 4.00 | 8.00 | 1.06 | 2.00 | 4.00 | 8.00 | ||||||
| vrsub.vx v8,v16,t0 | 1.06 | 1.06 | 1.06 | 1.06 | 2.00 | 4.00 | 8.00 | 1.06 | 1.06 | 1.06 | 2.00 | 4.00 | 8.00 | 1.06 | 1.06 | 2.00 | 4.00 | 8.00 | 1.06 | 2.00 | 4.00 | 8.00 | ||||||
| vrsub.vx v8,v16,t0,v0.t | 1.06 | 1.06 | 1.06 | 1.06 | 2.00 | 4.00 | 8.00 | 1.06 | 1.06 | 1.06 | 2.00 | 4.00 | 8.00 | 1.06 | 1.06 | 2.00 | 4.00 | 8.00 | 1.06 | 2.00 | 4.00 | 8.00 | ||||||
| vrsub.vi v8,v16,13 | 1.00 | 1.00 | 1.00 | 1.00 | 2.00 | 4.00 | 8.00 | 1.00 | 1.00 | 1.00 | 2.00 | 4.00 | 8.00 | 1.00 | 1.00 | 2.00 | 4.00 | 8.00 | 1.00 | 2.00 | 4.00 | 8.00 | ||||||
| vrsub.vi v8,v16,13,v0.t | 1.00 | 1.00 | 1.00 | 1.00 | 2.00 | 4.00 | 8.00 | 1.00 | 1.00 | 1.00 | 2.00 | 4.00 | 8.00 | 1.00 | 1.00 | 2.00 | 4.00 | 8.00 | 1.00 | 2.00 | 4.00 | 8.00 | ||||||
| vminu.vv v8,v16,v24 | 1.00 | 1.00 | 1.00 | 1.00 | 2.00 | 4.00 | 8.00 | 1.00 | 1.00 | 1.00 | 2.00 | 4.00 | 8.00 | 1.00 | 1.00 | 2.00 | 4.00 | 8.00 | 1.00 | 2.00 | 4.00 | 8.00 | ||||||
| vminu.vv v8,v16,v24,v0.t | 1.00 | 1.00 | 1.00 | 1.00 | 2.00 | 4.00 | 8.00 | 1.00 | 1.00 | 1.00 | 2.00 | 4.00 | 8.00 | 1.00 | 1.00 | 2.00 | 4.00 | 8.00 | 1.00 | 2.00 | 4.00 | 8.00 | ||||||
| vminu.vx v8,v16,t0 | 1.06 | 1.06 | 1.06 | 1.06 | 2.00 | 4.00 | 8.00 | 1.06 | 1.06 | 1.06 | 2.00 | 4.00 | 8.00 | 1.06 | 1.06 | 2.00 | 4.00 | 8.00 | 1.06 | 2.00 | 4.00 | 8.00 | ||||||
| vminu.vx v8,v16,t0,v0.t | 1.06 | 1.06 | 1.06 | 1.06 | 2.00 | 4.00 | 8.00 | 1.06 | 1.06 | 1.06 | 2.00 | 4.00 | 8.00 | 1.06 | 1.06 | 2.00 | 4.00 | 8.00 | 1.06 | 2.00 | 4.00 | 8.00 | ||||||
| vmin.vv v8,v16,v24 | 1.00 | 1.00 | 1.00 | 1.00 | 2.00 | 4.00 | 8.00 | 1.00 | 1.00 | 1.00 | 2.00 | 4.00 | 8.00 | 1.00 | 1.00 | 2.00 | 4.00 | 8.00 | 1.00 | 2.00 | 4.00 | 8.00 | ||||||
| vmin.vv v8,v16,v24,v0.t | 1.00 | 1.00 | 1.00 | 1.00 | 2.00 | 4.00 | 8.00 | 1.00 | 1.00 | 1.00 | 2.00 | 4.00 | 8.00 | 1.00 | 1.00 | 2.00 | 4.00 | 8.00 | 1.00 | 2.00 | 4.00 | 8.00 | ||||||
| vmin.vx v8,v16,t0 | 1.06 | 1.06 | 1.06 | 1.06 | 2.00 | 4.00 | 8.00 | 1.06 | 1.06 | 1.06 | 2.00 | 4.00 | 8.00 | 1.06 | 1.06 | 2.00 | 4.00 | 8.00 | 1.06 | 2.00 | 4.00 | 8.00 | ||||||
| vmin.vx v8,v16,t0,v0.t | 1.06 | 1.06 | 1.06 | 1.06 | 2.00 | 4.00 | 8.00 | 1.06 | 1.06 | 1.06 | 2.00 | 4.00 | 8.00 | 1.06 | 1.06 | 2.00 | 4.00 | 8.00 | 1.06 | 2.00 | 4.00 | 8.00 | ||||||
| vmaxu.vv v8,v16,v24 | 1.00 | 1.00 | 1.00 | 1.00 | 2.00 | 4.00 | 8.00 | 1.00 | 1.00 | 1.00 | 2.00 | 4.00 | 8.00 | 1.00 | 1.00 | 2.00 | 4.00 | 8.00 | 1.00 | 2.00 | 4.00 | 8.00 | ||||||
| vmaxu.vv v8,v16,v24,v0.t | 1.00 | 1.00 | 1.00 | 1.00 | 2.00 | 4.00 | 8.00 | 1.00 | 1.00 | 1.00 | 2.00 | 4.00 | 8.00 | 1.00 | 1.00 | 2.00 | 4.00 | 8.00 | 1.00 | 2.00 | 4.00 | 8.00 | ||||||
| vmaxu.vx v8,v16,t0 | 1.06 | 1.06 | 1.06 | 1.06 | 2.00 | 4.00 | 8.00 | 1.06 | 1.06 | 1.06 | 2.00 | 4.00 | 8.00 | 1.06 | 1.06 | 2.00 | 4.00 | 8.00 | 1.06 | 2.00 | 4.00 | 8.00 | ||||||
| vmaxu.vx v8,v16,t0,v0.t | 1.06 | 1.06 | 1.06 | 1.06 | 2.00 | 4.00 | 8.00 | 1.06 | 1.06 | 1.06 | 2.00 | 4.00 | 8.00 | 1.06 | 1.06 | 2.00 | 4.00 | 8.00 | 1.06 | 2.00 | 4.00 | 8.00 | ||||||
| vmax.vv v8,v16,v24 | 1.00 | 1.00 | 1.00 | 1.00 | 2.00 | 4.00 | 8.00 | 1.00 | 1.00 | 1.00 | 2.00 | 4.00 | 8.00 | 1.00 | 1.00 | 2.00 | 4.00 | 8.00 | 1.00 | 2.00 | 4.00 | 8.00 | ||||||
| vmax.vv v8,v16,v24,v0.t | 1.00 | 1.00 | 1.00 | 1.00 | 2.00 | 4.00 | 8.00 | 1.00 | 1.00 | 1.00 | 2.00 | 4.00 | 8.00 | 1.00 | 1.00 | 2.00 | 4.00 | 8.00 | 1.00 | 2.00 | 4.00 | 8.00 | ||||||
| vmax.vx v8,v16,t0 | 1.06 | 1.06 | 1.06 | 1.06 | 2.00 | 4.00 | 8.00 | 1.06 | 1.06 | 1.06 | 2.00 | 4.00 | 8.00 | 1.06 | 1.06 | 2.00 | 4.00 | 8.00 | 1.06 | 2.00 | 4.00 | 8.00 | ||||||
| vmax.vx v8,v16,t0,v0.t | 1.06 | 1.06 | 1.06 | 1.06 | 2.00 | 4.00 | 8.00 | 1.06 | 1.06 | 1.06 | 2.00 | 4.00 | 8.00 | 1.06 | 1.06 | 2.00 | 4.00 | 8.00 | 1.06 | 2.00 | 4.00 | 8.00 | ||||||
| vand.vv v8,v16,v24 | 1.00 | 1.00 | 1.00 | 1.00 | 2.00 | 4.00 | 8.00 | 1.00 | 1.00 | 1.00 | 2.00 | 4.00 | 8.00 | 1.00 | 1.00 | 2.00 | 4.00 | 8.00 | 1.00 | 2.00 | 4.00 | 8.00 | ||||||
| vand.vv v8,v16,v24,v0.t | 1.00 | 1.00 | 1.00 | 1.00 | 2.00 | 4.00 | 8.00 | 1.00 | 1.00 | 1.00 | 2.00 | 4.00 | 8.00 | 1.00 | 1.00 | 2.00 | 4.00 | 8.00 | 1.00 | 2.00 | 4.00 | 8.00 | ||||||
| vand.vx v8,v16,t0 | 1.06 | 1.06 | 1.06 | 1.06 | 2.00 | 4.00 | 8.00 | 1.06 | 1.06 | 1.06 | 2.00 | 4.00 | 8.00 | 1.06 | 1.06 | 2.00 | 4.00 | 8.00 | 1.06 | 2.00 | 4.00 | 8.00 | ||||||
| vand.vx v8,v16,t0,v0.t | 1.06 | 1.06 | 1.06 | 1.06 | 2.00 | 4.00 | 8.00 | 1.06 | 1.06 | 1.06 | 2.00 | 4.00 | 8.00 | 1.06 | 1.06 | 2.00 | 4.00 | 8.00 | 1.06 | 2.00 | 4.00 | 8.00 | ||||||
| vand.vi v8,v16,13 | 1.00 | 1.00 | 1.00 | 1.00 | 2.00 | 4.00 | 8.00 | 1.00 | 1.00 | 1.00 | 2.00 | 4.00 | 8.00 | 1.00 | 1.00 | 2.00 | 4.00 | 8.00 | 1.00 | 2.00 | 4.00 | 8.00 | ||||||
| vand.vi v8,v16,13,v0.t | 1.00 | 1.00 | 1.00 | 1.00 | 2.00 | 4.00 | 8.00 | 1.00 | 1.00 | 1.00 | 2.00 | 4.00 | 8.00 | 1.00 | 1.00 | 2.00 | 4.00 | 8.00 | 1.00 | 2.00 | 4.00 | 8.00 | ||||||
| vor.vv v8,v16,v24 | 1.00 | 1.00 | 1.00 | 1.00 | 2.00 | 4.00 | 8.00 | 1.00 | 1.00 | 1.00 | 2.00 | 4.00 | 8.00 | 1.00 | 1.00 | 2.00 | 4.00 | 8.00 | 1.00 | 2.00 | 4.00 | 8.00 | ||||||
| vor.vv v8,v16,v24,v0.t | 1.00 | 1.00 | 1.00 | 1.00 | 2.00 | 4.00 | 8.00 | 1.00 | 1.00 | 1.00 | 2.00 | 4.00 | 8.00 | 1.00 | 1.00 | 2.00 | 4.00 | 8.00 | 1.00 | 2.00 | 4.00 | 8.00 | ||||||
| vor.vx v8,v16,t0 | 1.06 | 1.06 | 1.06 | 1.06 | 2.00 | 4.00 | 8.00 | 1.06 | 1.06 | 1.06 | 2.00 | 4.00 | 8.00 | 1.06 | 1.06 | 2.00 | 4.00 | 8.00 | 1.06 | 2.00 | 4.00 | 8.00 | ||||||
| vor.vx v8,v16,t0,v0.t | 1.06 | 1.06 | 1.06 | 1.06 | 2.00 | 4.00 | 8.00 | 1.06 | 1.06 | 1.06 | 2.00 | 4.00 | 8.00 | 1.06 | 1.06 | 2.00 | 4.00 | 8.00 | 1.06 | 2.00 | 4.00 | 8.00 | ||||||
| vor.vi v8,v16,13 | 1.00 | 1.00 | 1.00 | 1.00 | 2.00 | 4.00 | 8.00 | 1.00 | 1.00 | 1.00 | 2.00 | 4.00 | 8.00 | 1.00 | 1.00 | 2.00 | 4.00 | 8.00 | 1.00 | 2.00 | 4.00 | 8.00 | ||||||
| vor.vi v8,v16,13,v0.t | 1.00 | 1.00 | 1.00 | 1.00 | 2.00 | 4.00 | 8.00 | 1.00 | 1.00 | 1.00 | 2.00 | 4.00 | 8.00 | 1.00 | 1.00 | 2.00 | 4.00 | 8.00 | 1.00 | 2.00 | 4.00 | 8.00 | ||||||
| vxor.vv v8,v16,v24 | 1.00 | 1.00 | 1.00 | 1.00 | 2.00 | 4.00 | 8.00 | 1.00 | 1.00 | 1.00 | 2.00 | 4.00 | 8.00 | 1.00 | 1.00 | 2.00 | 4.00 | 8.00 | 1.00 | 2.00 | 4.00 | 8.00 | ||||||
| vxor.vv v8,v16,v24,v0.t | 1.00 | 1.00 | 1.00 | 1.00 | 2.00 | 4.00 | 8.00 | 1.00 | 1.00 | 1.00 | 2.00 | 4.00 | 8.00 | 1.00 | 1.00 | 2.00 | 4.00 | 8.00 | 1.00 | 2.00 | 4.00 | 8.00 | ||||||
| vxor.vx v8,v16,t0 | 1.06 | 1.06 | 1.06 | 1.06 | 2.00 | 4.00 | 8.00 | 1.06 | 1.06 | 1.06 | 2.00 | 4.00 | 8.00 | 1.06 | 1.06 | 2.00 | 4.00 | 8.00 | 1.06 | 2.00 | 4.00 | 8.00 | ||||||
| vxor.vx v8,v16,t0,v0.t | 1.06 | 1.06 | 1.06 | 1.06 | 2.00 | 4.00 | 8.00 | 1.06 | 1.06 | 1.06 | 2.00 | 4.00 | 8.00 | 1.06 | 1.06 | 2.00 | 4.00 | 8.00 | 1.06 | 2.00 | 4.00 | 8.00 | ||||||
| vxor.vi v8,v16,13 | 1.00 | 1.00 | 1.00 | 1.00 | 2.00 | 4.00 | 8.00 | 1.00 | 1.00 | 1.00 | 2.00 | 4.00 | 8.00 | 1.00 | 1.00 | 2.00 | 4.00 | 8.00 | 1.00 | 2.00 | 4.00 | 8.00 | ||||||
| vxor.vi v8,v16,13,v0.t | 1.00 | 1.00 | 1.00 | 1.00 | 2.00 | 4.00 | 8.00 | 1.00 | 1.00 | 1.00 | 2.00 | 4.00 | 8.00 | 1.00 | 1.00 | 2.00 | 4.00 | 8.00 | 1.00 | 2.00 | 4.00 | 8.00 | ||||||
| vrgather.vv v8,v16,v24 | 1.00 | 1.00 | 1.00 | 2.00 | 8.00 | 32.00 | 127.96 | 1.00 | 1.00 | 2.00 | 8.00 | 32.00 | 127.96 | 1.00 | 2.00 | 8.00 | 32.00 | 127.96 | 2.00 | 8.00 | 32.00 | 127.96 | ||||||
| vrgather.vv v8,v16,v24,v0.t | 1.00 | 1.00 | 1.00 | 2.00 | 8.00 | 32.00 | 127.96 | 1.00 | 1.00 | 2.00 | 8.00 | 32.00 | 127.96 | 1.00 | 2.00 | 8.00 | 32.00 | 127.96 | 2.00 | 8.00 | 32.00 | 127.96 | ||||||
| vrgather.vx v8,v16,t0 | 1.32 | 1.32 | 1.32 | 2.07 | 4.00 | 8.00 | 16.00 | 1.32 | 1.32 | 2.07 | 4.00 | 8.00 | 16.00 | 1.32 | 2.07 | 4.00 | 8.00 | 16.00 | 2.07 | 4.00 | 8.00 | 16.00 | ||||||
| vrgather.vx v8,v16,t0,v0.t | 1.32 | 1.32 | 1.32 | 2.07 | 4.00 | 8.00 | 16.00 | 1.32 | 1.32 | 2.07 | 4.00 | 8.00 | 16.00 | 1.32 | 2.07 | 4.00 | 8.00 | 16.00 | 2.07 | 4.00 | 8.00 | 16.00 | ||||||
| vrgather.vi v8,v16,3 | 1.00 | 1.00 | 1.00 | 2.00 | 4.00 | 8.00 | 16.00 | 1.00 | 1.00 | 2.00 | 4.00 | 8.00 | 16.00 | 1.00 | 2.00 | 4.00 | 8.00 | 16.00 | 2.00 | 4.00 | 8.00 | 16.00 | ||||||
| vrgather.vi v8,v16,3,v0.t | 1.00 | 1.00 | 1.00 | 2.00 | 4.00 | 8.00 | 16.00 | 1.00 | 1.00 | 2.00 | 4.00 | 8.00 | 16.00 | 1.00 | 2.00 | 4.00 | 8.00 | 16.00 | 2.00 | 4.00 | 8.00 | 16.00 | ||||||
| vslideup.vx v8,v16,t0 | 1.06 | 1.06 | 1.06 | 2.00 | 4.00 | 8.00 | 16.00 | 1.06 | 1.06 | 2.00 | 4.00 | 8.00 | 16.00 | 1.06 | 2.00 | 4.00 | 8.00 | 16.00 | 2.00 | 4.00 | 8.00 | 16.00 | ||||||
| vslideup.vx v8,v16,t0,v0.t | 1.06 | 1.06 | 1.06 | 2.00 | 4.00 | 8.00 | 16.00 | 1.06 | 1.06 | 2.00 | 4.00 | 8.00 | 16.00 | 1.06 | 2.00 | 4.00 | 8.00 | 16.00 | 2.00 | 4.00 | 8.00 | 16.00 | ||||||
| vslideup.vi v8,v16,3 | 1.00 | 1.00 | 1.00 | 2.00 | 4.00 | 8.00 | 16.00 | 1.00 | 1.00 | 2.00 | 4.00 | 8.00 | 16.00 | 1.00 | 2.00 | 4.00 | 8.00 | 16.00 | 2.00 | 4.00 | 8.00 | 16.00 | ||||||
| vslideup.vi v8,v16,3,v0.t | 1.00 | 1.00 | 1.00 | 2.00 | 4.00 | 8.00 | 16.00 | 1.00 | 1.00 | 2.00 | 4.00 | 8.00 | 16.00 | 1.00 | 2.00 | 4.00 | 8.00 | 16.00 | 2.00 | 4.00 | 8.00 | 16.00 | ||||||
| vrgatherei16.vv v8,v16,v24 | 1.00 | 1.00 | 2.00 | 4.00 | 16.00 | 63.99 | 1.00 | 1.00 | 2.00 | 8.00 | 32.00 | 127.96 | 1.00 | 2.00 | 8.00 | 32.00 | 127.96 | 2.00 | 8.00 | 32.00 | 127.96 | |||||||
| vrgatherei16.vv v8,v16,v24,v0.t | 1.00 | 1.00 | 2.00 | 4.00 | 16.00 | 63.99 | 1.00 | 1.00 | 2.00 | 8.00 | 32.00 | 127.96 | 1.00 | 2.00 | 8.00 | 32.00 | 127.96 | 2.00 | 8.00 | 32.00 | 127.96 | |||||||
| vslidedown.vx v8,v16,t0 | 1.32 | 1.32 | 1.32 | 3.00 | 5.00 | 9.00 | 17.00 | 1.32 | 1.32 | 3.00 | 5.00 | 9.00 | 17.00 | 1.32 | 3.00 | 5.00 | 9.00 | 17.00 | 3.00 | 5.00 | 9.00 | 17.00 | ||||||
| vslidedown.vx v8,v16,t0,v0.t | 1.32 | 1.32 | 1.32 | 3.00 | 5.00 | 9.00 | 17.00 | 1.32 | 1.32 | 3.00 | 5.00 | 9.00 | 17.00 | 1.32 | 3.00 | 5.00 | 9.00 | 17.00 | 3.00 | 5.00 | 9.00 | 17.00 | ||||||
| vslidedown.vi v8,v16,3 | 1.00 | 1.00 | 1.00 | 3.00 | 5.00 | 9.00 | 17.00 | 1.00 | 1.00 | 3.00 | 5.00 | 9.00 | 17.00 | 1.00 | 3.00 | 5.00 | 9.00 | 17.00 | 3.00 | 5.00 | 9.00 | 17.00 | ||||||
| vslidedown.vi v8,v16,3,v0.t | 1.00 | 1.00 | 1.00 | 3.00 | 5.00 | 9.00 | 17.00 | 1.00 | 1.00 | 3.00 | 5.00 | 9.00 | 17.00 | 1.00 | 3.00 | 5.00 | 9.00 | 17.00 | 3.00 | 5.00 | 9.00 | 17.00 | ||||||
| vredsum.vs v8,v16,v24 | 1.00 | 1.00 | 1.00 | 1.00 | 2.00 | 5.50 | 19.00 | 1.00 | 1.00 | 1.00 | 2.00 | 5.50 | 19.00 | 1.00 | 1.00 | 2.00 | 5.50 | 19.00 | 1.00 | 2.00 | 5.50 | 19.00 | ||||||
| vredsum.vs v8,v16,v24,v0.t | 1.00 | 1.00 | 1.00 | 1.00 | 2.00 | 5.50 | 19.00 | 1.00 | 1.00 | 1.00 | 2.00 | 5.50 | 19.00 | 1.00 | 1.00 | 2.00 | 5.50 | 19.00 | 1.00 | 2.00 | 5.50 | 19.00 | ||||||
| vredand.vs v8,v16,v24 | 1.00 | 1.00 | 1.00 | 1.00 | 2.00 | 5.00 | 18.00 | 1.00 | 1.00 | 1.00 | 2.00 | 5.00 | 18.00 | 1.00 | 1.00 | 2.00 | 5.00 | 18.00 | 1.00 | 2.00 | 5.00 | 18.00 | ||||||
| vredand.vs v8,v16,v24,v0.t | 1.00 | 1.00 | 1.00 | 1.00 | 2.00 | 5.00 | 18.00 | 1.00 | 1.00 | 1.00 | 2.00 | 5.00 | 18.00 | 1.00 | 1.00 | 2.00 | 5.00 | 18.00 | 1.00 | 2.00 | 5.00 | 18.00 | ||||||
| vredor.vs v8,v16,v24 | 1.00 | 1.00 | 1.00 | 1.00 | 2.00 | 5.00 | 18.00 | 1.00 | 1.00 | 1.00 | 2.00 | 5.00 | 18.00 | 1.00 | 1.00 | 2.00 | 5.00 | 18.00 | 1.00 | 2.00 | 5.00 | 18.00 | ||||||
| vredor.vs v8,v16,v24,v0.t | 1.00 | 1.00 | 1.00 | 1.00 | 2.00 | 5.00 | 18.00 | 1.00 | 1.00 | 1.00 | 2.00 | 5.00 | 18.00 | 1.00 | 1.00 | 2.00 | 5.00 | 18.00 | 1.00 | 2.00 | 5.00 | 18.00 | ||||||
| vredxor.vs v8,v16,v24 | 1.00 | 1.00 | 1.00 | 1.00 | 2.00 | 5.00 | 18.00 | 1.00 | 1.00 | 1.00 | 2.00 | 5.00 | 18.00 | 1.00 | 1.00 | 2.00 | 5.00 | 18.00 | 1.00 | 2.00 | 5.00 | 18.00 | ||||||
| vredxor.vs v8,v16,v24,v0.t | 1.00 | 1.00 | 1.00 | 1.00 | 2.00 | 5.00 | 18.00 | 1.00 | 1.00 | 1.00 | 2.00 | 5.00 | 18.00 | 1.00 | 1.00 | 2.00 | 5.00 | 18.00 | 1.00 | 2.00 | 5.00 | 18.00 | ||||||
| vredminu.vs v8,v16,v24 | 1.00 | 1.00 | 1.00 | 1.00 | 2.00 | 5.50 | 19.00 | 1.00 | 1.00 | 1.00 | 2.00 | 5.50 | 19.00 | 1.00 | 1.00 | 2.00 | 5.50 | 19.00 | 1.00 | 2.00 | 5.50 | 19.00 | ||||||
| vredminu.vs v8,v16,v24,v0.t | 1.00 | 1.00 | 1.00 | 1.00 | 2.00 | 5.50 | 19.00 | 1.00 | 1.00 | 1.00 | 2.00 | 5.50 | 19.00 | 1.00 | 1.00 | 2.00 | 5.50 | 19.00 | 1.00 | 2.00 | 5.50 | 19.00 | ||||||
| vredmin.vs v8,v16,v24 | 1.00 | 1.00 | 1.00 | 1.00 | 2.00 | 5.50 | 19.00 | 1.00 | 1.00 | 1.00 | 2.00 | 5.50 | 19.00 | 1.00 | 1.00 | 2.00 | 5.50 | 19.00 | 1.00 | 2.00 | 5.50 | 19.00 | ||||||
| vredmin.vs v8,v16,v24,v0.t | 1.00 | 1.00 | 1.00 | 1.00 | 2.00 | 5.50 | 19.00 | 1.00 | 1.00 | 1.00 | 2.00 | 5.50 | 19.00 | 1.00 | 1.00 | 2.00 | 5.50 | 19.00 | 1.00 | 2.00 | 5.50 | 19.00 | ||||||
| vredmaxu.vs v8,v16,v24 | 1.00 | 1.00 | 1.00 | 1.00 | 2.00 | 5.50 | 19.00 | 1.00 | 1.00 | 1.00 | 2.00 | 5.50 | 19.00 | 1.00 | 1.00 | 2.00 | 5.50 | 19.00 | 1.00 | 2.00 | 5.50 | 19.00 | ||||||
| vredmaxu.vs v8,v16,v24,v0.t | 1.00 | 1.00 | 1.00 | 1.00 | 2.00 | 5.50 | 19.00 | 1.00 | 1.00 | 1.00 | 2.00 | 5.50 | 19.00 | 1.00 | 1.00 | 2.00 | 5.50 | 19.00 | 1.00 | 2.00 | 5.50 | 19.00 | ||||||
| vredmax.vs v8,v16,v24 | 1.00 | 1.00 | 1.00 | 1.00 | 2.00 | 5.50 | 19.00 | 1.00 | 1.00 | 1.00 | 2.00 | 5.50 | 19.00 | 1.00 | 1.00 | 2.00 | 5.50 | 19.00 | 1.00 | 2.00 | 5.50 | 19.00 | ||||||
| vredmax.vs v8,v16,v24,v0.t | 1.00 | 1.00 | 1.00 | 1.00 | 2.00 | 5.50 | 19.00 | 1.00 | 1.00 | 1.00 | 2.00 | 5.50 | 19.00 | 1.00 | 1.00 | 2.00 | 5.50 | 19.00 | 1.00 | 2.00 | 5.50 | 19.00 | ||||||
| vaaddu.vv v8,v16,v24 | 1.00 | 1.00 | 1.00 | 1.00 | 2.00 | 4.00 | 8.00 | 1.00 | 1.00 | 1.00 | 2.00 | 4.00 | 8.00 | 1.00 | 1.00 | 2.00 | 4.00 | 8.00 | 1.00 | 2.00 | 4.00 | 8.00 | ||||||
| vaaddu.vv v8,v16,v24,v0.t | 1.00 | 1.00 | 1.00 | 1.00 | 2.00 | 4.00 | 8.00 | 1.00 | 1.00 | 1.00 | 2.00 | 4.00 | 8.00 | 1.00 | 1.00 | 2.00 | 4.00 | 8.00 | 1.00 | 2.00 | 4.00 | 8.00 | ||||||
| vaaddu.vx v8,v16,t0 | 1.06 | 1.06 | 1.06 | 1.06 | 2.00 | 4.00 | 8.00 | 1.06 | 1.06 | 1.06 | 2.00 | 4.00 | 8.00 | 1.06 | 1.06 | 2.00 | 4.00 | 8.00 | 1.06 | 2.00 | 4.00 | 8.00 | ||||||
| vaaddu.vx v8,v16,t0,v0.t | 1.06 | 1.06 | 1.06 | 1.06 | 2.00 | 4.00 | 8.00 | 1.06 | 1.06 | 1.06 | 2.00 | 4.00 | 8.00 | 1.06 | 1.06 | 2.00 | 4.00 | 8.00 | 1.06 | 2.00 | 4.00 | 8.00 | ||||||
| vaadd.vv v8,v16,v24 | 1.00 | 1.00 | 1.00 | 1.00 | 2.00 | 4.00 | 8.00 | 1.00 | 1.00 | 1.00 | 2.00 | 4.00 | 8.00 | 1.00 | 1.00 | 2.00 | 4.00 | 8.00 | 1.00 | 2.00 | 4.00 | 8.00 | ||||||
| vaadd.vv v8,v16,v24,v0.t | 1.00 | 1.00 | 1.00 | 1.00 | 2.00 | 4.00 | 8.00 | 1.00 | 1.00 | 1.00 | 2.00 | 4.00 | 8.00 | 1.00 | 1.00 | 2.00 | 4.00 | 8.00 | 1.00 | 2.00 | 4.00 | 8.00 | ||||||
| vaadd.vx v8,v16,t0 | 1.06 | 1.06 | 1.06 | 1.06 | 2.00 | 4.00 | 8.00 | 1.06 | 1.06 | 1.06 | 2.00 | 4.00 | 8.00 | 1.06 | 1.06 | 2.00 | 4.00 | 8.00 | 1.06 | 2.00 | 4.00 | 8.00 | ||||||
| vaadd.vx v8,v16,t0,v0.t | 1.06 | 1.06 | 1.06 | 1.06 | 2.00 | 4.00 | 8.00 | 1.06 | 1.06 | 1.06 | 2.00 | 4.00 | 8.00 | 1.06 | 1.06 | 2.00 | 4.00 | 8.00 | 1.06 | 2.00 | 4.00 | 8.00 | ||||||
| vasubu.vv v8,v16,v24 | 1.00 | 1.00 | 1.00 | 1.00 | 2.00 | 4.00 | 8.00 | 1.00 | 1.00 | 1.00 | 2.00 | 4.00 | 8.00 | 1.00 | 1.00 | 2.00 | 4.00 | 8.00 | 1.00 | 2.00 | 4.00 | 8.00 | ||||||
| vasubu.vv v8,v16,v24,v0.t | 1.00 | 1.00 | 1.00 | 1.00 | 2.00 | 4.00 | 8.00 | 1.00 | 1.00 | 1.00 | 2.00 | 4.00 | 8.00 | 1.00 | 1.00 | 2.00 | 4.00 | 8.00 | 1.00 | 2.00 | 4.00 | 8.00 | ||||||
| vasubu.vx v8,v16,t0 | 1.06 | 1.06 | 1.06 | 1.06 | 2.00 | 4.00 | 8.00 | 1.06 | 1.06 | 1.06 | 2.00 | 4.00 | 8.00 | 1.06 | 1.06 | 2.00 | 4.00 | 8.00 | 1.06 | 2.00 | 4.00 | 8.00 | ||||||
| vasubu.vx v8,v16,t0,v0.t | 1.06 | 1.06 | 1.06 | 1.06 | 2.00 | 4.00 | 8.00 | 1.06 | 1.06 | 1.06 | 2.00 | 4.00 | 8.00 | 1.06 | 1.06 | 2.00 | 4.00 | 8.00 | 1.06 | 2.00 | 4.00 | 8.00 | ||||||
| vasub.vv v8,v16,v24 | 1.00 | 1.00 | 1.00 | 1.00 | 2.00 | 4.00 | 8.00 | 1.00 | 1.00 | 1.00 | 2.00 | 4.00 | 8.00 | 1.00 | 1.00 | 2.00 | 4.00 | 8.00 | 1.00 | 2.00 | 4.00 | 8.00 | ||||||
| vasub.vv v8,v16,v24,v0.t | 1.00 | 1.00 | 1.00 | 1.00 | 2.00 | 4.00 | 8.00 | 1.00 | 1.00 | 1.00 | 2.00 | 4.00 | 8.00 | 1.00 | 1.00 | 2.00 | 4.00 | 8.00 | 1.00 | 2.00 | 4.00 | 8.00 | ||||||
| vasub.vx v8,v16,t0 | 1.06 | 1.06 | 1.06 | 1.06 | 2.00 | 4.00 | 8.00 | 1.06 | 1.06 | 1.06 | 2.00 | 4.00 | 8.00 | 1.06 | 1.06 | 2.00 | 4.00 | 8.00 | 1.06 | 2.00 | 4.00 | 8.00 | ||||||
| vasub.vx v8,v16,t0,v0.t | 1.06 | 1.06 | 1.06 | 1.06 | 2.00 | 4.00 | 8.00 | 1.06 | 1.06 | 1.06 | 2.00 | 4.00 | 8.00 | 1.06 | 1.06 | 2.00 | 4.00 | 8.00 | 1.06 | 2.00 | 4.00 | 8.00 | ||||||
| vslide1up.vx v8,v16,t0 | 1.06 | 1.06 | 1.06 | 2.00 | 4.00 | 8.00 | 16.00 | 1.06 | 1.06 | 2.00 | 4.00 | 8.00 | 16.00 | 1.06 | 2.00 | 4.00 | 8.00 | 16.00 | 2.00 | 4.00 | 8.00 | 16.00 | ||||||
| vslide1up.vx v8,v16,t0,v0.t | 1.06 | 1.06 | 1.06 | 2.00 | 4.00 | 8.00 | 16.00 | 1.06 | 1.06 | 2.00 | 4.00 | 8.00 | 16.00 | 1.06 | 2.00 | 4.00 | 8.00 | 16.00 | 2.00 | 4.00 | 8.00 | 16.00 | ||||||
| vslide1down.vx v8,v16,t0 | 1.06 | 1.06 | 1.06 | 3.00 | 5.00 | 9.00 | 17.00 | 1.06 | 1.06 | 3.00 | 5.00 | 9.00 | 17.00 | 1.06 | 3.00 | 5.00 | 9.00 | 17.00 | 3.00 | 5.00 | 9.00 | 17.00 | ||||||
| vslide1down.vx v8,v16,t0,v0.t | 1.06 | 1.06 | 1.06 | 3.00 | 5.00 | 9.00 | 17.00 | 1.06 | 1.06 | 3.00 | 5.00 | 9.00 | 17.00 | 1.06 | 3.00 | 5.00 | 9.00 | 17.00 | 3.00 | 5.00 | 9.00 | 17.00 | ||||||
| vadc.vvm v8,v16,v24,v0 | 1.00 | 1.00 | 1.00 | 1.00 | 2.00 | 4.00 | 8.00 | 1.00 | 1.00 | 1.00 | 2.00 | 4.00 | 8.00 | 1.00 | 1.00 | 2.00 | 4.00 | 8.00 | 1.00 | 2.00 | 4.00 | 8.00 | ||||||
| vadc.vxm v8,v16,t0,v0 | 1.06 | 1.06 | 1.06 | 1.06 | 2.00 | 4.00 | 8.00 | 1.06 | 1.06 | 1.06 | 2.00 | 4.00 | 8.00 | 1.06 | 1.06 | 2.00 | 4.00 | 8.00 | 1.06 | 2.00 | 4.00 | 8.00 | ||||||
| vadc.vim v8,v16,13,v0 | 1.00 | 1.00 | 1.00 | 1.00 | 2.00 | 4.00 | 8.00 | 1.00 | 1.00 | 1.00 | 2.00 | 4.00 | 8.00 | 1.00 | 1.00 | 2.00 | 4.00 | 8.00 | 1.00 | 2.00 | 4.00 | 8.00 | ||||||
| vmadc.vvm v8,v16,v24,v0 | 1.00 | 1.00 | 1.00 | 2.00 | 2.50 | 5.00 | 11.00 | 1.00 | 1.00 | 2.00 | 2.50 | 5.00 | 18.00 | 1.00 | 2.00 | 2.50 | 5.00 | 18.00 | 2.00 | 2.50 | 5.00 | 18.00 | ||||||
| vmadc.vxm v8,v16,t0,v0 | 1.06 | 1.06 | 1.06 | 2.00 | 2.50 | 5.00 | 11.00 | 1.06 | 1.06 | 2.00 | 2.50 | 5.00 | 18.00 | 1.06 | 2.00 | 2.50 | 5.00 | 18.00 | 2.00 | 2.50 | 5.00 | 18.00 | ||||||
| vmadc.vim v8,v16,13,v0 | 1.00 | 1.00 | 1.00 | 2.00 | 2.50 | 5.00 | 11.00 | 1.00 | 1.00 | 2.00 | 2.50 | 5.00 | 18.00 | 1.00 | 2.00 | 2.50 | 5.00 | 18.00 | 2.00 | 2.50 | 5.00 | 18.00 | ||||||
| vmadc.vv v8,v16,v24 | 1.00 | 1.00 | 1.00 | 2.00 | 2.50 | 5.00 | 11.00 | 1.00 | 1.00 | 2.00 | 2.50 | 5.00 | 18.00 | 1.00 | 2.00 | 2.50 | 5.00 | 18.00 | 2.00 | 2.50 | 5.00 | 18.00 | ||||||
| vmadc.vx v8,v16,t0 | 1.06 | 1.06 | 1.06 | 2.00 | 2.50 | 5.00 | 11.00 | 1.06 | 1.06 | 2.00 | 2.50 | 5.00 | 18.00 | 1.06 | 2.00 | 2.50 | 5.00 | 18.00 | 2.00 | 2.50 | 5.00 | 18.00 | ||||||
| vmadc.vi v8,v16,13 | 1.00 | 1.00 | 1.00 | 2.00 | 2.50 | 5.00 | 11.00 | 1.00 | 1.00 | 2.00 | 2.50 | 5.00 | 18.00 | 1.00 | 2.00 | 2.50 | 5.00 | 18.00 | 2.00 | 2.50 | 5.00 | 18.00 | ||||||
| vsbc.vvm v8,v16,v24,v0 | 1.00 | 1.00 | 1.00 | 1.00 | 2.00 | 4.00 | 8.00 | 1.00 | 1.00 | 1.00 | 2.00 | 4.00 | 8.00 | 1.00 | 1.00 | 2.00 | 4.00 | 8.00 | 1.00 | 2.00 | 4.00 | 8.00 | ||||||
| vsbc.vxm v8,v16,t0,v0 | 1.06 | 1.06 | 1.06 | 1.06 | 2.00 | 4.00 | 8.00 | 1.06 | 1.06 | 1.06 | 2.00 | 4.00 | 8.00 | 1.06 | 1.06 | 2.00 | 4.00 | 8.00 | 1.06 | 2.00 | 4.00 | 8.00 | ||||||
| vmsbc.vvm v8,v16,v24,v0 | 1.00 | 1.00 | 1.00 | 2.00 | 2.50 | 5.00 | 11.00 | 1.00 | 1.00 | 2.00 | 2.50 | 5.00 | 18.00 | 1.00 | 2.00 | 2.50 | 5.00 | 18.00 | 2.00 | 2.50 | 5.00 | 18.00 | ||||||
| vmsbc.vxm v8,v16,t0,v0 | 1.06 | 1.06 | 1.06 | 2.00 | 2.50 | 5.00 | 11.00 | 1.06 | 1.06 | 2.00 | 2.50 | 5.00 | 18.00 | 1.06 | 2.00 | 2.50 | 5.00 | 18.00 | 2.00 | 2.50 | 5.00 | 18.00 | ||||||
| vmsbc.vv v8,v16,v24 | 1.00 | 1.00 | 1.00 | 2.00 | 2.50 | 5.00 | 11.00 | 1.00 | 1.00 | 2.00 | 2.50 | 5.00 | 18.00 | 1.00 | 2.00 | 2.50 | 5.00 | 18.00 | 2.00 | 2.50 | 5.00 | 18.00 | ||||||
| vmsbc.vx v8,v16,t0 | 1.06 | 1.06 | 1.06 | 2.00 | 2.50 | 5.00 | 11.00 | 1.06 | 1.06 | 2.00 | 2.50 | 5.00 | 18.00 | 1.06 | 2.00 | 2.50 | 5.00 | 18.00 | 2.00 | 2.50 | 5.00 | 18.00 | ||||||
| vmerge.vvm v8,v16,v24,v0 | 1.00 | 1.00 | 1.00 | 1.00 | 2.00 | 4.00 | 8.00 | 1.00 | 1.00 | 1.00 | 2.00 | 4.00 | 8.00 | 1.00 | 1.00 | 2.00 | 4.00 | 8.00 | 1.00 | 2.00 | 4.00 | 8.00 | ||||||
| vmerge.vxm v8,v16,t0,v0 | 1.06 | 1.06 | 1.06 | 1.06 | 2.00 | 4.00 | 8.00 | 1.06 | 1.06 | 1.06 | 2.00 | 4.00 | 8.00 | 1.06 | 1.06 | 2.00 | 4.00 | 8.00 | 1.06 | 2.00 | 4.00 | 8.00 | ||||||
| vmerge.vim v8,v16,13,v0 | 1.00 | 1.00 | 1.00 | 1.00 | 2.00 | 4.00 | 8.00 | 1.00 | 1.00 | 1.00 | 2.00 | 4.00 | 8.00 | 1.00 | 1.00 | 2.00 | 4.00 | 8.00 | 1.00 | 2.00 | 4.00 | 8.00 | ||||||
| vmv.v.v v8,v16 | 1.00 | 1.00 | 1.00 | 1.00 | 2.00 | 4.00 | 8.00 | 1.00 | 1.00 | 1.00 | 2.00 | 4.00 | 8.00 | 1.00 | 1.00 | 2.00 | 4.00 | 8.00 | 1.00 | 2.00 | 4.00 | 8.00 | ||||||
| vmv.v.x v8,t0 | 1.06 | 1.06 | 1.06 | 1.06 | 2.00 | 4.00 | 8.00 | 1.06 | 1.06 | 1.06 | 2.00 | 4.00 | 8.00 | 1.06 | 1.06 | 2.00 | 4.00 | 8.00 | 1.06 | 2.00 | 4.00 | 8.00 | ||||||
| vmv.v.i v8,13 | 1.00 | 1.00 | 1.00 | 1.00 | 2.00 | 4.00 | 8.00 | 1.00 | 1.00 | 1.00 | 2.00 | 4.00 | 8.00 | 1.00 | 1.00 | 2.00 | 4.00 | 8.00 | 1.00 | 2.00 | 4.00 | 8.00 | ||||||
| vmseq.vv v8,v16,v24 | 1.00 | 1.00 | 1.00 | 2.00 | 2.50 | 5.00 | 11.00 | 1.00 | 1.00 | 2.00 | 2.50 | 5.00 | 18.00 | 1.00 | 2.00 | 2.50 | 5.00 | 18.00 | 2.00 | 2.50 | 5.00 | 18.00 | ||||||
| vmseq.vv v8,v16,v24,v0.t | 1.00 | 1.00 | 1.00 | 2.00 | 2.50 | 5.00 | 11.00 | 1.00 | 1.00 | 2.00 | 2.50 | 5.00 | 18.00 | 1.00 | 2.00 | 2.50 | 5.00 | 18.00 | 2.00 | 2.50 | 5.00 | 18.00 | ||||||
| vmseq.vx v8,v16,t0 | 1.06 | 1.06 | 1.06 | 2.00 | 2.50 | 5.00 | 11.00 | 1.06 | 1.06 | 2.00 | 2.50 | 5.00 | 18.00 | 1.06 | 2.00 | 2.50 | 5.00 | 18.00 | 2.00 | 2.50 | 5.00 | 18.00 | ||||||
| vmseq.vx v8,v16,t0,v0.t | 1.06 | 1.06 | 1.06 | 2.00 | 2.50 | 5.00 | 11.00 | 1.06 | 1.06 | 2.00 | 2.50 | 5.00 | 18.00 | 1.06 | 2.00 | 2.50 | 5.00 | 18.00 | 2.00 | 2.50 | 5.00 | 18.00 | ||||||
| vmseq.vi v8,v16,13 | 1.00 | 1.00 | 1.00 | 2.00 | 2.50 | 5.00 | 11.00 | 1.00 | 1.00 | 2.00 | 2.50 | 5.00 | 18.00 | 1.00 | 2.00 | 2.50 | 5.00 | 18.00 | 2.00 | 2.50 | 5.00 | 18.00 | ||||||
| vmseq.vi v8,v16,13,v0.t | 1.00 | 1.00 | 1.00 | 2.00 | 2.50 | 5.00 | 11.00 | 1.00 | 1.00 | 2.00 | 2.50 | 5.00 | 18.00 | 1.00 | 2.00 | 2.50 | 5.00 | 18.00 | 2.00 | 2.50 | 5.00 | 18.00 | ||||||
| vmsne.vv v8,v16,v24 | 1.00 | 1.00 | 1.00 | 2.00 | 2.50 | 5.00 | 11.00 | 1.00 | 1.00 | 2.00 | 2.50 | 5.00 | 18.00 | 1.00 | 2.00 | 2.50 | 5.00 | 18.00 | 2.00 | 2.50 | 5.00 | 18.00 | ||||||
| vmsne.vv v8,v16,v24,v0.t | 1.00 | 1.00 | 1.00 | 2.00 | 2.50 | 5.00 | 11.00 | 1.00 | 1.00 | 2.00 | 2.50 | 5.00 | 18.00 | 1.00 | 2.00 | 2.50 | 5.00 | 18.00 | 2.00 | 2.50 | 5.00 | 18.00 | ||||||
| vmsne.vx v8,v16,t0 | 1.06 | 1.06 | 1.06 | 2.00 | 2.50 | 5.00 | 11.00 | 1.06 | 1.06 | 2.00 | 2.50 | 5.00 | 18.00 | 1.06 | 2.00 | 2.50 | 5.00 | 18.00 | 2.00 | 2.50 | 5.00 | 18.00 | ||||||
| vmsne.vx v8,v16,t0,v0.t | 1.06 | 1.06 | 1.06 | 2.00 | 2.50 | 5.00 | 11.00 | 1.06 | 1.06 | 2.00 | 2.50 | 5.00 | 18.00 | 1.06 | 2.00 | 2.50 | 5.00 | 18.00 | 2.00 | 2.50 | 5.00 | 18.00 | ||||||
| vmsne.vi v8,v16,13 | 1.00 | 1.00 | 1.00 | 2.00 | 2.50 | 5.00 | 11.00 | 1.00 | 1.00 | 2.00 | 2.50 | 5.00 | 18.00 | 1.00 | 2.00 | 2.50 | 5.00 | 18.00 | 2.00 | 2.50 | 5.00 | 18.00 | ||||||
| vmsne.vi v8,v16,13,v0.t | 1.00 | 1.00 | 1.00 | 2.00 | 2.50 | 5.00 | 11.00 | 1.00 | 1.00 | 2.00 | 2.50 | 5.00 | 18.00 | 1.00 | 2.00 | 2.50 | 5.00 | 18.00 | 2.00 | 2.50 | 5.00 | 18.00 | ||||||
| vmsltu.vv v8,v16,v24 | 1.00 | 1.00 | 1.00 | 2.00 | 2.50 | 5.00 | 11.00 | 1.00 | 1.00 | 2.00 | 2.50 | 5.00 | 18.00 | 1.00 | 2.00 | 2.50 | 5.00 | 18.00 | 2.00 | 2.50 | 5.00 | 18.00 | ||||||
| vmsltu.vv v8,v16,v24,v0.t | 1.00 | 1.00 | 1.00 | 2.00 | 2.50 | 5.00 | 11.00 | 1.00 | 1.00 | 2.00 | 2.50 | 5.00 | 18.00 | 1.00 | 2.00 | 2.50 | 5.00 | 18.00 | 2.00 | 2.50 | 5.00 | 18.00 | ||||||
| vmsltu.vx v8,v16,t0 | 1.06 | 1.06 | 1.06 | 2.00 | 2.50 | 5.00 | 11.00 | 1.06 | 1.06 | 2.00 | 2.50 | 5.00 | 18.00 | 1.06 | 2.00 | 2.50 | 5.00 | 18.00 | 2.00 | 2.50 | 5.00 | 18.00 | ||||||
| vmsltu.vx v8,v16,t0,v0.t | 1.06 | 1.06 | 1.06 | 2.00 | 2.50 | 5.00 | 11.00 | 1.06 | 1.06 | 2.00 | 2.50 | 5.00 | 18.00 | 1.06 | 2.00 | 2.50 | 5.00 | 18.00 | 2.00 | 2.50 | 5.00 | 18.00 | ||||||
| vmslt.vv v8,v16,v24 | 1.00 | 1.00 | 1.00 | 2.00 | 2.50 | 5.00 | 11.00 | 1.00 | 1.00 | 2.00 | 2.50 | 5.00 | 18.00 | 1.00 | 2.00 | 2.50 | 5.00 | 18.00 | 2.00 | 2.50 | 5.00 | 18.00 | ||||||
| vmslt.vv v8,v16,v24,v0.t | 1.00 | 1.00 | 1.00 | 2.00 | 2.50 | 5.00 | 11.00 | 1.00 | 1.00 | 2.00 | 2.50 | 5.00 | 18.00 | 1.00 | 2.00 | 2.50 | 5.00 | 18.00 | 2.00 | 2.50 | 5.00 | 18.00 | ||||||
| vmslt.vx v8,v16,t0 | 1.06 | 1.06 | 1.06 | 2.00 | 2.50 | 5.00 | 11.00 | 1.06 | 1.06 | 2.00 | 2.50 | 5.00 | 18.00 | 1.06 | 2.00 | 2.50 | 5.00 | 18.00 | 2.00 | 2.50 | 5.00 | 18.00 | ||||||
| vmslt.vx v8,v16,t0,v0.t | 1.06 | 1.06 | 1.06 | 2.00 | 2.50 | 5.00 | 11.00 | 1.06 | 1.06 | 2.00 | 2.50 | 5.00 | 18.00 | 1.06 | 2.00 | 2.50 | 5.00 | 18.00 | 2.00 | 2.50 | 5.00 | 18.00 | ||||||
| vmsleu.vv v8,v16,v24 | 1.00 | 1.00 | 1.00 | 2.00 | 2.50 | 5.00 | 11.00 | 1.00 | 1.00 | 2.00 | 2.50 | 5.00 | 18.00 | 1.00 | 2.00 | 2.50 | 5.00 | 18.00 | 2.00 | 2.50 | 5.00 | 18.00 | ||||||
| vmsleu.vv v8,v16,v24,v0.t | 1.00 | 1.00 | 1.00 | 2.00 | 2.50 | 5.00 | 11.00 | 1.00 | 1.00 | 2.00 | 2.50 | 5.00 | 18.00 | 1.00 | 2.00 | 2.50 | 5.00 | 18.00 | 2.00 | 2.50 | 5.00 | 18.00 | ||||||
| vmsleu.vx v8,v16,t0 | 1.06 | 1.06 | 1.06 | 2.00 | 2.50 | 5.00 | 11.00 | 1.06 | 1.06 | 2.00 | 2.50 | 5.00 | 18.00 | 1.06 | 2.00 | 2.50 | 5.00 | 18.00 | 2.00 | 2.50 | 5.00 | 18.00 | ||||||
| vmsleu.vx v8,v16,t0,v0.t | 1.06 | 1.06 | 1.06 | 2.00 | 2.50 | 5.00 | 11.00 | 1.06 | 1.06 | 2.00 | 2.50 | 5.00 | 18.00 | 1.06 | 2.00 | 2.50 | 5.00 | 18.00 | 2.00 | 2.50 | 5.00 | 18.00 | ||||||
| vmsleu.vi v8,v16,13 | 1.00 | 1.00 | 1.00 | 2.00 | 2.50 | 5.00 | 11.00 | 1.00 | 1.00 | 2.00 | 2.50 | 5.00 | 18.00 | 1.00 | 2.00 | 2.50 | 5.00 | 18.00 | 2.00 | 2.50 | 5.00 | 18.00 | ||||||
| vmsleu.vi v8,v16,13,v0.t | 1.00 | 1.00 | 1.00 | 2.00 | 2.50 | 5.00 | 11.00 | 1.00 | 1.00 | 2.00 | 2.50 | 5.00 | 18.00 | 1.00 | 2.00 | 2.50 | 5.00 | 18.00 | 2.00 | 2.50 | 5.00 | 18.00 | ||||||
| vmsle.vv v8,v16,v24 | 1.00 | 1.00 | 1.00 | 2.00 | 2.50 | 5.00 | 11.00 | 1.00 | 1.00 | 2.00 | 2.50 | 5.00 | 18.00 | 1.00 | 2.00 | 2.50 | 5.00 | 18.00 | 2.00 | 2.50 | 5.00 | 18.00 | ||||||
| vmsle.vv v8,v16,v24,v0.t | 1.00 | 1.00 | 1.00 | 2.00 | 2.50 | 5.00 | 11.00 | 1.00 | 1.00 | 2.00 | 2.50 | 5.00 | 18.00 | 1.00 | 2.00 | 2.50 | 5.00 | 18.00 | 2.00 | 2.50 | 5.00 | 18.00 | ||||||
| vmsle.vx v8,v16,t0 | 1.06 | 1.06 | 1.06 | 2.00 | 2.50 | 5.00 | 11.00 | 1.06 | 1.06 | 2.00 | 2.50 | 5.00 | 18.00 | 1.06 | 2.00 | 2.50 | 5.00 | 18.00 | 2.00 | 2.50 | 5.00 | 18.00 | ||||||
| vmsle.vx v8,v16,t0,v0.t | 1.06 | 1.06 | 1.06 | 2.00 | 2.50 | 5.00 | 11.00 | 1.06 | 1.06 | 2.00 | 2.50 | 5.00 | 18.00 | 1.06 | 2.00 | 2.50 | 5.00 | 18.00 | 2.00 | 2.50 | 5.00 | 18.00 | ||||||
| vmsle.vi v8,v16,13 | 1.00 | 1.00 | 1.00 | 2.00 | 2.50 | 5.00 | 11.00 | 1.00 | 1.00 | 2.00 | 2.50 | 5.00 | 18.00 | 1.00 | 2.00 | 2.50 | 5.00 | 18.00 | 2.00 | 2.50 | 5.00 | 18.00 | ||||||
| vmsle.vi v8,v16,13,v0.t | 1.00 | 1.00 | 1.00 | 2.00 | 2.50 | 5.00 | 11.00 | 1.00 | 1.00 | 2.00 | 2.50 | 5.00 | 18.00 | 1.00 | 2.00 | 2.50 | 5.00 | 18.00 | 2.00 | 2.50 | 5.00 | 18.00 | ||||||
| vmsgtu.vx v8,v16,t0 | 1.06 | 1.06 | 1.06 | 2.00 | 2.50 | 5.00 | 11.00 | 1.06 | 1.06 | 2.00 | 2.50 | 5.00 | 18.00 | 1.06 | 2.00 | 2.50 | 5.00 | 18.00 | 2.00 | 2.50 | 5.00 | 18.00 | ||||||
| vmsgtu.vx v8,v16,t0,v0.t | 1.06 | 1.06 | 1.06 | 2.00 | 2.50 | 5.00 | 11.00 | 1.06 | 1.06 | 2.00 | 2.50 | 5.00 | 18.00 | 1.06 | 2.00 | 2.50 | 5.00 | 18.00 | 2.00 | 2.50 | 5.00 | 18.00 | ||||||
| vmsgtu.vi v8,v16,13 | 1.00 | 1.00 | 1.00 | 2.00 | 2.50 | 5.00 | 11.00 | 1.00 | 1.00 | 2.00 | 2.50 | 5.00 | 18.00 | 1.00 | 2.00 | 2.50 | 5.00 | 18.00 | 2.00 | 2.50 | 5.00 | 18.00 | ||||||
| vmsgtu.vi v8,v16,13,v0.t | 1.00 | 1.00 | 1.00 | 2.00 | 2.50 | 5.00 | 11.00 | 1.00 | 1.00 | 2.00 | 2.50 | 5.00 | 18.00 | 1.00 | 2.00 | 2.50 | 5.00 | 18.00 | 2.00 | 2.50 | 5.00 | 18.00 | ||||||
| vmsgt.vx v8,v16,t0 | 1.06 | 1.06 | 1.06 | 2.00 | 2.50 | 5.00 | 11.00 | 1.06 | 1.06 | 2.00 | 2.50 | 5.00 | 18.00 | 1.06 | 2.00 | 2.50 | 5.00 | 18.00 | 2.00 | 2.50 | 5.00 | 18.00 | ||||||
| vmsgt.vx v8,v16,t0,v0.t | 1.06 | 1.06 | 1.06 | 2.00 | 2.50 | 5.00 | 11.00 | 1.06 | 1.06 | 2.00 | 2.50 | 5.00 | 18.00 | 1.06 | 2.00 | 2.50 | 5.00 | 18.00 | 2.00 | 2.50 | 5.00 | 18.00 | ||||||
| vmsgt.vi v8,v16,13 | 1.00 | 1.00 | 1.00 | 2.00 | 2.50 | 5.00 | 11.00 | 1.00 | 1.00 | 2.00 | 2.50 | 5.00 | 18.00 | 1.00 | 2.00 | 2.50 | 5.00 | 18.00 | 2.00 | 2.50 | 5.00 | 18.00 | ||||||
| vmsgt.vi v8,v16,13,v0.t | 1.00 | 1.00 | 1.00 | 2.00 | 2.50 | 5.00 | 11.00 | 1.00 | 1.00 | 2.00 | 2.50 | 5.00 | 18.00 | 1.00 | 2.00 | 2.50 | 5.00 | 18.00 | 2.00 | 2.50 | 5.00 | 18.00 | ||||||
| vcompress.vm v8,v16,v24 | 1.00 | 1.00 | 1.00 | 3.00 | 10.00 | 36.00 | 135.95 | 1.00 | 1.00 | 3.00 | 10.00 | 36.00 | 135.95 | 1.00 | 3.00 | 10.00 | 36.00 | 135.95 | 3.00 | 10.00 | 36.00 | 135.95 | ||||||
| vmandn.mm v8,v16,v24 | 1.00 | 1.00 | 1.00 | 1.00 | 1.00 | 1.00 | 1.00 | 1.00 | 1.00 | 1.00 | 1.00 | 1.00 | 1.00 | 1.00 | 1.00 | 1.00 | 1.00 | 1.00 | 1.00 | 1.00 | 1.00 | 1.00 | ||||||
| vmand.mm v8,v16,v24 | 1.00 | 1.00 | 1.00 | 1.00 | 1.00 | 1.00 | 1.00 | 1.00 | 1.00 | 1.00 | 1.00 | 1.00 | 1.00 | 1.00 | 1.00 | 1.00 | 1.00 | 1.00 | 1.00 | 1.00 | 1.00 | 1.00 | ||||||
| vmor.mm v8,v16,v24 | 1.00 | 1.00 | 1.00 | 1.00 | 1.00 | 1.00 | 1.00 | 1.00 | 1.00 | 1.00 | 1.00 | 1.00 | 1.00 | 1.00 | 1.00 | 1.00 | 1.00 | 1.00 | 1.00 | 1.00 | 1.00 | 1.00 | ||||||
| vmxor.mm v8,v16,v24 | 1.00 | 1.00 | 1.00 | 1.00 | 1.00 | 1.00 | 1.00 | 1.00 | 1.00 | 1.00 | 1.00 | 1.00 | 1.00 | 1.00 | 1.00 | 1.00 | 1.00 | 1.00 | 1.00 | 1.00 | 1.00 | 1.00 | ||||||
| vmorn.mm v8,v16,v24 | 1.00 | 1.00 | 1.00 | 1.00 | 1.00 | 1.00 | 1.00 | 1.00 | 1.00 | 1.00 | 1.00 | 1.00 | 1.00 | 1.00 | 1.00 | 1.00 | 1.00 | 1.00 | 1.00 | 1.00 | 1.00 | 1.00 | ||||||
| vmnand.mm v8,v16,v24 | 1.00 | 1.00 | 1.00 | 1.00 | 1.00 | 1.00 | 1.00 | 1.00 | 1.00 | 1.00 | 1.00 | 1.00 | 1.00 | 1.00 | 1.00 | 1.00 | 1.00 | 1.00 | 1.00 | 1.00 | 1.00 | 1.00 | ||||||
| vmnor.mm v8,v16,v24 | 1.00 | 1.00 | 1.00 | 1.00 | 1.00 | 1.00 | 1.00 | 1.00 | 1.00 | 1.00 | 1.00 | 1.00 | 1.00 | 1.00 | 1.00 | 1.00 | 1.00 | 1.00 | 1.00 | 1.00 | 1.00 | 1.00 | ||||||
| vmxnor.mm v8,v16,v24 | 1.00 | 1.00 | 1.00 | 1.00 | 1.00 | 1.00 | 1.00 | 1.00 | 1.00 | 1.00 | 1.00 | 1.00 | 1.00 | 1.00 | 1.00 | 1.00 | 1.00 | 1.00 | 1.00 | 1.00 | 1.00 | 1.00 | ||||||
| vsaddu.vv v8,v16,v24 | 1.00 | 1.00 | 1.00 | 1.00 | 2.00 | 4.00 | 8.00 | 1.00 | 1.00 | 1.00 | 2.00 | 4.00 | 8.00 | 1.00 | 1.00 | 2.00 | 4.00 | 8.00 | 1.00 | 2.00 | 4.00 | 8.00 | ||||||
| vsaddu.vv v8,v16,v24,v0.t | 1.00 | 1.00 | 1.00 | 1.00 | 2.00 | 4.00 | 8.00 | 1.00 | 1.00 | 1.00 | 2.00 | 4.00 | 8.00 | 1.00 | 1.00 | 2.00 | 4.00 | 8.00 | 1.00 | 2.00 | 4.00 | 8.00 | ||||||
| vsaddu.vx v8,v16,t0 | 1.06 | 1.06 | 1.06 | 1.06 | 2.00 | 4.00 | 8.00 | 1.06 | 1.06 | 1.06 | 2.00 | 4.00 | 8.00 | 1.06 | 1.06 | 2.00 | 4.00 | 8.00 | 1.06 | 2.00 | 4.00 | 8.00 | ||||||
| vsaddu.vx v8,v16,t0,v0.t | 1.06 | 1.06 | 1.06 | 1.06 | 2.00 | 4.00 | 8.00 | 1.06 | 1.06 | 1.06 | 2.00 | 4.00 | 8.00 | 1.06 | 1.06 | 2.00 | 4.00 | 8.00 | 1.06 | 2.00 | 4.00 | 8.00 | ||||||
| vsaddu.vi v8,v16,13 | 1.00 | 1.00 | 1.00 | 1.00 | 2.00 | 4.00 | 8.00 | 1.00 | 1.00 | 1.00 | 2.00 | 4.00 | 8.00 | 1.00 | 1.00 | 2.00 | 4.00 | 8.00 | 1.00 | 2.00 | 4.00 | 8.00 | ||||||
| vsaddu.vi v8,v16,13,v0.t | 1.00 | 1.00 | 1.00 | 1.00 | 2.00 | 4.00 | 8.00 | 1.00 | 1.00 | 1.00 | 2.00 | 4.00 | 8.00 | 1.00 | 1.00 | 2.00 | 4.00 | 8.00 | 1.00 | 2.00 | 4.00 | 8.00 | ||||||
| vsadd.vv v8,v16,v24 | 1.00 | 1.00 | 1.00 | 1.00 | 2.00 | 4.00 | 8.00 | 1.00 | 1.00 | 1.00 | 2.00 | 4.00 | 8.00 | 1.00 | 1.00 | 2.00 | 4.00 | 8.00 | 1.00 | 2.00 | 4.00 | 8.00 | ||||||
| vsadd.vv v8,v16,v24,v0.t | 1.00 | 1.00 | 1.00 | 1.00 | 2.00 | 4.00 | 8.00 | 1.00 | 1.00 | 1.00 | 2.00 | 4.00 | 8.00 | 1.00 | 1.00 | 2.00 | 4.00 | 8.00 | 1.00 | 2.00 | 4.00 | 8.00 | ||||||
| vsadd.vx v8,v16,t0 | 1.06 | 1.06 | 1.06 | 1.06 | 2.00 | 4.00 | 8.00 | 1.06 | 1.06 | 1.06 | 2.00 | 4.00 | 8.00 | 1.06 | 1.06 | 2.00 | 4.00 | 8.00 | 1.06 | 2.00 | 4.00 | 8.00 | ||||||
| vsadd.vx v8,v16,t0,v0.t | 1.06 | 1.06 | 1.06 | 1.06 | 2.00 | 4.00 | 8.00 | 1.06 | 1.06 | 1.06 | 2.00 | 4.00 | 8.00 | 1.06 | 1.06 | 2.00 | 4.00 | 8.00 | 1.06 | 2.00 | 4.00 | 8.00 | ||||||
| vsadd.vi v8,v16,13 | 1.00 | 1.00 | 1.00 | 1.00 | 2.00 | 4.00 | 8.00 | 1.00 | 1.00 | 1.00 | 2.00 | 4.00 | 8.00 | 1.00 | 1.00 | 2.00 | 4.00 | 8.00 | 1.00 | 2.00 | 4.00 | 8.00 | ||||||
| vsadd.vi v8,v16,13,v0.t | 1.00 | 1.00 | 1.00 | 1.00 | 2.00 | 4.00 | 8.00 | 1.00 | 1.00 | 1.00 | 2.00 | 4.00 | 8.00 | 1.00 | 1.00 | 2.00 | 4.00 | 8.00 | 1.00 | 2.00 | 4.00 | 8.00 | ||||||
| vssubu.vv v8,v16,v24 | 1.00 | 1.00 | 1.00 | 1.00 | 2.00 | 4.00 | 8.00 | 1.00 | 1.00 | 1.00 | 2.00 | 4.00 | 8.00 | 1.00 | 1.00 | 2.00 | 4.00 | 8.00 | 1.00 | 2.00 | 4.00 | 8.00 | ||||||
| vssubu.vv v8,v16,v24,v0.t | 1.00 | 1.00 | 1.00 | 1.00 | 2.00 | 4.00 | 8.00 | 1.00 | 1.00 | 1.00 | 2.00 | 4.00 | 8.00 | 1.00 | 1.00 | 2.00 | 4.00 | 8.00 | 1.00 | 2.00 | 4.00 | 8.00 | ||||||
| vssubu.vx v8,v16,t0 | 1.06 | 1.06 | 1.06 | 1.06 | 2.00 | 4.00 | 8.00 | 1.06 | 1.06 | 1.06 | 2.00 | 4.00 | 8.00 | 1.06 | 1.06 | 2.00 | 4.00 | 8.00 | 1.06 | 2.00 | 4.00 | 8.00 | ||||||
| vssubu.vx v8,v16,t0,v0.t | 1.06 | 1.06 | 1.06 | 1.06 | 2.00 | 4.00 | 8.00 | 1.06 | 1.06 | 1.06 | 2.00 | 4.00 | 8.00 | 1.06 | 1.06 | 2.00 | 4.00 | 8.00 | 1.06 | 2.00 | 4.00 | 8.00 | ||||||
| vssub.vv v8,v16,v24 | 1.00 | 1.00 | 1.00 | 1.00 | 2.00 | 4.00 | 8.00 | 1.00 | 1.00 | 1.00 | 2.00 | 4.00 | 8.00 | 1.00 | 1.00 | 2.00 | 4.00 | 8.00 | 1.00 | 2.00 | 4.00 | 8.00 | ||||||
| vssub.vv v8,v16,v24,v0.t | 1.00 | 1.00 | 1.00 | 1.00 | 2.00 | 4.00 | 8.00 | 1.00 | 1.00 | 1.00 | 2.00 | 4.00 | 8.00 | 1.00 | 1.00 | 2.00 | 4.00 | 8.00 | 1.00 | 2.00 | 4.00 | 8.00 | ||||||
| vssub.vx v8,v16,t0 | 1.06 | 1.06 | 1.06 | 1.06 | 2.00 | 4.00 | 8.00 | 1.06 | 1.06 | 1.06 | 2.00 | 4.00 | 8.00 | 1.06 | 1.06 | 2.00 | 4.00 | 8.00 | 1.06 | 2.00 | 4.00 | 8.00 | ||||||
| vssub.vx v8,v16,t0,v0.t | 1.06 | 1.06 | 1.06 | 1.06 | 2.00 | 4.00 | 8.00 | 1.06 | 1.06 | 1.06 | 2.00 | 4.00 | 8.00 | 1.06 | 1.06 | 2.00 | 4.00 | 8.00 | 1.06 | 2.00 | 4.00 | 8.00 | ||||||
| vsll.vv v8,v16,v24 | 1.00 | 1.00 | 1.00 | 2.00 | 4.00 | 8.00 | 16.00 | 1.00 | 1.00 | 2.00 | 4.00 | 8.00 | 16.00 | 1.00 | 2.00 | 4.00 | 8.00 | 16.00 | 2.00 | 4.00 | 8.00 | 16.00 | ||||||
| vsll.vv v8,v16,v24,v0.t | 1.00 | 1.00 | 1.00 | 2.00 | 4.00 | 8.00 | 16.00 | 1.00 | 1.00 | 2.00 | 4.00 | 8.00 | 16.00 | 1.00 | 2.00 | 4.00 | 8.00 | 16.00 | 2.00 | 4.00 | 8.00 | 16.00 | ||||||
| vsll.vx v8,v16,t0 | 1.06 | 1.06 | 1.06 | 2.00 | 4.00 | 8.00 | 16.00 | 1.06 | 1.06 | 2.00 | 4.00 | 8.00 | 16.00 | 1.06 | 2.00 | 4.00 | 8.00 | 16.00 | 2.00 | 4.00 | 8.00 | 16.00 | ||||||
| vsll.vx v8,v16,t0,v0.t | 1.06 | 1.06 | 1.06 | 2.00 | 4.00 | 8.00 | 16.00 | 1.06 | 1.06 | 2.00 | 4.00 | 8.00 | 16.00 | 1.06 | 2.00 | 4.00 | 8.00 | 16.00 | 2.00 | 4.00 | 8.00 | 16.00 | ||||||
| vsll.vi v8,v16,13 | 1.00 | 1.00 | 1.00 | 2.00 | 4.00 | 8.00 | 16.00 | 1.00 | 1.00 | 2.00 | 4.00 | 8.00 | 16.00 | 1.00 | 2.00 | 4.00 | 8.00 | 16.00 | 2.00 | 4.00 | 8.00 | 16.00 | ||||||
| vsll.vi v8,v16,13,v0.t | 1.00 | 1.00 | 1.00 | 2.00 | 4.00 | 8.00 | 16.00 | 1.00 | 1.00 | 2.00 | 4.00 | 8.00 | 16.00 | 1.00 | 2.00 | 4.00 | 8.00 | 16.00 | 2.00 | 4.00 | 8.00 | 16.00 | ||||||
| vsmul.vv v8,v16,v24 | 1.00 | 1.00 | 1.00 | 1.00 | 2.00 | 4.00 | 8.00 | 1.00 | 1.00 | 1.00 | 2.00 | 4.00 | 8.00 | 1.00 | 1.00 | 2.00 | 4.00 | 8.00 | 4.00 | 8.00 | 16.00 | 32.00 | ||||||
| vsmul.vv v8,v16,v24,v0.t | 1.00 | 1.00 | 1.00 | 1.00 | 2.00 | 4.00 | 8.00 | 1.00 | 1.00 | 1.00 | 2.00 | 4.00 | 8.00 | 1.00 | 1.00 | 2.00 | 4.00 | 8.00 | 4.00 | 8.00 | 16.00 | 32.00 | ||||||
| vsmul.vx v8,v16,t0 | 1.06 | 1.06 | 1.06 | 1.06 | 2.00 | 4.00 | 8.00 | 1.06 | 1.06 | 1.06 | 2.00 | 4.00 | 8.00 | 1.06 | 1.06 | 2.00 | 4.00 | 8.00 | 4.00 | 8.00 | 16.00 | 32.00 | ||||||
| vsmul.vx v8,v16,t0,v0.t | 1.06 | 1.06 | 1.06 | 1.06 | 2.00 | 4.00 | 8.00 | 1.06 | 1.06 | 1.06 | 2.00 | 4.00 | 8.00 | 1.06 | 1.06 | 2.00 | 4.00 | 8.00 | 4.00 | 8.00 | 16.00 | 32.00 | ||||||
| vmv1r.v v8,v16 | 1.00 | 1.00 | 1.00 | 1.00 | 1.00 | 1.00 | 2.00 | 1.00 | 1.00 | 1.00 | 1.00 | 1.00 | 2.00 | 1.00 | 1.00 | 1.00 | 1.00 | 2.00 | 1.00 | 1.00 | 1.00 | 2.00 | ||||||
| vmv2r.v v8,v16 | 2.00 | 2.00 | 3.00 | 2.00 | 2.00 | 3.00 | 2.00 | 2.00 | 3.00 | 2.00 | 2.00 | 3.00 | ||||||||||||||||
| vmv4r.v v8,v16 | 4.00 | 4.00 | 4.00 | 4.00 | 4.00 | 4.00 | 4.00 | 4.00 | ||||||||||||||||||||
| vmv8r.v v8,v16 | 8.00 | 8.00 | 8.00 | 8.00 | ||||||||||||||||||||||||
| vsrl.vv v8,v16,v24 | 1.00 | 1.00 | 1.00 | 2.00 | 4.00 | 8.00 | 16.00 | 1.00 | 1.00 | 2.00 | 4.00 | 8.00 | 16.00 | 1.00 | 2.00 | 4.00 | 8.00 | 16.00 | 2.00 | 4.00 | 8.00 | 16.00 | ||||||
| vsrl.vv v8,v16,v24,v0.t | 1.00 | 1.00 | 1.00 | 2.00 | 4.00 | 8.00 | 16.00 | 1.00 | 1.00 | 2.00 | 4.00 | 8.00 | 16.00 | 1.00 | 2.00 | 4.00 | 8.00 | 16.00 | 2.00 | 4.00 | 8.00 | 16.00 | ||||||
| vsrl.vx v8,v16,t0 | 1.06 | 1.06 | 1.06 | 2.00 | 4.00 | 8.00 | 16.00 | 1.06 | 1.06 | 2.00 | 4.00 | 8.00 | 16.00 | 1.06 | 2.00 | 4.00 | 8.00 | 16.00 | 2.00 | 4.00 | 8.00 | 16.00 | ||||||
| vsrl.vx v8,v16,t0,v0.t | 1.06 | 1.06 | 1.06 | 2.00 | 4.00 | 8.00 | 16.00 | 1.06 | 1.06 | 2.00 | 4.00 | 8.00 | 16.00 | 1.06 | 2.00 | 4.00 | 8.00 | 16.00 | 2.00 | 4.00 | 8.00 | 16.00 | ||||||
| vsrl.vi v8,v16,13 | 1.00 | 1.00 | 1.00 | 2.00 | 4.00 | 8.00 | 16.00 | 1.00 | 1.00 | 2.00 | 4.00 | 8.00 | 16.00 | 1.00 | 2.00 | 4.00 | 8.00 | 16.00 | 2.00 | 4.00 | 8.00 | 16.00 | ||||||
| vsrl.vi v8,v16,13,v0.t | 1.00 | 1.00 | 1.00 | 2.00 | 4.00 | 8.00 | 16.00 | 1.00 | 1.00 | 2.00 | 4.00 | 8.00 | 16.00 | 1.00 | 2.00 | 4.00 | 8.00 | 16.00 | 2.00 | 4.00 | 8.00 | 16.00 | ||||||
| vsra.vv v8,v16,v24 | 1.00 | 1.00 | 1.00 | 2.00 | 4.00 | 8.00 | 16.00 | 1.00 | 1.00 | 2.00 | 4.00 | 8.00 | 16.00 | 1.00 | 2.00 | 4.00 | 8.00 | 16.00 | 2.00 | 4.00 | 8.00 | 16.00 | ||||||
| vsra.vv v8,v16,v24,v0.t | 1.00 | 1.00 | 1.00 | 2.00 | 4.00 | 8.00 | 16.00 | 1.00 | 1.00 | 2.00 | 4.00 | 8.00 | 16.00 | 1.00 | 2.00 | 4.00 | 8.00 | 16.00 | 2.00 | 4.00 | 8.00 | 16.00 | ||||||
| vsra.vx v8,v16,t0 | 1.06 | 1.06 | 1.06 | 2.00 | 4.00 | 8.00 | 16.00 | 1.06 | 1.06 | 2.00 | 4.00 | 8.00 | 16.00 | 1.06 | 2.00 | 4.00 | 8.00 | 16.00 | 2.00 | 4.00 | 8.00 | 16.00 | ||||||
| vsra.vx v8,v16,t0,v0.t | 1.06 | 1.06 | 1.06 | 2.00 | 4.00 | 8.00 | 16.00 | 1.06 | 1.06 | 2.00 | 4.00 | 8.00 | 16.00 | 1.06 | 2.00 | 4.00 | 8.00 | 16.00 | 2.00 | 4.00 | 8.00 | 16.00 | ||||||
| vsra.vi v8,v16,13 | 1.00 | 1.00 | 1.00 | 2.00 | 4.00 | 8.00 | 16.00 | 1.00 | 1.00 | 2.00 | 4.00 | 8.00 | 16.00 | 1.00 | 2.00 | 4.00 | 8.00 | 16.00 | 2.00 | 4.00 | 8.00 | 16.00 | ||||||
| vsra.vi v8,v16,13,v0.t | 1.00 | 1.00 | 1.00 | 2.00 | 4.00 | 8.00 | 16.00 | 1.00 | 1.00 | 2.00 | 4.00 | 8.00 | 16.00 | 1.00 | 2.00 | 4.00 | 8.00 | 16.00 | 2.00 | 4.00 | 8.00 | 16.00 | ||||||
| vssrl.vv v8,v16,v24 | 1.00 | 1.00 | 1.00 | 2.00 | 4.00 | 8.00 | 16.00 | 1.00 | 1.00 | 2.00 | 4.00 | 8.00 | 16.00 | 1.00 | 2.00 | 4.00 | 8.00 | 16.00 | 2.00 | 4.00 | 8.00 | 16.00 | ||||||
| vssrl.vv v8,v16,v24,v0.t | 1.00 | 1.00 | 1.00 | 2.00 | 4.00 | 8.00 | 16.00 | 1.00 | 1.00 | 2.00 | 4.00 | 8.00 | 16.00 | 1.00 | 2.00 | 4.00 | 8.00 | 16.00 | 2.00 | 4.00 | 8.00 | 16.00 | ||||||
| vssrl.vx v8,v16,t0 | 1.06 | 1.06 | 1.06 | 2.00 | 4.00 | 8.00 | 16.00 | 1.06 | 1.06 | 2.00 | 4.00 | 8.00 | 16.00 | 1.06 | 2.00 | 4.00 | 8.00 | 16.00 | 2.00 | 4.00 | 8.00 | 16.00 | ||||||
| vssrl.vx v8,v16,t0,v0.t | 1.06 | 1.06 | 1.06 | 2.00 | 4.00 | 8.00 | 16.00 | 1.06 | 1.06 | 2.00 | 4.00 | 8.00 | 16.00 | 1.06 | 2.00 | 4.00 | 8.00 | 16.00 | 2.00 | 4.00 | 8.00 | 16.00 | ||||||
| vssrl.vi v8,v16,13 | 1.00 | 1.00 | 1.00 | 2.00 | 4.00 | 8.00 | 16.00 | 1.00 | 1.00 | 2.00 | 4.00 | 8.00 | 16.00 | 1.00 | 2.00 | 4.00 | 8.00 | 16.00 | 2.00 | 4.00 | 8.00 | 16.00 | ||||||
| vssrl.vi v8,v16,13,v0.t | 1.00 | 1.00 | 1.00 | 2.00 | 4.00 | 8.00 | 16.00 | 1.00 | 1.00 | 2.00 | 4.00 | 8.00 | 16.00 | 1.00 | 2.00 | 4.00 | 8.00 | 16.00 | 2.00 | 4.00 | 8.00 | 16.00 | ||||||
| vdivu.vv v8,v16,v24 | 11.24 | 11.97 | 12.60 | 25.47 | 51.10 | 102.71 | 203.21 | 10.47 | 10.88 | 21.81 | 44.07 | 87.20 | 174.66 | 10.55 | 20.83 | 41.62 | 83.37 | 166.52 | 19.73 | 39.56 | 79.53 | 158.19 | ||||||
| vdivu.vv v8,v16,v24,v0.t | 10.36 | 11.11 | 11.87 | 23.81 | 47.32 | 95.33 | 188.21 | 10.07 | 10.41 | 20.71 | 40.99 | 82.73 | 164.78 | 10.02 | 19.98 | 39.27 | 78.86 | 156.44 | 19.16 | 38.41 | 75.81 | 152.28 | ||||||
| vdivu.vx v8,v16,t0 | 9.28 | 9.39 | 9.38 | 18.67 | 37.39 | 73.79 | 145.59 | 9.29 | 9.31 | 18.62 | 36.88 | 73.59 | 145.58 | 9.46 | 18.91 | 37.90 | 74.94 | 149.89 | 18.50 | 36.00 | 71.99 | 143.99 | ||||||
| vdivu.vx v8,v16,t0,v0.t | 9.27 | 9.27 | 9.30 | 18.60 | 36.97 | 73.34 | 147.19 | 9.16 | 9.27 | 18.53 | 36.74 | 73.04 | 144.69 | 9.40 | 18.83 | 37.38 | 73.94 | 146.24 | 18.36 | 36.00 | 71.99 | 143.99 | ||||||
| vdiv.vv v8,v16,v24 | 11.58 | 12.48 | 13.18 | 26.68 | 52.84 | 106.04 | 211.17 | 11.30 | 11.61 | 23.39 | 46.50 | 92.97 | 185.91 | 11.23 | 22.46 | 44.78 | 89.80 | 179.49 | 21.58 | 43.05 | 86.36 | 172.77 | ||||||
| vdiv.vv v8,v16,v24,v0.t | 11.18 | 11.97 | 12.38 | 24.98 | 50.12 | 99.37 | 198.01 | 10.86 | 11.21 | 22.24 | 44.80 | 89.42 | 176.93 | 10.97 | 21.57 | 42.53 | 85.82 | 171.27 | 21.03 | 41.65 | 83.48 | 165.37 | ||||||
| vdiv.vx v8,v16,t0 | 10.33 | 10.36 | 10.44 | 20.59 | 41.16 | 81.69 | 161.39 | 10.31 | 10.28 | 20.72 | 41.39 | 82.17 | 159.99 | 10.49 | 20.96 | 41.72 | 82.84 | 168.53 | 20.43 | 40.00 | 79.99 | 159.98 | ||||||
| vdiv.vx v8,v16,t0,v0.t | 10.37 | 10.41 | 10.46 | 20.82 | 41.17 | 81.72 | 161.24 | 10.33 | 10.37 | 20.63 | 41.39 | 80.32 | 161.98 | 10.41 | 20.81 | 41.18 | 83.04 | 165.03 | 20.33 | 40.00 | 79.99 | 159.98 | ||||||
| vremu.vv v8,v16,v24 | 12.16 | 12.71 | 13.70 | 27.65 | 54.98 | 109.96 | 219.75 | 11.31 | 11.93 | 23.96 | 47.74 | 94.87 | 191.87 | 11.30 | 23.06 | 45.63 | 91.39 | 184.36 | 21.79 | 43.52 | 87.55 | 174.63 | ||||||
| vremu.vv v8,v16,v24,v0.t | 11.45 | 12.10 | 12.91 | 25.92 | 50.96 | 102.61 | 204.28 | 10.95 | 11.52 | 22.66 | 45.46 | 90.41 | 178.92 | 10.98 | 21.96 | 43.22 | 87.65 | 173.72 | 21.07 | 41.94 | 83.80 | 167.48 | ||||||
| vremu.vx v8,v16,t0 | 10.30 | 10.35 | 10.36 | 20.70 | 40.84 | 83.59 | 160.78 | 10.28 | 10.30 | 20.65 | 40.94 | 81.59 | 162.24 | 10.46 | 20.96 | 41.71 | 84.99 | 162.04 | 20.53 | 40.00 | 79.99 | 159.98 | ||||||
| vremu.vx v8,v16,t0,v0.t | 10.23 | 10.27 | 10.39 | 20.80 | 41.38 | 82.14 | 164.53 | 10.23 | 10.29 | 20.54 | 40.77 | 81.67 | 161.28 | 10.53 | 20.73 | 41.56 | 82.64 | 162.63 | 20.35 | 40.00 | 79.99 | 159.98 | ||||||
| vrem.vv v8,v16,v24 | 12.75 | 13.50 | 14.36 | 28.45 | 57.17 | 114.28 | 229.25 | 12.17 | 12.75 | 25.38 | 50.44 | 101.20 | 202.75 | 12.19 | 24.45 | 48.87 | 96.97 | 194.84 | 23.48 | 47.00 | 93.47 | 187.88 | ||||||
| vrem.vv v8,v16,v24,v0.t | 12.12 | 12.78 | 13.61 | 26.73 | 53.83 | 107.96 | 215.45 | 11.96 | 12.20 | 24.27 | 48.60 | 96.90 | 193.86 | 11.76 | 23.67 | 47.02 | 93.90 | 187.80 | 22.88 | 45.69 | 91.03 | 182.11 | ||||||
| vrem.vx v8,v16,t0 | 11.41 | 11.37 | 11.38 | 23.00 | 45.62 | 90.09 | 178.53 | 11.34 | 11.30 | 22.71 | 45.34 | 90.39 | 175.98 | 11.50 | 23.00 | 45.61 | 91.89 | 179.68 | 22.45 | 44.00 | 87.99 | 175.98 | ||||||
| vrem.vx v8,v16,t0,v0.t | 11.34 | 11.38 | 11.37 | 22.83 | 45.19 | 89.29 | 177.73 | 11.34 | 11.24 | 22.75 | 44.93 | 89.72 | 175.98 | 11.43 | 22.85 | 45.23 | 91.04 | 179.38 | 22.30 | 43.99 | 87.99 | 175.98 | ||||||
| vmulhu.vv v8,v16,v24 | 1.00 | 1.00 | 1.00 | 1.00 | 2.00 | 4.00 | 8.00 | 1.00 | 1.00 | 1.00 | 2.00 | 4.00 | 8.00 | 1.00 | 1.00 | 2.00 | 4.00 | 8.00 | 4.00 | 8.00 | 16.00 | 32.00 | ||||||
| vmulhu.vv v8,v16,v24,v0.t | 1.00 | 1.00 | 1.00 | 1.00 | 2.00 | 4.00 | 8.00 | 1.00 | 1.00 | 1.00 | 2.00 | 4.00 | 8.00 | 1.00 | 1.00 | 2.00 | 4.00 | 8.00 | 4.00 | 8.00 | 16.00 | 32.00 | ||||||
| vmulhu.vx v8,v16,t0 | 1.06 | 1.06 | 1.06 | 1.06 | 2.00 | 4.00 | 8.00 | 1.06 | 1.06 | 1.06 | 2.00 | 4.00 | 8.00 | 1.06 | 1.06 | 2.00 | 4.00 | 8.00 | 4.00 | 8.00 | 16.00 | 32.00 | ||||||
| vmulhu.vx v8,v16,t0,v0.t | 1.06 | 1.06 | 1.06 | 1.06 | 2.00 | 4.00 | 8.00 | 1.06 | 1.06 | 1.06 | 2.00 | 4.00 | 8.00 | 1.06 | 1.06 | 2.00 | 4.00 | 8.00 | 4.00 | 8.00 | 16.00 | 32.00 | ||||||
| vmul.vv v8,v16,v24 | 1.00 | 1.00 | 1.00 | 1.00 | 2.00 | 4.00 | 8.00 | 1.00 | 1.00 | 1.00 | 2.00 | 4.00 | 8.00 | 1.00 | 1.00 | 2.00 | 4.00 | 8.00 | 4.00 | 8.00 | 16.00 | 32.00 | ||||||
| vmul.vv v8,v16,v24,v0.t | 1.00 | 1.00 | 1.00 | 1.00 | 2.00 | 4.00 | 8.00 | 1.00 | 1.00 | 1.00 | 2.00 | 4.00 | 8.00 | 1.00 | 1.00 | 2.00 | 4.00 | 8.00 | 4.00 | 8.00 | 16.00 | 32.00 | ||||||
| vmul.vx v8,v16,t0 | 1.06 | 1.06 | 1.06 | 1.06 | 2.00 | 4.00 | 8.00 | 1.06 | 1.06 | 1.06 | 2.00 | 4.00 | 8.00 | 1.06 | 1.06 | 2.00 | 4.00 | 8.00 | 4.00 | 8.00 | 16.00 | 32.00 | ||||||
| vmul.vx v8,v16,t0,v0.t | 1.06 | 1.06 | 1.06 | 1.06 | 2.00 | 4.00 | 8.00 | 1.06 | 1.06 | 1.06 | 2.00 | 4.00 | 8.00 | 1.06 | 1.06 | 2.00 | 4.00 | 8.00 | 4.00 | 8.00 | 16.00 | 32.00 | ||||||
| vmulhsu.vv v8,v16,v24 | 1.00 | 1.00 | 1.00 | 1.00 | 2.00 | 4.00 | 8.00 | 1.00 | 1.00 | 1.00 | 2.00 | 4.00 | 8.00 | 1.00 | 1.00 | 2.00 | 4.00 | 8.00 | 4.00 | 8.00 | 16.00 | 32.00 | ||||||
| vmulhsu.vv v8,v16,v24,v0.t | 1.00 | 1.00 | 1.00 | 1.00 | 2.00 | 4.00 | 8.00 | 1.00 | 1.00 | 1.00 | 2.00 | 4.00 | 8.00 | 1.00 | 1.00 | 2.00 | 4.00 | 8.00 | 4.00 | 8.00 | 16.00 | 32.00 | ||||||
| vmulhsu.vx v8,v16,t0 | 1.06 | 1.06 | 1.06 | 1.06 | 2.00 | 4.00 | 8.00 | 1.06 | 1.06 | 1.06 | 2.00 | 4.00 | 8.00 | 1.06 | 1.06 | 2.00 | 4.00 | 8.00 | 4.00 | 8.00 | 16.00 | 32.00 | ||||||
| vmulhsu.vx v8,v16,t0,v0.t | 1.06 | 1.06 | 1.06 | 1.06 | 2.00 | 4.00 | 8.00 | 1.06 | 1.06 | 1.06 | 2.00 | 4.00 | 8.00 | 1.06 | 1.06 | 2.00 | 4.00 | 8.00 | 4.00 | 8.00 | 16.00 | 32.00 | ||||||
| vmulh.vv v8,v16,v24 | 1.00 | 1.00 | 1.00 | 1.00 | 2.00 | 4.00 | 8.00 | 1.00 | 1.00 | 1.00 | 2.00 | 4.00 | 8.00 | 1.00 | 1.00 | 2.00 | 4.00 | 8.00 | 4.00 | 8.00 | 16.00 | 32.00 | ||||||
| vmulh.vv v8,v16,v24,v0.t | 1.00 | 1.00 | 1.00 | 1.00 | 2.00 | 4.00 | 8.00 | 1.00 | 1.00 | 1.00 | 2.00 | 4.00 | 8.00 | 1.00 | 1.00 | 2.00 | 4.00 | 8.00 | 4.00 | 8.00 | 16.00 | 32.00 | ||||||
| vmulh.vx v8,v16,t0 | 1.06 | 1.06 | 1.06 | 1.06 | 2.00 | 4.00 | 8.00 | 1.06 | 1.06 | 1.06 | 2.00 | 4.00 | 8.00 | 1.06 | 1.06 | 2.00 | 4.00 | 8.00 | 4.00 | 8.00 | 16.00 | 32.00 | ||||||
| vmulh.vx v8,v16,t0,v0.t | 1.06 | 1.06 | 1.06 | 1.06 | 2.00 | 4.00 | 8.00 | 1.06 | 1.06 | 1.06 | 2.00 | 4.00 | 8.00 | 1.06 | 1.06 | 2.00 | 4.00 | 8.00 | 4.00 | 8.00 | 16.00 | 32.00 | ||||||
| vmadd.vv v8,v16,v24 | 1.00 | 1.00 | 1.00 | 1.00 | 2.00 | 4.00 | 8.00 | 1.00 | 1.00 | 1.00 | 2.00 | 4.00 | 8.00 | 1.00 | 1.00 | 2.00 | 4.00 | 8.00 | 4.00 | 8.00 | 16.00 | 32.00 | ||||||
| vmadd.vv v8,v16,v24,v0.t | 1.00 | 1.00 | 1.00 | 1.00 | 2.00 | 4.00 | 8.00 | 1.00 | 1.00 | 1.00 | 2.00 | 4.00 | 8.00 | 1.00 | 1.00 | 2.00 | 4.00 | 8.00 | 4.00 | 8.00 | 16.00 | 32.00 | ||||||
| vmadd.vx v8,t0,v16 | 1.06 | 1.06 | 1.06 | 1.06 | 2.00 | 4.00 | 8.00 | 1.06 | 1.06 | 1.06 | 2.00 | 4.00 | 8.00 | 1.06 | 1.06 | 2.00 | 4.00 | 8.00 | 4.00 | 8.00 | 16.00 | 32.00 | ||||||
| vmadd.vx v8,t0,v16,v0.t | 1.06 | 1.06 | 1.06 | 1.06 | 2.00 | 4.00 | 8.00 | 1.06 | 1.06 | 1.06 | 2.00 | 4.00 | 8.00 | 1.06 | 1.06 | 2.00 | 4.00 | 8.00 | 4.00 | 8.00 | 16.00 | 32.00 | ||||||
| vmacc.vv v8,v16,v24 | 1.00 | 1.00 | 1.00 | 1.00 | 2.00 | 4.00 | 8.00 | 1.00 | 1.00 | 1.00 | 2.00 | 4.00 | 8.00 | 1.00 | 1.00 | 2.00 | 4.00 | 8.00 | 4.00 | 8.00 | 16.00 | 32.00 | ||||||
| vmacc.vv v8,v16,v24,v0.t | 1.00 | 1.00 | 1.00 | 1.00 | 2.00 | 4.00 | 8.00 | 1.00 | 1.00 | 1.00 | 2.00 | 4.00 | 8.00 | 1.00 | 1.00 | 2.00 | 4.00 | 8.00 | 4.00 | 8.00 | 16.00 | 32.00 | ||||||
| vmacc.vx v8,t0,v16 | 1.06 | 1.06 | 1.06 | 1.06 | 2.00 | 4.00 | 8.00 | 1.06 | 1.06 | 1.06 | 2.00 | 4.00 | 8.00 | 1.06 | 1.06 | 2.00 | 4.00 | 8.00 | 4.00 | 8.00 | 16.00 | 32.00 | ||||||
| vmacc.vx v8,t0,v16,v0.t | 1.06 | 1.06 | 1.06 | 1.06 | 2.00 | 4.00 | 8.00 | 1.06 | 1.06 | 1.06 | 2.00 | 4.00 | 8.00 | 1.06 | 1.06 | 2.00 | 4.00 | 8.00 | 4.00 | 8.00 | 16.00 | 32.00 | ||||||
| vnsrl.wv v8,v16,v24 | 1.00 | 1.00 | 2.00 | 4.00 | 8.00 | 16.00 | 1.00 | 2.00 | 4.00 | 8.00 | 16.00 | 2.00 | 4.00 | 8.00 | 16.00 | |||||||||||||
| vnsrl.wv v8,v16,v24,v0.t | 1.00 | 1.00 | 2.00 | 4.00 | 8.00 | 16.00 | 1.00 | 2.00 | 4.00 | 8.00 | 16.00 | 2.00 | 4.00 | 8.00 | 16.00 | |||||||||||||
| vnsrl.wx v8,v16,t0 | 1.06 | 1.06 | 2.00 | 4.00 | 8.00 | 16.00 | 1.06 | 2.00 | 4.00 | 8.00 | 16.00 | 2.00 | 4.00 | 8.00 | 16.00 | |||||||||||||
| vnsrl.wx v8,v16,t0,v0.t | 1.06 | 1.06 | 2.00 | 4.00 | 8.00 | 16.00 | 1.06 | 2.00 | 4.00 | 8.00 | 16.00 | 2.00 | 4.00 | 8.00 | 16.00 | |||||||||||||
| vnsrl.wi v8,v16,13 | 1.00 | 1.00 | 2.00 | 4.00 | 8.00 | 16.00 | 1.00 | 2.00 | 4.00 | 8.00 | 16.00 | 2.00 | 4.00 | 8.00 | 16.00 | |||||||||||||
| vnsrl.wi v8,v16,13,v0.t | 1.00 | 1.00 | 2.00 | 4.00 | 8.00 | 16.00 | 1.00 | 2.00 | 4.00 | 8.00 | 16.00 | 2.00 | 4.00 | 8.00 | 16.00 | |||||||||||||
| vnsra.wv v8,v16,v24 | 1.00 | 1.00 | 2.00 | 4.00 | 8.00 | 16.00 | 1.00 | 2.00 | 4.00 | 8.00 | 16.00 | 2.00 | 4.00 | 8.00 | 16.00 | |||||||||||||
| vnsra.wv v8,v16,v24,v0.t | 1.00 | 1.00 | 2.00 | 4.00 | 8.00 | 16.00 | 1.00 | 2.00 | 4.00 | 8.00 | 16.00 | 2.00 | 4.00 | 8.00 | 16.00 | |||||||||||||
| vnsra.wx v8,v16,t0 | 1.06 | 1.06 | 2.00 | 4.00 | 8.00 | 16.00 | 1.06 | 2.00 | 4.00 | 8.00 | 16.00 | 2.00 | 4.00 | 8.00 | 16.00 | |||||||||||||
| vnsra.wx v8,v16,t0,v0.t | 1.06 | 1.06 | 2.00 | 4.00 | 8.00 | 16.00 | 1.06 | 2.00 | 4.00 | 8.00 | 16.00 | 2.00 | 4.00 | 8.00 | 16.00 | |||||||||||||
| vnsra.wi v8,v16,13 | 1.00 | 1.00 | 2.00 | 4.00 | 8.00 | 16.00 | 1.00 | 2.00 | 4.00 | 8.00 | 16.00 | 2.00 | 4.00 | 8.00 | 16.00 | |||||||||||||
| vnsra.wi v8,v16,13,v0.t | 1.00 | 1.00 | 2.00 | 4.00 | 8.00 | 16.00 | 1.00 | 2.00 | 4.00 | 8.00 | 16.00 | 2.00 | 4.00 | 8.00 | 16.00 | |||||||||||||
| vnclipu.wv v8,v16,v24 | 1.00 | 1.00 | 2.00 | 4.00 | 8.00 | 16.00 | 1.00 | 2.00 | 4.00 | 8.00 | 16.00 | 2.00 | 4.00 | 8.00 | 16.00 | |||||||||||||
| vnclipu.wv v8,v16,v24,v0.t | 1.00 | 1.00 | 2.00 | 4.00 | 8.00 | 16.00 | 1.00 | 2.00 | 4.00 | 8.00 | 16.00 | 2.00 | 4.00 | 8.00 | 16.00 | |||||||||||||
| vnclipu.wx v8,v16,t0 | 1.06 | 1.06 | 2.00 | 4.00 | 8.00 | 16.00 | 1.06 | 2.00 | 4.00 | 8.00 | 16.00 | 2.00 | 4.00 | 8.00 | 16.00 | |||||||||||||
| vnclipu.wx v8,v16,t0,v0.t | 1.06 | 1.06 | 2.00 | 4.00 | 8.00 | 16.00 | 1.06 | 2.00 | 4.00 | 8.00 | 16.00 | 2.00 | 4.00 | 8.00 | 16.00 | |||||||||||||
| vnclipu.wi v8,v16,13 | 1.00 | 1.00 | 2.00 | 4.00 | 8.00 | 16.00 | 1.00 | 2.00 | 4.00 | 8.00 | 16.00 | 2.00 | 4.00 | 8.00 | 16.00 | |||||||||||||
| vnclipu.wi v8,v16,13,v0.t | 1.00 | 1.00 | 2.00 | 4.00 | 8.00 | 16.00 | 1.00 | 2.00 | 4.00 | 8.00 | 16.00 | 2.00 | 4.00 | 8.00 | 16.00 | |||||||||||||
| vnclip.wv v8,v16,v24 | 1.00 | 1.00 | 2.00 | 4.00 | 8.00 | 16.00 | 1.00 | 2.00 | 4.00 | 8.00 | 16.00 | 2.00 | 4.00 | 8.00 | 16.00 | |||||||||||||
| vnclip.wv v8,v16,v24,v0.t | 1.00 | 1.00 | 2.00 | 4.00 | 8.00 | 16.00 | 1.00 | 2.00 | 4.00 | 8.00 | 16.00 | 2.00 | 4.00 | 8.00 | 16.00 | |||||||||||||
| vnclip.wx v8,v16,t0 | 1.06 | 1.06 | 2.00 | 4.00 | 8.00 | 16.00 | 1.06 | 2.00 | 4.00 | 8.00 | 16.00 | 2.00 | 4.00 | 8.00 | 16.00 | |||||||||||||
| vnclip.wx v8,v16,t0,v0.t | 1.06 | 1.06 | 2.00 | 4.00 | 8.00 | 16.00 | 1.06 | 2.00 | 4.00 | 8.00 | 16.00 | 2.00 | 4.00 | 8.00 | 16.00 | |||||||||||||
| vnclip.wi v8,v16,13 | 1.00 | 1.00 | 2.00 | 4.00 | 8.00 | 16.00 | 1.00 | 2.00 | 4.00 | 8.00 | 16.00 | 2.00 | 4.00 | 8.00 | 16.00 | |||||||||||||
| vnclip.wi v8,v16,13,v0.t | 1.00 | 1.00 | 2.00 | 4.00 | 8.00 | 16.00 | 1.00 | 2.00 | 4.00 | 8.00 | 16.00 | 2.00 | 4.00 | 8.00 | 16.00 | |||||||||||||
| vnmsub.vv v8,v16,v24 | 1.00 | 1.00 | 1.00 | 1.00 | 2.00 | 4.00 | 1.00 | 1.00 | 1.00 | 2.00 | 4.00 | 1.00 | 1.00 | 2.00 | 5.00 | |||||||||||||
| vnmsub.vv v8,v16,v24,v0.t | 1.00 | 1.00 | 1.00 | 1.00 | 2.00 | 4.00 | 1.00 | 1.00 | 1.00 | 2.00 | 4.00 | 1.00 | 1.00 | 2.00 | 5.00 | |||||||||||||
| vnmsub.vx v8,t0,v16 | 1.06 | 1.06 | 1.06 | 1.06 | 2.00 | 4.00 | 1.06 | 1.06 | 1.06 | 2.00 | 4.00 | 1.06 | 1.06 | 2.00 | 5.00 | |||||||||||||
| vnmsub.vx v8,t0,v16,v0.t | 1.06 | 1.06 | 1.06 | 1.06 | 2.00 | 4.00 | 1.06 | 1.06 | 1.06 | 2.00 | 4.00 | 1.06 | 1.06 | 2.00 | 5.00 | |||||||||||||
| vnmsac.vv v8,v16,v24 | 1.00 | 1.00 | 1.00 | 1.00 | 2.00 | 4.00 | 1.00 | 1.00 | 1.00 | 2.00 | 4.00 | 1.00 | 1.00 | 2.00 | 5.00 | |||||||||||||
| vnmsac.vv v8,v16,v24,v0.t | 1.00 | 1.00 | 1.00 | 1.00 | 2.00 | 4.00 | 1.00 | 1.00 | 1.00 | 2.00 | 4.00 | 1.00 | 1.00 | 2.00 | 5.00 | |||||||||||||
| vnmsac.vx v8,t0,v16 | 1.06 | 1.06 | 1.06 | 1.06 | 2.00 | 4.00 | 1.06 | 1.06 | 1.06 | 2.00 | 4.00 | 1.06 | 1.06 | 2.00 | 5.00 | |||||||||||||
| vnmsac.vx v8,t0,v16,v0.t | 1.06 | 1.06 | 1.06 | 1.06 | 2.00 | 4.00 | 1.06 | 1.06 | 1.06 | 2.00 | 4.00 | 1.06 | 1.06 | 2.00 | 5.00 | |||||||||||||
| vwaddu.vv v8,v16,v24 | 1.00 | 1.00 | 2.00 | 2.00 | 4.00 | 8.00 | 1.00 | 2.00 | 2.00 | 4.00 | 8.00 | 2.00 | 2.00 | 4.00 | 8.00 | |||||||||||||
| vwaddu.vv v8,v16,v24,v0.t | 1.00 | 1.00 | 2.00 | 2.00 | 4.00 | 8.00 | 1.00 | 2.00 | 2.00 | 4.00 | 8.00 | 2.00 | 2.00 | 4.00 | 8.00 | |||||||||||||
| vwaddu.vx v8,v16,t0 | 1.06 | 1.06 | 2.00 | 2.00 | 4.00 | 8.00 | 1.06 | 2.00 | 2.00 | 4.00 | 8.00 | 2.00 | 2.00 | 4.00 | 8.00 | |||||||||||||
| vwaddu.vx v8,v16,t0,v0.t | 1.06 | 1.06 | 2.00 | 2.00 | 4.00 | 8.00 | 1.06 | 2.00 | 2.00 | 4.00 | 8.00 | 2.00 | 2.00 | 4.00 | 8.00 | |||||||||||||
| vwadd.vv v8,v16,v24 | 1.00 | 1.00 | 2.00 | 2.00 | 4.00 | 8.00 | 1.00 | 2.00 | 2.00 | 4.00 | 8.00 | 2.00 | 2.00 | 4.00 | 8.00 | |||||||||||||
| vwadd.vv v8,v16,v24,v0.t | 1.00 | 1.00 | 2.00 | 2.00 | 4.00 | 8.00 | 1.00 | 2.00 | 2.00 | 4.00 | 8.00 | 2.00 | 2.00 | 4.00 | 8.00 | |||||||||||||
| vwadd.vx v8,v16,t0 | 1.06 | 1.06 | 2.00 | 2.00 | 4.00 | 8.00 | 1.06 | 2.00 | 2.00 | 4.00 | 8.00 | 2.00 | 2.00 | 4.00 | 8.00 | |||||||||||||
| vwadd.vx v8,v16,t0,v0.t | 1.06 | 1.06 | 2.00 | 2.00 | 4.00 | 8.00 | 1.06 | 2.00 | 2.00 | 4.00 | 8.00 | 2.00 | 2.00 | 4.00 | 8.00 | |||||||||||||
| vwsubu.vv v8,v16,v24 | 1.00 | 1.00 | 2.00 | 2.00 | 4.00 | 8.00 | 1.00 | 2.00 | 2.00 | 4.00 | 8.00 | 2.00 | 2.00 | 4.00 | 8.00 | |||||||||||||
| vwsubu.vv v8,v16,v24,v0.t | 1.00 | 1.00 | 2.00 | 2.00 | 4.00 | 8.00 | 1.00 | 2.00 | 2.00 | 4.00 | 8.00 | 2.00 | 2.00 | 4.00 | 8.00 | |||||||||||||
| vwsubu.vx v8,v16,t0 | 1.06 | 1.06 | 2.00 | 2.00 | 4.00 | 8.00 | 1.06 | 2.00 | 2.00 | 4.00 | 8.00 | 2.00 | 2.00 | 4.00 | 8.00 | |||||||||||||
| vwsubu.vx v8,v16,t0,v0.t | 1.06 | 1.06 | 2.00 | 2.00 | 4.00 | 8.00 | 1.06 | 2.00 | 2.00 | 4.00 | 8.00 | 2.00 | 2.00 | 4.00 | 8.00 | |||||||||||||
| vwsub.vv v8,v16,v24 | 1.00 | 1.00 | 2.00 | 2.00 | 4.00 | 8.00 | 1.00 | 2.00 | 2.00 | 4.00 | 8.00 | 2.00 | 2.00 | 4.00 | 8.00 | |||||||||||||
| vwsub.vv v8,v16,v24,v0.t | 1.00 | 1.00 | 2.00 | 2.00 | 4.00 | 8.00 | 1.00 | 2.00 | 2.00 | 4.00 | 8.00 | 2.00 | 2.00 | 4.00 | 8.00 | |||||||||||||
| vwsub.vx v8,v16,t0 | 1.06 | 1.06 | 2.00 | 2.00 | 4.00 | 8.00 | 1.06 | 2.00 | 2.00 | 4.00 | 8.00 | 2.00 | 2.00 | 4.00 | 8.00 | |||||||||||||
| vwsub.vx v8,v16,t0,v0.t | 1.06 | 1.06 | 2.00 | 2.00 | 4.00 | 8.00 | 1.06 | 2.00 | 2.00 | 4.00 | 8.00 | 2.00 | 2.00 | 4.00 | 8.00 | |||||||||||||
| vwaddu.wv v8,v16,v24 | 1.00 | 1.00 | 2.00 | 2.00 | 4.00 | 8.00 | 1.00 | 2.00 | 2.00 | 4.00 | 8.00 | 2.00 | 2.00 | 4.00 | 8.00 | |||||||||||||
| vwaddu.wv v8,v16,v24,v0.t | 1.00 | 1.00 | 2.00 | 2.00 | 4.00 | 8.00 | 1.00 | 2.00 | 2.00 | 4.00 | 8.00 | 2.00 | 2.00 | 4.00 | 8.00 | |||||||||||||
| vwaddu.wx v8,v16,t0 | 1.06 | 1.06 | 2.00 | 2.00 | 4.00 | 8.00 | 1.06 | 2.00 | 2.00 | 4.00 | 8.00 | 2.00 | 2.00 | 4.00 | 8.00 | |||||||||||||
| vwaddu.wx v8,v16,t0,v0.t | 1.06 | 1.06 | 2.00 | 2.00 | 4.00 | 8.00 | 1.06 | 2.00 | 2.00 | 4.00 | 8.00 | 2.00 | 2.00 | 4.00 | 8.00 | |||||||||||||
| vwadd.wv v8,v16,v24 | 1.00 | 1.00 | 2.00 | 2.00 | 4.00 | 8.00 | 1.00 | 2.00 | 2.00 | 4.00 | 8.00 | 2.00 | 2.00 | 4.00 | 8.00 | |||||||||||||
| vwadd.wv v8,v16,v24,v0.t | 1.00 | 1.00 | 2.00 | 2.00 | 4.00 | 8.00 | 1.00 | 2.00 | 2.00 | 4.00 | 8.00 | 2.00 | 2.00 | 4.00 | 8.00 | |||||||||||||
| vwadd.wx v8,v16,t0 | 1.06 | 1.06 | 2.00 | 2.00 | 4.00 | 8.00 | 1.06 | 2.00 | 2.00 | 4.00 | 8.00 | 2.00 | 2.00 | 4.00 | 8.00 | |||||||||||||
| vwadd.wx v8,v16,t0,v0.t | 1.06 | 1.06 | 2.00 | 2.00 | 4.00 | 8.00 | 1.06 | 2.00 | 2.00 | 4.00 | 8.00 | 2.00 | 2.00 | 4.00 | 8.00 | |||||||||||||
| vwsubu.wv v8,v16,v24 | 1.00 | 1.00 | 2.00 | 2.00 | 4.00 | 8.00 | 1.00 | 2.00 | 2.00 | 4.00 | 8.00 | 2.00 | 2.00 | 4.00 | 8.00 | |||||||||||||
| vwsubu.wv v8,v16,v24,v0.t | 1.00 | 1.00 | 2.00 | 2.00 | 4.00 | 8.00 | 1.00 | 2.00 | 2.00 | 4.00 | 8.00 | 2.00 | 2.00 | 4.00 | 8.00 | |||||||||||||
| vwsubu.wx v8,v16,t0 | 1.06 | 1.06 | 2.00 | 2.00 | 4.00 | 8.00 | 1.06 | 2.00 | 2.00 | 4.00 | 8.00 | 2.00 | 2.00 | 4.00 | 8.00 | |||||||||||||
| vwsubu.wx v8,v16,t0,v0.t | 1.06 | 1.06 | 2.00 | 2.00 | 4.00 | 8.00 | 1.06 | 2.00 | 2.00 | 4.00 | 8.00 | 2.00 | 2.00 | 4.00 | 8.00 | |||||||||||||
| vwsub.wv v8,v16,v24 | 1.00 | 1.00 | 2.00 | 2.00 | 4.00 | 8.00 | 1.00 | 2.00 | 2.00 | 4.00 | 8.00 | 2.00 | 2.00 | 4.00 | 8.00 | |||||||||||||
| vwsub.wv v8,v16,v24,v0.t | 1.00 | 1.00 | 2.00 | 2.00 | 4.00 | 8.00 | 1.00 | 2.00 | 2.00 | 4.00 | 8.00 | 2.00 | 2.00 | 4.00 | 8.00 | |||||||||||||
| vwsub.wx v8,v16,t0 | 1.06 | 1.06 | 2.00 | 2.00 | 4.00 | 8.00 | 1.06 | 2.00 | 2.00 | 4.00 | 8.00 | 2.00 | 2.00 | 4.00 | 8.00 | |||||||||||||
| vwsub.wx v8,v16,t0,v0.t | 1.06 | 1.06 | 2.00 | 2.00 | 4.00 | 8.00 | 1.06 | 2.00 | 2.00 | 4.00 | 8.00 | 2.00 | 2.00 | 4.00 | 8.00 | |||||||||||||
| vwmulu.vv v8,v16,v24 | 1.00 | 1.00 | 2.00 | 2.00 | 4.00 | 8.00 | 1.00 | 2.00 | 2.00 | 4.00 | 8.00 | 2.00 | 2.00 | 4.00 | 8.00 | |||||||||||||
| vwmulu.vv v8,v16,v24,v0.t | 1.00 | 1.00 | 2.00 | 2.00 | 4.00 | 8.00 | 1.00 | 2.00 | 2.00 | 4.00 | 8.00 | 2.00 | 2.00 | 4.00 | 8.00 | |||||||||||||
| vwmulu.vx v8,v16,t0 | 1.06 | 1.06 | 2.00 | 2.00 | 4.00 | 8.00 | 1.06 | 2.00 | 2.00 | 4.00 | 8.00 | 2.00 | 2.00 | 4.00 | 8.00 | |||||||||||||
| vwmulu.vx v8,v16,t0,v0.t | 1.06 | 1.06 | 2.00 | 2.00 | 4.00 | 8.00 | 1.06 | 2.00 | 2.00 | 4.00 | 8.00 | 2.00 | 2.00 | 4.00 | 8.00 | |||||||||||||
| vwmulsu.vv v8,v16,v24 | 1.00 | 1.00 | 2.00 | 2.00 | 4.00 | 8.00 | 1.00 | 2.00 | 2.00 | 4.00 | 8.00 | 2.00 | 2.00 | 4.00 | 8.00 | |||||||||||||
| vwmulsu.vv v8,v16,v24,v0.t | 1.00 | 1.00 | 2.00 | 2.00 | 4.00 | 8.00 | 1.00 | 2.00 | 2.00 | 4.00 | 8.00 | 2.00 | 2.00 | 4.00 | 8.00 | |||||||||||||
| vwmulsu.vx v8,v16,t0 | 1.06 | 1.06 | 2.00 | 2.00 | 4.00 | 8.00 | 1.06 | 2.00 | 2.00 | 4.00 | 8.00 | 2.00 | 2.00 | 4.00 | 8.00 | |||||||||||||
| vwmulsu.vx v8,v16,t0,v0.t | 1.06 | 1.06 | 2.00 | 2.00 | 4.00 | 8.00 | 1.06 | 2.00 | 2.00 | 4.00 | 8.00 | 2.00 | 2.00 | 4.00 | 8.00 | |||||||||||||
| vwmul.vv v8,v16,v24 | 1.00 | 1.00 | 2.00 | 2.00 | 4.00 | 8.00 | 1.00 | 2.00 | 2.00 | 4.00 | 8.00 | 2.00 | 2.00 | 4.00 | 8.00 | |||||||||||||
| vwmul.vv v8,v16,v24,v0.t | 1.00 | 1.00 | 2.00 | 2.00 | 4.00 | 8.00 | 1.00 | 2.00 | 2.00 | 4.00 | 8.00 | 2.00 | 2.00 | 4.00 | 8.00 | |||||||||||||
| vwmul.vx v8,v16,t0 | 1.06 | 1.06 | 2.00 | 2.00 | 4.00 | 8.00 | 1.06 | 2.00 | 2.00 | 4.00 | 8.00 | 2.00 | 2.00 | 4.00 | 8.00 | |||||||||||||
| vwmul.vx v8,v16,t0,v0.t | 1.06 | 1.06 | 2.00 | 2.00 | 4.00 | 8.00 | 1.06 | 2.00 | 2.00 | 4.00 | 8.00 | 2.00 | 2.00 | 4.00 | 8.00 | |||||||||||||
| vwmaccu.vv v8,v16,v24 | 1.00 | 1.00 | 2.00 | 2.00 | 4.00 | 8.00 | 1.00 | 2.00 | 2.00 | 4.00 | 8.00 | 2.00 | 2.00 | 4.00 | 8.00 | |||||||||||||
| vwmaccu.vv v8,v16,v24,v0.t | 1.00 | 1.00 | 2.00 | 2.00 | 4.00 | 8.00 | 1.00 | 2.00 | 2.00 | 4.00 | 8.00 | 2.00 | 2.00 | 4.00 | 8.00 | |||||||||||||
| vwmaccu.vx v8,t0,v16 | 1.06 | 1.06 | 2.00 | 2.00 | 4.00 | 8.00 | 1.06 | 2.00 | 2.00 | 4.00 | 8.00 | 2.00 | 2.00 | 4.00 | 8.00 | |||||||||||||
| vwmaccu.vx v8,t0,v16,v0.t | 1.06 | 1.06 | 2.00 | 2.00 | 4.00 | 8.00 | 1.06 | 2.00 | 2.00 | 4.00 | 8.00 | 2.00 | 2.00 | 4.00 | 8.00 | |||||||||||||
| vwmacc.vv v8,v16,v24 | 1.00 | 1.00 | 2.00 | 2.00 | 4.00 | 8.00 | 1.00 | 2.00 | 2.00 | 4.00 | 8.00 | 2.00 | 2.00 | 4.00 | 8.00 | |||||||||||||
| vwmacc.vv v8,v16,v24,v0.t | 1.00 | 1.00 | 2.00 | 2.00 | 4.00 | 8.00 | 1.00 | 2.00 | 2.00 | 4.00 | 8.00 | 2.00 | 2.00 | 4.00 | 8.00 | |||||||||||||
| vwmacc.vx v8,t0,v16 | 1.06 | 1.06 | 2.00 | 2.00 | 4.00 | 8.00 | 1.06 | 2.00 | 2.00 | 4.00 | 8.00 | 2.00 | 2.00 | 4.00 | 8.00 | |||||||||||||
| vwmacc.vx v8,t0,v16,v0.t | 1.06 | 1.06 | 2.00 | 2.00 | 4.00 | 8.00 | 1.06 | 2.00 | 2.00 | 4.00 | 8.00 | 2.00 | 2.00 | 4.00 | 8.00 | |||||||||||||
| vwmaccsu.vv v8,v16,v24 | 1.00 | 1.00 | 2.00 | 2.00 | 4.00 | 8.00 | 1.00 | 2.00 | 2.00 | 4.00 | 8.00 | 2.00 | 2.00 | 4.00 | 8.00 | |||||||||||||
| vwmaccsu.vv v8,v16,v24,v0.t | 1.00 | 1.00 | 2.00 | 2.00 | 4.00 | 8.00 | 1.00 | 2.00 | 2.00 | 4.00 | 8.00 | 2.00 | 2.00 | 4.00 | 8.00 | |||||||||||||
| vwmaccsu.vx v8,t0,v16 | 1.06 | 1.06 | 2.00 | 2.00 | 4.00 | 8.00 | 1.06 | 2.00 | 2.00 | 4.00 | 8.00 | 2.00 | 2.00 | 4.00 | 8.00 | |||||||||||||
| vwmaccsu.vx v8,t0,v16,v0.t | 1.06 | 1.06 | 2.00 | 2.00 | 4.00 | 8.00 | 1.06 | 2.00 | 2.00 | 4.00 | 8.00 | 2.00 | 2.00 | 4.00 | 8.00 | |||||||||||||
| vwmaccus.vx v8,t0,v16 | 1.06 | 1.06 | 2.00 | 2.00 | 4.00 | 8.00 | 1.06 | 2.00 | 2.00 | 4.00 | 8.00 | 2.00 | 2.00 | 4.00 | 8.00 | |||||||||||||
| vwmaccus.vx v8,t0,v16,v0.t | 1.06 | 1.06 | 2.00 | 2.00 | 4.00 | 8.00 | 1.06 | 2.00 | 2.00 | 4.00 | 8.00 | 2.00 | 2.00 | 4.00 | 8.00 | |||||||||||||
| vfadd.vv v8,v16,v24 | 1.00 | 1.00 | 1.00 | 2.00 | 4.00 | 8.00 | 1.00 | 1.00 | 2.00 | 4.00 | 8.00 | 1.00 | 2.00 | 4.00 | 8.00 | |||||||||||||
| vfadd.vv v8,v16,v24,v0.t | 1.00 | 1.00 | 1.00 | 2.00 | 4.00 | 8.00 | 1.00 | 1.00 | 2.00 | 4.00 | 8.00 | 1.00 | 2.00 | 4.00 | 8.00 | |||||||||||||
| vfadd.vf v8,v16,ft0 | 1.00 | 1.00 | 1.00 | 2.00 | 4.00 | 8.00 | 1.00 | 1.00 | 2.00 | 4.00 | 8.00 | 1.00 | 2.00 | 4.00 | 8.00 | |||||||||||||
| vfadd.vf v8,v16,ft0,v0.t | 1.00 | 1.00 | 1.00 | 2.00 | 4.00 | 8.00 | 1.00 | 1.00 | 2.00 | 4.00 | 8.00 | 1.00 | 2.00 | 4.00 | 8.00 | |||||||||||||
| vfsub.vv v8,v16,v24 | 1.00 | 1.00 | 1.00 | 2.00 | 4.00 | 8.00 | 1.00 | 1.00 | 2.00 | 4.00 | 8.00 | 1.00 | 2.00 | 4.00 | 8.00 | |||||||||||||
| vfsub.vv v8,v16,v24,v0.t | 1.00 | 1.00 | 1.00 | 2.00 | 4.00 | 8.00 | 1.00 | 1.00 | 2.00 | 4.00 | 8.00 | 1.00 | 2.00 | 4.00 | 8.00 | |||||||||||||
| vfsub.vf v8,v16,ft0 | 1.00 | 1.00 | 1.00 | 2.00 | 4.00 | 8.00 | 1.00 | 1.00 | 2.00 | 4.00 | 8.00 | 1.00 | 2.00 | 4.00 | 8.00 | |||||||||||||
| vfsub.vf v8,v16,ft0,v0.t | 1.00 | 1.00 | 1.00 | 2.00 | 4.00 | 8.00 | 1.00 | 1.00 | 2.00 | 4.00 | 8.00 | 1.00 | 2.00 | 4.00 | 8.00 | |||||||||||||
| vfmin.vv v8,v16,v24 | 1.00 | 1.00 | 1.00 | 2.00 | 4.00 | 8.00 | 1.00 | 1.00 | 2.00 | 4.00 | 8.00 | 1.00 | 2.00 | 4.00 | 8.00 | |||||||||||||
| vfmin.vv v8,v16,v24,v0.t | 1.00 | 1.00 | 1.00 | 2.00 | 4.00 | 8.00 | 1.00 | 1.00 | 2.00 | 4.00 | 8.00 | 1.00 | 2.00 | 4.00 | 8.00 | |||||||||||||
| vfmin.vf v8,v16,ft0 | 1.00 | 1.00 | 1.00 | 2.00 | 4.00 | 8.00 | 1.00 | 1.00 | 2.00 | 4.00 | 8.00 | 1.00 | 2.00 | 4.00 | 8.00 | |||||||||||||
| vfmin.vf v8,v16,ft0,v0.t | 1.00 | 1.00 | 1.00 | 2.00 | 4.00 | 8.00 | 1.00 | 1.00 | 2.00 | 4.00 | 8.00 | 1.00 | 2.00 | 4.00 | 8.00 | |||||||||||||
| vfmax.vv v8,v16,v24 | 1.00 | 1.00 | 1.00 | 2.00 | 4.00 | 8.00 | 1.00 | 1.00 | 2.00 | 4.00 | 8.00 | 1.00 | 2.00 | 4.00 | 8.00 | |||||||||||||
| vfmax.vv v8,v16,v24,v0.t | 1.00 | 1.00 | 1.00 | 2.00 | 4.00 | 8.00 | 1.00 | 1.00 | 2.00 | 4.00 | 8.00 | 1.00 | 2.00 | 4.00 | 8.00 | |||||||||||||
| vfmax.vf v8,v16,ft0 | 1.00 | 1.00 | 1.00 | 2.00 | 4.00 | 8.00 | 1.00 | 1.00 | 2.00 | 4.00 | 8.00 | 1.00 | 2.00 | 4.00 | 8.00 | |||||||||||||
| vfmax.vf v8,v16,ft0,v0.t | 1.00 | 1.00 | 1.00 | 2.00 | 4.00 | 8.00 | 1.00 | 1.00 | 2.00 | 4.00 | 8.00 | 1.00 | 2.00 | 4.00 | 8.00 | |||||||||||||
| vfsgnj.vv v8,v16,v24 | 1.00 | 1.00 | 2.00 | 4.00 | 8.00 | 16.00 | 1.00 | 2.00 | 4.00 | 8.00 | 16.00 | 2.00 | 4.00 | 8.00 | 16.00 | |||||||||||||
| vfsgnj.vv v8,v16,v24,v0.t | 1.00 | 1.00 | 2.00 | 4.00 | 8.00 | 16.00 | 1.00 | 2.00 | 4.00 | 8.00 | 16.00 | 2.00 | 4.00 | 8.00 | 16.00 | |||||||||||||
| vfsgnj.vf v8,v16,ft0 | 1.00 | 1.00 | 2.00 | 4.00 | 8.00 | 16.00 | 1.00 | 2.00 | 4.00 | 8.00 | 16.00 | 2.00 | 4.00 | 8.00 | 16.00 | |||||||||||||
| vfsgnj.vf v8,v16,ft0,v0.t | 1.00 | 1.00 | 2.00 | 4.00 | 8.00 | 16.00 | 1.00 | 2.00 | 4.00 | 8.00 | 16.00 | 2.00 | 4.00 | 8.00 | 16.00 | |||||||||||||
| vfsgnjn.vv v8,v16,v24 | 1.00 | 1.00 | 2.00 | 4.00 | 8.00 | 16.00 | 1.00 | 2.00 | 4.00 | 8.00 | 16.00 | 2.00 | 4.00 | 8.00 | 16.00 | |||||||||||||
| vfsgnjn.vv v8,v16,v24,v0.t | 1.00 | 1.00 | 2.00 | 4.00 | 8.00 | 16.00 | 1.00 | 2.00 | 4.00 | 8.00 | 16.00 | 2.00 | 4.00 | 8.00 | 16.00 | |||||||||||||
| vfsgnjn.vf v8,v16,ft0 | 1.00 | 1.00 | 2.00 | 4.00 | 8.00 | 16.00 | 1.00 | 2.00 | 4.00 | 8.00 | 16.00 | 2.00 | 4.00 | 8.00 | 16.00 | |||||||||||||
| vfsgnjn.vf v8,v16,ft0,v0.t | 1.00 | 1.00 | 2.00 | 4.00 | 8.00 | 16.00 | 1.00 | 2.00 | 4.00 | 8.00 | 16.00 | 2.00 | 4.00 | 8.00 | 16.00 | |||||||||||||
| vfsgnjx.vv v8,v16,v24 | 1.00 | 1.00 | 2.00 | 4.00 | 8.00 | 16.00 | 1.00 | 2.00 | 4.00 | 8.00 | 16.00 | 2.00 | 4.00 | 8.00 | 16.00 | |||||||||||||
| vfsgnjx.vv v8,v16,v24,v0.t | 1.00 | 1.00 | 2.00 | 4.00 | 8.00 | 16.00 | 1.00 | 2.00 | 4.00 | 8.00 | 16.00 | 2.00 | 4.00 | 8.00 | 16.00 | |||||||||||||
| vfsgnjx.vf v8,v16,ft0 | 1.00 | 1.00 | 2.00 | 4.00 | 8.00 | 16.00 | 1.00 | 2.00 | 4.00 | 8.00 | 16.00 | 2.00 | 4.00 | 8.00 | 16.00 | |||||||||||||
| vfsgnjx.vf v8,v16,ft0,v0.t | 1.00 | 1.00 | 2.00 | 4.00 | 8.00 | 16.00 | 1.00 | 2.00 | 4.00 | 8.00 | 16.00 | 2.00 | 4.00 | 8.00 | 16.00 | |||||||||||||
| vfslide1up.vf v8,v16,ft0 | 1.00 | 1.00 | 2.00 | 4.00 | 8.00 | 16.00 | 1.00 | 2.00 | 4.00 | 8.00 | 16.00 | 2.00 | 4.00 | 8.00 | 16.00 | |||||||||||||
| vfslide1up.vf v8,v16,ft0,v0.t | 1.00 | 1.00 | 2.00 | 4.00 | 8.00 | 16.00 | 1.00 | 2.00 | 4.00 | 8.00 | 16.00 | 2.00 | 4.00 | 8.00 | 16.00 | |||||||||||||
| vfslide1down.vf v8,v16,ft0 | 1.00 | 1.00 | 3.00 | 5.00 | 9.00 | 17.00 | 1.00 | 3.00 | 5.00 | 9.00 | 17.00 | 3.00 | 5.00 | 9.00 | 17.00 | |||||||||||||
| vfslide1down.vf v8,v16,ft0,v0.t | 1.00 | 1.00 | 3.00 | 5.00 | 9.00 | 17.00 | 1.00 | 3.00 | 5.00 | 9.00 | 17.00 | 3.00 | 5.00 | 9.00 | 17.00 | |||||||||||||
| vfredusum.vs v8,v16,v24 | 8.00 | 8.00 | 8.00 | 14.00 | 20.00 | 56.99 | 5.00 | 6.50 | 11.00 | 17.00 | 53.99 | 4.00 | 7.00 | 15.50 | 51.99 | |||||||||||||
| vfredusum.vs v8,v16,v24,v0.t | 8.00 | 8.00 | 8.00 | 14.00 | 20.00 | 56.99 | 5.00 | 6.50 | 11.00 | 17.00 | 53.99 | 4.00 | 7.00 | 15.50 | 51.99 | |||||||||||||
| vfredosum.vs v8,v16,v24 | 8.00 | 20.00 | 23.00 | 47.00 | 95.98 | 383.65 | 8.00 | 11.00 | 23.00 | 48.00 | 191.89 | 5.50 | 11.50 | 24.50 | 96.97 | |||||||||||||
| vfredosum.vs v8,v16,v24,v0.t | 8.00 | 20.00 | 23.00 | 47.00 | 95.98 | 383.66 | 8.00 | 11.00 | 23.00 | 47.99 | 191.90 | 5.50 | 11.50 | 24.50 | 96.98 | |||||||||||||
| vfredmin.vs v8,v16,v24 | 8.00 | 8.00 | 8.00 | 14.00 | 20.00 | 56.99 | 5.00 | 6.50 | 11.00 | 17.00 | 53.99 | 4.00 | 7.00 | 14.00 | 51.00 | |||||||||||||
| vfredmin.vs v8,v16,v24,v0.t | 8.00 | 8.00 | 8.00 | 14.00 | 20.00 | 57.00 | 5.00 | 6.50 | 11.00 | 17.00 | 53.99 | 4.00 | 7.00 | 14.00 | 51.00 | |||||||||||||
| vfredmax.vs v8,v16,v24 | 8.00 | 8.00 | 8.00 | 14.00 | 20.00 | 57.00 | 5.00 | 6.50 | 11.00 | 17.00 | 53.99 | 4.00 | 7.00 | 14.00 | 51.00 | |||||||||||||
| vfredmax.vs v8,v16,v24,v0.t | 8.00 | 8.00 | 8.00 | 14.00 | 20.00 | 56.99 | 5.00 | 6.50 | 11.00 | 17.00 | 53.99 | 4.00 | 7.00 | 14.00 | 51.00 | |||||||||||||
| vfmerge.vfm v8,v16,ft0,v0 | 1.00 | 1.00 | 2.00 | 4.00 | 8.00 | 16.00 | 1.00 | 2.00 | 4.00 | 8.00 | 16.00 | 2.00 | 4.00 | 8.00 | 16.00 | |||||||||||||
| vfmv.v.f v8,ft0 | 1.00 | 1.00 | 2.00 | 4.00 | 8.00 | 16.00 | 1.00 | 2.00 | 4.00 | 8.00 | 16.00 | 2.00 | 4.00 | 8.00 | 16.00 | |||||||||||||
| vmfeq.vv v8,v16,v24 | 1.00 | 1.00 | 2.00 | 2.50 | 5.00 | 18.00 | 1.00 | 2.00 | 2.50 | 5.00 | 18.00 | 2.00 | 2.50 | 5.00 | 18.00 | |||||||||||||
| vmfeq.vv v8,v16,v24,v0.t | 1.00 | 1.00 | 2.00 | 2.50 | 5.00 | 18.00 | 1.00 | 2.00 | 2.50 | 5.00 | 18.00 | 2.00 | 2.50 | 5.00 | 18.00 | |||||||||||||
| vmfeq.vf v8,v16,ft0 | 1.00 | 1.00 | 2.00 | 2.50 | 5.00 | 18.00 | 1.00 | 2.00 | 2.50 | 5.00 | 18.00 | 2.00 | 2.50 | 5.00 | 18.00 | |||||||||||||
| vmfeq.vf v8,v16,ft0,v0.t | 1.00 | 1.00 | 2.00 | 2.50 | 5.00 | 18.00 | 1.00 | 2.00 | 2.50 | 5.00 | 18.00 | 2.00 | 2.50 | 5.00 | 18.00 | |||||||||||||
| vmfle.vv v8,v16,v24 | 1.00 | 1.00 | 2.00 | 2.50 | 5.00 | 18.00 | 1.00 | 2.00 | 2.50 | 5.00 | 18.00 | 2.00 | 2.50 | 5.00 | 18.00 | |||||||||||||
| vmfle.vv v8,v16,v24,v0.t | 1.00 | 1.00 | 2.00 | 2.50 | 5.00 | 18.00 | 1.00 | 2.00 | 2.50 | 5.00 | 18.00 | 2.00 | 2.50 | 5.00 | 18.00 | |||||||||||||
| vmfle.vf v8,v16,ft0 | 1.00 | 1.00 | 2.00 | 2.50 | 5.00 | 18.00 | 1.00 | 2.00 | 2.50 | 5.00 | 18.00 | 2.00 | 2.50 | 5.00 | 18.00 | |||||||||||||
| vmfle.vf v8,v16,ft0,v0.t | 1.00 | 1.00 | 2.00 | 2.50 | 5.00 | 18.00 | 1.00 | 2.00 | 2.50 | 5.00 | 18.00 | 2.00 | 2.50 | 5.00 | 18.00 | |||||||||||||
| vmflt.vv v8,v16,v24 | 1.00 | 1.00 | 2.00 | 2.50 | 5.00 | 18.00 | 1.00 | 2.00 | 2.50 | 5.00 | 18.00 | 2.00 | 2.50 | 5.00 | 18.00 | |||||||||||||
| vmflt.vv v8,v16,v24,v0.t | 1.00 | 1.00 | 2.00 | 2.50 | 5.00 | 18.00 | 1.00 | 2.00 | 2.50 | 5.00 | 18.00 | 2.00 | 2.50 | 5.00 | 18.00 | |||||||||||||
| vmflt.vf v8,v16,ft0 | 1.00 | 1.00 | 2.00 | 2.50 | 5.00 | 18.00 | 1.00 | 2.00 | 2.50 | 5.00 | 18.00 | 2.00 | 2.50 | 5.00 | 18.00 | |||||||||||||
| vmflt.vf v8,v16,ft0,v0.t | 1.00 | 1.00 | 2.00 | 2.50 | 5.00 | 18.00 | 1.00 | 2.00 | 2.50 | 5.00 | 18.00 | 2.00 | 2.50 | 5.00 | 18.00 | |||||||||||||
| vmfne.vv v8,v16,v24 | 1.00 | 1.00 | 2.00 | 2.50 | 5.00 | 18.00 | 1.00 | 2.00 | 2.50 | 5.00 | 18.00 | 2.00 | 2.50 | 5.00 | 18.00 | |||||||||||||
| vmfne.vv v8,v16,v24,v0.t | 1.00 | 1.00 | 2.00 | 2.50 | 5.00 | 18.00 | 1.00 | 2.00 | 2.50 | 5.00 | 18.00 | 2.00 | 2.50 | 5.00 | 18.00 | |||||||||||||
| vmfne.vf v8,v16,ft0 | 1.00 | 1.00 | 2.00 | 2.50 | 5.00 | 18.00 | 1.00 | 2.00 | 2.50 | 5.00 | 18.00 | 2.00 | 2.50 | 5.00 | 18.00 | |||||||||||||
| vmfne.vf v8,v16,ft0,v0.t | 1.00 | 1.00 | 2.00 | 2.50 | 5.00 | 18.00 | 1.00 | 2.00 | 2.50 | 5.00 | 18.00 | 2.00 | 2.50 | 5.00 | 18.00 | |||||||||||||
| vmfgt.vv v8,v16,v24 | 1.00 | 1.00 | 2.00 | 2.50 | 5.00 | 18.00 | 1.00 | 2.00 | 2.50 | 5.00 | 18.00 | 2.00 | 2.50 | 5.00 | 18.00 | |||||||||||||
| vmfgt.vv v8,v16,v24,v0.t | 1.00 | 1.00 | 2.00 | 2.50 | 5.00 | 18.00 | 1.00 | 2.00 | 2.50 | 5.00 | 18.00 | 2.00 | 2.50 | 5.00 | 18.00 | |||||||||||||
| vmfgt.vf v8,v16,ft0 | 1.00 | 1.00 | 2.00 | 2.50 | 5.00 | 18.00 | 1.00 | 2.00 | 2.50 | 5.00 | 18.00 | 2.00 | 2.50 | 5.00 | 18.00 | |||||||||||||
| vmfgt.vf v8,v16,ft0,v0.t | 1.00 | 1.00 | 2.00 | 2.50 | 5.00 | 18.00 | 1.00 | 2.00 | 2.50 | 5.00 | 18.00 | 2.00 | 2.50 | 5.00 | 18.00 | |||||||||||||
| vmfge.vv v8,v16,v24 | 1.00 | 1.00 | 2.00 | 2.50 | 5.00 | 18.00 | 1.00 | 2.00 | 2.50 | 5.00 | 18.00 | 2.00 | 2.50 | 5.00 | 18.00 | |||||||||||||
| vmfge.vv v8,v16,v24,v0.t | 1.00 | 1.00 | 2.00 | 2.50 | 5.00 | 18.00 | 1.00 | 2.00 | 2.50 | 5.00 | 18.00 | 2.00 | 2.50 | 5.00 | 18.00 | |||||||||||||
| vmfge.vf v8,v16,ft0 | 1.00 | 1.00 | 2.00 | 2.50 | 5.00 | 18.00 | 1.00 | 2.00 | 2.50 | 5.00 | 18.00 | 2.00 | 2.50 | 5.00 | 18.00 | |||||||||||||
| vmfge.vf v8,v16,ft0,v0.t | 1.00 | 1.00 | 2.00 | 2.50 | 5.00 | 18.00 | 1.00 | 2.00 | 2.50 | 5.00 | 18.00 | 2.00 | 2.50 | 5.00 | 18.00 | |||||||||||||
| vfdiv.vv v8,v16,v24 | 14.08 | 14.01 | 28.01 | 56.36 | 112.87 | 224.39 | 18.11 | 36.31 | 72.70 | 145.58 | 290.03 | 65.99 | 131.95 | 263.83 | 527.32 | |||||||||||||
| vfdiv.vv v8,v16,v24,v0.t | 13.83 | 13.92 | 27.96 | 55.25 | 111.54 | 223.07 | 18.07 | 36.29 | 72.29 | 139.66 | 272.66 | 52.49 | 106.32 | 207.25 | 399.36 | |||||||||||||
| vfdiv.vf v8,v16,ft0 | 7.08 | 7.16 | 14.13 | 27.67 | 55.64 | 114.44 | 11.51 | 22.29 | 48.11 | 96.59 | 193.62 | 18.75 | 24.00 | 48.00 | 95.99 | |||||||||||||
| vfdiv.vf v8,v16,ft0,v0.t | 7.12 | 7.14 | 14.25 | 27.97 | 57.44 | 113.99 | 11.41 | 22.96 | 48.26 | 94.19 | 163.63 | 17.08 | 24.00 | 48.00 | 95.99 | |||||||||||||
| vfrdiv.vf v8,v16,ft0 | 7.21 | 7.21 | 14.26 | 28.42 | 55.34 | 113.84 | 10.96 | 22.63 | 48.07 | 96.44 | 154.63 | 18.75 | 24.00 | 48.00 | 95.99 | |||||||||||||
| vfrdiv.vf v8,v16,ft0,v0.t | 6.95 | 6.88 | 14.08 | 28.05 | 55.57 | 113.24 | 11.47 | 22.91 | 48.22 | 93.82 | 168.28 | 17.10 | 24.00 | 48.00 | 95.99 | |||||||||||||
| vfmul.vv v8,v16,v24 | 1.00 | 1.00 | 1.00 | 2.00 | 4.00 | 8.00 | 1.00 | 1.00 | 2.00 | 4.00 | 8.00 | 1.00 | 2.00 | 4.00 | 8.00 | |||||||||||||
| vfmul.vv v8,v16,v24,v0.t | 1.00 | 1.00 | 1.00 | 2.00 | 4.00 | 8.00 | 1.00 | 1.00 | 2.00 | 4.00 | 8.00 | 1.00 | 2.00 | 4.00 | 8.00 | |||||||||||||
| vfmul.vf v8,v16,ft0 | 1.00 | 1.00 | 1.00 | 2.00 | 4.00 | 8.00 | 1.00 | 1.00 | 2.00 | 4.00 | 8.00 | 1.00 | 2.00 | 4.00 | 8.00 | |||||||||||||
| vfmul.vf v8,v16,ft0,v0.t | 1.00 | 1.00 | 1.00 | 2.00 | 4.00 | 8.00 | 1.00 | 1.00 | 2.00 | 4.00 | 8.00 | 1.00 | 2.00 | 4.00 | 8.00 | |||||||||||||
| vfrsub.vf v8,v16,ft0 | 1.00 | 1.00 | 1.00 | 2.00 | 4.00 | 8.00 | 1.00 | 1.00 | 2.00 | 4.00 | 8.00 | 1.00 | 2.00 | 4.00 | 8.00 | |||||||||||||
| vfrsub.vf v8,v16,ft0,v0.t | 1.00 | 1.00 | 1.00 | 2.00 | 4.00 | 8.00 | 1.00 | 1.00 | 2.00 | 4.00 | 8.00 | 1.00 | 2.00 | 4.00 | 8.00 | |||||||||||||
| vfmadd.vv v8,v16,v24 | 1.00 | 1.00 | 1.00 | 2.00 | 4.00 | 8.00 | 1.00 | 1.00 | 2.00 | 4.00 | 8.00 | 1.00 | 2.00 | 4.00 | 8.00 | |||||||||||||
| vfmadd.vv v8,v16,v24,v0.t | 1.00 | 1.00 | 1.00 | 2.00 | 4.00 | 8.00 | 1.00 | 1.00 | 2.00 | 4.00 | 8.00 | 1.00 | 2.00 | 4.00 | 8.00 | |||||||||||||
| vfmadd.vf v8,ft0,v16 | 1.00 | 1.00 | 1.00 | 2.00 | 4.00 | 8.00 | 1.00 | 1.00 | 2.00 | 4.00 | 8.00 | 1.00 | 2.00 | 4.00 | 8.00 | |||||||||||||
| vfmadd.vf v8,ft0,v16,v0.t | 1.00 | 1.00 | 1.00 | 2.00 | 4.00 | 8.00 | 1.00 | 1.00 | 2.00 | 4.00 | 8.00 | 1.00 | 2.00 | 4.00 | 8.00 | |||||||||||||
| vfmsub.vv v8,v16,v24 | 1.00 | 1.00 | 1.00 | 2.00 | 4.00 | 8.00 | 1.00 | 1.00 | 2.00 | 4.00 | 8.00 | 1.00 | 2.00 | 4.00 | 8.00 | |||||||||||||
| vfmsub.vv v8,v16,v24,v0.t | 1.00 | 1.00 | 1.00 | 2.00 | 4.00 | 8.00 | 1.00 | 1.00 | 2.00 | 4.00 | 8.00 | 1.00 | 2.00 | 4.00 | 8.00 | |||||||||||||
| vfmsub.vf v8,ft0,v16 | 1.00 | 1.00 | 1.00 | 2.00 | 4.00 | 8.00 | 1.00 | 1.00 | 2.00 | 4.00 | 8.00 | 1.00 | 2.00 | 4.00 | 8.00 | |||||||||||||
| vfmsub.vf v8,ft0,v16,v0.t | 1.00 | 1.00 | 1.00 | 2.00 | 4.00 | 8.00 | 1.00 | 1.00 | 2.00 | 4.00 | 8.00 | 1.00 | 2.00 | 4.00 | 8.00 | |||||||||||||
| vfmacc.vv v8,v16,v24 | 1.00 | 1.00 | 1.00 | 2.00 | 4.00 | 8.00 | 1.00 | 1.00 | 2.00 | 4.00 | 8.00 | 1.00 | 2.00 | 4.00 | 8.00 | |||||||||||||
| vfmacc.vv v8,v16,v24,v0.t | 1.00 | 1.00 | 1.00 | 2.00 | 4.00 | 8.00 | 1.00 | 1.00 | 2.00 | 4.00 | 8.00 | 1.00 | 2.00 | 4.00 | 8.00 | |||||||||||||
| vfmacc.vf v8,ft0,v16 | 1.00 | 1.00 | 1.00 | 2.00 | 4.00 | 8.00 | 1.00 | 1.00 | 2.00 | 4.00 | 8.00 | 1.00 | 2.00 | 4.00 | 8.00 | |||||||||||||
| vfmacc.vf v8,ft0,v16,v0.t | 1.00 | 1.00 | 1.00 | 2.00 | 4.00 | 8.00 | 1.00 | 1.00 | 2.00 | 4.00 | 8.00 | 1.00 | 2.00 | 4.00 | 8.00 | |||||||||||||
| vfmsac.vv v8,v16,v24 | 1.00 | 1.00 | 1.00 | 2.00 | 4.00 | 8.00 | 1.00 | 1.00 | 2.00 | 4.00 | 8.00 | 1.00 | 2.00 | 4.00 | 8.00 | |||||||||||||
| vfmsac.vv v8,v16,v24,v0.t | 1.00 | 1.00 | 1.00 | 2.00 | 4.00 | 8.00 | 1.00 | 1.00 | 2.00 | 4.00 | 8.00 | 1.00 | 2.00 | 4.00 | 8.00 | |||||||||||||
| vfmsac.vf v8,ft0,v16 | 1.00 | 1.00 | 1.00 | 2.00 | 4.00 | 8.00 | 1.00 | 1.00 | 2.00 | 4.00 | 8.00 | 1.00 | 2.00 | 4.00 | 8.00 | |||||||||||||
| vfmsac.vf v8,ft0,v16,v0.t | 1.00 | 1.00 | 1.00 | 2.00 | 4.00 | 8.00 | 1.00 | 1.00 | 2.00 | 4.00 | 8.00 | 1.00 | 2.00 | 4.00 | 8.00 | |||||||||||||
| vfnmsac.vv v8,v16,v24 | 1.00 | 1.00 | 1.00 | 2.00 | 5.00 | 1.00 | 1.00 | 2.00 | 5.00 | |||||||||||||||||||
| vfnmsac.vv v8,v16,v24,v0.t | 1.00 | 1.00 | 1.00 | 2.00 | 5.00 | 1.00 | 1.00 | 2.00 | 5.00 | |||||||||||||||||||
| vfnmsac.vf v8,ft0,v16 | 1.00 | 1.00 | 1.00 | 2.00 | 5.00 | 1.00 | 1.00 | 2.00 | 5.00 | |||||||||||||||||||
| vfnmsac.vf v8,ft0,v16,v0.t | 1.00 | 1.00 | 1.00 | 2.00 | 5.00 | 1.00 | 1.00 | 2.00 | 5.00 | |||||||||||||||||||
| vfnmacc.vv v8,v16,v24 | 1.00 | 1.00 | 1.00 | 2.00 | 5.00 | 1.00 | 1.00 | 2.00 | 5.00 | |||||||||||||||||||
| vfnmacc.vv v8,v16,v24,v0.t | 1.00 | 1.00 | 1.00 | 2.00 | 5.00 | 1.00 | 1.00 | 2.00 | 5.00 | |||||||||||||||||||
| vfnmacc.vf v8,ft0,v16 | 1.00 | 1.00 | 1.00 | 2.00 | 5.00 | 1.00 | 1.00 | 2.00 | 5.00 | |||||||||||||||||||
| vfnmacc.vf v8,ft0,v16,v0.t | 1.00 | 1.00 | 1.00 | 2.00 | 5.00 | 1.00 | 1.00 | 2.00 | 5.00 | |||||||||||||||||||
| vfnmsub.vv v8,v16,v24 | 1.00 | 1.00 | 1.00 | 2.00 | 5.00 | 1.00 | 1.00 | 2.00 | 5.00 | |||||||||||||||||||
| vfnmsub.vv v8,v16,v24,v0.t | 1.00 | 1.00 | 1.00 | 2.00 | 5.00 | 1.00 | 1.00 | 2.00 | 5.00 | |||||||||||||||||||
| vfnmsub.vf v8,ft0,v16 | 1.00 | 1.00 | 1.00 | 2.00 | 5.00 | 1.00 | 1.00 | 2.00 | 5.00 | |||||||||||||||||||
| vfnmsub.vf v8,ft0,v16,v0.t | 1.00 | 1.00 | 1.00 | 2.00 | 5.00 | 1.00 | 1.00 | 2.00 | 5.00 | |||||||||||||||||||
| vfnmadd.vv v8,v16,v24 | 1.00 | 1.00 | 1.00 | 2.00 | 5.00 | 1.00 | 1.00 | 2.00 | 5.00 | |||||||||||||||||||
| vfnmadd.vv v8,v16,v24,v0.t | 1.00 | 1.00 | 1.00 | 2.00 | 5.00 | 1.00 | 1.00 | 2.00 | 5.00 | |||||||||||||||||||
| vfnmadd.vf v8,ft0,v16 | 1.00 | 1.00 | 1.00 | 2.00 | 5.00 | 1.00 | 1.00 | 2.00 | 5.00 | |||||||||||||||||||
| vfnmadd.vf v8,ft0,v16,v0.t | 1.00 | 1.00 | 1.00 | 2.00 | 5.00 | 1.00 | 1.00 | 2.00 | 5.00 | |||||||||||||||||||
| vwredsumu.vs v8,v16,v24 | 1.00 | 1.00 | 1.00 | 1.00 | 2.00 | 5.50 | 19.00 | 1.00 | 1.00 | 1.00 | 2.00 | 5.50 | 19.00 | 1.00 | 1.00 | 2.00 | 5.50 | 19.00 | ||||||||||
| vwredsumu.vs v8,v16,v24,v0.t | 1.00 | 1.00 | 1.00 | 1.00 | 2.00 | 5.50 | 19.00 | 1.00 | 1.00 | 1.00 | 2.00 | 5.50 | 19.00 | 1.00 | 1.00 | 2.00 | 5.50 | 19.00 | ||||||||||
| vwredsum.vs v8,v16,v24 | 1.00 | 1.00 | 1.00 | 1.00 | 2.00 | 5.50 | 19.00 | 1.00 | 1.00 | 1.00 | 2.00 | 5.50 | 19.00 | 1.00 | 1.00 | 2.00 | 5.50 | 19.00 | ||||||||||
| vwredsum.vs v8,v16,v24,v0.t | 1.00 | 1.00 | 1.00 | 1.00 | 2.00 | 5.50 | 19.00 | 1.00 | 1.00 | 1.00 | 2.00 | 5.50 | 19.00 | 1.00 | 1.00 | 2.00 | 5.50 | 19.00 | ||||||||||
| vfwadd.vv v8,v16,v24 | 1.00 | 2.00 | 2.00 | 4.00 | 8.00 | 2.00 | 2.00 | 4.00 | 8.00 | |||||||||||||||||||
| vfwadd.vv v8,v16,v24,v0.t | 1.00 | 2.00 | 2.00 | 4.00 | 8.00 | 2.00 | 2.00 | 4.00 | 8.00 | |||||||||||||||||||
| vfwadd.vf v8,v16,ft0 | 1.00 | 2.00 | 2.00 | 4.00 | 8.00 | 2.00 | 2.00 | 4.00 | 8.00 | |||||||||||||||||||
| vfwadd.vf v8,v16,ft0,v0.t | 1.00 | 2.00 | 2.00 | 4.00 | 8.00 | 2.00 | 2.00 | 4.00 | 8.00 | |||||||||||||||||||
| vfwsub.vv v8,v16,v24 | 1.00 | 2.00 | 2.00 | 4.00 | 8.00 | 2.00 | 2.00 | 4.00 | 8.00 | |||||||||||||||||||
| vfwsub.vv v8,v16,v24,v0.t | 1.00 | 2.00 | 2.00 | 4.00 | 8.00 | 2.00 | 2.00 | 4.00 | 8.00 | |||||||||||||||||||
| vfwsub.vf v8,v16,ft0 | 1.00 | 2.00 | 2.00 | 4.00 | 8.00 | 2.00 | 2.00 | 4.00 | 8.00 | |||||||||||||||||||
| vfwsub.vf v8,v16,ft0,v0.t | 1.00 | 2.00 | 2.00 | 4.00 | 8.00 | 2.00 | 2.00 | 4.00 | 8.00 | |||||||||||||||||||
| vfwadd.wv v8,v16,v24 | 2.00 | 2.00 | 4.00 | 8.00 | 16.00 | 2.00 | 4.00 | 8.00 | 16.00 | |||||||||||||||||||
| vfwadd.wv v8,v16,v24,v0.t | 2.00 | 2.00 | 4.00 | 8.00 | 16.00 | 2.00 | 4.00 | 8.00 | 16.00 | |||||||||||||||||||
| vfwadd.wf v8,v16,ft0 | 2.00 | 2.00 | 4.00 | 8.00 | 16.00 | 2.00 | 4.00 | 8.00 | 16.00 | |||||||||||||||||||
| vfwadd.wf v8,v16,ft0,v0.t | 2.00 | 2.00 | 4.00 | 8.00 | 16.00 | 2.00 | 4.00 | 8.00 | 16.00 | |||||||||||||||||||
| vfwsub.wv v8,v16,v24 | 2.00 | 2.00 | 4.00 | 8.00 | 16.00 | 2.00 | 4.00 | 8.00 | 16.00 | |||||||||||||||||||
| vfwsub.wv v8,v16,v24,v0.t | 2.00 | 2.00 | 4.00 | 8.00 | 16.00 | 2.00 | 4.00 | 8.00 | 16.00 | |||||||||||||||||||
| vfwsub.wf v8,v16,ft0 | 2.00 | 2.00 | 4.00 | 8.00 | 16.00 | 2.00 | 4.00 | 8.00 | 16.00 | |||||||||||||||||||
| vfwsub.wf v8,v16,ft0,v0.t | 2.00 | 2.00 | 4.00 | 8.00 | 16.00 | 2.00 | 4.00 | 8.00 | 16.00 | |||||||||||||||||||
| vfwmul.vv v8,v16,v24 | 1.00 | 2.00 | 2.00 | 4.00 | 8.00 | 2.00 | 2.00 | 4.00 | 8.00 | |||||||||||||||||||
| vfwmul.vv v8,v16,v24,v0.t | 1.00 | 2.00 | 2.00 | 4.00 | 8.00 | 2.00 | 2.00 | 4.00 | 8.00 | |||||||||||||||||||
| vfwmul.vf v8,v16,ft0 | 1.00 | 2.00 | 2.00 | 4.00 | 8.00 | 2.00 | 2.00 | 4.00 | 8.00 | |||||||||||||||||||
| vfwmul.vf v8,v16,ft0,v0.t | 1.00 | 2.00 | 2.00 | 4.00 | 8.00 | 2.00 | 2.00 | 4.00 | 8.00 | |||||||||||||||||||
| vfwmacc.vv v8,v16,v24 | 1.00 | 2.00 | 2.00 | 4.00 | 8.00 | 2.00 | 2.00 | 4.00 | 8.00 | |||||||||||||||||||
| vfwmacc.vv v8,v16,v24,v0.t | 1.00 | 2.00 | 2.00 | 4.00 | 8.00 | 2.00 | 2.00 | 4.00 | 8.00 | |||||||||||||||||||
| vfwmacc.vf v8,ft0,v16 | 1.00 | 2.00 | 2.00 | 4.00 | 8.00 | 2.00 | 2.00 | 4.00 | 8.00 | |||||||||||||||||||
| vfwmacc.vf v8,ft0,v16,v0.t | 1.00 | 2.00 | 2.00 | 4.00 | 8.00 | 2.00 | 2.00 | 4.00 | 8.00 | |||||||||||||||||||
| vfwnmacc.vv v8,v16,v24 | 1.00 | 2.00 | 2.00 | 4.00 | 8.00 | 2.00 | 2.00 | 4.00 | 8.00 | |||||||||||||||||||
| vfwnmacc.vv v8,v16,v24,v0.t | 1.00 | 2.00 | 2.00 | 4.00 | 8.00 | 2.00 | 2.00 | 4.00 | 8.00 | |||||||||||||||||||
| vfwnmacc.vf v8,ft0,v16 | 1.00 | 2.00 | 2.00 | 4.00 | 8.00 | 2.00 | 2.00 | 4.00 | 8.00 | |||||||||||||||||||
| vfwnmacc.vf v8,ft0,v16,v0.t | 1.00 | 2.00 | 2.00 | 4.00 | 8.00 | 2.00 | 2.00 | 4.00 | 8.00 | |||||||||||||||||||
| vfwmsac.vv v8,v16,v24 | 1.00 | 2.00 | 2.00 | 4.00 | 8.00 | 2.00 | 2.00 | 4.00 | 8.00 | |||||||||||||||||||
| vfwmsac.vv v8,v16,v24,v0.t | 1.00 | 2.00 | 2.00 | 4.00 | 8.00 | 2.00 | 2.00 | 4.00 | 8.00 | |||||||||||||||||||
| vfwmsac.vf v8,ft0,v16 | 1.00 | 2.00 | 2.00 | 4.00 | 8.00 | 2.00 | 2.00 | 4.00 | 8.00 | |||||||||||||||||||
| vfwmsac.vf v8,ft0,v16,v0.t | 1.00 | 2.00 | 2.00 | 4.00 | 8.00 | 2.00 | 2.00 | 4.00 | 8.00 | |||||||||||||||||||
| vfwnmsac.vv v8,v16,v24 | 1.00 | 2.00 | 2.00 | 4.00 | 8.00 | 2.00 | 2.00 | 4.00 | 8.00 | |||||||||||||||||||
| vfwnmsac.vv v8,v16,v24,v0.t | 1.00 | 2.00 | 2.00 | 4.00 | 8.00 | 2.00 | 2.00 | 4.00 | 8.00 | |||||||||||||||||||
| vfwnmsac.vf v8,ft0,v16 | 1.00 | 2.00 | 2.00 | 4.00 | 8.00 | 2.00 | 2.00 | 4.00 | 8.00 | |||||||||||||||||||
| vfwnmsac.vf v8,ft0,v16,v0.t | 1.00 | 2.00 | 2.00 | 4.00 | 8.00 | 2.00 | 2.00 | 4.00 | 8.00 | |||||||||||||||||||
| vfwredosum.vs v8,v16,v24 | 10.00 | 26.00 | 31.00 | 62.99 | 127.96 | 511.34 | 10.00 | 15.00 | 31.00 | 65.99 | 256.83 | |||||||||||||||||
| vfwredosum.vs v8,v16,v24,v0.t | 10.00 | 26.00 | 31.00 | 62.99 | 127.96 | 511.34 | 10.00 | 15.00 | 31.00 | 65.99 | 256.83 | |||||||||||||||||
| vfwredusum.vs v8,v16,v24 | 10.00 | 26.00 | 31.00 | 62.99 | 127.96 | 511.34 | 10.00 | 15.00 | 31.00 | 65.99 | 256.83 | |||||||||||||||||
| vfwredusum.vs v8,v16,v24,v0.t | 10.00 | 26.00 | 31.00 | 62.99 | 127.96 | 511.34 | 10.00 | 15.00 | 31.00 | 65.99 | 256.83 | |||||||||||||||||
| vmv.s.x v8,t0 | 1.06 | 1.06 | 1.06 | 1.06 | 1.06 | 1.54 | 3.00 | 1.06 | 1.06 | 1.06 | 1.06 | 1.54 | 3.00 | 1.06 | 1.06 | 1.06 | 1.54 | 3.00 | 1.06 | 1.06 | 1.54 | 3.00 | ||||||
| vmv.x.s t0,v8 | 6.00 | 6.00 | 6.00 | 6.00 | 6.00 | 6.00 | 6.00 | 6.00 | 6.00 | 6.00 | 6.00 | 6.00 | 6.00 | 6.00 | 6.00 | 6.00 | 6.00 | 6.00 | 6.00 | 6.00 | 6.00 | 6.00 | ||||||
| vcpop.m t0,v8 | 6.00 | 6.00 | 6.00 | 6.00 | 6.00 | 6.00 | 7.00 | 6.00 | 6.00 | 6.00 | 6.00 | 6.00 | 6.00 | 6.00 | 6.00 | 6.00 | 6.00 | 6.00 | 6.00 | 6.00 | 6.00 | 6.00 | ||||||
| vcpop.m t0,v8,v0.t | 6.00 | 6.00 | 6.00 | 6.00 | 6.00 | 6.00 | 7.00 | 6.00 | 6.00 | 6.00 | 6.00 | 6.00 | 6.00 | 6.00 | 6.00 | 6.00 | 6.00 | 6.00 | 6.00 | 6.00 | 6.00 | 6.00 | ||||||
| vfirst.m t0,v8 | 6.00 | 6.00 | 6.00 | 6.00 | 6.00 | 6.00 | 7.00 | 6.00 | 6.00 | 6.00 | 6.00 | 6.00 | 6.00 | 6.00 | 6.00 | 6.00 | 6.00 | 6.00 | 6.00 | 6.00 | 6.00 | 6.00 | ||||||
| vfirst.m t0,v8,v0.t | 6.00 | 6.00 | 6.00 | 6.00 | 6.00 | 6.00 | 7.00 | 6.00 | 6.00 | 6.00 | 6.00 | 6.00 | 6.00 | 6.00 | 6.00 | 6.00 | 6.00 | 6.00 | 6.00 | 6.00 | 6.00 | 6.00 | ||||||
| vzext.vf2 v8,v16 | 1.00 | 1.00 | 2.00 | 4.00 | 8.00 | 16.00 | 1.00 | 2.00 | 4.00 | 8.00 | 16.00 | 2.00 | 4.00 | 8.00 | 16.00 | |||||||||||||
| vzext.vf2 v8,v16,v0.t | 1.00 | 1.00 | 2.00 | 4.00 | 8.00 | 16.00 | 1.00 | 2.00 | 4.00 | 8.00 | 16.00 | 2.00 | 4.00 | 8.00 | 16.00 | |||||||||||||
| vsext.vf2 v8,v16 | 1.00 | 1.00 | 2.00 | 4.00 | 8.00 | 16.00 | 1.00 | 2.00 | 4.00 | 8.00 | 16.00 | 2.00 | 4.00 | 8.00 | 16.00 | |||||||||||||
| vsext.vf2 v8,v16,v0.t | 1.00 | 1.00 | 2.00 | 4.00 | 8.00 | 16.00 | 1.00 | 2.00 | 4.00 | 8.00 | 16.00 | 2.00 | 4.00 | 8.00 | 16.00 | |||||||||||||
| vzext.vf4 v8,v16 | 1.00 | 2.00 | 4.00 | 8.00 | 16.00 | 2.00 | 4.00 | 8.00 | 16.00 | |||||||||||||||||||
| vzext.vf4 v8,v16,v0.t | 1.00 | 2.00 | 4.00 | 8.00 | 16.00 | 2.00 | 4.00 | 8.00 | 16.00 | |||||||||||||||||||
| vsext.vf4 v8,v16 | 1.00 | 2.00 | 4.00 | 8.00 | 16.00 | 2.00 | 4.00 | 8.00 | 16.00 | |||||||||||||||||||
| vsext.vf4 v8,v16,v0.t | 1.00 | 2.00 | 4.00 | 8.00 | 16.00 | 2.00 | 4.00 | 8.00 | 16.00 | |||||||||||||||||||
| vzext.vf8 v8,v16 | 2.00 | 4.00 | 8.00 | 16.00 | ||||||||||||||||||||||||
| vzext.vf8 v8,v16,v0.t | 2.00 | 4.00 | 8.00 | 16.00 | ||||||||||||||||||||||||
| vsext.vf8 v8,v16 | 2.00 | 4.00 | 8.00 | 16.00 | ||||||||||||||||||||||||
| vsext.vf8 v8,v16,v0.t | 2.00 | 4.00 | 8.00 | 16.00 | ||||||||||||||||||||||||
| vfmv.f.s ft0,v8 | 6.00 | 6.00 | 6.00 | 6.00 | 6.00 | 6.00 | 6.00 | 6.00 | 6.00 | 6.00 | 6.00 | 6.00 | 6.00 | 6.00 | 6.00 | |||||||||||||
| vfmv.s.f v8,ft0 | 1.00 | 1.00 | 1.00 | 1.00 | 1.50 | 3.00 | 1.00 | 1.00 | 1.00 | 1.50 | 3.00 | 1.00 | 1.00 | 1.50 | 3.00 | |||||||||||||
| vfcvt.xu.f.v v8,v16 | 1.00 | 1.00 | 2.00 | 4.00 | 8.00 | 16.00 | 1.00 | 2.00 | 4.00 | 8.00 | 16.00 | 2.00 | 4.00 | 8.00 | 16.00 | |||||||||||||
| vfcvt.xu.f.v v8,v16,v0.t | 1.00 | 1.00 | 2.00 | 4.00 | 8.00 | 16.00 | 1.00 | 2.00 | 4.00 | 8.00 | 16.00 | 2.00 | 4.00 | 8.00 | 16.00 | |||||||||||||
| vfcvt.x.f.v v8,v16 | 1.00 | 1.00 | 2.00 | 4.00 | 8.00 | 16.00 | 1.00 | 2.00 | 4.00 | 8.00 | 16.00 | 2.00 | 4.00 | 8.00 | 16.00 | |||||||||||||
| vfcvt.x.f.v v8,v16,v0.t | 1.00 | 1.00 | 2.00 | 4.00 | 8.00 | 16.00 | 1.00 | 2.00 | 4.00 | 8.00 | 16.00 | 2.00 | 4.00 | 8.00 | 16.00 | |||||||||||||
| vfcvt.f.xu.v v8,v16 | 1.00 | 1.00 | 2.00 | 4.00 | 8.00 | 16.00 | 1.00 | 2.00 | 4.00 | 8.00 | 16.00 | 2.00 | 4.00 | 8.00 | 16.00 | |||||||||||||
| vfcvt.f.xu.v v8,v16,v0.t | 1.00 | 1.00 | 2.00 | 4.00 | 8.00 | 16.00 | 1.00 | 2.00 | 4.00 | 8.00 | 16.00 | 2.00 | 4.00 | 8.00 | 16.00 | |||||||||||||
| vfcvt.f.x.v v8,v16 | 1.00 | 1.00 | 2.00 | 4.00 | 8.00 | 16.00 | 1.00 | 2.00 | 4.00 | 8.00 | 16.00 | 2.00 | 4.00 | 8.00 | 16.00 | |||||||||||||
| vfcvt.f.x.v v8,v16,v0.t | 1.00 | 1.00 | 2.00 | 4.00 | 8.00 | 16.00 | 1.00 | 2.00 | 4.00 | 8.00 | 16.00 | 2.00 | 4.00 | 8.00 | 16.00 | |||||||||||||
| vfcvt.rtz.x.f.v v8,v16 | 1.00 | 1.00 | 2.00 | 4.00 | 8.00 | 16.00 | 1.00 | 2.00 | 4.00 | 8.00 | 16.00 | 2.00 | 4.00 | 8.00 | 16.00 | |||||||||||||
| vfcvt.rtz.x.f.v v8,v16,v0.t | 1.00 | 1.00 | 2.00 | 4.00 | 8.00 | 16.00 | 1.00 | 2.00 | 4.00 | 8.00 | 16.00 | 2.00 | 4.00 | 8.00 | 16.00 | |||||||||||||
| vfcvt.rtz.xu.f.v v8,v16 | 1.00 | 1.00 | 2.00 | 4.00 | 8.00 | 16.00 | 1.00 | 2.00 | 4.00 | 8.00 | 16.00 | 2.00 | 4.00 | 8.00 | 16.00 | |||||||||||||
| vfcvt.rtz.xu.f.v v8,v16,v0.t | 1.00 | 1.00 | 2.00 | 4.00 | 8.00 | 16.00 | 1.00 | 2.00 | 4.00 | 8.00 | 16.00 | 2.00 | 4.00 | 8.00 | 16.00 | |||||||||||||
| vfwcvt.xu.f.v v8,v16 | 1.00 | 2.00 | 4.00 | 8.00 | 16.00 | 2.00 | 4.00 | 8.00 | 16.00 | |||||||||||||||||||
| vfwcvt.xu.f.v v8,v16,v0.t | 1.00 | 2.00 | 4.00 | 8.00 | 16.00 | 2.00 | 4.00 | 8.00 | 16.00 | |||||||||||||||||||
| vfwcvt.x.f.v v8,v16 | 1.00 | 2.00 | 4.00 | 8.00 | 16.00 | 2.00 | 4.00 | 8.00 | 16.00 | |||||||||||||||||||
| vfwcvt.x.f.v v8,v16,v0.t | 1.00 | 2.00 | 4.00 | 8.00 | 16.00 | 2.00 | 4.00 | 8.00 | 16.00 | |||||||||||||||||||
| vfwcvt.f.xu.v v8,v16 | 1.00 | 2.00 | 4.00 | 8.00 | 16.00 | 2.00 | 4.00 | 8.00 | 16.00 | |||||||||||||||||||
| vfwcvt.f.xu.v v8,v16,v0.t | 1.00 | 2.00 | 4.00 | 8.00 | 16.00 | 2.00 | 4.00 | 8.00 | 16.00 | |||||||||||||||||||
| vfwcvt.f.x.v v8,v16 | 1.00 | 2.00 | 4.00 | 8.00 | 16.00 | 2.00 | 4.00 | 8.00 | 16.00 | |||||||||||||||||||
| vfwcvt.f.x.v v8,v16,v0.t | 1.00 | 2.00 | 4.00 | 8.00 | 16.00 | 2.00 | 4.00 | 8.00 | 16.00 | |||||||||||||||||||
| vfwcvt.f.f.v v8,v16 | 1.00 | 2.00 | 4.00 | 8.00 | 16.00 | 2.00 | 4.00 | 8.00 | 16.00 | |||||||||||||||||||
| vfwcvt.f.f.v v8,v16,v0.t | 1.00 | 2.00 | 4.00 | 8.00 | 16.00 | 2.00 | 4.00 | 8.00 | 16.00 | |||||||||||||||||||
| vfwcvt.rtz.xu.f.v v8,v16 | 1.00 | 2.00 | 4.00 | 8.00 | 16.00 | 2.00 | 4.00 | 8.00 | 16.00 | |||||||||||||||||||
| vfwcvt.rtz.xu.f.v v8,v16,v0.t | 1.00 | 2.00 | 4.00 | 8.00 | 16.00 | 2.00 | 4.00 | 8.00 | 16.00 | |||||||||||||||||||
| vfwcvt.rtz.x.f.v v8,v16 | 1.00 | 2.00 | 4.00 | 8.00 | 16.00 | 2.00 | 4.00 | 8.00 | 16.00 | |||||||||||||||||||
| vfwcvt.rtz.x.f.v v8,v16,v0.t | 1.00 | 2.00 | 4.00 | 8.00 | 16.00 | 2.00 | 4.00 | 8.00 | 16.00 | |||||||||||||||||||
| vfncvt.xu.f.w v8,v16 | 1.00 | 2.00 | 4.00 | 8.00 | 16.00 | 2.00 | 4.00 | 8.00 | 16.00 | |||||||||||||||||||
| vfncvt.xu.f.w v8,v16,v0.t | 1.00 | 2.00 | 4.00 | 8.00 | 16.00 | 2.00 | 4.00 | 8.00 | 16.00 | |||||||||||||||||||
| vfncvt.x.f.w v8,v16 | 1.00 | 2.00 | 4.00 | 8.00 | 16.00 | 2.00 | 4.00 | 8.00 | 16.00 | |||||||||||||||||||
| vfncvt.x.f.w v8,v16,v0.t | 1.00 | 2.00 | 4.00 | 8.00 | 16.00 | 2.00 | 4.00 | 8.00 | 16.00 | |||||||||||||||||||
| vfncvt.f.xu.w v8,v16 | 1.00 | 2.00 | 4.00 | 8.00 | 16.00 | 2.00 | 4.00 | 8.00 | 16.00 | |||||||||||||||||||
| vfncvt.f.xu.w v8,v16,v0.t | 1.00 | 2.00 | 4.00 | 8.00 | 16.00 | 2.00 | 4.00 | 8.00 | 16.00 | |||||||||||||||||||
| vfncvt.f.x.w v8,v16 | 1.00 | 2.00 | 4.00 | 8.00 | 16.00 | 2.00 | 4.00 | 8.00 | 16.00 | |||||||||||||||||||
| vfncvt.f.x.w v8,v16,v0.t | 1.00 | 2.00 | 4.00 | 8.00 | 16.00 | 2.00 | 4.00 | 8.00 | 16.00 | |||||||||||||||||||
| vfncvt.f.f.w v8,v16 | 1.00 | 2.00 | 4.00 | 8.00 | 16.00 | 2.00 | 4.00 | 8.00 | 16.00 | |||||||||||||||||||
| vfncvt.f.f.w v8,v16,v0.t | 1.00 | 2.00 | 4.00 | 8.00 | 16.00 | 2.00 | 4.00 | 8.00 | 16.00 | |||||||||||||||||||
| vfncvt.rtz.x.f.w v8,v16 | 1.00 | 2.00 | 4.00 | 8.00 | 16.00 | 2.00 | 4.00 | 8.00 | 16.00 | |||||||||||||||||||
| vfncvt.rtz.x.f.w v8,v16,v0.t | 1.00 | 2.00 | 4.00 | 8.00 | 16.00 | 2.00 | 4.00 | 8.00 | 16.00 | |||||||||||||||||||
| vfncvt.rtz.xu.f.w v8,v16 | 1.00 | 2.00 | 4.00 | 8.00 | 16.00 | 2.00 | 4.00 | 8.00 | 16.00 | |||||||||||||||||||
| vfncvt.rtz.xu.f.w v8,v16,v0.t | 1.00 | 2.00 | 4.00 | 8.00 | 16.00 | 2.00 | 4.00 | 8.00 | 16.00 | |||||||||||||||||||
| vfncvt.rod.f.f.w v8,v16 | 1.00 | 2.00 | 4.00 | 8.00 | 16.00 | 2.00 | 4.00 | 8.00 | 16.00 | |||||||||||||||||||
| vfncvt.rod.f.f.w v8,v16,v0.t | 1.00 | 2.00 | 4.00 | 8.00 | 16.00 | 2.00 | 4.00 | 8.00 | 16.00 | |||||||||||||||||||
| vfsqrt.v v8,v16 | 12.56 | 12.99 | 25.98 | 52.68 | 104.67 | 209.90 | 17.30 | 34.61 | 69.32 | 138.40 | 281.96 | 53.01 | 103.99 | 204.50 | 416.88 | |||||||||||||
| vfsqrt.v v8,v16,v0.t | 11.90 | 12.63 | 25.16 | 50.01 | 99.73 | 202.08 | 15.78 | 30.31 | 56.47 | 111.50 | 226.05 | 37.98 | 79.03 | 141.78 | 264.74 | |||||||||||||
| vfrsqrt7.v v8,v16 | 1.00 | 1.00 | 2.00 | 4.00 | 8.00 | 16.00 | 1.00 | 2.00 | 4.00 | 8.00 | 16.00 | 2.00 | 4.00 | 8.00 | 16.00 | |||||||||||||
| vfrsqrt7.v v8,v16,v0.t | 1.00 | 1.00 | 2.00 | 4.00 | 8.00 | 16.00 | 1.00 | 2.00 | 4.00 | 8.00 | 16.00 | 2.00 | 4.00 | 8.00 | 16.00 | |||||||||||||
| vfrec7.v v8,v16 | 1.00 | 1.00 | 2.00 | 4.00 | 8.00 | 16.00 | 1.00 | 2.00 | 4.00 | 8.00 | 16.00 | 2.00 | 4.00 | 8.00 | 16.00 | |||||||||||||
| vfrec7.v v8,v16,v0.t | 1.00 | 1.00 | 2.00 | 4.00 | 8.00 | 16.00 | 1.00 | 2.00 | 4.00 | 8.00 | 16.00 | 2.00 | 4.00 | 8.00 | 16.00 | |||||||||||||
| vfclass.v v8,v16 | 1.00 | 1.00 | 2.00 | 4.00 | 8.00 | 16.00 | 1.00 | 2.00 | 4.00 | 8.00 | 16.00 | 2.00 | 4.00 | 8.00 | 16.00 | |||||||||||||
| vfclass.v v8,v16,v0.t | 1.00 | 1.00 | 2.00 | 4.00 | 8.00 | 16.00 | 1.00 | 2.00 | 4.00 | 8.00 | 16.00 | 2.00 | 4.00 | 8.00 | 16.00 | |||||||||||||
| vmsbf.m v8,v16 | 1.00 | 1.00 | 1.00 | 1.00 | 1.00 | 1.50 | 3.00 | 1.00 | 1.00 | 1.00 | 1.00 | 1.50 | 3.00 | 1.00 | 1.00 | 1.00 | 1.50 | 3.00 | 1.00 | 1.00 | 1.50 | 3.00 | ||||||
| vmsbf.m v8,v16,v0.t | 1.00 | 1.00 | 1.00 | 1.00 | 1.00 | 1.50 | 3.00 | 1.00 | 1.00 | 1.00 | 1.00 | 1.50 | 3.00 | 1.00 | 1.00 | 1.00 | 1.50 | 3.00 | 1.00 | 1.00 | 1.50 | 3.00 | ||||||
| vmsof.m v8,v16 | 1.00 | 1.00 | 1.00 | 1.00 | 1.00 | 1.50 | 3.00 | 1.00 | 1.00 | 1.00 | 1.00 | 1.50 | 3.00 | 1.00 | 1.00 | 1.00 | 1.50 | 3.00 | 1.00 | 1.00 | 1.50 | 3.00 | ||||||
| vmsof.m v8,v16,v0.t | 1.00 | 1.00 | 1.00 | 1.00 | 1.00 | 1.50 | 3.00 | 1.00 | 1.00 | 1.00 | 1.00 | 1.50 | 3.00 | 1.00 | 1.00 | 1.00 | 1.50 | 3.00 | 1.00 | 1.00 | 1.50 | 3.00 | ||||||
| vmsif.m v8,v16 | 1.00 | 1.00 | 1.00 | 1.00 | 1.00 | 1.50 | 3.00 | 1.00 | 1.00 | 1.00 | 1.00 | 1.50 | 3.00 | 1.00 | 1.00 | 1.00 | 1.50 | 3.00 | 1.00 | 1.00 | 1.50 | 3.00 | ||||||
| vmsif.m v8,v16,v0.t | 1.00 | 1.00 | 1.00 | 1.00 | 1.00 | 1.50 | 3.00 | 1.00 | 1.00 | 1.00 | 1.00 | 1.50 | 3.00 | 1.00 | 1.00 | 1.00 | 1.50 | 3.00 | 1.00 | 1.00 | 1.50 | 3.00 | ||||||
| viota.m v8,v16 | 1.00 | 1.00 | 1.00 | 2.00 | 4.00 | 8.00 | 16.00 | 1.00 | 1.00 | 2.00 | 4.00 | 8.00 | 16.00 | 1.00 | 2.00 | 4.00 | 8.00 | 16.00 | 2.00 | 4.00 | 8.00 | 16.00 | ||||||
| viota.m v8,v16,v0.t | 1.00 | 1.00 | 1.00 | 2.00 | 4.00 | 8.00 | 16.00 | 1.00 | 1.00 | 2.00 | 4.00 | 8.00 | 16.00 | 1.00 | 2.00 | 4.00 | 8.00 | 16.00 | 2.00 | 4.00 | 8.00 | 16.00 | ||||||
| vid.v v8 | 1.00 | 1.00 | 1.00 | 2.00 | 4.00 | 8.00 | 16.00 | 1.00 | 1.00 | 2.00 | 4.00 | 8.00 | 16.00 | 1.00 | 2.00 | 4.00 | 8.00 | 16.00 | 2.00 | 4.00 | 8.00 | 16.00 | ||||||
| vid.v v8,v0.t | 1.00 | 1.00 | 1.00 | 2.00 | 4.00 | 8.00 | 16.00 | 1.00 | 1.00 | 2.00 | 4.00 | 8.00 | 16.00 | 1.00 | 2.00 | 4.00 | 8.00 | 16.00 | 2.00 | 4.00 | 8.00 | 16.00 | ||||||
| vle8.v v8,(t0) | 1.27 | 1.10 | 1.25 | 1.45 | 2.62 | 5.92 | 12.45 | 1.17 | 1.35 | 1.27 | 1.26 | 2.77 | 5.97 | 1.15 | 1.27 | 1.22 | 2.00 | 4.00 | 1.27 | 1.30 | 2.00 | 4.00 | ||||||
| vle8.v v8,(t0),v0.t | 1.20 | 1.27 | 1.12 | 1.37 | 2.70 | 5.95 | 12.55 | 1.25 | 1.30 | 1.30 | 1.33 | 2.66 | 6.07 | 1.27 | 1.22 | 1.25 | 2.00 | 4.00 | 1.22 | 1.30 | 2.00 | 4.00 | ||||||
| vle16.v v8,(t0) | 1.12 | 1.25 | 1.56 | 1.25 | 1.27 | 1.30 | 2.55 | 5.88 | 12.60 | 1.25 | 1.32 | 1.37 | 2.62 | 5.92 | 1.30 | 1.25 | 2.00 | 4.00 | ||||||||||
| vle16.v v8,(t0),v0.t | 1.27 | 1.20 | 1.33 | 1.40 | 1.27 | 1.26 | 2.70 | 5.97 | 12.55 | 1.30 | 1.22 | 1.41 | 2.58 | 5.92 | 1.30 | 1.30 | 2.00 | 4.00 | ||||||||||
| vle32.v v8,(t0) | 1.27 | 1.11 | 1.17 | 1.45 | 1.32 | 1.48 | 2.73 | 5.88 | 12.20 | 1.25 | 1.37 | 2.55 | 5.95 | |||||||||||||||
| vle32.v v8,(t0),v0.t | 1.30 | 1.26 | 1.32 | 1.41 | 1.20 | 1.41 | 2.47 | 5.94 | 12.45 | 1.22 | 1.45 | 2.70 | 5.99 | |||||||||||||||
| vle64.v v8,(t0) | 1.41 | 1.18 | 1.30 | 1.18 | 2.18 | 5.89 | 12.55 | |||||||||||||||||||||
| vle64.v v8,(t0),v0.t | 1.26 | 1.18 | 1.26 | 1.30 | 2.33 | 5.94 | 12.30 | |||||||||||||||||||||
| vse8.v v8,(t0) | 1.35 | 1.40 | 1.30 | 2.40 | 5.50 | 11.42 | 17.30 | 1.22 | 1.22 | 1.50 | 2.30 | 4.50 | 11.20 | 1.35 | 1.52 | 1.70 | 2.60 | 4.25 | 1.20 | 1.42 | 1.75 | 2.65 | ||||||
| vse8.v v8,(t0),v0.t | 1.22 | 1.35 | 1.60 | 2.45 | 7.25 | 12.38 | 18.40 | 1.15 | 1.40 | 1.60 | 2.80 | 5.57 | 11.33 | 1.37 | 1.47 | 1.50 | 2.40 | 6.98 | 1.30 | 1.30 | 1.55 | 2.50 | ||||||
| vse16.v v8,(t0) | 1.27 | 1.45 | 2.35 | 1.20 | 1.40 | 2.60 | 5.14 | 10.45 | 17.00 | 1.10 | 1.75 | 2.40 | 4.60 | 9.99 | 1.40 | 1.40 | 2.65 | 5.82 | ||||||||||
| vse16.v v8,(t0),v0.t | 1.32 | 1.50 | 2.55 | 1.47 | 1.40 | 2.50 | 6.78 | 12.26 | 16.90 | 1.32 | 1.55 | 2.90 | 5.30 | 11.42 | 1.32 | 1.45 | 2.65 | 7.62 | ||||||||||
| vse32.v v8,(t0) | 1.25 | 3.50 | 1.30 | 2.95 | 1.25 | 2.65 | 4.62 | 8.87 | 17.04 | 1.30 | 2.35 | 4.72 | 8.80 | |||||||||||||||
| vse32.v v8,(t0),v0.t | 1.70 | 2.20 | 1.60 | 2.55 | 2.00 | 2.55 | 4.40 | 10.32 | 17.43 | 1.35 | 2.45 | 5.15 | 9.83 | |||||||||||||||
| vse64.v v8,(t0) | 2.10 | 2.40 | 2.25 | 2.30 | 4.35 | 9.68 | 17.60 | |||||||||||||||||||||
| vse64.v v8,(t0),v0.t | 2.40 | 2.10 | 2.50 | 2.40 | 4.25 | 9.56 | 16.25 | |||||||||||||||||||||
| vle8ff.v v8,(t0) | 1.17 | 1.32 | 1.17 | 1.45 | 2.70 | 5.92 | 12.55 | 1.32 | 1.27 | 1.22 | 1.33 | 2.51 | 6.01 | 1.35 | 1.22 | 1.35 | 2.00 | 4.00 | 1.35 | 1.20 | 2.00 | 4.00 | ||||||
| vle8ff.v v8,(t0),v0.t | 1.22 | 1.25 | 1.22 | 1.56 | 2.51 | 5.91 | 12.50 | 1.25 | 1.37 | 1.25 | 1.30 | 2.51 | 6.03 | 1.27 | 1.30 | 1.32 | 2.00 | 4.00 | 1.25 | 1.20 | 2.00 | 4.00 | ||||||
| vle16ff.v v8,(t0) | 1.17 | 1.35 | 1.45 | 1.27 | 1.20 | 1.52 | 2.62 | 5.95 | 12.80 | 1.32 | 1.22 | 1.41 | 2.40 | 6.03 | 1.37 | 1.35 | 2.00 | 4.00 | ||||||||||
| vle16ff.v v8,(t0),v0.t | 1.35 | 1.25 | 1.37 | 1.15 | 1.37 | 1.30 | 2.62 | 5.84 | 12.50 | 1.30 | 1.27 | 1.30 | 2.62 | 5.95 | 1.32 | 1.40 | 2.00 | 4.00 | ||||||||||
| vle32ff.v v8,(t0) | 1.25 | 1.33 | 1.22 | 1.52 | 1.30 | 1.26 | 2.47 | 5.91 | 12.50 | 1.35 | 1.45 | 2.58 | 5.97 | |||||||||||||||
| vle32ff.v v8,(t0),v0.t | 1.17 | 1.22 | 1.25 | 1.26 | 1.20 | 1.22 | 2.70 | 5.95 | 12.60 | 1.27 | 1.48 | 2.81 | 6.01 | |||||||||||||||
| vle64ff.v v8,(t0) | 1.11 | 1.30 | 1.41 | 1.00 | 2.22 | 5.93 | 12.40 | |||||||||||||||||||||
| vle64ff.v v8,(t0),v0.t | 1.11 | 1.33 | 1.03 | 1.26 | 2.33 | 5.98 | 12.25 | |||||||||||||||||||||
| vlm.v v8,(t0) | 1.17 | 1.27 | 1.22 | 1.37 | 1.30 | 2.00 | 4.00 | 1.22 | 1.25 | 1.17 | 1.22 | 2.00 | 4.00 | 1.25 | 1.32 | 1.30 | 2.00 | 4.00 | 1.20 | 1.22 | 2.00 | 4.00 | ||||||
| vsm.v v8,(t0) | 1.22 | 1.17 | 1.30 | 1.30 | 1.25 | 1.40 | 2.45 | 1.22 | 1.20 | 1.22 | 1.20 | 1.60 | 1.25 | 1.12 | 1.27 | 1.10 | 1.25 | 1.30 | 1.15 | 1.35 | 1.32 | 1.25 | ||||||
| vlse8.v v8,(t2),t3 | 3.00 | 5.00 | 9.00 | 21.22 | 50.01 | 114.01 | 242.01 | 3.00 | 5.00 | 9.00 | 21.12 | 50.01 | 114.01 | 3.00 | 5.00 | 9.00 | 21.15 | 50.01 | 3.00 | 5.00 | 9.00 | 21.07 | ||||||
| vlse8.v v8,(t2),t3,v0.t | 3.00 | 5.00 | 9.00 | 21.05 | 50.01 | 114.01 | 242.01 | 3.00 | 5.00 | 9.00 | 21.02 | 50.01 | 114.01 | 3.00 | 5.00 | 9.00 | 21.12 | 50.01 | 3.00 | 5.00 | 9.00 | 21.02 | ||||||
| vlse8.v v8,(t2),x0 | 3.00 | 5.00 | 9.00 | 17.07 | 50.01 | 114.01 | 242.01 | 3.00 | 5.00 | 9.00 | 17.07 | 50.01 | 114.01 | 3.00 | 5.00 | 9.00 | 17.07 | 50.01 | 3.00 | 5.00 | 9.00 | 17.07 | ||||||
| vlse8.v v8,(t2),x0,v0.t | 3.00 | 5.00 | 9.00 | 17.07 | 50.01 | 114.01 | 242.01 | 3.00 | 5.00 | 9.00 | 17.07 | 50.01 | 114.01 | 3.00 | 5.00 | 9.00 | 17.07 | 50.01 | 3.00 | 5.00 | 9.00 | 17.07 | ||||||
| vlse8.v v8,(t2),t1/*-1*/ | 3.00 | 5.00 | 9.00 | 23.06 | 48.02 | 114.01 | 242.01 | 3.00 | 5.00 | 9.00 | 23.29 | 48.04 | 114.01 | 3.00 | 5.00 | 9.00 | 23.16 | 48.03 | 3.00 | 5.00 | 9.00 | 22.47 | ||||||
| vlse8.v v8,(t2),t1/*-1*/,v0.t | 3.00 | 5.00 | 9.00 | 23.16 | 48.02 | 114.01 | 242.01 | 3.00 | 5.00 | 9.00 | 23.30 | 48.02 | 114.01 | 3.00 | 5.00 | 9.00 | 22.63 | 48.04 | 3.00 | 5.00 | 9.00 | 23.19 | ||||||
| vlse16.v v8,(t2),t3 | 3.00 | 5.00 | 9.00 | 3.00 | 5.00 | 9.00 | 21.57 | 50.01 | 114.01 | 3.00 | 5.00 | 9.00 | 21.90 | 50.01 | 3.00 | 5.00 | 9.00 | 22.02 | ||||||||||
| vlse16.v v8,(t2),t3,v0.t | 3.00 | 5.00 | 9.00 | 3.00 | 5.00 | 9.00 | 21.95 | 50.01 | 114.01 | 3.00 | 5.00 | 9.00 | 22.32 | 50.01 | 3.00 | 5.00 | 9.00 | 21.67 | ||||||||||
| vlse16.v v8,(t2),x0 | 3.00 | 5.00 | 9.00 | 3.00 | 5.00 | 9.00 | 17.07 | 50.01 | 114.01 | 3.00 | 5.00 | 9.00 | 17.07 | 50.01 | 3.00 | 5.00 | 9.00 | 17.07 | ||||||||||
| vlse16.v v8,(t2),x0,v0.t | 3.00 | 5.00 | 9.00 | 3.00 | 5.00 | 9.00 | 17.07 | 50.01 | 114.01 | 3.00 | 5.00 | 9.00 | 17.07 | 50.01 | 3.00 | 5.00 | 9.00 | 17.07 | ||||||||||
| vlse16.v v8,(t2),t1/*-1*/ | 3.00 | 5.00 | 9.00 | 3.00 | 5.00 | 9.00 | 24.00 | 50.01 | 114.01 | 3.00 | 5.00 | 9.00 | 24.00 | 50.01 | 3.00 | 5.00 | 9.00 | 24.00 | ||||||||||
| vlse16.v v8,(t2),t1/*-1*/,v0.t | 3.00 | 5.00 | 9.00 | 3.00 | 5.00 | 9.00 | 24.00 | 50.01 | 114.01 | 3.00 | 5.00 | 9.00 | 24.00 | 50.01 | 3.00 | 5.00 | 9.00 | 24.00 | ||||||||||
| vlse32.v v8,(t2),t3 | 3.00 | 5.00 | 3.00 | 5.00 | 3.00 | 5.00 | 9.00 | 20.00 | 50.01 | 3.00 | 5.00 | 9.00 | 20.00 | |||||||||||||||
| vlse32.v v8,(t2),t3,v0.t | 3.00 | 5.00 | 3.00 | 5.00 | 3.00 | 5.00 | 9.00 | 20.00 | 50.01 | 3.00 | 5.00 | 9.00 | 20.00 | |||||||||||||||
| vlse32.v v8,(t2),x0 | 3.00 | 5.00 | 3.00 | 5.00 | 3.00 | 5.00 | 9.00 | 17.07 | 50.01 | 3.00 | 5.00 | 9.00 | 17.07 | |||||||||||||||
| vlse32.v v8,(t2),x0,v0.t | 3.00 | 5.00 | 3.00 | 5.00 | 3.00 | 5.00 | 9.00 | 17.07 | 50.01 | 3.00 | 5.00 | 9.00 | 17.07 | |||||||||||||||
| vlse32.v v8,(t2),t1/*-1*/ | 3.00 | 5.00 | 3.00 | 5.00 | 3.00 | 5.00 | 9.00 | 20.00 | 50.01 | 3.00 | 5.00 | 9.00 | 20.00 | |||||||||||||||
| vlse32.v v8,(t2),t1/*-1*/,v0.t | 3.00 | 5.00 | 3.00 | 5.00 | 3.00 | 5.00 | 9.00 | 20.00 | 50.01 | 3.00 | 5.00 | 9.00 | 20.00 | |||||||||||||||
| vlse64.v v8,(t2),t3 | 3.00 | 3.00 | 3.00 | 3.00 | 5.00 | 10.07 | 24.00 | |||||||||||||||||||||
| vlse64.v v8,(t2),t3,v0.t | 3.00 | 3.00 | 3.00 | 3.00 | 5.00 | 10.16 | 24.00 | |||||||||||||||||||||
| vlse64.v v8,(t2),x0 | 3.00 | 3.00 | 3.00 | 3.00 | 5.00 | 9.00 | 22.00 | |||||||||||||||||||||
| vlse64.v v8,(t2),x0,v0.t | 3.00 | 3.00 | 3.00 | 3.00 | 5.00 | 9.00 | 22.00 | |||||||||||||||||||||
| vlse64.v v8,(t2),t1/*-1*/ | 3.00 | 3.00 | 3.00 | 3.00 | 5.00 | 10.31 | 24.00 | |||||||||||||||||||||
| vlse64.v v8,(t2),t1/*-1*/,v0.t | 3.00 | 3.00 | 3.00 | 3.00 | 5.00 | 10.32 | 24.00 | |||||||||||||||||||||
| vsse8.v v8,(t2),t3 | 4.20 | 8.00 | 16.00 | 33.00 | 64.00 | 128.00 | 256.00 | 4.00 | 8.00 | 16.00 | 32.05 | 64.00 | 128.00 | 4.00 | 8.00 | 16.00 | 32.00 | 64.00 | 4.00 | 8.00 | 16.00 | 32.00 | ||||||
| vsse8.v v8,(t2),t3,v0.t | 4.00 | 8.00 | 16.00 | 32.00 | 64.00 | 128.00 | 256.00 | 4.00 | 8.00 | 16.00 | 32.00 | 64.00 | 128.00 | 4.00 | 8.00 | 16.00 | 32.00 | 64.00 | 4.00 | 8.00 | 16.00 | 37.10 | ||||||
| vsse8.v v8,(t2),x0 | 4.00 | 8.00 | 16.00 | 32.00 | 64.00 | 128.00 | 256.00 | 4.00 | 8.00 | 16.00 | 32.00 | 64.00 | 128.00 | 4.00 | 8.00 | 16.00 | 32.00 | 64.00 | 4.00 | 8.00 | 16.00 | 32.00 | ||||||
| vsse8.v v8,(t2),x0,v0.t | 4.00 | 8.00 | 16.00 | 32.00 | 64.00 | 128.00 | 256.00 | 4.00 | 8.00 | 16.00 | 32.00 | 64.00 | 128.00 | 4.00 | 8.00 | 16.00 | 32.00 | 64.00 | 4.00 | 8.00 | 16.00 | 32.00 | ||||||
| vsse8.v v8,(t2),t1/*-1*/ | 5.01 | 8.00 | 16.00 | 32.00 | 64.00 | 128.00 | 256.58 | 4.00 | 8.00 | 16.00 | 32.00 | 64.00 | 128.00 | 4.00 | 8.00 | 16.00 | 32.00 | 64.00 | 4.00 | 8.00 | 16.00 | 32.00 | ||||||
| vsse8.v v8,(t2),t1/*-1*/,v0.t | 4.00 | 8.00 | 16.00 | 32.00 | 64.00 | 129.30 | 256.01 | 4.00 | 8.00 | 16.00 | 32.00 | 64.00 | 129.07 | 4.00 | 8.00 | 16.00 | 32.00 | 64.00 | 4.00 | 8.00 | 16.00 | 32.00 | ||||||
| vsse16.v v8,(t2),t3 | 4.45 | 8.00 | 18.01 | 4.00 | 8.00 | 17.48 | 32.70 | 64.00 | 128.00 | 4.00 | 8.00 | 16.00 | 32.49 | 64.00 | 4.00 | 8.00 | 18.80 | 32.01 | ||||||||||
| vsse16.v v8,(t2),t3,v0.t | 4.00 | 8.00 | 20.21 | 4.00 | 8.00 | 18.19 | 32.00 | 64.00 | 128.00 | 4.00 | 8.00 | 16.00 | 33.45 | 64.00 | 4.00 | 8.00 | 16.00 | 32.62 | ||||||||||
| vsse16.v v8,(t2),x0 | 4.00 | 8.00 | 16.00 | 4.00 | 8.00 | 16.00 | 32.00 | 64.00 | 128.00 | 4.00 | 8.00 | 16.00 | 32.00 | 64.00 | 4.00 | 8.00 | 16.00 | 32.00 | ||||||||||
| vsse16.v v8,(t2),x0,v0.t | 4.00 | 8.00 | 16.00 | 4.00 | 8.00 | 16.00 | 32.00 | 64.00 | 128.00 | 4.00 | 8.00 | 16.00 | 32.00 | 64.00 | 4.00 | 8.00 | 16.00 | 32.00 | ||||||||||
| vsse16.v v8,(t2),t1/*-1*/ | 4.00 | 8.00 | 16.00 | 4.60 | 8.00 | 16.00 | 32.00 | 64.00 | 128.23 | 4.00 | 8.00 | 16.00 | 32.00 | 64.00 | 5.35 | 8.00 | 16.00 | 32.00 | ||||||||||
| vsse16.v v8,(t2),t1/*-1*/,v0.t | 4.00 | 8.00 | 16.00 | 4.00 | 8.00 | 16.00 | 32.00 | 64.88 | 128.00 | 4.00 | 8.00 | 16.00 | 32.00 | 65.75 | 4.15 | 8.00 | 16.00 | 32.00 | ||||||||||
| vsse32.v v8,(t2),t3 | 4.47 | 8.39 | 4.00 | 8.54 | 4.00 | 9.44 | 16.00 | 32.00 | 64.00 | 6.22 | 9.10 | 16.16 | 32.00 | |||||||||||||||
| vsse32.v v8,(t2),t3,v0.t | 4.02 | 8.61 | 4.15 | 10.11 | 4.00 | 9.83 | 16.21 | 32.00 | 64.00 | 4.00 | 8.00 | 16.09 | 32.00 | |||||||||||||||
| vsse32.v v8,(t2),x0 | 4.00 | 8.00 | 4.00 | 8.00 | 4.00 | 8.00 | 16.00 | 32.00 | 64.00 | 4.00 | 8.00 | 16.00 | 32.00 | |||||||||||||||
| vsse32.v v8,(t2),x0,v0.t | 4.00 | 8.00 | 4.00 | 8.00 | 4.00 | 8.00 | 16.00 | 32.00 | 64.00 | 4.00 | 8.00 | 16.00 | 32.00 | |||||||||||||||
| vsse32.v v8,(t2),t1/*-1*/ | 4.00 | 8.00 | 4.00 | 8.00 | 4.00 | 8.00 | 16.07 | 32.54 | 64.00 | 4.00 | 8.00 | 16.00 | 32.50 | |||||||||||||||
| vsse32.v v8,(t2),t1/*-1*/,v0.t | 4.00 | 8.00 | 4.00 | 8.00 | 4.00 | 8.00 | 16.00 | 32.21 | 64.60 | 4.00 | 8.00 | 16.00 | 33.31 | |||||||||||||||
| vsse64.v v8,(t2),t3 | 4.50 | 4.00 | 4.00 | 4.00 | 9.12 | 16.00 | 32.00 | |||||||||||||||||||||
| vsse64.v v8,(t2),t3,v0.t | 4.00 | 4.00 | 4.02 | 5.21 | 9.17 | 16.00 | 32.00 | |||||||||||||||||||||
| vsse64.v v8,(t2),x0 | 4.00 | 4.00 | 4.00 | 4.00 | 8.00 | 16.00 | 32.00 | |||||||||||||||||||||
| vsse64.v v8,(t2),x0,v0.t | 4.00 | 4.00 | 4.00 | 4.00 | 8.00 | 16.00 | 32.00 | |||||||||||||||||||||
| vsse64.v v8,(t2),t1/*-1*/ | 4.10 | 4.00 | 4.00 | 4.00 | 8.00 | 17.00 | 34.02 | |||||||||||||||||||||
| vsse64.v v8,(t2),t1/*-1*/,v0.t | 4.05 | 4.00 | 4.00 | 4.00 | 8.00 | 17.00 | 32.00 | |||||||||||||||||||||
| vlseg2e8.v v8,(t0) | 4.87 | 4.87 | 4.62 | 7.35 | 12.55 | 28.03 | 4.87 | 4.87 | 4.74 | 4.81 | 12.67 | 4.87 | 4.87 | 2.55 | 4.72 | 4.87 | 2.22 | 3.00 | ||||||||||
| vlseg2e8.v v8,(t0),v0.t | 4.87 | 4.87 | 4.86 | 7.33 | 11.97 | 28.25 | 4.87 | 4.87 | 4.89 | 4.84 | 12.77 | 4.87 | 4.87 | 2.90 | 4.65 | 4.87 | 2.23 | 2.86 | ||||||||||
| vlseg2e16.v v8,(t0) | 4.87 | 4.77 | 7.40 | 4.87 | 4.62 | 7.35 | 12.26 | 28.25 | 4.87 | 4.68 | 4.90 | 12.72 | 4.87 | 2.82 | 4.78 | |||||||||||||
| vlseg2e16.v v8,(t0),v0.t | 4.87 | 4.59 | 7.31 | 4.87 | 4.68 | 7.34 | 12.31 | 28.31 | 4.87 | 4.53 | 4.84 | 12.67 | 4.87 | 2.70 | 4.81 | |||||||||||||
| vlseg2e32.v v8,(t0) | 4.65 | 7.44 | 4.50 | 7.27 | 4.86 | 7.33 | 12.25 | 28.57 | 4.62 | 4.75 | 12.81 | |||||||||||||||||
| vlseg2e32.v v8,(t0),v0.t | 4.62 | 7.41 | 4.65 | 7.30 | 4.59 | 7.42 | 12.49 | 27.95 | 4.68 | 4.84 | 12.82 | |||||||||||||||||
| vlseg2e64.v v8,(t0) | 7.40 | 7.42 | 7.49 | 7.42 | 11.97 | 28.53 | ||||||||||||||||||||||
| vlseg2e64.v v8,(t0),v0.t | 7.37 | 7.33 | 7.38 | 7.47 | 12.37 | 28.62 | ||||||||||||||||||||||
| vsseg2e8.v v8,(t0) | 3.00 | 3.00 | 4.00 | 8.00 | 16.00 | 32.00 | 3.00 | 3.00 | 4.00 | 8.00 | 16.00 | 3.00 | 3.00 | 4.00 | 8.00 | 3.00 | 3.00 | 4.00 | ||||||||||
| vsseg2e8.v v8,(t0),v0.t | 3.00 | 3.00 | 4.00 | 8.00 | 16.00 | 32.00 | 3.00 | 3.00 | 4.00 | 8.00 | 16.00 | 3.00 | 3.00 | 4.00 | 8.00 | 3.00 | 3.00 | 4.00 | ||||||||||
| vsseg2e16.v v8,(t0) | 3.00 | 4.00 | 8.00 | 3.00 | 4.00 | 8.00 | 16.00 | 32.00 | 3.00 | 4.00 | 8.00 | 16.00 | 3.00 | 4.00 | 8.00 | |||||||||||||
| vsseg2e16.v v8,(t0),v0.t | 3.00 | 4.00 | 8.00 | 3.00 | 4.00 | 8.00 | 16.00 | 32.00 | 3.00 | 4.00 | 8.00 | 16.00 | 3.00 | 4.00 | 8.00 | |||||||||||||
| vsseg2e32.v v8,(t0) | 4.00 | 8.00 | 4.00 | 8.00 | 4.17 | 8.00 | 16.00 | 32.00 | 4.07 | 8.00 | 16.00 | |||||||||||||||||
| vsseg2e32.v v8,(t0),v0.t | 4.22 | 8.00 | 4.00 | 8.00 | 4.00 | 8.00 | 16.00 | 32.00 | 4.00 | 8.00 | 16.00 | |||||||||||||||||
| vsseg2e64.v v8,(t0) | 8.00 | 8.00 | 8.00 | 8.00 | 16.00 | 32.01 | ||||||||||||||||||||||
| vsseg2e64.v v8,(t0),v0.t | 8.00 | 8.00 | 8.00 | 8.00 | 16.00 | 32.00 | ||||||||||||||||||||||
| vlseg3e8.v v8,(t0) | 5.05 | 4.93 | 5.33 | 9.02 | 19.42 | 5.05 | 4.90 | 5.55 | 9.48 | 5.04 | 4.90 | 5.38 | 5.06 | 5.15 | ||||||||||||||
| vlseg3e8.v v8,(t0),v0.t | 5.05 | 4.89 | 5.54 | 10.09 | 19.49 | 5.05 | 4.84 | 5.20 | 8.74 | 5.06 | 4.92 | 5.37 | 5.06 | 5.15 | ||||||||||||||
| vlseg3e16.v v8,(t0) | 4.87 | 5.20 | 9.15 | 5.06 | 5.27 | 8.91 | 19.31 | 5.16 | 5.42 | 8.61 | 5.05 | 5.35 | ||||||||||||||||
| vlseg3e16.v v8,(t0),v0.t | 5.08 | 5.43 | 9.20 | 4.89 | 5.65 | 8.76 | 19.29 | 4.90 | 5.37 | 8.87 | 4.83 | 5.36 | ||||||||||||||||
| vlseg3e32.v v8,(t0) | 5.59 | 9.48 | 5.59 | 9.37 | 5.41 | 8.71 | 19.52 | 5.76 | 8.62 | |||||||||||||||||||
| vlseg3e32.v v8,(t0),v0.t | 5.76 | 9.22 | 5.77 | 8.70 | 5.30 | 9.37 | 19.32 | 5.42 | 8.61 | |||||||||||||||||||
| vlseg3e64.v v8,(t0) | 10.13 | 10.16 | 10.11 | 10.14 | 19.60 | |||||||||||||||||||||||
| vlseg3e64.v v8,(t0),v0.t | 10.11 | 10.15 | 10.14 | 10.14 | 19.57 | |||||||||||||||||||||||
| vsseg3e8.v v8,(t0) | 4.00 | 5.00 | 7.00 | 14.17 | 28.00 | 4.00 | 5.00 | 7.00 | 14.00 | 4.00 | 5.00 | 7.00 | 4.00 | 5.00 | ||||||||||||||
| vsseg3e8.v v8,(t0),v0.t | 4.00 | 5.00 | 7.00 | 16.35 | 28.00 | 4.00 | 5.00 | 7.00 | 16.40 | 4.00 | 5.00 | 7.00 | 4.00 | 5.00 | ||||||||||||||
| vsseg3e16.v v8,(t0) | 5.00 | 7.00 | 14.30 | 5.00 | 7.00 | 14.00 | 28.00 | 5.00 | 7.00 | 14.00 | 5.00 | 7.00 | ||||||||||||||||
| vsseg3e16.v v8,(t0),v0.t | 5.00 | 7.00 | 14.70 | 5.00 | 7.00 | 14.00 | 28.00 | 5.00 | 7.00 | 14.80 | 5.00 | 7.00 | ||||||||||||||||
| vsseg3e32.v v8,(t0) | 7.00 | 14.00 | 7.00 | 14.00 | 7.00 | 14.00 | 28.00 | 7.00 | 14.00 | |||||||||||||||||||
| vsseg3e32.v v8,(t0),v0.t | 7.00 | 14.00 | 7.00 | 14.00 | 7.00 | 14.00 | 28.00 | 7.00 | 14.00 | |||||||||||||||||||
| vsseg3e64.v v8,(t0) | 12.00 | 12.00 | 12.00 | 12.00 | 24.00 | |||||||||||||||||||||||
| vsseg3e64.v v8,(t0),v0.t | 12.00 | 12.00 | 12.00 | 12.00 | 24.00 | |||||||||||||||||||||||
| vlseg4e8.v v8,(t0) | 5.44 | 5.35 | 7.26 | 11.15 | 27.73 | 5.41 | 5.34 | 6.78 | 10.90 | 5.39 | 5.36 | 7.00 | 5.37 | 5.98 | ||||||||||||||
| vlseg4e8.v v8,(t0),v0.t | 5.39 | 5.34 | 7.34 | 11.20 | 27.85 | 5.30 | 5.35 | 7.34 | 10.90 | 5.40 | 5.36 | 6.97 | 5.35 | 5.98 | ||||||||||||||
| vlseg4e16.v v8,(t0) | 5.35 | 6.94 | 11.15 | 5.34 | 7.18 | 11.18 | 27.91 | 5.34 | 7.18 | 11.00 | 5.34 | 6.98 | ||||||||||||||||
| vlseg4e16.v v8,(t0),v0.t | 5.36 | 6.70 | 11.20 | 5.35 | 7.18 | 11.16 | 27.82 | 5.34 | 7.18 | 10.84 | 5.35 | 7.00 | ||||||||||||||||
| vlseg4e32.v v8,(t0) | 7.34 | 11.13 | 6.86 | 11.20 | 7.26 | 11.13 | 28.01 | 7.34 | 10.96 | |||||||||||||||||||
| vlseg4e32.v v8,(t0),v0.t | 7.02 | 11.16 | 7.26 | 11.11 | 7.02 | 11.16 | 27.72 | 7.02 | 10.75 | |||||||||||||||||||
| vlseg4e64.v v8,(t0) | 11.88 | 12.13 | 11.45 | 12.27 | 26.41 | |||||||||||||||||||||||
| vlseg4e64.v v8,(t0),v0.t | 11.60 | 12.00 | 11.76 | 12.67 | 26.41 | |||||||||||||||||||||||
| vsseg4e8.v v8,(t0) | 5.00 | 6.00 | 9.05 | 16.00 | 32.00 | 5.00 | 6.00 | 8.35 | 16.00 | 5.00 | 6.00 | 9.05 | 5.00 | 6.00 | ||||||||||||||
| vsseg4e8.v v8,(t0),v0.t | 5.00 | 6.00 | 8.00 | 16.00 | 32.00 | 5.00 | 6.00 | 9.05 | 16.00 | 5.00 | 6.00 | 8.00 | 5.00 | 6.00 | ||||||||||||||
| vsseg4e16.v v8,(t0) | 6.00 | 8.00 | 16.00 | 6.00 | 8.00 | 16.00 | 32.00 | 6.00 | 8.00 | 16.00 | 6.00 | 8.00 | ||||||||||||||||
| vsseg4e16.v v8,(t0),v0.t | 6.00 | 8.00 | 16.00 | 6.00 | 8.00 | 16.00 | 32.00 | 6.00 | 8.18 | 16.00 | 6.00 | 8.00 | ||||||||||||||||
| vsseg4e32.v v8,(t0) | 8.00 | 16.00 | 8.00 | 16.00 | 8.00 | 16.00 | 32.00 | 8.00 | 16.00 | |||||||||||||||||||
| vsseg4e32.v v8,(t0),v0.t | 8.00 | 16.00 | 8.00 | 16.00 | 8.00 | 16.00 | 32.00 | 8.00 | 16.00 | |||||||||||||||||||
| vsseg4e64.v v8,(t0) | 16.00 | 16.00 | 16.00 | 16.00 | 32.00 | |||||||||||||||||||||||
| vsseg4e64.v v8,(t0),v0.t | 16.00 | 16.00 | 16.00 | 16.00 | 32.00 | |||||||||||||||||||||||
| vlseg5e8.v v8,(t0) | 20.00 | 40.00 | 80.00 | 159.40 | 20.00 | 40.00 | 80.00 | 20.00 | 40.00 | 20.00 | ||||||||||||||||||
| vlseg5e8.v v8,(t0),v0.t | 20.00 | 40.00 | 80.00 | 159.34 | 20.00 | 40.00 | 80.00 | 20.00 | 40.00 | 20.00 | ||||||||||||||||||
| vlseg5e16.v v8,(t0) | 20.00 | 40.00 | 79.24 | 20.00 | 40.00 | 79.26 | 20.00 | 40.00 | 20.00 | |||||||||||||||||||
| vlseg5e16.v v8,(t0),v0.t | 20.00 | 40.00 | 79.27 | 20.00 | 40.00 | 79.20 | 20.00 | 40.00 | 20.00 | |||||||||||||||||||
| vlseg5e32.v v8,(t0) | 20.00 | 39.39 | 20.00 | 39.35 | 20.00 | 39.38 | 20.00 | |||||||||||||||||||||
| vlseg5e32.v v8,(t0),v0.t | 20.00 | 39.39 | 20.00 | 39.38 | 20.00 | 39.34 | 20.00 | |||||||||||||||||||||
| vlseg5e64.v v8,(t0) | 19.55 | 19.58 | 19.61 | 19.56 | ||||||||||||||||||||||||
| vlseg5e64.v v8,(t0),v0.t | 19.58 | 19.55 | 19.59 | 19.61 | ||||||||||||||||||||||||
| vsseg5e8.v v8,(t0) | 20.00 | 40.00 | 80.00 | 163.26 | 20.00 | 40.00 | 80.00 | 20.00 | 40.00 | 20.00 | ||||||||||||||||||
| vsseg5e8.v v8,(t0),v0.t | 20.00 | 40.00 | 80.00 | 160.75 | 20.00 | 40.00 | 80.00 | 20.00 | 40.00 | 20.00 | ||||||||||||||||||
| vsseg5e16.v v8,(t0) | 20.00 | 40.00 | 83.19 | 20.00 | 40.00 | 82.97 | 20.00 | 40.00 | 20.01 | |||||||||||||||||||
| vsseg5e16.v v8,(t0),v0.t | 20.62 | 40.00 | 80.37 | 20.00 | 40.00 | 80.00 | 20.00 | 40.00 | 20.00 | |||||||||||||||||||
| vsseg5e32.v v8,(t0) | 20.00 | 43.06 | 20.00 | 42.21 | 20.00 | 43.58 | 20.32 | |||||||||||||||||||||
| vsseg5e32.v v8,(t0),v0.t | 20.00 | 42.66 | 20.00 | 42.96 | 20.00 | 42.57 | 20.00 | |||||||||||||||||||||
| vsseg5e64.v v8,(t0) | 20.07 | 20.00 | 20.00 | 20.00 | ||||||||||||||||||||||||
| vsseg5e64.v v8,(t0),v0.t | 20.00 | 20.02 | 20.00 | 20.00 | ||||||||||||||||||||||||
| vlseg6e8.v v8,(t0) | 24.37 | 48.37 | 96.37 | 191.36 | 24.37 | 48.37 | 96.37 | 24.37 | 48.37 | 24.37 | ||||||||||||||||||
| vlseg6e8.v v8,(t0),v0.t | 24.37 | 48.37 | 96.37 | 191.33 | 24.37 | 48.37 | 96.37 | 24.37 | 48.37 | 24.37 | ||||||||||||||||||
| vlseg6e16.v v8,(t0) | 24.37 | 48.37 | 95.18 | 24.37 | 48.37 | 95.13 | 24.37 | 48.37 | 24.37 | |||||||||||||||||||
| vlseg6e16.v v8,(t0),v0.t | 24.37 | 48.37 | 95.21 | 24.37 | 48.37 | 95.16 | 24.37 | 48.37 | 24.37 | |||||||||||||||||||
| vlseg6e32.v v8,(t0) | 24.37 | 47.31 | 24.37 | 47.36 | 24.37 | 47.45 | 24.37 | |||||||||||||||||||||
| vlseg6e32.v v8,(t0),v0.t | 24.37 | 47.45 | 24.37 | 47.32 | 24.37 | 47.33 | 24.37 | |||||||||||||||||||||
| vlseg6e64.v v8,(t0) | 23.27 | 23.23 | 23.21 | 23.28 | ||||||||||||||||||||||||
| vlseg6e64.v v8,(t0),v0.t | 23.30 | 23.27 | 23.23 | 23.32 | ||||||||||||||||||||||||
| vsseg6e8.v v8,(t0) | 24.00 | 48.00 | 96.00 | 198.70 | 24.00 | 48.00 | 96.00 | 24.00 | 48.00 | 24.00 | ||||||||||||||||||
| vsseg6e8.v v8,(t0),v0.t | 24.00 | 48.00 | 96.00 | 192.00 | 24.00 | 48.00 | 96.06 | 24.00 | 48.00 | 24.00 | ||||||||||||||||||
| vsseg6e16.v v8,(t0) | 24.00 | 48.00 | 97.16 | 24.00 | 48.00 | 96.03 | 24.00 | 48.00 | 24.00 | |||||||||||||||||||
| vsseg6e16.v v8,(t0),v0.t | 24.00 | 48.00 | 99.40 | 24.00 | 48.00 | 100.98 | 24.00 | 48.00 | 24.00 | |||||||||||||||||||
| vsseg6e32.v v8,(t0) | 24.00 | 49.29 | 24.00 | 48.35 | 24.00 | 52.10 | 24.00 | |||||||||||||||||||||
| vsseg6e32.v v8,(t0),v0.t | 24.16 | 55.55 | 24.00 | 52.99 | 24.00 | 55.56 | 24.00 | |||||||||||||||||||||
| vsseg6e64.v v8,(t0) | 24.00 | 24.00 | 24.00 | 24.10 | ||||||||||||||||||||||||
| vsseg6e64.v v8,(t0),v0.t | 24.00 | 24.00 | 24.00 | 24.00 | ||||||||||||||||||||||||
| vlseg7e8.v v8,(t0) | 28.25 | 56.25 | 112.25 | 223.30 | 28.25 | 56.25 | 112.25 | 28.25 | 56.25 | 28.25 | ||||||||||||||||||
| vlseg7e8.v v8,(t0),v0.t | 28.25 | 56.25 | 112.25 | 223.24 | 28.25 | 56.25 | 112.25 | 28.25 | 56.25 | 28.25 | ||||||||||||||||||
| vlseg7e16.v v8,(t0) | 28.25 | 56.25 | 111.12 | 28.25 | 56.25 | 111.12 | 28.25 | 56.25 | 28.25 | |||||||||||||||||||
| vlseg7e16.v v8,(t0),v0.t | 28.25 | 56.25 | 111.12 | 28.25 | 56.25 | 111.12 | 28.25 | 56.25 | 28.25 | |||||||||||||||||||
| vlseg7e32.v v8,(t0) | 28.25 | 55.02 | 28.25 | 55.03 | 28.25 | 55.01 | 28.25 | |||||||||||||||||||||
| vlseg7e32.v v8,(t0),v0.t | 28.25 | 55.04 | 28.25 | 55.04 | 28.25 | 55.07 | 28.25 | |||||||||||||||||||||
| vlseg7e64.v v8,(t0) | 27.21 | 27.26 | 27.23 | 27.17 | ||||||||||||||||||||||||
| vlseg7e64.v v8,(t0),v0.t | 27.16 | 27.20 | 27.20 | 27.14 | ||||||||||||||||||||||||
| vsseg7e8.v v8,(t0) | 28.00 | 56.00 | 112.00 | 228.93 | 28.00 | 56.00 | 112.00 | 28.00 | 56.00 | 28.00 | ||||||||||||||||||
| vsseg7e8.v v8,(t0),v0.t | 28.00 | 56.00 | 112.00 | 224.00 | 28.00 | 56.00 | 112.00 | 28.00 | 56.00 | 28.00 | ||||||||||||||||||
| vsseg7e16.v v8,(t0) | 28.00 | 56.00 | 116.14 | 28.00 | 56.53 | 117.96 | 28.00 | 56.12 | 28.00 | |||||||||||||||||||
| vsseg7e16.v v8,(t0),v0.t | 28.00 | 56.00 | 115.05 | 28.00 | 56.00 | 116.56 | 28.00 | 56.00 | 28.00 | |||||||||||||||||||
| vsseg7e32.v v8,(t0) | 28.34 | 61.45 | 28.93 | 61.58 | 28.45 | 60.70 | 29.51 | |||||||||||||||||||||
| vsseg7e32.v v8,(t0),v0.t | 28.21 | 59.63 | 28.27 | 58.96 | 28.36 | 59.69 | 28.72 | |||||||||||||||||||||
| vsseg7e64.v v8,(t0) | 28.00 | 28.00 | 28.00 | 28.00 | ||||||||||||||||||||||||
| vsseg7e64.v v8,(t0),v0.t | 28.00 | 28.00 | 28.00 | 28.00 | ||||||||||||||||||||||||
| vlseg8e8.v v8,(t0) | 32.15 | 64.12 | 128.13 | 255.17 | 32.15 | 64.12 | 128.12 | 32.15 | 64.12 | 32.15 | ||||||||||||||||||
| vlseg8e8.v v8,(t0),v0.t | 32.15 | 64.12 | 128.12 | 255.17 | 32.15 | 64.12 | 128.12 | 32.15 | 64.13 | 32.15 | ||||||||||||||||||
| vlseg8e16.v v8,(t0) | 32.13 | 64.13 | 127.13 | 32.13 | 64.13 | 127.13 | 32.13 | 64.13 | 32.13 | |||||||||||||||||||
| vlseg8e16.v v8,(t0),v0.t | 32.13 | 64.14 | 127.12 | 32.13 | 64.13 | 127.13 | 32.14 | 64.14 | 32.13 | |||||||||||||||||||
| vlseg8e32.v v8,(t0) | 32.19 | 63.16 | 32.18 | 63.18 | 32.18 | 63.18 | 32.16 | |||||||||||||||||||||
| vlseg8e32.v v8,(t0),v0.t | 32.16 | 63.15 | 32.18 | 63.17 | 32.19 | 63.19 | 32.21 | |||||||||||||||||||||
| vlseg8e64.v v8,(t0) | 31.12 | 31.12 | 31.12 | 31.12 | ||||||||||||||||||||||||
| vlseg8e64.v v8,(t0),v0.t | 31.12 | 31.12 | 31.12 | 31.12 | ||||||||||||||||||||||||
| vsseg8e8.v v8,(t0) | 32.00 | 64.00 | 128.10 | 256.50 | 32.00 | 64.00 | 129.44 | 32.00 | 65.20 | 32.00 | ||||||||||||||||||
| vsseg8e8.v v8,(t0),v0.t | 32.00 | 64.00 | 128.13 | 260.81 | 32.00 | 64.00 | 129.65 | 32.00 | 64.00 | 32.00 | ||||||||||||||||||
| vsseg8e16.v v8,(t0) | 32.00 | 64.45 | 134.66 | 32.00 | 65.19 | 132.10 | 32.00 | 64.00 | 32.00 | |||||||||||||||||||
| vsseg8e16.v v8,(t0),v0.t | 32.00 | 66.36 | 138.41 | 32.00 | 65.51 | 134.34 | 32.00 | 65.22 | 32.00 | |||||||||||||||||||
| vsseg8e32.v v8,(t0) | 32.83 | 74.61 | 33.07 | 73.91 | 33.02 | 74.33 | 33.31 | |||||||||||||||||||||
| vsseg8e32.v v8,(t0),v0.t | 32.75 | 73.67 | 32.30 | 68.85 | 34.03 | 69.73 | 33.22 | |||||||||||||||||||||
| vsseg8e64.v v8,(t0) | 35.20 | 34.68 | 35.27 | 34.55 | ||||||||||||||||||||||||
| vsseg8e64.v v8,(t0),v0.t | 32.79 | 32.00 | 32.21 | 32.40 | ||||||||||||||||||||||||
| vlseg2e8ff.v v8,(t0) | 4.87 | 4.87 | 4.62 | 7.37 | 12.50 | 28.41 | 4.87 | 4.87 | 4.53 | 4.84 | 12.67 | 4.87 | 4.87 | 2.82 | 4.81 | 4.87 | 2.22 | 3.00 | ||||||||||
| vlseg2e8ff.v v8,(t0),v0.t | 4.87 | 4.87 | 4.71 | 7.33 | 12.26 | 28.25 | 4.87 | 4.87 | 4.77 | 4.68 | 12.77 | 4.87 | 4.87 | 2.65 | 4.72 | 4.87 | 2.22 | 2.83 | ||||||||||
| vlseg2e16ff.v v8,(t0) | 4.87 | 4.50 | 7.33 | 4.87 | 4.59 | 7.40 | 12.25 | 27.86 | 4.87 | 4.74 | 4.72 | 12.74 | 4.87 | 2.72 | 4.78 | |||||||||||||
| vlseg2e16ff.v v8,(t0),v0.t | 4.87 | 4.59 | 7.40 | 4.87 | 4.68 | 7.35 | 12.32 | 28.42 | 4.87 | 4.80 | 4.68 | 12.77 | 4.87 | 2.75 | 4.72 | |||||||||||||
| vlseg2e32ff.v v8,(t0) | 4.53 | 7.35 | 4.56 | 7.34 | 4.68 | 7.37 | 12.77 | 28.25 | 4.59 | 4.90 | 12.77 | |||||||||||||||||
| vlseg2e32ff.v v8,(t0),v0.t | 4.65 | 7.31 | 4.65 | 7.28 | 4.68 | 7.31 | 12.38 | 28.01 | 4.65 | 4.78 | 12.67 | |||||||||||||||||
| vlseg2e64ff.v v8,(t0) | 7.35 | 7.48 | 7.41 | 7.41 | 12.25 | 28.47 | ||||||||||||||||||||||
| vlseg2e64ff.v v8,(t0),v0.t | 7.43 | 7.42 | 7.34 | 7.35 | 12.04 | 28.13 | ||||||||||||||||||||||
| vlseg3e8ff.v v8,(t0) | 5.05 | 4.90 | 5.15 | 9.88 | 19.46 | 5.03 | 4.98 | 5.76 | 8.93 | 5.03 | 4.92 | 5.35 | 5.06 | 5.18 | ||||||||||||||
| vlseg3e8ff.v v8,(t0),v0.t | 5.03 | 4.81 | 5.49 | 8.85 | 19.19 | 5.05 | 4.89 | 5.56 | 8.63 | 5.05 | 5.00 | 5.39 | 5.03 | 5.12 | ||||||||||||||
| vlseg3e16ff.v v8,(t0) | 4.89 | 5.37 | 9.35 | 4.87 | 5.15 | 8.84 | 19.38 | 4.96 | 5.53 | 8.62 | 5.10 | 5.30 | ||||||||||||||||
| vlseg3e16ff.v v8,(t0),v0.t | 4.95 | 5.47 | 8.84 | 5.01 | 5.60 | 8.86 | 19.54 | 5.04 | 5.82 | 8.62 | 4.77 | 5.32 | ||||||||||||||||
| vlseg3e32ff.v v8,(t0) | 5.76 | 9.25 | 5.53 | 9.20 | 5.48 | 9.20 | 19.49 | 5.47 | 8.61 | |||||||||||||||||||
| vlseg3e32ff.v v8,(t0),v0.t | 5.59 | 9.42 | 5.44 | 9.42 | 5.53 | 9.22 | 19.52 | 5.48 | 8.61 | |||||||||||||||||||
| vlseg3e64ff.v v8,(t0) | 10.15 | 10.11 | 10.13 | 10.14 | 19.41 | |||||||||||||||||||||||
| vlseg3e64ff.v v8,(t0),v0.t | 10.13 | 10.15 | 10.12 | 10.14 | 19.50 | |||||||||||||||||||||||
| vlseg4e8ff.v v8,(t0) | 5.40 | 5.35 | 7.42 | 11.11 | 28.11 | 5.40 | 5.34 | 7.59 | 11.12 | 5.51 | 5.34 | 6.94 | 5.39 | 5.92 | ||||||||||||||
| vlseg4e8ff.v v8,(t0),v0.t | 5.44 | 5.34 | 7.02 | 11.14 | 28.07 | 5.39 | 5.35 | 6.94 | 11.03 | 5.42 | 5.34 | 6.96 | 5.44 | 6.04 | ||||||||||||||
| vlseg4e16ff.v v8,(t0) | 5.34 | 6.94 | 11.12 | 5.33 | 7.34 | 11.11 | 28.11 | 5.34 | 7.10 | 10.90 | 5.35 | 7.01 | ||||||||||||||||
| vlseg4e16ff.v v8,(t0),v0.t | 5.34 | 7.36 | 11.18 | 5.34 | 7.18 | 11.10 | 27.81 | 5.34 | 7.26 | 10.93 | 5.35 | 6.93 | ||||||||||||||||
| vlseg4e32ff.v v8,(t0) | 7.18 | 11.15 | 7.10 | 11.14 | 7.34 | 11.13 | 28.01 | 7.40 | 11.06 | |||||||||||||||||||
| vlseg4e32ff.v v8,(t0),v0.t | 7.02 | 11.14 | 7.26 | 11.10 | 6.95 | 11.14 | 27.84 | 7.26 | 10.85 | |||||||||||||||||||
| vlseg4e64ff.v v8,(t0) | 12.19 | 12.13 | 12.43 | 12.09 | 26.19 | |||||||||||||||||||||||
| vlseg4e64ff.v v8,(t0),v0.t | 12.00 | 12.27 | 12.13 | 11.99 | 26.19 | |||||||||||||||||||||||
| vlseg5e8ff.v v8,(t0) | 20.00 | 40.00 | 80.00 | 159.37 | 20.00 | 40.00 | 80.00 | 20.00 | 40.00 | 20.00 | ||||||||||||||||||
| vlseg5e8ff.v v8,(t0),v0.t | 20.00 | 40.00 | 80.00 | 159.37 | 20.00 | 40.00 | 80.00 | 20.00 | 40.00 | 20.00 | ||||||||||||||||||
| vlseg5e16ff.v v8,(t0) | 20.00 | 40.00 | 79.22 | 20.00 | 40.00 | 79.23 | 20.00 | 40.00 | 20.00 | |||||||||||||||||||
| vlseg5e16ff.v v8,(t0),v0.t | 20.00 | 40.00 | 79.24 | 20.00 | 40.00 | 79.26 | 20.00 | 40.00 | 20.00 | |||||||||||||||||||
| vlseg5e32ff.v v8,(t0) | 20.00 | 39.31 | 20.00 | 39.38 | 20.00 | 39.46 | 20.00 | |||||||||||||||||||||
| vlseg5e32ff.v v8,(t0),v0.t | 20.00 | 39.36 | 20.00 | 39.34 | 20.00 | 39.34 | 20.00 | |||||||||||||||||||||
| vlseg5e64ff.v v8,(t0) | 19.59 | 19.60 | 19.57 | 19.56 | ||||||||||||||||||||||||
| vlseg5e64ff.v v8,(t0),v0.t | 19.61 | 19.58 | 19.58 | 19.56 | ||||||||||||||||||||||||
| vlseg6e8ff.v v8,(t0) | 24.37 | 48.37 | 96.37 | 191.37 | 24.37 | 48.37 | 96.37 | 24.37 | 48.37 | 24.37 | ||||||||||||||||||
| vlseg6e8ff.v v8,(t0),v0.t | 24.37 | 48.37 | 96.37 | 191.37 | 24.37 | 48.37 | 96.37 | 24.37 | 48.37 | 24.37 | ||||||||||||||||||
| vlseg6e16ff.v v8,(t0) | 24.37 | 48.37 | 95.14 | 24.37 | 48.37 | 95.16 | 24.37 | 48.37 | 24.37 | |||||||||||||||||||
| vlseg6e16ff.v v8,(t0),v0.t | 24.37 | 48.37 | 95.17 | 24.37 | 48.37 | 95.12 | 24.37 | 48.37 | 24.37 | |||||||||||||||||||
| vlseg6e32ff.v v8,(t0) | 24.37 | 47.33 | 24.37 | 47.43 | 24.37 | 47.36 | 24.37 | |||||||||||||||||||||
| vlseg6e32ff.v v8,(t0),v0.t | 24.37 | 47.41 | 24.37 | 47.33 | 24.37 | 47.36 | 24.37 | |||||||||||||||||||||
| vlseg6e64ff.v v8,(t0) | 23.28 | 23.21 | 23.16 | 23.20 | ||||||||||||||||||||||||
| vlseg6e64ff.v v8,(t0),v0.t | 23.23 | 23.39 | 23.25 | 23.18 | ||||||||||||||||||||||||
| vlseg7e8ff.v v8,(t0) | 28.25 | 56.25 | 112.25 | 223.33 | 28.25 | 56.25 | 112.25 | 28.25 | 56.25 | 28.25 | ||||||||||||||||||
| vlseg7e8ff.v v8,(t0),v0.t | 28.25 | 56.25 | 112.25 | 223.28 | 28.25 | 56.25 | 112.25 | 28.25 | 56.25 | 28.25 | ||||||||||||||||||
| vlseg7e16ff.v v8,(t0) | 28.25 | 56.25 | 111.11 | 28.25 | 56.25 | 111.09 | 28.25 | 56.25 | 28.25 | |||||||||||||||||||
| vlseg7e16ff.v v8,(t0),v0.t | 28.25 | 56.25 | 111.12 | 28.25 | 56.25 | 111.12 | 28.25 | 56.25 | 28.25 | |||||||||||||||||||
| vlseg7e32ff.v v8,(t0) | 28.25 | 55.05 | 28.25 | 55.03 | 28.25 | 55.04 | 28.25 | |||||||||||||||||||||
| vlseg7e32ff.v v8,(t0),v0.t | 28.25 | 55.01 | 28.25 | 55.02 | 28.25 | 55.00 | 28.25 | |||||||||||||||||||||
| vlseg7e64ff.v v8,(t0) | 27.17 | 27.20 | 27.21 | 27.21 | ||||||||||||||||||||||||
| vlseg7e64ff.v v8,(t0),v0.t | 27.26 | 27.17 | 27.16 | 27.17 | ||||||||||||||||||||||||
| vlseg8e8ff.v v8,(t0) | 32.15 | 64.12 | 128.12 | 255.17 | 32.15 | 64.12 | 128.13 | 32.15 | 64.12 | 32.15 | ||||||||||||||||||
| vlseg8e8ff.v v8,(t0),v0.t | 32.15 | 64.12 | 128.12 | 255.18 | 32.15 | 64.12 | 128.12 | 32.15 | 64.12 | 32.15 | ||||||||||||||||||
| vlseg8e16ff.v v8,(t0) | 32.13 | 64.13 | 127.13 | 32.13 | 64.13 | 127.13 | 32.13 | 64.13 | 32.13 | |||||||||||||||||||
| vlseg8e16ff.v v8,(t0),v0.t | 32.13 | 64.13 | 127.13 | 32.13 | 64.13 | 127.14 | 32.13 | 64.14 | 32.13 | |||||||||||||||||||
| vlseg8e32ff.v v8,(t0) | 32.20 | 63.16 | 32.21 | 63.17 | 32.18 | 63.17 | 32.19 | |||||||||||||||||||||
| vlseg8e32ff.v v8,(t0),v0.t | 32.21 | 63.16 | 32.19 | 63.16 | 32.19 | 63.17 | 32.19 | |||||||||||||||||||||
| vlseg8e64ff.v v8,(t0) | 31.12 | 31.12 | 31.12 | 31.12 | ||||||||||||||||||||||||
| vlseg8e64ff.v v8,(t0),v0.t | 31.12 | 31.12 | 31.12 | 31.12 | ||||||||||||||||||||||||
| vlsseg2e8.v v8,(t2),t3 | 5.29 | 6.05 | 10.79 | 25.00 | 59.01 | 137.01 | 5.21 | 6.05 | 11.47 | 25.00 | 59.01 | 5.21 | 6.07 | 9.50 | 25.00 | 5.24 | 5.45 | 9.50 | ||||||||||
| vlsseg2e8.v v8,(t2),t3,v0.t | 5.18 | 5.97 | 11.90 | 25.00 | 59.01 | 137.01 | 5.31 | 6.05 | 11.44 | 24.97 | 59.01 | 5.22 | 6.09 | 9.50 | 25.00 | 5.22 | 5.50 | 9.50 | ||||||||||
| vlsseg2e8.v v8,(t2),x0 | 5.29 | 5.62 | 9.00 | 19.50 | 55.50 | 130.00 | 5.36 | 5.62 | 9.00 | 19.50 | 55.50 | 5.14 | 5.62 | 9.00 | 19.50 | 5.42 | 5.00 | 9.00 | ||||||||||
| vlsseg2e8.v v8,(t2),x0,v0.t | 5.35 | 5.62 | 9.00 | 19.50 | 55.50 | 130.00 | 5.36 | 5.62 | 9.00 | 19.50 | 55.50 | 5.18 | 5.62 | 9.00 | 19.50 | 5.25 | 5.00 | 9.00 | ||||||||||
| vlsseg2e8.v v8,(t2),t1/*-1*/ | 5.11 | 5.92 | 9.50 | 25.55 | 60.00 | 137.01 | 5.15 | 6.02 | 9.50 | 26.42 | 60.00 | 5.16 | 6.05 | 9.50 | 24.27 | 4.97 | 5.30 | 9.50 | ||||||||||
| vlsseg2e8.v v8,(t2),t1/*-1*/,v0.t | 5.11 | 5.97 | 9.50 | 25.45 | 60.00 | 137.01 | 5.20 | 6.07 | 9.50 | 26.20 | 60.00 | 5.16 | 5.89 | 9.50 | 26.17 | 4.98 | 5.30 | 9.50 | ||||||||||
| vlsseg2e16.v v8,(t2),t3 | 5.15 | 6.63 | 14.00 | 5.16 | 6.22 | 14.00 | 35.35 | 81.65 | 5.14 | 6.43 | 14.00 | 35.35 | 5.14 | 5.50 | 14.00 | |||||||||||||
| vlsseg2e16.v v8,(t2),t3,v0.t | 5.20 | 6.38 | 14.00 | 5.18 | 6.43 | 14.00 | 35.20 | 81.30 | 5.14 | 6.48 | 14.00 | 35.25 | 5.19 | 5.50 | 14.00 | |||||||||||||
| vlsseg2e16.v v8,(t2),x0 | 5.27 | 5.62 | 11.50 | 5.30 | 5.62 | 11.50 | 32.00 | 75.50 | 5.06 | 5.62 | 11.90 | 32.00 | 5.22 | 5.00 | 11.50 | |||||||||||||
| vlsseg2e16.v v8,(t2),x0,v0.t | 5.27 | 5.62 | 11.50 | 5.29 | 5.62 | 11.50 | 32.00 | 75.50 | 5.10 | 5.62 | 11.50 | 32.00 | 5.40 | 5.00 | 11.50 | |||||||||||||
| vlsseg2e16.v v8,(t2),t1/*-1*/ | 5.15 | 6.12 | 13.83 | 5.22 | 6.12 | 13.73 | 35.95 | 80.30 | 5.01 | 6.12 | 13.68 | 35.90 | 5.19 | 5.50 | 13.68 | |||||||||||||
| vlsseg2e16.v v8,(t2),t1/*-1*/,v0.t | 5.00 | 6.12 | 13.80 | 4.94 | 6.12 | 13.59 | 35.75 | 80.15 | 4.92 | 6.12 | 13.73 | 35.92 | 5.06 | 5.50 | 13.45 | |||||||||||||
| vlsseg2e32.v v8,(t2),t3 | 5.03 | 9.90 | 4.76 | 9.66 | 4.91 | 9.77 | 21.95 | 51.77 | 4.89 | 9.82 | 21.72 | |||||||||||||||||
| vlsseg2e32.v v8,(t2),t3,v0.t | 4.88 | 9.92 | 4.97 | 9.60 | 4.85 | 9.70 | 21.77 | 52.00 | 4.81 | 9.72 | 21.90 | |||||||||||||||||
| vlsseg2e32.v v8,(t2),x0 | 5.41 | 9.00 | 5.43 | 9.00 | 5.32 | 9.00 | 21.66 | 46.01 | 5.35 | 9.05 | 20.51 | |||||||||||||||||
| vlsseg2e32.v v8,(t2),x0,v0.t | 5.32 | 9.00 | 5.33 | 9.00 | 5.10 | 9.00 | 20.51 | 47.50 | 5.24 | 9.04 | 20.51 | |||||||||||||||||
| vlsseg2e32.v v8,(t2),t1/*-1*/ | 4.83 | 9.00 | 4.85 | 8.97 | 4.86 | 8.92 | 22.96 | 52.53 | 4.85 | 8.96 | 23.01 | |||||||||||||||||
| vlsseg2e32.v v8,(t2),t1/*-1*/,v0.t | 4.83 | 8.97 | 4.81 | 8.85 | 4.87 | 8.85 | 22.96 | 52.43 | 4.87 | 8.97 | 23.60 | |||||||||||||||||
| vlsseg2e64.v v8,(t2),t3 | 5.90 | 5.99 | 5.82 | 5.93 | 15.00 | 32.07 | ||||||||||||||||||||||
| vlsseg2e64.v v8,(t2),t3,v0.t | 5.99 | 5.86 | 5.82 | 5.99 | 15.00 | 32.07 | ||||||||||||||||||||||
| vlsseg2e64.v v8,(t2),x0 | 7.43 | 6.90 | 7.69 | 6.51 | 13.14 | 34.29 | ||||||||||||||||||||||
| vlsseg2e64.v v8,(t2),x0,v0.t | 7.30 | 7.03 | 7.69 | 6.77 | 15.13 | 31.61 | ||||||||||||||||||||||
| vlsseg2e64.v v8,(t2),t1/*-1*/ | 5.90 | 5.95 | 5.88 | 5.88 | 15.00 | 32.07 | ||||||||||||||||||||||
| vlsseg2e64.v v8,(t2),t1/*-1*/,v0.t | 5.95 | 5.93 | 5.86 | 5.82 | 15.00 | 32.07 | ||||||||||||||||||||||
| vssseg2e8.v v8,(t2),t3 | 4.10 | 9.00 | 17.00 | 34.00 | 68.00 | 136.00 | 4.20 | 8.90 | 17.00 | 34.00 | 68.00 | 4.00 | 8.90 | 17.00 | 34.00 | 4.15 | 8.95 | 17.00 | ||||||||||
| vssseg2e8.v v8,(t2),t3,v0.t | 4.10 | 8.80 | 17.00 | 34.00 | 68.00 | 136.00 | 4.10 | 8.75 | 17.00 | 34.00 | 68.00 | 4.20 | 8.75 | 17.00 | 34.00 | 4.00 | 8.80 | 17.00 | ||||||||||
| vssseg2e8.v v8,(t2),x0 | 4.00 | 8.00 | 16.00 | 32.00 | 64.00 | 128.00 | 4.00 | 8.00 | 16.00 | 32.00 | 64.00 | 4.00 | 8.00 | 16.00 | 32.00 | 4.00 | 8.00 | 16.00 | ||||||||||
| vssseg2e8.v v8,(t2),x0,v0.t | 4.00 | 8.00 | 16.00 | 32.00 | 64.00 | 128.00 | 4.00 | 8.00 | 16.00 | 32.00 | 64.00 | 4.00 | 8.00 | 16.80 | 32.00 | 4.00 | 8.00 | 16.00 | ||||||||||
| vssseg2e8.v v8,(t2),t1/*-1*/ | 4.75 | 8.75 | 17.00 | 34.00 | 68.00 | 136.00 | 5.20 | 8.65 | 17.00 | 34.00 | 68.00 | 4.65 | 8.75 | 17.00 | 34.00 | 4.65 | 8.65 | 17.00 | ||||||||||
| vssseg2e8.v v8,(t2),t1/*-1*/,v0.t | 4.60 | 8.70 | 17.00 | 34.00 | 68.00 | 143.13 | 4.60 | 8.65 | 17.00 | 34.00 | 68.65 | 4.45 | 8.70 | 17.00 | 34.00 | 4.60 | 8.55 | 17.00 | ||||||||||
| vssseg2e16.v v8,(t2),t3 | 4.15 | 9.95 | 23.11 | 4.10 | 10.55 | 19.09 | 36.00 | 72.00 | 4.05 | 9.00 | 24.35 | 36.00 | 4.20 | 9.00 | 22.56 | |||||||||||||
| vssseg2e16.v v8,(t2),t3,v0.t | 4.00 | 9.00 | 21.63 | 4.15 | 9.00 | 20.67 | 36.00 | 72.11 | 4.25 | 9.62 | 23.96 | 36.45 | 4.15 | 9.00 | 18.25 | |||||||||||||
| vssseg2e16.v v8,(t2),x0 | 4.00 | 8.00 | 16.00 | 4.00 | 8.00 | 16.00 | 32.00 | 64.00 | 4.00 | 8.00 | 16.00 | 32.00 | 4.00 | 8.00 | 16.00 | |||||||||||||
| vssseg2e16.v v8,(t2),x0,v0.t | 4.00 | 8.00 | 16.00 | 4.00 | 8.00 | 16.00 | 32.00 | 64.00 | 4.00 | 8.00 | 16.00 | 32.00 | 4.00 | 8.00 | 16.00 | |||||||||||||
| vssseg2e16.v v8,(t2),t1/*-1*/ | 4.70 | 9.00 | 18.00 | 4.75 | 9.00 | 18.00 | 36.00 | 72.00 | 4.70 | 9.00 | 18.00 | 36.00 | 4.70 | 9.00 | 18.00 | |||||||||||||
| vssseg2e16.v v8,(t2),t1/*-1*/,v0.t | 4.95 | 9.00 | 18.00 | 5.45 | 9.00 | 18.00 | 36.00 | 75.59 | 4.75 | 9.00 | 18.00 | 36.00 | 4.45 | 9.00 | 18.00 | |||||||||||||
| vssseg2e32.v v8,(t2),t3 | 5.24 | 10.75 | 6.61 | 10.40 | 5.00 | 10.35 | 20.63 | 41.35 | 5.00 | 10.07 | 21.01 | |||||||||||||||||
| vssseg2e32.v v8,(t2),t3,v0.t | 5.00 | 10.00 | 5.08 | 10.00 | 5.00 | 10.00 | 20.77 | 41.95 | 5.16 | 10.00 | 21.51 | |||||||||||||||||
| vssseg2e32.v v8,(t2),x0 | 4.00 | 8.00 | 4.00 | 8.00 | 4.00 | 8.00 | 16.00 | 32.00 | 4.00 | 8.40 | 16.00 | |||||||||||||||||
| vssseg2e32.v v8,(t2),x0,v0.t | 4.00 | 8.00 | 4.00 | 8.00 | 4.00 | 8.00 | 16.00 | 32.00 | 4.00 | 8.00 | 16.00 | |||||||||||||||||
| vssseg2e32.v v8,(t2),t1/*-1*/ | 5.68 | 10.00 | 5.43 | 10.30 | 5.25 | 10.00 | 20.00 | 43.00 | 5.00 | 10.00 | 20.28 | |||||||||||||||||
| vssseg2e32.v v8,(t2),t1/*-1*/,v0.t | 5.00 | 10.00 | 5.00 | 10.00 | 5.00 | 10.00 | 20.52 | 43.99 | 5.07 | 10.00 | 20.00 | |||||||||||||||||
| vssseg2e64.v v8,(t2),t3 | 8.33 | 8.00 | 8.35 | 8.00 | 16.00 | 32.50 | ||||||||||||||||||||||
| vssseg2e64.v v8,(t2),t3,v0.t | 8.00 | 8.00 | 8.00 | 8.07 | 16.00 | 32.50 | ||||||||||||||||||||||
| vssseg2e64.v v8,(t2),x0 | 8.00 | 8.00 | 8.00 | 8.00 | 16.00 | 32.00 | ||||||||||||||||||||||
| vssseg2e64.v v8,(t2),x0,v0.t | 8.00 | 8.00 | 8.00 | 8.00 | 16.00 | 32.00 | ||||||||||||||||||||||
| vssseg2e64.v v8,(t2),t1/*-1*/ | 8.00 | 8.00 | 8.00 | 8.00 | 16.00 | 33.35 | ||||||||||||||||||||||
| vssseg2e64.v v8,(t2),t1/*-1*/,v0.t | 8.35 | 8.00 | 8.00 | 8.00 | 16.00 | 32.77 | ||||||||||||||||||||||
| vlsseg3e8.v v8,(t2),t3 | 5.63 | 6.35 | 12.78 | 29.00 | 68.01 | 5.45 | 6.33 | 12.70 | 29.00 | 5.51 | 6.38 | 12.48 | 5.39 | 6.87 | ||||||||||||||
| vlsseg3e8.v v8,(t2),t3,v0.t | 5.54 | 6.40 | 12.51 | 27.80 | 68.01 | 5.55 | 6.33 | 12.39 | 29.00 | 5.29 | 6.33 | 12.68 | 5.43 | 6.75 | ||||||||||||||
| vlsseg3e8.v v8,(t2),x0 | 4.95 | 6.25 | 9.83 | 22.00 | 60.95 | 5.07 | 6.25 | 9.83 | 22.00 | 4.95 | 6.25 | 9.83 | 4.97 | 6.25 | ||||||||||||||
| vlsseg3e8.v v8,(t2),x0,v0.t | 4.89 | 6.25 | 9.83 | 22.00 | 60.57 | 4.93 | 6.25 | 9.83 | 22.00 | 4.97 | 6.25 | 9.83 | 4.93 | 6.25 | ||||||||||||||
| vlsseg3e8.v v8,(t2),t1/*-1*/ | 5.19 | 6.45 | 10.83 | 29.20 | 68.01 | 5.23 | 6.68 | 10.83 | 30.02 | 5.19 | 6.68 | 10.83 | 5.18 | 7.00 | ||||||||||||||
| vlsseg3e8.v v8,(t2),t1/*-1*/,v0.t | 5.21 | 6.65 | 10.83 | 28.97 | 68.01 | 5.18 | 6.65 | 10.83 | 29.00 | 5.19 | 6.60 | 10.83 | 5.16 | 7.20 | ||||||||||||||
| vlsseg3e16.v v8,(t2),t3 | 5.05 | 7.23 | 18.35 | 5.06 | 7.25 | 17.95 | 43.13 | 5.06 | 7.32 | 17.82 | 5.06 | 7.25 | ||||||||||||||||
| vlsseg3e16.v v8,(t2),t3,v0.t | 5.06 | 7.32 | 17.72 | 5.06 | 7.28 | 17.65 | 42.89 | 5.06 | 7.25 | 18.00 | 5.04 | 7.25 | ||||||||||||||||
| vlsseg3e16.v v8,(t2),x0 | 4.91 | 6.25 | 11.50 | 4.95 | 6.25 | 11.50 | 38.24 | 5.00 | 6.25 | 11.50 | 4.96 | 6.25 | ||||||||||||||||
| vlsseg3e16.v v8,(t2),x0,v0.t | 4.96 | 6.25 | 11.50 | 5.00 | 6.25 | 11.50 | 38.18 | 4.93 | 6.25 | 11.50 | 4.98 | 6.25 | ||||||||||||||||
| vlsseg3e16.v v8,(t2),t1/*-1*/ | 5.18 | 6.83 | 14.10 | 5.20 | 6.83 | 14.38 | 42.07 | 5.21 | 6.83 | 14.14 | 5.19 | 7.25 | ||||||||||||||||
| vlsseg3e16.v v8,(t2),t1/*-1*/,v0.t | 5.24 | 6.83 | 14.31 | 5.20 | 6.83 | 14.47 | 42.31 | 5.20 | 6.83 | 14.25 | 5.20 | 7.25 | ||||||||||||||||
| vlsseg3e32.v v8,(t2),t3 | 5.25 | 11.00 | 5.25 | 11.00 | 5.25 | 11.00 | 32.20 | 5.25 | 11.00 | |||||||||||||||||||
| vlsseg3e32.v v8,(t2),t3,v0.t | 5.25 | 11.00 | 5.25 | 11.00 | 5.25 | 11.00 | 31.60 | 5.25 | 11.00 | |||||||||||||||||||
| vlsseg3e32.v v8,(t2),x0 | 5.24 | 10.12 | 5.17 | 10.00 | 5.60 | 10.00 | 30.67 | 5.31 | 9.75 | |||||||||||||||||||
| vlsseg3e32.v v8,(t2),x0,v0.t | 5.31 | 9.87 | 5.10 | 9.12 | 5.46 | 9.75 | 31.82 | 5.10 | 9.87 | |||||||||||||||||||
| vlsseg3e32.v v8,(t2),t1/*-1*/ | 5.25 | 10.49 | 5.25 | 10.42 | 5.25 | 10.49 | 31.00 | 5.25 | 10.62 | |||||||||||||||||||
| vlsseg3e32.v v8,(t2),t1/*-1*/,v0.t | 5.25 | 10.56 | 5.25 | 10.42 | 5.25 | 10.45 | 31.10 | 5.25 | 10.63 | |||||||||||||||||||
| vlsseg3e64.v v8,(t2),t3 | 10.33 | 10.43 | 10.38 | 10.14 | 24.00 | |||||||||||||||||||||||
| vlsseg3e64.v v8,(t2),t3,v0.t | 10.24 | 10.14 | 10.24 | 10.48 | 24.00 | |||||||||||||||||||||||
| vlsseg3e64.v v8,(t2),x0 | 11.19 | 10.72 | 11.03 | 10.88 | 23.47 | |||||||||||||||||||||||
| vlsseg3e64.v v8,(t2),x0,v0.t | 11.11 | 10.72 | 10.88 | 11.18 | 23.46 | |||||||||||||||||||||||
| vlsseg3e64.v v8,(t2),t1/*-1*/ | 9.37 | 9.35 | 9.36 | 9.38 | 22.00 | |||||||||||||||||||||||
| vlsseg3e64.v v8,(t2),t1/*-1*/,v0.t | 9.38 | 9.36 | 9.39 | 9.37 | 22.00 | |||||||||||||||||||||||
| vssseg3e8.v v8,(t2),t3 | 4.40 | 9.00 | 18.00 | 36.00 | 83.35 | 4.35 | 9.05 | 18.00 | 36.00 | 4.25 | 9.00 | 18.00 | 4.55 | 9.05 | ||||||||||||||
| vssseg3e8.v v8,(t2),t3,v0.t | 4.20 | 9.00 | 18.00 | 37.03 | 72.01 | 4.40 | 9.00 | 18.00 | 36.00 | 4.35 | 9.00 | 18.00 | 4.40 | 9.00 | ||||||||||||||
| vssseg3e8.v v8,(t2),x0 | 4.00 | 8.00 | 16.00 | 32.00 | 64.01 | 4.00 | 8.00 | 16.00 | 32.00 | 4.00 | 8.00 | 16.00 | 4.00 | 8.00 | ||||||||||||||
| vssseg3e8.v v8,(t2),x0,v0.t | 4.00 | 8.00 | 16.00 | 32.00 | 64.00 | 4.00 | 8.00 | 16.00 | 32.00 | 4.00 | 8.00 | 16.00 | 4.00 | 8.00 | ||||||||||||||
| vssseg3e8.v v8,(t2),t1/*-1*/ | 5.30 | 9.50 | 18.00 | 36.00 | 72.01 | 5.10 | 9.30 | 18.00 | 36.00 | 5.30 | 9.50 | 18.00 | 5.20 | 9.40 | ||||||||||||||
| vssseg3e8.v v8,(t2),t1/*-1*/,v0.t | 5.30 | 9.40 | 18.00 | 36.00 | 72.37 | 5.50 | 9.70 | 18.00 | 36.00 | 5.00 | 9.20 | 18.00 | 4.90 | 9.50 | ||||||||||||||
| vssseg3e16.v v8,(t2),t3 | 5.00 | 10.00 | 20.20 | 5.87 | 10.00 | 21.11 | 40.00 | 5.00 | 10.00 | 20.45 | 5.00 | 10.00 | ||||||||||||||||
| vssseg3e16.v v8,(t2),t3,v0.t | 5.00 | 10.00 | 20.00 | 5.00 | 10.00 | 21.44 | 40.00 | 5.00 | 10.00 | 20.00 | 5.00 | 10.00 | ||||||||||||||||
| vssseg3e16.v v8,(t2),x0 | 5.00 | 8.40 | 16.00 | 5.30 | 8.00 | 16.00 | 32.00 | 5.00 | 8.00 | 16.00 | 5.00 | 8.00 | ||||||||||||||||
| vssseg3e16.v v8,(t2),x0,v0.t | 5.00 | 8.00 | 16.00 | 5.00 | 8.40 | 16.00 | 32.00 | 5.00 | 8.00 | 16.00 | 5.00 | 8.00 | ||||||||||||||||
| vssseg3e16.v v8,(t2),t1/*-1*/ | 9.67 | 10.00 | 20.20 | 5.50 | 10.00 | 20.00 | 40.00 | 5.80 | 10.00 | 20.00 | 5.80 | 10.00 | ||||||||||||||||
| vssseg3e16.v v8,(t2),t1/*-1*/,v0.t | 5.50 | 10.00 | 20.00 | 5.65 | 10.00 | 20.00 | 40.00 | 5.65 | 10.00 | 20.00 | 5.65 | 10.00 | ||||||||||||||||
| vssseg3e32.v v8,(t2),t3 | 7.00 | 14.00 | 7.00 | 14.00 | 7.00 | 14.00 | 28.14 | 7.16 | 14.00 | |||||||||||||||||||
| vssseg3e32.v v8,(t2),t3,v0.t | 7.00 | 14.00 | 7.31 | 14.02 | 7.98 | 14.00 | 28.07 | 7.00 | 14.30 | |||||||||||||||||||
| vssseg3e32.v v8,(t2),x0 | 7.15 | 14.80 | 7.30 | 14.20 | 7.15 | 14.90 | 28.40 | 7.20 | 14.50 | |||||||||||||||||||
| vssseg3e32.v v8,(t2),x0,v0.t | 7.40 | 14.50 | 7.75 | 14.30 | 7.25 | 14.30 | 28.80 | 7.20 | 14.20 | |||||||||||||||||||
| vssseg3e32.v v8,(t2),t1/*-1*/ | 7.17 | 14.00 | 7.05 | 14.00 | 7.00 | 14.05 | 28.18 | 7.00 | 14.00 | |||||||||||||||||||
| vssseg3e32.v v8,(t2),t1/*-1*/,v0.t | 7.32 | 14.00 | 7.00 | 14.05 | 7.00 | 14.05 | 28.00 | 7.00 | 14.00 | |||||||||||||||||||
| vssseg3e64.v v8,(t2),t3 | 12.00 | 12.00 | 12.00 | 12.00 | 24.00 | |||||||||||||||||||||||
| vssseg3e64.v v8,(t2),t3,v0.t | 12.00 | 12.00 | 12.00 | 12.00 | 24.00 | |||||||||||||||||||||||
| vssseg3e64.v v8,(t2),x0 | 12.00 | 12.00 | 12.00 | 12.00 | 24.00 | |||||||||||||||||||||||
| vssseg3e64.v v8,(t2),x0,v0.t | 12.00 | 12.00 | 12.00 | 12.00 | 24.00 | |||||||||||||||||||||||
| vssseg3e64.v v8,(t2),t1/*-1*/ | 12.00 | 12.00 | 12.00 | 12.00 | 24.00 | |||||||||||||||||||||||
| vssseg3e64.v v8,(t2),t1/*-1*/,v0.t | 12.00 | 12.00 | 12.00 | 12.00 | 24.00 | |||||||||||||||||||||||
| vlsseg4e8.v v8,(t2),t3 | 5.79 | 6.82 | 13.27 | 29.70 | 72.01 | 5.64 | 6.82 | 13.15 | 30.00 | 5.88 | 6.92 | 13.23 | 5.61 | 6.82 | ||||||||||||||
| vlsseg4e8.v v8,(t2),t3,v0.t | 5.72 | 6.80 | 13.17 | 29.40 | 72.01 | 5.76 | 6.85 | 13.26 | 29.70 | 5.99 | 6.97 | 13.21 | 5.91 | 6.92 | ||||||||||||||
| vlsseg4e8.v v8,(t2),x0 | 5.62 | 6.25 | 10.25 | 22.00 | 63.00 | 5.43 | 6.25 | 10.25 | 22.00 | 5.64 | 6.25 | 10.25 | 5.59 | 6.56 | ||||||||||||||
| vlsseg4e8.v v8,(t2),x0,v0.t | 5.43 | 6.25 | 10.25 | 22.00 | 63.00 | 5.49 | 6.25 | 10.25 | 22.00 | 5.87 | 6.25 | 10.25 | 5.64 | 6.56 | ||||||||||||||
| vlsseg4e8.v v8,(t2),t1/*-1*/ | 6.12 | 7.50 | 11.75 | 29.45 | 72.01 | 6.09 | 7.52 | 11.75 | 29.52 | 6.11 | 7.15 | 11.75 | 6.08 | 7.21 | ||||||||||||||
| vlsseg4e8.v v8,(t2),t1/*-1*/,v0.t | 6.08 | 7.50 | 11.75 | 30.37 | 72.01 | 6.09 | 7.15 | 11.75 | 29.47 | 6.10 | 7.47 | 11.75 | 6.09 | 7.49 | ||||||||||||||
| vlsseg4e16.v v8,(t2),t3 | 5.42 | 7.92 | 19.25 | 5.41 | 7.91 | 19.12 | 47.45 | 5.41 | 7.91 | 19.10 | 5.45 | 8.04 | ||||||||||||||||
| vlsseg4e16.v v8,(t2),t3,v0.t | 5.43 | 7.92 | 19.00 | 5.47 | 7.88 | 19.15 | 48.62 | 5.43 | 7.95 | 19.20 | 5.45 | 8.06 | ||||||||||||||||
| vlsseg4e16.v v8,(t2),x0 | 5.61 | 6.25 | 15.81 | 5.75 | 7.06 | 14.53 | 39.50 | 5.70 | 6.65 | 14.05 | 5.81 | 7.11 | ||||||||||||||||
| vlsseg4e16.v v8,(t2),x0,v0.t | 5.59 | 6.25 | 13.16 | 5.64 | 6.45 | 14.53 | 45.37 | 5.65 | 6.85 | 14.49 | 5.81 | 7.30 | ||||||||||||||||
| vlsseg4e16.v v8,(t2),t1/*-1*/ | 5.92 | 7.75 | 16.85 | 6.06 | 7.78 | 16.99 | 49.65 | 6.01 | 7.75 | 17.00 | 5.98 | 7.75 | ||||||||||||||||
| vlsseg4e16.v v8,(t2),t1/*-1*/,v0.t | 6.03 | 7.75 | 16.87 | 5.95 | 7.75 | 16.97 | 49.70 | 5.98 | 7.75 | 16.86 | 5.98 | 7.75 | ||||||||||||||||
| vlsseg4e32.v v8,(t2),t3 | 6.08 | 12.00 | 6.10 | 12.00 | 6.08 | 12.00 | 37.65 | 6.09 | 12.00 | |||||||||||||||||||
| vlsseg4e32.v v8,(t2),t3,v0.t | 6.10 | 12.00 | 6.09 | 12.00 | 6.08 | 12.00 | 37.65 | 6.10 | 12.00 | |||||||||||||||||||
| vlsseg4e32.v v8,(t2),x0 | 5.61 | 12.25 | 5.80 | 12.46 | 5.42 | 11.95 | 29.06 | 5.94 | 12.16 | |||||||||||||||||||
| vlsseg4e32.v v8,(t2),x0,v0.t | 5.61 | 11.85 | 5.41 | 11.75 | 5.67 | 12.15 | 31.06 | 5.48 | 12.25 | |||||||||||||||||||
| vlsseg4e32.v v8,(t2),t1/*-1*/ | 6.06 | 12.16 | 6.06 | 12.55 | 6.06 | 12.16 | 36.62 | 6.06 | 12.03 | |||||||||||||||||||
| vlsseg4e32.v v8,(t2),t1/*-1*/,v0.t | 6.06 | 12.13 | 6.06 | 12.16 | 6.06 | 12.11 | 36.60 | 6.06 | 12.00 | |||||||||||||||||||
| vlsseg4e64.v v8,(t2),t3 | 10.62 | 10.79 | 10.71 | 10.66 | 31.10 | |||||||||||||||||||||||
| vlsseg4e64.v v8,(t2),t3,v0.t | 10.62 | 10.50 | 10.62 | 10.75 | 31.50 | |||||||||||||||||||||||
| vlsseg4e64.v v8,(t2),x0 | 11.39 | 11.30 | 11.41 | 11.45 | 30.45 | |||||||||||||||||||||||
| vlsseg4e64.v v8,(t2),x0,v0.t | 11.32 | 11.45 | 11.34 | 11.32 | 30.10 | |||||||||||||||||||||||
| vlsseg4e64.v v8,(t2),t1/*-1*/ | 13.00 | 13.00 | 13.00 | 13.00 | 31.56 | |||||||||||||||||||||||
| vlsseg4e64.v v8,(t2),t1/*-1*/,v0.t | 13.00 | 13.00 | 13.00 | 13.00 | 32.50 | |||||||||||||||||||||||
| vssseg4e8.v v8,(t2),t3 | 5.00 | 9.30 | 19.00 | 38.00 | 78.30 | 5.00 | 9.35 | 19.00 | 38.00 | 5.00 | 9.05 | 19.00 | 5.00 | 9.25 | ||||||||||||||
| vssseg4e8.v v8,(t2),t3,v0.t | 5.00 | 9.25 | 19.00 | 38.00 | 76.00 | 5.00 | 9.50 | 19.00 | 38.00 | 5.00 | 9.00 | 19.00 | 5.00 | 9.40 | ||||||||||||||
| vssseg4e8.v v8,(t2),x0 | 5.15 | 8.00 | 16.00 | 32.00 | 67.20 | 5.00 | 8.00 | 16.00 | 32.00 | 5.00 | 8.00 | 16.00 | 5.00 | 8.00 | ||||||||||||||
| vssseg4e8.v v8,(t2),x0,v0.t | 5.15 | 8.00 | 16.00 | 32.00 | 64.00 | 5.00 | 8.00 | 16.00 | 32.00 | 5.00 | 8.00 | 16.00 | 5.00 | 8.00 | ||||||||||||||
| vssseg4e8.v v8,(t2),t1/*-1*/ | 7.65 | 10.10 | 19.00 | 38.00 | 77.43 | 5.70 | 9.85 | 19.00 | 38.00 | 5.80 | 9.90 | 19.00 | 6.20 | 9.70 | ||||||||||||||
| vssseg4e8.v v8,(t2),t1/*-1*/,v0.t | 6.30 | 10.10 | 19.00 | 38.00 | 77.14 | 6.40 | 10.05 | 19.00 | 38.00 | 6.10 | 9.65 | 19.00 | 6.70 | 10.40 | ||||||||||||||
| vssseg4e16.v v8,(t2),t3 | 6.10 | 11.55 | 22.40 | 6.00 | 12.10 | 22.50 | 45.01 | 6.00 | 13.56 | 22.45 | 6.00 | 11.30 | ||||||||||||||||
| vssseg4e16.v v8,(t2),t3,v0.t | 6.00 | 12.48 | 23.35 | 6.00 | 11.10 | 22.60 | 49.53 | 6.00 | 11.35 | 22.76 | 6.00 | 14.58 | ||||||||||||||||
| vssseg4e16.v v8,(t2),x0 | 6.10 | 10.00 | 21.45 | 6.20 | 10.00 | 20.28 | 55.60 | 6.00 | 10.90 | 23.80 | 6.00 | 10.90 | ||||||||||||||||
| vssseg4e16.v v8,(t2),x0,v0.t | 6.30 | 11.50 | 20.28 | 6.10 | 10.30 | 20.28 | 52.00 | 6.40 | 11.20 | 20.87 | 6.20 | 11.80 | ||||||||||||||||
| vssseg4e16.v v8,(t2),t1/*-1*/ | 6.55 | 12.65 | 26.03 | 6.90 | 12.30 | 26.22 | 52.28 | 6.60 | 11.85 | 26.69 | 6.70 | 12.20 | ||||||||||||||||
| vssseg4e16.v v8,(t2),t1/*-1*/,v0.t | 6.76 | 12.60 | 26.43 | 6.80 | 12.70 | 26.08 | 55.90 | 6.45 | 12.15 | 25.63 | 6.75 | 12.25 | ||||||||||||||||
| vssseg4e32.v v8,(t2),t3 | 9.26 | 18.87 | 9.30 | 19.17 | 9.46 | 18.86 | 40.09 | 9.56 | 18.95 | |||||||||||||||||||
| vssseg4e32.v v8,(t2),t3,v0.t | 9.13 | 19.32 | 9.30 | 18.87 | 9.56 | 18.61 | 40.41 | 9.40 | 19.02 | |||||||||||||||||||
| vssseg4e32.v v8,(t2),x0 | 9.00 | 18.57 | 8.90 | 18.78 | 9.30 | 18.35 | 39.67 | 8.70 | 18.57 | |||||||||||||||||||
| vssseg4e32.v v8,(t2),x0,v0.t | 8.80 | 18.57 | 9.40 | 17.71 | 8.80 | 16.64 | 41.83 | 8.60 | 17.71 | |||||||||||||||||||
| vssseg4e32.v v8,(t2),t1/*-1*/ | 9.35 | 18.87 | 9.85 | 18.80 | 9.30 | 18.72 | 39.56 | 9.43 | 19.25 | |||||||||||||||||||
| vssseg4e32.v v8,(t2),t1/*-1*/,v0.t | 9.25 | 19.23 | 10.36 | 19.32 | 9.25 | 18.80 | 39.32 | 9.62 | 18.80 | |||||||||||||||||||
| vssseg4e64.v v8,(t2),t3 | 16.20 | 17.00 | 16.90 | 16.50 | 33.79 | |||||||||||||||||||||||
| vssseg4e64.v v8,(t2),t3,v0.t | 16.30 | 16.80 | 16.80 | 16.40 | 35.16 | |||||||||||||||||||||||
| vssseg4e64.v v8,(t2),x0 | 16.30 | 16.50 | 16.30 | 16.80 | 32.98 | |||||||||||||||||||||||
| vssseg4e64.v v8,(t2),x0,v0.t | 16.60 | 17.00 | 16.40 | 16.80 | 34.30 | |||||||||||||||||||||||
| vssseg4e64.v v8,(t2),t1/*-1*/ | 16.50 | 16.40 | 16.00 | 16.50 | 33.00 | |||||||||||||||||||||||
| vssseg4e64.v v8,(t2),t1/*-1*/,v0.t | 16.90 | 16.30 | 16.80 | 16.60 | 33.21 | |||||||||||||||||||||||
| vlsseg5e8.v v8,(t2),t3 | 20.00 | 40.00 | 80.00 | 159.28 | 20.00 | 40.00 | 80.00 | 20.00 | 40.00 | 20.00 | ||||||||||||||||||
| vlsseg5e8.v v8,(t2),t3,v0.t | 20.00 | 40.00 | 80.00 | 159.26 | 20.00 | 40.00 | 80.00 | 20.00 | 40.00 | 20.00 | ||||||||||||||||||
| vlsseg5e8.v v8,(t2),x0 | 20.00 | 40.00 | 80.00 | 159.20 | 20.00 | 40.00 | 80.00 | 20.00 | 40.00 | 20.00 | ||||||||||||||||||
| vlsseg5e8.v v8,(t2),x0,v0.t | 20.00 | 40.00 | 80.00 | 159.20 | 20.00 | 40.00 | 80.00 | 20.00 | 40.00 | 20.00 | ||||||||||||||||||
| vlsseg5e8.v v8,(t2),t1/*-1*/ | 20.00 | 40.00 | 80.00 | 159.20 | 20.00 | 40.00 | 80.00 | 20.00 | 40.00 | 20.00 | ||||||||||||||||||
| vlsseg5e8.v v8,(t2),t1/*-1*/,v0.t | 20.00 | 40.00 | 80.00 | 159.20 | 20.00 | 40.00 | 80.00 | 20.00 | 40.00 | 20.00 | ||||||||||||||||||
| vlsseg5e16.v v8,(t2),t3 | 20.00 | 40.00 | 79.26 | 20.00 | 40.00 | 79.23 | 20.00 | 40.00 | 20.00 | |||||||||||||||||||
| vlsseg5e16.v v8,(t2),t3,v0.t | 20.00 | 40.00 | 79.26 | 20.00 | 40.00 | 79.24 | 20.00 | 40.00 | 20.00 | |||||||||||||||||||
| vlsseg5e16.v v8,(t2),x0 | 20.00 | 40.00 | 79.20 | 20.00 | 40.00 | 79.20 | 20.00 | 40.00 | 20.00 | |||||||||||||||||||
| vlsseg5e16.v v8,(t2),x0,v0.t | 20.00 | 40.00 | 79.20 | 20.00 | 40.00 | 79.20 | 20.00 | 40.00 | 20.00 | |||||||||||||||||||
| vlsseg5e16.v v8,(t2),t1/*-1*/ | 20.00 | 40.00 | 79.21 | 20.00 | 40.00 | 79.20 | 20.00 | 40.00 | 20.00 | |||||||||||||||||||
| vlsseg5e16.v v8,(t2),t1/*-1*/,v0.t | 20.00 | 40.00 | 79.20 | 20.00 | 40.00 | 79.21 | 20.00 | 40.00 | 20.00 | |||||||||||||||||||
| vlsseg5e32.v v8,(t2),t3 | 20.00 | 39.32 | 20.00 | 39.53 | 20.00 | 39.38 | 20.00 | |||||||||||||||||||||
| vlsseg5e32.v v8,(t2),t3,v0.t | 20.00 | 39.42 | 20.00 | 39.44 | 20.00 | 39.36 | 20.00 | |||||||||||||||||||||
| vlsseg5e32.v v8,(t2),x0 | 20.00 | 39.20 | 20.00 | 39.20 | 20.00 | 39.20 | 20.00 | |||||||||||||||||||||
| vlsseg5e32.v v8,(t2),x0,v0.t | 20.00 | 39.20 | 20.00 | 39.20 | 20.00 | 39.20 | 20.00 | |||||||||||||||||||||
| vlsseg5e32.v v8,(t2),t1/*-1*/ | 20.00 | 39.42 | 20.00 | 39.46 | 20.00 | 39.34 | 20.00 | |||||||||||||||||||||
| vlsseg5e32.v v8,(t2),t1/*-1*/,v0.t | 20.00 | 39.49 | 20.00 | 39.50 | 20.00 | 39.49 | 20.00 | |||||||||||||||||||||
| vlsseg5e64.v v8,(t2),t3 | 19.37 | 19.37 | 19.37 | 19.37 | ||||||||||||||||||||||||
| vlsseg5e64.v v8,(t2),t3,v0.t | 19.37 | 19.37 | 19.37 | 19.37 | ||||||||||||||||||||||||
| vlsseg5e64.v v8,(t2),x0 | 19.47 | 19.49 | 19.47 | 19.49 | ||||||||||||||||||||||||
| vlsseg5e64.v v8,(t2),x0,v0.t | 19.48 | 19.47 | 19.46 | 19.48 | ||||||||||||||||||||||||
| vlsseg5e64.v v8,(t2),t1/*-1*/ | 19.37 | 19.37 | 19.37 | 19.37 | ||||||||||||||||||||||||
| vlsseg5e64.v v8,(t2),t1/*-1*/,v0.t | 19.37 | 19.37 | 19.37 | 19.37 | ||||||||||||||||||||||||
| vssseg5e8.v v8,(t2),t3 | 20.00 | 40.00 | 80.00 | 160.00 | 20.00 | 40.00 | 80.00 | 20.00 | 40.00 | 20.00 | ||||||||||||||||||
| vssseg5e8.v v8,(t2),t3,v0.t | 20.00 | 40.00 | 80.00 | 160.00 | 20.00 | 40.00 | 80.00 | 20.00 | 40.00 | 20.00 | ||||||||||||||||||
| vssseg5e8.v v8,(t2),x0 | 20.00 | 40.00 | 80.00 | 160.00 | 20.00 | 40.00 | 80.00 | 20.00 | 40.00 | 20.00 | ||||||||||||||||||
| vssseg5e8.v v8,(t2),x0,v0.t | 20.00 | 40.00 | 80.00 | 160.00 | 20.00 | 40.00 | 80.00 | 20.00 | 40.00 | 20.00 | ||||||||||||||||||
| vssseg5e8.v v8,(t2),t1/*-1*/ | 20.00 | 40.00 | 80.00 | 160.00 | 20.00 | 40.00 | 80.00 | 20.00 | 40.00 | 20.00 | ||||||||||||||||||
| vssseg5e8.v v8,(t2),t1/*-1*/,v0.t | 20.00 | 40.00 | 80.00 | 160.00 | 20.00 | 40.00 | 80.00 | 20.00 | 40.00 | 20.00 | ||||||||||||||||||
| vssseg5e16.v v8,(t2),t3 | 20.00 | 40.00 | 80.00 | 20.00 | 40.00 | 80.00 | 20.00 | 40.00 | 20.00 | |||||||||||||||||||
| vssseg5e16.v v8,(t2),t3,v0.t | 20.00 | 40.00 | 80.00 | 20.00 | 40.00 | 80.00 | 20.00 | 40.00 | 20.00 | |||||||||||||||||||
| vssseg5e16.v v8,(t2),x0 | 20.00 | 40.00 | 80.00 | 20.00 | 40.00 | 80.00 | 20.00 | 40.00 | 20.00 | |||||||||||||||||||
| vssseg5e16.v v8,(t2),x0,v0.t | 20.00 | 40.00 | 80.00 | 20.00 | 40.00 | 80.00 | 20.00 | 40.00 | 20.00 | |||||||||||||||||||
| vssseg5e16.v v8,(t2),t1/*-1*/ | 20.00 | 40.00 | 80.00 | 20.00 | 40.00 | 80.00 | 20.00 | 40.00 | 20.00 | |||||||||||||||||||
| vssseg5e16.v v8,(t2),t1/*-1*/,v0.t | 20.00 | 40.00 | 80.00 | 20.00 | 40.00 | 80.00 | 20.00 | 40.00 | 20.00 | |||||||||||||||||||
| vssseg5e32.v v8,(t2),t3 | 20.00 | 40.00 | 20.00 | 40.00 | 20.00 | 40.00 | 20.00 | |||||||||||||||||||||
| vssseg5e32.v v8,(t2),t3,v0.t | 20.00 | 40.00 | 20.00 | 40.00 | 20.00 | 40.00 | 20.00 | |||||||||||||||||||||
| vssseg5e32.v v8,(t2),x0 | 20.00 | 40.00 | 20.00 | 40.00 | 20.00 | 40.00 | 20.00 | |||||||||||||||||||||
| vssseg5e32.v v8,(t2),x0,v0.t | 20.00 | 40.00 | 20.00 | 40.00 | 20.00 | 40.00 | 20.00 | |||||||||||||||||||||
| vssseg5e32.v v8,(t2),t1/*-1*/ | 20.00 | 40.00 | 20.00 | 40.00 | 20.00 | 40.00 | 20.00 | |||||||||||||||||||||
| vssseg5e32.v v8,(t2),t1/*-1*/,v0.t | 20.00 | 40.00 | 20.00 | 40.00 | 20.00 | 40.00 | 20.00 | |||||||||||||||||||||
| vssseg5e64.v v8,(t2),t3 | 20.00 | 20.00 | 21.19 | 20.00 | ||||||||||||||||||||||||
| vssseg5e64.v v8,(t2),t3,v0.t | 21.37 | 20.35 | 20.88 | 23.08 | ||||||||||||||||||||||||
| vssseg5e64.v v8,(t2),x0 | 20.00 | 20.00 | 20.00 | 20.00 | ||||||||||||||||||||||||
| vssseg5e64.v v8,(t2),x0,v0.t | 20.00 | 20.00 | 20.00 | 20.00 | ||||||||||||||||||||||||
| vssseg5e64.v v8,(t2),t1/*-1*/ | 21.17 | 21.56 | 20.00 | 20.00 | ||||||||||||||||||||||||
| vssseg5e64.v v8,(t2),t1/*-1*/,v0.t | 20.00 | 20.00 | 20.00 | 20.00 | ||||||||||||||||||||||||
| vlsseg6e8.v v8,(t2),t3 | 24.37 | 48.37 | 96.37 | 191.16 | 24.37 | 48.37 | 96.37 | 24.37 | 48.37 | 24.37 | ||||||||||||||||||
| vlsseg6e8.v v8,(t2),t3,v0.t | 24.37 | 48.37 | 96.37 | 191.18 | 24.37 | 48.37 | 96.37 | 24.37 | 48.37 | 24.37 | ||||||||||||||||||
| vlsseg6e8.v v8,(t2),x0 | 24.37 | 48.37 | 96.37 | 191.37 | 24.37 | 48.37 | 96.37 | 24.37 | 48.37 | 24.37 | ||||||||||||||||||
| vlsseg6e8.v v8,(t2),x0,v0.t | 24.37 | 48.37 | 96.37 | 191.37 | 24.37 | 48.37 | 96.37 | 24.37 | 48.37 | 24.37 | ||||||||||||||||||
| vlsseg6e8.v v8,(t2),t1/*-1*/ | 24.37 | 48.37 | 96.37 | 191.12 | 24.37 | 48.37 | 96.37 | 24.37 | 48.37 | 24.37 | ||||||||||||||||||
| vlsseg6e8.v v8,(t2),t1/*-1*/,v0.t | 24.37 | 48.37 | 96.37 | 191.12 | 24.37 | 48.37 | 96.37 | 24.37 | 48.37 | 24.37 | ||||||||||||||||||
| vlsseg6e16.v v8,(t2),t3 | 24.37 | 48.37 | 95.16 | 24.37 | 48.37 | 95.22 | 24.37 | 48.37 | 24.37 | |||||||||||||||||||
| vlsseg6e16.v v8,(t2),t3,v0.t | 24.37 | 48.37 | 95.16 | 24.37 | 48.37 | 95.13 | 24.37 | 48.37 | 24.37 | |||||||||||||||||||
| vlsseg6e16.v v8,(t2),x0 | 24.37 | 48.37 | 95.25 | 24.37 | 48.37 | 95.25 | 24.37 | 48.37 | 24.37 | |||||||||||||||||||
| vlsseg6e16.v v8,(t2),x0,v0.t | 24.37 | 48.37 | 95.25 | 24.37 | 48.37 | 95.25 | 24.37 | 48.37 | 24.37 | |||||||||||||||||||
| vlsseg6e16.v v8,(t2),t1/*-1*/ | 24.37 | 48.37 | 95.14 | 24.37 | 48.37 | 95.13 | 24.37 | 48.37 | 24.37 | |||||||||||||||||||
| vlsseg6e16.v v8,(t2),t1/*-1*/,v0.t | 24.37 | 48.37 | 95.17 | 24.37 | 48.37 | 95.17 | 24.37 | 48.37 | 24.37 | |||||||||||||||||||
| vlsseg6e32.v v8,(t2),t3 | 24.37 | 47.23 | 24.37 | 47.24 | 24.37 | 47.30 | 24.37 | |||||||||||||||||||||
| vlsseg6e32.v v8,(t2),t3,v0.t | 24.37 | 47.22 | 24.37 | 47.20 | 24.37 | 47.21 | 24.37 | |||||||||||||||||||||
| vlsseg6e32.v v8,(t2),x0 | 24.37 | 47.50 | 24.37 | 47.50 | 24.37 | 47.50 | 24.37 | |||||||||||||||||||||
| vlsseg6e32.v v8,(t2),x0,v0.t | 24.37 | 47.50 | 24.37 | 47.50 | 24.37 | 47.50 | 24.37 | |||||||||||||||||||||
| vlsseg6e32.v v8,(t2),t1/*-1*/ | 24.37 | 47.27 | 24.37 | 47.30 | 24.37 | 47.32 | 24.37 | |||||||||||||||||||||
| vlsseg6e32.v v8,(t2),t1/*-1*/,v0.t | 24.37 | 47.27 | 24.37 | 47.26 | 24.37 | 47.24 | 24.37 | |||||||||||||||||||||
| vlsseg6e64.v v8,(t2),t3 | 23.22 | 23.20 | 23.22 | 23.22 | ||||||||||||||||||||||||
| vlsseg6e64.v v8,(t2),t3,v0.t | 23.21 | 23.22 | 23.23 | 23.18 | ||||||||||||||||||||||||
| vlsseg6e64.v v8,(t2),x0 | 23.50 | 23.50 | 23.50 | 23.50 | ||||||||||||||||||||||||
| vlsseg6e64.v v8,(t2),x0,v0.t | 23.50 | 23.50 | 23.50 | 23.50 | ||||||||||||||||||||||||
| vlsseg6e64.v v8,(t2),t1/*-1*/ | 23.19 | 23.20 | 23.23 | 23.19 | ||||||||||||||||||||||||
| vlsseg6e64.v v8,(t2),t1/*-1*/,v0.t | 23.19 | 23.25 | 23.19 | 23.17 | ||||||||||||||||||||||||
| vssseg6e8.v v8,(t2),t3 | 24.00 | 48.00 | 96.00 | 192.00 | 24.00 | 48.00 | 96.00 | 24.00 | 48.00 | 24.00 | ||||||||||||||||||
| vssseg6e8.v v8,(t2),t3,v0.t | 24.00 | 48.00 | 96.00 | 192.08 | 24.00 | 48.00 | 96.00 | 24.00 | 48.00 | 24.00 | ||||||||||||||||||
| vssseg6e8.v v8,(t2),x0 | 24.00 | 48.00 | 96.00 | 192.00 | 24.00 | 48.00 | 96.00 | 24.00 | 48.00 | 24.00 | ||||||||||||||||||
| vssseg6e8.v v8,(t2),x0,v0.t | 24.00 | 48.00 | 96.00 | 192.00 | 24.00 | 48.00 | 96.00 | 24.00 | 48.00 | 24.00 | ||||||||||||||||||
| vssseg6e8.v v8,(t2),t1/*-1*/ | 24.00 | 48.00 | 96.00 | 192.00 | 24.00 | 48.00 | 96.00 | 24.00 | 48.00 | 24.00 | ||||||||||||||||||
| vssseg6e8.v v8,(t2),t1/*-1*/,v0.t | 24.00 | 48.00 | 96.00 | 192.00 | 24.00 | 48.00 | 96.00 | 24.00 | 48.00 | 24.00 | ||||||||||||||||||
| vssseg6e16.v v8,(t2),t3 | 24.00 | 48.00 | 96.12 | 24.00 | 48.00 | 96.84 | 24.00 | 48.00 | 24.00 | |||||||||||||||||||
| vssseg6e16.v v8,(t2),t3,v0.t | 24.00 | 48.00 | 96.00 | 24.00 | 48.00 | 96.00 | 24.00 | 48.00 | 24.00 | |||||||||||||||||||
| vssseg6e16.v v8,(t2),x0 | 24.00 | 48.00 | 96.00 | 24.00 | 48.00 | 96.00 | 24.00 | 48.00 | 24.00 | |||||||||||||||||||
| vssseg6e16.v v8,(t2),x0,v0.t | 24.00 | 48.00 | 96.00 | 24.00 | 48.00 | 96.00 | 24.00 | 48.00 | 24.00 | |||||||||||||||||||
| vssseg6e16.v v8,(t2),t1/*-1*/ | 24.00 | 48.00 | 96.00 | 24.00 | 48.00 | 96.00 | 24.00 | 48.00 | 24.00 | |||||||||||||||||||
| vssseg6e16.v v8,(t2),t1/*-1*/,v0.t | 24.00 | 48.00 | 96.00 | 24.00 | 48.00 | 96.00 | 24.00 | 48.00 | 24.00 | |||||||||||||||||||
| vssseg6e32.v v8,(t2),t3 | 24.89 | 49.33 | 24.00 | 49.11 | 24.00 | 48.78 | 24.00 | |||||||||||||||||||||
| vssseg6e32.v v8,(t2),t3,v0.t | 24.00 | 48.22 | 24.00 | 48.41 | 24.00 | 48.57 | 24.00 | |||||||||||||||||||||
| vssseg6e32.v v8,(t2),x0 | 24.00 | 48.00 | 24.00 | 48.00 | 24.00 | 48.00 | 24.00 | |||||||||||||||||||||
| vssseg6e32.v v8,(t2),x0,v0.t | 24.00 | 48.00 | 24.00 | 48.00 | 24.00 | 48.00 | 24.00 | |||||||||||||||||||||
| vssseg6e32.v v8,(t2),t1/*-1*/ | 24.00 | 48.00 | 24.00 | 48.00 | 24.00 | 48.00 | 24.00 | |||||||||||||||||||||
| vssseg6e32.v v8,(t2),t1/*-1*/,v0.t | 24.00 | 48.00 | 24.00 | 48.00 | 24.00 | 48.00 | 24.00 | |||||||||||||||||||||
| vssseg6e64.v v8,(t2),t3 | 26.52 | 25.38 | 25.70 | 26.77 | ||||||||||||||||||||||||
| vssseg6e64.v v8,(t2),t3,v0.t | 26.67 | 26.67 | 25.53 | 25.93 | ||||||||||||||||||||||||
| vssseg6e64.v v8,(t2),x0 | 24.00 | 24.00 | 24.00 | 24.00 | ||||||||||||||||||||||||
| vssseg6e64.v v8,(t2),x0,v0.t | 25.33 | 28.76 | 24.00 | 24.00 | ||||||||||||||||||||||||
| vssseg6e64.v v8,(t2),t1/*-1*/ | 26.82 | 24.67 | 25.83 | 26.35 | ||||||||||||||||||||||||
| vssseg6e64.v v8,(t2),t1/*-1*/,v0.t | 25.46 | 25.41 | 25.02 | 24.99 | ||||||||||||||||||||||||
| vlsseg7e8.v v8,(t2),t3 | 28.25 | 56.25 | 112.25 | 223.12 | 28.25 | 56.25 | 112.25 | 28.25 | 56.25 | 28.25 | ||||||||||||||||||
| vlsseg7e8.v v8,(t2),t3,v0.t | 28.25 | 56.25 | 112.25 | 223.12 | 28.25 | 56.25 | 112.25 | 28.25 | 56.25 | 28.25 | ||||||||||||||||||
| vlsseg7e8.v v8,(t2),x0 | 28.25 | 56.25 | 112.25 | 223.00 | 28.25 | 56.25 | 112.25 | 28.25 | 56.25 | 28.25 | ||||||||||||||||||
| vlsseg7e8.v v8,(t2),x0,v0.t | 28.25 | 56.25 | 112.25 | 223.00 | 28.25 | 56.25 | 112.25 | 28.25 | 56.25 | 28.25 | ||||||||||||||||||
| vlsseg7e8.v v8,(t2),t1/*-1*/ | 28.25 | 56.25 | 112.25 | 223.15 | 28.25 | 56.25 | 112.25 | 28.25 | 56.25 | 28.25 | ||||||||||||||||||
| vlsseg7e8.v v8,(t2),t1/*-1*/,v0.t | 28.25 | 56.25 | 112.25 | 223.14 | 28.25 | 56.25 | 112.25 | 28.25 | 56.25 | 28.25 | ||||||||||||||||||
| vlsseg7e16.v v8,(t2),t3 | 28.25 | 56.25 | 111.12 | 28.25 | 56.25 | 111.12 | 28.25 | 56.25 | 28.25 | |||||||||||||||||||
| vlsseg7e16.v v8,(t2),t3,v0.t | 28.25 | 56.25 | 111.12 | 28.25 | 56.25 | 111.10 | 28.25 | 56.25 | 28.25 | |||||||||||||||||||
| vlsseg7e16.v v8,(t2),x0 | 28.25 | 56.25 | 111.37 | 28.25 | 56.25 | 111.37 | 28.25 | 56.25 | 28.25 | |||||||||||||||||||
| vlsseg7e16.v v8,(t2),x0,v0.t | 28.25 | 56.25 | 111.37 | 28.25 | 56.25 | 111.37 | 28.25 | 56.25 | 28.25 | |||||||||||||||||||
| vlsseg7e16.v v8,(t2),t1/*-1*/ | 28.25 | 56.25 | 111.12 | 28.25 | 56.25 | 111.11 | 28.25 | 56.25 | 28.25 | |||||||||||||||||||
| vlsseg7e16.v v8,(t2),t1/*-1*/,v0.t | 28.25 | 56.25 | 111.12 | 28.25 | 56.25 | 111.12 | 28.25 | 56.25 | 28.25 | |||||||||||||||||||
| vlsseg7e32.v v8,(t2),t3 | 28.25 | 55.23 | 28.25 | 55.22 | 28.25 | 55.25 | 28.25 | |||||||||||||||||||||
| vlsseg7e32.v v8,(t2),t3,v0.t | 28.25 | 55.21 | 28.25 | 55.21 | 28.25 | 55.21 | 28.25 | |||||||||||||||||||||
| vlsseg7e32.v v8,(t2),x0 | 28.25 | 55.27 | 28.25 | 55.26 | 28.25 | 55.26 | 28.25 | |||||||||||||||||||||
| vlsseg7e32.v v8,(t2),x0,v0.t | 28.25 | 55.25 | 28.25 | 55.26 | 28.25 | 55.26 | 28.25 | |||||||||||||||||||||
| vlsseg7e32.v v8,(t2),t1/*-1*/ | 28.25 | 55.13 | 28.25 | 55.09 | 28.25 | 55.04 | 28.25 | |||||||||||||||||||||
| vlsseg7e32.v v8,(t2),t1/*-1*/,v0.t | 28.25 | 55.11 | 28.25 | 55.04 | 28.25 | 55.06 | 28.25 | |||||||||||||||||||||
| vlsseg7e64.v v8,(t2),t3 | 27.21 | 27.16 | 27.16 | 27.11 | ||||||||||||||||||||||||
| vlsseg7e64.v v8,(t2),t3,v0.t | 27.21 | 27.22 | 27.20 | 27.16 | ||||||||||||||||||||||||
| vlsseg7e64.v v8,(t2),x0 | 27.23 | 27.21 | 27.23 | 27.19 | ||||||||||||||||||||||||
| vlsseg7e64.v v8,(t2),x0,v0.t | 27.21 | 27.20 | 27.20 | 27.19 | ||||||||||||||||||||||||
| vlsseg7e64.v v8,(t2),t1/*-1*/ | 27.06 | 27.05 | 27.07 | 27.03 | ||||||||||||||||||||||||
| vlsseg7e64.v v8,(t2),t1/*-1*/,v0.t | 27.06 | 27.08 | 27.06 | 27.08 | ||||||||||||||||||||||||
| vssseg7e8.v v8,(t2),t3 | 28.00 | 56.00 | 112.00 | 224.00 | 28.00 | 56.00 | 112.00 | 28.00 | 56.00 | 28.00 | ||||||||||||||||||
| vssseg7e8.v v8,(t2),t3,v0.t | 28.00 | 56.00 | 112.00 | 224.17 | 28.00 | 56.00 | 112.00 | 28.00 | 56.00 | 28.00 | ||||||||||||||||||
| vssseg7e8.v v8,(t2),x0 | 28.00 | 56.00 | 112.00 | 224.00 | 28.00 | 56.00 | 112.00 | 28.00 | 56.00 | 28.00 | ||||||||||||||||||
| vssseg7e8.v v8,(t2),x0,v0.t | 28.00 | 56.00 | 112.00 | 224.00 | 28.00 | 56.00 | 112.00 | 28.00 | 56.00 | 28.00 | ||||||||||||||||||
| vssseg7e8.v v8,(t2),t1/*-1*/ | 28.00 | 56.00 | 112.00 | 224.00 | 28.00 | 56.00 | 112.00 | 28.00 | 56.00 | 28.00 | ||||||||||||||||||
| vssseg7e8.v v8,(t2),t1/*-1*/,v0.t | 28.00 | 56.00 | 112.00 | 224.00 | 28.00 | 56.00 | 112.00 | 28.00 | 56.00 | 28.00 | ||||||||||||||||||
| vssseg7e16.v v8,(t2),t3 | 28.00 | 56.00 | 112.18 | 28.00 | 56.00 | 112.14 | 28.00 | 56.60 | 28.00 | |||||||||||||||||||
| vssseg7e16.v v8,(t2),t3,v0.t | 28.00 | 56.00 | 112.00 | 28.00 | 56.00 | 112.20 | 28.00 | 56.00 | 28.00 | |||||||||||||||||||
| vssseg7e16.v v8,(t2),x0 | 28.00 | 56.00 | 112.00 | 28.00 | 56.00 | 112.00 | 28.00 | 56.00 | 28.00 | |||||||||||||||||||
| vssseg7e16.v v8,(t2),x0,v0.t | 28.00 | 56.00 | 112.00 | 28.00 | 56.00 | 112.00 | 28.00 | 56.00 | 28.00 | |||||||||||||||||||
| vssseg7e16.v v8,(t2),t1/*-1*/ | 28.00 | 56.00 | 112.00 | 28.00 | 56.00 | 112.00 | 28.00 | 56.00 | 28.00 | |||||||||||||||||||
| vssseg7e16.v v8,(t2),t1/*-1*/,v0.t | 28.00 | 56.00 | 112.00 | 28.00 | 56.00 | 112.00 | 28.00 | 56.00 | 28.00 | |||||||||||||||||||
| vssseg7e32.v v8,(t2),t3 | 28.00 | 56.65 | 28.00 | 57.42 | 28.00 | 56.10 | 28.00 | |||||||||||||||||||||
| vssseg7e32.v v8,(t2),t3,v0.t | 28.00 | 56.44 | 28.00 | 56.27 | 28.00 | 56.70 | 28.00 | |||||||||||||||||||||
| vssseg7e32.v v8,(t2),x0 | 28.00 | 56.00 | 28.00 | 56.00 | 28.00 | 56.00 | 28.00 | |||||||||||||||||||||
| vssseg7e32.v v8,(t2),x0,v0.t | 28.00 | 56.00 | 28.00 | 56.00 | 28.00 | 56.00 | 28.00 | |||||||||||||||||||||
| vssseg7e32.v v8,(t2),t1/*-1*/ | 28.95 | 56.01 | 28.68 | 56.33 | 28.00 | 56.00 | 28.00 | |||||||||||||||||||||
| vssseg7e32.v v8,(t2),t1/*-1*/,v0.t | 28.00 | 56.00 | 28.00 | 56.00 | 28.00 | 56.00 | 28.00 | |||||||||||||||||||||
| vssseg7e64.v v8,(t2),t3 | 29.20 | 28.49 | 30.06 | 28.94 | ||||||||||||||||||||||||
| vssseg7e64.v v8,(t2),t3,v0.t | 29.45 | 30.18 | 29.28 | 29.03 | ||||||||||||||||||||||||
| vssseg7e64.v v8,(t2),x0 | 28.00 | 28.00 | 28.00 | 28.00 | ||||||||||||||||||||||||
| vssseg7e64.v v8,(t2),x0,v0.t | 28.00 | 28.00 | 28.00 | 28.00 | ||||||||||||||||||||||||
| vssseg7e64.v v8,(t2),t1/*-1*/ | 28.10 | 28.00 | 28.00 | 28.00 | ||||||||||||||||||||||||
| vssseg7e64.v v8,(t2),t1/*-1*/,v0.t | 28.00 | 28.00 | 28.00 | 28.00 | ||||||||||||||||||||||||
| vlsseg8e8.v v8,(t2),t3 | 32.15 | 64.22 | 128.14 | 255.12 | 32.15 | 64.20 | 128.15 | 32.15 | 64.23 | 32.15 | ||||||||||||||||||
| vlsseg8e8.v v8,(t2),t3,v0.t | 32.15 | 64.23 | 128.16 | 255.12 | 32.15 | 64.18 | 128.13 | 32.15 | 64.23 | 32.15 | ||||||||||||||||||
| vlsseg8e8.v v8,(t2),x0 | 32.15 | 64.25 | 128.12 | 255.25 | 32.15 | 64.25 | 128.12 | 32.15 | 64.25 | 32.15 | ||||||||||||||||||
| vlsseg8e8.v v8,(t2),x0,v0.t | 32.15 | 64.25 | 128.12 | 255.25 | 32.15 | 64.25 | 128.12 | 32.15 | 64.25 | 32.15 | ||||||||||||||||||
| vlsseg8e8.v v8,(t2),t1/*-1*/ | 32.15 | 64.25 | 128.12 | 255.13 | 32.15 | 64.25 | 128.12 | 32.15 | 64.25 | 32.15 | ||||||||||||||||||
| vlsseg8e8.v v8,(t2),t1/*-1*/,v0.t | 32.15 | 64.25 | 128.12 | 255.13 | 32.15 | 64.25 | 128.12 | 32.15 | 64.25 | 32.15 | ||||||||||||||||||
| vlsseg8e16.v v8,(t2),t3 | 32.15 | 64.12 | 127.12 | 32.14 | 64.13 | 127.12 | 32.14 | 64.13 | 32.14 | |||||||||||||||||||
| vlsseg8e16.v v8,(t2),t3,v0.t | 32.14 | 64.14 | 127.12 | 32.14 | 64.13 | 127.12 | 32.14 | 64.14 | 32.14 | |||||||||||||||||||
| vlsseg8e16.v v8,(t2),x0 | 32.15 | 64.25 | 127.18 | 32.15 | 64.25 | 127.18 | 32.15 | 64.25 | 32.15 | |||||||||||||||||||
| vlsseg8e16.v v8,(t2),x0,v0.t | 32.15 | 64.25 | 127.18 | 32.15 | 64.25 | 127.18 | 32.15 | 64.25 | 32.15 | |||||||||||||||||||
| vlsseg8e16.v v8,(t2),t1/*-1*/ | 32.15 | 64.23 | 127.18 | 32.15 | 64.24 | 127.18 | 32.15 | 64.23 | 32.15 | |||||||||||||||||||
| vlsseg8e16.v v8,(t2),t1/*-1*/,v0.t | 32.15 | 64.23 | 127.18 | 32.15 | 64.24 | 127.18 | 32.15 | 64.24 | 32.15 | |||||||||||||||||||
| vlsseg8e32.v v8,(t2),t3 | 32.14 | 63.12 | 32.14 | 63.12 | 32.15 | 63.12 | 32.17 | |||||||||||||||||||||
| vlsseg8e32.v v8,(t2),t3,v0.t | 32.13 | 63.12 | 32.14 | 63.12 | 32.13 | 63.12 | 32.14 | |||||||||||||||||||||
| vlsseg8e32.v v8,(t2),x0 | 32.15 | 63.19 | 32.14 | 63.22 | 32.15 | 63.15 | 32.14 | |||||||||||||||||||||
| vlsseg8e32.v v8,(t2),x0,v0.t | 32.14 | 63.17 | 32.14 | 63.18 | 32.14 | 63.18 | 32.14 | |||||||||||||||||||||
| vlsseg8e32.v v8,(t2),t1/*-1*/ | 32.13 | 63.13 | 32.12 | 63.14 | 32.12 | 63.14 | 32.13 | |||||||||||||||||||||
| vlsseg8e32.v v8,(t2),t1/*-1*/,v0.t | 32.13 | 63.13 | 32.12 | 63.14 | 32.12 | 63.13 | 32.12 | |||||||||||||||||||||
| vlsseg8e64.v v8,(t2),t3 | 31.14 | 31.14 | 31.15 | 31.15 | ||||||||||||||||||||||||
| vlsseg8e64.v v8,(t2),t3,v0.t | 31.14 | 31.14 | 31.15 | 31.14 | ||||||||||||||||||||||||
| vlsseg8e64.v v8,(t2),x0 | 31.13 | 31.13 | 31.13 | 31.14 | ||||||||||||||||||||||||
| vlsseg8e64.v v8,(t2),x0,v0.t | 31.14 | 31.13 | 31.13 | 31.13 | ||||||||||||||||||||||||
| vlsseg8e64.v v8,(t2),t1/*-1*/ | 31.18 | 31.19 | 31.19 | 31.17 | ||||||||||||||||||||||||
| vlsseg8e64.v v8,(t2),t1/*-1*/,v0.t | 31.19 | 31.20 | 31.18 | 31.15 | ||||||||||||||||||||||||
| vssseg8e8.v v8,(t2),t3 | 32.00 | 64.00 | 128.00 | 256.24 | 32.00 | 64.00 | 128.00 | 32.00 | 64.00 | 32.00 | ||||||||||||||||||
| vssseg8e8.v v8,(t2),t3,v0.t | 32.00 | 64.00 | 128.00 | 256.56 | 32.00 | 64.00 | 128.00 | 32.00 | 64.00 | 32.00 | ||||||||||||||||||
| vssseg8e8.v v8,(t2),x0 | 32.00 | 64.00 | 128.00 | 256.00 | 32.00 | 64.00 | 128.00 | 32.00 | 64.00 | 32.00 | ||||||||||||||||||
| vssseg8e8.v v8,(t2),x0,v0.t | 32.00 | 64.00 | 128.00 | 256.00 | 32.00 | 64.00 | 128.00 | 32.00 | 64.00 | 32.00 | ||||||||||||||||||
| vssseg8e8.v v8,(t2),t1/*-1*/ | 32.00 | 64.00 | 128.00 | 256.00 | 32.00 | 64.00 | 128.00 | 32.00 | 64.00 | 32.00 | ||||||||||||||||||
| vssseg8e8.v v8,(t2),t1/*-1*/,v0.t | 32.00 | 64.00 | 128.00 | 256.00 | 32.00 | 64.00 | 128.00 | 32.00 | 64.00 | 32.00 | ||||||||||||||||||
| vssseg8e16.v v8,(t2),t3 | 32.00 | 64.00 | 128.15 | 32.00 | 64.00 | 128.44 | 32.00 | 64.00 | 32.00 | |||||||||||||||||||
| vssseg8e16.v v8,(t2),t3,v0.t | 32.00 | 64.00 | 128.34 | 32.00 | 64.00 | 128.00 | 32.00 | 64.00 | 32.00 | |||||||||||||||||||
| vssseg8e16.v v8,(t2),x0 | 32.00 | 64.00 | 128.00 | 32.00 | 64.00 | 128.00 | 32.00 | 64.00 | 32.00 | |||||||||||||||||||
| vssseg8e16.v v8,(t2),x0,v0.t | 32.00 | 64.00 | 128.00 | 32.00 | 64.00 | 128.00 | 32.00 | 64.00 | 32.00 | |||||||||||||||||||
| vssseg8e16.v v8,(t2),t1/*-1*/ | 32.00 | 64.00 | 128.00 | 32.00 | 64.00 | 128.00 | 32.00 | 64.00 | 32.00 | |||||||||||||||||||
| vssseg8e16.v v8,(t2),t1/*-1*/,v0.t | 32.00 | 64.00 | 128.00 | 32.00 | 64.00 | 128.00 | 32.00 | 64.00 | 32.00 | |||||||||||||||||||
| vssseg8e32.v v8,(t2),t3 | 32.22 | 64.17 | 32.00 | 64.30 | 32.00 | 65.21 | 32.00 | |||||||||||||||||||||
| vssseg8e32.v v8,(t2),t3,v0.t | 32.00 | 64.46 | 32.00 | 65.08 | 32.00 | 64.06 | 32.00 | |||||||||||||||||||||
| vssseg8e32.v v8,(t2),x0 | 32.00 | 64.00 | 32.00 | 64.00 | 32.00 | 64.00 | 32.00 | |||||||||||||||||||||
| vssseg8e32.v v8,(t2),x0,v0.t | 32.00 | 64.00 | 32.00 | 64.00 | 32.00 | 64.00 | 32.00 | |||||||||||||||||||||
| vssseg8e32.v v8,(t2),t1/*-1*/ | 32.00 | 64.00 | 32.00 | 64.00 | 32.00 | 64.00 | 32.00 | |||||||||||||||||||||
| vssseg8e32.v v8,(t2),t1/*-1*/,v0.t | 32.00 | 64.00 | 32.00 | 64.00 | 32.00 | 64.00 | 32.52 | |||||||||||||||||||||
| vssseg8e64.v v8,(t2),t3 | 34.64 | 33.51 | 34.36 | 34.20 | ||||||||||||||||||||||||
| vssseg8e64.v v8,(t2),t3,v0.t | 34.31 | 35.14 | 33.95 | 34.00 | ||||||||||||||||||||||||
| vssseg8e64.v v8,(t2),x0 | 32.53 | 32.00 | 32.00 | 32.00 | ||||||||||||||||||||||||
| vssseg8e64.v v8,(t2),x0,v0.t | 35.15 | 32.07 | 32.00 | 32.00 | ||||||||||||||||||||||||
| vssseg8e64.v v8,(t2),t1/*-1*/ | 34.10 | 32.61 | 32.60 | 32.80 | ||||||||||||||||||||||||
| vssseg8e64.v v8,(t2),t1/*-1*/,v0.t | 33.21 | 32.00 | 32.00 | 32.00 | ||||||||||||||||||||||||
| vandn.vv v8,v16,v24 | 1.00 | 1.00 | 1.00 | 1.00 | 2.00 | 4.00 | 8.00 | 1.00 | 1.00 | 1.00 | 2.00 | 4.00 | 8.00 | 1.00 | 1.00 | 2.00 | 4.00 | 8.00 | 1.00 | 2.00 | 4.00 | 8.00 | ||||||
| vandn.vv v8,v16,v24,v0.t | 1.00 | 1.00 | 1.00 | 1.00 | 2.00 | 4.00 | 8.00 | 1.00 | 1.00 | 1.00 | 2.00 | 4.00 | 8.00 | 1.00 | 1.00 | 2.00 | 4.00 | 8.00 | 1.00 | 2.00 | 4.00 | 8.00 | ||||||
| vandn.vx v8,v16,t0 | 1.06 | 1.06 | 1.06 | 1.06 | 2.00 | 4.00 | 8.00 | 1.06 | 1.06 | 1.06 | 2.00 | 4.00 | 8.00 | 1.06 | 1.06 | 2.00 | 4.00 | 8.00 | 1.06 | 2.00 | 4.00 | 8.00 | ||||||
| vandn.vx v8,v16,t0,v0.t | 1.06 | 1.06 | 1.06 | 1.06 | 2.00 | 4.00 | 8.00 | 1.06 | 1.06 | 1.06 | 2.00 | 4.00 | 8.00 | 1.06 | 1.06 | 2.00 | 4.00 | 8.00 | 1.06 | 2.00 | 4.00 | 8.00 | ||||||
| vbrev.v v8,v16 | 1.00 | 1.00 | 1.00 | 2.00 | 4.00 | 8.00 | 16.00 | 1.00 | 1.00 | 2.00 | 4.00 | 8.00 | 16.00 | 1.00 | 2.00 | 4.00 | 8.00 | 16.00 | 2.00 | 4.00 | 8.00 | 16.00 | ||||||
| vbrev.v v8,v16,v0.t | 1.00 | 1.00 | 1.00 | 2.00 | 4.00 | 8.00 | 16.00 | 1.00 | 1.00 | 2.00 | 4.00 | 8.00 | 16.00 | 1.00 | 2.00 | 4.00 | 8.00 | 16.00 | 2.00 | 4.00 | 8.00 | 16.00 | ||||||
| vbrev8.v v8,v16 | 1.00 | 1.00 | 1.00 | 2.00 | 4.00 | 8.00 | 16.00 | 1.00 | 1.00 | 2.00 | 4.00 | 8.00 | 16.00 | 1.00 | 2.00 | 4.00 | 8.00 | 16.00 | 2.00 | 4.00 | 8.00 | 16.00 | ||||||
| vbrev8.v v8,v16,v0.t | 1.00 | 1.00 | 1.00 | 2.00 | 4.00 | 8.00 | 16.00 | 1.00 | 1.00 | 2.00 | 4.00 | 8.00 | 16.00 | 1.00 | 2.00 | 4.00 | 8.00 | 16.00 | 2.00 | 4.00 | 8.00 | 16.00 | ||||||
| vclz.v v8,v16 | 1.00 | 1.00 | 1.00 | 2.00 | 4.00 | 8.00 | 16.00 | 1.00 | 1.00 | 2.00 | 4.00 | 8.00 | 16.00 | 1.00 | 2.00 | 4.00 | 8.00 | 16.00 | 2.00 | 4.00 | 8.00 | 16.00 | ||||||
| vclz.v v8,v16,v0.t | 1.00 | 1.00 | 1.00 | 2.00 | 4.00 | 8.00 | 16.00 | 1.00 | 1.00 | 2.00 | 4.00 | 8.00 | 16.00 | 1.00 | 2.00 | 4.00 | 8.00 | 16.00 | 2.00 | 4.00 | 8.00 | 16.00 | ||||||
| vctz.v v8,v16 | 1.00 | 1.00 | 1.00 | 2.00 | 4.00 | 8.00 | 16.00 | 1.00 | 1.00 | 2.00 | 4.00 | 8.00 | 16.00 | 1.00 | 2.00 | 4.00 | 8.00 | 16.00 | 2.00 | 4.00 | 8.00 | 16.00 | ||||||
| vctz.v v8,v16,v0.t | 1.00 | 1.00 | 1.00 | 2.00 | 4.00 | 8.00 | 16.00 | 1.00 | 1.00 | 2.00 | 4.00 | 8.00 | 16.00 | 1.00 | 2.00 | 4.00 | 8.00 | 16.00 | 2.00 | 4.00 | 8.00 | 16.00 | ||||||
| vcpop.v v8,v16 | 1.00 | 1.00 | 1.00 | 2.00 | 4.00 | 8.00 | 16.00 | 1.00 | 1.00 | 2.00 | 4.00 | 8.00 | 16.00 | 1.00 | 2.00 | 4.00 | 8.00 | 16.00 | 2.00 | 4.00 | 8.00 | 16.00 | ||||||
| vcpop.v v8,v16,v0.t | 1.00 | 1.00 | 1.00 | 2.00 | 4.00 | 8.00 | 16.00 | 1.00 | 1.00 | 2.00 | 4.00 | 8.00 | 16.00 | 1.00 | 2.00 | 4.00 | 8.00 | 16.00 | 2.00 | 4.00 | 8.00 | 16.00 | ||||||
| vrol.vv v8,v16,v24 | 1.00 | 1.00 | 1.00 | 2.00 | 4.00 | 8.00 | 16.00 | 1.00 | 1.00 | 2.00 | 4.00 | 8.00 | 16.00 | 1.00 | 2.00 | 4.00 | 8.00 | 16.00 | 2.00 | 4.00 | 8.00 | 16.00 | ||||||
| vrol.vv v8,v16,v24,v0.t | 1.00 | 1.00 | 1.00 | 2.00 | 4.00 | 8.00 | 16.00 | 1.00 | 1.00 | 2.00 | 4.00 | 8.00 | 16.00 | 1.00 | 2.00 | 4.00 | 8.00 | 16.00 | 2.00 | 4.00 | 8.00 | 16.00 | ||||||
| vrol.vx v8,v16,t0 | 1.06 | 1.06 | 1.06 | 2.00 | 4.00 | 8.00 | 16.00 | 1.06 | 1.06 | 2.00 | 4.00 | 8.00 | 16.00 | 1.06 | 2.00 | 4.00 | 8.00 | 16.00 | 2.00 | 4.00 | 8.00 | 16.00 | ||||||
| vrol.vx v8,v16,t0,v0.t | 1.06 | 1.06 | 1.06 | 2.00 | 4.00 | 8.00 | 16.00 | 1.06 | 1.06 | 2.00 | 4.00 | 8.00 | 16.00 | 1.06 | 2.00 | 4.00 | 8.00 | 16.00 | 2.00 | 4.00 | 8.00 | 16.00 | ||||||
| vror.vv v8,v16,v24 | 1.00 | 1.00 | 1.00 | 2.00 | 4.00 | 8.00 | 16.00 | 1.00 | 1.00 | 2.00 | 4.00 | 8.00 | 16.00 | 1.00 | 2.00 | 4.00 | 8.00 | 16.00 | 2.00 | 4.00 | 8.00 | 16.00 | ||||||
| vror.vv v8,v16,v24,v0.t | 1.00 | 1.00 | 1.00 | 2.00 | 4.00 | 8.00 | 16.00 | 1.00 | 1.00 | 2.00 | 4.00 | 8.00 | 16.00 | 1.00 | 2.00 | 4.00 | 8.00 | 16.00 | 2.00 | 4.00 | 8.00 | 16.00 | ||||||
| vror.vx v8,v16,t0 | 1.06 | 1.06 | 1.06 | 2.00 | 4.00 | 8.00 | 16.00 | 1.06 | 1.06 | 2.00 | 4.00 | 8.00 | 16.00 | 1.06 | 2.00 | 4.00 | 8.00 | 16.00 | 2.00 | 4.00 | 8.00 | 16.00 | ||||||
| vror.vx v8,v16,t0,v0.t | 1.06 | 1.06 | 1.06 | 2.00 | 4.00 | 8.00 | 16.00 | 1.06 | 1.06 | 2.00 | 4.00 | 8.00 | 16.00 | 1.06 | 2.00 | 4.00 | 8.00 | 16.00 | 2.00 | 4.00 | 8.00 | 16.00 | ||||||
| vwsll.vv v8,v16,v24 | 1.00 | 1.00 | 2.00 | 4.00 | 8.00 | 16.00 | 1.00 | 2.00 | 4.00 | 8.00 | 16.00 | 2.00 | 4.00 | 8.00 | 16.00 | |||||||||||||
| vwsll.vv v8,v16,v24,v0.t | 1.00 | 1.00 | 2.00 | 4.00 | 8.00 | 16.00 | 1.00 | 2.00 | 4.00 | 8.00 | 16.00 | 2.00 | 4.00 | 8.00 | 16.00 | |||||||||||||
| vwsll.vx v8,v16,t0 | 1.06 | 1.06 | 2.00 | 4.00 | 8.00 | 16.00 | 1.06 | 2.00 | 4.00 | 8.00 | 16.00 | 2.00 | 4.00 | 8.00 | 16.00 | |||||||||||||
| vwsll.vx v8,v16,t0,v0.t | 1.06 | 1.06 | 2.00 | 4.00 | 8.00 | 16.00 | 1.06 | 2.00 | 4.00 | 8.00 | 16.00 | 2.00 | 4.00 | 8.00 | 16.00 | |||||||||||||
| vclmul.vv v8,v16,v24 | 2.00 | 4.00 | 8.00 | 16.00 | ||||||||||||||||||||||||
| vclmul.vv v8,v16,v24,v0.t | 2.00 | 4.00 | 8.00 | 16.00 | ||||||||||||||||||||||||
| vclmul.vx v8,v16,t0 | 2.00 | 4.00 | 8.00 | 16.00 | ||||||||||||||||||||||||
| vclmul.vx v8,v16,t0,v0.t | 2.00 | 4.00 | 8.00 | 16.00 | ||||||||||||||||||||||||
| vclmulh.vv v8,v16,v24 | 2.00 | 4.00 | 8.00 | 16.00 | ||||||||||||||||||||||||
| vclmulh.vv v8,v16,v24,v0.t | 2.00 | 4.00 | 8.00 | 16.00 | ||||||||||||||||||||||||
| vclmulh.vx v8,v16,t0 | 2.00 | 4.00 | 8.00 | 16.00 | ||||||||||||||||||||||||
| vclmulh.vx v8,v16,t0,v0.t | 2.00 | 4.00 | 8.00 | 16.00 | ||||||||||||||||||||||||
| vghsh.vv v8,v16,v24 | 2.00 | 4.00 | 8.00 | 16.00 | ||||||||||||||||||||||||
| vgmul.vv v8,v16 | 2.00 | 4.00 | 8.00 | 16.00 |
| instruction | e8mf8 | e8mf4 | e8mf2 | e8m1 | e8m2 | e8m4 | e8m8 | e16mf8 | e16mf4 | e16mf2 | e16m1 | e16m2 | e16m4 | e16m8 | e32mf8 | e32mf4 | e32mf2 | e32m1 | e32m2 | e32m4 | e32m8 | e64mf8 | e64mf4 | e64mf2 | e64m1 | e64m2 | e64m4 | e64m8 |
|---|---|---|---|---|---|---|---|---|---|---|---|---|---|---|---|---|---|---|---|---|---|---|---|---|---|---|---|---|
| add t0,t1,t2 | 0.47 | 0.47 | 0.47 | 0.47 | 0.40 | 0.34 | 0.34 | 0.47 | 0.47 | 0.47 | 0.40 | 0.34 | 0.34 | 0.47 | 0.47 | 0.40 | 0.34 | 0.34 | 0.47 | 0.40 | 0.34 | 0.34 | ||||||
| mul t0,t1,t2 | 1.50 | 1.50 | 1.50 | 1.50 | 1.50 | 1.00 | 1.00 | 1.50 | 1.50 | 1.50 | 1.50 | 1.00 | 1.00 | 1.50 | 1.50 | 1.50 | 1.00 | 1.00 | 1.50 | 1.50 | 1.00 | 1.00 | ||||||
| vadd.vv v8,v16,v24 | 1.00 | 1.00 | 1.00 | 1.00 | 2.00 | 4.00 | 8.00 | 1.00 | 1.00 | 1.00 | 2.00 | 4.00 | 8.00 | 1.00 | 1.00 | 2.00 | 4.00 | 8.00 | 1.00 | 2.00 | 4.00 | 8.00 | ||||||
| vadd.vv v8,v16,v24,v0.t | 1.00 | 1.00 | 1.00 | 1.00 | 2.00 | 4.00 | 8.00 | 1.00 | 1.00 | 1.00 | 2.00 | 4.00 | 8.00 | 1.00 | 1.00 | 2.00 | 4.00 | 8.00 | 1.00 | 2.00 | 4.00 | 8.00 | ||||||
| vadd.vx v8,v16,t0 | 1.06 | 1.06 | 1.06 | 1.06 | 2.00 | 4.00 | 8.00 | 1.06 | 1.06 | 1.06 | 2.00 | 4.00 | 8.00 | 1.06 | 1.06 | 2.00 | 4.00 | 8.00 | 1.06 | 2.00 | 4.00 | 8.00 | ||||||
| vadd.vx v8,v16,t0,v0.t | 1.06 | 1.06 | 1.06 | 1.06 | 2.00 | 4.00 | 8.00 | 1.06 | 1.06 | 1.06 | 2.00 | 4.00 | 8.00 | 1.06 | 1.06 | 2.00 | 4.00 | 8.00 | 1.06 | 2.00 | 4.00 | 8.00 | ||||||
| vadd.vi v8,v16,13 | 1.00 | 1.00 | 1.00 | 1.00 | 2.00 | 4.00 | 8.00 | 1.00 | 1.00 | 1.00 | 2.00 | 4.00 | 8.00 | 1.00 | 1.00 | 2.00 | 4.00 | 8.00 | 1.00 | 2.00 | 4.00 | 8.00 | ||||||
| vadd.vi v8,v16,13,v0.t | 1.00 | 1.00 | 1.00 | 1.00 | 2.00 | 4.00 | 8.00 | 1.00 | 1.00 | 1.00 | 2.00 | 4.00 | 8.00 | 1.00 | 1.00 | 2.00 | 4.00 | 8.00 | 1.00 | 2.00 | 4.00 | 8.00 | ||||||
| vsub.vv v8,v16,v24 | 1.00 | 1.00 | 1.00 | 1.00 | 2.00 | 4.00 | 8.00 | 1.00 | 1.00 | 1.00 | 2.00 | 4.00 | 8.00 | 1.00 | 1.00 | 2.00 | 4.00 | 8.00 | 1.00 | 2.00 | 4.00 | 8.00 | ||||||
| vsub.vv v8,v16,v24,v0.t | 1.00 | 1.00 | 1.00 | 1.00 | 2.00 | 4.00 | 8.00 | 1.00 | 1.00 | 1.00 | 2.00 | 4.00 | 8.00 | 1.00 | 1.00 | 2.00 | 4.00 | 8.00 | 1.00 | 2.00 | 4.00 | 8.00 | ||||||
| vsub.vx v8,v16,t0 | 1.06 | 1.06 | 1.06 | 1.06 | 2.00 | 4.00 | 8.00 | 1.06 | 1.06 | 1.06 | 2.00 | 4.00 | 8.00 | 1.06 | 1.06 | 2.00 | 4.00 | 8.00 | 1.06 | 2.00 | 4.00 | 8.00 | ||||||
| vsub.vx v8,v16,t0,v0.t | 1.06 | 1.06 | 1.06 | 1.06 | 2.00 | 4.00 | 8.00 | 1.06 | 1.06 | 1.06 | 2.00 | 4.00 | 8.00 | 1.06 | 1.06 | 2.00 | 4.00 | 8.00 | 1.06 | 2.00 | 4.00 | 8.00 | ||||||
| vrsub.vx v8,v16,t0 | 1.06 | 1.06 | 1.06 | 1.06 | 2.00 | 4.00 | 8.00 | 1.06 | 1.06 | 1.06 | 2.00 | 4.00 | 8.00 | 1.06 | 1.06 | 2.00 | 4.00 | 8.00 | 1.06 | 2.00 | 4.00 | 8.00 | ||||||
| vrsub.vx v8,v16,t0,v0.t | 1.06 | 1.06 | 1.06 | 1.06 | 2.00 | 4.00 | 8.00 | 1.06 | 1.06 | 1.06 | 2.00 | 4.00 | 8.00 | 1.06 | 1.06 | 2.00 | 4.00 | 8.00 | 1.06 | 2.00 | 4.00 | 8.00 | ||||||
| vrsub.vi v8,v16,13 | 1.00 | 1.00 | 1.00 | 1.00 | 2.00 | 4.00 | 8.00 | 1.00 | 1.00 | 1.00 | 2.00 | 4.00 | 8.00 | 1.00 | 1.00 | 2.00 | 4.00 | 8.00 | 1.00 | 2.00 | 4.00 | 8.00 | ||||||
| vrsub.vi v8,v16,13,v0.t | 1.00 | 1.00 | 1.00 | 1.00 | 2.00 | 4.00 | 8.00 | 1.00 | 1.00 | 1.00 | 2.00 | 4.00 | 8.00 | 1.00 | 1.00 | 2.00 | 4.00 | 8.00 | 1.00 | 2.00 | 4.00 | 8.00 | ||||||
| vminu.vv v8,v16,v24 | 1.00 | 1.00 | 1.00 | 1.00 | 2.00 | 4.00 | 8.00 | 1.00 | 1.00 | 1.00 | 2.00 | 4.00 | 8.00 | 1.00 | 1.00 | 2.00 | 4.00 | 8.00 | 1.00 | 2.00 | 4.00 | 8.00 | ||||||
| vminu.vv v8,v16,v24,v0.t | 1.00 | 1.00 | 1.00 | 1.00 | 2.00 | 4.00 | 8.00 | 1.00 | 1.00 | 1.00 | 2.00 | 4.00 | 8.00 | 1.00 | 1.00 | 2.00 | 4.00 | 8.00 | 1.00 | 2.00 | 4.00 | 8.00 | ||||||
| vminu.vx v8,v16,t0 | 1.06 | 1.06 | 1.06 | 1.06 | 2.00 | 4.00 | 8.00 | 1.06 | 1.06 | 1.06 | 2.00 | 4.00 | 8.00 | 1.06 | 1.06 | 2.00 | 4.00 | 8.00 | 1.06 | 2.00 | 4.00 | 8.00 | ||||||
| vminu.vx v8,v16,t0,v0.t | 1.06 | 1.06 | 1.06 | 1.06 | 2.00 | 4.00 | 8.00 | 1.06 | 1.06 | 1.06 | 2.00 | 4.00 | 8.00 | 1.06 | 1.06 | 2.00 | 4.00 | 8.00 | 1.06 | 2.00 | 4.00 | 8.00 | ||||||
| vmin.vv v8,v16,v24 | 1.00 | 1.00 | 1.00 | 1.00 | 2.00 | 4.00 | 8.00 | 1.00 | 1.00 | 1.00 | 2.00 | 4.00 | 8.00 | 1.00 | 1.00 | 2.00 | 4.00 | 8.00 | 1.00 | 2.00 | 4.00 | 8.00 | ||||||
| vmin.vv v8,v16,v24,v0.t | 1.00 | 1.00 | 1.00 | 1.00 | 2.00 | 4.00 | 8.00 | 1.00 | 1.00 | 1.00 | 2.00 | 4.00 | 8.00 | 1.00 | 1.00 | 2.00 | 4.00 | 8.00 | 1.00 | 2.00 | 4.00 | 8.00 | ||||||
| vmin.vx v8,v16,t0 | 1.06 | 1.06 | 1.06 | 1.06 | 2.00 | 4.00 | 8.00 | 1.06 | 1.06 | 1.06 | 2.00 | 4.00 | 8.00 | 1.06 | 1.06 | 2.00 | 4.00 | 8.00 | 1.06 | 2.00 | 4.00 | 8.00 | ||||||
| vmin.vx v8,v16,t0,v0.t | 1.06 | 1.06 | 1.06 | 1.06 | 2.00 | 4.00 | 8.00 | 1.06 | 1.06 | 1.06 | 2.00 | 4.00 | 8.00 | 1.06 | 1.06 | 2.00 | 4.00 | 8.00 | 1.06 | 2.00 | 4.00 | 8.00 | ||||||
| vmaxu.vv v8,v16,v24 | 1.00 | 1.00 | 1.00 | 1.00 | 2.00 | 4.00 | 8.00 | 1.00 | 1.00 | 1.00 | 2.00 | 4.00 | 8.00 | 1.00 | 1.00 | 2.00 | 4.00 | 8.00 | 1.00 | 2.00 | 4.00 | 8.00 | ||||||
| vmaxu.vv v8,v16,v24,v0.t | 1.00 | 1.00 | 1.00 | 1.00 | 2.00 | 4.00 | 8.00 | 1.00 | 1.00 | 1.00 | 2.00 | 4.00 | 8.00 | 1.00 | 1.00 | 2.00 | 4.00 | 8.00 | 1.00 | 2.00 | 4.00 | 8.00 | ||||||
| vmaxu.vx v8,v16,t0 | 1.06 | 1.06 | 1.06 | 1.06 | 2.00 | 4.00 | 8.00 | 1.06 | 1.06 | 1.06 | 2.00 | 4.00 | 8.00 | 1.06 | 1.06 | 2.00 | 4.00 | 8.00 | 1.06 | 2.00 | 4.00 | 8.00 | ||||||
| vmaxu.vx v8,v16,t0,v0.t | 1.06 | 1.06 | 1.06 | 1.06 | 2.00 | 4.00 | 8.00 | 1.06 | 1.06 | 1.06 | 2.00 | 4.00 | 8.00 | 1.06 | 1.06 | 2.00 | 4.00 | 8.00 | 1.06 | 2.00 | 4.00 | 8.00 | ||||||
| vmax.vv v8,v16,v24 | 1.00 | 1.00 | 1.00 | 1.00 | 2.00 | 4.00 | 8.00 | 1.00 | 1.00 | 1.00 | 2.00 | 4.00 | 8.00 | 1.00 | 1.00 | 2.00 | 4.00 | 8.00 | 1.00 | 2.00 | 4.00 | 8.00 | ||||||
| vmax.vv v8,v16,v24,v0.t | 1.00 | 1.00 | 1.00 | 1.00 | 2.00 | 4.00 | 8.00 | 1.00 | 1.00 | 1.00 | 2.00 | 4.00 | 8.00 | 1.00 | 1.00 | 2.00 | 4.00 | 8.00 | 1.00 | 2.00 | 4.00 | 8.00 | ||||||
| vmax.vx v8,v16,t0 | 1.06 | 1.06 | 1.06 | 1.06 | 2.00 | 4.00 | 8.00 | 1.06 | 1.06 | 1.06 | 2.00 | 4.00 | 8.00 | 1.06 | 1.06 | 2.00 | 4.00 | 8.00 | 1.06 | 2.00 | 4.00 | 8.00 | ||||||
| vmax.vx v8,v16,t0,v0.t | 1.06 | 1.06 | 1.06 | 1.06 | 2.00 | 4.00 | 8.00 | 1.06 | 1.06 | 1.06 | 2.00 | 4.00 | 8.00 | 1.06 | 1.06 | 2.00 | 4.00 | 8.00 | 1.06 | 2.00 | 4.00 | 8.00 | ||||||
| vand.vv v8,v16,v24 | 1.00 | 1.00 | 1.00 | 1.00 | 2.00 | 4.00 | 8.00 | 1.00 | 1.00 | 1.00 | 2.00 | 4.00 | 8.00 | 1.00 | 1.00 | 2.00 | 4.00 | 8.00 | 1.00 | 2.00 | 4.00 | 8.00 | ||||||
| vand.vv v8,v16,v24,v0.t | 1.00 | 1.00 | 1.00 | 1.00 | 2.00 | 4.00 | 8.00 | 1.00 | 1.00 | 1.00 | 2.00 | 4.00 | 8.00 | 1.00 | 1.00 | 2.00 | 4.00 | 8.00 | 1.00 | 2.00 | 4.00 | 8.00 | ||||||
| vand.vx v8,v16,t0 | 1.06 | 1.06 | 1.06 | 1.06 | 2.00 | 4.00 | 8.00 | 1.06 | 1.06 | 1.06 | 2.00 | 4.00 | 8.00 | 1.06 | 1.06 | 2.00 | 4.00 | 8.00 | 1.06 | 2.00 | 4.00 | 8.00 | ||||||
| vand.vx v8,v16,t0,v0.t | 1.06 | 1.06 | 1.06 | 1.06 | 2.00 | 4.00 | 8.00 | 1.06 | 1.06 | 1.06 | 2.00 | 4.00 | 8.00 | 1.06 | 1.06 | 2.00 | 4.00 | 8.00 | 1.06 | 2.00 | 4.00 | 8.00 | ||||||
| vand.vi v8,v16,13 | 1.00 | 1.00 | 1.00 | 1.00 | 2.00 | 4.00 | 8.00 | 1.00 | 1.00 | 1.00 | 2.00 | 4.00 | 8.00 | 1.00 | 1.00 | 2.00 | 4.00 | 8.00 | 1.00 | 2.00 | 4.00 | 8.00 | ||||||
| vand.vi v8,v16,13,v0.t | 1.00 | 1.00 | 1.00 | 1.00 | 2.00 | 4.00 | 8.00 | 1.00 | 1.00 | 1.00 | 2.00 | 4.00 | 8.00 | 1.00 | 1.00 | 2.00 | 4.00 | 8.00 | 1.00 | 2.00 | 4.00 | 8.00 | ||||||
| vor.vv v8,v16,v24 | 1.00 | 1.00 | 1.00 | 1.00 | 2.00 | 4.00 | 8.00 | 1.00 | 1.00 | 1.00 | 2.00 | 4.00 | 8.00 | 1.00 | 1.00 | 2.00 | 4.00 | 8.00 | 1.00 | 2.00 | 4.00 | 8.00 | ||||||
| vor.vv v8,v16,v24,v0.t | 1.00 | 1.00 | 1.00 | 1.00 | 2.00 | 4.00 | 8.00 | 1.00 | 1.00 | 1.00 | 2.00 | 4.00 | 8.00 | 1.00 | 1.00 | 2.00 | 4.00 | 8.00 | 1.00 | 2.00 | 4.00 | 8.00 | ||||||
| vor.vx v8,v16,t0 | 1.06 | 1.06 | 1.06 | 1.06 | 2.00 | 4.00 | 8.00 | 1.06 | 1.06 | 1.06 | 2.00 | 4.00 | 8.00 | 1.06 | 1.06 | 2.00 | 4.00 | 8.00 | 1.06 | 2.00 | 4.00 | 8.00 | ||||||
| vor.vx v8,v16,t0,v0.t | 1.06 | 1.06 | 1.06 | 1.06 | 2.00 | 4.00 | 8.00 | 1.06 | 1.06 | 1.06 | 2.00 | 4.00 | 8.00 | 1.06 | 1.06 | 2.00 | 4.00 | 8.00 | 1.06 | 2.00 | 4.00 | 8.00 | ||||||
| vor.vi v8,v16,13 | 1.00 | 1.00 | 1.00 | 1.00 | 2.00 | 4.00 | 8.00 | 1.00 | 1.00 | 1.00 | 2.00 | 4.00 | 8.00 | 1.00 | 1.00 | 2.00 | 4.00 | 8.00 | 1.00 | 2.00 | 4.00 | 8.00 | ||||||
| vor.vi v8,v16,13,v0.t | 1.00 | 1.00 | 1.00 | 1.00 | 2.00 | 4.00 | 8.00 | 1.00 | 1.00 | 1.00 | 2.00 | 4.00 | 8.00 | 1.00 | 1.00 | 2.00 | 4.00 | 8.00 | 1.00 | 2.00 | 4.00 | 8.00 | ||||||
| vxor.vv v8,v16,v24 | 1.00 | 1.00 | 1.00 | 1.00 | 2.00 | 4.00 | 8.00 | 1.00 | 1.00 | 1.00 | 2.00 | 4.00 | 8.00 | 1.00 | 1.00 | 2.00 | 4.00 | 8.00 | 1.00 | 2.00 | 4.00 | 8.00 | ||||||
| vxor.vv v8,v16,v24,v0.t | 1.00 | 1.00 | 1.00 | 1.00 | 2.00 | 4.00 | 8.00 | 1.00 | 1.00 | 1.00 | 2.00 | 4.00 | 8.00 | 1.00 | 1.00 | 2.00 | 4.00 | 8.00 | 1.00 | 2.00 | 4.00 | 8.00 | ||||||
| vxor.vx v8,v16,t0 | 1.06 | 1.06 | 1.06 | 1.06 | 2.00 | 4.00 | 8.00 | 1.06 | 1.06 | 1.06 | 2.00 | 4.00 | 8.00 | 1.06 | 1.06 | 2.00 | 4.00 | 8.00 | 1.06 | 2.00 | 4.00 | 8.00 | ||||||
| vxor.vx v8,v16,t0,v0.t | 1.06 | 1.06 | 1.06 | 1.06 | 2.00 | 4.00 | 8.00 | 1.06 | 1.06 | 1.06 | 2.00 | 4.00 | 8.00 | 1.06 | 1.06 | 2.00 | 4.00 | 8.00 | 1.06 | 2.00 | 4.00 | 8.00 | ||||||
| vxor.vi v8,v16,13 | 1.00 | 1.00 | 1.00 | 1.00 | 2.00 | 4.00 | 8.00 | 1.00 | 1.00 | 1.00 | 2.00 | 4.00 | 8.00 | 1.00 | 1.00 | 2.00 | 4.00 | 8.00 | 1.00 | 2.00 | 4.00 | 8.00 | ||||||
| vxor.vi v8,v16,13,v0.t | 1.00 | 1.00 | 1.00 | 1.00 | 2.00 | 4.00 | 8.00 | 1.00 | 1.00 | 1.00 | 2.00 | 4.00 | 8.00 | 1.00 | 1.00 | 2.00 | 4.00 | 8.00 | 1.00 | 2.00 | 4.00 | 8.00 | ||||||
| vrgather.vv v8,v16,v24 | 1.00 | 1.00 | 1.00 | 2.00 | 8.00 | 32.00 | 127.96 | 1.00 | 1.00 | 2.00 | 8.00 | 32.00 | 127.96 | 1.00 | 2.00 | 8.00 | 32.00 | 127.96 | 2.00 | 8.00 | 32.00 | 127.96 | ||||||
| vrgather.vv v8,v16,v24,v0.t | 1.00 | 1.00 | 1.00 | 2.00 | 8.00 | 32.00 | 127.95 | 1.00 | 1.00 | 2.00 | 8.00 | 32.00 | 127.95 | 1.00 | 2.00 | 8.00 | 32.00 | 127.96 | 2.00 | 8.00 | 32.00 | 127.96 | ||||||
| vrgather.vx v8,v16,t0 | 1.32 | 1.32 | 1.32 | 2.07 | 4.00 | 8.00 | 16.00 | 1.32 | 1.32 | 2.07 | 4.00 | 8.00 | 16.00 | 1.32 | 2.07 | 4.00 | 8.00 | 16.00 | 2.07 | 4.00 | 8.00 | 16.00 | ||||||
| vrgather.vx v8,v16,t0,v0.t | 1.32 | 1.32 | 1.32 | 2.07 | 4.00 | 8.00 | 16.00 | 1.32 | 1.32 | 2.07 | 4.00 | 8.00 | 16.00 | 1.32 | 2.07 | 4.00 | 8.00 | 16.00 | 2.07 | 4.00 | 8.00 | 16.00 | ||||||
| vrgather.vi v8,v16,3 | 1.00 | 1.00 | 1.00 | 2.00 | 4.00 | 8.00 | 16.00 | 1.00 | 1.00 | 2.00 | 4.00 | 8.00 | 16.00 | 1.00 | 2.00 | 4.00 | 8.00 | 16.00 | 2.00 | 4.00 | 8.00 | 16.00 | ||||||
| vrgather.vi v8,v16,3,v0.t | 1.00 | 1.00 | 1.00 | 2.00 | 4.00 | 8.00 | 16.00 | 1.00 | 1.00 | 2.00 | 4.00 | 8.00 | 16.00 | 1.00 | 2.00 | 4.00 | 8.00 | 16.00 | 2.00 | 4.00 | 8.00 | 16.00 | ||||||
| vslideup.vx v8,v16,t0 | 1.06 | 1.06 | 1.06 | 2.00 | 4.00 | 8.00 | 16.00 | 1.06 | 1.06 | 2.00 | 4.00 | 8.00 | 16.00 | 1.06 | 2.00 | 4.00 | 8.00 | 16.00 | 2.00 | 4.00 | 8.00 | 16.00 | ||||||
| vslideup.vx v8,v16,t0,v0.t | 1.06 | 1.06 | 1.06 | 2.00 | 4.00 | 8.00 | 16.00 | 1.06 | 1.06 | 2.00 | 4.00 | 8.00 | 16.00 | 1.06 | 2.00 | 4.00 | 8.00 | 16.00 | 2.00 | 4.00 | 8.00 | 16.00 | ||||||
| vslideup.vi v8,v16,3 | 1.00 | 1.00 | 1.00 | 2.00 | 4.00 | 8.00 | 16.00 | 1.00 | 1.00 | 2.00 | 4.00 | 8.00 | 16.00 | 1.00 | 2.00 | 4.00 | 8.00 | 16.00 | 2.00 | 4.00 | 8.00 | 16.00 | ||||||
| vslideup.vi v8,v16,3,v0.t | 1.00 | 1.00 | 1.00 | 2.00 | 4.00 | 8.00 | 16.00 | 1.00 | 1.00 | 2.00 | 4.00 | 8.00 | 16.00 | 1.00 | 2.00 | 4.00 | 8.00 | 16.00 | 2.00 | 4.00 | 8.00 | 16.00 | ||||||
| vrgatherei16.vv v8,v16,v24 | 1.00 | 1.00 | 2.00 | 4.00 | 16.00 | 63.99 | 1.00 | 1.00 | 2.00 | 8.00 | 32.00 | 127.96 | 1.00 | 2.00 | 8.00 | 32.00 | 127.95 | 2.00 | 8.00 | 32.00 | 127.96 | |||||||
| vrgatherei16.vv v8,v16,v24,v0.t | 1.00 | 1.00 | 2.00 | 4.00 | 16.00 | 63.99 | 1.00 | 1.00 | 2.00 | 8.00 | 32.00 | 127.96 | 1.00 | 2.00 | 8.00 | 32.00 | 127.95 | 2.00 | 8.00 | 32.00 | 127.95 | |||||||
| vslidedown.vx v8,v16,t0 | 1.32 | 1.32 | 1.32 | 3.00 | 5.00 | 9.00 | 17.00 | 1.32 | 1.32 | 3.00 | 5.00 | 9.00 | 17.00 | 1.32 | 3.00 | 5.00 | 9.00 | 17.00 | 3.00 | 5.00 | 9.00 | 17.00 | ||||||
| vslidedown.vx v8,v16,t0,v0.t | 1.32 | 1.32 | 1.32 | 3.00 | 5.00 | 9.00 | 17.00 | 1.32 | 1.32 | 3.00 | 5.00 | 9.00 | 17.00 | 1.32 | 3.00 | 5.00 | 9.00 | 17.00 | 3.00 | 5.00 | 9.00 | 17.00 | ||||||
| vslidedown.vi v8,v16,3 | 1.00 | 1.00 | 1.00 | 3.00 | 5.00 | 9.00 | 17.00 | 1.00 | 1.00 | 3.00 | 5.00 | 9.00 | 17.00 | 1.00 | 3.00 | 5.00 | 9.00 | 17.00 | 3.00 | 5.00 | 9.00 | 17.00 | ||||||
| vslidedown.vi v8,v16,3,v0.t | 1.00 | 1.00 | 1.00 | 3.00 | 5.00 | 9.00 | 17.00 | 1.00 | 1.00 | 3.00 | 5.00 | 9.00 | 17.00 | 1.00 | 3.00 | 5.00 | 9.00 | 17.00 | 3.00 | 5.00 | 9.00 | 17.00 | ||||||
| vredsum.vs v8,v16,v24 | 1.00 | 1.00 | 1.00 | 1.00 | 2.00 | 5.50 | 19.00 | 1.00 | 1.00 | 1.00 | 2.00 | 5.50 | 19.00 | 1.00 | 1.00 | 2.00 | 5.50 | 19.00 | 1.00 | 2.00 | 5.50 | 19.00 | ||||||
| vredsum.vs v8,v16,v24,v0.t | 1.00 | 1.00 | 1.00 | 1.00 | 2.00 | 5.50 | 19.00 | 1.00 | 1.00 | 1.00 | 2.00 | 5.50 | 19.00 | 1.00 | 1.00 | 2.00 | 5.50 | 19.00 | 1.00 | 2.00 | 5.50 | 19.00 | ||||||
| vredand.vs v8,v16,v24 | 1.00 | 1.00 | 1.00 | 1.00 | 2.00 | 5.00 | 18.00 | 1.00 | 1.00 | 1.00 | 2.00 | 5.00 | 18.00 | 1.00 | 1.00 | 2.00 | 5.00 | 18.00 | 1.00 | 2.00 | 5.00 | 18.00 | ||||||
| vredand.vs v8,v16,v24,v0.t | 1.00 | 1.00 | 1.00 | 1.00 | 2.00 | 5.00 | 18.00 | 1.00 | 1.00 | 1.00 | 2.00 | 5.00 | 18.00 | 1.00 | 1.00 | 2.00 | 5.00 | 18.00 | 1.00 | 2.00 | 5.00 | 18.00 | ||||||
| vredor.vs v8,v16,v24 | 1.00 | 1.00 | 1.00 | 1.00 | 2.00 | 5.00 | 18.00 | 1.00 | 1.00 | 1.00 | 2.00 | 5.00 | 18.00 | 1.00 | 1.00 | 2.00 | 5.00 | 18.00 | 1.00 | 2.00 | 5.00 | 18.00 | ||||||
| vredor.vs v8,v16,v24,v0.t | 1.00 | 1.00 | 1.00 | 1.00 | 2.00 | 5.00 | 18.00 | 1.00 | 1.00 | 1.00 | 2.00 | 5.00 | 18.00 | 1.00 | 1.00 | 2.00 | 5.00 | 18.00 | 1.00 | 2.00 | 5.00 | 18.00 | ||||||
| vredxor.vs v8,v16,v24 | 1.00 | 1.00 | 1.00 | 1.00 | 2.00 | 5.00 | 18.00 | 1.00 | 1.00 | 1.00 | 2.00 | 5.00 | 18.00 | 1.00 | 1.00 | 2.00 | 5.00 | 18.00 | 1.00 | 2.00 | 5.00 | 18.00 | ||||||
| vredxor.vs v8,v16,v24,v0.t | 1.00 | 1.00 | 1.00 | 1.00 | 2.00 | 5.00 | 18.00 | 1.00 | 1.00 | 1.00 | 2.00 | 5.00 | 18.00 | 1.00 | 1.00 | 2.00 | 5.00 | 18.00 | 1.00 | 2.00 | 5.00 | 18.00 | ||||||
| vredminu.vs v8,v16,v24 | 1.00 | 1.00 | 1.00 | 1.00 | 2.00 | 5.50 | 19.00 | 1.00 | 1.00 | 1.00 | 2.00 | 5.50 | 19.00 | 1.00 | 1.00 | 2.00 | 5.50 | 19.00 | 1.00 | 2.00 | 5.50 | 19.00 | ||||||
| vredminu.vs v8,v16,v24,v0.t | 1.00 | 1.00 | 1.00 | 1.00 | 2.00 | 5.50 | 19.00 | 1.00 | 1.00 | 1.00 | 2.00 | 5.50 | 19.00 | 1.00 | 1.00 | 2.00 | 5.50 | 19.00 | 1.00 | 2.00 | 5.50 | 19.00 | ||||||
| vredmin.vs v8,v16,v24 | 1.00 | 1.00 | 1.00 | 1.00 | 2.00 | 5.50 | 19.00 | 1.00 | 1.00 | 1.00 | 2.00 | 5.50 | 19.00 | 1.00 | 1.00 | 2.00 | 5.50 | 19.00 | 1.00 | 2.00 | 5.50 | 19.00 | ||||||
| vredmin.vs v8,v16,v24,v0.t | 1.00 | 1.00 | 1.00 | 1.00 | 2.00 | 5.50 | 19.00 | 1.00 | 1.00 | 1.00 | 2.00 | 5.50 | 19.00 | 1.00 | 1.00 | 2.00 | 5.50 | 19.00 | 1.00 | 2.00 | 5.50 | 19.00 | ||||||
| vredmaxu.vs v8,v16,v24 | 1.00 | 1.00 | 1.00 | 1.00 | 2.00 | 5.50 | 19.00 | 1.00 | 1.00 | 1.00 | 2.00 | 5.50 | 19.00 | 1.00 | 1.00 | 2.00 | 5.50 | 19.00 | 1.00 | 2.00 | 5.50 | 19.00 | ||||||
| vredmaxu.vs v8,v16,v24,v0.t | 1.00 | 1.00 | 1.00 | 1.00 | 2.00 | 5.50 | 19.00 | 1.00 | 1.00 | 1.00 | 2.00 | 5.50 | 19.00 | 1.00 | 1.00 | 2.00 | 5.50 | 19.00 | 1.00 | 2.00 | 5.50 | 19.00 | ||||||
| vredmax.vs v8,v16,v24 | 1.00 | 1.00 | 1.00 | 1.00 | 2.00 | 5.50 | 19.00 | 1.00 | 1.00 | 1.00 | 2.00 | 5.50 | 19.00 | 1.00 | 1.00 | 2.00 | 5.50 | 19.00 | 1.00 | 2.00 | 5.50 | 19.00 | ||||||
| vredmax.vs v8,v16,v24,v0.t | 1.00 | 1.00 | 1.00 | 1.00 | 2.00 | 5.50 | 19.00 | 1.00 | 1.00 | 1.00 | 2.00 | 5.50 | 19.00 | 1.00 | 1.00 | 2.00 | 5.50 | 19.00 | 1.00 | 2.00 | 5.50 | 19.00 | ||||||
| vaaddu.vv v8,v16,v24 | 1.00 | 1.00 | 1.00 | 1.00 | 2.00 | 4.00 | 8.00 | 1.00 | 1.00 | 1.00 | 2.00 | 4.00 | 8.00 | 1.00 | 1.00 | 2.00 | 4.00 | 8.00 | 1.00 | 2.00 | 4.00 | 8.00 | ||||||
| vaaddu.vv v8,v16,v24,v0.t | 1.00 | 1.00 | 1.00 | 1.00 | 2.00 | 4.00 | 8.00 | 1.00 | 1.00 | 1.00 | 2.00 | 4.00 | 8.00 | 1.00 | 1.00 | 2.00 | 4.00 | 8.00 | 1.00 | 2.00 | 4.00 | 8.00 | ||||||
| vaaddu.vx v8,v16,t0 | 1.06 | 1.06 | 1.06 | 1.06 | 2.00 | 4.00 | 8.00 | 1.06 | 1.06 | 1.06 | 2.00 | 4.00 | 8.00 | 1.06 | 1.06 | 2.00 | 4.00 | 8.00 | 1.06 | 2.00 | 4.00 | 8.00 | ||||||
| vaaddu.vx v8,v16,t0,v0.t | 1.06 | 1.06 | 1.06 | 1.06 | 2.00 | 4.00 | 8.00 | 1.06 | 1.06 | 1.06 | 2.00 | 4.00 | 8.00 | 1.06 | 1.06 | 2.00 | 4.00 | 8.00 | 1.06 | 2.00 | 4.00 | 8.00 | ||||||
| vaadd.vv v8,v16,v24 | 1.00 | 1.00 | 1.00 | 1.00 | 2.00 | 4.00 | 8.00 | 1.00 | 1.00 | 1.00 | 2.00 | 4.00 | 8.00 | 1.00 | 1.00 | 2.00 | 4.00 | 8.00 | 1.00 | 2.00 | 4.00 | 8.00 | ||||||
| vaadd.vv v8,v16,v24,v0.t | 1.00 | 1.00 | 1.00 | 1.00 | 2.00 | 4.00 | 8.00 | 1.00 | 1.00 | 1.00 | 2.00 | 4.00 | 8.00 | 1.00 | 1.00 | 2.00 | 4.00 | 8.00 | 1.00 | 2.00 | 4.00 | 8.00 | ||||||
| vaadd.vx v8,v16,t0 | 1.06 | 1.06 | 1.06 | 1.06 | 2.00 | 4.00 | 8.00 | 1.06 | 1.06 | 1.06 | 2.00 | 4.00 | 8.00 | 1.06 | 1.06 | 2.00 | 4.00 | 8.00 | 1.06 | 2.00 | 4.00 | 8.00 | ||||||
| vaadd.vx v8,v16,t0,v0.t | 1.06 | 1.06 | 1.06 | 1.06 | 2.00 | 4.00 | 8.00 | 1.06 | 1.06 | 1.06 | 2.00 | 4.00 | 8.00 | 1.06 | 1.06 | 2.00 | 4.00 | 8.00 | 1.06 | 2.00 | 4.00 | 8.00 | ||||||
| vasubu.vv v8,v16,v24 | 1.00 | 1.00 | 1.00 | 1.00 | 2.00 | 4.00 | 8.00 | 1.00 | 1.00 | 1.00 | 2.00 | 4.00 | 8.00 | 1.00 | 1.00 | 2.00 | 4.00 | 8.00 | 1.00 | 2.00 | 4.00 | 8.00 | ||||||
| vasubu.vv v8,v16,v24,v0.t | 1.00 | 1.00 | 1.00 | 1.00 | 2.00 | 4.00 | 8.00 | 1.00 | 1.00 | 1.00 | 2.00 | 4.00 | 8.00 | 1.00 | 1.00 | 2.00 | 4.00 | 8.00 | 1.00 | 2.00 | 4.00 | 8.00 | ||||||
| vasubu.vx v8,v16,t0 | 1.06 | 1.06 | 1.06 | 1.06 | 2.00 | 4.00 | 8.00 | 1.06 | 1.06 | 1.06 | 2.00 | 4.00 | 8.00 | 1.06 | 1.06 | 2.00 | 4.00 | 8.00 | 1.06 | 2.00 | 4.00 | 8.00 | ||||||
| vasubu.vx v8,v16,t0,v0.t | 1.06 | 1.06 | 1.06 | 1.06 | 2.00 | 4.00 | 8.00 | 1.06 | 1.06 | 1.06 | 2.00 | 4.00 | 8.00 | 1.06 | 1.06 | 2.00 | 4.00 | 8.00 | 1.06 | 2.00 | 4.00 | 8.00 | ||||||
| vasub.vv v8,v16,v24 | 1.00 | 1.00 | 1.00 | 1.00 | 2.00 | 4.00 | 8.00 | 1.00 | 1.00 | 1.00 | 2.00 | 4.00 | 8.00 | 1.00 | 1.00 | 2.00 | 4.00 | 8.00 | 1.00 | 2.00 | 4.00 | 8.00 | ||||||
| vasub.vv v8,v16,v24,v0.t | 1.00 | 1.00 | 1.00 | 1.00 | 2.00 | 4.00 | 8.00 | 1.00 | 1.00 | 1.00 | 2.00 | 4.00 | 8.00 | 1.00 | 1.00 | 2.00 | 4.00 | 8.00 | 1.00 | 2.00 | 4.00 | 8.00 | ||||||
| vasub.vx v8,v16,t0 | 1.06 | 1.06 | 1.06 | 1.06 | 2.00 | 4.00 | 8.00 | 1.06 | 1.06 | 1.06 | 2.00 | 4.00 | 8.00 | 1.06 | 1.06 | 2.00 | 4.00 | 8.00 | 1.06 | 2.00 | 4.00 | 8.00 | ||||||
| vasub.vx v8,v16,t0,v0.t | 1.06 | 1.06 | 1.06 | 1.06 | 2.00 | 4.00 | 8.00 | 1.06 | 1.06 | 1.06 | 2.00 | 4.00 | 8.00 | 1.06 | 1.06 | 2.00 | 4.00 | 8.00 | 1.06 | 2.00 | 4.00 | 8.00 | ||||||
| vslide1up.vx v8,v16,t0 | 1.06 | 1.06 | 1.06 | 2.00 | 4.00 | 8.00 | 16.00 | 1.06 | 1.06 | 2.00 | 4.00 | 8.00 | 16.00 | 1.06 | 2.00 | 4.00 | 8.00 | 16.00 | 2.00 | 4.00 | 8.00 | 16.00 | ||||||
| vslide1up.vx v8,v16,t0,v0.t | 1.06 | 1.06 | 1.06 | 2.00 | 4.00 | 8.00 | 16.00 | 1.06 | 1.06 | 2.00 | 4.00 | 8.00 | 16.00 | 1.06 | 2.00 | 4.00 | 8.00 | 16.00 | 2.00 | 4.00 | 8.00 | 16.00 | ||||||
| vslide1down.vx v8,v16,t0 | 1.06 | 1.06 | 1.06 | 3.00 | 5.00 | 9.00 | 17.00 | 1.06 | 1.06 | 3.00 | 5.00 | 9.00 | 17.00 | 1.06 | 3.00 | 5.00 | 9.00 | 17.00 | 3.00 | 5.00 | 9.00 | 17.00 | ||||||
| vslide1down.vx v8,v16,t0,v0.t | 1.06 | 1.06 | 1.06 | 3.00 | 5.00 | 9.00 | 17.00 | 1.06 | 1.06 | 3.00 | 5.00 | 9.00 | 17.00 | 1.06 | 3.00 | 5.00 | 9.00 | 17.00 | 3.00 | 5.00 | 9.00 | 17.00 | ||||||
| vadc.vvm v8,v16,v24,v0 | 1.00 | 1.00 | 1.00 | 1.00 | 2.00 | 4.00 | 8.00 | 1.00 | 1.00 | 1.00 | 2.00 | 4.00 | 8.00 | 1.00 | 1.00 | 2.00 | 4.00 | 8.00 | 1.00 | 2.00 | 4.00 | 8.00 | ||||||
| vadc.vxm v8,v16,t0,v0 | 1.06 | 1.06 | 1.06 | 1.06 | 2.00 | 4.00 | 8.00 | 1.06 | 1.06 | 1.06 | 2.00 | 4.00 | 8.00 | 1.06 | 1.06 | 2.00 | 4.00 | 8.00 | 1.06 | 2.00 | 4.00 | 8.00 | ||||||
| vadc.vim v8,v16,13,v0 | 1.00 | 1.00 | 1.00 | 1.00 | 2.00 | 4.00 | 8.00 | 1.00 | 1.00 | 1.00 | 2.00 | 4.00 | 8.00 | 1.00 | 1.00 | 2.00 | 4.00 | 8.00 | 1.00 | 2.00 | 4.00 | 8.00 | ||||||
| vmadc.vvm v8,v16,v24,v0 | 1.00 | 1.00 | 1.00 | 2.00 | 2.50 | 5.00 | 11.00 | 1.00 | 1.00 | 2.00 | 2.50 | 5.00 | 18.00 | 1.00 | 2.00 | 2.50 | 5.00 | 18.00 | 2.00 | 2.50 | 5.00 | 18.00 | ||||||
| vmadc.vxm v8,v16,t0,v0 | 1.06 | 1.06 | 1.06 | 2.00 | 2.50 | 5.00 | 11.00 | 1.06 | 1.06 | 2.00 | 2.50 | 5.00 | 18.00 | 1.06 | 2.00 | 2.50 | 5.00 | 18.00 | 2.00 | 2.50 | 5.00 | 18.00 | ||||||
| vmadc.vim v8,v16,13,v0 | 1.00 | 1.00 | 1.00 | 2.00 | 2.50 | 5.00 | 11.00 | 1.00 | 1.00 | 2.00 | 2.50 | 5.00 | 18.00 | 1.00 | 2.00 | 2.50 | 5.00 | 18.00 | 2.00 | 2.50 | 5.00 | 18.00 | ||||||
| vmadc.vv v8,v16,v24 | 1.00 | 1.00 | 1.00 | 2.00 | 2.50 | 5.00 | 11.00 | 1.00 | 1.00 | 2.00 | 2.50 | 5.00 | 18.00 | 1.00 | 2.00 | 2.50 | 5.00 | 18.00 | 2.00 | 2.50 | 5.00 | 18.00 | ||||||
| vmadc.vx v8,v16,t0 | 1.06 | 1.06 | 1.06 | 2.00 | 2.50 | 5.00 | 11.00 | 1.06 | 1.06 | 2.00 | 2.50 | 5.00 | 18.00 | 1.06 | 2.00 | 2.50 | 5.00 | 18.00 | 2.00 | 2.50 | 5.00 | 18.00 | ||||||
| vmadc.vi v8,v16,13 | 1.00 | 1.00 | 1.00 | 2.00 | 2.50 | 5.00 | 11.00 | 1.00 | 1.00 | 2.00 | 2.50 | 5.00 | 18.00 | 1.00 | 2.00 | 2.50 | 5.00 | 18.00 | 2.00 | 2.50 | 5.00 | 18.00 | ||||||
| vsbc.vvm v8,v16,v24,v0 | 1.00 | 1.00 | 1.00 | 1.00 | 2.00 | 4.00 | 8.00 | 1.00 | 1.00 | 1.00 | 2.00 | 4.00 | 8.00 | 1.00 | 1.00 | 2.00 | 4.00 | 8.00 | 1.00 | 2.00 | 4.00 | 8.00 | ||||||
| vsbc.vxm v8,v16,t0,v0 | 1.06 | 1.06 | 1.06 | 1.06 | 2.00 | 4.00 | 8.00 | 1.06 | 1.06 | 1.06 | 2.00 | 4.00 | 8.00 | 1.06 | 1.06 | 2.00 | 4.00 | 8.00 | 1.06 | 2.00 | 4.00 | 8.00 | ||||||
| vmsbc.vvm v8,v16,v24,v0 | 1.00 | 1.00 | 1.00 | 2.00 | 2.50 | 5.00 | 11.00 | 1.00 | 1.00 | 2.00 | 2.50 | 5.00 | 18.00 | 1.00 | 2.00 | 2.50 | 5.00 | 18.00 | 2.00 | 2.50 | 5.00 | 18.00 | ||||||
| vmsbc.vxm v8,v16,t0,v0 | 1.06 | 1.06 | 1.06 | 2.00 | 2.50 | 5.00 | 11.00 | 1.06 | 1.06 | 2.00 | 2.50 | 5.00 | 18.00 | 1.06 | 2.00 | 2.50 | 5.00 | 18.00 | 2.00 | 2.50 | 5.00 | 18.00 | ||||||
| vmsbc.vv v8,v16,v24 | 1.00 | 1.00 | 1.00 | 2.00 | 2.50 | 5.00 | 11.00 | 1.00 | 1.00 | 2.00 | 2.50 | 5.00 | 18.00 | 1.00 | 2.00 | 2.50 | 5.00 | 18.00 | 2.00 | 2.50 | 5.00 | 18.00 | ||||||
| vmsbc.vx v8,v16,t0 | 1.06 | 1.06 | 1.06 | 2.00 | 2.50 | 5.00 | 11.00 | 1.06 | 1.06 | 2.00 | 2.50 | 5.00 | 18.00 | 1.06 | 2.00 | 2.50 | 5.00 | 18.00 | 2.00 | 2.50 | 5.00 | 18.00 | ||||||
| vmerge.vvm v8,v16,v24,v0 | 1.00 | 1.00 | 1.00 | 1.00 | 2.00 | 4.00 | 8.00 | 1.00 | 1.00 | 1.00 | 2.00 | 4.00 | 8.00 | 1.00 | 1.00 | 2.00 | 4.00 | 8.00 | 1.00 | 2.00 | 4.00 | 8.00 | ||||||
| vmerge.vxm v8,v16,t0,v0 | 1.06 | 1.06 | 1.06 | 1.06 | 2.00 | 4.00 | 8.00 | 1.06 | 1.06 | 1.06 | 2.00 | 4.00 | 8.00 | 1.06 | 1.06 | 2.00 | 4.00 | 8.00 | 1.06 | 2.00 | 4.00 | 8.00 | ||||||
| vmerge.vim v8,v16,13,v0 | 1.00 | 1.00 | 1.00 | 1.00 | 2.00 | 4.00 | 8.00 | 1.00 | 1.00 | 1.00 | 2.00 | 4.00 | 8.00 | 1.00 | 1.00 | 2.00 | 4.00 | 8.00 | 1.00 | 2.00 | 4.00 | 8.00 | ||||||
| vmv.v.v v8,v16 | 1.00 | 1.00 | 1.00 | 1.00 | 2.00 | 4.00 | 8.00 | 1.00 | 1.00 | 1.00 | 2.00 | 4.00 | 8.00 | 1.00 | 1.00 | 2.00 | 4.00 | 8.00 | 1.00 | 2.00 | 4.00 | 8.00 | ||||||
| vmv.v.x v8,t0 | 1.06 | 1.06 | 1.06 | 1.06 | 2.00 | 4.00 | 8.00 | 1.06 | 1.06 | 1.06 | 2.00 | 4.00 | 8.00 | 1.06 | 1.06 | 2.00 | 4.00 | 8.00 | 1.06 | 2.00 | 4.00 | 8.00 | ||||||
| vmv.v.i v8,13 | 1.00 | 1.00 | 1.00 | 1.00 | 2.00 | 4.00 | 8.00 | 1.00 | 1.00 | 1.00 | 2.00 | 4.00 | 8.00 | 1.00 | 1.00 | 2.00 | 4.00 | 8.00 | 1.00 | 2.00 | 4.00 | 8.00 | ||||||
| vmseq.vv v8,v16,v24 | 1.00 | 1.00 | 1.00 | 2.00 | 2.50 | 5.00 | 11.00 | 1.00 | 1.00 | 2.00 | 2.50 | 5.00 | 18.00 | 1.00 | 2.00 | 2.50 | 5.00 | 18.00 | 2.00 | 2.50 | 5.00 | 18.00 | ||||||
| vmseq.vv v8,v16,v24,v0.t | 1.00 | 1.00 | 1.00 | 2.00 | 2.50 | 5.00 | 11.00 | 1.00 | 1.00 | 2.00 | 2.50 | 5.00 | 18.00 | 1.00 | 2.00 | 2.50 | 5.00 | 18.00 | 2.00 | 2.50 | 5.00 | 18.00 | ||||||
| vmseq.vx v8,v16,t0 | 1.06 | 1.06 | 1.06 | 2.00 | 2.50 | 5.00 | 11.00 | 1.06 | 1.06 | 2.00 | 2.50 | 5.00 | 18.00 | 1.06 | 2.00 | 2.50 | 5.00 | 18.00 | 2.00 | 2.50 | 5.00 | 18.00 | ||||||
| vmseq.vx v8,v16,t0,v0.t | 1.06 | 1.06 | 1.06 | 2.00 | 2.50 | 5.00 | 11.00 | 1.06 | 1.06 | 2.00 | 2.50 | 5.00 | 18.00 | 1.06 | 2.00 | 2.50 | 5.00 | 18.00 | 2.00 | 2.50 | 5.00 | 18.00 | ||||||
| vmseq.vi v8,v16,13 | 1.00 | 1.00 | 1.00 | 2.00 | 2.50 | 5.00 | 11.00 | 1.00 | 1.00 | 2.00 | 2.50 | 5.00 | 18.00 | 1.00 | 2.00 | 2.50 | 5.00 | 18.00 | 2.00 | 2.50 | 5.00 | 18.00 | ||||||
| vmseq.vi v8,v16,13,v0.t | 1.00 | 1.00 | 1.00 | 2.00 | 2.50 | 5.00 | 11.00 | 1.00 | 1.00 | 2.00 | 2.50 | 5.00 | 18.00 | 1.00 | 2.00 | 2.50 | 5.00 | 18.00 | 2.00 | 2.50 | 5.00 | 18.00 | ||||||
| vmsne.vv v8,v16,v24 | 1.00 | 1.00 | 1.00 | 2.00 | 2.50 | 5.00 | 11.00 | 1.00 | 1.00 | 2.00 | 2.50 | 5.00 | 18.00 | 1.00 | 2.00 | 2.50 | 5.00 | 18.00 | 2.00 | 2.50 | 5.00 | 18.00 | ||||||
| vmsne.vv v8,v16,v24,v0.t | 1.00 | 1.00 | 1.00 | 2.00 | 2.50 | 5.00 | 11.00 | 1.00 | 1.00 | 2.00 | 2.50 | 5.00 | 18.00 | 1.00 | 2.00 | 2.50 | 5.00 | 18.00 | 2.00 | 2.50 | 5.00 | 18.00 | ||||||
| vmsne.vx v8,v16,t0 | 1.06 | 1.06 | 1.06 | 2.00 | 2.50 | 5.00 | 11.00 | 1.06 | 1.06 | 2.00 | 2.50 | 5.00 | 18.00 | 1.06 | 2.00 | 2.50 | 5.00 | 18.00 | 2.00 | 2.50 | 5.00 | 18.00 | ||||||
| vmsne.vx v8,v16,t0,v0.t | 1.06 | 1.06 | 1.06 | 2.00 | 2.50 | 5.00 | 11.00 | 1.06 | 1.06 | 2.00 | 2.50 | 5.00 | 18.00 | 1.06 | 2.00 | 2.50 | 5.00 | 18.00 | 2.00 | 2.50 | 5.00 | 18.00 | ||||||
| vmsne.vi v8,v16,13 | 1.00 | 1.00 | 1.00 | 2.00 | 2.50 | 5.00 | 11.00 | 1.00 | 1.00 | 2.00 | 2.50 | 5.00 | 18.00 | 1.00 | 2.00 | 2.50 | 5.00 | 18.00 | 2.00 | 2.50 | 5.00 | 18.00 | ||||||
| vmsne.vi v8,v16,13,v0.t | 1.00 | 1.00 | 1.00 | 2.00 | 2.50 | 5.00 | 11.00 | 1.00 | 1.00 | 2.00 | 2.50 | 5.00 | 18.00 | 1.00 | 2.00 | 2.50 | 5.00 | 18.00 | 2.00 | 2.50 | 5.00 | 18.00 | ||||||
| vmsltu.vv v8,v16,v24 | 1.00 | 1.00 | 1.00 | 2.00 | 2.50 | 5.00 | 11.00 | 1.00 | 1.00 | 2.00 | 2.50 | 5.00 | 18.00 | 1.00 | 2.00 | 2.50 | 5.00 | 18.00 | 2.00 | 2.50 | 5.00 | 18.00 | ||||||
| vmsltu.vv v8,v16,v24,v0.t | 1.00 | 1.00 | 1.00 | 2.00 | 2.50 | 5.00 | 11.00 | 1.00 | 1.00 | 2.00 | 2.50 | 5.00 | 18.00 | 1.00 | 2.00 | 2.50 | 5.00 | 18.00 | 2.00 | 2.50 | 5.00 | 18.00 | ||||||
| vmsltu.vx v8,v16,t0 | 1.06 | 1.06 | 1.06 | 2.00 | 2.50 | 5.00 | 11.00 | 1.06 | 1.06 | 2.00 | 2.50 | 5.00 | 18.00 | 1.06 | 2.00 | 2.50 | 5.00 | 18.00 | 2.00 | 2.50 | 5.00 | 18.00 | ||||||
| vmsltu.vx v8,v16,t0,v0.t | 1.06 | 1.06 | 1.06 | 2.00 | 2.50 | 5.00 | 11.00 | 1.06 | 1.06 | 2.00 | 2.50 | 5.00 | 18.00 | 1.06 | 2.00 | 2.50 | 5.00 | 18.00 | 2.00 | 2.50 | 5.00 | 18.00 | ||||||
| vmslt.vv v8,v16,v24 | 1.00 | 1.00 | 1.00 | 2.00 | 2.50 | 5.00 | 11.00 | 1.00 | 1.00 | 2.00 | 2.50 | 5.00 | 18.00 | 1.00 | 2.00 | 2.50 | 5.00 | 18.00 | 2.00 | 2.50 | 5.00 | 18.00 | ||||||
| vmslt.vv v8,v16,v24,v0.t | 1.00 | 1.00 | 1.00 | 2.00 | 2.50 | 5.00 | 11.00 | 1.00 | 1.00 | 2.00 | 2.50 | 5.00 | 18.00 | 1.00 | 2.00 | 2.50 | 5.00 | 18.00 | 2.00 | 2.50 | 5.00 | 18.00 | ||||||
| vmslt.vx v8,v16,t0 | 1.06 | 1.06 | 1.06 | 2.00 | 2.50 | 5.00 | 11.00 | 1.06 | 1.06 | 2.00 | 2.50 | 5.00 | 18.00 | 1.06 | 2.00 | 2.50 | 5.00 | 18.00 | 2.00 | 2.50 | 5.00 | 18.00 | ||||||
| vmslt.vx v8,v16,t0,v0.t | 1.06 | 1.06 | 1.06 | 2.00 | 2.50 | 5.00 | 11.00 | 1.06 | 1.06 | 2.00 | 2.50 | 5.00 | 18.00 | 1.06 | 2.00 | 2.50 | 5.00 | 18.00 | 2.00 | 2.50 | 5.00 | 18.00 | ||||||
| vmsleu.vv v8,v16,v24 | 1.00 | 1.00 | 1.00 | 2.00 | 2.50 | 5.00 | 11.00 | 1.00 | 1.00 | 2.00 | 2.50 | 5.00 | 18.00 | 1.00 | 2.00 | 2.50 | 5.00 | 18.00 | 2.00 | 2.50 | 5.00 | 18.00 | ||||||
| vmsleu.vv v8,v16,v24,v0.t | 1.00 | 1.00 | 1.00 | 2.00 | 2.50 | 5.00 | 11.00 | 1.00 | 1.00 | 2.00 | 2.50 | 5.00 | 18.00 | 1.00 | 2.00 | 2.50 | 5.00 | 18.00 | 2.00 | 2.50 | 5.00 | 18.00 | ||||||
| vmsleu.vx v8,v16,t0 | 1.06 | 1.06 | 1.06 | 2.00 | 2.50 | 5.00 | 11.00 | 1.06 | 1.06 | 2.00 | 2.50 | 5.00 | 18.00 | 1.06 | 2.00 | 2.50 | 5.00 | 18.00 | 2.00 | 2.50 | 5.00 | 18.00 | ||||||
| vmsleu.vx v8,v16,t0,v0.t | 1.06 | 1.06 | 1.06 | 2.00 | 2.50 | 5.00 | 11.00 | 1.06 | 1.06 | 2.00 | 2.50 | 5.00 | 18.00 | 1.06 | 2.00 | 2.50 | 5.00 | 18.00 | 2.00 | 2.50 | 5.00 | 18.00 | ||||||
| vmsleu.vi v8,v16,13 | 1.00 | 1.00 | 1.00 | 2.00 | 2.50 | 5.00 | 11.00 | 1.00 | 1.00 | 2.00 | 2.50 | 5.00 | 18.00 | 1.00 | 2.00 | 2.50 | 5.00 | 18.00 | 2.00 | 2.50 | 5.00 | 18.00 | ||||||
| vmsleu.vi v8,v16,13,v0.t | 1.00 | 1.00 | 1.00 | 2.00 | 2.50 | 5.00 | 11.00 | 1.00 | 1.00 | 2.00 | 2.50 | 5.00 | 18.00 | 1.00 | 2.00 | 2.50 | 5.00 | 18.00 | 2.00 | 2.50 | 5.00 | 18.00 | ||||||
| vmsle.vv v8,v16,v24 | 1.00 | 1.00 | 1.00 | 2.00 | 2.50 | 5.00 | 11.00 | 1.00 | 1.00 | 2.00 | 2.50 | 5.00 | 18.00 | 1.00 | 2.00 | 2.50 | 5.00 | 18.00 | 2.00 | 2.50 | 5.00 | 18.00 | ||||||
| vmsle.vv v8,v16,v24,v0.t | 1.00 | 1.00 | 1.00 | 2.00 | 2.50 | 5.00 | 11.00 | 1.00 | 1.00 | 2.00 | 2.50 | 5.00 | 18.00 | 1.00 | 2.00 | 2.50 | 5.00 | 18.00 | 2.00 | 2.50 | 5.00 | 18.00 | ||||||
| vmsle.vx v8,v16,t0 | 1.06 | 1.06 | 1.06 | 2.00 | 2.50 | 5.00 | 11.00 | 1.06 | 1.06 | 2.00 | 2.50 | 5.00 | 18.00 | 1.06 | 2.00 | 2.50 | 5.00 | 18.00 | 2.00 | 2.50 | 5.00 | 18.00 | ||||||
| vmsle.vx v8,v16,t0,v0.t | 1.06 | 1.06 | 1.06 | 2.00 | 2.50 | 5.00 | 11.00 | 1.06 | 1.06 | 2.00 | 2.50 | 5.00 | 18.00 | 1.06 | 2.00 | 2.50 | 5.00 | 18.00 | 2.00 | 2.50 | 5.00 | 18.00 | ||||||
| vmsle.vi v8,v16,13 | 1.00 | 1.00 | 1.00 | 2.00 | 2.50 | 5.00 | 11.00 | 1.00 | 1.00 | 2.00 | 2.50 | 5.00 | 18.00 | 1.00 | 2.00 | 2.50 | 5.00 | 18.00 | 2.00 | 2.50 | 5.00 | 18.00 | ||||||
| vmsle.vi v8,v16,13,v0.t | 1.00 | 1.00 | 1.00 | 2.00 | 2.50 | 5.00 | 11.00 | 1.00 | 1.00 | 2.00 | 2.50 | 5.00 | 18.00 | 1.00 | 2.00 | 2.50 | 5.00 | 18.00 | 2.00 | 2.50 | 5.00 | 18.00 | ||||||
| vmsgtu.vx v8,v16,t0 | 1.06 | 1.06 | 1.06 | 2.00 | 2.50 | 5.00 | 11.00 | 1.06 | 1.06 | 2.00 | 2.50 | 5.00 | 18.00 | 1.06 | 2.00 | 2.50 | 5.00 | 18.00 | 2.00 | 2.50 | 5.00 | 18.00 | ||||||
| vmsgtu.vx v8,v16,t0,v0.t | 1.06 | 1.06 | 1.06 | 2.00 | 2.50 | 5.00 | 11.00 | 1.06 | 1.06 | 2.00 | 2.50 | 5.00 | 18.00 | 1.06 | 2.00 | 2.50 | 5.00 | 18.00 | 2.00 | 2.50 | 5.00 | 18.00 | ||||||
| vmsgtu.vi v8,v16,13 | 1.00 | 1.00 | 1.00 | 2.00 | 2.50 | 5.00 | 11.00 | 1.00 | 1.00 | 2.00 | 2.50 | 5.00 | 18.00 | 1.00 | 2.00 | 2.50 | 5.00 | 18.00 | 2.00 | 2.50 | 5.00 | 18.00 | ||||||
| vmsgtu.vi v8,v16,13,v0.t | 1.00 | 1.00 | 1.00 | 2.00 | 2.50 | 5.00 | 11.00 | 1.00 | 1.00 | 2.00 | 2.50 | 5.00 | 18.00 | 1.00 | 2.00 | 2.50 | 5.00 | 18.00 | 2.00 | 2.50 | 5.00 | 18.00 | ||||||
| vmsgt.vx v8,v16,t0 | 1.06 | 1.06 | 1.06 | 2.00 | 2.50 | 5.00 | 11.00 | 1.06 | 1.06 | 2.00 | 2.50 | 5.00 | 18.00 | 1.06 | 2.00 | 2.50 | 5.00 | 18.00 | 2.00 | 2.50 | 5.00 | 18.00 | ||||||
| vmsgt.vx v8,v16,t0,v0.t | 1.06 | 1.06 | 1.06 | 2.00 | 2.50 | 5.00 | 11.00 | 1.06 | 1.06 | 2.00 | 2.50 | 5.00 | 18.00 | 1.06 | 2.00 | 2.50 | 5.00 | 18.00 | 2.00 | 2.50 | 5.00 | 18.00 | ||||||
| vmsgt.vi v8,v16,13 | 1.00 | 1.00 | 1.00 | 2.00 | 2.50 | 5.00 | 11.00 | 1.00 | 1.00 | 2.00 | 2.50 | 5.00 | 18.00 | 1.00 | 2.00 | 2.50 | 5.00 | 18.00 | 2.00 | 2.50 | 5.00 | 18.00 | ||||||
| vmsgt.vi v8,v16,13,v0.t | 1.00 | 1.00 | 1.00 | 2.00 | 2.50 | 5.00 | 11.00 | 1.00 | 1.00 | 2.00 | 2.50 | 5.00 | 18.00 | 1.00 | 2.00 | 2.50 | 5.00 | 18.00 | 2.00 | 2.50 | 5.00 | 18.00 | ||||||
| vcompress.vm v8,v16,v24 | 1.00 | 1.00 | 1.00 | 3.00 | 10.00 | 36.00 | 135.95 | 1.00 | 1.00 | 3.00 | 10.00 | 36.00 | 135.95 | 1.00 | 3.00 | 10.00 | 36.00 | 135.95 | 3.00 | 10.00 | 36.00 | 135.95 | ||||||
| vmandn.mm v8,v16,v24 | 1.00 | 1.00 | 1.00 | 1.00 | 1.00 | 1.00 | 1.00 | 1.00 | 1.00 | 1.00 | 1.00 | 1.00 | 1.00 | 1.00 | 1.00 | 1.00 | 1.00 | 1.00 | 1.00 | 1.00 | 1.00 | 1.00 | ||||||
| vmand.mm v8,v16,v24 | 1.00 | 1.00 | 1.00 | 1.00 | 1.00 | 1.00 | 1.00 | 1.00 | 1.00 | 1.00 | 1.00 | 1.00 | 1.00 | 1.00 | 1.00 | 1.00 | 1.00 | 1.00 | 1.00 | 1.00 | 1.00 | 1.00 | ||||||
| vmor.mm v8,v16,v24 | 1.00 | 1.00 | 1.00 | 1.00 | 1.00 | 1.00 | 1.00 | 1.00 | 1.00 | 1.00 | 1.00 | 1.00 | 1.00 | 1.00 | 1.00 | 1.00 | 1.00 | 1.00 | 1.00 | 1.00 | 1.00 | 1.00 | ||||||
| vmxor.mm v8,v16,v24 | 1.00 | 1.00 | 1.00 | 1.00 | 1.00 | 1.00 | 1.00 | 1.00 | 1.00 | 1.00 | 1.00 | 1.00 | 1.00 | 1.00 | 1.00 | 1.00 | 1.00 | 1.00 | 1.00 | 1.00 | 1.00 | 1.00 | ||||||
| vmorn.mm v8,v16,v24 | 1.00 | 1.00 | 1.00 | 1.00 | 1.00 | 1.00 | 1.00 | 1.00 | 1.00 | 1.00 | 1.00 | 1.00 | 1.00 | 1.00 | 1.00 | 1.00 | 1.00 | 1.00 | 1.00 | 1.00 | 1.00 | 1.00 | ||||||
| vmnand.mm v8,v16,v24 | 1.00 | 1.00 | 1.00 | 1.00 | 1.00 | 1.00 | 1.00 | 1.00 | 1.00 | 1.00 | 1.00 | 1.00 | 1.00 | 1.00 | 1.00 | 1.00 | 1.00 | 1.00 | 1.00 | 1.00 | 1.00 | 1.00 | ||||||
| vmnor.mm v8,v16,v24 | 1.00 | 1.00 | 1.00 | 1.00 | 1.00 | 1.00 | 1.00 | 1.00 | 1.00 | 1.00 | 1.00 | 1.00 | 1.00 | 1.00 | 1.00 | 1.00 | 1.00 | 1.00 | 1.00 | 1.00 | 1.00 | 1.00 | ||||||
| vmxnor.mm v8,v16,v24 | 1.00 | 1.00 | 1.00 | 1.00 | 1.00 | 1.00 | 1.00 | 1.00 | 1.00 | 1.00 | 1.00 | 1.00 | 1.00 | 1.00 | 1.00 | 1.00 | 1.00 | 1.00 | 1.00 | 1.00 | 1.00 | 1.00 | ||||||
| vsaddu.vv v8,v16,v24 | 1.00 | 1.00 | 1.00 | 1.00 | 2.00 | 4.00 | 8.00 | 1.00 | 1.00 | 1.00 | 2.00 | 4.00 | 8.00 | 1.00 | 1.00 | 2.00 | 4.00 | 8.00 | 1.00 | 2.00 | 4.00 | 8.00 | ||||||
| vsaddu.vv v8,v16,v24,v0.t | 1.00 | 1.00 | 1.00 | 1.00 | 2.00 | 4.00 | 8.00 | 1.00 | 1.00 | 1.00 | 2.00 | 4.00 | 8.00 | 1.00 | 1.00 | 2.00 | 4.00 | 8.00 | 1.00 | 2.00 | 4.00 | 8.00 | ||||||
| vsaddu.vx v8,v16,t0 | 1.06 | 1.06 | 1.06 | 1.06 | 2.00 | 4.00 | 8.00 | 1.06 | 1.06 | 1.06 | 2.00 | 4.00 | 8.00 | 1.06 | 1.06 | 2.00 | 4.00 | 8.00 | 1.06 | 2.00 | 4.00 | 8.00 | ||||||
| vsaddu.vx v8,v16,t0,v0.t | 1.06 | 1.06 | 1.06 | 1.06 | 2.00 | 4.00 | 8.00 | 1.06 | 1.06 | 1.06 | 2.00 | 4.00 | 8.00 | 1.06 | 1.06 | 2.00 | 4.00 | 8.00 | 1.06 | 2.00 | 4.00 | 8.00 | ||||||
| vsaddu.vi v8,v16,13 | 1.00 | 1.00 | 1.00 | 1.00 | 2.00 | 4.00 | 8.00 | 1.00 | 1.00 | 1.00 | 2.00 | 4.00 | 8.00 | 1.00 | 1.00 | 2.00 | 4.00 | 8.00 | 1.00 | 2.00 | 4.00 | 8.00 | ||||||
| vsaddu.vi v8,v16,13,v0.t | 1.00 | 1.00 | 1.00 | 1.00 | 2.00 | 4.00 | 8.00 | 1.00 | 1.00 | 1.00 | 2.00 | 4.00 | 8.00 | 1.00 | 1.00 | 2.00 | 4.00 | 8.00 | 1.00 | 2.00 | 4.00 | 8.00 | ||||||
| vsadd.vv v8,v16,v24 | 1.00 | 1.00 | 1.00 | 1.00 | 2.00 | 4.00 | 8.00 | 1.00 | 1.00 | 1.00 | 2.00 | 4.00 | 8.00 | 1.00 | 1.00 | 2.00 | 4.00 | 8.00 | 1.00 | 2.00 | 4.00 | 8.00 | ||||||
| vsadd.vv v8,v16,v24,v0.t | 1.00 | 1.00 | 1.00 | 1.00 | 2.00 | 4.00 | 8.00 | 1.00 | 1.00 | 1.00 | 2.00 | 4.00 | 8.00 | 1.00 | 1.00 | 2.00 | 4.00 | 8.00 | 1.00 | 2.00 | 4.00 | 8.00 | ||||||
| vsadd.vx v8,v16,t0 | 1.06 | 1.06 | 1.06 | 1.06 | 2.00 | 4.00 | 8.00 | 1.06 | 1.06 | 1.06 | 2.00 | 4.00 | 8.00 | 1.06 | 1.06 | 2.00 | 4.00 | 8.00 | 1.06 | 2.00 | 4.00 | 8.00 | ||||||
| vsadd.vx v8,v16,t0,v0.t | 1.06 | 1.06 | 1.06 | 1.06 | 2.00 | 4.00 | 8.00 | 1.06 | 1.06 | 1.06 | 2.00 | 4.00 | 8.00 | 1.06 | 1.06 | 2.00 | 4.00 | 8.00 | 1.06 | 2.00 | 4.00 | 8.00 | ||||||
| vsadd.vi v8,v16,13 | 1.00 | 1.00 | 1.00 | 1.00 | 2.00 | 4.00 | 8.00 | 1.00 | 1.00 | 1.00 | 2.00 | 4.00 | 8.00 | 1.00 | 1.00 | 2.00 | 4.00 | 8.00 | 1.00 | 2.00 | 4.00 | 8.00 | ||||||
| vsadd.vi v8,v16,13,v0.t | 1.00 | 1.00 | 1.00 | 1.00 | 2.00 | 4.00 | 8.00 | 1.00 | 1.00 | 1.00 | 2.00 | 4.00 | 8.00 | 1.00 | 1.00 | 2.00 | 4.00 | 8.00 | 1.00 | 2.00 | 4.00 | 8.00 | ||||||
| vssubu.vv v8,v16,v24 | 1.00 | 1.00 | 1.00 | 1.00 | 2.00 | 4.00 | 8.00 | 1.00 | 1.00 | 1.00 | 2.00 | 4.00 | 8.00 | 1.00 | 1.00 | 2.00 | 4.00 | 8.00 | 1.00 | 2.00 | 4.00 | 8.00 | ||||||
| vssubu.vv v8,v16,v24,v0.t | 1.00 | 1.00 | 1.00 | 1.00 | 2.00 | 4.00 | 8.00 | 1.00 | 1.00 | 1.00 | 2.00 | 4.00 | 8.00 | 1.00 | 1.00 | 2.00 | 4.00 | 8.00 | 1.00 | 2.00 | 4.00 | 8.00 | ||||||
| vssubu.vx v8,v16,t0 | 1.06 | 1.06 | 1.06 | 1.06 | 2.00 | 4.00 | 8.00 | 1.06 | 1.06 | 1.06 | 2.00 | 4.00 | 8.00 | 1.06 | 1.06 | 2.00 | 4.00 | 8.00 | 1.06 | 2.00 | 4.00 | 8.00 | ||||||
| vssubu.vx v8,v16,t0,v0.t | 1.06 | 1.06 | 1.06 | 1.06 | 2.00 | 4.00 | 8.00 | 1.06 | 1.06 | 1.06 | 2.00 | 4.00 | 8.00 | 1.06 | 1.06 | 2.00 | 4.00 | 8.00 | 1.06 | 2.00 | 4.00 | 8.00 | ||||||
| vssub.vv v8,v16,v24 | 1.00 | 1.00 | 1.00 | 1.00 | 2.00 | 4.00 | 8.00 | 1.00 | 1.00 | 1.00 | 2.00 | 4.00 | 8.00 | 1.00 | 1.00 | 2.00 | 4.00 | 8.00 | 1.00 | 2.00 | 4.00 | 8.00 | ||||||
| vssub.vv v8,v16,v24,v0.t | 1.00 | 1.00 | 1.00 | 1.00 | 2.00 | 4.00 | 8.00 | 1.00 | 1.00 | 1.00 | 2.00 | 4.00 | 8.00 | 1.00 | 1.00 | 2.00 | 4.00 | 8.00 | 1.00 | 2.00 | 4.00 | 8.00 | ||||||
| vssub.vx v8,v16,t0 | 1.06 | 1.06 | 1.06 | 1.06 | 2.00 | 4.00 | 8.00 | 1.06 | 1.06 | 1.06 | 2.00 | 4.00 | 8.00 | 1.06 | 1.06 | 2.00 | 4.00 | 8.00 | 1.06 | 2.00 | 4.00 | 8.00 | ||||||
| vssub.vx v8,v16,t0,v0.t | 1.06 | 1.06 | 1.06 | 1.06 | 2.00 | 4.00 | 8.00 | 1.06 | 1.06 | 1.06 | 2.00 | 4.00 | 8.00 | 1.06 | 1.06 | 2.00 | 4.00 | 8.00 | 1.06 | 2.00 | 4.00 | 8.00 | ||||||
| vsll.vv v8,v16,v24 | 1.00 | 1.00 | 1.00 | 2.00 | 4.00 | 8.00 | 16.00 | 1.00 | 1.00 | 2.00 | 4.00 | 8.00 | 16.00 | 1.00 | 2.00 | 4.00 | 8.00 | 16.00 | 2.00 | 4.00 | 8.00 | 16.00 | ||||||
| vsll.vv v8,v16,v24,v0.t | 1.00 | 1.00 | 1.00 | 2.00 | 4.00 | 8.00 | 16.00 | 1.00 | 1.00 | 2.00 | 4.00 | 8.00 | 16.00 | 1.00 | 2.00 | 4.00 | 8.00 | 16.00 | 2.00 | 4.00 | 8.00 | 16.00 | ||||||
| vsll.vx v8,v16,t0 | 1.06 | 1.06 | 1.06 | 2.00 | 4.00 | 8.00 | 16.00 | 1.06 | 1.06 | 2.00 | 4.00 | 8.00 | 16.00 | 1.06 | 2.00 | 4.00 | 8.00 | 16.00 | 2.00 | 4.00 | 8.00 | 16.00 | ||||||
| vsll.vx v8,v16,t0,v0.t | 1.06 | 1.06 | 1.06 | 2.00 | 4.00 | 8.00 | 16.00 | 1.06 | 1.06 | 2.00 | 4.00 | 8.00 | 16.00 | 1.06 | 2.00 | 4.00 | 8.00 | 16.00 | 2.00 | 4.00 | 8.00 | 16.00 | ||||||
| vsll.vi v8,v16,13 | 1.00 | 1.00 | 1.00 | 2.00 | 4.00 | 8.00 | 16.00 | 1.00 | 1.00 | 2.00 | 4.00 | 8.00 | 16.00 | 1.00 | 2.00 | 4.00 | 8.00 | 16.00 | 2.00 | 4.00 | 8.00 | 16.00 | ||||||
| vsll.vi v8,v16,13,v0.t | 1.00 | 1.00 | 1.00 | 2.00 | 4.00 | 8.00 | 16.00 | 1.00 | 1.00 | 2.00 | 4.00 | 8.00 | 16.00 | 1.00 | 2.00 | 4.00 | 8.00 | 16.00 | 2.00 | 4.00 | 8.00 | 16.00 | ||||||
| vsmul.vv v8,v16,v24 | 1.00 | 1.00 | 1.00 | 1.00 | 2.00 | 4.00 | 8.00 | 1.00 | 1.00 | 1.00 | 2.00 | 4.00 | 8.00 | 1.00 | 1.00 | 2.00 | 4.00 | 8.00 | 4.00 | 8.00 | 16.00 | 32.00 | ||||||
| vsmul.vv v8,v16,v24,v0.t | 1.00 | 1.00 | 1.00 | 1.00 | 2.00 | 4.00 | 8.00 | 1.00 | 1.00 | 1.00 | 2.00 | 4.00 | 8.00 | 1.00 | 1.00 | 2.00 | 4.00 | 8.00 | 4.00 | 8.00 | 16.00 | 32.00 | ||||||
| vsmul.vx v8,v16,t0 | 1.06 | 1.06 | 1.06 | 1.06 | 2.00 | 4.00 | 8.00 | 1.06 | 1.06 | 1.06 | 2.00 | 4.00 | 8.00 | 1.06 | 1.06 | 2.00 | 4.00 | 8.00 | 4.00 | 8.00 | 16.00 | 32.00 | ||||||
| vsmul.vx v8,v16,t0,v0.t | 1.06 | 1.06 | 1.06 | 1.06 | 2.00 | 4.00 | 8.00 | 1.06 | 1.06 | 1.06 | 2.00 | 4.00 | 8.00 | 1.06 | 1.06 | 2.00 | 4.00 | 8.00 | 4.00 | 8.00 | 16.00 | 32.00 | ||||||
| vmv1r.v v8,v16 | 1.00 | 1.00 | 1.00 | 1.00 | 1.00 | 1.00 | 2.00 | 1.00 | 1.00 | 1.00 | 1.00 | 1.00 | 2.00 | 1.00 | 1.00 | 1.00 | 1.00 | 2.00 | 1.00 | 1.00 | 1.00 | 2.00 | ||||||
| vmv2r.v v8,v16 | 2.00 | 2.00 | 3.00 | 2.00 | 2.00 | 3.00 | 2.00 | 2.00 | 3.00 | 2.00 | 2.00 | 3.00 | ||||||||||||||||
| vmv4r.v v8,v16 | 4.00 | 4.00 | 4.00 | 4.00 | 4.00 | 4.00 | 4.00 | 4.00 | ||||||||||||||||||||
| vmv8r.v v8,v16 | 8.00 | 8.00 | 8.00 | 8.00 | ||||||||||||||||||||||||
| vsrl.vv v8,v16,v24 | 1.00 | 1.00 | 1.00 | 2.00 | 4.00 | 8.00 | 16.00 | 1.00 | 1.00 | 2.00 | 4.00 | 8.00 | 16.00 | 1.00 | 2.00 | 4.00 | 8.00 | 16.00 | 2.00 | 4.00 | 8.00 | 16.00 | ||||||
| vsrl.vv v8,v16,v24,v0.t | 1.00 | 1.00 | 1.00 | 2.00 | 4.00 | 8.00 | 16.00 | 1.00 | 1.00 | 2.00 | 4.00 | 8.00 | 16.00 | 1.00 | 2.00 | 4.00 | 8.00 | 16.00 | 2.00 | 4.00 | 8.00 | 16.00 | ||||||
| vsrl.vx v8,v16,t0 | 1.06 | 1.06 | 1.06 | 2.00 | 4.00 | 8.00 | 16.00 | 1.06 | 1.06 | 2.00 | 4.00 | 8.00 | 16.00 | 1.06 | 2.00 | 4.00 | 8.00 | 16.00 | 2.00 | 4.00 | 8.00 | 16.00 | ||||||
| vsrl.vx v8,v16,t0,v0.t | 1.06 | 1.06 | 1.06 | 2.00 | 4.00 | 8.00 | 16.00 | 1.06 | 1.06 | 2.00 | 4.00 | 8.00 | 16.00 | 1.06 | 2.00 | 4.00 | 8.00 | 16.00 | 2.00 | 4.00 | 8.00 | 16.00 | ||||||
| vsrl.vi v8,v16,13 | 1.00 | 1.00 | 1.00 | 2.00 | 4.00 | 8.00 | 16.00 | 1.00 | 1.00 | 2.00 | 4.00 | 8.00 | 16.00 | 1.00 | 2.00 | 4.00 | 8.00 | 16.00 | 2.00 | 4.00 | 8.00 | 16.00 | ||||||
| vsrl.vi v8,v16,13,v0.t | 1.00 | 1.00 | 1.00 | 2.00 | 4.00 | 8.00 | 16.00 | 1.00 | 1.00 | 2.00 | 4.00 | 8.00 | 16.00 | 1.00 | 2.00 | 4.00 | 8.00 | 16.00 | 2.00 | 4.00 | 8.00 | 16.00 | ||||||
| vsra.vv v8,v16,v24 | 1.00 | 1.00 | 1.00 | 2.00 | 4.00 | 8.00 | 16.00 | 1.00 | 1.00 | 2.00 | 4.00 | 8.00 | 16.00 | 1.00 | 2.00 | 4.00 | 8.00 | 16.00 | 2.00 | 4.00 | 8.00 | 16.00 | ||||||
| vsra.vv v8,v16,v24,v0.t | 1.00 | 1.00 | 1.00 | 2.00 | 4.00 | 8.00 | 16.00 | 1.00 | 1.00 | 2.00 | 4.00 | 8.00 | 16.00 | 1.00 | 2.00 | 4.00 | 8.00 | 16.00 | 2.00 | 4.00 | 8.00 | 16.00 | ||||||
| vsra.vx v8,v16,t0 | 1.06 | 1.06 | 1.06 | 2.00 | 4.00 | 8.00 | 16.00 | 1.06 | 1.06 | 2.00 | 4.00 | 8.00 | 16.00 | 1.06 | 2.00 | 4.00 | 8.00 | 16.00 | 2.00 | 4.00 | 8.00 | 16.00 | ||||||
| vsra.vx v8,v16,t0,v0.t | 1.06 | 1.06 | 1.06 | 2.00 | 4.00 | 8.00 | 16.00 | 1.06 | 1.06 | 2.00 | 4.00 | 8.00 | 16.00 | 1.06 | 2.00 | 4.00 | 8.00 | 16.00 | 2.00 | 4.00 | 8.00 | 16.00 | ||||||
| vsra.vi v8,v16,13 | 1.00 | 1.00 | 1.00 | 2.00 | 4.00 | 8.00 | 16.00 | 1.00 | 1.00 | 2.00 | 4.00 | 8.00 | 16.00 | 1.00 | 2.00 | 4.00 | 8.00 | 16.00 | 2.00 | 4.00 | 8.00 | 16.00 | ||||||
| vsra.vi v8,v16,13,v0.t | 1.00 | 1.00 | 1.00 | 2.00 | 4.00 | 8.00 | 16.00 | 1.00 | 1.00 | 2.00 | 4.00 | 8.00 | 16.00 | 1.00 | 2.00 | 4.00 | 8.00 | 16.00 | 2.00 | 4.00 | 8.00 | 16.00 | ||||||
| vssrl.vv v8,v16,v24 | 1.00 | 1.00 | 1.00 | 2.00 | 4.00 | 8.00 | 16.00 | 1.00 | 1.00 | 2.00 | 4.00 | 8.00 | 16.00 | 1.00 | 2.00 | 4.00 | 8.00 | 16.00 | 2.00 | 4.00 | 8.00 | 16.00 | ||||||
| vssrl.vv v8,v16,v24,v0.t | 1.00 | 1.00 | 1.00 | 2.00 | 4.00 | 8.00 | 16.00 | 1.00 | 1.00 | 2.00 | 4.00 | 8.00 | 16.00 | 1.00 | 2.00 | 4.00 | 8.00 | 16.00 | 2.00 | 4.00 | 8.00 | 16.00 | ||||||
| vssrl.vx v8,v16,t0 | 1.06 | 1.06 | 1.06 | 2.00 | 4.00 | 8.00 | 16.00 | 1.06 | 1.06 | 2.00 | 4.00 | 8.00 | 16.00 | 1.06 | 2.00 | 4.00 | 8.00 | 16.00 | 2.00 | 4.00 | 8.00 | 16.00 | ||||||
| vssrl.vx v8,v16,t0,v0.t | 1.06 | 1.06 | 1.06 | 2.00 | 4.00 | 8.00 | 16.00 | 1.06 | 1.06 | 2.00 | 4.00 | 8.00 | 16.00 | 1.06 | 2.00 | 4.00 | 8.00 | 16.00 | 2.00 | 4.00 | 8.00 | 16.00 | ||||||
| vssrl.vi v8,v16,13 | 1.00 | 1.00 | 1.00 | 2.00 | 4.00 | 8.00 | 16.00 | 1.00 | 1.00 | 2.00 | 4.00 | 8.00 | 16.00 | 1.00 | 2.00 | 4.00 | 8.00 | 16.00 | 2.00 | 4.00 | 8.00 | 16.00 | ||||||
| vssrl.vi v8,v16,13,v0.t | 1.00 | 1.00 | 1.00 | 2.00 | 4.00 | 8.00 | 16.00 | 1.00 | 1.00 | 2.00 | 4.00 | 8.00 | 16.00 | 1.00 | 2.00 | 4.00 | 8.00 | 16.00 | 2.00 | 4.00 | 8.00 | 16.00 | ||||||
| vdivu.vv v8,v16,v24 | 11.13 | 12.01 | 12.73 | 25.45 | 50.56 | 101.67 | 202.30 | 10.46 | 10.95 | 21.92 | 43.58 | 87.53 | 174.57 | 10.44 | 20.90 | 41.80 | 83.30 | 168.37 | 19.86 | 39.46 | 79.36 | 158.47 | ||||||
| vdivu.vv v8,v16,v24,v0.t | 10.45 | 11.15 | 12.06 | 23.58 | 47.13 | 94.83 | 189.55 | 9.89 | 10.45 | 20.73 | 41.06 | 82.52 | 165.38 | 10.01 | 19.96 | 39.38 | 77.43 | 156.99 | 19.21 | 37.94 | 75.80 | 150.10 | ||||||
| vdivu.vx v8,v16,t0 | 9.32 | 9.37 | 9.34 | 18.81 | 37.29 | 74.59 | 147.19 | 9.28 | 9.30 | 18.66 | 36.94 | 74.39 | 143.99 | 9.49 | 18.98 | 38.28 | 76.32 | 149.14 | 18.50 | 36.00 | 71.99 | 143.99 | ||||||
| vdivu.vx v8,v16,t0,v0.t | 9.25 | 9.36 | 9.23 | 18.71 | 36.81 | 73.72 | 143.99 | 9.16 | 9.26 | 18.48 | 37.16 | 74.07 | 143.99 | 9.40 | 18.80 | 37.32 | 74.52 | 145.49 | 18.35 | 36.00 | 71.99 | 143.99 | ||||||
| vdiv.vv v8,v16,v24 | 11.73 | 12.53 | 13.13 | 26.83 | 53.11 | 107.59 | 210.49 | 11.13 | 11.53 | 23.27 | 45.99 | 93.35 | 187.31 | 11.13 | 22.30 | 44.78 | 89.33 | 179.62 | 21.63 | 42.93 | 85.45 | 173.01 | ||||||
| vdiv.vv v8,v16,v24,v0.t | 11.22 | 11.76 | 12.45 | 25.12 | 49.78 | 100.50 | 197.48 | 10.87 | 11.26 | 22.42 | 44.57 | 88.95 | 177.65 | 10.86 | 21.76 | 42.92 | 85.18 | 171.57 | 20.91 | 41.87 | 83.12 | 166.89 | ||||||
| vdiv.vx v8,v16,t0 | 10.33 | 10.51 | 10.42 | 20.81 | 40.90 | 82.34 | 163.58 | 10.30 | 10.32 | 20.70 | 41.28 | 82.79 | 161.58 | 10.48 | 21.01 | 42.01 | 84.02 | 166.08 | 20.45 | 40.00 | 79.99 | 159.98 | ||||||
| vdiv.vx v8,v16,t0,v0.t | 10.34 | 10.36 | 10.39 | 20.68 | 40.76 | 81.59 | 164.18 | 10.28 | 10.29 | 20.66 | 41.08 | 81.32 | 161.28 | 10.32 | 20.75 | 41.38 | 82.87 | 162.48 | 20.28 | 40.00 | 79.99 | 159.98 | ||||||
| vremu.vv v8,v16,v24 | 12.18 | 12.86 | 13.79 | 27.48 | 54.83 | 108.73 | 219.29 | 11.45 | 11.88 | 23.97 | 47.70 | 95.54 | 191.34 | 11.40 | 22.76 | 45.77 | 92.02 | 181.87 | 21.90 | 43.44 | 87.63 | 174.23 | ||||||
| vremu.vv v8,v16,v24,v0.t | 11.43 | 11.93 | 12.76 | 25.86 | 51.39 | 102.83 | 205.59 | 10.98 | 11.34 | 22.60 | 45.18 | 90.33 | 181.76 | 10.94 | 22.04 | 43.60 | 86.48 | 173.01 | 21.14 | 42.07 | 83.98 | 168.03 | ||||||
| vremu.vx v8,v16,t0 | 10.33 | 10.30 | 10.31 | 20.68 | 40.89 | 82.79 | 163.18 | 10.28 | 10.29 | 20.68 | 40.94 | 81.99 | 159.98 | 10.56 | 21.08 | 41.66 | 82.72 | 164.99 | 20.49 | 40.00 | 79.99 | 159.98 | ||||||
| vremu.vx v8,v16,t0,v0.t | 10.22 | 10.30 | 10.37 | 20.58 | 41.09 | 81.59 | 160.79 | 10.26 | 10.30 | 20.45 | 40.77 | 82.54 | 159.99 | 10.40 | 20.78 | 41.63 | 82.74 | 161.84 | 20.34 | 40.00 | 79.99 | 159.98 | ||||||
| vrem.vv v8,v16,v24 | 12.72 | 13.53 | 14.45 | 28.56 | 57.32 | 114.44 | 229.88 | 12.18 | 12.64 | 25.34 | 50.77 | 101.07 | 203.45 | 12.23 | 24.31 | 48.83 | 97.90 | 195.26 | 23.53 | 47.03 | 93.90 | 187.32 | ||||||
| vrem.vv v8,v16,v24,v0.t | 12.29 | 12.73 | 13.48 | 26.88 | 53.95 | 107.22 | 215.76 | 11.86 | 12.31 | 24.28 | 48.56 | 97.10 | 193.63 | 11.89 | 23.58 | 46.94 | 93.42 | 186.66 | 22.85 | 45.70 | 91.11 | 182.31 | ||||||
| vrem.vx v8,v16,t0 | 11.39 | 11.41 | 11.48 | 22.76 | 45.54 | 90.32 | 177.78 | 11.38 | 11.32 | 22.72 | 45.13 | 89.59 | 175.98 | 11.53 | 22.98 | 45.58 | 90.99 | 179.68 | 22.45 | 44.00 | 87.99 | 175.98 | ||||||
| vrem.vx v8,v16,t0,v0.t | 11.28 | 11.31 | 11.47 | 22.90 | 45.11 | 91.04 | 177.68 | 11.21 | 11.31 | 22.71 | 44.81 | 88.59 | 179.03 | 11.41 | 22.89 | 45.37 | 90.14 | 177.43 | 22.33 | 44.00 | 87.99 | 175.98 | ||||||
| vmulhu.vv v8,v16,v24 | 1.00 | 1.00 | 1.00 | 1.00 | 2.00 | 4.00 | 8.00 | 1.00 | 1.00 | 1.00 | 2.00 | 4.00 | 8.00 | 1.00 | 1.00 | 2.00 | 4.00 | 8.00 | 4.00 | 8.00 | 16.00 | 32.00 | ||||||
| vmulhu.vv v8,v16,v24,v0.t | 1.00 | 1.00 | 1.00 | 1.00 | 2.00 | 4.00 | 8.00 | 1.00 | 1.00 | 1.00 | 2.00 | 4.00 | 8.00 | 1.00 | 1.00 | 2.00 | 4.00 | 8.00 | 4.00 | 8.00 | 16.00 | 32.00 | ||||||
| vmulhu.vx v8,v16,t0 | 1.06 | 1.06 | 1.06 | 1.06 | 2.00 | 4.00 | 8.00 | 1.06 | 1.06 | 1.06 | 2.00 | 4.00 | 8.00 | 1.06 | 1.06 | 2.00 | 4.00 | 8.00 | 4.00 | 8.00 | 16.00 | 32.00 | ||||||
| vmulhu.vx v8,v16,t0,v0.t | 1.06 | 1.06 | 1.06 | 1.06 | 2.00 | 4.00 | 8.00 | 1.06 | 1.06 | 1.06 | 2.00 | 4.00 | 8.00 | 1.06 | 1.06 | 2.00 | 4.00 | 8.00 | 4.00 | 8.00 | 16.00 | 32.00 | ||||||
| vmul.vv v8,v16,v24 | 1.00 | 1.00 | 1.00 | 1.00 | 2.00 | 4.00 | 8.00 | 1.00 | 1.00 | 1.00 | 2.00 | 4.00 | 8.00 | 1.00 | 1.00 | 2.00 | 4.00 | 8.00 | 4.00 | 8.00 | 16.00 | 32.00 | ||||||
| vmul.vv v8,v16,v24,v0.t | 1.00 | 1.00 | 1.00 | 1.00 | 2.00 | 4.00 | 8.00 | 1.00 | 1.00 | 1.00 | 2.00 | 4.00 | 8.00 | 1.00 | 1.00 | 2.00 | 4.00 | 8.00 | 4.00 | 8.00 | 16.00 | 32.00 | ||||||
| vmul.vx v8,v16,t0 | 1.06 | 1.06 | 1.06 | 1.06 | 2.00 | 4.00 | 8.00 | 1.06 | 1.06 | 1.06 | 2.00 | 4.00 | 8.00 | 1.06 | 1.06 | 2.00 | 4.00 | 8.00 | 4.00 | 8.00 | 16.00 | 32.00 | ||||||
| vmul.vx v8,v16,t0,v0.t | 1.06 | 1.06 | 1.06 | 1.06 | 2.00 | 4.00 | 8.00 | 1.06 | 1.06 | 1.06 | 2.00 | 4.00 | 8.00 | 1.06 | 1.06 | 2.00 | 4.00 | 8.00 | 4.00 | 8.00 | 16.00 | 32.00 | ||||||
| vmulhsu.vv v8,v16,v24 | 1.00 | 1.00 | 1.00 | 1.00 | 2.00 | 4.00 | 8.00 | 1.00 | 1.00 | 1.00 | 2.00 | 4.00 | 8.00 | 1.00 | 1.00 | 2.00 | 4.00 | 8.00 | 4.00 | 8.00 | 16.00 | 32.00 | ||||||
| vmulhsu.vv v8,v16,v24,v0.t | 1.00 | 1.00 | 1.00 | 1.00 | 2.00 | 4.00 | 8.00 | 1.00 | 1.00 | 1.00 | 2.00 | 4.00 | 8.00 | 1.00 | 1.00 | 2.00 | 4.00 | 8.00 | 4.00 | 8.00 | 16.00 | 32.00 | ||||||
| vmulhsu.vx v8,v16,t0 | 1.06 | 1.06 | 1.06 | 1.06 | 2.00 | 4.00 | 8.00 | 1.06 | 1.06 | 1.06 | 2.00 | 4.00 | 8.00 | 1.06 | 1.06 | 2.00 | 4.00 | 8.00 | 4.00 | 8.00 | 16.00 | 32.00 | ||||||
| vmulhsu.vx v8,v16,t0,v0.t | 1.06 | 1.06 | 1.06 | 1.06 | 2.00 | 4.00 | 8.00 | 1.06 | 1.06 | 1.06 | 2.00 | 4.00 | 8.00 | 1.06 | 1.06 | 2.00 | 4.00 | 8.00 | 4.00 | 8.00 | 16.00 | 32.00 | ||||||
| vmulh.vv v8,v16,v24 | 1.00 | 1.00 | 1.00 | 1.00 | 2.00 | 4.00 | 8.00 | 1.00 | 1.00 | 1.00 | 2.00 | 4.00 | 8.00 | 1.00 | 1.00 | 2.00 | 4.00 | 8.00 | 4.00 | 8.00 | 16.00 | 32.00 | ||||||
| vmulh.vv v8,v16,v24,v0.t | 1.00 | 1.00 | 1.00 | 1.00 | 2.00 | 4.00 | 8.00 | 1.00 | 1.00 | 1.00 | 2.00 | 4.00 | 8.00 | 1.00 | 1.00 | 2.00 | 4.00 | 8.00 | 4.00 | 8.00 | 16.00 | 32.00 | ||||||
| vmulh.vx v8,v16,t0 | 1.06 | 1.06 | 1.06 | 1.06 | 2.00 | 4.00 | 8.00 | 1.06 | 1.06 | 1.06 | 2.00 | 4.00 | 8.00 | 1.06 | 1.06 | 2.00 | 4.00 | 8.00 | 4.00 | 8.00 | 16.00 | 32.00 | ||||||
| vmulh.vx v8,v16,t0,v0.t | 1.06 | 1.06 | 1.06 | 1.06 | 2.00 | 4.00 | 8.00 | 1.06 | 1.06 | 1.06 | 2.00 | 4.00 | 8.00 | 1.06 | 1.06 | 2.00 | 4.00 | 8.00 | 4.00 | 8.00 | 16.00 | 32.00 | ||||||
| vmadd.vv v8,v16,v24 | 1.00 | 1.00 | 1.00 | 1.00 | 2.00 | 4.00 | 8.00 | 1.00 | 1.00 | 1.00 | 2.00 | 4.00 | 8.00 | 1.00 | 1.00 | 2.00 | 4.00 | 8.00 | 4.00 | 8.00 | 16.00 | 32.00 | ||||||
| vmadd.vv v8,v16,v24,v0.t | 1.00 | 1.00 | 1.00 | 1.00 | 2.00 | 4.00 | 8.00 | 1.00 | 1.00 | 1.00 | 2.00 | 4.00 | 8.00 | 1.00 | 1.00 | 2.00 | 4.00 | 8.00 | 4.00 | 8.00 | 16.00 | 32.00 | ||||||
| vmadd.vx v8,t0,v16 | 1.06 | 1.06 | 1.06 | 1.06 | 2.00 | 4.00 | 8.00 | 1.06 | 1.06 | 1.06 | 2.00 | 4.00 | 8.00 | 1.06 | 1.06 | 2.00 | 4.00 | 8.00 | 4.00 | 8.00 | 16.00 | 32.00 | ||||||
| vmadd.vx v8,t0,v16,v0.t | 1.06 | 1.06 | 1.06 | 1.06 | 2.00 | 4.00 | 8.00 | 1.06 | 1.06 | 1.06 | 2.00 | 4.00 | 8.00 | 1.06 | 1.06 | 2.00 | 4.00 | 8.00 | 4.00 | 8.00 | 16.00 | 32.00 | ||||||
| vmacc.vv v8,v16,v24 | 1.00 | 1.00 | 1.00 | 1.00 | 2.00 | 4.00 | 8.00 | 1.00 | 1.00 | 1.00 | 2.00 | 4.00 | 8.00 | 1.00 | 1.00 | 2.00 | 4.00 | 8.00 | 4.00 | 8.00 | 16.00 | 32.00 | ||||||
| vmacc.vv v8,v16,v24,v0.t | 1.00 | 1.00 | 1.00 | 1.00 | 2.00 | 4.00 | 8.00 | 1.00 | 1.00 | 1.00 | 2.00 | 4.00 | 8.00 | 1.00 | 1.00 | 2.00 | 4.00 | 8.00 | 4.00 | 8.00 | 16.00 | 32.00 | ||||||
| vmacc.vx v8,t0,v16 | 1.06 | 1.06 | 1.06 | 1.06 | 2.00 | 4.00 | 8.00 | 1.06 | 1.06 | 1.06 | 2.00 | 4.00 | 8.00 | 1.06 | 1.06 | 2.00 | 4.00 | 8.00 | 4.00 | 8.00 | 16.00 | 32.00 | ||||||
| vmacc.vx v8,t0,v16,v0.t | 1.06 | 1.06 | 1.06 | 1.06 | 2.00 | 4.00 | 8.00 | 1.06 | 1.06 | 1.06 | 2.00 | 4.00 | 8.00 | 1.06 | 1.06 | 2.00 | 4.00 | 8.00 | 4.00 | 8.00 | 16.00 | 32.00 | ||||||
| vnsrl.wv v8,v16,v24 | 1.00 | 1.00 | 2.00 | 4.00 | 8.00 | 16.00 | 1.00 | 2.00 | 4.00 | 8.00 | 16.00 | 2.00 | 4.00 | 8.00 | 16.00 | |||||||||||||
| vnsrl.wv v8,v16,v24,v0.t | 1.00 | 1.00 | 2.00 | 4.00 | 8.00 | 16.00 | 1.00 | 2.00 | 4.00 | 8.00 | 16.00 | 2.00 | 4.00 | 8.00 | 16.00 | |||||||||||||
| vnsrl.wx v8,v16,t0 | 1.06 | 1.06 | 2.00 | 4.00 | 8.00 | 16.00 | 1.06 | 2.00 | 4.00 | 8.00 | 16.00 | 2.00 | 4.00 | 8.00 | 16.00 | |||||||||||||
| vnsrl.wx v8,v16,t0,v0.t | 1.06 | 1.06 | 2.00 | 4.00 | 8.00 | 16.00 | 1.06 | 2.00 | 4.00 | 8.00 | 16.00 | 2.00 | 4.00 | 8.00 | 16.00 | |||||||||||||
| vnsrl.wi v8,v16,13 | 1.00 | 1.00 | 2.00 | 4.00 | 8.00 | 16.00 | 1.00 | 2.00 | 4.00 | 8.00 | 16.00 | 2.00 | 4.00 | 8.00 | 16.00 | |||||||||||||
| vnsrl.wi v8,v16,13,v0.t | 1.00 | 1.00 | 2.00 | 4.00 | 8.00 | 16.00 | 1.00 | 2.00 | 4.00 | 8.00 | 16.00 | 2.00 | 4.00 | 8.00 | 16.00 | |||||||||||||
| vnsra.wv v8,v16,v24 | 1.00 | 1.00 | 2.00 | 4.00 | 8.00 | 16.00 | 1.00 | 2.00 | 4.00 | 8.00 | 16.00 | 2.00 | 4.00 | 8.00 | 16.00 | |||||||||||||
| vnsra.wv v8,v16,v24,v0.t | 1.00 | 1.00 | 2.00 | 4.00 | 8.00 | 16.00 | 1.00 | 2.00 | 4.00 | 8.00 | 16.00 | 2.00 | 4.00 | 8.00 | 16.00 | |||||||||||||
| vnsra.wx v8,v16,t0 | 1.06 | 1.06 | 2.00 | 4.00 | 8.00 | 16.00 | 1.06 | 2.00 | 4.00 | 8.00 | 16.00 | 2.00 | 4.00 | 8.00 | 16.00 | |||||||||||||
| vnsra.wx v8,v16,t0,v0.t | 1.06 | 1.06 | 2.00 | 4.00 | 8.00 | 16.00 | 1.06 | 2.00 | 4.00 | 8.00 | 16.00 | 2.00 | 4.00 | 8.00 | 16.00 | |||||||||||||
| vnsra.wi v8,v16,13 | 1.00 | 1.00 | 2.00 | 4.00 | 8.00 | 16.00 | 1.00 | 2.00 | 4.00 | 8.00 | 16.00 | 2.00 | 4.00 | 8.00 | 16.00 | |||||||||||||
| vnsra.wi v8,v16,13,v0.t | 1.00 | 1.00 | 2.00 | 4.00 | 8.00 | 16.00 | 1.00 | 2.00 | 4.00 | 8.00 | 16.00 | 2.00 | 4.00 | 8.00 | 16.00 | |||||||||||||
| vnclipu.wv v8,v16,v24 | 1.00 | 1.00 | 2.00 | 4.00 | 8.00 | 16.00 | 1.00 | 2.00 | 4.00 | 8.00 | 16.00 | 2.00 | 4.00 | 8.00 | 16.00 | |||||||||||||
| vnclipu.wv v8,v16,v24,v0.t | 1.00 | 1.00 | 2.00 | 4.00 | 8.00 | 16.00 | 1.00 | 2.00 | 4.00 | 8.00 | 16.00 | 2.00 | 4.00 | 8.00 | 16.00 | |||||||||||||
| vnclipu.wx v8,v16,t0 | 1.06 | 1.06 | 2.00 | 4.00 | 8.00 | 16.00 | 1.06 | 2.00 | 4.00 | 8.00 | 16.00 | 2.00 | 4.00 | 8.00 | 16.00 | |||||||||||||
| vnclipu.wx v8,v16,t0,v0.t | 1.06 | 1.06 | 2.00 | 4.00 | 8.00 | 16.00 | 1.06 | 2.00 | 4.00 | 8.00 | 16.00 | 2.00 | 4.00 | 8.00 | 16.00 | |||||||||||||
| vnclipu.wi v8,v16,13 | 1.00 | 1.00 | 2.00 | 4.00 | 8.00 | 16.00 | 1.00 | 2.00 | 4.00 | 8.00 | 16.00 | 2.00 | 4.00 | 8.00 | 16.00 | |||||||||||||
| vnclipu.wi v8,v16,13,v0.t | 1.00 | 1.00 | 2.00 | 4.00 | 8.00 | 16.00 | 1.00 | 2.00 | 4.00 | 8.00 | 16.00 | 2.00 | 4.00 | 8.00 | 16.00 | |||||||||||||
| vnclip.wv v8,v16,v24 | 1.00 | 1.00 | 2.00 | 4.00 | 8.00 | 16.00 | 1.00 | 2.00 | 4.00 | 8.00 | 16.00 | 2.00 | 4.00 | 8.00 | 16.00 | |||||||||||||
| vnclip.wv v8,v16,v24,v0.t | 1.00 | 1.00 | 2.00 | 4.00 | 8.00 | 16.00 | 1.00 | 2.00 | 4.00 | 8.00 | 16.00 | 2.00 | 4.00 | 8.00 | 16.00 | |||||||||||||
| vnclip.wx v8,v16,t0 | 1.06 | 1.06 | 2.00 | 4.00 | 8.00 | 16.00 | 1.06 | 2.00 | 4.00 | 8.00 | 16.00 | 2.00 | 4.00 | 8.00 | 16.00 | |||||||||||||
| vnclip.wx v8,v16,t0,v0.t | 1.06 | 1.06 | 2.00 | 4.00 | 8.00 | 16.00 | 1.06 | 2.00 | 4.00 | 8.00 | 16.00 | 2.00 | 4.00 | 8.00 | 16.00 | |||||||||||||
| vnclip.wi v8,v16,13 | 1.00 | 1.00 | 2.00 | 4.00 | 8.00 | 16.00 | 1.00 | 2.00 | 4.00 | 8.00 | 16.00 | 2.00 | 4.00 | 8.00 | 16.00 | |||||||||||||
| vnclip.wi v8,v16,13,v0.t | 1.00 | 1.00 | 2.00 | 4.00 | 8.00 | 16.00 | 1.00 | 2.00 | 4.00 | 8.00 | 16.00 | 2.00 | 4.00 | 8.00 | 16.00 | |||||||||||||
| vnmsub.vv v8,v16,v24 | 1.00 | 1.00 | 1.00 | 1.00 | 2.00 | 4.00 | 1.00 | 1.00 | 1.00 | 2.00 | 4.00 | 1.00 | 1.00 | 2.00 | 5.00 | |||||||||||||
| vnmsub.vv v8,v16,v24,v0.t | 1.00 | 1.00 | 1.00 | 1.00 | 2.00 | 4.00 | 1.00 | 1.00 | 1.00 | 2.00 | 4.00 | 1.00 | 1.00 | 2.00 | 5.00 | |||||||||||||
| vnmsub.vx v8,t0,v16 | 1.06 | 1.06 | 1.06 | 1.06 | 2.00 | 4.00 | 1.06 | 1.06 | 1.06 | 2.00 | 4.00 | 1.06 | 1.06 | 2.00 | 5.00 | |||||||||||||
| vnmsub.vx v8,t0,v16,v0.t | 1.06 | 1.06 | 1.06 | 1.06 | 2.00 | 4.00 | 1.06 | 1.06 | 1.06 | 2.00 | 4.00 | 1.06 | 1.06 | 2.00 | 5.00 | |||||||||||||
| vnmsac.vv v8,v16,v24 | 1.00 | 1.00 | 1.00 | 1.00 | 2.00 | 4.00 | 1.00 | 1.00 | 1.00 | 2.00 | 4.00 | 1.00 | 1.00 | 2.00 | 5.00 | |||||||||||||
| vnmsac.vv v8,v16,v24,v0.t | 1.00 | 1.00 | 1.00 | 1.00 | 2.00 | 4.00 | 1.00 | 1.00 | 1.00 | 2.00 | 4.00 | 1.00 | 1.00 | 2.00 | 5.00 | |||||||||||||
| vnmsac.vx v8,t0,v16 | 1.06 | 1.06 | 1.06 | 1.06 | 2.00 | 4.00 | 1.06 | 1.06 | 1.06 | 2.00 | 4.00 | 1.06 | 1.06 | 2.00 | 5.00 | |||||||||||||
| vnmsac.vx v8,t0,v16,v0.t | 1.06 | 1.06 | 1.06 | 1.06 | 2.00 | 4.00 | 1.06 | 1.06 | 1.06 | 2.00 | 4.00 | 1.06 | 1.06 | 2.00 | 5.00 | |||||||||||||
| vwaddu.vv v8,v16,v24 | 1.00 | 1.00 | 2.00 | 2.00 | 4.00 | 8.00 | 1.00 | 2.00 | 2.00 | 4.00 | 8.00 | 2.00 | 2.00 | 4.00 | 8.00 | |||||||||||||
| vwaddu.vv v8,v16,v24,v0.t | 1.00 | 1.00 | 2.00 | 2.00 | 4.00 | 8.00 | 1.00 | 2.00 | 2.00 | 4.00 | 8.00 | 2.00 | 2.00 | 4.00 | 8.00 | |||||||||||||
| vwaddu.vx v8,v16,t0 | 1.06 | 1.06 | 2.00 | 2.00 | 4.00 | 8.00 | 1.06 | 2.00 | 2.00 | 4.00 | 8.00 | 2.00 | 2.00 | 4.00 | 8.00 | |||||||||||||
| vwaddu.vx v8,v16,t0,v0.t | 1.06 | 1.06 | 2.00 | 2.00 | 4.00 | 8.00 | 1.06 | 2.00 | 2.00 | 4.00 | 8.00 | 2.00 | 2.00 | 4.00 | 8.00 | |||||||||||||
| vwadd.vv v8,v16,v24 | 1.00 | 1.00 | 2.00 | 2.00 | 4.00 | 8.00 | 1.00 | 2.00 | 2.00 | 4.00 | 8.00 | 2.00 | 2.00 | 4.00 | 8.00 | |||||||||||||
| vwadd.vv v8,v16,v24,v0.t | 1.00 | 1.00 | 2.00 | 2.00 | 4.00 | 8.00 | 1.00 | 2.00 | 2.00 | 4.00 | 8.00 | 2.00 | 2.00 | 4.00 | 8.00 | |||||||||||||
| vwadd.vx v8,v16,t0 | 1.06 | 1.06 | 2.00 | 2.00 | 4.00 | 8.00 | 1.06 | 2.00 | 2.00 | 4.00 | 8.00 | 2.00 | 2.00 | 4.00 | 8.00 | |||||||||||||
| vwadd.vx v8,v16,t0,v0.t | 1.06 | 1.06 | 2.00 | 2.00 | 4.00 | 8.00 | 1.06 | 2.00 | 2.00 | 4.00 | 8.00 | 2.00 | 2.00 | 4.00 | 8.00 | |||||||||||||
| vwsubu.vv v8,v16,v24 | 1.00 | 1.00 | 2.00 | 2.00 | 4.00 | 8.00 | 1.00 | 2.00 | 2.00 | 4.00 | 8.00 | 2.00 | 2.00 | 4.00 | 8.00 | |||||||||||||
| vwsubu.vv v8,v16,v24,v0.t | 1.00 | 1.00 | 2.00 | 2.00 | 4.00 | 8.00 | 1.00 | 2.00 | 2.00 | 4.00 | 8.00 | 2.00 | 2.00 | 4.00 | 8.00 | |||||||||||||
| vwsubu.vx v8,v16,t0 | 1.06 | 1.06 | 2.00 | 2.00 | 4.00 | 8.00 | 1.06 | 2.00 | 2.00 | 4.00 | 8.00 | 2.00 | 2.00 | 4.00 | 8.00 | |||||||||||||
| vwsubu.vx v8,v16,t0,v0.t | 1.06 | 1.06 | 2.00 | 2.00 | 4.00 | 8.00 | 1.06 | 2.00 | 2.00 | 4.00 | 8.00 | 2.00 | 2.00 | 4.00 | 8.00 | |||||||||||||
| vwsub.vv v8,v16,v24 | 1.00 | 1.00 | 2.00 | 2.00 | 4.00 | 8.00 | 1.00 | 2.00 | 2.00 | 4.00 | 8.00 | 2.00 | 2.00 | 4.00 | 8.00 | |||||||||||||
| vwsub.vv v8,v16,v24,v0.t | 1.00 | 1.00 | 2.00 | 2.00 | 4.00 | 8.00 | 1.00 | 2.00 | 2.00 | 4.00 | 8.00 | 2.00 | 2.00 | 4.00 | 8.00 | |||||||||||||
| vwsub.vx v8,v16,t0 | 1.06 | 1.06 | 2.00 | 2.00 | 4.00 | 8.00 | 1.06 | 2.00 | 2.00 | 4.00 | 8.00 | 2.00 | 2.00 | 4.00 | 8.00 | |||||||||||||
| vwsub.vx v8,v16,t0,v0.t | 1.06 | 1.06 | 2.00 | 2.00 | 4.00 | 8.00 | 1.06 | 2.00 | 2.00 | 4.00 | 8.00 | 2.00 | 2.00 | 4.00 | 8.00 | |||||||||||||
| vwaddu.wv v8,v16,v24 | 1.00 | 1.00 | 2.00 | 2.00 | 4.00 | 8.00 | 1.00 | 2.00 | 2.00 | 4.00 | 8.00 | 2.00 | 2.00 | 4.00 | 8.00 | |||||||||||||
| vwaddu.wv v8,v16,v24,v0.t | 1.00 | 1.00 | 2.00 | 2.00 | 4.00 | 8.00 | 1.00 | 2.00 | 2.00 | 4.00 | 8.00 | 2.00 | 2.00 | 4.00 | 8.00 | |||||||||||||
| vwaddu.wx v8,v16,t0 | 1.06 | 1.06 | 2.00 | 2.00 | 4.00 | 8.00 | 1.06 | 2.00 | 2.00 | 4.00 | 8.00 | 2.00 | 2.00 | 4.00 | 8.00 | |||||||||||||
| vwaddu.wx v8,v16,t0,v0.t | 1.06 | 1.06 | 2.00 | 2.00 | 4.00 | 8.00 | 1.06 | 2.00 | 2.00 | 4.00 | 8.00 | 2.00 | 2.00 | 4.00 | 8.00 | |||||||||||||
| vwadd.wv v8,v16,v24 | 1.00 | 1.00 | 2.00 | 2.00 | 4.00 | 8.00 | 1.00 | 2.00 | 2.00 | 4.00 | 8.00 | 2.00 | 2.00 | 4.00 | 8.00 | |||||||||||||
| vwadd.wv v8,v16,v24,v0.t | 1.00 | 1.00 | 2.00 | 2.00 | 4.00 | 8.00 | 1.00 | 2.00 | 2.00 | 4.00 | 8.00 | 2.00 | 2.00 | 4.00 | 8.00 | |||||||||||||
| vwadd.wx v8,v16,t0 | 1.06 | 1.06 | 2.00 | 2.00 | 4.00 | 8.00 | 1.06 | 2.00 | 2.00 | 4.00 | 8.00 | 2.00 | 2.00 | 4.00 | 8.00 | |||||||||||||
| vwadd.wx v8,v16,t0,v0.t | 1.06 | 1.06 | 2.00 | 2.00 | 4.00 | 8.00 | 1.06 | 2.00 | 2.00 | 4.00 | 8.00 | 2.00 | 2.00 | 4.00 | 8.00 | |||||||||||||
| vwsubu.wv v8,v16,v24 | 1.00 | 1.00 | 2.00 | 2.00 | 4.00 | 8.00 | 1.00 | 2.00 | 2.00 | 4.00 | 8.00 | 2.00 | 2.00 | 4.00 | 8.00 | |||||||||||||
| vwsubu.wv v8,v16,v24,v0.t | 1.00 | 1.00 | 2.00 | 2.00 | 4.00 | 8.00 | 1.00 | 2.00 | 2.00 | 4.00 | 8.00 | 2.00 | 2.00 | 4.00 | 8.00 | |||||||||||||
| vwsubu.wx v8,v16,t0 | 1.06 | 1.06 | 2.00 | 2.00 | 4.00 | 8.00 | 1.06 | 2.00 | 2.00 | 4.00 | 8.00 | 2.00 | 2.00 | 4.00 | 8.00 | |||||||||||||
| vwsubu.wx v8,v16,t0,v0.t | 1.06 | 1.06 | 2.00 | 2.00 | 4.00 | 8.00 | 1.06 | 2.00 | 2.00 | 4.00 | 8.00 | 2.00 | 2.00 | 4.00 | 8.00 | |||||||||||||
| vwsub.wv v8,v16,v24 | 1.00 | 1.00 | 2.00 | 2.00 | 4.00 | 8.00 | 1.00 | 2.00 | 2.00 | 4.00 | 8.00 | 2.00 | 2.00 | 4.00 | 8.00 | |||||||||||||
| vwsub.wv v8,v16,v24,v0.t | 1.00 | 1.00 | 2.00 | 2.00 | 4.00 | 8.00 | 1.00 | 2.00 | 2.00 | 4.00 | 8.00 | 2.00 | 2.00 | 4.00 | 8.00 | |||||||||||||
| vwsub.wx v8,v16,t0 | 1.06 | 1.06 | 2.00 | 2.00 | 4.00 | 8.00 | 1.06 | 2.00 | 2.00 | 4.00 | 8.00 | 2.00 | 2.00 | 4.00 | 8.00 | |||||||||||||
| vwsub.wx v8,v16,t0,v0.t | 1.06 | 1.06 | 2.00 | 2.00 | 4.00 | 8.00 | 1.06 | 2.00 | 2.00 | 4.00 | 8.00 | 2.00 | 2.00 | 4.00 | 8.00 | |||||||||||||
| vwmulu.vv v8,v16,v24 | 1.00 | 1.00 | 2.00 | 2.00 | 4.00 | 8.00 | 1.00 | 2.00 | 2.00 | 4.00 | 8.00 | 2.00 | 2.00 | 4.00 | 8.00 | |||||||||||||
| vwmulu.vv v8,v16,v24,v0.t | 1.00 | 1.00 | 2.00 | 2.00 | 4.00 | 8.00 | 1.00 | 2.00 | 2.00 | 4.00 | 8.00 | 2.00 | 2.00 | 4.00 | 8.00 | |||||||||||||
| vwmulu.vx v8,v16,t0 | 1.06 | 1.06 | 2.00 | 2.00 | 4.00 | 8.00 | 1.06 | 2.00 | 2.00 | 4.00 | 8.00 | 2.00 | 2.00 | 4.00 | 8.00 | |||||||||||||
| vwmulu.vx v8,v16,t0,v0.t | 1.06 | 1.06 | 2.00 | 2.00 | 4.00 | 8.00 | 1.06 | 2.00 | 2.00 | 4.00 | 8.00 | 2.00 | 2.00 | 4.00 | 8.00 | |||||||||||||
| vwmulsu.vv v8,v16,v24 | 1.00 | 1.00 | 2.00 | 2.00 | 4.00 | 8.00 | 1.00 | 2.00 | 2.00 | 4.00 | 8.00 | 2.00 | 2.00 | 4.00 | 8.00 | |||||||||||||
| vwmulsu.vv v8,v16,v24,v0.t | 1.00 | 1.00 | 2.00 | 2.00 | 4.00 | 8.00 | 1.00 | 2.00 | 2.00 | 4.00 | 8.00 | 2.00 | 2.00 | 4.00 | 8.00 | |||||||||||||
| vwmulsu.vx v8,v16,t0 | 1.06 | 1.06 | 2.00 | 2.00 | 4.00 | 8.00 | 1.06 | 2.00 | 2.00 | 4.00 | 8.00 | 2.00 | 2.00 | 4.00 | 8.00 | |||||||||||||
| vwmulsu.vx v8,v16,t0,v0.t | 1.06 | 1.06 | 2.00 | 2.00 | 4.00 | 8.00 | 1.06 | 2.00 | 2.00 | 4.00 | 8.00 | 2.00 | 2.00 | 4.00 | 8.00 | |||||||||||||
| vwmul.vv v8,v16,v24 | 1.00 | 1.00 | 2.00 | 2.00 | 4.00 | 8.00 | 1.00 | 2.00 | 2.00 | 4.00 | 8.00 | 2.00 | 2.00 | 4.00 | 8.00 | |||||||||||||
| vwmul.vv v8,v16,v24,v0.t | 1.00 | 1.00 | 2.00 | 2.00 | 4.00 | 8.00 | 1.00 | 2.00 | 2.00 | 4.00 | 8.00 | 2.00 | 2.00 | 4.00 | 8.00 | |||||||||||||
| vwmul.vx v8,v16,t0 | 1.06 | 1.06 | 2.00 | 2.00 | 4.00 | 8.00 | 1.06 | 2.00 | 2.00 | 4.00 | 8.00 | 2.00 | 2.00 | 4.00 | 8.00 | |||||||||||||
| vwmul.vx v8,v16,t0,v0.t | 1.06 | 1.06 | 2.00 | 2.00 | 4.00 | 8.00 | 1.06 | 2.00 | 2.00 | 4.00 | 8.00 | 2.00 | 2.00 | 4.00 | 8.00 | |||||||||||||
| vwmaccu.vv v8,v16,v24 | 1.00 | 1.00 | 2.00 | 2.00 | 4.00 | 8.00 | 1.00 | 2.00 | 2.00 | 4.00 | 8.00 | 2.00 | 2.00 | 4.00 | 8.00 | |||||||||||||
| vwmaccu.vv v8,v16,v24,v0.t | 1.00 | 1.00 | 2.00 | 2.00 | 4.00 | 8.00 | 1.00 | 2.00 | 2.00 | 4.00 | 8.00 | 2.00 | 2.00 | 4.00 | 8.00 | |||||||||||||
| vwmaccu.vx v8,t0,v16 | 1.06 | 1.06 | 2.00 | 2.00 | 4.00 | 8.00 | 1.06 | 2.00 | 2.00 | 4.00 | 8.00 | 2.00 | 2.00 | 4.00 | 8.00 | |||||||||||||
| vwmaccu.vx v8,t0,v16,v0.t | 1.06 | 1.06 | 2.00 | 2.00 | 4.00 | 8.00 | 1.06 | 2.00 | 2.00 | 4.00 | 8.00 | 2.00 | 2.00 | 4.00 | 8.00 | |||||||||||||
| vwmacc.vv v8,v16,v24 | 1.00 | 1.00 | 2.00 | 2.00 | 4.00 | 8.00 | 1.00 | 2.00 | 2.00 | 4.00 | 8.00 | 2.00 | 2.00 | 4.00 | 8.00 | |||||||||||||
| vwmacc.vv v8,v16,v24,v0.t | 1.00 | 1.00 | 2.00 | 2.00 | 4.00 | 8.00 | 1.00 | 2.00 | 2.00 | 4.00 | 8.00 | 2.00 | 2.00 | 4.00 | 8.00 | |||||||||||||
| vwmacc.vx v8,t0,v16 | 1.06 | 1.06 | 2.00 | 2.00 | 4.00 | 8.00 | 1.06 | 2.00 | 2.00 | 4.00 | 8.00 | 2.00 | 2.00 | 4.00 | 8.00 | |||||||||||||
| vwmacc.vx v8,t0,v16,v0.t | 1.06 | 1.06 | 2.00 | 2.00 | 4.00 | 8.00 | 1.06 | 2.00 | 2.00 | 4.00 | 8.00 | 2.00 | 2.00 | 4.00 | 8.00 | |||||||||||||
| vwmaccsu.vv v8,v16,v24 | 1.00 | 1.00 | 2.00 | 2.00 | 4.00 | 8.00 | 1.00 | 2.00 | 2.00 | 4.00 | 8.00 | 2.00 | 2.00 | 4.00 | 8.00 | |||||||||||||
| vwmaccsu.vv v8,v16,v24,v0.t | 1.00 | 1.00 | 2.00 | 2.00 | 4.00 | 8.00 | 1.00 | 2.00 | 2.00 | 4.00 | 8.00 | 2.00 | 2.00 | 4.00 | 8.00 | |||||||||||||
| vwmaccsu.vx v8,t0,v16 | 1.06 | 1.06 | 2.00 | 2.00 | 4.00 | 8.00 | 1.06 | 2.00 | 2.00 | 4.00 | 8.00 | 2.00 | 2.00 | 4.00 | 8.00 | |||||||||||||
| vwmaccsu.vx v8,t0,v16,v0.t | 1.06 | 1.06 | 2.00 | 2.00 | 4.00 | 8.00 | 1.06 | 2.00 | 2.00 | 4.00 | 8.00 | 2.00 | 2.00 | 4.00 | 8.00 | |||||||||||||
| vwmaccus.vx v8,t0,v16 | 1.06 | 1.06 | 2.00 | 2.00 | 4.00 | 8.00 | 1.06 | 2.00 | 2.00 | 4.00 | 8.00 | 2.00 | 2.00 | 4.00 | 8.00 | |||||||||||||
| vwmaccus.vx v8,t0,v16,v0.t | 1.06 | 1.06 | 2.00 | 2.00 | 4.00 | 8.00 | 1.06 | 2.00 | 2.00 | 4.00 | 8.00 | 2.00 | 2.00 | 4.00 | 8.00 | |||||||||||||
| vfadd.vv v8,v16,v24 | 1.00 | 1.00 | 1.00 | 2.00 | 4.00 | 8.00 | 1.00 | 1.00 | 2.00 | 4.00 | 8.00 | 1.00 | 2.00 | 4.00 | 8.00 | |||||||||||||
| vfadd.vv v8,v16,v24,v0.t | 1.00 | 1.00 | 1.00 | 2.00 | 4.00 | 8.00 | 1.00 | 1.00 | 2.00 | 4.00 | 8.00 | 1.00 | 2.00 | 4.00 | 8.00 | |||||||||||||
| vfadd.vf v8,v16,ft0 | 1.00 | 1.00 | 1.00 | 2.00 | 4.00 | 8.00 | 1.00 | 1.00 | 2.00 | 4.00 | 8.00 | 1.00 | 2.00 | 4.00 | 8.00 | |||||||||||||
| vfadd.vf v8,v16,ft0,v0.t | 1.00 | 1.00 | 1.00 | 2.00 | 4.00 | 8.00 | 1.00 | 1.00 | 2.00 | 4.00 | 8.00 | 1.00 | 2.00 | 4.00 | 8.00 | |||||||||||||
| vfsub.vv v8,v16,v24 | 1.00 | 1.00 | 1.00 | 2.00 | 4.00 | 8.00 | 1.00 | 1.00 | 2.00 | 4.00 | 8.00 | 1.00 | 2.00 | 4.00 | 8.00 | |||||||||||||
| vfsub.vv v8,v16,v24,v0.t | 1.00 | 1.00 | 1.00 | 2.00 | 4.00 | 8.00 | 1.00 | 1.00 | 2.00 | 4.00 | 8.00 | 1.00 | 2.00 | 4.00 | 8.00 | |||||||||||||
| vfsub.vf v8,v16,ft0 | 1.00 | 1.00 | 1.00 | 2.00 | 4.00 | 8.00 | 1.00 | 1.00 | 2.00 | 4.00 | 8.00 | 1.00 | 2.00 | 4.00 | 8.00 | |||||||||||||
| vfsub.vf v8,v16,ft0,v0.t | 1.00 | 1.00 | 1.00 | 2.00 | 4.00 | 8.00 | 1.00 | 1.00 | 2.00 | 4.00 | 8.00 | 1.00 | 2.00 | 4.00 | 8.00 | |||||||||||||
| vfmin.vv v8,v16,v24 | 1.00 | 1.00 | 1.00 | 2.00 | 4.00 | 8.00 | 1.00 | 1.00 | 2.00 | 4.00 | 8.00 | 1.00 | 2.00 | 4.00 | 8.00 | |||||||||||||
| vfmin.vv v8,v16,v24,v0.t | 1.00 | 1.00 | 1.00 | 2.00 | 4.00 | 8.00 | 1.00 | 1.00 | 2.00 | 4.00 | 8.00 | 1.00 | 2.00 | 4.00 | 8.00 | |||||||||||||
| vfmin.vf v8,v16,ft0 | 1.00 | 1.00 | 1.00 | 2.00 | 4.00 | 8.00 | 1.00 | 1.00 | 2.00 | 4.00 | 8.00 | 1.00 | 2.00 | 4.00 | 8.00 | |||||||||||||
| vfmin.vf v8,v16,ft0,v0.t | 1.00 | 1.00 | 1.00 | 2.00 | 4.00 | 8.00 | 1.00 | 1.00 | 2.00 | 4.00 | 8.00 | 1.00 | 2.00 | 4.00 | 8.00 | |||||||||||||
| vfmax.vv v8,v16,v24 | 1.00 | 1.00 | 1.00 | 2.00 | 4.00 | 8.00 | 1.00 | 1.00 | 2.00 | 4.00 | 8.00 | 1.00 | 2.00 | 4.00 | 8.00 | |||||||||||||
| vfmax.vv v8,v16,v24,v0.t | 1.00 | 1.00 | 1.00 | 2.00 | 4.00 | 8.00 | 1.00 | 1.00 | 2.00 | 4.00 | 8.00 | 1.00 | 2.00 | 4.00 | 8.00 | |||||||||||||
| vfmax.vf v8,v16,ft0 | 1.00 | 1.00 | 1.00 | 2.00 | 4.00 | 8.00 | 1.00 | 1.00 | 2.00 | 4.00 | 8.00 | 1.00 | 2.00 | 4.00 | 8.00 | |||||||||||||
| vfmax.vf v8,v16,ft0,v0.t | 1.00 | 1.00 | 1.00 | 2.00 | 4.00 | 8.00 | 1.00 | 1.00 | 2.00 | 4.00 | 8.00 | 1.00 | 2.00 | 4.00 | 8.00 | |||||||||||||
| vfsgnj.vv v8,v16,v24 | 1.00 | 1.00 | 2.00 | 4.00 | 8.00 | 16.00 | 1.00 | 2.00 | 4.00 | 8.00 | 16.00 | 2.00 | 4.00 | 8.00 | 16.00 | |||||||||||||
| vfsgnj.vv v8,v16,v24,v0.t | 1.00 | 1.00 | 2.00 | 4.00 | 8.00 | 16.00 | 1.00 | 2.00 | 4.00 | 8.00 | 16.00 | 2.00 | 4.00 | 8.00 | 16.00 | |||||||||||||
| vfsgnj.vf v8,v16,ft0 | 1.00 | 1.00 | 2.00 | 4.00 | 8.00 | 16.00 | 1.00 | 2.00 | 4.00 | 8.00 | 16.00 | 2.00 | 4.00 | 8.00 | 16.00 | |||||||||||||
| vfsgnj.vf v8,v16,ft0,v0.t | 1.00 | 1.00 | 2.00 | 4.00 | 8.00 | 16.00 | 1.00 | 2.00 | 4.00 | 8.00 | 16.00 | 2.00 | 4.00 | 8.00 | 16.00 | |||||||||||||
| vfsgnjn.vv v8,v16,v24 | 1.00 | 1.00 | 2.00 | 4.00 | 8.00 | 16.00 | 1.00 | 2.00 | 4.00 | 8.00 | 16.00 | 2.00 | 4.00 | 8.00 | 16.00 | |||||||||||||
| vfsgnjn.vv v8,v16,v24,v0.t | 1.00 | 1.00 | 2.00 | 4.00 | 8.00 | 16.00 | 1.00 | 2.00 | 4.00 | 8.00 | 16.00 | 2.00 | 4.00 | 8.00 | 16.00 | |||||||||||||
| vfsgnjn.vf v8,v16,ft0 | 1.00 | 1.00 | 2.00 | 4.00 | 8.00 | 16.00 | 1.00 | 2.00 | 4.00 | 8.00 | 16.00 | 2.00 | 4.00 | 8.00 | 16.00 | |||||||||||||
| vfsgnjn.vf v8,v16,ft0,v0.t | 1.00 | 1.00 | 2.00 | 4.00 | 8.00 | 16.00 | 1.00 | 2.00 | 4.00 | 8.00 | 16.00 | 2.00 | 4.00 | 8.00 | 16.00 | |||||||||||||
| vfsgnjx.vv v8,v16,v24 | 1.00 | 1.00 | 2.00 | 4.00 | 8.00 | 16.00 | 1.00 | 2.00 | 4.00 | 8.00 | 16.00 | 2.00 | 4.00 | 8.00 | 16.00 | |||||||||||||
| vfsgnjx.vv v8,v16,v24,v0.t | 1.00 | 1.00 | 2.00 | 4.00 | 8.00 | 16.00 | 1.00 | 2.00 | 4.00 | 8.00 | 16.00 | 2.00 | 4.00 | 8.00 | 16.00 | |||||||||||||
| vfsgnjx.vf v8,v16,ft0 | 1.00 | 1.00 | 2.00 | 4.00 | 8.00 | 16.00 | 1.00 | 2.00 | 4.00 | 8.00 | 16.00 | 2.00 | 4.00 | 8.00 | 16.00 | |||||||||||||
| vfsgnjx.vf v8,v16,ft0,v0.t | 1.00 | 1.00 | 2.00 | 4.00 | 8.00 | 16.00 | 1.00 | 2.00 | 4.00 | 8.00 | 16.00 | 2.00 | 4.00 | 8.00 | 16.00 | |||||||||||||
| vfslide1up.vf v8,v16,ft0 | 1.00 | 1.00 | 2.00 | 4.00 | 8.00 | 16.00 | 1.00 | 2.00 | 4.00 | 8.00 | 16.00 | 2.00 | 4.00 | 8.00 | 16.00 | |||||||||||||
| vfslide1up.vf v8,v16,ft0,v0.t | 1.00 | 1.00 | 2.00 | 4.00 | 8.00 | 16.00 | 1.00 | 2.00 | 4.00 | 8.00 | 16.00 | 2.00 | 4.00 | 8.00 | 16.00 | |||||||||||||
| vfslide1down.vf v8,v16,ft0 | 1.00 | 1.00 | 3.00 | 5.00 | 9.00 | 17.00 | 1.00 | 3.00 | 5.00 | 9.00 | 17.00 | 3.00 | 5.00 | 9.00 | 17.00 | |||||||||||||
| vfslide1down.vf v8,v16,ft0,v0.t | 1.00 | 1.00 | 3.00 | 5.00 | 9.00 | 17.00 | 1.00 | 3.00 | 5.00 | 9.00 | 17.00 | 3.00 | 5.00 | 9.00 | 17.00 | |||||||||||||
| vfredusum.vs v8,v16,v24 | 8.00 | 8.00 | 8.00 | 14.00 | 20.00 | 56.99 | 5.00 | 6.50 | 11.00 | 17.00 | 53.99 | 4.00 | 7.00 | 15.50 | 51.99 | |||||||||||||
| vfredusum.vs v8,v16,v24,v0.t | 8.00 | 8.00 | 8.00 | 14.00 | 20.00 | 57.00 | 5.00 | 6.50 | 11.00 | 17.00 | 53.99 | 4.00 | 7.00 | 15.50 | 52.00 | |||||||||||||
| vfredosum.vs v8,v16,v24 | 8.00 | 20.00 | 23.00 | 47.00 | 95.98 | 383.65 | 8.00 | 11.00 | 23.00 | 48.00 | 191.90 | 5.50 | 11.50 | 24.50 | 96.98 | |||||||||||||
| vfredosum.vs v8,v16,v24,v0.t | 8.00 | 20.00 | 23.00 | 47.00 | 95.98 | 383.65 | 8.00 | 11.00 | 23.00 | 47.99 | 191.90 | 5.50 | 11.50 | 24.50 | 96.98 | |||||||||||||
| vfredmin.vs v8,v16,v24 | 8.00 | 8.00 | 8.00 | 14.00 | 20.00 | 57.00 | 5.00 | 6.50 | 11.00 | 17.00 | 54.00 | 4.00 | 7.00 | 14.00 | 51.00 | |||||||||||||
| vfredmin.vs v8,v16,v24,v0.t | 8.00 | 8.00 | 8.00 | 14.00 | 20.00 | 57.00 | 5.00 | 6.50 | 11.00 | 17.00 | 54.00 | 4.00 | 7.00 | 14.00 | 50.99 | |||||||||||||
| vfredmax.vs v8,v16,v24 | 8.00 | 8.00 | 8.00 | 14.00 | 20.00 | 56.99 | 5.00 | 6.50 | 11.00 | 17.00 | 53.99 | 4.00 | 7.00 | 14.00 | 51.00 | |||||||||||||
| vfredmax.vs v8,v16,v24,v0.t | 8.00 | 8.00 | 8.00 | 14.00 | 20.00 | 56.99 | 5.00 | 6.50 | 11.00 | 17.00 | 53.99 | 4.00 | 7.00 | 14.00 | 51.00 | |||||||||||||
| vfmerge.vfm v8,v16,ft0,v0 | 1.00 | 1.00 | 2.00 | 4.00 | 8.00 | 16.00 | 1.00 | 2.00 | 4.00 | 8.00 | 16.00 | 2.00 | 4.00 | 8.00 | 16.00 | |||||||||||||
| vfmv.v.f v8,ft0 | 1.00 | 1.00 | 2.00 | 4.00 | 8.00 | 16.00 | 1.00 | 2.00 | 4.00 | 8.00 | 16.00 | 2.00 | 4.00 | 8.00 | 16.00 | |||||||||||||
| vmfeq.vv v8,v16,v24 | 1.00 | 1.00 | 2.00 | 2.50 | 5.00 | 18.00 | 1.00 | 2.00 | 2.50 | 5.00 | 18.00 | 2.00 | 2.50 | 5.00 | 18.00 | |||||||||||||
| vmfeq.vv v8,v16,v24,v0.t | 1.00 | 1.00 | 2.00 | 2.50 | 5.00 | 18.00 | 1.00 | 2.00 | 2.50 | 5.00 | 18.00 | 2.00 | 2.50 | 5.00 | 18.00 | |||||||||||||
| vmfeq.vf v8,v16,ft0 | 1.00 | 1.00 | 2.00 | 2.50 | 5.00 | 18.00 | 1.00 | 2.00 | 2.50 | 5.00 | 18.00 | 2.00 | 2.50 | 5.00 | 18.00 | |||||||||||||
| vmfeq.vf v8,v16,ft0,v0.t | 1.00 | 1.00 | 2.00 | 2.50 | 5.00 | 18.00 | 1.00 | 2.00 | 2.50 | 5.00 | 18.00 | 2.00 | 2.50 | 5.00 | 18.00 | |||||||||||||
| vmfle.vv v8,v16,v24 | 1.00 | 1.00 | 2.00 | 2.50 | 5.00 | 18.00 | 1.00 | 2.00 | 2.50 | 5.00 | 18.00 | 2.00 | 2.50 | 5.00 | 18.00 | |||||||||||||
| vmfle.vv v8,v16,v24,v0.t | 1.00 | 1.00 | 2.00 | 2.50 | 5.00 | 18.00 | 1.00 | 2.00 | 2.50 | 5.00 | 18.00 | 2.00 | 2.50 | 5.00 | 18.00 | |||||||||||||
| vmfle.vf v8,v16,ft0 | 1.00 | 1.00 | 2.00 | 2.50 | 5.00 | 18.00 | 1.00 | 2.00 | 2.50 | 5.00 | 18.00 | 2.00 | 2.50 | 5.00 | 18.00 | |||||||||||||
| vmfle.vf v8,v16,ft0,v0.t | 1.00 | 1.00 | 2.00 | 2.50 | 5.00 | 18.00 | 1.00 | 2.00 | 2.50 | 5.00 | 18.00 | 2.00 | 2.50 | 5.00 | 18.00 | |||||||||||||
| vmflt.vv v8,v16,v24 | 1.00 | 1.00 | 2.00 | 2.50 | 5.00 | 18.00 | 1.00 | 2.00 | 2.50 | 5.00 | 18.00 | 2.00 | 2.50 | 5.00 | 18.00 | |||||||||||||
| vmflt.vv v8,v16,v24,v0.t | 1.00 | 1.00 | 2.00 | 2.50 | 5.00 | 18.00 | 1.00 | 2.00 | 2.50 | 5.00 | 18.00 | 2.00 | 2.50 | 5.00 | 18.00 | |||||||||||||
| vmflt.vf v8,v16,ft0 | 1.00 | 1.00 | 2.00 | 2.50 | 5.00 | 18.00 | 1.00 | 2.00 | 2.50 | 5.00 | 18.00 | 2.00 | 2.50 | 5.00 | 18.00 | |||||||||||||
| vmflt.vf v8,v16,ft0,v0.t | 1.00 | 1.00 | 2.00 | 2.50 | 5.00 | 18.00 | 1.00 | 2.00 | 2.50 | 5.00 | 18.00 | 2.00 | 2.50 | 5.00 | 18.00 | |||||||||||||
| vmfne.vv v8,v16,v24 | 1.00 | 1.00 | 2.00 | 2.50 | 5.00 | 18.00 | 1.00 | 2.00 | 2.50 | 5.00 | 18.00 | 2.00 | 2.50 | 5.00 | 18.00 | |||||||||||||
| vmfne.vv v8,v16,v24,v0.t | 1.00 | 1.00 | 2.00 | 2.50 | 5.00 | 18.00 | 1.00 | 2.00 | 2.50 | 5.00 | 18.00 | 2.00 | 2.50 | 5.00 | 18.00 | |||||||||||||
| vmfne.vf v8,v16,ft0 | 1.00 | 1.00 | 2.00 | 2.50 | 5.00 | 18.00 | 1.00 | 2.00 | 2.50 | 5.00 | 18.00 | 2.00 | 2.50 | 5.00 | 18.00 | |||||||||||||
| vmfne.vf v8,v16,ft0,v0.t | 1.00 | 1.00 | 2.00 | 2.50 | 5.00 | 18.00 | 1.00 | 2.00 | 2.50 | 5.00 | 18.00 | 2.00 | 2.50 | 5.00 | 18.00 | |||||||||||||
| vmfgt.vv v8,v16,v24 | 1.00 | 1.00 | 2.00 | 2.50 | 5.00 | 18.00 | 1.00 | 2.00 | 2.50 | 5.00 | 18.00 | 2.00 | 2.50 | 5.00 | 18.00 | |||||||||||||
| vmfgt.vv v8,v16,v24,v0.t | 1.00 | 1.00 | 2.00 | 2.50 | 5.00 | 18.00 | 1.00 | 2.00 | 2.50 | 5.00 | 18.00 | 2.00 | 2.50 | 5.00 | 18.00 | |||||||||||||
| vmfgt.vf v8,v16,ft0 | 1.00 | 1.00 | 2.00 | 2.50 | 5.00 | 18.00 | 1.00 | 2.00 | 2.50 | 5.00 | 18.00 | 2.00 | 2.50 | 5.00 | 18.00 | |||||||||||||
| vmfgt.vf v8,v16,ft0,v0.t | 1.00 | 1.00 | 2.00 | 2.50 | 5.00 | 18.00 | 1.00 | 2.00 | 2.50 | 5.00 | 18.00 | 2.00 | 2.50 | 5.00 | 18.00 | |||||||||||||
| vmfge.vv v8,v16,v24 | 1.00 | 1.00 | 2.00 | 2.50 | 5.00 | 18.00 | 1.00 | 2.00 | 2.50 | 5.00 | 18.00 | 2.00 | 2.50 | 5.00 | 18.00 | |||||||||||||
| vmfge.vv v8,v16,v24,v0.t | 1.00 | 1.00 | 2.00 | 2.50 | 5.00 | 18.00 | 1.00 | 2.00 | 2.50 | 5.00 | 18.00 | 2.00 | 2.50 | 5.00 | 18.00 | |||||||||||||
| vmfge.vf v8,v16,ft0 | 1.00 | 1.00 | 2.00 | 2.50 | 5.00 | 18.00 | 1.00 | 2.00 | 2.50 | 5.00 | 18.00 | 2.00 | 2.50 | 5.00 | 18.00 | |||||||||||||
| vmfge.vf v8,v16,ft0,v0.t | 1.00 | 1.00 | 2.00 | 2.50 | 5.00 | 18.00 | 1.00 | 2.00 | 2.50 | 5.00 | 18.00 | 2.00 | 2.50 | 5.00 | 18.00 | |||||||||||||
| vfdiv.vv v8,v16,v24 | 13.91 | 14.10 | 28.05 | 56.61 | 112.12 | 223.29 | 18.07 | 36.26 | 72.73 | 145.03 | 290.05 | 65.99 | 131.95 | 263.83 | 527.32 | |||||||||||||
| vfdiv.vv v8,v16,v24,v0.t | 13.69 | 13.96 | 27.86 | 55.65 | 111.03 | 221.92 | 18.05 | 36.31 | 72.28 | 140.11 | 276.12 | 52.49 | 106.39 | 197.83 | 390.04 | |||||||||||||
| vfdiv.vf v8,v16,ft0 | 7.06 | 7.01 | 14.19 | 27.90 | 57.07 | 113.54 | 11.11 | 22.87 | 48.37 | 96.44 | 241.91 | 18.75 | 24.00 | 48.00 | 95.99 | |||||||||||||
| vfdiv.vf v8,v16,ft0,v0.t | 7.06 | 7.10 | 14.06 | 28.31 | 56.62 | 112.04 | 11.13 | 22.33 | 48.18 | 94.79 | 181.32 | 17.06 | 24.00 | 48.00 | 95.99 | |||||||||||||
| vfrdiv.vf v8,v16,ft0 | 7.21 | 6.91 | 14.10 | 28.20 | 56.99 | 113.99 | 11.45 | 22.46 | 48.26 | 96.44 | 164.22 | 18.75 | 24.00 | 48.00 | 95.99 | |||||||||||||
| vfrdiv.vf v8,v16,ft0,v0.t | 7.10 | 7.20 | 14.40 | 28.31 | 55.87 | 112.19 | 11.41 | 22.51 | 48.07 | 92.39 | 229.61 | 17.08 | 24.00 | 48.00 | 95.99 | |||||||||||||
| vfmul.vv v8,v16,v24 | 1.00 | 1.00 | 1.00 | 2.00 | 4.00 | 8.00 | 1.00 | 1.00 | 2.00 | 4.00 | 8.00 | 1.00 | 2.00 | 4.00 | 8.00 | |||||||||||||
| vfmul.vv v8,v16,v24,v0.t | 1.00 | 1.00 | 1.00 | 2.00 | 4.00 | 8.00 | 1.00 | 1.00 | 2.00 | 4.00 | 8.00 | 1.00 | 2.00 | 4.00 | 8.00 | |||||||||||||
| vfmul.vf v8,v16,ft0 | 1.00 | 1.00 | 1.00 | 2.00 | 4.00 | 8.00 | 1.00 | 1.00 | 2.00 | 4.00 | 8.00 | 1.00 | 2.00 | 4.00 | 8.00 | |||||||||||||
| vfmul.vf v8,v16,ft0,v0.t | 1.00 | 1.00 | 1.00 | 2.00 | 4.00 | 8.00 | 1.00 | 1.00 | 2.00 | 4.00 | 8.00 | 1.00 | 2.00 | 4.00 | 8.00 | |||||||||||||
| vfrsub.vf v8,v16,ft0 | 1.00 | 1.00 | 1.00 | 2.00 | 4.00 | 8.00 | 1.00 | 1.00 | 2.00 | 4.00 | 8.00 | 1.00 | 2.00 | 4.00 | 8.00 | |||||||||||||
| vfrsub.vf v8,v16,ft0,v0.t | 1.00 | 1.00 | 1.00 | 2.00 | 4.00 | 8.00 | 1.00 | 1.00 | 2.00 | 4.00 | 8.00 | 1.00 | 2.00 | 4.00 | 8.00 | |||||||||||||
| vfmadd.vv v8,v16,v24 | 1.00 | 1.00 | 1.00 | 2.00 | 4.00 | 8.00 | 1.00 | 1.00 | 2.00 | 4.00 | 8.00 | 1.00 | 2.00 | 4.00 | 8.00 | |||||||||||||
| vfmadd.vv v8,v16,v24,v0.t | 1.00 | 1.00 | 1.00 | 2.00 | 4.00 | 8.00 | 1.00 | 1.00 | 2.00 | 4.00 | 8.00 | 1.00 | 2.00 | 4.00 | 8.00 | |||||||||||||
| vfmadd.vf v8,ft0,v16 | 1.00 | 1.00 | 1.00 | 2.00 | 4.00 | 8.00 | 1.00 | 1.00 | 2.00 | 4.00 | 8.00 | 1.00 | 2.00 | 4.00 | 8.00 | |||||||||||||
| vfmadd.vf v8,ft0,v16,v0.t | 1.00 | 1.00 | 1.00 | 2.00 | 4.00 | 8.00 | 1.00 | 1.00 | 2.00 | 4.00 | 8.00 | 1.00 | 2.00 | 4.00 | 8.00 | |||||||||||||
| vfmsub.vv v8,v16,v24 | 1.00 | 1.00 | 1.00 | 2.00 | 4.00 | 8.00 | 1.00 | 1.00 | 2.00 | 4.00 | 8.00 | 1.00 | 2.00 | 4.00 | 8.00 | |||||||||||||
| vfmsub.vv v8,v16,v24,v0.t | 1.00 | 1.00 | 1.00 | 2.00 | 4.00 | 8.00 | 1.00 | 1.00 | 2.00 | 4.00 | 8.00 | 1.00 | 2.00 | 4.00 | 8.00 | |||||||||||||
| vfmsub.vf v8,ft0,v16 | 1.00 | 1.00 | 1.00 | 2.00 | 4.00 | 8.00 | 1.00 | 1.00 | 2.00 | 4.00 | 8.00 | 1.00 | 2.00 | 4.00 | 8.00 | |||||||||||||
| vfmsub.vf v8,ft0,v16,v0.t | 1.00 | 1.00 | 1.00 | 2.00 | 4.00 | 8.00 | 1.00 | 1.00 | 2.00 | 4.00 | 8.00 | 1.00 | 2.00 | 4.00 | 8.00 | |||||||||||||
| vfmacc.vv v8,v16,v24 | 1.00 | 1.00 | 1.00 | 2.00 | 4.00 | 8.00 | 1.00 | 1.00 | 2.00 | 4.00 | 8.00 | 1.00 | 2.00 | 4.00 | 8.00 | |||||||||||||
| vfmacc.vv v8,v16,v24,v0.t | 1.00 | 1.00 | 1.00 | 2.00 | 4.00 | 8.00 | 1.00 | 1.00 | 2.00 | 4.00 | 8.00 | 1.00 | 2.00 | 4.00 | 8.00 | |||||||||||||
| vfmacc.vf v8,ft0,v16 | 1.00 | 1.00 | 1.00 | 2.00 | 4.00 | 8.00 | 1.00 | 1.00 | 2.00 | 4.00 | 8.00 | 1.00 | 2.00 | 4.00 | 8.00 | |||||||||||||
| vfmacc.vf v8,ft0,v16,v0.t | 1.00 | 1.00 | 1.00 | 2.00 | 4.00 | 8.00 | 1.00 | 1.00 | 2.00 | 4.00 | 8.00 | 1.00 | 2.00 | 4.00 | 8.00 | |||||||||||||
| vfmsac.vv v8,v16,v24 | 1.00 | 1.00 | 1.00 | 2.00 | 4.00 | 8.00 | 1.00 | 1.00 | 2.00 | 4.00 | 8.00 | 1.00 | 2.00 | 4.00 | 8.00 | |||||||||||||
| vfmsac.vv v8,v16,v24,v0.t | 1.00 | 1.00 | 1.00 | 2.00 | 4.00 | 8.00 | 1.00 | 1.00 | 2.00 | 4.00 | 8.00 | 1.00 | 2.00 | 4.00 | 8.00 | |||||||||||||
| vfmsac.vf v8,ft0,v16 | 1.00 | 1.00 | 1.00 | 2.00 | 4.00 | 8.00 | 1.00 | 1.00 | 2.00 | 4.00 | 8.00 | 1.00 | 2.00 | 4.00 | 8.00 | |||||||||||||
| vfmsac.vf v8,ft0,v16,v0.t | 1.00 | 1.00 | 1.00 | 2.00 | 4.00 | 8.00 | 1.00 | 1.00 | 2.00 | 4.00 | 8.00 | 1.00 | 2.00 | 4.00 | 8.00 | |||||||||||||
| vfnmsac.vv v8,v16,v24 | 1.00 | 1.00 | 1.00 | 2.00 | 5.00 | 1.00 | 1.00 | 2.00 | 5.00 | |||||||||||||||||||
| vfnmsac.vv v8,v16,v24,v0.t | 1.00 | 1.00 | 1.00 | 2.00 | 5.00 | 1.00 | 1.00 | 2.00 | 5.00 | |||||||||||||||||||
| vfnmsac.vf v8,ft0,v16 | 1.00 | 1.00 | 1.00 | 2.00 | 5.00 | 1.00 | 1.00 | 2.00 | 5.00 | |||||||||||||||||||
| vfnmsac.vf v8,ft0,v16,v0.t | 1.00 | 1.00 | 1.00 | 2.00 | 5.00 | 1.00 | 1.00 | 2.00 | 5.00 | |||||||||||||||||||
| vfnmacc.vv v8,v16,v24 | 1.00 | 1.00 | 1.00 | 2.00 | 5.00 | 1.00 | 1.00 | 2.00 | 5.00 | |||||||||||||||||||
| vfnmacc.vv v8,v16,v24,v0.t | 1.00 | 1.00 | 1.00 | 2.00 | 5.00 | 1.00 | 1.00 | 2.00 | 5.00 | |||||||||||||||||||
| vfnmacc.vf v8,ft0,v16 | 1.00 | 1.00 | 1.00 | 2.00 | 5.00 | 1.00 | 1.00 | 2.00 | 5.00 | |||||||||||||||||||
| vfnmacc.vf v8,ft0,v16,v0.t | 1.00 | 1.00 | 1.00 | 2.00 | 5.00 | 1.00 | 1.00 | 2.00 | 5.00 | |||||||||||||||||||
| vfnmsub.vv v8,v16,v24 | 1.00 | 1.00 | 1.00 | 2.00 | 5.00 | 1.00 | 1.00 | 2.00 | 5.00 | |||||||||||||||||||
| vfnmsub.vv v8,v16,v24,v0.t | 1.00 | 1.00 | 1.00 | 2.00 | 5.00 | 1.00 | 1.00 | 2.00 | 5.00 | |||||||||||||||||||
| vfnmsub.vf v8,ft0,v16 | 1.00 | 1.00 | 1.00 | 2.00 | 5.00 | 1.00 | 1.00 | 2.00 | 5.00 | |||||||||||||||||||
| vfnmsub.vf v8,ft0,v16,v0.t | 1.00 | 1.00 | 1.00 | 2.00 | 5.00 | 1.00 | 1.00 | 2.00 | 5.00 | |||||||||||||||||||
| vfnmadd.vv v8,v16,v24 | 1.00 | 1.00 | 1.00 | 2.00 | 5.00 | 1.00 | 1.00 | 2.00 | 5.00 | |||||||||||||||||||
| vfnmadd.vv v8,v16,v24,v0.t | 1.00 | 1.00 | 1.00 | 2.00 | 5.00 | 1.00 | 1.00 | 2.00 | 5.00 | |||||||||||||||||||
| vfnmadd.vf v8,ft0,v16 | 1.00 | 1.00 | 1.00 | 2.00 | 5.00 | 1.00 | 1.00 | 2.00 | 5.00 | |||||||||||||||||||
| vfnmadd.vf v8,ft0,v16,v0.t | 1.00 | 1.00 | 1.00 | 2.00 | 5.00 | 1.00 | 1.00 | 2.00 | 5.00 | |||||||||||||||||||
| vwredsumu.vs v8,v16,v24 | 1.00 | 1.00 | 1.00 | 1.00 | 2.00 | 5.50 | 19.00 | 1.00 | 1.00 | 1.00 | 2.00 | 5.50 | 19.00 | 1.00 | 1.00 | 2.00 | 5.50 | 19.00 | ||||||||||
| vwredsumu.vs v8,v16,v24,v0.t | 1.00 | 1.00 | 1.00 | 1.00 | 2.00 | 5.50 | 19.00 | 1.00 | 1.00 | 1.00 | 2.00 | 5.50 | 19.00 | 1.00 | 1.00 | 2.00 | 5.50 | 19.00 | ||||||||||
| vwredsum.vs v8,v16,v24 | 1.00 | 1.00 | 1.00 | 1.00 | 2.00 | 5.50 | 19.00 | 1.00 | 1.00 | 1.00 | 2.00 | 5.50 | 19.00 | 1.00 | 1.00 | 2.00 | 5.50 | 19.00 | ||||||||||
| vwredsum.vs v8,v16,v24,v0.t | 1.00 | 1.00 | 1.00 | 1.00 | 2.00 | 5.50 | 19.00 | 1.00 | 1.00 | 1.00 | 2.00 | 5.50 | 19.00 | 1.00 | 1.00 | 2.00 | 5.50 | 19.00 | ||||||||||
| vfwadd.vv v8,v16,v24 | 1.00 | 2.00 | 2.00 | 4.00 | 8.00 | 2.00 | 2.00 | 4.00 | 8.00 | |||||||||||||||||||
| vfwadd.vv v8,v16,v24,v0.t | 1.00 | 2.00 | 2.00 | 4.00 | 8.00 | 2.00 | 2.00 | 4.00 | 8.00 | |||||||||||||||||||
| vfwadd.vf v8,v16,ft0 | 1.00 | 2.00 | 2.00 | 4.00 | 8.00 | 2.00 | 2.00 | 4.00 | 8.00 | |||||||||||||||||||
| vfwadd.vf v8,v16,ft0,v0.t | 1.00 | 2.00 | 2.00 | 4.00 | 8.00 | 2.00 | 2.00 | 4.00 | 8.00 | |||||||||||||||||||
| vfwsub.vv v8,v16,v24 | 1.00 | 2.00 | 2.00 | 4.00 | 8.00 | 2.00 | 2.00 | 4.00 | 8.00 | |||||||||||||||||||
| vfwsub.vv v8,v16,v24,v0.t | 1.00 | 2.00 | 2.00 | 4.00 | 8.00 | 2.00 | 2.00 | 4.00 | 8.00 | |||||||||||||||||||
| vfwsub.vf v8,v16,ft0 | 1.00 | 2.00 | 2.00 | 4.00 | 8.00 | 2.00 | 2.00 | 4.00 | 8.00 | |||||||||||||||||||
| vfwsub.vf v8,v16,ft0,v0.t | 1.00 | 2.00 | 2.00 | 4.00 | 8.00 | 2.00 | 2.00 | 4.00 | 8.00 | |||||||||||||||||||
| vfwadd.wv v8,v16,v24 | 2.00 | 2.00 | 4.00 | 8.00 | 16.00 | 2.00 | 4.00 | 8.00 | 16.00 | |||||||||||||||||||
| vfwadd.wv v8,v16,v24,v0.t | 2.00 | 2.00 | 4.00 | 8.00 | 16.00 | 2.00 | 4.00 | 8.00 | 16.00 | |||||||||||||||||||
| vfwadd.wf v8,v16,ft0 | 2.00 | 2.00 | 4.00 | 8.00 | 16.00 | 2.00 | 4.00 | 8.00 | 16.00 | |||||||||||||||||||
| vfwadd.wf v8,v16,ft0,v0.t | 2.00 | 2.00 | 4.00 | 8.00 | 16.00 | 2.00 | 4.00 | 8.00 | 16.00 | |||||||||||||||||||
| vfwsub.wv v8,v16,v24 | 2.00 | 2.00 | 4.00 | 8.00 | 16.00 | 2.00 | 4.00 | 8.00 | 16.00 | |||||||||||||||||||
| vfwsub.wv v8,v16,v24,v0.t | 2.00 | 2.00 | 4.00 | 8.00 | 16.00 | 2.00 | 4.00 | 8.00 | 16.00 | |||||||||||||||||||
| vfwsub.wf v8,v16,ft0 | 2.00 | 2.00 | 4.00 | 8.00 | 16.00 | 2.00 | 4.00 | 8.00 | 16.00 | |||||||||||||||||||
| vfwsub.wf v8,v16,ft0,v0.t | 2.00 | 2.00 | 4.00 | 8.00 | 16.00 | 2.00 | 4.00 | 8.00 | 16.00 | |||||||||||||||||||
| vfwmul.vv v8,v16,v24 | 1.00 | 2.00 | 2.00 | 4.00 | 8.00 | 2.00 | 2.00 | 4.00 | 8.00 | |||||||||||||||||||
| vfwmul.vv v8,v16,v24,v0.t | 1.00 | 2.00 | 2.00 | 4.00 | 8.00 | 2.00 | 2.00 | 4.00 | 8.00 | |||||||||||||||||||
| vfwmul.vf v8,v16,ft0 | 1.00 | 2.00 | 2.00 | 4.00 | 8.00 | 2.00 | 2.00 | 4.00 | 8.00 | |||||||||||||||||||
| vfwmul.vf v8,v16,ft0,v0.t | 1.00 | 2.00 | 2.00 | 4.00 | 8.00 | 2.00 | 2.00 | 4.00 | 8.00 | |||||||||||||||||||
| vfwmacc.vv v8,v16,v24 | 1.00 | 2.00 | 2.00 | 4.00 | 8.00 | 2.00 | 2.00 | 4.00 | 8.00 | |||||||||||||||||||
| vfwmacc.vv v8,v16,v24,v0.t | 1.00 | 2.00 | 2.00 | 4.00 | 8.00 | 2.00 | 2.00 | 4.00 | 8.00 | |||||||||||||||||||
| vfwmacc.vf v8,ft0,v16 | 1.00 | 2.00 | 2.00 | 4.00 | 8.00 | 2.00 | 2.00 | 4.00 | 8.00 | |||||||||||||||||||
| vfwmacc.vf v8,ft0,v16,v0.t | 1.00 | 2.00 | 2.00 | 4.00 | 8.00 | 2.00 | 2.00 | 4.00 | 8.00 | |||||||||||||||||||
| vfwnmacc.vv v8,v16,v24 | 1.00 | 2.00 | 2.00 | 4.00 | 8.00 | 2.00 | 2.00 | 4.00 | 8.00 | |||||||||||||||||||
| vfwnmacc.vv v8,v16,v24,v0.t | 1.00 | 2.00 | 2.00 | 4.00 | 8.00 | 2.00 | 2.00 | 4.00 | 8.00 | |||||||||||||||||||
| vfwnmacc.vf v8,ft0,v16 | 1.00 | 2.00 | 2.00 | 4.00 | 8.00 | 2.00 | 2.00 | 4.00 | 8.00 | |||||||||||||||||||
| vfwnmacc.vf v8,ft0,v16,v0.t | 1.00 | 2.00 | 2.00 | 4.00 | 8.00 | 2.00 | 2.00 | 4.00 | 8.00 | |||||||||||||||||||
| vfwmsac.vv v8,v16,v24 | 1.00 | 2.00 | 2.00 | 4.00 | 8.00 | 2.00 | 2.00 | 4.00 | 8.00 | |||||||||||||||||||
| vfwmsac.vv v8,v16,v24,v0.t | 1.00 | 2.00 | 2.00 | 4.00 | 8.00 | 2.00 | 2.00 | 4.00 | 8.00 | |||||||||||||||||||
| vfwmsac.vf v8,ft0,v16 | 1.00 | 2.00 | 2.00 | 4.00 | 8.00 | 2.00 | 2.00 | 4.00 | 8.00 | |||||||||||||||||||
| vfwmsac.vf v8,ft0,v16,v0.t | 1.00 | 2.00 | 2.00 | 4.00 | 8.00 | 2.00 | 2.00 | 4.00 | 8.00 | |||||||||||||||||||
| vfwnmsac.vv v8,v16,v24 | 1.00 | 2.00 | 2.00 | 4.00 | 8.00 | 2.00 | 2.00 | 4.00 | 8.00 | |||||||||||||||||||
| vfwnmsac.vv v8,v16,v24,v0.t | 1.00 | 2.00 | 2.00 | 4.00 | 8.00 | 2.00 | 2.00 | 4.00 | 8.00 | |||||||||||||||||||
| vfwnmsac.vf v8,ft0,v16 | 1.00 | 2.00 | 2.00 | 4.00 | 8.00 | 2.00 | 2.00 | 4.00 | 8.00 | |||||||||||||||||||
| vfwnmsac.vf v8,ft0,v16,v0.t | 1.00 | 2.00 | 2.00 | 4.00 | 8.00 | 2.00 | 2.00 | 4.00 | 8.00 | |||||||||||||||||||
| vfwredosum.vs v8,v16,v24 | 10.00 | 26.00 | 31.00 | 62.99 | 127.96 | 511.34 | 10.00 | 15.00 | 31.00 | 65.99 | 256.83 | |||||||||||||||||
| vfwredosum.vs v8,v16,v24,v0.t | 10.00 | 26.00 | 31.00 | 63.00 | 127.96 | 511.34 | 10.00 | 15.00 | 31.00 | 65.99 | 256.83 | |||||||||||||||||
| vfwredusum.vs v8,v16,v24 | 10.00 | 26.00 | 31.00 | 62.99 | 127.96 | 511.34 | 10.00 | 15.00 | 31.00 | 65.99 | 256.83 | |||||||||||||||||
| vfwredusum.vs v8,v16,v24,v0.t | 10.00 | 26.00 | 31.00 | 62.99 | 127.96 | 511.34 | 10.00 | 15.00 | 31.00 | 65.99 | 256.83 | |||||||||||||||||
| vmv.s.x v8,t0 | 1.06 | 1.06 | 1.06 | 1.06 | 1.06 | 1.54 | 3.00 | 1.06 | 1.06 | 1.06 | 1.06 | 1.54 | 3.00 | 1.06 | 1.06 | 1.06 | 1.54 | 3.00 | 1.06 | 1.06 | 1.54 | 3.00 | ||||||
| vmv.x.s t0,v8 | 6.00 | 6.00 | 6.00 | 6.00 | 6.00 | 6.00 | 6.00 | 6.00 | 6.00 | 6.00 | 6.00 | 6.00 | 6.00 | 6.00 | 6.00 | 6.00 | 6.00 | 6.00 | 6.00 | 6.00 | 6.00 | 6.00 | ||||||
| vcpop.m t0,v8 | 6.00 | 6.00 | 6.00 | 6.00 | 6.00 | 6.00 | 7.00 | 6.00 | 6.00 | 6.00 | 6.00 | 6.00 | 6.00 | 6.00 | 6.00 | 6.00 | 6.00 | 6.00 | 6.00 | 6.00 | 6.00 | 6.00 | ||||||
| vcpop.m t0,v8,v0.t | 6.00 | 6.00 | 6.00 | 6.00 | 6.00 | 6.00 | 7.00 | 6.00 | 6.00 | 6.00 | 6.00 | 6.00 | 6.00 | 6.00 | 6.00 | 6.00 | 6.00 | 6.00 | 6.00 | 6.00 | 6.00 | 6.00 | ||||||
| vfirst.m t0,v8 | 6.00 | 6.00 | 6.00 | 6.00 | 6.00 | 6.00 | 7.00 | 6.00 | 6.00 | 6.00 | 6.00 | 6.00 | 6.00 | 6.00 | 6.00 | 6.00 | 6.00 | 6.00 | 6.00 | 6.00 | 6.00 | 6.00 | ||||||
| vfirst.m t0,v8,v0.t | 6.00 | 6.00 | 6.00 | 6.00 | 6.00 | 6.00 | 7.00 | 6.00 | 6.00 | 6.00 | 6.00 | 6.00 | 6.00 | 6.00 | 6.00 | 6.00 | 6.00 | 6.00 | 6.00 | 6.00 | 6.00 | 6.00 | ||||||
| vzext.vf2 v8,v16 | 1.00 | 1.00 | 2.00 | 4.00 | 8.00 | 16.00 | 1.00 | 2.00 | 4.00 | 8.00 | 16.00 | 2.00 | 4.00 | 8.00 | 16.00 | |||||||||||||
| vzext.vf2 v8,v16,v0.t | 1.00 | 1.00 | 2.00 | 4.00 | 8.00 | 16.00 | 1.00 | 2.00 | 4.00 | 8.00 | 16.00 | 2.00 | 4.00 | 8.00 | 16.00 | |||||||||||||
| vsext.vf2 v8,v16 | 1.00 | 1.00 | 2.00 | 4.00 | 8.00 | 16.00 | 1.00 | 2.00 | 4.00 | 8.00 | 16.00 | 2.00 | 4.00 | 8.00 | 16.00 | |||||||||||||
| vsext.vf2 v8,v16,v0.t | 1.00 | 1.00 | 2.00 | 4.00 | 8.00 | 16.00 | 1.00 | 2.00 | 4.00 | 8.00 | 16.00 | 2.00 | 4.00 | 8.00 | 16.00 | |||||||||||||
| vzext.vf4 v8,v16 | 1.00 | 2.00 | 4.00 | 8.00 | 16.00 | 2.00 | 4.00 | 8.00 | 16.00 | |||||||||||||||||||
| vzext.vf4 v8,v16,v0.t | 1.00 | 2.00 | 4.00 | 8.00 | 16.00 | 2.00 | 4.00 | 8.00 | 16.00 | |||||||||||||||||||
| vsext.vf4 v8,v16 | 1.00 | 2.00 | 4.00 | 8.00 | 16.00 | 2.00 | 4.00 | 8.00 | 16.00 | |||||||||||||||||||
| vsext.vf4 v8,v16,v0.t | 1.00 | 2.00 | 4.00 | 8.00 | 16.00 | 2.00 | 4.00 | 8.00 | 16.00 | |||||||||||||||||||
| vzext.vf8 v8,v16 | 2.00 | 4.00 | 8.00 | 16.00 | ||||||||||||||||||||||||
| vzext.vf8 v8,v16,v0.t | 2.00 | 4.00 | 8.00 | 16.00 | ||||||||||||||||||||||||
| vsext.vf8 v8,v16 | 2.00 | 4.00 | 8.00 | 16.00 | ||||||||||||||||||||||||
| vsext.vf8 v8,v16,v0.t | 2.00 | 4.00 | 8.00 | 16.00 | ||||||||||||||||||||||||
| vfmv.f.s ft0,v8 | 6.00 | 6.00 | 6.00 | 6.00 | 6.00 | 6.00 | 6.00 | 6.00 | 6.00 | 6.00 | 6.00 | 6.00 | 6.00 | 6.00 | 6.00 | |||||||||||||
| vfmv.s.f v8,ft0 | 1.00 | 1.00 | 1.00 | 1.00 | 1.50 | 3.00 | 1.00 | 1.00 | 1.00 | 1.50 | 3.00 | 1.00 | 1.00 | 1.50 | 3.00 | |||||||||||||
| vfcvt.xu.f.v v8,v16 | 1.00 | 1.00 | 2.00 | 4.00 | 8.00 | 16.00 | 1.00 | 2.00 | 4.00 | 8.00 | 16.00 | 2.00 | 4.00 | 8.00 | 16.00 | |||||||||||||
| vfcvt.xu.f.v v8,v16,v0.t | 1.00 | 1.00 | 2.00 | 4.00 | 8.00 | 16.00 | 1.00 | 2.00 | 4.00 | 8.00 | 16.00 | 2.00 | 4.00 | 8.00 | 16.00 | |||||||||||||
| vfcvt.x.f.v v8,v16 | 1.00 | 1.00 | 2.00 | 4.00 | 8.00 | 16.00 | 1.00 | 2.00 | 4.00 | 8.00 | 16.00 | 2.00 | 4.00 | 8.00 | 16.00 | |||||||||||||
| vfcvt.x.f.v v8,v16,v0.t | 1.00 | 1.00 | 2.00 | 4.00 | 8.00 | 16.00 | 1.00 | 2.00 | 4.00 | 8.00 | 16.00 | 2.00 | 4.00 | 8.00 | 16.00 | |||||||||||||
| vfcvt.f.xu.v v8,v16 | 1.00 | 1.00 | 2.00 | 4.00 | 8.00 | 16.00 | 1.00 | 2.00 | 4.00 | 8.00 | 16.00 | 2.00 | 4.00 | 8.00 | 16.00 | |||||||||||||
| vfcvt.f.xu.v v8,v16,v0.t | 1.00 | 1.00 | 2.00 | 4.00 | 8.00 | 16.00 | 1.00 | 2.00 | 4.00 | 8.00 | 16.00 | 2.00 | 4.00 | 8.00 | 16.00 | |||||||||||||
| vfcvt.f.x.v v8,v16 | 1.00 | 1.00 | 2.00 | 4.00 | 8.00 | 16.00 | 1.00 | 2.00 | 4.00 | 8.00 | 16.00 | 2.00 | 4.00 | 8.00 | 16.00 | |||||||||||||
| vfcvt.f.x.v v8,v16,v0.t | 1.00 | 1.00 | 2.00 | 4.00 | 8.00 | 16.00 | 1.00 | 2.00 | 4.00 | 8.00 | 16.00 | 2.00 | 4.00 | 8.00 | 16.00 | |||||||||||||
| vfcvt.rtz.x.f.v v8,v16 | 1.00 | 1.00 | 2.00 | 4.00 | 8.00 | 16.00 | 1.00 | 2.00 | 4.00 | 8.00 | 16.00 | 2.00 | 4.00 | 8.00 | 16.00 | |||||||||||||
| vfcvt.rtz.x.f.v v8,v16,v0.t | 1.00 | 1.00 | 2.00 | 4.00 | 8.00 | 16.00 | 1.00 | 2.00 | 4.00 | 8.00 | 16.00 | 2.00 | 4.00 | 8.00 | 16.00 | |||||||||||||
| vfcvt.rtz.xu.f.v v8,v16 | 1.00 | 1.00 | 2.00 | 4.00 | 8.00 | 16.00 | 1.00 | 2.00 | 4.00 | 8.00 | 16.00 | 2.00 | 4.00 | 8.00 | 16.00 | |||||||||||||
| vfcvt.rtz.xu.f.v v8,v16,v0.t | 1.00 | 1.00 | 2.00 | 4.00 | 8.00 | 16.00 | 1.00 | 2.00 | 4.00 | 8.00 | 16.00 | 2.00 | 4.00 | 8.00 | 16.00 | |||||||||||||
| vfwcvt.xu.f.v v8,v16 | 1.00 | 2.00 | 4.00 | 8.00 | 16.00 | 2.00 | 4.00 | 8.00 | 16.00 | |||||||||||||||||||
| vfwcvt.xu.f.v v8,v16,v0.t | 1.00 | 2.00 | 4.00 | 8.00 | 16.00 | 2.00 | 4.00 | 8.00 | 16.00 | |||||||||||||||||||
| vfwcvt.x.f.v v8,v16 | 1.00 | 2.00 | 4.00 | 8.00 | 16.00 | 2.00 | 4.00 | 8.00 | 16.00 | |||||||||||||||||||
| vfwcvt.x.f.v v8,v16,v0.t | 1.00 | 2.00 | 4.00 | 8.00 | 16.00 | 2.00 | 4.00 | 8.00 | 16.00 | |||||||||||||||||||
| vfwcvt.f.xu.v v8,v16 | 1.00 | 2.00 | 4.00 | 8.00 | 16.00 | 2.00 | 4.00 | 8.00 | 16.00 | |||||||||||||||||||
| vfwcvt.f.xu.v v8,v16,v0.t | 1.00 | 2.00 | 4.00 | 8.00 | 16.00 | 2.00 | 4.00 | 8.00 | 16.00 | |||||||||||||||||||
| vfwcvt.f.x.v v8,v16 | 1.00 | 2.00 | 4.00 | 8.00 | 16.00 | 2.00 | 4.00 | 8.00 | 16.00 | |||||||||||||||||||
| vfwcvt.f.x.v v8,v16,v0.t | 1.00 | 2.00 | 4.00 | 8.00 | 16.00 | 2.00 | 4.00 | 8.00 | 16.00 | |||||||||||||||||||
| vfwcvt.f.f.v v8,v16 | 1.00 | 2.00 | 4.00 | 8.00 | 16.00 | 2.00 | 4.00 | 8.00 | 16.00 | |||||||||||||||||||
| vfwcvt.f.f.v v8,v16,v0.t | 1.00 | 2.00 | 4.00 | 8.00 | 16.00 | 2.00 | 4.00 | 8.00 | 16.00 | |||||||||||||||||||
| vfwcvt.rtz.xu.f.v v8,v16 | 1.00 | 2.00 | 4.00 | 8.00 | 16.00 | 2.00 | 4.00 | 8.00 | 16.00 | |||||||||||||||||||
| vfwcvt.rtz.xu.f.v v8,v16,v0.t | 1.00 | 2.00 | 4.00 | 8.00 | 16.00 | 2.00 | 4.00 | 8.00 | 16.00 | |||||||||||||||||||
| vfwcvt.rtz.x.f.v v8,v16 | 1.00 | 2.00 | 4.00 | 8.00 | 16.00 | 2.00 | 4.00 | 8.00 | 16.00 | |||||||||||||||||||
| vfwcvt.rtz.x.f.v v8,v16,v0.t | 1.00 | 2.00 | 4.00 | 8.00 | 16.00 | 2.00 | 4.00 | 8.00 | 16.00 | |||||||||||||||||||
| vfncvt.xu.f.w v8,v16 | 1.00 | 2.00 | 4.00 | 8.00 | 16.00 | 2.00 | 4.00 | 8.00 | 16.00 | |||||||||||||||||||
| vfncvt.xu.f.w v8,v16,v0.t | 1.00 | 2.00 | 4.00 | 8.00 | 16.00 | 2.00 | 4.00 | 8.00 | 16.00 | |||||||||||||||||||
| vfncvt.x.f.w v8,v16 | 1.00 | 2.00 | 4.00 | 8.00 | 16.00 | 2.00 | 4.00 | 8.00 | 16.00 | |||||||||||||||||||
| vfncvt.x.f.w v8,v16,v0.t | 1.00 | 2.00 | 4.00 | 8.00 | 16.00 | 2.00 | 4.00 | 8.00 | 16.00 | |||||||||||||||||||
| vfncvt.f.xu.w v8,v16 | 1.00 | 2.00 | 4.00 | 8.00 | 16.00 | 2.00 | 4.00 | 8.00 | 16.00 | |||||||||||||||||||
| vfncvt.f.xu.w v8,v16,v0.t | 1.00 | 2.00 | 4.00 | 8.00 | 16.00 | 2.00 | 4.00 | 8.00 | 16.00 | |||||||||||||||||||
| vfncvt.f.x.w v8,v16 | 1.00 | 2.00 | 4.00 | 8.00 | 16.00 | 2.00 | 4.00 | 8.00 | 16.00 | |||||||||||||||||||
| vfncvt.f.x.w v8,v16,v0.t | 1.00 | 2.00 | 4.00 | 8.00 | 16.00 | 2.00 | 4.00 | 8.00 | 16.00 | |||||||||||||||||||
| vfncvt.f.f.w v8,v16 | 1.00 | 2.00 | 4.00 | 8.00 | 16.00 | 2.00 | 4.00 | 8.00 | 16.00 | |||||||||||||||||||
| vfncvt.f.f.w v8,v16,v0.t | 1.00 | 2.00 | 4.00 | 8.00 | 16.00 | 2.00 | 4.00 | 8.00 | 16.00 | |||||||||||||||||||
| vfncvt.rtz.x.f.w v8,v16 | 1.00 | 2.00 | 4.00 | 8.00 | 16.00 | 2.00 | 4.00 | 8.00 | 16.00 | |||||||||||||||||||
| vfncvt.rtz.x.f.w v8,v16,v0.t | 1.00 | 2.00 | 4.00 | 8.00 | 16.00 | 2.00 | 4.00 | 8.00 | 16.00 | |||||||||||||||||||
| vfncvt.rtz.xu.f.w v8,v16 | 1.00 | 2.00 | 4.00 | 8.00 | 16.00 | 2.00 | 4.00 | 8.00 | 16.00 | |||||||||||||||||||
| vfncvt.rtz.xu.f.w v8,v16,v0.t | 1.00 | 2.00 | 4.00 | 8.00 | 16.00 | 2.00 | 4.00 | 8.00 | 16.00 | |||||||||||||||||||
| vfncvt.rod.f.f.w v8,v16 | 1.00 | 2.00 | 4.00 | 8.00 | 16.00 | 2.00 | 4.00 | 8.00 | 16.00 | |||||||||||||||||||
| vfncvt.rod.f.f.w v8,v16,v0.t | 1.00 | 2.00 | 4.00 | 8.00 | 16.00 | 2.00 | 4.00 | 8.00 | 16.00 | |||||||||||||||||||
| vfsqrt.v v8,v16 | 12.88 | 12.90 | 26.09 | 52.00 | 104.07 | 208.24 | 17.32 | 34.72 | 69.13 | 138.71 | 275.50 | 52.15 | 105.72 | 212.58 | 435.70 | |||||||||||||
| vfsqrt.v v8,v16,v0.t | 11.64 | 12.61 | 25.33 | 49.49 | 98.98 | 197.44 | 15.73 | 29.49 | 56.24 | 116.88 | 225.19 | 37.81 | 72.59 | 141.17 | 260.52 | |||||||||||||
| vfrsqrt7.v v8,v16 | 1.00 | 1.00 | 2.00 | 4.00 | 8.00 | 16.00 | 1.00 | 2.00 | 4.00 | 8.00 | 16.00 | 2.00 | 4.00 | 8.00 | 16.00 | |||||||||||||
| vfrsqrt7.v v8,v16,v0.t | 1.00 | 1.00 | 2.00 | 4.00 | 8.00 | 16.00 | 1.00 | 2.00 | 4.00 | 8.00 | 16.00 | 2.00 | 4.00 | 8.00 | 16.00 | |||||||||||||
| vfrec7.v v8,v16 | 1.00 | 1.00 | 2.00 | 4.00 | 8.00 | 16.00 | 1.00 | 2.00 | 4.00 | 8.00 | 16.00 | 2.00 | 4.00 | 8.00 | 16.00 | |||||||||||||
| vfrec7.v v8,v16,v0.t | 1.00 | 1.00 | 2.00 | 4.00 | 8.00 | 16.00 | 1.00 | 2.00 | 4.00 | 8.00 | 16.00 | 2.00 | 4.00 | 8.00 | 16.00 | |||||||||||||
| vfclass.v v8,v16 | 1.00 | 1.00 | 2.00 | 4.00 | 8.00 | 16.00 | 1.00 | 2.00 | 4.00 | 8.00 | 16.00 | 2.00 | 4.00 | 8.00 | 16.00 | |||||||||||||
| vfclass.v v8,v16,v0.t | 1.00 | 1.00 | 2.00 | 4.00 | 8.00 | 16.00 | 1.00 | 2.00 | 4.00 | 8.00 | 16.00 | 2.00 | 4.00 | 8.00 | 16.00 | |||||||||||||
| vmsbf.m v8,v16 | 1.00 | 1.00 | 1.00 | 1.00 | 1.00 | 1.50 | 3.00 | 1.00 | 1.00 | 1.00 | 1.00 | 1.50 | 3.00 | 1.00 | 1.00 | 1.00 | 1.50 | 3.00 | 1.00 | 1.00 | 1.50 | 3.00 | ||||||
| vmsbf.m v8,v16,v0.t | 1.00 | 1.00 | 1.00 | 1.00 | 1.00 | 1.50 | 3.00 | 1.00 | 1.00 | 1.00 | 1.00 | 1.50 | 3.00 | 1.00 | 1.00 | 1.00 | 1.50 | 3.00 | 1.00 | 1.00 | 1.50 | 3.00 | ||||||
| vmsof.m v8,v16 | 1.00 | 1.00 | 1.00 | 1.00 | 1.00 | 1.50 | 3.00 | 1.00 | 1.00 | 1.00 | 1.00 | 1.50 | 3.00 | 1.00 | 1.00 | 1.00 | 1.50 | 3.00 | 1.00 | 1.00 | 1.50 | 3.00 | ||||||
| vmsof.m v8,v16,v0.t | 1.00 | 1.00 | 1.00 | 1.00 | 1.00 | 1.50 | 3.00 | 1.00 | 1.00 | 1.00 | 1.00 | 1.50 | 3.00 | 1.00 | 1.00 | 1.00 | 1.50 | 3.00 | 1.00 | 1.00 | 1.50 | 3.00 | ||||||
| vmsif.m v8,v16 | 1.00 | 1.00 | 1.00 | 1.00 | 1.00 | 1.50 | 3.00 | 1.00 | 1.00 | 1.00 | 1.00 | 1.50 | 3.00 | 1.00 | 1.00 | 1.00 | 1.50 | 3.00 | 1.00 | 1.00 | 1.50 | 3.00 | ||||||
| vmsif.m v8,v16,v0.t | 1.00 | 1.00 | 1.00 | 1.00 | 1.00 | 1.50 | 3.00 | 1.00 | 1.00 | 1.00 | 1.00 | 1.50 | 3.00 | 1.00 | 1.00 | 1.00 | 1.50 | 3.00 | 1.00 | 1.00 | 1.50 | 3.00 | ||||||
| viota.m v8,v16 | 1.00 | 1.00 | 1.00 | 2.00 | 4.00 | 8.00 | 16.00 | 1.00 | 1.00 | 2.00 | 4.00 | 8.00 | 16.00 | 1.00 | 2.00 | 4.00 | 8.00 | 16.00 | 2.00 | 4.00 | 8.00 | 16.00 | ||||||
| viota.m v8,v16,v0.t | 1.00 | 1.00 | 1.00 | 2.00 | 4.00 | 8.00 | 16.00 | 1.00 | 1.00 | 2.00 | 4.00 | 8.00 | 16.00 | 1.00 | 2.00 | 4.00 | 8.00 | 16.00 | 2.00 | 4.00 | 8.00 | 16.00 | ||||||
| vid.v v8 | 1.00 | 1.00 | 1.00 | 2.00 | 4.00 | 8.00 | 16.00 | 1.00 | 1.00 | 2.00 | 4.00 | 8.00 | 16.00 | 1.00 | 2.00 | 4.00 | 8.00 | 16.00 | 2.00 | 4.00 | 8.00 | 16.00 | ||||||
| vid.v v8,v0.t | 1.00 | 1.00 | 1.00 | 2.00 | 4.00 | 8.00 | 16.00 | 1.00 | 1.00 | 2.00 | 4.00 | 8.00 | 16.00 | 1.00 | 2.00 | 4.00 | 8.00 | 16.00 | 2.00 | 4.00 | 8.00 | 16.00 | ||||||
| vle8.v v8,(t0) | 1.25 | 1.32 | 1.30 | 1.30 | 2.47 | 5.93 | 12.50 | 1.15 | 1.30 | 1.20 | 1.52 | 2.62 | 6.00 | 1.32 | 1.10 | 1.17 | 2.00 | 4.00 | 1.27 | 1.40 | 2.00 | 4.00 | ||||||
| vle8.v v8,(t0),v0.t | 1.25 | 1.40 | 1.20 | 1.37 | 2.55 | 5.92 | 12.50 | 1.17 | 1.35 | 1.20 | 1.33 | 2.81 | 5.97 | 1.10 | 1.30 | 1.22 | 2.00 | 4.00 | 1.25 | 1.17 | 2.00 | 4.00 | ||||||
| vle16.v v8,(t0) | 1.22 | 1.35 | 1.30 | 1.12 | 1.12 | 1.30 | 2.77 | 5.91 | 12.80 | 1.27 | 1.30 | 1.33 | 2.81 | 6.01 | 1.37 | 1.17 | 2.00 | 4.00 | ||||||||||
| vle16.v v8,(t0),v0.t | 1.25 | 1.32 | 1.45 | 1.30 | 1.17 | 1.52 | 2.73 | 5.83 | 12.45 | 1.17 | 1.25 | 1.48 | 2.73 | 6.05 | 1.37 | 1.25 | 2.00 | 4.00 | ||||||||||
| vle32.v v8,(t0) | 1.17 | 1.26 | 1.07 | 1.33 | 1.30 | 1.37 | 2.70 | 5.89 | 12.65 | 1.30 | 1.41 | 2.70 | 6.05 | |||||||||||||||
| vle32.v v8,(t0),v0.t | 1.17 | 1.37 | 1.22 | 1.37 | 1.27 | 1.33 | 2.85 | 5.93 | 12.70 | 1.17 | 1.26 | 2.51 | 6.03 | |||||||||||||||
| vle64.v v8,(t0) | 1.26 | 1.18 | 1.03 | 1.22 | 2.15 | 5.95 | 12.30 | |||||||||||||||||||||
| vle64.v v8,(t0),v0.t | 1.30 | 1.26 | 1.18 | 1.26 | 2.15 | 5.97 | 12.45 | |||||||||||||||||||||
| vse8.v v8,(t0) | 1.22 | 1.57 | 1.55 | 2.15 | 6.55 | 11.32 | 17.17 | 1.00 | 1.52 | 1.60 | 2.35 | 9.47 | 10.55 | 1.30 | 1.32 | 1.40 | 2.50 | 4.45 | 1.27 | 1.30 | 1.45 | 2.80 | ||||||
| vse8.v v8,(t0),v0.t | 1.15 | 1.27 | 1.75 | 2.55 | 4.35 | 13.81 | 17.80 | 1.32 | 1.25 | 1.35 | 2.65 | 5.35 | 11.25 | 1.42 | 1.40 | 1.45 | 2.65 | 5.02 | 1.27 | 1.52 | 1.35 | 2.45 | ||||||
| vse16.v v8,(t0) | 1.22 | 1.75 | 2.55 | 1.22 | 1.75 | 2.45 | 5.94 | 10.75 | 17.50 | 1.17 | 1.55 | 2.40 | 6.32 | 9.95 | 1.47 | 1.60 | 2.60 | 4.30 | ||||||||||
| vse16.v v8,(t0),v0.t | 1.32 | 1.70 | 2.35 | 1.37 | 1.30 | 2.45 | 6.42 | 11.65 | 18.55 | 1.47 | 1.45 | 2.45 | 5.40 | 13.02 | 1.15 | 1.70 | 2.40 | 5.65 | ||||||||||
| vse32.v v8,(t0) | 1.40 | 2.40 | 1.65 | 2.45 | 1.20 | 2.45 | 4.40 | 9.84 | 17.55 | 1.60 | 2.50 | 4.85 | 9.70 | |||||||||||||||
| vse32.v v8,(t0),v0.t | 2.01 | 2.60 | 1.60 | 2.80 | 1.40 | 2.25 | 4.40 | 9.48 | 17.85 | 1.65 | 2.30 | 4.55 | 9.99 | |||||||||||||||
| vse64.v v8,(t0) | 2.30 | 2.40 | 2.25 | 2.25 | 4.30 | 9.50 | 17.43 | |||||||||||||||||||||
| vse64.v v8,(t0),v0.t | 2.25 | 2.35 | 2.20 | 2.30 | 4.40 | 9.69 | 17.45 | |||||||||||||||||||||
| vle8ff.v v8,(t0) | 1.22 | 1.22 | 1.20 | 1.37 | 2.62 | 5.91 | 12.35 | 1.22 | 1.27 | 1.32 | 1.41 | 2.43 | 6.12 | 1.20 | 1.37 | 1.37 | 2.00 | 4.00 | 1.25 | 1.35 | 2.00 | 4.00 | ||||||
| vle8ff.v v8,(t0),v0.t | 1.20 | 1.27 | 1.27 | 1.52 | 2.62 | 5.91 | 12.55 | 1.35 | 1.27 | 1.17 | 1.41 | 2.55 | 6.01 | 1.17 | 1.22 | 1.30 | 2.00 | 4.00 | 1.30 | 1.20 | 2.00 | 4.00 | ||||||
| vle16ff.v v8,(t0) | 1.20 | 1.27 | 1.15 | 1.12 | 1.22 | 1.48 | 2.66 | 5.90 | 12.45 | 1.17 | 1.15 | 1.33 | 2.55 | 6.03 | 1.30 | 1.17 | 2.00 | 4.00 | ||||||||||
| vle16ff.v v8,(t0),v0.t | 1.37 | 1.17 | 1.37 | 1.10 | 1.15 | 1.26 | 2.66 | 5.86 | 12.30 | 1.25 | 1.32 | 1.37 | 2.62 | 5.97 | 1.20 | 1.20 | 2.00 | 4.00 | ||||||||||
| vle32ff.v v8,(t0) | 1.25 | 1.33 | 1.25 | 1.37 | 1.12 | 1.48 | 2.51 | 5.89 | 12.35 | 1.30 | 1.41 | 2.66 | 6.03 | |||||||||||||||
| vle32ff.v v8,(t0),v0.t | 1.35 | 1.15 | 1.27 | 1.56 | 1.12 | 1.33 | 2.70 | 5.92 | 12.60 | 1.40 | 1.33 | 2.66 | 6.01 | |||||||||||||||
| vle64ff.v v8,(t0) | 1.30 | 1.22 | 1.15 | 1.30 | 2.22 | 5.99 | 12.25 | |||||||||||||||||||||
| vle64ff.v v8,(t0),v0.t | 1.18 | 1.37 | 1.11 | 1.26 | 2.37 | 5.95 | 12.40 | |||||||||||||||||||||
| vlm.v v8,(t0) | 1.30 | 1.12 | 1.35 | 1.22 | 1.25 | 2.00 | 4.00 | 1.30 | 1.27 | 1.17 | 1.17 | 2.00 | 4.00 | 1.25 | 1.25 | 1.30 | 2.00 | 4.00 | 1.22 | 1.22 | 2.00 | 4.00 | ||||||
| vsm.v v8,(t0) | 1.22 | 1.12 | 1.20 | 1.27 | 1.35 | 1.35 | 2.30 | 1.20 | 1.22 | 1.42 | 1.30 | 1.42 | 1.65 | 1.32 | 1.30 | 1.25 | 1.20 | 1.60 | 1.30 | 1.20 | 1.37 | 1.22 | ||||||
| vlse8.v v8,(t2),t3 | 3.00 | 5.00 | 9.00 | 21.05 | 50.01 | 114.01 | 242.01 | 3.00 | 5.00 | 9.00 | 21.20 | 50.01 | 114.01 | 3.00 | 5.00 | 9.00 | 21.10 | 50.01 | 3.00 | 5.00 | 9.00 | 21.05 | ||||||
| vlse8.v v8,(t2),t3,v0.t | 3.00 | 5.00 | 9.00 | 21.12 | 50.01 | 114.01 | 242.01 | 3.00 | 5.00 | 9.00 | 21.20 | 50.01 | 114.01 | 3.00 | 5.00 | 9.00 | 21.12 | 50.01 | 3.00 | 5.00 | 9.00 | 21.12 | ||||||
| vlse8.v v8,(t2),x0 | 3.00 | 5.00 | 9.00 | 17.07 | 50.01 | 114.01 | 242.01 | 3.00 | 5.00 | 9.00 | 17.07 | 50.01 | 114.01 | 3.00 | 5.00 | 9.00 | 17.07 | 50.01 | 3.00 | 5.00 | 9.00 | 17.07 | ||||||
| vlse8.v v8,(t2),x0,v0.t | 3.00 | 5.00 | 9.00 | 17.07 | 50.01 | 114.01 | 242.01 | 3.00 | 5.00 | 9.00 | 17.07 | 50.01 | 114.01 | 3.00 | 5.00 | 9.00 | 17.07 | 50.01 | 3.00 | 5.00 | 9.00 | 17.07 | ||||||
| vlse8.v v8,(t2),t1/*-1*/ | 3.00 | 5.00 | 9.00 | 22.59 | 48.01 | 114.01 | 242.01 | 3.00 | 5.00 | 9.00 | 23.09 | 48.04 | 114.01 | 3.00 | 5.00 | 9.00 | 23.30 | 48.02 | 3.00 | 5.00 | 9.00 | 22.64 | ||||||
| vlse8.v v8,(t2),t1/*-1*/,v0.t | 3.00 | 5.00 | 9.00 | 22.97 | 48.04 | 114.01 | 242.01 | 3.00 | 5.00 | 9.00 | 23.06 | 48.04 | 114.01 | 3.00 | 5.00 | 9.00 | 23.05 | 48.03 | 3.00 | 5.00 | 9.00 | 22.86 | ||||||
| vlse16.v v8,(t2),t3 | 3.00 | 5.00 | 9.00 | 3.00 | 5.00 | 9.00 | 21.85 | 50.01 | 114.01 | 3.00 | 5.00 | 9.00 | 21.72 | 50.01 | 3.00 | 5.00 | 9.00 | 21.62 | ||||||||||
| vlse16.v v8,(t2),t3,v0.t | 3.00 | 5.00 | 9.00 | 3.00 | 5.00 | 9.00 | 21.67 | 50.01 | 114.01 | 3.00 | 5.00 | 9.00 | 22.32 | 50.01 | 3.00 | 5.00 | 9.00 | 21.60 | ||||||||||
| vlse16.v v8,(t2),x0 | 3.00 | 5.00 | 9.00 | 3.00 | 5.00 | 9.00 | 17.07 | 50.01 | 114.01 | 3.00 | 5.00 | 9.00 | 17.07 | 50.01 | 3.00 | 5.00 | 9.00 | 17.07 | ||||||||||
| vlse16.v v8,(t2),x0,v0.t | 3.00 | 5.00 | 9.00 | 3.00 | 5.00 | 9.00 | 17.07 | 50.01 | 114.01 | 3.00 | 5.00 | 9.00 | 17.07 | 50.01 | 3.00 | 5.00 | 9.00 | 17.07 | ||||||||||
| vlse16.v v8,(t2),t1/*-1*/ | 3.00 | 5.00 | 9.00 | 3.00 | 5.00 | 9.00 | 24.00 | 50.01 | 114.01 | 3.00 | 5.00 | 9.00 | 24.00 | 50.01 | 3.00 | 5.00 | 9.00 | 24.00 | ||||||||||
| vlse16.v v8,(t2),t1/*-1*/,v0.t | 3.00 | 5.00 | 9.00 | 3.00 | 5.00 | 9.00 | 24.00 | 50.01 | 114.01 | 3.00 | 5.00 | 9.00 | 24.00 | 50.01 | 3.00 | 5.00 | 9.00 | 24.00 | ||||||||||
| vlse32.v v8,(t2),t3 | 3.00 | 5.00 | 3.00 | 5.00 | 3.00 | 5.00 | 9.00 | 20.00 | 50.01 | 3.00 | 5.00 | 9.00 | 20.00 | |||||||||||||||
| vlse32.v v8,(t2),t3,v0.t | 3.00 | 5.00 | 3.00 | 5.00 | 3.00 | 5.00 | 9.00 | 20.00 | 50.01 | 3.00 | 5.00 | 9.00 | 20.00 | |||||||||||||||
| vlse32.v v8,(t2),x0 | 3.00 | 5.00 | 3.00 | 5.00 | 3.00 | 5.00 | 9.00 | 17.07 | 50.01 | 3.00 | 5.00 | 9.00 | 17.07 | |||||||||||||||
| vlse32.v v8,(t2),x0,v0.t | 3.00 | 5.00 | 3.00 | 5.00 | 3.00 | 5.00 | 9.00 | 17.07 | 50.01 | 3.00 | 5.00 | 9.00 | 17.07 | |||||||||||||||
| vlse32.v v8,(t2),t1/*-1*/ | 3.00 | 5.00 | 3.00 | 5.00 | 3.00 | 5.00 | 9.00 | 20.00 | 50.01 | 3.00 | 5.00 | 9.00 | 20.00 | |||||||||||||||
| vlse32.v v8,(t2),t1/*-1*/,v0.t | 3.00 | 5.00 | 3.00 | 5.00 | 3.00 | 5.00 | 9.00 | 20.00 | 50.01 | 3.00 | 5.00 | 9.00 | 20.00 | |||||||||||||||
| vlse64.v v8,(t2),t3 | 3.00 | 3.00 | 3.00 | 3.00 | 5.00 | 10.16 | 24.00 | |||||||||||||||||||||
| vlse64.v v8,(t2),t3,v0.t | 3.00 | 3.00 | 3.00 | 3.00 | 5.00 | 10.20 | 24.00 | |||||||||||||||||||||
| vlse64.v v8,(t2),x0 | 3.00 | 3.00 | 3.00 | 3.00 | 5.00 | 9.00 | 22.00 | |||||||||||||||||||||
| vlse64.v v8,(t2),x0,v0.t | 3.00 | 3.00 | 3.00 | 3.00 | 5.00 | 9.00 | 22.00 | |||||||||||||||||||||
| vlse64.v v8,(t2),t1/*-1*/ | 3.00 | 3.00 | 3.00 | 3.00 | 5.00 | 10.30 | 24.00 | |||||||||||||||||||||
| vlse64.v v8,(t2),t1/*-1*/,v0.t | 3.00 | 3.00 | 3.00 | 3.00 | 5.00 | 10.26 | 24.00 | |||||||||||||||||||||
| vsse8.v v8,(t2),t3 | 4.00 | 8.00 | 16.00 | 32.00 | 64.00 | 128.00 | 256.00 | 4.00 | 8.00 | 16.00 | 32.00 | 64.00 | 128.00 | 4.00 | 8.00 | 16.00 | 32.00 | 64.00 | 4.00 | 8.00 | 16.00 | 33.25 | ||||||
| vsse8.v v8,(t2),t3,v0.t | 4.00 | 8.00 | 16.00 | 36.42 | 64.00 | 128.00 | 256.00 | 4.00 | 8.00 | 16.00 | 36.08 | 64.00 | 128.00 | 4.00 | 8.00 | 16.00 | 34.49 | 64.00 | 4.00 | 8.00 | 16.00 | 32.86 | ||||||
| vsse8.v v8,(t2),x0 | 4.00 | 8.00 | 16.00 | 32.00 | 64.00 | 128.00 | 256.00 | 4.00 | 8.00 | 16.00 | 32.00 | 64.00 | 128.00 | 4.00 | 8.00 | 16.00 | 32.00 | 64.00 | 4.00 | 8.00 | 16.00 | 32.00 | ||||||
| vsse8.v v8,(t2),x0,v0.t | 4.00 | 8.00 | 16.00 | 32.00 | 64.00 | 128.00 | 256.00 | 4.00 | 8.00 | 16.00 | 32.00 | 64.00 | 128.00 | 4.00 | 8.00 | 16.00 | 32.00 | 64.00 | 4.00 | 8.00 | 16.00 | 32.00 | ||||||
| vsse8.v v8,(t2),t1/*-1*/ | 4.60 | 8.00 | 16.00 | 32.00 | 64.00 | 129.95 | 256.00 | 4.00 | 8.00 | 16.00 | 32.00 | 64.00 | 128.65 | 4.00 | 8.30 | 16.00 | 32.00 | 64.00 | 4.00 | 8.00 | 16.00 | 32.00 | ||||||
| vsse8.v v8,(t2),t1/*-1*/,v0.t | 5.12 | 8.00 | 16.00 | 32.00 | 64.00 | 129.17 | 256.00 | 4.00 | 8.00 | 16.00 | 32.00 | 64.00 | 128.13 | 4.00 | 8.00 | 16.00 | 32.00 | 64.00 | 4.00 | 8.00 | 16.00 | 32.00 | ||||||
| vsse16.v v8,(t2),t3 | 4.00 | 8.00 | 17.26 | 4.00 | 8.00 | 16.00 | 32.65 | 64.00 | 128.00 | 4.00 | 8.00 | 16.00 | 33.41 | 64.00 | 4.00 | 8.00 | 16.00 | 33.37 | ||||||||||
| vsse16.v v8,(t2),t3,v0.t | 4.00 | 8.00 | 16.00 | 4.00 | 8.00 | 16.00 | 32.85 | 64.00 | 128.00 | 4.00 | 8.00 | 16.56 | 32.87 | 64.00 | 4.00 | 8.00 | 20.73 | 32.05 | ||||||||||
| vsse16.v v8,(t2),x0 | 4.00 | 8.00 | 16.00 | 4.00 | 8.00 | 16.00 | 32.00 | 64.00 | 128.00 | 4.00 | 8.00 | 16.00 | 32.00 | 64.00 | 4.00 | 8.00 | 16.00 | 32.00 | ||||||||||
| vsse16.v v8,(t2),x0,v0.t | 4.00 | 8.00 | 16.00 | 4.00 | 8.00 | 16.00 | 32.00 | 64.00 | 128.00 | 4.00 | 8.00 | 16.00 | 32.00 | 64.00 | 4.00 | 8.00 | 16.00 | 32.00 | ||||||||||
| vsse16.v v8,(t2),t1/*-1*/ | 5.80 | 8.00 | 16.00 | 4.00 | 8.00 | 16.00 | 32.00 | 64.00 | 128.00 | 4.52 | 11.46 | 17.63 | 32.00 | 64.00 | 4.60 | 8.00 | 17.60 | 32.00 | ||||||||||
| vsse16.v v8,(t2),t1/*-1*/,v0.t | 5.55 | 9.51 | 16.00 | 5.15 | 8.75 | 16.96 | 32.00 | 64.00 | 128.00 | 4.00 | 8.00 | 16.00 | 32.00 | 64.78 | 4.00 | 8.00 | 16.00 | 32.00 | ||||||||||
| vsse32.v v8,(t2),t3 | 4.00 | 8.00 | 4.00 | 8.13 | 4.00 | 8.00 | 16.04 | 32.00 | 64.00 | 4.00 | 8.00 | 16.23 | 32.00 | |||||||||||||||
| vsse32.v v8,(t2),t3,v0.t | 4.00 | 8.00 | 4.00 | 8.00 | 4.00 | 8.00 | 16.22 | 32.00 | 64.00 | 4.00 | 8.00 | 16.24 | 32.00 | |||||||||||||||
| vsse32.v v8,(t2),x0 | 4.00 | 8.00 | 4.00 | 8.00 | 4.00 | 8.00 | 16.00 | 32.00 | 64.00 | 4.00 | 8.00 | 16.00 | 32.00 | |||||||||||||||
| vsse32.v v8,(t2),x0,v0.t | 4.00 | 8.00 | 4.00 | 8.00 | 4.00 | 8.00 | 16.00 | 32.00 | 64.00 | 4.00 | 8.00 | 16.00 | 32.00 | |||||||||||||||
| vsse32.v v8,(t2),t1/*-1*/ | 4.00 | 8.00 | 4.00 | 8.00 | 4.00 | 8.00 | 16.00 | 32.00 | 64.00 | 4.00 | 8.00 | 16.00 | 32.15 | |||||||||||||||
| vsse32.v v8,(t2),t1/*-1*/,v0.t | 4.00 | 8.00 | 4.29 | 8.27 | 4.00 | 8.00 | 16.00 | 32.00 | 64.00 | 4.00 | 8.00 | 16.00 | 33.57 | |||||||||||||||
| vsse64.v v8,(t2),t3 | 5.38 | 5.56 | 7.12 | 4.95 | 8.59 | 16.00 | 32.00 | |||||||||||||||||||||
| vsse64.v v8,(t2),t3,v0.t | 5.41 | 4.00 | 4.00 | 4.00 | 9.05 | 16.00 | 32.00 | |||||||||||||||||||||
| vsse64.v v8,(t2),x0 | 4.00 | 4.00 | 4.00 | 4.00 | 8.00 | 16.00 | 32.00 | |||||||||||||||||||||
| vsse64.v v8,(t2),x0,v0.t | 4.00 | 4.00 | 4.00 | 4.00 | 8.00 | 16.00 | 32.00 | |||||||||||||||||||||
| vsse64.v v8,(t2),t1/*-1*/ | 4.00 | 4.00 | 4.00 | 4.20 | 8.00 | 16.63 | 33.90 | |||||||||||||||||||||
| vsse64.v v8,(t2),t1/*-1*/,v0.t | 4.00 | 4.00 | 4.00 | 4.00 | 8.35 | 16.94 | 32.00 | |||||||||||||||||||||
| vlseg2e8.v v8,(t0) | 4.87 | 4.87 | 4.65 | 7.40 | 12.43 | 28.02 | 4.87 | 4.87 | 4.59 | 4.78 | 12.79 | 4.83 | 4.87 | 2.65 | 4.76 | 4.87 | 2.22 | 2.97 | ||||||||||
| vlseg2e8.v v8,(t0),v0.t | 4.86 | 4.87 | 4.53 | 7.37 | 12.31 | 28.29 | 4.87 | 4.87 | 4.59 | 4.68 | 12.72 | 4.87 | 4.87 | 2.75 | 4.81 | 4.87 | 2.22 | 2.90 | ||||||||||
| vlseg2e16.v v8,(t0) | 4.87 | 4.65 | 7.35 | 4.87 | 4.83 | 7.40 | 12.43 | 28.25 | 4.87 | 4.65 | 4.83 | 12.84 | 4.87 | 2.75 | 4.84 | |||||||||||||
| vlseg2e16.v v8,(t0),v0.t | 4.87 | 4.44 | 7.40 | 4.87 | 4.59 | 7.42 | 12.37 | 28.40 | 4.87 | 4.50 | 4.75 | 12.74 | 4.87 | 2.75 | 4.75 | |||||||||||||
| vlseg2e32.v v8,(t0) | 4.71 | 7.40 | 4.56 | 7.40 | 4.59 | 7.42 | 12.43 | 27.80 | 4.65 | 4.90 | 12.67 | |||||||||||||||||
| vlseg2e32.v v8,(t0),v0.t | 4.47 | 7.31 | 4.56 | 7.31 | 4.68 | 7.41 | 12.43 | 28.37 | 4.59 | 4.75 | 12.69 | |||||||||||||||||
| vlseg2e64.v v8,(t0) | 7.37 | 7.45 | 7.41 | 7.37 | 12.46 | 28.33 | ||||||||||||||||||||||
| vlseg2e64.v v8,(t0),v0.t | 7.38 | 7.42 | 7.47 | 7.47 | 12.08 | 28.51 | ||||||||||||||||||||||
| vsseg2e8.v v8,(t0) | 3.00 | 3.00 | 4.00 | 8.00 | 16.00 | 32.00 | 3.00 | 3.00 | 4.00 | 8.25 | 16.00 | 3.00 | 3.00 | 4.20 | 8.25 | 3.00 | 3.00 | 4.00 | ||||||||||
| vsseg2e8.v v8,(t0),v0.t | 3.00 | 3.00 | 4.05 | 8.06 | 16.00 | 32.00 | 3.00 | 3.00 | 4.00 | 8.00 | 16.00 | 3.00 | 3.00 | 4.00 | 8.00 | 3.00 | 3.00 | 4.00 | ||||||||||
| vsseg2e16.v v8,(t0) | 3.00 | 4.00 | 8.00 | 3.00 | 4.00 | 8.00 | 16.00 | 32.00 | 3.00 | 4.00 | 8.00 | 16.00 | 3.00 | 4.00 | 8.00 | |||||||||||||
| vsseg2e16.v v8,(t0),v0.t | 3.00 | 4.07 | 8.00 | 3.00 | 4.00 | 8.00 | 16.00 | 32.00 | 3.00 | 4.00 | 8.06 | 16.00 | 3.00 | 4.00 | 8.00 | |||||||||||||
| vsseg2e32.v v8,(t0) | 4.27 | 8.00 | 4.00 | 8.00 | 4.00 | 8.00 | 16.00 | 32.00 | 4.00 | 8.00 | 16.00 | |||||||||||||||||
| vsseg2e32.v v8,(t0),v0.t | 4.00 | 8.00 | 4.00 | 8.00 | 4.00 | 8.00 | 16.00 | 32.00 | 4.00 | 8.00 | 16.00 | |||||||||||||||||
| vsseg2e64.v v8,(t0) | 8.00 | 8.00 | 8.00 | 8.00 | 16.00 | 32.00 | ||||||||||||||||||||||
| vsseg2e64.v v8,(t0),v0.t | 8.00 | 8.00 | 8.00 | 8.00 | 16.00 | 32.00 | ||||||||||||||||||||||
| vlseg3e8.v v8,(t0) | 5.09 | 5.01 | 5.22 | 9.40 | 19.24 | 5.06 | 5.00 | 5.55 | 8.63 | 5.06 | 4.92 | 5.39 | 5.06 | 5.17 | ||||||||||||||
| vlseg3e8.v v8,(t0),v0.t | 5.06 | 4.95 | 5.26 | 9.22 | 19.55 | 5.05 | 4.95 | 5.60 | 8.94 | 5.04 | 4.87 | 5.36 | 5.05 | 5.12 | ||||||||||||||
| vlseg3e16.v v8,(t0) | 4.97 | 5.31 | 9.52 | 4.97 | 5.42 | 9.01 | 19.34 | 4.86 | 5.43 | 8.63 | 4.94 | 5.39 | ||||||||||||||||
| vlseg3e16.v v8,(t0),v0.t | 4.99 | 5.59 | 9.43 | 4.99 | 5.43 | 8.76 | 19.59 | 4.86 | 5.48 | 8.92 | 5.07 | 5.38 | ||||||||||||||||
| vlseg3e32.v v8,(t0) | 5.53 | 9.60 | 5.64 | 8.96 | 5.41 | 9.17 | 19.49 | 5.53 | 8.61 | |||||||||||||||||||
| vlseg3e32.v v8,(t0),v0.t | 5.53 | 8.68 | 5.93 | 9.60 | 5.70 | 8.80 | 19.28 | 5.42 | 8.62 | |||||||||||||||||||
| vlseg3e64.v v8,(t0) | 10.13 | 10.11 | 10.14 | 10.14 | 19.60 | |||||||||||||||||||||||
| vlseg3e64.v v8,(t0),v0.t | 10.14 | 10.14 | 10.14 | 10.15 | 19.54 | |||||||||||||||||||||||
| vsseg3e8.v v8,(t0) | 4.00 | 5.00 | 7.00 | 14.15 | 28.00 | 4.00 | 5.00 | 7.00 | 14.45 | 4.00 | 5.00 | 7.00 | 4.00 | 5.00 | ||||||||||||||
| vsseg3e8.v v8,(t0),v0.t | 4.00 | 5.00 | 7.00 | 16.52 | 28.00 | 4.00 | 5.00 | 7.00 | 16.59 | 4.00 | 5.00 | 7.00 | 4.00 | 5.00 | ||||||||||||||
| vsseg3e16.v v8,(t0) | 5.00 | 7.00 | 14.00 | 5.00 | 7.00 | 14.00 | 28.00 | 5.00 | 7.00 | 14.00 | 5.00 | 7.00 | ||||||||||||||||
| vsseg3e16.v v8,(t0),v0.t | 5.00 | 7.00 | 14.10 | 5.00 | 7.00 | 14.40 | 28.00 | 5.00 | 7.00 | 14.50 | 5.00 | 7.00 | ||||||||||||||||
| vsseg3e32.v v8,(t0) | 7.00 | 14.00 | 7.00 | 14.00 | 7.00 | 14.00 | 28.00 | 7.00 | 14.00 | |||||||||||||||||||
| vsseg3e32.v v8,(t0),v0.t | 7.00 | 14.00 | 7.00 | 14.00 | 7.00 | 14.00 | 28.00 | 7.00 | 14.00 | |||||||||||||||||||
| vsseg3e64.v v8,(t0) | 12.00 | 12.00 | 12.00 | 12.00 | 24.00 | |||||||||||||||||||||||
| vsseg3e64.v v8,(t0),v0.t | 12.00 | 12.00 | 12.00 | 12.00 | 24.00 | |||||||||||||||||||||||
| vlseg4e8.v v8,(t0) | 5.56 | 5.34 | 7.18 | 11.19 | 28.21 | 5.37 | 5.35 | 7.10 | 10.90 | 5.37 | 5.36 | 6.96 | 5.44 | 6.04 | ||||||||||||||
| vlseg4e8.v v8,(t0),v0.t | 5.46 | 5.34 | 7.26 | 11.16 | 28.40 | 5.53 | 5.34 | 6.94 | 10.93 | 5.35 | 5.34 | 6.97 | 5.44 | 6.07 | ||||||||||||||
| vlseg4e16.v v8,(t0) | 5.34 | 6.86 | 11.17 | 5.34 | 7.10 | 11.15 | 28.11 | 5.34 | 6.61 | 10.90 | 5.34 | 6.96 | ||||||||||||||||
| vlseg4e16.v v8,(t0),v0.t | 5.35 | 7.51 | 11.21 | 5.34 | 7.18 | 11.17 | 28.30 | 5.33 | 7.26 | 10.90 | 5.35 | 6.98 | ||||||||||||||||
| vlseg4e32.v v8,(t0) | 7.34 | 11.15 | 7.43 | 11.19 | 7.26 | 11.12 | 28.06 | 7.02 | 11.09 | |||||||||||||||||||
| vlseg4e32.v v8,(t0),v0.t | 6.60 | 11.16 | 7.02 | 11.16 | 7.18 | 11.18 | 28.03 | 7.43 | 11.12 | |||||||||||||||||||
| vlseg4e64.v v8,(t0) | 11.73 | 12.10 | 11.60 | 12.40 | 26.36 | |||||||||||||||||||||||
| vlseg4e64.v v8,(t0),v0.t | 11.94 | 11.06 | 12.54 | 11.73 | 26.36 | |||||||||||||||||||||||
| vsseg4e8.v v8,(t0) | 5.00 | 6.00 | 8.35 | 16.00 | 32.00 | 5.00 | 6.00 | 8.00 | 16.00 | 5.00 | 6.00 | 8.02 | 5.00 | 6.00 | ||||||||||||||
| vsseg4e8.v v8,(t0),v0.t | 5.00 | 6.00 | 8.00 | 16.00 | 32.00 | 5.00 | 6.00 | 8.70 | 16.00 | 5.00 | 6.00 | 9.15 | 5.00 | 6.00 | ||||||||||||||
| vsseg4e16.v v8,(t0) | 6.00 | 8.00 | 16.00 | 6.00 | 8.00 | 16.00 | 32.00 | 6.00 | 8.00 | 16.00 | 6.00 | 8.02 | ||||||||||||||||
| vsseg4e16.v v8,(t0),v0.t | 6.00 | 8.00 | 16.00 | 6.00 | 8.00 | 16.00 | 32.00 | 6.00 | 8.00 | 16.00 | 6.00 | 8.00 | ||||||||||||||||
| vsseg4e32.v v8,(t0) | 8.00 | 16.00 | 8.00 | 16.00 | 8.00 | 16.00 | 32.00 | 8.00 | 16.00 | |||||||||||||||||||
| vsseg4e32.v v8,(t0),v0.t | 8.00 | 16.00 | 8.00 | 16.00 | 8.00 | 16.00 | 32.00 | 8.00 | 16.00 | |||||||||||||||||||
| vsseg4e64.v v8,(t0) | 16.00 | 16.00 | 16.00 | 16.00 | 32.00 | |||||||||||||||||||||||
| vsseg4e64.v v8,(t0),v0.t | 16.00 | 16.00 | 16.00 | 16.00 | 32.00 | |||||||||||||||||||||||
| vlseg5e8.v v8,(t0) | 20.00 | 40.00 | 80.00 | 159.38 | 20.00 | 40.00 | 80.00 | 20.00 | 40.00 | 20.00 | ||||||||||||||||||
| vlseg5e8.v v8,(t0),v0.t | 20.00 | 40.00 | 80.00 | 159.37 | 20.00 | 40.00 | 80.00 | 20.00 | 40.00 | 20.00 | ||||||||||||||||||
| vlseg5e16.v v8,(t0) | 20.00 | 40.00 | 79.29 | 20.00 | 40.00 | 79.23 | 20.00 | 40.00 | 20.00 | |||||||||||||||||||
| vlseg5e16.v v8,(t0),v0.t | 20.00 | 40.00 | 79.23 | 20.00 | 40.00 | 79.22 | 20.00 | 40.00 | 20.00 | |||||||||||||||||||
| vlseg5e32.v v8,(t0) | 20.00 | 39.37 | 20.00 | 39.39 | 20.00 | 39.31 | 20.00 | |||||||||||||||||||||
| vlseg5e32.v v8,(t0),v0.t | 20.00 | 39.38 | 20.00 | 39.43 | 20.00 | 39.36 | 20.00 | |||||||||||||||||||||
| vlseg5e64.v v8,(t0) | 19.59 | 19.59 | 19.55 | 19.58 | ||||||||||||||||||||||||
| vlseg5e64.v v8,(t0),v0.t | 19.59 | 19.58 | 19.57 | 19.60 | ||||||||||||||||||||||||
| vsseg5e8.v v8,(t0) | 20.00 | 40.00 | 80.37 | 162.17 | 20.00 | 40.00 | 80.00 | 20.00 | 40.00 | 20.00 | ||||||||||||||||||
| vsseg5e8.v v8,(t0),v0.t | 20.00 | 40.00 | 80.00 | 160.00 | 20.00 | 40.00 | 80.00 | 20.00 | 40.00 | 20.00 | ||||||||||||||||||
| vsseg5e16.v v8,(t0) | 20.00 | 40.00 | 84.69 | 20.00 | 40.00 | 85.06 | 20.00 | 40.00 | 20.00 | |||||||||||||||||||
| vsseg5e16.v v8,(t0),v0.t | 20.00 | 40.00 | 81.40 | 20.00 | 40.00 | 81.01 | 20.00 | 40.00 | 20.00 | |||||||||||||||||||
| vsseg5e32.v v8,(t0) | 20.00 | 42.81 | 20.00 | 44.15 | 20.00 | 44.78 | 20.00 | |||||||||||||||||||||
| vsseg5e32.v v8,(t0),v0.t | 20.15 | 45.01 | 20.07 | 45.22 | 20.00 | 42.86 | 20.00 | |||||||||||||||||||||
| vsseg5e64.v v8,(t0) | 20.00 | 20.00 | 20.18 | 20.11 | ||||||||||||||||||||||||
| vsseg5e64.v v8,(t0),v0.t | 20.00 | 20.02 | 20.00 | 20.06 | ||||||||||||||||||||||||
| vlseg6e8.v v8,(t0) | 24.37 | 48.37 | 96.37 | 191.37 | 24.37 | 48.37 | 96.37 | 24.37 | 48.37 | 24.37 | ||||||||||||||||||
| vlseg6e8.v v8,(t0),v0.t | 24.37 | 48.37 | 96.37 | 191.38 | 24.37 | 48.37 | 96.37 | 24.37 | 48.37 | 24.37 | ||||||||||||||||||
| vlseg6e16.v v8,(t0) | 24.37 | 48.37 | 95.12 | 24.37 | 48.37 | 95.18 | 24.37 | 48.37 | 24.37 | |||||||||||||||||||
| vlseg6e16.v v8,(t0),v0.t | 24.37 | 48.37 | 95.12 | 24.37 | 48.37 | 95.15 | 24.37 | 48.37 | 24.37 | |||||||||||||||||||
| vlseg6e32.v v8,(t0) | 24.37 | 47.40 | 24.37 | 47.32 | 24.37 | 47.36 | 24.37 | |||||||||||||||||||||
| vlseg6e32.v v8,(t0),v0.t | 24.37 | 47.33 | 24.37 | 47.29 | 24.37 | 47.37 | 24.37 | |||||||||||||||||||||
| vlseg6e64.v v8,(t0) | 23.23 | 23.25 | 23.27 | 23.28 | ||||||||||||||||||||||||
| vlseg6e64.v v8,(t0),v0.t | 23.25 | 23.23 | 23.25 | 23.25 | ||||||||||||||||||||||||
| vsseg6e8.v v8,(t0) | 24.00 | 48.00 | 96.00 | 195.11 | 24.00 | 48.00 | 96.00 | 24.00 | 48.00 | 24.00 | ||||||||||||||||||
| vsseg6e8.v v8,(t0),v0.t | 24.00 | 48.00 | 96.00 | 192.00 | 24.00 | 48.00 | 96.00 | 24.00 | 48.00 | 24.00 | ||||||||||||||||||
| vsseg6e16.v v8,(t0) | 24.00 | 48.00 | 100.95 | 24.00 | 48.00 | 98.19 | 24.00 | 48.00 | 24.00 | |||||||||||||||||||
| vsseg6e16.v v8,(t0),v0.t | 24.00 | 48.00 | 99.09 | 24.00 | 48.00 | 100.64 | 24.00 | 48.00 | 24.00 | |||||||||||||||||||
| vsseg6e32.v v8,(t0) | 24.00 | 55.17 | 24.00 | 52.03 | 24.00 | 53.76 | 24.00 | |||||||||||||||||||||
| vsseg6e32.v v8,(t0),v0.t | 24.00 | 53.82 | 24.00 | 51.41 | 24.00 | 48.81 | 24.00 | |||||||||||||||||||||
| vsseg6e64.v v8,(t0) | 24.33 | 24.56 | 24.60 | 24.53 | ||||||||||||||||||||||||
| vsseg6e64.v v8,(t0),v0.t | 24.40 | 24.06 | 24.13 | 24.13 | ||||||||||||||||||||||||
| vlseg7e8.v v8,(t0) | 28.25 | 56.25 | 112.25 | 223.22 | 28.25 | 56.25 | 112.25 | 28.25 | 56.25 | 28.25 | ||||||||||||||||||
| vlseg7e8.v v8,(t0),v0.t | 28.25 | 56.25 | 112.25 | 223.26 | 28.25 | 56.25 | 112.25 | 28.25 | 56.25 | 28.25 | ||||||||||||||||||
| vlseg7e16.v v8,(t0) | 28.25 | 56.25 | 111.12 | 28.25 | 56.25 | 111.13 | 28.25 | 56.25 | 28.25 | |||||||||||||||||||
| vlseg7e16.v v8,(t0),v0.t | 28.25 | 56.25 | 111.11 | 28.25 | 56.25 | 111.11 | 28.25 | 56.25 | 28.25 | |||||||||||||||||||
| vlseg7e32.v v8,(t0) | 28.25 | 55.04 | 28.25 | 55.04 | 28.25 | 55.03 | 28.25 | |||||||||||||||||||||
| vlseg7e32.v v8,(t0),v0.t | 28.25 | 55.04 | 28.25 | 54.99 | 28.25 | 55.09 | 28.25 | |||||||||||||||||||||
| vlseg7e64.v v8,(t0) | 27.21 | 27.21 | 27.23 | 27.17 | ||||||||||||||||||||||||
| vlseg7e64.v v8,(t0),v0.t | 27.24 | 27.14 | 27.23 | 27.19 | ||||||||||||||||||||||||
| vsseg7e8.v v8,(t0) | 28.00 | 56.00 | 112.02 | 229.49 | 28.00 | 56.00 | 112.13 | 28.00 | 56.00 | 28.00 | ||||||||||||||||||
| vsseg7e8.v v8,(t0),v0.t | 28.00 | 56.00 | 112.00 | 224.00 | 28.00 | 56.00 | 112.00 | 28.00 | 56.00 | 28.00 | ||||||||||||||||||
| vsseg7e16.v v8,(t0) | 28.00 | 56.34 | 116.97 | 28.00 | 57.54 | 116.63 | 28.00 | 56.34 | 28.00 | |||||||||||||||||||
| vsseg7e16.v v8,(t0),v0.t | 28.00 | 56.30 | 113.95 | 28.00 | 56.17 | 113.73 | 28.00 | 57.73 | 28.00 | |||||||||||||||||||
| vsseg7e32.v v8,(t0) | 28.01 | 58.88 | 29.66 | 58.10 | 28.66 | 57.16 | 28.29 | |||||||||||||||||||||
| vsseg7e32.v v8,(t0),v0.t | 30.32 | 62.39 | 28.87 | 59.46 | 28.00 | 57.11 | 28.25 | |||||||||||||||||||||
| vsseg7e64.v v8,(t0) | 28.00 | 28.00 | 28.00 | 28.00 | ||||||||||||||||||||||||
| vsseg7e64.v v8,(t0),v0.t | 28.00 | 28.00 | 28.00 | 28.00 | ||||||||||||||||||||||||
| vlseg8e8.v v8,(t0) | 32.15 | 64.12 | 128.12 | 255.18 | 32.15 | 64.12 | 128.12 | 32.15 | 64.12 | 32.15 | ||||||||||||||||||
| vlseg8e8.v v8,(t0),v0.t | 32.15 | 64.12 | 128.12 | 255.18 | 32.15 | 64.12 | 128.12 | 32.15 | 64.12 | 32.15 | ||||||||||||||||||
| vlseg8e16.v v8,(t0) | 32.14 | 64.13 | 127.13 | 32.13 | 64.14 | 127.13 | 32.13 | 64.14 | 32.14 | |||||||||||||||||||
| vlseg8e16.v v8,(t0),v0.t | 32.14 | 64.13 | 127.14 | 32.13 | 64.13 | 127.14 | 32.13 | 64.13 | 32.13 | |||||||||||||||||||
| vlseg8e32.v v8,(t0) | 32.19 | 63.15 | 32.18 | 63.17 | 32.18 | 63.17 | 32.19 | |||||||||||||||||||||
| vlseg8e32.v v8,(t0),v0.t | 32.19 | 63.16 | 32.19 | 63.16 | 32.19 | 63.18 | 32.19 | |||||||||||||||||||||
| vlseg8e64.v v8,(t0) | 31.12 | 31.12 | 31.12 | 31.12 | ||||||||||||||||||||||||
| vlseg8e64.v v8,(t0),v0.t | 31.12 | 31.12 | 31.12 | 31.12 | ||||||||||||||||||||||||
| vsseg8e8.v v8,(t0) | 32.00 | 64.00 | 128.35 | 267.10 | 32.00 | 64.00 | 128.05 | 32.00 | 64.00 | 32.00 | ||||||||||||||||||
| vsseg8e8.v v8,(t0),v0.t | 32.00 | 64.00 | 129.93 | 263.74 | 32.00 | 64.00 | 128.73 | 32.00 | 64.00 | 32.00 | ||||||||||||||||||
| vsseg8e16.v v8,(t0) | 32.00 | 64.18 | 128.67 | 32.43 | 65.59 | 129.47 | 32.40 | 64.63 | 32.40 | |||||||||||||||||||
| vsseg8e16.v v8,(t0),v0.t | 32.06 | 64.00 | 128.71 | 32.33 | 64.55 | 129.87 | 32.13 | 64.06 | 32.00 | |||||||||||||||||||
| vsseg8e32.v v8,(t0) | 33.02 | 67.50 | 33.37 | 64.00 | 33.32 | 64.47 | 32.92 | |||||||||||||||||||||
| vsseg8e32.v v8,(t0),v0.t | 32.64 | 74.63 | 36.72 | 80.14 | 33.98 | 76.62 | 33.65 | |||||||||||||||||||||
| vsseg8e64.v v8,(t0) | 34.54 | 34.00 | 34.00 | 34.00 | ||||||||||||||||||||||||
| vsseg8e64.v v8,(t0),v0.t | 32.00 | 32.00 | 32.00 | 32.00 | ||||||||||||||||||||||||
| vlseg2e8ff.v v8,(t0) | 4.87 | 4.87 | 4.56 | 7.38 | 12.60 | 28.07 | 4.86 | 4.87 | 4.65 | 4.78 | 12.64 | 4.87 | 4.87 | 2.82 | 4.84 | 4.87 | 2.22 | 2.82 | ||||||||||
| vlseg2e8ff.v v8,(t0),v0.t | 4.87 | 4.87 | 4.62 | 7.40 | 12.21 | 28.32 | 4.87 | 4.87 | 4.56 | 4.96 | 12.72 | 4.87 | 4.87 | 2.62 | 4.65 | 4.87 | 2.21 | 2.97 | ||||||||||
| vlseg2e16ff.v v8,(t0) | 4.87 | 4.62 | 7.33 | 4.87 | 4.71 | 7.30 | 12.54 | 27.86 | 4.87 | 4.62 | 4.84 | 12.67 | 4.87 | 2.77 | 4.84 | |||||||||||||
| vlseg2e16ff.v v8,(t0),v0.t | 4.87 | 4.62 | 7.31 | 4.87 | 4.56 | 7.35 | 12.43 | 28.02 | 4.87 | 4.50 | 4.83 | 12.82 | 4.87 | 2.65 | 4.93 | |||||||||||||
| vlseg2e32ff.v v8,(t0) | 4.59 | 7.35 | 4.71 | 7.37 | 4.47 | 7.33 | 12.25 | 28.10 | 4.53 | 4.90 | 12.67 | |||||||||||||||||
| vlseg2e32ff.v v8,(t0),v0.t | 4.74 | 7.30 | 4.53 | 7.42 | 4.59 | 7.45 | 12.54 | 28.52 | 4.65 | 4.66 | 12.59 | |||||||||||||||||
| vlseg2e64ff.v v8,(t0) | 7.42 | 7.42 | 7.48 | 7.38 | 12.38 | 29.00 | ||||||||||||||||||||||
| vlseg2e64ff.v v8,(t0),v0.t | 7.38 | 7.44 | 7.35 | 7.43 | 12.26 | 28.32 | ||||||||||||||||||||||
| vlseg3e8ff.v v8,(t0) | 5.06 | 4.90 | 5.44 | 9.38 | 19.31 | 5.04 | 4.91 | 5.43 | 8.85 | 5.08 | 4.92 | 5.40 | 5.06 | 5.10 | ||||||||||||||
| vlseg3e8ff.v v8,(t0),v0.t | 5.04 | 4.93 | 5.67 | 9.57 | 19.31 | 5.06 | 4.90 | 5.48 | 8.63 | 5.05 | 4.95 | 5.32 | 5.08 | 5.16 | ||||||||||||||
| vlseg3e16ff.v v8,(t0) | 4.83 | 5.14 | 9.21 | 5.01 | 5.37 | 9.48 | 19.28 | 4.91 | 5.65 | 8.61 | 4.94 | 5.34 | ||||||||||||||||
| vlseg3e16ff.v v8,(t0),v0.t | 5.00 | 5.48 | 9.56 | 4.85 | 5.59 | 9.15 | 19.25 | 4.86 | 5.36 | 8.73 | 4.94 | 5.38 | ||||||||||||||||
| vlseg3e32ff.v v8,(t0) | 5.64 | 9.12 | 5.58 | 10.00 | 5.64 | 9.37 | 19.45 | 5.39 | 8.61 | |||||||||||||||||||
| vlseg3e32ff.v v8,(t0),v0.t | 5.70 | 9.61 | 5.53 | 9.17 | 5.53 | 9.24 | 19.46 | 5.38 | 8.62 | |||||||||||||||||||
| vlseg3e64ff.v v8,(t0) | 10.15 | 10.12 | 10.13 | 10.14 | 19.57 | |||||||||||||||||||||||
| vlseg3e64ff.v v8,(t0),v0.t | 10.12 | 10.15 | 10.14 | 10.14 | 19.50 | |||||||||||||||||||||||
| vlseg4e8ff.v v8,(t0) | 5.37 | 5.34 | 7.18 | 11.16 | 27.72 | 5.37 | 5.34 | 7.34 | 11.06 | 5.47 | 5.34 | 7.03 | 5.44 | 6.23 | ||||||||||||||
| vlseg4e8ff.v v8,(t0),v0.t | 5.36 | 5.35 | 6.94 | 11.14 | 28.07 | 5.46 | 5.34 | 7.51 | 10.96 | 5.46 | 5.35 | 6.92 | 5.46 | 6.07 | ||||||||||||||
| vlseg4e16ff.v v8,(t0) | 5.35 | 7.18 | 11.11 | 5.35 | 7.43 | 11.13 | 28.21 | 5.35 | 7.02 | 10.93 | 5.35 | 6.97 | ||||||||||||||||
| vlseg4e16ff.v v8,(t0),v0.t | 5.34 | 7.10 | 11.17 | 5.34 | 6.86 | 11.20 | 27.82 | 5.34 | 6.86 | 10.80 | 5.35 | 6.96 | ||||||||||||||||
| vlseg4e32ff.v v8,(t0) | 7.10 | 11.18 | 6.94 | 11.18 | 6.94 | 11.17 | 28.11 | 7.59 | 11.09 | |||||||||||||||||||
| vlseg4e32ff.v v8,(t0),v0.t | 7.51 | 11.14 | 7.26 | 11.21 | 7.18 | 11.16 | 28.01 | 7.10 | 10.93 | |||||||||||||||||||
| vlseg4e64ff.v v8,(t0) | 11.54 | 12.04 | 11.86 | 11.60 | 26.36 | |||||||||||||||||||||||
| vlseg4e64ff.v v8,(t0),v0.t | 12.00 | 11.46 | 11.06 | 12.94 | 26.25 | |||||||||||||||||||||||
| vlseg5e8ff.v v8,(t0) | 20.00 | 40.00 | 80.00 | 159.40 | 20.00 | 40.00 | 80.00 | 20.00 | 40.00 | 20.00 | ||||||||||||||||||
| vlseg5e8ff.v v8,(t0),v0.t | 20.00 | 40.00 | 80.00 | 159.38 | 20.00 | 40.00 | 80.00 | 20.00 | 40.00 | 20.00 | ||||||||||||||||||
| vlseg5e16ff.v v8,(t0) | 20.00 | 40.00 | 79.25 | 20.00 | 40.00 | 79.21 | 20.00 | 40.00 | 20.00 | |||||||||||||||||||
| vlseg5e16ff.v v8,(t0),v0.t | 20.00 | 40.00 | 79.22 | 20.00 | 40.00 | 79.23 | 20.00 | 40.00 | 20.00 | |||||||||||||||||||
| vlseg5e32ff.v v8,(t0) | 20.00 | 39.42 | 20.00 | 39.34 | 20.00 | 39.35 | 20.00 | |||||||||||||||||||||
| vlseg5e32ff.v v8,(t0),v0.t | 20.00 | 39.25 | 20.00 | 39.33 | 20.00 | 39.35 | 20.00 | |||||||||||||||||||||
| vlseg5e64ff.v v8,(t0) | 19.60 | 19.61 | 19.60 | 19.57 | ||||||||||||||||||||||||
| vlseg5e64ff.v v8,(t0),v0.t | 19.58 | 19.60 | 19.58 | 19.60 | ||||||||||||||||||||||||
| vlseg6e8ff.v v8,(t0) | 24.37 | 48.37 | 96.37 | 191.35 | 24.37 | 48.37 | 96.37 | 24.37 | 48.37 | 24.37 | ||||||||||||||||||
| vlseg6e8ff.v v8,(t0),v0.t | 24.37 | 48.37 | 96.37 | 191.35 | 24.37 | 48.37 | 96.37 | 24.37 | 48.37 | 24.37 | ||||||||||||||||||
| vlseg6e16ff.v v8,(t0) | 24.37 | 48.37 | 95.13 | 24.37 | 48.37 | 95.15 | 24.37 | 48.37 | 24.37 | |||||||||||||||||||
| vlseg6e16ff.v v8,(t0),v0.t | 24.37 | 48.37 | 95.15 | 24.37 | 48.37 | 95.16 | 24.37 | 48.37 | 24.37 | |||||||||||||||||||
| vlseg6e32ff.v v8,(t0) | 24.37 | 47.38 | 24.37 | 47.41 | 24.37 | 47.21 | 24.37 | |||||||||||||||||||||
| vlseg6e32ff.v v8,(t0),v0.t | 24.37 | 47.34 | 24.37 | 47.34 | 24.37 | 47.32 | 24.37 | |||||||||||||||||||||
| vlseg6e64ff.v v8,(t0) | 23.23 | 23.28 | 23.27 | 23.16 | ||||||||||||||||||||||||
| vlseg6e64ff.v v8,(t0),v0.t | 23.18 | 23.28 | 23.37 | 23.25 | ||||||||||||||||||||||||
| vlseg7e8ff.v v8,(t0) | 28.25 | 56.25 | 112.25 | 223.27 | 28.25 | 56.25 | 112.25 | 28.25 | 56.25 | 28.25 | ||||||||||||||||||
| vlseg7e8ff.v v8,(t0),v0.t | 28.25 | 56.25 | 112.25 | 223.35 | 28.25 | 56.25 | 112.25 | 28.25 | 56.25 | 28.25 | ||||||||||||||||||
| vlseg7e16ff.v v8,(t0) | 28.25 | 56.25 | 111.10 | 28.25 | 56.25 | 111.12 | 28.25 | 56.25 | 28.25 | |||||||||||||||||||
| vlseg7e16ff.v v8,(t0),v0.t | 28.25 | 56.25 | 111.13 | 28.25 | 56.25 | 111.10 | 28.25 | 56.25 | 28.25 | |||||||||||||||||||
| vlseg7e32ff.v v8,(t0) | 28.25 | 55.08 | 28.25 | 55.04 | 28.25 | 55.04 | 28.25 | |||||||||||||||||||||
| vlseg7e32ff.v v8,(t0),v0.t | 28.25 | 55.05 | 28.25 | 55.03 | 28.25 | 55.04 | 28.25 | |||||||||||||||||||||
| vlseg7e64ff.v v8,(t0) | 27.17 | 27.19 | 27.19 | 27.20 | ||||||||||||||||||||||||
| vlseg7e64ff.v v8,(t0),v0.t | 27.23 | 27.13 | 27.16 | 27.21 | ||||||||||||||||||||||||
| vlseg8e8ff.v v8,(t0) | 32.15 | 64.12 | 128.13 | 255.17 | 32.15 | 64.12 | 128.12 | 32.15 | 64.12 | 32.15 | ||||||||||||||||||
| vlseg8e8ff.v v8,(t0),v0.t | 32.15 | 64.12 | 128.12 | 255.18 | 32.15 | 64.12 | 128.12 | 32.15 | 64.12 | 32.15 | ||||||||||||||||||
| vlseg8e16ff.v v8,(t0) | 32.13 | 64.13 | 127.14 | 32.13 | 64.13 | 127.15 | 32.13 | 64.14 | 32.13 | |||||||||||||||||||
| vlseg8e16ff.v v8,(t0),v0.t | 32.14 | 64.14 | 127.13 | 32.14 | 64.13 | 127.13 | 32.13 | 64.13 | 32.13 | |||||||||||||||||||
| vlseg8e32ff.v v8,(t0) | 32.19 | 63.16 | 32.17 | 63.16 | 32.17 | 63.16 | 32.19 | |||||||||||||||||||||
| vlseg8e32ff.v v8,(t0),v0.t | 32.22 | 63.15 | 32.19 | 63.16 | 32.18 | 63.17 | 32.20 | |||||||||||||||||||||
| vlseg8e64ff.v v8,(t0) | 31.12 | 31.12 | 31.12 | 31.12 | ||||||||||||||||||||||||
| vlseg8e64ff.v v8,(t0),v0.t | 31.12 | 31.12 | 31.12 | 31.12 | ||||||||||||||||||||||||
| vlsseg2e8.v v8,(t2),t3 | 5.24 | 6.00 | 11.16 | 25.00 | 59.01 | 137.01 | 5.14 | 6.10 | 11.45 | 25.00 | 59.01 | 5.20 | 6.10 | 9.50 | 25.00 | 5.19 | 5.45 | 9.50 | ||||||||||
| vlsseg2e8.v v8,(t2),t3,v0.t | 5.10 | 6.07 | 11.46 | 25.00 | 59.01 | 137.01 | 5.31 | 6.02 | 11.26 | 25.00 | 59.01 | 5.27 | 6.07 | 9.50 | 25.00 | 5.33 | 5.50 | 9.50 | ||||||||||
| vlsseg2e8.v v8,(t2),x0 | 5.51 | 5.62 | 9.00 | 19.50 | 55.53 | 130.00 | 5.15 | 5.62 | 9.00 | 19.50 | 55.50 | 5.25 | 5.62 | 9.00 | 19.50 | 5.47 | 5.00 | 9.00 | ||||||||||
| vlsseg2e8.v v8,(t2),x0,v0.t | 5.19 | 5.62 | 9.00 | 19.50 | 55.50 | 130.00 | 5.32 | 5.62 | 9.00 | 19.50 | 55.50 | 5.26 | 5.62 | 9.00 | 19.50 | 5.32 | 5.00 | 9.00 | ||||||||||
| vlsseg2e8.v v8,(t2),t1/*-1*/ | 5.07 | 6.00 | 9.50 | 25.40 | 60.00 | 137.01 | 5.07 | 5.95 | 9.50 | 25.55 | 60.00 | 5.24 | 5.90 | 9.50 | 24.02 | 5.16 | 5.40 | 9.50 | ||||||||||
| vlsseg2e8.v v8,(t2),t1/*-1*/,v0.t | 4.98 | 5.90 | 9.50 | 25.15 | 60.00 | 137.01 | 5.20 | 5.92 | 9.50 | 25.82 | 60.00 | 4.97 | 6.00 | 9.50 | 26.15 | 4.93 | 5.32 | 9.50 | ||||||||||
| vlsseg2e16.v v8,(t2),t3 | 5.11 | 6.48 | 14.00 | 5.12 | 6.43 | 14.00 | 35.20 | 81.40 | 5.13 | 6.58 | 14.00 | 35.15 | 5.19 | 5.50 | 14.00 | |||||||||||||
| vlsseg2e16.v v8,(t2),t3,v0.t | 5.11 | 6.48 | 14.00 | 5.14 | 6.53 | 14.00 | 35.25 | 81.80 | 5.11 | 6.48 | 14.00 | 35.25 | 5.15 | 5.50 | 14.00 | |||||||||||||
| vlsseg2e16.v v8,(t2),x0 | 5.23 | 5.62 | 11.50 | 5.25 | 5.62 | 11.50 | 32.00 | 75.50 | 5.36 | 5.62 | 11.50 | 32.00 | 5.33 | 5.00 | 11.50 | |||||||||||||
| vlsseg2e16.v v8,(t2),x0,v0.t | 5.25 | 5.62 | 11.50 | 5.32 | 5.62 | 11.50 | 32.00 | 75.49 | 5.33 | 5.62 | 11.50 | 32.00 | 5.40 | 5.00 | 11.50 | |||||||||||||
| vlsseg2e16.v v8,(t2),t1/*-1*/ | 5.03 | 6.12 | 13.81 | 4.88 | 6.12 | 13.60 | 35.92 | 80.20 | 5.22 | 6.12 | 13.55 | 35.82 | 4.99 | 5.50 | 13.54 | |||||||||||||
| vlsseg2e16.v v8,(t2),t1/*-1*/,v0.t | 4.95 | 6.12 | 13.66 | 5.13 | 6.12 | 13.59 | 35.97 | 80.45 | 4.96 | 6.12 | 13.76 | 35.82 | 5.03 | 5.50 | 13.55 | |||||||||||||
| vlsseg2e32.v v8,(t2),t3 | 4.85 | 9.93 | 4.75 | 9.90 | 4.88 | 10.00 | 22.00 | 51.86 | 5.01 | 9.82 | 22.00 | |||||||||||||||||
| vlsseg2e32.v v8,(t2),t3,v0.t | 4.97 | 9.94 | 4.89 | 10.00 | 4.90 | 9.79 | 21.90 | 52.00 | 5.01 | 9.84 | 21.90 | |||||||||||||||||
| vlsseg2e32.v v8,(t2),x0 | 5.32 | 9.00 | 5.42 | 9.25 | 5.25 | 9.00 | 20.51 | 46.01 | 5.39 | 9.04 | 21.09 | |||||||||||||||||
| vlsseg2e32.v v8,(t2),x0,v0.t | 5.20 | 9.11 | 5.42 | 9.14 | 5.21 | 9.00 | 20.52 | 46.01 | 5.36 | 9.28 | 20.51 | |||||||||||||||||
| vlsseg2e32.v v8,(t2),t1/*-1*/ | 4.79 | 9.00 | 4.80 | 9.00 | 4.84 | 8.80 | 23.50 | 52.48 | 4.80 | 8.92 | 23.11 | |||||||||||||||||
| vlsseg2e32.v v8,(t2),t1/*-1*/,v0.t | 4.82 | 8.87 | 4.83 | 9.00 | 4.81 | 8.95 | 22.69 | 52.45 | 4.81 | 8.92 | 23.65 | |||||||||||||||||
| vlsseg2e64.v v8,(t2),t3 | 5.84 | 5.82 | 5.82 | 5.82 | 15.00 | 32.07 | ||||||||||||||||||||||
| vlsseg2e64.v v8,(t2),t3,v0.t | 5.82 | 5.97 | 5.86 | 5.80 | 15.00 | 32.07 | ||||||||||||||||||||||
| vlsseg2e64.v v8,(t2),x0 | 7.33 | 7.32 | 6.76 | 7.30 | 14.75 | 36.11 | ||||||||||||||||||||||
| vlsseg2e64.v v8,(t2),x0,v0.t | 8.34 | 6.38 | 8.08 | 7.30 | 14.75 | 33.41 | ||||||||||||||||||||||
| vlsseg2e64.v v8,(t2),t1/*-1*/ | 5.86 | 5.86 | 5.80 | 5.92 | 15.00 | 32.07 | ||||||||||||||||||||||
| vlsseg2e64.v v8,(t2),t1/*-1*/,v0.t | 5.97 | 5.97 | 5.86 | 5.90 | 15.00 | 32.07 | ||||||||||||||||||||||
| vssseg2e8.v v8,(t2),t3 | 4.15 | 8.90 | 17.00 | 34.00 | 68.00 | 136.00 | 4.10 | 8.95 | 17.00 | 39.11 | 68.00 | 4.00 | 8.95 | 17.00 | 37.72 | 4.10 | 8.90 | 17.00 | ||||||||||
| vssseg2e8.v v8,(t2),t3,v0.t | 4.00 | 8.90 | 17.00 | 34.51 | 68.00 | 136.00 | 4.05 | 8.80 | 17.00 | 34.00 | 68.00 | 4.00 | 8.95 | 17.00 | 34.00 | 4.00 | 9.00 | 17.00 | ||||||||||
| vssseg2e8.v v8,(t2),x0 | 4.00 | 8.00 | 16.00 | 32.00 | 64.00 | 128.00 | 4.00 | 8.00 | 16.00 | 32.00 | 64.00 | 4.00 | 8.00 | 16.00 | 32.00 | 4.00 | 8.00 | 16.00 | ||||||||||
| vssseg2e8.v v8,(t2),x0,v0.t | 4.00 | 8.00 | 16.00 | 32.00 | 64.00 | 128.00 | 4.00 | 8.00 | 16.00 | 32.00 | 64.00 | 4.00 | 8.00 | 16.00 | 32.00 | 4.00 | 8.00 | 16.00 | ||||||||||
| vssseg2e8.v v8,(t2),t1/*-1*/ | 5.45 | 8.70 | 17.00 | 34.00 | 68.00 | 136.00 | 5.25 | 8.70 | 17.00 | 34.00 | 68.12 | 4.60 | 8.40 | 17.00 | 34.00 | 5.60 | 8.85 | 17.00 | ||||||||||
| vssseg2e8.v v8,(t2),t1/*-1*/,v0.t | 4.70 | 8.80 | 17.00 | 34.00 | 68.00 | 138.93 | 4.80 | 8.75 | 17.00 | 34.00 | 68.00 | 4.60 | 8.65 | 17.00 | 34.00 | 4.60 | 9.05 | 17.00 | ||||||||||
| vssseg2e16.v v8,(t2),t3 | 4.25 | 9.00 | 18.00 | 4.20 | 13.71 | 18.90 | 36.00 | 72.00 | 4.00 | 9.00 | 18.87 | 36.00 | 4.20 | 9.00 | 18.00 | |||||||||||||
| vssseg2e16.v v8,(t2),t3,v0.t | 4.10 | 9.00 | 18.00 | 4.10 | 9.00 | 18.00 | 37.87 | 73.50 | 4.00 | 9.00 | 18.00 | 37.40 | 4.10 | 9.00 | 18.00 | |||||||||||||
| vssseg2e16.v v8,(t2),x0 | 4.00 | 8.00 | 16.80 | 4.00 | 8.00 | 16.00 | 32.00 | 64.00 | 4.00 | 8.00 | 16.00 | 33.60 | 4.00 | 8.00 | 16.00 | |||||||||||||
| vssseg2e16.v v8,(t2),x0,v0.t | 4.00 | 8.00 | 16.00 | 4.00 | 8.00 | 16.00 | 32.00 | 64.00 | 4.00 | 8.00 | 16.00 | 32.00 | 4.00 | 8.00 | 16.00 | |||||||||||||
| vssseg2e16.v v8,(t2),t1/*-1*/ | 4.95 | 9.00 | 18.00 | 4.65 | 9.00 | 18.00 | 36.00 | 76.07 | 4.70 | 9.00 | 18.00 | 36.00 | 4.70 | 9.00 | 18.00 | |||||||||||||
| vssseg2e16.v v8,(t2),t1/*-1*/,v0.t | 4.75 | 9.00 | 18.00 | 4.80 | 9.00 | 18.00 | 36.00 | 76.62 | 4.75 | 9.00 | 18.00 | 36.00 | 6.25 | 9.00 | 18.00 | |||||||||||||
| vssseg2e32.v v8,(t2),t3 | 5.00 | 10.00 | 5.00 | 10.00 | 5.00 | 10.00 | 21.40 | 42.31 | 5.00 | 10.00 | 21.25 | |||||||||||||||||
| vssseg2e32.v v8,(t2),t3,v0.t | 5.30 | 10.68 | 7.31 | 10.62 | 5.00 | 10.93 | 20.00 | 40.00 | 5.00 | 10.58 | 20.00 | |||||||||||||||||
| vssseg2e32.v v8,(t2),x0 | 4.00 | 8.00 | 4.00 | 8.00 | 4.00 | 8.00 | 19.20 | 32.00 | 4.00 | 8.00 | 16.00 | |||||||||||||||||
| vssseg2e32.v v8,(t2),x0,v0.t | 4.40 | 8.00 | 4.00 | 8.00 | 4.00 | 8.00 | 16.00 | 32.00 | 4.00 | 8.00 | 16.00 | |||||||||||||||||
| vssseg2e32.v v8,(t2),t1/*-1*/ | 5.10 | 10.00 | 5.00 | 10.00 | 5.00 | 10.00 | 20.00 | 42.90 | 5.00 | 10.00 | 20.00 | |||||||||||||||||
| vssseg2e32.v v8,(t2),t1/*-1*/,v0.t | 5.00 | 10.00 | 5.00 | 10.00 | 5.00 | 10.00 | 20.00 | 41.26 | 5.00 | 10.00 | 20.00 | |||||||||||||||||
| vssseg2e64.v v8,(t2),t3 | 8.00 | 8.25 | 8.00 | 8.00 | 16.00 | 32.50 | ||||||||||||||||||||||
| vssseg2e64.v v8,(t2),t3,v0.t | 8.00 | 8.00 | 8.00 | 8.00 | 16.00 | 32.50 | ||||||||||||||||||||||
| vssseg2e64.v v8,(t2),x0 | 8.00 | 8.00 | 8.00 | 8.00 | 16.00 | 32.00 | ||||||||||||||||||||||
| vssseg2e64.v v8,(t2),x0,v0.t | 8.00 | 8.00 | 8.00 | 8.00 | 16.00 | 32.00 | ||||||||||||||||||||||
| vssseg2e64.v v8,(t2),t1/*-1*/ | 8.00 | 8.00 | 8.00 | 8.00 | 16.00 | 36.82 | ||||||||||||||||||||||
| vssseg2e64.v v8,(t2),t1/*-1*/,v0.t | 8.00 | 8.00 | 8.00 | 8.00 | 16.00 | 37.22 | ||||||||||||||||||||||
| vlsseg3e8.v v8,(t2),t3 | 5.44 | 6.43 | 12.48 | 29.00 | 68.01 | 5.44 | 6.33 | 12.51 | 27.80 | 5.40 | 6.33 | 12.77 | 5.50 | 6.75 | ||||||||||||||
| vlsseg3e8.v v8,(t2),t3,v0.t | 5.52 | 6.38 | 12.42 | 29.00 | 68.01 | 5.62 | 6.33 | 12.37 | 27.50 | 5.45 | 6.33 | 12.77 | 5.49 | 6.75 | ||||||||||||||
| vlsseg3e8.v v8,(t2),x0 | 4.91 | 6.25 | 9.83 | 22.00 | 60.63 | 4.93 | 6.25 | 9.83 | 22.00 | 5.04 | 6.25 | 9.83 | 4.98 | 6.25 | ||||||||||||||
| vlsseg3e8.v v8,(t2),x0,v0.t | 4.92 | 6.25 | 9.83 | 22.00 | 60.57 | 4.97 | 6.25 | 9.83 | 22.00 | 4.93 | 6.25 | 9.83 | 5.01 | 6.25 | ||||||||||||||
| vlsseg3e8.v v8,(t2),t1/*-1*/ | 5.20 | 6.65 | 10.83 | 29.35 | 68.01 | 5.23 | 6.57 | 10.83 | 29.40 | 5.18 | 6.71 | 10.83 | 5.21 | 7.00 | ||||||||||||||
| vlsseg3e8.v v8,(t2),t1/*-1*/,v0.t | 5.20 | 6.74 | 10.83 | 29.40 | 68.01 | 5.19 | 6.68 | 10.83 | 28.87 | 5.18 | 6.71 | 10.83 | 5.18 | 6.68 | ||||||||||||||
| vlsseg3e16.v v8,(t2),t3 | 5.05 | 7.32 | 18.20 | 5.06 | 7.25 | 17.65 | 43.13 | 5.06 | 7.21 | 17.92 | 5.06 | 7.25 | ||||||||||||||||
| vlsseg3e16.v v8,(t2),t3,v0.t | 5.06 | 7.25 | 17.90 | 5.06 | 7.36 | 17.22 | 42.99 | 5.06 | 7.25 | 17.70 | 5.06 | 7.25 | ||||||||||||||||
| vlsseg3e16.v v8,(t2),x0 | 4.97 | 6.25 | 11.50 | 5.05 | 6.25 | 11.50 | 37.00 | 4.96 | 6.25 | 11.53 | 5.00 | 6.25 | ||||||||||||||||
| vlsseg3e16.v v8,(t2),x0,v0.t | 5.00 | 6.25 | 11.50 | 4.97 | 6.25 | 11.50 | 37.00 | 4.98 | 6.25 | 11.50 | 4.94 | 6.60 | ||||||||||||||||
| vlsseg3e16.v v8,(t2),t1/*-1*/ | 5.21 | 6.83 | 14.13 | 5.23 | 6.83 | 14.31 | 42.40 | 5.20 | 6.83 | 14.09 | 5.20 | 7.25 | ||||||||||||||||
| vlsseg3e16.v v8,(t2),t1/*-1*/,v0.t | 5.21 | 6.83 | 14.23 | 5.22 | 6.83 | 14.12 | 42.31 | 5.20 | 6.83 | 14.17 | 5.22 | 7.25 | ||||||||||||||||
| vlsseg3e32.v v8,(t2),t3 | 5.25 | 11.00 | 5.25 | 11.00 | 5.25 | 11.00 | 32.30 | 5.25 | 11.00 | |||||||||||||||||||
| vlsseg3e32.v v8,(t2),t3,v0.t | 5.25 | 11.00 | 5.25 | 11.00 | 5.25 | 11.00 | 31.90 | 5.25 | 11.00 | |||||||||||||||||||
| vlsseg3e32.v v8,(t2),x0 | 5.38 | 9.75 | 5.19 | 9.87 | 5.24 | 9.37 | 29.63 | 5.46 | 9.12 | |||||||||||||||||||
| vlsseg3e32.v v8,(t2),x0,v0.t | 5.45 | 9.87 | 5.38 | 10.00 | 5.55 | 9.50 | 32.40 | 5.38 | 10.12 | |||||||||||||||||||
| vlsseg3e32.v v8,(t2),t1/*-1*/ | 5.25 | 10.45 | 5.25 | 10.59 | 5.25 | 10.38 | 31.60 | 5.25 | 10.52 | |||||||||||||||||||
| vlsseg3e32.v v8,(t2),t1/*-1*/,v0.t | 5.25 | 10.42 | 5.25 | 10.31 | 5.25 | 10.42 | 31.00 | 5.25 | 10.42 | |||||||||||||||||||
| vlsseg3e64.v v8,(t2),t3 | 10.33 | 10.19 | 10.29 | 10.24 | 24.00 | |||||||||||||||||||||||
| vlsseg3e64.v v8,(t2),t3,v0.t | 9.90 | 10.28 | 10.19 | 10.33 | 24.00 | |||||||||||||||||||||||
| vlsseg3e64.v v8,(t2),x0 | 11.11 | 11.50 | 10.83 | 10.88 | 23.47 | |||||||||||||||||||||||
| vlsseg3e64.v v8,(t2),x0,v0.t | 10.95 | 11.03 | 11.11 | 11.11 | 23.45 | |||||||||||||||||||||||
| vlsseg3e64.v v8,(t2),t1/*-1*/ | 9.39 | 9.37 | 9.36 | 9.37 | 22.00 | |||||||||||||||||||||||
| vlsseg3e64.v v8,(t2),t1/*-1*/,v0.t | 9.39 | 9.39 | 9.38 | 9.36 | 22.00 | |||||||||||||||||||||||
| vssseg3e8.v v8,(t2),t3 | 4.10 | 9.05 | 18.00 | 36.00 | 72.01 | 4.30 | 9.15 | 18.00 | 36.00 | 4.40 | 9.45 | 18.00 | 4.60 | 9.10 | ||||||||||||||
| vssseg3e8.v v8,(t2),t3,v0.t | 4.50 | 9.05 | 18.00 | 36.00 | 72.00 | 4.45 | 9.00 | 18.00 | 36.40 | 4.30 | 9.00 | 18.00 | 4.30 | 9.00 | ||||||||||||||
| vssseg3e8.v v8,(t2),x0 | 4.00 | 8.00 | 16.00 | 32.00 | 64.00 | 4.00 | 8.00 | 16.00 | 32.00 | 4.00 | 8.00 | 16.00 | 4.00 | 8.00 | ||||||||||||||
| vssseg3e8.v v8,(t2),x0,v0.t | 4.00 | 8.00 | 16.00 | 32.00 | 64.00 | 4.00 | 8.00 | 16.00 | 32.00 | 4.00 | 8.00 | 16.00 | 4.00 | 8.00 | ||||||||||||||
| vssseg3e8.v v8,(t2),t1/*-1*/ | 5.40 | 9.80 | 18.00 | 36.00 | 72.00 | 5.30 | 9.40 | 18.00 | 36.00 | 5.60 | 9.30 | 18.50 | 4.80 | 8.60 | ||||||||||||||
| vssseg3e8.v v8,(t2),t1/*-1*/,v0.t | 5.30 | 9.50 | 18.03 | 36.00 | 72.25 | 5.20 | 9.60 | 18.00 | 36.00 | 5.00 | 9.40 | 18.00 | 4.90 | 9.40 | ||||||||||||||
| vssseg3e16.v v8,(t2),t3 | 5.00 | 10.29 | 20.00 | 5.00 | 10.40 | 20.17 | 40.00 | 5.00 | 10.15 | 20.61 | 5.00 | 11.25 | ||||||||||||||||
| vssseg3e16.v v8,(t2),t3,v0.t | 5.15 | 10.08 | 20.00 | 5.00 | 10.00 | 20.00 | 40.17 | 5.00 | 10.00 | 20.26 | 5.00 | 10.00 | ||||||||||||||||
| vssseg3e16.v v8,(t2),x0 | 5.00 | 8.00 | 16.00 | 5.00 | 8.00 | 16.00 | 32.00 | 5.00 | 8.00 | 16.00 | 5.00 | 8.00 | ||||||||||||||||
| vssseg3e16.v v8,(t2),x0,v0.t | 5.00 | 8.40 | 16.00 | 5.00 | 8.00 | 16.00 | 32.00 | 5.00 | 8.00 | 16.00 | 5.00 | 8.00 | ||||||||||||||||
| vssseg3e16.v v8,(t2),t1/*-1*/ | 6.68 | 10.00 | 20.00 | 5.40 | 10.00 | 20.00 | 40.50 | 5.35 | 10.00 | 20.00 | 5.55 | 10.00 | ||||||||||||||||
| vssseg3e16.v v8,(t2),t1/*-1*/,v0.t | 5.50 | 10.00 | 20.00 | 5.70 | 10.00 | 20.00 | 41.55 | 5.65 | 10.00 | 20.02 | 5.50 | 10.00 | ||||||||||||||||
| vssseg3e32.v v8,(t2),t3 | 7.00 | 14.15 | 7.81 | 14.00 | 7.15 | 14.00 | 28.95 | 7.03 | 14.00 | |||||||||||||||||||
| vssseg3e32.v v8,(t2),t3,v0.t | 7.35 | 14.02 | 7.00 | 14.02 | 7.00 | 14.00 | 28.02 | 7.00 | 14.00 | |||||||||||||||||||
| vssseg3e32.v v8,(t2),x0 | 7.40 | 14.80 | 7.35 | 14.70 | 7.30 | 14.70 | 28.60 | 7.60 | 14.30 | |||||||||||||||||||
| vssseg3e32.v v8,(t2),x0,v0.t | 7.30 | 14.90 | 7.30 | 14.20 | 7.35 | 14.70 | 28.20 | 7.30 | 14.60 | |||||||||||||||||||
| vssseg3e32.v v8,(t2),t1/*-1*/ | 7.17 | 14.00 | 7.00 | 14.00 | 7.00 | 14.00 | 28.01 | 7.17 | 14.00 | |||||||||||||||||||
| vssseg3e32.v v8,(t2),t1/*-1*/,v0.t | 7.15 | 14.00 | 7.00 | 14.00 | 7.00 | 14.52 | 28.00 | 7.05 | 14.64 | |||||||||||||||||||
| vssseg3e64.v v8,(t2),t3 | 12.00 | 12.00 | 12.00 | 12.00 | 24.00 | |||||||||||||||||||||||
| vssseg3e64.v v8,(t2),t3,v0.t | 12.00 | 12.00 | 12.00 | 12.00 | 24.00 | |||||||||||||||||||||||
| vssseg3e64.v v8,(t2),x0 | 12.00 | 12.00 | 12.00 | 12.00 | 24.00 | |||||||||||||||||||||||
| vssseg3e64.v v8,(t2),x0,v0.t | 12.00 | 12.00 | 12.00 | 12.00 | 24.00 | |||||||||||||||||||||||
| vssseg3e64.v v8,(t2),t1/*-1*/ | 12.00 | 12.00 | 12.00 | 12.00 | 24.00 | |||||||||||||||||||||||
| vssseg3e64.v v8,(t2),t1/*-1*/,v0.t | 12.00 | 12.00 | 12.00 | 12.13 | 24.00 | |||||||||||||||||||||||
| vlsseg4e8.v v8,(t2),t3 | 5.81 | 6.82 | 13.12 | 28.50 | 72.01 | 5.81 | 6.95 | 13.36 | 29.70 | 5.81 | 6.80 | 13.33 | 5.77 | 6.87 | ||||||||||||||
| vlsseg4e8.v v8,(t2),t3,v0.t | 5.83 | 6.85 | 13.07 | 29.10 | 72.01 | 5.65 | 6.80 | 13.03 | 29.10 | 5.71 | 6.90 | 13.15 | 5.87 | 6.87 | ||||||||||||||
| vlsseg4e8.v v8,(t2),x0 | 5.64 | 6.25 | 10.25 | 22.00 | 63.00 | 5.56 | 6.25 | 10.25 | 22.00 | 5.51 | 6.25 | 10.25 | 5.69 | 6.56 | ||||||||||||||
| vlsseg4e8.v v8,(t2),x0,v0.t | 5.64 | 6.25 | 10.25 | 22.00 | 63.00 | 5.82 | 7.05 | 10.25 | 22.00 | 5.65 | 6.25 | 10.65 | 5.67 | 6.56 | ||||||||||||||
| vlsseg4e8.v v8,(t2),t1/*-1*/ | 6.10 | 7.62 | 11.75 | 30.20 | 72.01 | 6.10 | 7.32 | 11.75 | 29.65 | 6.07 | 7.15 | 11.75 | 6.10 | 7.46 | ||||||||||||||
| vlsseg4e8.v v8,(t2),t1/*-1*/,v0.t | 6.09 | 7.12 | 11.75 | 29.10 | 72.01 | 6.09 | 7.20 | 11.75 | 29.22 | 6.08 | 7.55 | 11.75 | 6.12 | 7.23 | ||||||||||||||
| vlsseg4e16.v v8,(t2),t3 | 5.45 | 7.92 | 19.20 | 5.41 | 7.88 | 18.85 | 48.04 | 5.43 | 7.93 | 19.12 | 5.45 | 8.01 | ||||||||||||||||
| vlsseg4e16.v v8,(t2),t3,v0.t | 5.43 | 7.90 | 19.10 | 5.46 | 7.92 | 19.17 | 47.64 | 5.44 | 7.87 | 19.20 | 5.43 | 8.06 | ||||||||||||||||
| vlsseg4e16.v v8,(t2),x0 | 5.39 | 6.65 | 15.37 | 5.69 | 6.65 | 13.16 | 41.85 | 5.28 | 6.25 | 14.93 | 5.65 | 6.56 | ||||||||||||||||
| vlsseg4e16.v v8,(t2),x0,v0.t | 5.81 | 6.25 | 13.16 | 5.76 | 6.85 | 14.07 | 43.02 | 5.97 | 6.65 | 14.52 | 5.80 | 7.30 | ||||||||||||||||
| vlsseg4e16.v v8,(t2),t1/*-1*/ | 5.88 | 7.75 | 16.87 | 5.92 | 7.79 | 17.00 | 49.95 | 5.83 | 7.75 | 16.97 | 5.88 | 7.75 | ||||||||||||||||
| vlsseg4e16.v v8,(t2),t1/*-1*/,v0.t | 6.00 | 7.76 | 16.87 | 5.92 | 7.75 | 16.97 | 49.45 | 5.88 | 7.75 | 16.97 | 5.98 | 7.75 | ||||||||||||||||
| vlsseg4e32.v v8,(t2),t3 | 6.05 | 12.00 | 6.11 | 12.00 | 6.08 | 12.00 | 37.25 | 6.06 | 12.00 | |||||||||||||||||||
| vlsseg4e32.v v8,(t2),t3,v0.t | 6.07 | 12.00 | 6.09 | 12.00 | 6.10 | 12.00 | 37.55 | 6.08 | 12.00 | |||||||||||||||||||
| vlsseg4e32.v v8,(t2),x0 | 5.17 | 12.15 | 5.61 | 12.25 | 5.93 | 12.15 | 31.84 | 5.80 | 12.33 | |||||||||||||||||||
| vlsseg4e32.v v8,(t2),x0,v0.t | 5.59 | 11.85 | 5.93 | 12.46 | 5.48 | 12.15 | 29.09 | 5.35 | 12.58 | |||||||||||||||||||
| vlsseg4e32.v v8,(t2),t1/*-1*/ | 6.06 | 12.10 | 6.06 | 12.11 | 6.06 | 12.16 | 36.62 | 6.06 | 12.04 | |||||||||||||||||||
| vlsseg4e32.v v8,(t2),t1/*-1*/,v0.t | 6.06 | 12.11 | 6.06 | 12.11 | 6.06 | 12.16 | 36.67 | 6.06 | 12.03 | |||||||||||||||||||
| vlsseg4e64.v v8,(t2),t3 | 10.62 | 10.54 | 10.75 | 10.75 | 31.10 | |||||||||||||||||||||||
| vlsseg4e64.v v8,(t2),t3,v0.t | 10.71 | 10.71 | 10.66 | 10.66 | 31.35 | |||||||||||||||||||||||
| vlsseg4e64.v v8,(t2),x0 | 11.43 | 11.32 | 11.41 | 11.32 | 29.05 | |||||||||||||||||||||||
| vlsseg4e64.v v8,(t2),x0,v0.t | 11.39 | 11.34 | 11.32 | 11.41 | 31.15 | |||||||||||||||||||||||
| vlsseg4e64.v v8,(t2),t1/*-1*/ | 13.00 | 13.00 | 13.00 | 13.00 | 32.50 | |||||||||||||||||||||||
| vlsseg4e64.v v8,(t2),t1/*-1*/,v0.t | 13.00 | 13.00 | 13.00 | 13.00 | 32.50 | |||||||||||||||||||||||
| vssseg4e8.v v8,(t2),t3 | 5.00 | 9.10 | 19.00 | 38.00 | 79.11 | 5.00 | 9.35 | 19.00 | 38.00 | 5.00 | 9.20 | 19.00 | 5.00 | 9.40 | ||||||||||||||
| vssseg4e8.v v8,(t2),t3,v0.t | 5.01 | 9.40 | 19.00 | 38.00 | 76.00 | 5.00 | 9.60 | 19.00 | 39.25 | 5.00 | 9.40 | 19.00 | 5.00 | 9.30 | ||||||||||||||
| vssseg4e8.v v8,(t2),x0 | 5.00 | 8.00 | 16.00 | 32.00 | 70.40 | 5.00 | 8.00 | 16.00 | 32.00 | 5.00 | 8.40 | 16.00 | 5.00 | 8.00 | ||||||||||||||
| vssseg4e8.v v8,(t2),x0,v0.t | 5.06 | 8.00 | 16.00 | 32.00 | 64.00 | 5.00 | 8.00 | 16.00 | 32.00 | 5.00 | 8.00 | 16.00 | 5.00 | 8.00 | ||||||||||||||
| vssseg4e8.v v8,(t2),t1/*-1*/ | 6.76 | 10.05 | 19.00 | 38.00 | 76.89 | 6.50 | 10.00 | 19.00 | 38.00 | 6.30 | 9.45 | 19.00 | 7.34 | 10.25 | ||||||||||||||
| vssseg4e8.v v8,(t2),t1/*-1*/,v0.t | 8.10 | 9.95 | 19.00 | 38.00 | 76.59 | 6.80 | 10.15 | 19.00 | 38.10 | 7.29 | 10.55 | 19.00 | 7.64 | 9.80 | ||||||||||||||
| vssseg4e16.v v8,(t2),t3 | 6.00 | 11.30 | 22.93 | 6.83 | 11.30 | 22.70 | 50.86 | 6.00 | 11.55 | 22.70 | 6.00 | 11.30 | ||||||||||||||||
| vssseg4e16.v v8,(t2),t3,v0.t | 6.00 | 11.20 | 23.27 | 6.00 | 11.30 | 22.70 | 49.91 | 6.00 | 11.30 | 25.11 | 6.00 | 11.20 | ||||||||||||||||
| vssseg4e16.v v8,(t2),x0 | 6.10 | 10.00 | 20.28 | 6.00 | 10.00 | 21.45 | 52.60 | 6.20 | 10.90 | 20.87 | 6.70 | 10.00 | ||||||||||||||||
| vssseg4e16.v v8,(t2),x0,v0.t | 6.30 | 10.00 | 20.28 | 6.30 | 10.00 | 21.45 | 52.60 | 6.00 | 10.30 | 23.80 | 6.50 | 10.00 | ||||||||||||||||
| vssseg4e16.v v8,(t2),t1/*-1*/ | 6.75 | 12.60 | 25.98 | 7.06 | 12.45 | 27.92 | 54.01 | 7.38 | 12.44 | 28.17 | 7.18 | 12.77 | ||||||||||||||||
| vssseg4e16.v v8,(t2),t1/*-1*/,v0.t | 6.85 | 12.20 | 26.94 | 6.65 | 12.80 | 29.00 | 56.55 | 6.70 | 12.55 | 27.49 | 7.15 | 12.10 | ||||||||||||||||
| vssseg4e32.v v8,(t2),t3 | 9.35 | 19.02 | 9.25 | 19.17 | 9.16 | 19.32 | 41.09 | 9.60 | 18.36 | |||||||||||||||||||
| vssseg4e32.v v8,(t2),t3,v0.t | 9.36 | 19.25 | 9.35 | 18.85 | 9.26 | 18.60 | 39.67 | 9.40 | 18.80 | |||||||||||||||||||
| vssseg4e32.v v8,(t2),x0 | 8.40 | 18.57 | 9.00 | 18.57 | 9.50 | 18.57 | 38.77 | 8.70 | 18.78 | |||||||||||||||||||
| vssseg4e32.v v8,(t2),x0,v0.t | 9.20 | 18.14 | 8.70 | 18.78 | 9.50 | 17.28 | 39.00 | 8.70 | 18.14 | |||||||||||||||||||
| vssseg4e32.v v8,(t2),t1/*-1*/ | 9.64 | 18.80 | 9.33 | 19.02 | 9.40 | 18.95 | 39.45 | 9.15 | 18.80 | |||||||||||||||||||
| vssseg4e32.v v8,(t2),t1/*-1*/,v0.t | 9.35 | 19.17 | 9.45 | 19.02 | 9.30 | 18.80 | 39.67 | 9.55 | 19.02 | |||||||||||||||||||
| vssseg4e64.v v8,(t2),t3 | 17.00 | 17.00 | 16.90 | 16.40 | 34.61 | |||||||||||||||||||||||
| vssseg4e64.v v8,(t2),t3,v0.t | 16.60 | 16.60 | 16.50 | 16.70 | 35.61 | |||||||||||||||||||||||
| vssseg4e64.v v8,(t2),x0 | 16.50 | 16.60 | 16.50 | 16.60 | 34.60 | |||||||||||||||||||||||
| vssseg4e64.v v8,(t2),x0,v0.t | 17.00 | 16.90 | 16.80 | 16.50 | 33.86 | |||||||||||||||||||||||
| vssseg4e64.v v8,(t2),t1/*-1*/ | 16.70 | 16.50 | 16.70 | 16.10 | 32.60 | |||||||||||||||||||||||
| vssseg4e64.v v8,(t2),t1/*-1*/,v0.t | 16.60 | 16.70 | 16.60 | 16.90 | 32.40 | |||||||||||||||||||||||
| vlsseg5e8.v v8,(t2),t3 | 20.00 | 40.00 | 80.00 | 159.26 | 20.00 | 40.00 | 80.00 | 20.00 | 40.00 | 20.00 | ||||||||||||||||||
| vlsseg5e8.v v8,(t2),t3,v0.t | 20.00 | 40.00 | 80.00 | 159.30 | 20.00 | 40.00 | 80.00 | 20.00 | 40.00 | 20.00 | ||||||||||||||||||
| vlsseg5e8.v v8,(t2),x0 | 20.00 | 40.00 | 80.00 | 159.20 | 20.00 | 40.00 | 80.00 | 20.00 | 40.00 | 20.00 | ||||||||||||||||||
| vlsseg5e8.v v8,(t2),x0,v0.t | 20.00 | 40.00 | 80.00 | 159.20 | 20.00 | 40.00 | 80.00 | 20.00 | 40.00 | 20.00 | ||||||||||||||||||
| vlsseg5e8.v v8,(t2),t1/*-1*/ | 20.00 | 40.00 | 80.00 | 159.20 | 20.00 | 40.00 | 80.00 | 20.00 | 40.00 | 20.00 | ||||||||||||||||||
| vlsseg5e8.v v8,(t2),t1/*-1*/,v0.t | 20.00 | 40.00 | 80.00 | 159.20 | 20.00 | 40.00 | 80.00 | 20.00 | 40.00 | 20.00 | ||||||||||||||||||
| vlsseg5e16.v v8,(t2),t3 | 20.00 | 40.00 | 79.25 | 20.00 | 40.00 | 79.23 | 20.00 | 40.00 | 20.00 | |||||||||||||||||||
| vlsseg5e16.v v8,(t2),t3,v0.t | 20.00 | 40.00 | 79.27 | 20.00 | 40.00 | 79.23 | 20.00 | 40.00 | 20.00 | |||||||||||||||||||
| vlsseg5e16.v v8,(t2),x0 | 20.00 | 40.00 | 79.20 | 20.00 | 40.00 | 79.20 | 20.00 | 40.00 | 20.00 | |||||||||||||||||||
| vlsseg5e16.v v8,(t2),x0,v0.t | 20.00 | 40.00 | 79.20 | 20.00 | 40.00 | 79.20 | 20.00 | 40.00 | 20.00 | |||||||||||||||||||
| vlsseg5e16.v v8,(t2),t1/*-1*/ | 20.00 | 40.00 | 79.21 | 20.00 | 40.00 | 79.22 | 20.00 | 40.00 | 20.00 | |||||||||||||||||||
| vlsseg5e16.v v8,(t2),t1/*-1*/,v0.t | 20.00 | 40.00 | 79.20 | 20.00 | 40.00 | 79.20 | 20.00 | 40.00 | 20.00 | |||||||||||||||||||
| vlsseg5e32.v v8,(t2),t3 | 20.00 | 39.42 | 20.00 | 39.46 | 20.00 | 39.47 | 20.00 | |||||||||||||||||||||
| vlsseg5e32.v v8,(t2),t3,v0.t | 20.00 | 39.42 | 20.00 | 39.38 | 20.00 | 39.52 | 20.00 | |||||||||||||||||||||
| vlsseg5e32.v v8,(t2),x0 | 20.00 | 39.20 | 20.00 | 39.20 | 20.00 | 39.20 | 20.00 | |||||||||||||||||||||
| vlsseg5e32.v v8,(t2),x0,v0.t | 20.00 | 39.20 | 20.00 | 39.20 | 20.00 | 39.20 | 20.00 | |||||||||||||||||||||
| vlsseg5e32.v v8,(t2),t1/*-1*/ | 20.00 | 39.47 | 20.00 | 39.40 | 20.00 | 39.48 | 20.00 | |||||||||||||||||||||
| vlsseg5e32.v v8,(t2),t1/*-1*/,v0.t | 20.00 | 39.54 | 20.00 | 39.40 | 20.00 | 39.45 | 20.00 | |||||||||||||||||||||
| vlsseg5e64.v v8,(t2),t3 | 19.37 | 19.37 | 19.37 | 19.37 | ||||||||||||||||||||||||
| vlsseg5e64.v v8,(t2),t3,v0.t | 19.37 | 19.37 | 19.37 | 19.37 | ||||||||||||||||||||||||
| vlsseg5e64.v v8,(t2),x0 | 19.49 | 19.47 | 19.49 | 19.47 | ||||||||||||||||||||||||
| vlsseg5e64.v v8,(t2),x0,v0.t | 19.47 | 19.47 | 19.47 | 19.49 | ||||||||||||||||||||||||
| vlsseg5e64.v v8,(t2),t1/*-1*/ | 19.37 | 19.37 | 19.37 | 19.37 | ||||||||||||||||||||||||
| vlsseg5e64.v v8,(t2),t1/*-1*/,v0.t | 19.37 | 19.37 | 19.37 | 19.37 | ||||||||||||||||||||||||
| vssseg5e8.v v8,(t2),t3 | 20.00 | 40.00 | 80.00 | 160.00 | 20.00 | 40.00 | 80.00 | 20.00 | 40.00 | 20.00 | ||||||||||||||||||
| vssseg5e8.v v8,(t2),t3,v0.t | 20.00 | 40.00 | 80.00 | 160.00 | 20.00 | 40.00 | 80.00 | 20.00 | 40.00 | 20.00 | ||||||||||||||||||
| vssseg5e8.v v8,(t2),x0 | 20.00 | 40.00 | 80.00 | 160.00 | 20.00 | 40.00 | 80.00 | 20.00 | 40.00 | 20.00 | ||||||||||||||||||
| vssseg5e8.v v8,(t2),x0,v0.t | 20.00 | 40.00 | 80.00 | 160.00 | 20.00 | 40.00 | 80.00 | 20.00 | 40.00 | 20.00 | ||||||||||||||||||
| vssseg5e8.v v8,(t2),t1/*-1*/ | 20.00 | 40.00 | 80.00 | 160.00 | 20.00 | 40.00 | 80.00 | 20.00 | 40.00 | 20.00 | ||||||||||||||||||
| vssseg5e8.v v8,(t2),t1/*-1*/,v0.t | 20.00 | 40.00 | 80.00 | 160.00 | 20.00 | 40.00 | 80.00 | 20.00 | 40.00 | 20.00 | ||||||||||||||||||
| vssseg5e16.v v8,(t2),t3 | 20.00 | 40.00 | 80.00 | 20.00 | 40.00 | 80.00 | 20.00 | 40.00 | 20.00 | |||||||||||||||||||
| vssseg5e16.v v8,(t2),t3,v0.t | 20.00 | 40.00 | 80.00 | 20.00 | 40.00 | 80.00 | 20.00 | 40.00 | 20.00 | |||||||||||||||||||
| vssseg5e16.v v8,(t2),x0 | 20.00 | 40.00 | 80.00 | 20.00 | 40.00 | 80.00 | 20.00 | 40.00 | 20.00 | |||||||||||||||||||
| vssseg5e16.v v8,(t2),x0,v0.t | 20.00 | 40.00 | 80.00 | 20.00 | 40.00 | 80.00 | 20.00 | 40.00 | 20.00 | |||||||||||||||||||
| vssseg5e16.v v8,(t2),t1/*-1*/ | 20.00 | 40.00 | 80.00 | 20.00 | 40.00 | 80.00 | 20.00 | 40.00 | 20.00 | |||||||||||||||||||
| vssseg5e16.v v8,(t2),t1/*-1*/,v0.t | 20.00 | 40.00 | 80.00 | 20.00 | 40.00 | 80.00 | 20.00 | 40.00 | 20.00 | |||||||||||||||||||
| vssseg5e32.v v8,(t2),t3 | 20.00 | 41.00 | 20.00 | 40.17 | 20.00 | 40.05 | 20.00 | |||||||||||||||||||||
| vssseg5e32.v v8,(t2),t3,v0.t | 20.00 | 40.00 | 20.00 | 40.00 | 20.00 | 40.00 | 20.00 | |||||||||||||||||||||
| vssseg5e32.v v8,(t2),x0 | 20.00 | 40.00 | 20.00 | 40.00 | 20.00 | 40.00 | 20.00 | |||||||||||||||||||||
| vssseg5e32.v v8,(t2),x0,v0.t | 20.00 | 40.00 | 20.00 | 40.00 | 20.00 | 40.00 | 20.00 | |||||||||||||||||||||
| vssseg5e32.v v8,(t2),t1/*-1*/ | 20.00 | 40.00 | 20.00 | 40.00 | 20.00 | 40.00 | 20.00 | |||||||||||||||||||||
| vssseg5e32.v v8,(t2),t1/*-1*/,v0.t | 20.00 | 40.00 | 20.00 | 40.00 | 20.00 | 40.00 | 20.00 | |||||||||||||||||||||
| vssseg5e64.v v8,(t2),t3 | 20.57 | 20.74 | 20.85 | 21.52 | ||||||||||||||||||||||||
| vssseg5e64.v v8,(t2),t3,v0.t | 20.10 | 20.40 | 21.17 | 20.00 | ||||||||||||||||||||||||
| vssseg5e64.v v8,(t2),x0 | 20.00 | 20.00 | 20.00 | 20.00 | ||||||||||||||||||||||||
| vssseg5e64.v v8,(t2),x0,v0.t | 20.00 | 20.00 | 20.00 | 20.00 | ||||||||||||||||||||||||
| vssseg5e64.v v8,(t2),t1/*-1*/ | 20.00 | 20.00 | 20.44 | 20.00 | ||||||||||||||||||||||||
| vssseg5e64.v v8,(t2),t1/*-1*/,v0.t | 20.00 | 20.00 | 20.00 | 20.00 | ||||||||||||||||||||||||
| vlsseg6e8.v v8,(t2),t3 | 24.37 | 48.37 | 96.37 | 191.13 | 24.37 | 48.37 | 96.37 | 24.37 | 48.37 | 24.37 | ||||||||||||||||||
| vlsseg6e8.v v8,(t2),t3,v0.t | 24.37 | 48.37 | 96.37 | 191.15 | 24.37 | 48.37 | 96.37 | 24.37 | 48.37 | 24.37 | ||||||||||||||||||
| vlsseg6e8.v v8,(t2),x0 | 24.37 | 48.37 | 96.37 | 191.37 | 24.37 | 48.37 | 96.37 | 24.37 | 48.37 | 24.37 | ||||||||||||||||||
| vlsseg6e8.v v8,(t2),x0,v0.t | 24.37 | 48.37 | 96.37 | 191.37 | 24.37 | 48.37 | 96.37 | 24.37 | 48.37 | 24.37 | ||||||||||||||||||
| vlsseg6e8.v v8,(t2),t1/*-1*/ | 24.37 | 48.37 | 96.37 | 191.12 | 24.37 | 48.37 | 96.37 | 24.37 | 48.37 | 24.37 | ||||||||||||||||||
| vlsseg6e8.v v8,(t2),t1/*-1*/,v0.t | 24.37 | 48.37 | 96.37 | 191.12 | 24.37 | 48.37 | 96.37 | 24.37 | 48.37 | 24.37 | ||||||||||||||||||
| vlsseg6e16.v v8,(t2),t3 | 24.37 | 48.37 | 95.25 | 24.37 | 48.37 | 95.17 | 24.37 | 48.37 | 24.37 | |||||||||||||||||||
| vlsseg6e16.v v8,(t2),t3,v0.t | 24.37 | 48.37 | 95.16 | 24.37 | 48.37 | 95.18 | 24.37 | 48.37 | 24.37 | |||||||||||||||||||
| vlsseg6e16.v v8,(t2),x0 | 24.37 | 48.37 | 95.25 | 24.37 | 48.37 | 95.25 | 24.37 | 48.37 | 24.37 | |||||||||||||||||||
| vlsseg6e16.v v8,(t2),x0,v0.t | 24.37 | 48.37 | 95.25 | 24.37 | 48.37 | 95.25 | 24.37 | 48.37 | 24.37 | |||||||||||||||||||
| vlsseg6e16.v v8,(t2),t1/*-1*/ | 24.37 | 48.37 | 95.15 | 24.37 | 48.37 | 95.15 | 24.37 | 48.37 | 24.37 | |||||||||||||||||||
| vlsseg6e16.v v8,(t2),t1/*-1*/,v0.t | 24.37 | 48.37 | 95.13 | 24.37 | 48.37 | 95.19 | 24.37 | 48.37 | 24.37 | |||||||||||||||||||
| vlsseg6e32.v v8,(t2),t3 | 24.37 | 47.25 | 24.37 | 47.22 | 24.37 | 47.22 | 24.37 | |||||||||||||||||||||
| vlsseg6e32.v v8,(t2),t3,v0.t | 24.37 | 47.22 | 24.37 | 47.21 | 24.37 | 47.23 | 24.37 | |||||||||||||||||||||
| vlsseg6e32.v v8,(t2),x0 | 24.37 | 47.50 | 24.37 | 47.50 | 24.37 | 47.50 | 24.37 | |||||||||||||||||||||
| vlsseg6e32.v v8,(t2),x0,v0.t | 24.37 | 47.50 | 24.37 | 47.50 | 24.37 | 47.50 | 24.37 | |||||||||||||||||||||
| vlsseg6e32.v v8,(t2),t1/*-1*/ | 24.37 | 47.25 | 24.37 | 47.27 | 24.37 | 47.26 | 24.37 | |||||||||||||||||||||
| vlsseg6e32.v v8,(t2),t1/*-1*/,v0.t | 24.37 | 47.30 | 24.37 | 47.30 | 24.37 | 47.28 | 24.37 | |||||||||||||||||||||
| vlsseg6e64.v v8,(t2),t3 | 23.18 | 23.21 | 23.22 | 23.20 | ||||||||||||||||||||||||
| vlsseg6e64.v v8,(t2),t3,v0.t | 23.23 | 23.20 | 23.17 | 23.16 | ||||||||||||||||||||||||
| vlsseg6e64.v v8,(t2),x0 | 23.50 | 23.50 | 23.50 | 23.50 | ||||||||||||||||||||||||
| vlsseg6e64.v v8,(t2),x0,v0.t | 23.50 | 23.50 | 23.50 | 23.50 | ||||||||||||||||||||||||
| vlsseg6e64.v v8,(t2),t1/*-1*/ | 23.19 | 23.21 | 23.17 | 23.15 | ||||||||||||||||||||||||
| vlsseg6e64.v v8,(t2),t1/*-1*/,v0.t | 23.17 | 23.19 | 23.19 | 23.20 | ||||||||||||||||||||||||
| vssseg6e8.v v8,(t2),t3 | 24.00 | 48.00 | 96.00 | 192.15 | 24.00 | 48.00 | 96.00 | 24.00 | 48.00 | 24.00 | ||||||||||||||||||
| vssseg6e8.v v8,(t2),t3,v0.t | 24.00 | 48.00 | 96.00 | 192.00 | 24.00 | 48.00 | 96.00 | 24.00 | 48.00 | 24.00 | ||||||||||||||||||
| vssseg6e8.v v8,(t2),x0 | 24.00 | 48.00 | 96.00 | 192.00 | 24.00 | 48.00 | 96.00 | 24.00 | 48.00 | 24.00 | ||||||||||||||||||
| vssseg6e8.v v8,(t2),x0,v0.t | 24.00 | 48.00 | 96.00 | 192.00 | 24.00 | 48.00 | 96.00 | 24.00 | 48.00 | 24.00 | ||||||||||||||||||
| vssseg6e8.v v8,(t2),t1/*-1*/ | 24.00 | 48.00 | 96.00 | 192.00 | 24.00 | 48.00 | 96.00 | 24.00 | 48.00 | 24.00 | ||||||||||||||||||
| vssseg6e8.v v8,(t2),t1/*-1*/,v0.t | 24.00 | 48.00 | 96.00 | 192.00 | 24.00 | 48.00 | 96.00 | 24.00 | 48.00 | 24.00 | ||||||||||||||||||
| vssseg6e16.v v8,(t2),t3 | 24.00 | 48.00 | 96.00 | 24.00 | 48.00 | 96.49 | 24.00 | 48.00 | 24.00 | |||||||||||||||||||
| vssseg6e16.v v8,(t2),t3,v0.t | 24.00 | 48.00 | 96.00 | 24.00 | 48.00 | 96.00 | 24.00 | 48.00 | 24.00 | |||||||||||||||||||
| vssseg6e16.v v8,(t2),x0 | 24.00 | 48.00 | 96.00 | 24.00 | 48.00 | 96.00 | 24.00 | 48.00 | 24.00 | |||||||||||||||||||
| vssseg6e16.v v8,(t2),x0,v0.t | 24.00 | 48.00 | 96.00 | 24.00 | 48.00 | 96.00 | 24.00 | 48.00 | 24.00 | |||||||||||||||||||
| vssseg6e16.v v8,(t2),t1/*-1*/ | 24.00 | 48.00 | 96.00 | 24.00 | 48.00 | 96.00 | 24.00 | 48.00 | 24.00 | |||||||||||||||||||
| vssseg6e16.v v8,(t2),t1/*-1*/,v0.t | 24.00 | 48.00 | 96.00 | 24.00 | 48.00 | 96.00 | 24.00 | 48.00 | 24.00 | |||||||||||||||||||
| vssseg6e32.v v8,(t2),t3 | 24.00 | 48.78 | 24.00 | 48.07 | 24.00 | 49.96 | 24.00 | |||||||||||||||||||||
| vssseg6e32.v v8,(t2),t3,v0.t | 24.00 | 48.12 | 24.00 | 49.11 | 24.00 | 48.26 | 24.00 | |||||||||||||||||||||
| vssseg6e32.v v8,(t2),x0 | 24.00 | 48.00 | 24.00 | 48.00 | 24.00 | 48.00 | 24.00 | |||||||||||||||||||||
| vssseg6e32.v v8,(t2),x0,v0.t | 24.00 | 48.00 | 24.00 | 48.00 | 24.00 | 48.00 | 24.00 | |||||||||||||||||||||
| vssseg6e32.v v8,(t2),t1/*-1*/ | 24.21 | 48.00 | 24.00 | 48.00 | 24.00 | 48.00 | 24.00 | |||||||||||||||||||||
| vssseg6e32.v v8,(t2),t1/*-1*/,v0.t | 24.00 | 48.00 | 24.00 | 48.00 | 24.00 | 48.00 | 24.00 | |||||||||||||||||||||
| vssseg6e64.v v8,(t2),t3 | 24.97 | 24.95 | 24.27 | 25.85 | ||||||||||||||||||||||||
| vssseg6e64.v v8,(t2),t3,v0.t | 25.28 | 25.52 | 24.83 | 24.35 | ||||||||||||||||||||||||
| vssseg6e64.v v8,(t2),x0 | 24.00 | 24.00 | 24.00 | 24.00 | ||||||||||||||||||||||||
| vssseg6e64.v v8,(t2),x0,v0.t | 24.00 | 24.00 | 24.00 | 24.00 | ||||||||||||||||||||||||
| vssseg6e64.v v8,(t2),t1/*-1*/ | 24.00 | 24.00 | 24.00 | 24.00 | ||||||||||||||||||||||||
| vssseg6e64.v v8,(t2),t1/*-1*/,v0.t | 24.00 | 25.89 | 24.00 | 24.51 | ||||||||||||||||||||||||
| vlsseg7e8.v v8,(t2),t3 | 28.25 | 56.25 | 112.25 | 223.12 | 28.25 | 56.25 | 112.25 | 28.25 | 56.25 | 28.25 | ||||||||||||||||||
| vlsseg7e8.v v8,(t2),t3,v0.t | 28.25 | 56.25 | 112.25 | 223.12 | 28.25 | 56.25 | 112.25 | 28.25 | 56.25 | 28.25 | ||||||||||||||||||
| vlsseg7e8.v v8,(t2),x0 | 28.25 | 56.25 | 112.25 | 223.00 | 28.25 | 56.25 | 112.25 | 28.25 | 56.25 | 28.25 | ||||||||||||||||||
| vlsseg7e8.v v8,(t2),x0,v0.t | 28.25 | 56.25 | 112.25 | 223.00 | 28.25 | 56.25 | 112.25 | 28.25 | 56.25 | 28.25 | ||||||||||||||||||
| vlsseg7e8.v v8,(t2),t1/*-1*/ | 28.25 | 56.25 | 112.25 | 223.15 | 28.25 | 56.25 | 112.25 | 28.25 | 56.25 | 28.25 | ||||||||||||||||||
| vlsseg7e8.v v8,(t2),t1/*-1*/,v0.t | 28.25 | 56.25 | 112.25 | 223.15 | 28.25 | 56.25 | 112.25 | 28.25 | 56.25 | 28.25 | ||||||||||||||||||
| vlsseg7e16.v v8,(t2),t3 | 28.25 | 56.25 | 111.12 | 28.25 | 56.25 | 111.12 | 28.25 | 56.25 | 28.25 | |||||||||||||||||||
| vlsseg7e16.v v8,(t2),t3,v0.t | 28.25 | 56.25 | 111.12 | 28.25 | 56.25 | 111.12 | 28.25 | 56.25 | 28.25 | |||||||||||||||||||
| vlsseg7e16.v v8,(t2),x0 | 28.25 | 56.25 | 111.37 | 28.25 | 56.25 | 111.37 | 28.25 | 56.25 | 28.25 | |||||||||||||||||||
| vlsseg7e16.v v8,(t2),x0,v0.t | 28.25 | 56.25 | 111.37 | 28.25 | 56.25 | 111.37 | 28.25 | 56.25 | 28.25 | |||||||||||||||||||
| vlsseg7e16.v v8,(t2),t1/*-1*/ | 28.25 | 56.25 | 111.09 | 28.25 | 56.25 | 111.12 | 28.25 | 56.25 | 28.25 | |||||||||||||||||||
| vlsseg7e16.v v8,(t2),t1/*-1*/,v0.t | 28.25 | 56.25 | 111.11 | 28.25 | 56.25 | 111.11 | 28.25 | 56.25 | 28.25 | |||||||||||||||||||
| vlsseg7e32.v v8,(t2),t3 | 28.25 | 55.24 | 28.25 | 55.24 | 28.25 | 55.20 | 28.25 | |||||||||||||||||||||
| vlsseg7e32.v v8,(t2),t3,v0.t | 28.25 | 55.15 | 28.25 | 55.23 | 28.25 | 55.22 | 28.25 | |||||||||||||||||||||
| vlsseg7e32.v v8,(t2),x0 | 28.25 | 55.25 | 28.25 | 55.26 | 28.25 | 55.28 | 28.25 | |||||||||||||||||||||
| vlsseg7e32.v v8,(t2),x0,v0.t | 28.25 | 55.26 | 28.25 | 55.25 | 28.25 | 55.28 | 28.25 | |||||||||||||||||||||
| vlsseg7e32.v v8,(t2),t1/*-1*/ | 28.25 | 55.10 | 28.25 | 55.00 | 28.25 | 55.07 | 28.25 | |||||||||||||||||||||
| vlsseg7e32.v v8,(t2),t1/*-1*/,v0.t | 28.25 | 55.13 | 28.25 | 55.06 | 28.25 | 55.21 | 28.25 | |||||||||||||||||||||
| vlsseg7e64.v v8,(t2),t3 | 27.16 | 27.16 | 27.18 | 27.21 | ||||||||||||||||||||||||
| vlsseg7e64.v v8,(t2),t3,v0.t | 27.16 | 27.21 | 27.20 | 27.20 | ||||||||||||||||||||||||
| vlsseg7e64.v v8,(t2),x0 | 27.21 | 27.20 | 27.21 | 27.19 | ||||||||||||||||||||||||
| vlsseg7e64.v v8,(t2),x0,v0.t | 27.20 | 27.21 | 27.20 | 27.22 | ||||||||||||||||||||||||
| vlsseg7e64.v v8,(t2),t1/*-1*/ | 27.11 | 27.08 | 27.08 | 27.03 | ||||||||||||||||||||||||
| vlsseg7e64.v v8,(t2),t1/*-1*/,v0.t | 27.13 | 27.05 | 27.08 | 27.03 | ||||||||||||||||||||||||
| vssseg7e8.v v8,(t2),t3 | 28.00 | 56.00 | 112.00 | 224.04 | 28.00 | 56.00 | 112.00 | 28.00 | 56.00 | 28.00 | ||||||||||||||||||
| vssseg7e8.v v8,(t2),t3,v0.t | 28.00 | 56.00 | 112.00 | 224.22 | 28.00 | 56.00 | 112.00 | 28.00 | 56.00 | 28.00 | ||||||||||||||||||
| vssseg7e8.v v8,(t2),x0 | 28.00 | 56.00 | 112.00 | 224.00 | 28.00 | 56.00 | 112.00 | 28.00 | 56.00 | 28.00 | ||||||||||||||||||
| vssseg7e8.v v8,(t2),x0,v0.t | 28.00 | 56.00 | 112.00 | 224.00 | 28.00 | 56.00 | 112.00 | 28.00 | 56.00 | 28.00 | ||||||||||||||||||
| vssseg7e8.v v8,(t2),t1/*-1*/ | 28.00 | 56.00 | 112.00 | 224.00 | 28.00 | 56.00 | 112.00 | 28.00 | 56.00 | 28.00 | ||||||||||||||||||
| vssseg7e8.v v8,(t2),t1/*-1*/,v0.t | 28.00 | 56.00 | 112.00 | 224.01 | 28.00 | 56.00 | 112.00 | 28.00 | 56.00 | 28.00 | ||||||||||||||||||
| vssseg7e16.v v8,(t2),t3 | 28.00 | 56.06 | 112.04 | 28.00 | 56.00 | 112.15 | 28.00 | 56.00 | 28.00 | |||||||||||||||||||
| vssseg7e16.v v8,(t2),t3,v0.t | 28.00 | 56.00 | 112.22 | 28.00 | 56.00 | 112.36 | 28.00 | 56.00 | 28.00 | |||||||||||||||||||
| vssseg7e16.v v8,(t2),x0 | 28.00 | 56.00 | 112.00 | 28.00 | 56.00 | 112.00 | 28.00 | 56.00 | 28.00 | |||||||||||||||||||
| vssseg7e16.v v8,(t2),x0,v0.t | 28.00 | 56.00 | 112.00 | 28.00 | 56.00 | 112.00 | 28.00 | 56.00 | 28.00 | |||||||||||||||||||
| vssseg7e16.v v8,(t2),t1/*-1*/ | 28.00 | 56.00 | 112.00 | 28.00 | 56.00 | 112.00 | 28.48 | 56.00 | 28.00 | |||||||||||||||||||
| vssseg7e16.v v8,(t2),t1/*-1*/,v0.t | 28.00 | 56.00 | 112.00 | 28.00 | 56.00 | 112.00 | 28.00 | 56.00 | 28.00 | |||||||||||||||||||
| vssseg7e32.v v8,(t2),t3 | 28.00 | 56.96 | 28.07 | 56.89 | 28.05 | 57.81 | 28.00 | |||||||||||||||||||||
| vssseg7e32.v v8,(t2),t3,v0.t | 28.15 | 58.12 | 28.00 | 57.84 | 28.00 | 56.25 | 28.00 | |||||||||||||||||||||
| vssseg7e32.v v8,(t2),x0 | 28.00 | 56.00 | 28.00 | 56.00 | 28.00 | 56.00 | 28.00 | |||||||||||||||||||||
| vssseg7e32.v v8,(t2),x0,v0.t | 28.00 | 56.00 | 28.00 | 56.00 | 28.00 | 56.00 | 28.00 | |||||||||||||||||||||
| vssseg7e32.v v8,(t2),t1/*-1*/ | 28.00 | 56.00 | 28.00 | 56.40 | 28.00 | 56.00 | 28.00 | |||||||||||||||||||||
| vssseg7e32.v v8,(t2),t1/*-1*/,v0.t | 28.00 | 56.00 | 28.00 | 56.00 | 28.00 | 56.00 | 28.00 | |||||||||||||||||||||
| vssseg7e64.v v8,(t2),t3 | 29.15 | 29.23 | 29.28 | 29.45 | ||||||||||||||||||||||||
| vssseg7e64.v v8,(t2),t3,v0.t | 30.27 | 30.34 | 29.78 | 29.37 | ||||||||||||||||||||||||
| vssseg7e64.v v8,(t2),x0 | 28.00 | 28.00 | 28.00 | 28.00 | ||||||||||||||||||||||||
| vssseg7e64.v v8,(t2),x0,v0.t | 28.00 | 28.00 | 28.00 | 28.00 | ||||||||||||||||||||||||
| vssseg7e64.v v8,(t2),t1/*-1*/ | 28.00 | 28.00 | 28.00 | 28.00 | ||||||||||||||||||||||||
| vssseg7e64.v v8,(t2),t1/*-1*/,v0.t | 28.00 | 28.00 | 28.00 | 29.34 | ||||||||||||||||||||||||
| vlsseg8e8.v v8,(t2),t3 | 32.15 | 64.20 | 128.13 | 255.12 | 32.15 | 64.19 | 128.16 | 32.15 | 64.20 | 32.15 | ||||||||||||||||||
| vlsseg8e8.v v8,(t2),t3,v0.t | 32.15 | 64.23 | 128.13 | 255.12 | 32.15 | 64.18 | 128.13 | 32.15 | 64.21 | 32.15 | ||||||||||||||||||
| vlsseg8e8.v v8,(t2),x0 | 32.15 | 64.25 | 128.12 | 255.25 | 32.15 | 64.25 | 128.12 | 32.15 | 64.25 | 32.15 | ||||||||||||||||||
| vlsseg8e8.v v8,(t2),x0,v0.t | 32.15 | 64.25 | 128.12 | 255.25 | 32.15 | 64.25 | 128.12 | 32.15 | 64.25 | 32.15 | ||||||||||||||||||
| vlsseg8e8.v v8,(t2),t1/*-1*/ | 32.15 | 64.25 | 128.12 | 255.13 | 32.15 | 64.25 | 128.12 | 32.15 | 64.25 | 32.15 | ||||||||||||||||||
| vlsseg8e8.v v8,(t2),t1/*-1*/,v0.t | 32.15 | 64.25 | 128.12 | 255.13 | 32.15 | 64.25 | 128.12 | 32.15 | 64.25 | 32.15 | ||||||||||||||||||
| vlsseg8e16.v v8,(t2),t3 | 32.15 | 64.15 | 127.12 | 32.14 | 64.13 | 127.12 | 32.14 | 64.13 | 32.14 | |||||||||||||||||||
| vlsseg8e16.v v8,(t2),t3,v0.t | 32.14 | 64.13 | 127.12 | 32.14 | 64.14 | 127.12 | 32.14 | 64.13 | 32.14 | |||||||||||||||||||
| vlsseg8e16.v v8,(t2),x0 | 32.15 | 64.25 | 127.18 | 32.15 | 64.25 | 127.18 | 32.15 | 64.25 | 32.15 | |||||||||||||||||||
| vlsseg8e16.v v8,(t2),x0,v0.t | 32.15 | 64.25 | 127.18 | 32.15 | 64.25 | 127.18 | 32.15 | 64.25 | 32.15 | |||||||||||||||||||
| vlsseg8e16.v v8,(t2),t1/*-1*/ | 32.15 | 64.21 | 127.18 | 32.15 | 64.25 | 127.18 | 32.15 | 64.24 | 32.15 | |||||||||||||||||||
| vlsseg8e16.v v8,(t2),t1/*-1*/,v0.t | 32.15 | 64.23 | 127.18 | 32.15 | 64.23 | 127.18 | 32.15 | 64.22 | 32.15 | |||||||||||||||||||
| vlsseg8e32.v v8,(t2),t3 | 32.15 | 63.12 | 32.15 | 63.12 | 32.15 | 63.12 | 32.12 | |||||||||||||||||||||
| vlsseg8e32.v v8,(t2),t3,v0.t | 32.13 | 63.12 | 32.15 | 63.12 | 32.14 | 63.12 | 32.14 | |||||||||||||||||||||
| vlsseg8e32.v v8,(t2),x0 | 32.14 | 63.19 | 32.14 | 63.18 | 32.14 | 63.18 | 32.14 | |||||||||||||||||||||
| vlsseg8e32.v v8,(t2),x0,v0.t | 32.15 | 63.18 | 32.14 | 63.17 | 32.14 | 63.16 | 32.14 | |||||||||||||||||||||
| vlsseg8e32.v v8,(t2),t1/*-1*/ | 32.12 | 63.13 | 32.12 | 63.14 | 32.13 | 63.14 | 32.13 | |||||||||||||||||||||
| vlsseg8e32.v v8,(t2),t1/*-1*/,v0.t | 32.13 | 63.14 | 32.13 | 63.14 | 32.13 | 63.14 | 32.13 | |||||||||||||||||||||
| vlsseg8e64.v v8,(t2),t3 | 31.14 | 31.14 | 31.15 | 31.15 | ||||||||||||||||||||||||
| vlsseg8e64.v v8,(t2),t3,v0.t | 31.15 | 31.15 | 31.14 | 31.15 | ||||||||||||||||||||||||
| vlsseg8e64.v v8,(t2),x0 | 31.13 | 31.13 | 31.13 | 31.13 | ||||||||||||||||||||||||
| vlsseg8e64.v v8,(t2),x0,v0.t | 31.13 | 31.13 | 31.13 | 31.12 | ||||||||||||||||||||||||
| vlsseg8e64.v v8,(t2),t1/*-1*/ | 31.19 | 31.21 | 31.21 | 31.18 | ||||||||||||||||||||||||
| vlsseg8e64.v v8,(t2),t1/*-1*/,v0.t | 31.19 | 31.16 | 31.19 | 31.18 | ||||||||||||||||||||||||
| vssseg8e8.v v8,(t2),t3 | 32.00 | 64.00 | 128.00 | 256.29 | 32.00 | 64.00 | 128.00 | 32.00 | 64.00 | 32.00 | ||||||||||||||||||
| vssseg8e8.v v8,(t2),t3,v0.t | 32.00 | 64.00 | 128.00 | 256.00 | 32.00 | 64.00 | 128.00 | 32.00 | 64.00 | 32.00 | ||||||||||||||||||
| vssseg8e8.v v8,(t2),x0 | 32.00 | 64.00 | 128.00 | 256.00 | 32.00 | 64.00 | 128.00 | 32.00 | 64.00 | 32.00 | ||||||||||||||||||
| vssseg8e8.v v8,(t2),x0,v0.t | 32.00 | 64.00 | 128.00 | 256.00 | 32.00 | 64.00 | 128.00 | 32.00 | 64.00 | 32.00 | ||||||||||||||||||
| vssseg8e8.v v8,(t2),t1/*-1*/ | 32.00 | 64.00 | 128.00 | 256.00 | 32.00 | 64.00 | 128.00 | 32.00 | 64.00 | 32.00 | ||||||||||||||||||
| vssseg8e8.v v8,(t2),t1/*-1*/,v0.t | 32.00 | 64.00 | 128.00 | 256.00 | 32.00 | 64.00 | 128.00 | 32.00 | 64.00 | 32.00 | ||||||||||||||||||
| vssseg8e16.v v8,(t2),t3 | 32.00 | 64.41 | 128.00 | 32.00 | 64.00 | 128.00 | 32.00 | 64.00 | 32.00 | |||||||||||||||||||
| vssseg8e16.v v8,(t2),t3,v0.t | 32.00 | 64.00 | 128.62 | 32.00 | 64.00 | 128.21 | 32.00 | 64.00 | 32.00 | |||||||||||||||||||
| vssseg8e16.v v8,(t2),x0 | 32.00 | 64.00 | 128.00 | 32.00 | 64.00 | 128.00 | 32.00 | 64.00 | 32.00 | |||||||||||||||||||
| vssseg8e16.v v8,(t2),x0,v0.t | 32.00 | 64.00 | 128.00 | 32.00 | 64.00 | 128.00 | 32.00 | 64.00 | 32.00 | |||||||||||||||||||
| vssseg8e16.v v8,(t2),t1/*-1*/ | 32.00 | 64.00 | 128.00 | 32.00 | 64.00 | 128.00 | 32.00 | 64.00 | 32.00 | |||||||||||||||||||
| vssseg8e16.v v8,(t2),t1/*-1*/,v0.t | 32.00 | 64.00 | 128.00 | 32.00 | 64.00 | 128.00 | 32.00 | 64.00 | 32.00 | |||||||||||||||||||
| vssseg8e32.v v8,(t2),t3 | 33.06 | 64.00 | 32.00 | 64.32 | 32.03 | 64.00 | 32.22 | |||||||||||||||||||||
| vssseg8e32.v v8,(t2),t3,v0.t | 32.00 | 64.22 | 32.00 | 65.34 | 32.06 | 64.42 | 32.00 | |||||||||||||||||||||
| vssseg8e32.v v8,(t2),x0 | 32.00 | 64.00 | 32.00 | 64.00 | 32.00 | 64.00 | 32.00 | |||||||||||||||||||||
| vssseg8e32.v v8,(t2),x0,v0.t | 32.00 | 64.00 | 32.00 | 64.00 | 32.00 | 64.00 | 32.00 | |||||||||||||||||||||
| vssseg8e32.v v8,(t2),t1/*-1*/ | 32.00 | 64.00 | 32.00 | 64.00 | 32.00 | 64.00 | 32.00 | |||||||||||||||||||||
| vssseg8e32.v v8,(t2),t1/*-1*/,v0.t | 32.00 | 64.00 | 32.00 | 64.00 | 32.00 | 64.00 | 32.00 | |||||||||||||||||||||
| vssseg8e64.v v8,(t2),t3 | 36.15 | 35.39 | 35.86 | 36.89 | ||||||||||||||||||||||||
| vssseg8e64.v v8,(t2),t3,v0.t | 35.93 | 35.48 | 35.78 | 35.79 | ||||||||||||||||||||||||
| vssseg8e64.v v8,(t2),x0 | 32.00 | 32.00 | 32.00 | 32.00 | ||||||||||||||||||||||||
| vssseg8e64.v v8,(t2),x0,v0.t | 32.00 | 32.00 | 32.00 | 32.00 | ||||||||||||||||||||||||
| vssseg8e64.v v8,(t2),t1/*-1*/ | 32.00 | 33.47 | 32.85 | 33.21 | ||||||||||||||||||||||||
| vssseg8e64.v v8,(t2),t1/*-1*/,v0.t | 33.60 | 33.90 | 33.98 | 34.19 | ||||||||||||||||||||||||
| vandn.vv v8,v16,v24 | 1.00 | 1.00 | 1.00 | 1.00 | 2.00 | 4.00 | 8.00 | 1.00 | 1.00 | 1.00 | 2.00 | 4.00 | 8.00 | 1.00 | 1.00 | 2.00 | 4.00 | 8.00 | 1.00 | 2.00 | 4.00 | 8.00 | ||||||
| vandn.vv v8,v16,v24,v0.t | 1.00 | 1.00 | 1.00 | 1.00 | 2.00 | 4.00 | 8.00 | 1.00 | 1.00 | 1.00 | 2.00 | 4.00 | 8.00 | 1.00 | 1.00 | 2.00 | 4.00 | 8.00 | 1.00 | 2.00 | 4.00 | 8.00 | ||||||
| vandn.vx v8,v16,t0 | 1.06 | 1.06 | 1.06 | 1.06 | 2.00 | 4.00 | 8.00 | 1.06 | 1.06 | 1.06 | 2.00 | 4.00 | 8.00 | 1.06 | 1.06 | 2.00 | 4.00 | 8.00 | 1.06 | 2.00 | 4.00 | 8.00 | ||||||
| vandn.vx v8,v16,t0,v0.t | 1.06 | 1.06 | 1.06 | 1.06 | 2.00 | 4.00 | 8.00 | 1.06 | 1.06 | 1.06 | 2.00 | 4.00 | 8.00 | 1.06 | 1.06 | 2.00 | 4.00 | 8.00 | 1.06 | 2.00 | 4.00 | 8.00 | ||||||
| vbrev.v v8,v16 | 1.00 | 1.00 | 1.00 | 2.00 | 4.00 | 8.00 | 16.00 | 1.00 | 1.00 | 2.00 | 4.00 | 8.00 | 16.00 | 1.00 | 2.00 | 4.00 | 8.00 | 16.00 | 2.00 | 4.00 | 8.00 | 16.00 | ||||||
| vbrev.v v8,v16,v0.t | 1.00 | 1.00 | 1.00 | 2.00 | 4.00 | 8.00 | 16.00 | 1.00 | 1.00 | 2.00 | 4.00 | 8.00 | 16.00 | 1.00 | 2.00 | 4.00 | 8.00 | 16.00 | 2.00 | 4.00 | 8.00 | 16.00 | ||||||
| vbrev8.v v8,v16 | 1.00 | 1.00 | 1.00 | 2.00 | 4.00 | 8.00 | 16.00 | 1.00 | 1.00 | 2.00 | 4.00 | 8.00 | 16.00 | 1.00 | 2.00 | 4.00 | 8.00 | 16.00 | 2.00 | 4.00 | 8.00 | 16.00 | ||||||
| vbrev8.v v8,v16,v0.t | 1.00 | 1.00 | 1.00 | 2.00 | 4.00 | 8.00 | 16.00 | 1.00 | 1.00 | 2.00 | 4.00 | 8.00 | 16.00 | 1.00 | 2.00 | 4.00 | 8.00 | 16.00 | 2.00 | 4.00 | 8.00 | 16.00 | ||||||
| vclz.v v8,v16 | 1.00 | 1.00 | 1.00 | 2.00 | 4.00 | 8.00 | 16.00 | 1.00 | 1.00 | 2.00 | 4.00 | 8.00 | 16.00 | 1.00 | 2.00 | 4.00 | 8.00 | 16.00 | 2.00 | 4.00 | 8.00 | 16.00 | ||||||
| vclz.v v8,v16,v0.t | 1.00 | 1.00 | 1.00 | 2.00 | 4.00 | 8.00 | 16.00 | 1.00 | 1.00 | 2.00 | 4.00 | 8.00 | 16.00 | 1.00 | 2.00 | 4.00 | 8.00 | 16.00 | 2.00 | 4.00 | 8.00 | 16.00 | ||||||
| vctz.v v8,v16 | 1.00 | 1.00 | 1.00 | 2.00 | 4.00 | 8.00 | 16.00 | 1.00 | 1.00 | 2.00 | 4.00 | 8.00 | 16.00 | 1.00 | 2.00 | 4.00 | 8.00 | 16.00 | 2.00 | 4.00 | 8.00 | 16.00 | ||||||
| vctz.v v8,v16,v0.t | 1.00 | 1.00 | 1.00 | 2.00 | 4.00 | 8.00 | 16.00 | 1.00 | 1.00 | 2.00 | 4.00 | 8.00 | 16.00 | 1.00 | 2.00 | 4.00 | 8.00 | 16.00 | 2.00 | 4.00 | 8.00 | 16.00 | ||||||
| vcpop.v v8,v16 | 1.00 | 1.00 | 1.00 | 2.00 | 4.00 | 8.00 | 16.00 | 1.00 | 1.00 | 2.00 | 4.00 | 8.00 | 16.00 | 1.00 | 2.00 | 4.00 | 8.00 | 16.00 | 2.00 | 4.00 | 8.00 | 16.00 | ||||||
| vcpop.v v8,v16,v0.t | 1.00 | 1.00 | 1.00 | 2.00 | 4.00 | 8.00 | 16.00 | 1.00 | 1.00 | 2.00 | 4.00 | 8.00 | 16.00 | 1.00 | 2.00 | 4.00 | 8.00 | 16.00 | 2.00 | 4.00 | 8.00 | 16.00 | ||||||
| vrol.vv v8,v16,v24 | 1.00 | 1.00 | 1.00 | 2.00 | 4.00 | 8.00 | 16.00 | 1.00 | 1.00 | 2.00 | 4.00 | 8.00 | 16.00 | 1.00 | 2.00 | 4.00 | 8.00 | 16.00 | 2.00 | 4.00 | 8.00 | 16.00 | ||||||
| vrol.vv v8,v16,v24,v0.t | 1.00 | 1.00 | 1.00 | 2.00 | 4.00 | 8.00 | 16.00 | 1.00 | 1.00 | 2.00 | 4.00 | 8.00 | 16.00 | 1.00 | 2.00 | 4.00 | 8.00 | 16.00 | 2.00 | 4.00 | 8.00 | 16.00 | ||||||
| vrol.vx v8,v16,t0 | 1.06 | 1.06 | 1.06 | 2.00 | 4.00 | 8.00 | 16.00 | 1.06 | 1.06 | 2.00 | 4.00 | 8.00 | 16.00 | 1.06 | 2.00 | 4.00 | 8.00 | 16.00 | 2.00 | 4.00 | 8.00 | 16.00 | ||||||
| vrol.vx v8,v16,t0,v0.t | 1.06 | 1.06 | 1.06 | 2.00 | 4.00 | 8.00 | 16.00 | 1.06 | 1.06 | 2.00 | 4.00 | 8.00 | 16.00 | 1.06 | 2.00 | 4.00 | 8.00 | 16.00 | 2.00 | 4.00 | 8.00 | 16.00 | ||||||
| vror.vv v8,v16,v24 | 1.00 | 1.00 | 1.00 | 2.00 | 4.00 | 8.00 | 16.00 | 1.00 | 1.00 | 2.00 | 4.00 | 8.00 | 16.00 | 1.00 | 2.00 | 4.00 | 8.00 | 16.00 | 2.00 | 4.00 | 8.00 | 16.00 | ||||||
| vror.vv v8,v16,v24,v0.t | 1.00 | 1.00 | 1.00 | 2.00 | 4.00 | 8.00 | 16.00 | 1.00 | 1.00 | 2.00 | 4.00 | 8.00 | 16.00 | 1.00 | 2.00 | 4.00 | 8.00 | 16.00 | 2.00 | 4.00 | 8.00 | 16.00 | ||||||
| vror.vx v8,v16,t0 | 1.06 | 1.06 | 1.06 | 2.00 | 4.00 | 8.00 | 16.00 | 1.06 | 1.06 | 2.00 | 4.00 | 8.00 | 16.00 | 1.06 | 2.00 | 4.00 | 8.00 | 16.00 | 2.00 | 4.00 | 8.00 | 16.00 | ||||||
| vror.vx v8,v16,t0,v0.t | 1.06 | 1.06 | 1.06 | 2.00 | 4.00 | 8.00 | 16.00 | 1.06 | 1.06 | 2.00 | 4.00 | 8.00 | 16.00 | 1.06 | 2.00 | 4.00 | 8.00 | 16.00 | 2.00 | 4.00 | 8.00 | 16.00 | ||||||
| vwsll.vv v8,v16,v24 | 1.00 | 1.00 | 2.00 | 4.00 | 8.00 | 16.00 | 1.00 | 2.00 | 4.00 | 8.00 | 16.00 | 2.00 | 4.00 | 8.00 | 16.00 | |||||||||||||
| vwsll.vv v8,v16,v24,v0.t | 1.00 | 1.00 | 2.00 | 4.00 | 8.00 | 16.00 | 1.00 | 2.00 | 4.00 | 8.00 | 16.00 | 2.00 | 4.00 | 8.00 | 16.00 | |||||||||||||
| vwsll.vx v8,v16,t0 | 1.06 | 1.06 | 2.00 | 4.00 | 8.00 | 16.00 | 1.06 | 2.00 | 4.00 | 8.00 | 16.00 | 2.00 | 4.00 | 8.00 | 16.00 | |||||||||||||
| vwsll.vx v8,v16,t0,v0.t | 1.06 | 1.06 | 2.00 | 4.00 | 8.00 | 16.00 | 1.06 | 2.00 | 4.00 | 8.00 | 16.00 | 2.00 | 4.00 | 8.00 | 16.00 | |||||||||||||
| vclmul.vv v8,v16,v24 | 2.00 | 4.00 | 8.00 | 16.00 | ||||||||||||||||||||||||
| vclmul.vv v8,v16,v24,v0.t | 2.00 | 4.00 | 8.00 | 16.00 | ||||||||||||||||||||||||
| vclmul.vx v8,v16,t0 | 2.00 | 4.00 | 8.00 | 16.00 | ||||||||||||||||||||||||
| vclmul.vx v8,v16,t0,v0.t | 2.00 | 4.00 | 8.00 | 16.00 | ||||||||||||||||||||||||
| vclmulh.vv v8,v16,v24 | 2.00 | 4.00 | 8.00 | 16.00 | ||||||||||||||||||||||||
| vclmulh.vv v8,v16,v24,v0.t | 2.00 | 4.00 | 8.00 | 16.00 | ||||||||||||||||||||||||
| vclmulh.vx v8,v16,t0 | 2.00 | 4.00 | 8.00 | 16.00 | ||||||||||||||||||||||||
| vclmulh.vx v8,v16,t0,v0.t | 2.00 | 4.00 | 8.00 | 16.00 | ||||||||||||||||||||||||
| vghsh.vv v8,v16,v24 | 2.00 | 4.00 | 8.00 | 16.00 | ||||||||||||||||||||||||
| vgmul.vv v8,v16 | 2.00 | 4.00 | 8.00 | 16.00 |
| instruction | e8mf8 | e8mf4 | e8mf2 | e8m1 | e8m2 | e8m4 | e8m8 | e16mf8 | e16mf4 | e16mf2 | e16m1 | e16m2 | e16m4 | e16m8 | e32mf8 | e32mf4 | e32mf2 | e32m1 | e32m2 | e32m4 | e32m8 | e64mf8 | e64mf4 | e64mf2 | e64m1 | e64m2 | e64m4 | e64m8 |
|---|---|---|---|---|---|---|---|---|---|---|---|---|---|---|---|---|---|---|---|---|---|---|---|---|---|---|---|---|
| add t0,t1,t2 | 0.47 | 0.47 | 0.47 | 0.47 | 0.40 | 0.34 | 0.34 | 0.47 | 0.47 | 0.47 | 0.40 | 0.34 | 0.34 | 0.47 | 0.47 | 0.40 | 0.34 | 0.34 | 0.47 | 0.40 | 0.34 | 0.34 | ||||||
| mul t0,t1,t2 | 1.50 | 1.50 | 1.50 | 1.50 | 1.50 | 1.00 | 1.00 | 1.50 | 1.50 | 1.50 | 1.50 | 1.00 | 1.00 | 1.50 | 1.50 | 1.50 | 1.00 | 1.00 | 1.50 | 1.50 | 1.00 | 1.00 | ||||||
| vadd.vv v8,v16,v24 | 1.00 | 1.00 | 1.00 | 1.00 | 2.00 | 4.00 | 8.00 | 1.00 | 1.00 | 1.00 | 2.00 | 4.00 | 8.00 | 1.00 | 1.00 | 2.00 | 4.00 | 8.00 | 1.00 | 2.00 | 4.00 | 8.00 | ||||||
| vadd.vv v8,v16,v24,v0.t | 1.00 | 1.00 | 1.00 | 1.00 | 2.00 | 4.00 | 8.00 | 1.00 | 1.00 | 1.00 | 2.00 | 4.00 | 8.00 | 1.00 | 1.00 | 2.00 | 4.00 | 8.00 | 1.00 | 2.00 | 4.00 | 8.00 | ||||||
| vadd.vx v8,v16,t0 | 1.06 | 1.06 | 1.06 | 1.06 | 2.00 | 4.00 | 8.00 | 1.06 | 1.06 | 1.06 | 2.00 | 4.00 | 8.00 | 1.06 | 1.06 | 2.00 | 4.00 | 8.00 | 1.06 | 2.00 | 4.00 | 8.00 | ||||||
| vadd.vx v8,v16,t0,v0.t | 1.06 | 1.06 | 1.06 | 1.06 | 2.00 | 4.00 | 8.00 | 1.06 | 1.06 | 1.06 | 2.00 | 4.00 | 8.00 | 1.06 | 1.06 | 2.00 | 4.00 | 8.00 | 1.06 | 2.00 | 4.00 | 8.00 | ||||||
| vadd.vi v8,v16,13 | 1.00 | 1.00 | 1.00 | 1.00 | 2.00 | 4.00 | 8.00 | 1.00 | 1.00 | 1.00 | 2.00 | 4.00 | 8.00 | 1.00 | 1.00 | 2.00 | 4.00 | 8.00 | 1.00 | 2.00 | 4.00 | 8.00 | ||||||
| vadd.vi v8,v16,13,v0.t | 1.00 | 1.00 | 1.00 | 1.00 | 2.00 | 4.00 | 8.00 | 1.00 | 1.00 | 1.00 | 2.00 | 4.00 | 8.00 | 1.00 | 1.00 | 2.00 | 4.00 | 8.00 | 1.00 | 2.00 | 4.00 | 8.00 | ||||||
| vsub.vv v8,v16,v24 | 1.00 | 1.00 | 1.00 | 1.00 | 2.00 | 4.00 | 8.00 | 1.00 | 1.00 | 1.00 | 2.00 | 4.00 | 8.00 | 1.00 | 1.00 | 2.00 | 4.00 | 8.00 | 1.00 | 2.00 | 4.00 | 8.00 | ||||||
| vsub.vv v8,v16,v24,v0.t | 1.00 | 1.00 | 1.00 | 1.00 | 2.00 | 4.00 | 8.00 | 1.00 | 1.00 | 1.00 | 2.00 | 4.00 | 8.00 | 1.00 | 1.00 | 2.00 | 4.00 | 8.00 | 1.00 | 2.00 | 4.00 | 8.00 | ||||||
| vsub.vx v8,v16,t0 | 1.06 | 1.06 | 1.06 | 1.06 | 2.00 | 4.00 | 8.00 | 1.06 | 1.06 | 1.06 | 2.00 | 4.00 | 8.00 | 1.06 | 1.06 | 2.00 | 4.00 | 8.00 | 1.06 | 2.00 | 4.00 | 8.00 | ||||||
| vsub.vx v8,v16,t0,v0.t | 1.06 | 1.06 | 1.06 | 1.06 | 2.00 | 4.00 | 8.00 | 1.06 | 1.06 | 1.06 | 2.00 | 4.00 | 8.00 | 1.06 | 1.06 | 2.00 | 4.00 | 8.00 | 1.06 | 2.00 | 4.00 | 8.00 | ||||||
| vrsub.vx v8,v16,t0 | 1.06 | 1.06 | 1.06 | 1.06 | 2.00 | 4.00 | 8.00 | 1.06 | 1.06 | 1.06 | 2.00 | 4.00 | 8.00 | 1.06 | 1.06 | 2.00 | 4.00 | 8.00 | 1.06 | 2.00 | 4.00 | 8.00 | ||||||
| vrsub.vx v8,v16,t0,v0.t | 1.06 | 1.06 | 1.06 | 1.06 | 2.00 | 4.00 | 8.00 | 1.06 | 1.06 | 1.06 | 2.00 | 4.00 | 8.00 | 1.06 | 1.06 | 2.00 | 4.00 | 8.00 | 1.06 | 2.00 | 4.00 | 8.00 | ||||||
| vrsub.vi v8,v16,13 | 1.00 | 1.00 | 1.00 | 1.00 | 2.00 | 4.00 | 8.00 | 1.00 | 1.00 | 1.00 | 2.00 | 4.00 | 8.00 | 1.00 | 1.00 | 2.00 | 4.00 | 8.00 | 1.00 | 2.00 | 4.00 | 8.00 | ||||||
| vrsub.vi v8,v16,13,v0.t | 1.00 | 1.00 | 1.00 | 1.00 | 2.00 | 4.00 | 8.00 | 1.00 | 1.00 | 1.00 | 2.00 | 4.00 | 8.00 | 1.00 | 1.00 | 2.00 | 4.00 | 8.00 | 1.00 | 2.00 | 4.00 | 8.00 | ||||||
| vminu.vv v8,v16,v24 | 1.00 | 1.00 | 1.00 | 1.00 | 2.00 | 4.00 | 8.00 | 1.00 | 1.00 | 1.00 | 2.00 | 4.00 | 8.00 | 1.00 | 1.00 | 2.00 | 4.00 | 8.00 | 1.00 | 2.00 | 4.00 | 8.00 | ||||||
| vminu.vv v8,v16,v24,v0.t | 1.00 | 1.00 | 1.00 | 1.00 | 2.00 | 4.00 | 8.00 | 1.00 | 1.00 | 1.00 | 2.00 | 4.00 | 8.00 | 1.00 | 1.00 | 2.00 | 4.00 | 8.00 | 1.00 | 2.00 | 4.00 | 8.00 | ||||||
| vminu.vx v8,v16,t0 | 1.06 | 1.06 | 1.06 | 1.06 | 2.00 | 4.00 | 8.00 | 1.06 | 1.06 | 1.06 | 2.00 | 4.00 | 8.00 | 1.06 | 1.06 | 2.00 | 4.00 | 8.00 | 1.06 | 2.00 | 4.00 | 8.00 | ||||||
| vminu.vx v8,v16,t0,v0.t | 1.06 | 1.06 | 1.06 | 1.06 | 2.00 | 4.00 | 8.00 | 1.06 | 1.06 | 1.06 | 2.00 | 4.00 | 8.00 | 1.06 | 1.06 | 2.00 | 4.00 | 8.00 | 1.06 | 2.00 | 4.00 | 8.00 | ||||||
| vmin.vv v8,v16,v24 | 1.00 | 1.00 | 1.00 | 1.00 | 2.00 | 4.00 | 8.00 | 1.00 | 1.00 | 1.00 | 2.00 | 4.00 | 8.00 | 1.00 | 1.00 | 2.00 | 4.00 | 8.00 | 1.00 | 2.00 | 4.00 | 8.00 | ||||||
| vmin.vv v8,v16,v24,v0.t | 1.00 | 1.00 | 1.00 | 1.00 | 2.00 | 4.00 | 8.00 | 1.00 | 1.00 | 1.00 | 2.00 | 4.00 | 8.00 | 1.00 | 1.00 | 2.00 | 4.00 | 8.00 | 1.00 | 2.00 | 4.00 | 8.00 | ||||||
| vmin.vx v8,v16,t0 | 1.06 | 1.06 | 1.06 | 1.06 | 2.00 | 4.00 | 8.00 | 1.06 | 1.06 | 1.06 | 2.00 | 4.00 | 8.00 | 1.06 | 1.06 | 2.00 | 4.00 | 8.00 | 1.06 | 2.00 | 4.00 | 8.00 | ||||||
| vmin.vx v8,v16,t0,v0.t | 1.06 | 1.06 | 1.06 | 1.06 | 2.00 | 4.00 | 8.00 | 1.06 | 1.06 | 1.06 | 2.00 | 4.00 | 8.00 | 1.06 | 1.06 | 2.00 | 4.00 | 8.00 | 1.06 | 2.00 | 4.00 | 8.00 | ||||||
| vmaxu.vv v8,v16,v24 | 1.00 | 1.00 | 1.00 | 1.00 | 2.00 | 4.00 | 8.00 | 1.00 | 1.00 | 1.00 | 2.00 | 4.00 | 8.00 | 1.00 | 1.00 | 2.00 | 4.00 | 8.00 | 1.00 | 2.00 | 4.00 | 8.00 | ||||||
| vmaxu.vv v8,v16,v24,v0.t | 1.00 | 1.00 | 1.00 | 1.00 | 2.00 | 4.00 | 8.00 | 1.00 | 1.00 | 1.00 | 2.00 | 4.00 | 8.00 | 1.00 | 1.00 | 2.00 | 4.00 | 8.00 | 1.00 | 2.00 | 4.00 | 8.00 | ||||||
| vmaxu.vx v8,v16,t0 | 1.06 | 1.06 | 1.06 | 1.06 | 2.00 | 4.00 | 8.00 | 1.06 | 1.06 | 1.06 | 2.00 | 4.00 | 8.00 | 1.06 | 1.06 | 2.00 | 4.00 | 8.00 | 1.06 | 2.00 | 4.00 | 8.00 | ||||||
| vmaxu.vx v8,v16,t0,v0.t | 1.06 | 1.06 | 1.06 | 1.06 | 2.00 | 4.00 | 8.00 | 1.06 | 1.06 | 1.06 | 2.00 | 4.00 | 8.00 | 1.06 | 1.06 | 2.00 | 4.00 | 8.00 | 1.06 | 2.00 | 4.00 | 8.00 | ||||||
| vmax.vv v8,v16,v24 | 1.00 | 1.00 | 1.00 | 1.00 | 2.00 | 4.00 | 8.00 | 1.00 | 1.00 | 1.00 | 2.00 | 4.00 | 8.00 | 1.00 | 1.00 | 2.00 | 4.00 | 8.00 | 1.00 | 2.00 | 4.00 | 8.00 | ||||||
| vmax.vv v8,v16,v24,v0.t | 1.00 | 1.00 | 1.00 | 1.00 | 2.00 | 4.00 | 8.00 | 1.00 | 1.00 | 1.00 | 2.00 | 4.00 | 8.00 | 1.00 | 1.00 | 2.00 | 4.00 | 8.00 | 1.00 | 2.00 | 4.00 | 8.00 | ||||||
| vmax.vx v8,v16,t0 | 1.06 | 1.06 | 1.06 | 1.06 | 2.00 | 4.00 | 8.00 | 1.06 | 1.06 | 1.06 | 2.00 | 4.00 | 8.00 | 1.06 | 1.06 | 2.00 | 4.00 | 8.00 | 1.06 | 2.00 | 4.00 | 8.00 | ||||||
| vmax.vx v8,v16,t0,v0.t | 1.06 | 1.06 | 1.06 | 1.06 | 2.00 | 4.00 | 8.00 | 1.06 | 1.06 | 1.06 | 2.00 | 4.00 | 8.00 | 1.06 | 1.06 | 2.00 | 4.00 | 8.00 | 1.06 | 2.00 | 4.00 | 8.00 | ||||||
| vand.vv v8,v16,v24 | 1.00 | 1.00 | 1.00 | 1.00 | 2.00 | 4.00 | 8.00 | 1.00 | 1.00 | 1.00 | 2.00 | 4.00 | 8.00 | 1.00 | 1.00 | 2.00 | 4.00 | 8.00 | 1.00 | 2.00 | 4.00 | 8.00 | ||||||
| vand.vv v8,v16,v24,v0.t | 1.00 | 1.00 | 1.00 | 1.00 | 2.00 | 4.00 | 8.00 | 1.00 | 1.00 | 1.00 | 2.00 | 4.00 | 8.00 | 1.00 | 1.00 | 2.00 | 4.00 | 8.00 | 1.00 | 2.00 | 4.00 | 8.00 | ||||||
| vand.vx v8,v16,t0 | 1.06 | 1.06 | 1.06 | 1.06 | 2.00 | 4.00 | 8.00 | 1.06 | 1.06 | 1.06 | 2.00 | 4.00 | 8.00 | 1.06 | 1.06 | 2.00 | 4.00 | 8.00 | 1.06 | 2.00 | 4.00 | 8.00 | ||||||
| vand.vx v8,v16,t0,v0.t | 1.06 | 1.06 | 1.06 | 1.06 | 2.00 | 4.00 | 8.00 | 1.06 | 1.06 | 1.06 | 2.00 | 4.00 | 8.00 | 1.06 | 1.06 | 2.00 | 4.00 | 8.00 | 1.06 | 2.00 | 4.00 | 8.00 | ||||||
| vand.vi v8,v16,13 | 1.00 | 1.00 | 1.00 | 1.00 | 2.00 | 4.00 | 8.00 | 1.00 | 1.00 | 1.00 | 2.00 | 4.00 | 8.00 | 1.00 | 1.00 | 2.00 | 4.00 | 8.00 | 1.00 | 2.00 | 4.00 | 8.00 | ||||||
| vand.vi v8,v16,13,v0.t | 1.00 | 1.00 | 1.00 | 1.00 | 2.00 | 4.00 | 8.00 | 1.00 | 1.00 | 1.00 | 2.00 | 4.00 | 8.00 | 1.00 | 1.00 | 2.00 | 4.00 | 8.00 | 1.00 | 2.00 | 4.00 | 8.00 | ||||||
| vor.vv v8,v16,v24 | 1.00 | 1.00 | 1.00 | 1.00 | 2.00 | 4.00 | 8.00 | 1.00 | 1.00 | 1.00 | 2.00 | 4.00 | 8.00 | 1.00 | 1.00 | 2.00 | 4.00 | 8.00 | 1.00 | 2.00 | 4.00 | 8.00 | ||||||
| vor.vv v8,v16,v24,v0.t | 1.00 | 1.00 | 1.00 | 1.00 | 2.00 | 4.00 | 8.00 | 1.00 | 1.00 | 1.00 | 2.00 | 4.00 | 8.00 | 1.00 | 1.00 | 2.00 | 4.00 | 8.00 | 1.00 | 2.00 | 4.00 | 8.00 | ||||||
| vor.vx v8,v16,t0 | 1.06 | 1.06 | 1.06 | 1.06 | 2.00 | 4.00 | 8.00 | 1.06 | 1.06 | 1.06 | 2.00 | 4.00 | 8.00 | 1.06 | 1.06 | 2.00 | 4.00 | 8.00 | 1.06 | 2.00 | 4.00 | 8.00 | ||||||
| vor.vx v8,v16,t0,v0.t | 1.06 | 1.06 | 1.06 | 1.06 | 2.00 | 4.00 | 8.00 | 1.06 | 1.06 | 1.06 | 2.00 | 4.00 | 8.00 | 1.06 | 1.06 | 2.00 | 4.00 | 8.00 | 1.06 | 2.00 | 4.00 | 8.00 | ||||||
| vor.vi v8,v16,13 | 1.00 | 1.00 | 1.00 | 1.00 | 2.00 | 4.00 | 8.00 | 1.00 | 1.00 | 1.00 | 2.00 | 4.00 | 8.00 | 1.00 | 1.00 | 2.00 | 4.00 | 8.00 | 1.00 | 2.00 | 4.00 | 8.00 | ||||||
| vor.vi v8,v16,13,v0.t | 1.00 | 1.00 | 1.00 | 1.00 | 2.00 | 4.00 | 8.00 | 1.00 | 1.00 | 1.00 | 2.00 | 4.00 | 8.00 | 1.00 | 1.00 | 2.00 | 4.00 | 8.00 | 1.00 | 2.00 | 4.00 | 8.00 | ||||||
| vxor.vv v8,v16,v24 | 1.00 | 1.00 | 1.00 | 1.00 | 2.00 | 4.00 | 8.00 | 1.00 | 1.00 | 1.00 | 2.00 | 4.00 | 8.00 | 1.00 | 1.00 | 2.00 | 4.00 | 8.00 | 1.00 | 2.00 | 4.00 | 8.00 | ||||||
| vxor.vv v8,v16,v24,v0.t | 1.00 | 1.00 | 1.00 | 1.00 | 2.00 | 4.00 | 8.00 | 1.00 | 1.00 | 1.00 | 2.00 | 4.00 | 8.00 | 1.00 | 1.00 | 2.00 | 4.00 | 8.00 | 1.00 | 2.00 | 4.00 | 8.00 | ||||||
| vxor.vx v8,v16,t0 | 1.06 | 1.06 | 1.06 | 1.06 | 2.00 | 4.00 | 8.00 | 1.06 | 1.06 | 1.06 | 2.00 | 4.00 | 8.00 | 1.06 | 1.06 | 2.00 | 4.00 | 8.00 | 1.06 | 2.00 | 4.00 | 8.00 | ||||||
| vxor.vx v8,v16,t0,v0.t | 1.06 | 1.06 | 1.06 | 1.06 | 2.00 | 4.00 | 8.00 | 1.06 | 1.06 | 1.06 | 2.00 | 4.00 | 8.00 | 1.06 | 1.06 | 2.00 | 4.00 | 8.00 | 1.06 | 2.00 | 4.00 | 8.00 | ||||||
| vxor.vi v8,v16,13 | 1.00 | 1.00 | 1.00 | 1.00 | 2.00 | 4.00 | 8.00 | 1.00 | 1.00 | 1.00 | 2.00 | 4.00 | 8.00 | 1.00 | 1.00 | 2.00 | 4.00 | 8.00 | 1.00 | 2.00 | 4.00 | 8.00 | ||||||
| vxor.vi v8,v16,13,v0.t | 1.00 | 1.00 | 1.00 | 1.00 | 2.00 | 4.00 | 8.00 | 1.00 | 1.00 | 1.00 | 2.00 | 4.00 | 8.00 | 1.00 | 1.00 | 2.00 | 4.00 | 8.00 | 1.00 | 2.00 | 4.00 | 8.00 | ||||||
| vrgather.vv v8,v16,v24 | 1.00 | 1.00 | 1.00 | 2.00 | 8.00 | 32.00 | 127.96 | 1.00 | 1.00 | 2.00 | 8.00 | 32.00 | 127.96 | 1.00 | 2.00 | 8.00 | 32.00 | 127.96 | 2.00 | 8.00 | 32.00 | 127.96 | ||||||
| vrgather.vv v8,v16,v24,v0.t | 1.00 | 1.00 | 1.00 | 2.00 | 8.00 | 32.00 | 127.96 | 1.00 | 1.00 | 2.00 | 8.00 | 32.00 | 127.96 | 1.00 | 2.00 | 8.00 | 32.00 | 127.96 | 2.00 | 8.00 | 32.00 | 127.95 | ||||||
| vrgather.vx v8,v16,t0 | 1.32 | 1.32 | 1.32 | 2.07 | 4.00 | 8.00 | 16.00 | 1.32 | 1.32 | 2.07 | 4.00 | 8.00 | 16.00 | 1.32 | 2.07 | 4.00 | 8.00 | 16.00 | 2.07 | 4.00 | 8.00 | 16.00 | ||||||
| vrgather.vx v8,v16,t0,v0.t | 1.32 | 1.32 | 1.32 | 2.07 | 4.00 | 8.00 | 16.00 | 1.32 | 1.32 | 2.07 | 4.00 | 8.00 | 16.00 | 1.32 | 2.07 | 4.00 | 8.00 | 16.00 | 2.07 | 4.00 | 8.00 | 16.00 | ||||||
| vrgather.vi v8,v16,3 | 1.00 | 1.00 | 1.00 | 2.00 | 4.00 | 8.00 | 16.00 | 1.00 | 1.00 | 2.00 | 4.00 | 8.00 | 16.00 | 1.00 | 2.00 | 4.00 | 8.00 | 16.00 | 2.00 | 4.00 | 8.00 | 16.00 | ||||||
| vrgather.vi v8,v16,3,v0.t | 1.00 | 1.00 | 1.00 | 2.00 | 4.00 | 8.00 | 16.00 | 1.00 | 1.00 | 2.00 | 4.00 | 8.00 | 16.00 | 1.00 | 2.00 | 4.00 | 8.00 | 16.00 | 2.00 | 4.00 | 8.00 | 16.00 | ||||||
| vslideup.vx v8,v16,t0 | 1.06 | 1.06 | 1.06 | 2.00 | 4.00 | 8.00 | 16.00 | 1.06 | 1.06 | 2.00 | 4.00 | 8.00 | 16.00 | 1.06 | 2.00 | 4.00 | 8.00 | 16.00 | 2.00 | 4.00 | 8.00 | 16.00 | ||||||
| vslideup.vx v8,v16,t0,v0.t | 1.06 | 1.06 | 1.06 | 2.00 | 4.00 | 8.00 | 16.00 | 1.06 | 1.06 | 2.00 | 4.00 | 8.00 | 16.00 | 1.06 | 2.00 | 4.00 | 8.00 | 16.00 | 2.00 | 4.00 | 8.00 | 16.00 | ||||||
| vslideup.vi v8,v16,3 | 1.00 | 1.00 | 1.00 | 2.00 | 4.00 | 8.00 | 16.00 | 1.00 | 1.00 | 2.00 | 4.00 | 8.00 | 16.00 | 1.00 | 2.00 | 4.00 | 8.00 | 16.00 | 2.00 | 4.00 | 8.00 | 16.00 | ||||||
| vslideup.vi v8,v16,3,v0.t | 1.00 | 1.00 | 1.00 | 2.00 | 4.00 | 8.00 | 16.00 | 1.00 | 1.00 | 2.00 | 4.00 | 8.00 | 16.00 | 1.00 | 2.00 | 4.00 | 8.00 | 16.00 | 2.00 | 4.00 | 8.00 | 16.00 | ||||||
| vrgatherei16.vv v8,v16,v24 | 1.00 | 1.00 | 2.00 | 4.00 | 16.00 | 63.99 | 1.00 | 1.00 | 2.00 | 8.00 | 32.00 | 127.95 | 1.00 | 2.00 | 8.00 | 32.00 | 127.96 | 2.00 | 8.00 | 32.00 | 127.96 | |||||||
| vrgatherei16.vv v8,v16,v24,v0.t | 1.00 | 1.00 | 2.00 | 4.00 | 16.00 | 63.99 | 1.00 | 1.00 | 2.00 | 8.00 | 32.00 | 127.95 | 1.00 | 2.00 | 8.00 | 32.00 | 127.95 | 2.00 | 8.00 | 32.00 | 127.96 | |||||||
| vslidedown.vx v8,v16,t0 | 1.32 | 1.32 | 1.32 | 3.00 | 5.00 | 9.00 | 17.00 | 1.32 | 1.32 | 3.00 | 5.00 | 9.00 | 17.00 | 1.32 | 3.00 | 5.00 | 9.00 | 17.00 | 3.00 | 5.00 | 9.00 | 17.00 | ||||||
| vslidedown.vx v8,v16,t0,v0.t | 1.32 | 1.32 | 1.32 | 3.00 | 5.00 | 9.00 | 17.00 | 1.32 | 1.32 | 3.00 | 5.00 | 9.00 | 17.00 | 1.32 | 3.00 | 5.00 | 9.00 | 17.00 | 3.00 | 5.00 | 9.00 | 17.00 | ||||||
| vslidedown.vi v8,v16,3 | 1.00 | 1.00 | 1.00 | 3.00 | 5.00 | 9.00 | 17.00 | 1.00 | 1.00 | 3.00 | 5.00 | 9.00 | 17.00 | 1.00 | 3.00 | 5.00 | 9.00 | 17.00 | 3.00 | 5.00 | 9.00 | 17.00 | ||||||
| vslidedown.vi v8,v16,3,v0.t | 1.00 | 1.00 | 1.00 | 3.00 | 5.00 | 9.00 | 17.00 | 1.00 | 1.00 | 3.00 | 5.00 | 9.00 | 17.00 | 1.00 | 3.00 | 5.00 | 9.00 | 17.00 | 3.00 | 5.00 | 9.00 | 17.00 | ||||||
| vredsum.vs v8,v16,v24 | 1.00 | 1.00 | 1.00 | 1.00 | 2.00 | 5.50 | 19.00 | 1.00 | 1.00 | 1.00 | 2.00 | 5.50 | 19.00 | 1.00 | 1.00 | 2.00 | 5.50 | 19.00 | 1.00 | 2.00 | 5.50 | 19.00 | ||||||
| vredsum.vs v8,v16,v24,v0.t | 1.00 | 1.00 | 1.00 | 1.00 | 2.00 | 5.50 | 19.00 | 1.00 | 1.00 | 1.00 | 2.00 | 5.50 | 19.00 | 1.00 | 1.00 | 2.00 | 5.50 | 19.00 | 1.00 | 2.00 | 5.50 | 19.00 | ||||||
| vredand.vs v8,v16,v24 | 1.00 | 1.00 | 1.00 | 1.00 | 2.00 | 5.00 | 18.00 | 1.00 | 1.00 | 1.00 | 2.00 | 5.00 | 18.00 | 1.00 | 1.00 | 2.00 | 5.00 | 18.00 | 1.00 | 2.00 | 5.00 | 18.00 | ||||||
| vredand.vs v8,v16,v24,v0.t | 1.00 | 1.00 | 1.00 | 1.00 | 2.00 | 5.00 | 18.00 | 1.00 | 1.00 | 1.00 | 2.00 | 5.00 | 18.00 | 1.00 | 1.00 | 2.00 | 5.00 | 18.00 | 1.00 | 2.00 | 5.00 | 18.00 | ||||||
| vredor.vs v8,v16,v24 | 1.00 | 1.00 | 1.00 | 1.00 | 2.00 | 5.00 | 18.00 | 1.00 | 1.00 | 1.00 | 2.00 | 5.00 | 18.00 | 1.00 | 1.00 | 2.00 | 5.00 | 18.00 | 1.00 | 2.00 | 5.00 | 18.00 | ||||||
| vredor.vs v8,v16,v24,v0.t | 1.00 | 1.00 | 1.00 | 1.00 | 2.00 | 5.00 | 18.00 | 1.00 | 1.00 | 1.00 | 2.00 | 5.00 | 18.00 | 1.00 | 1.00 | 2.00 | 5.00 | 18.00 | 1.00 | 2.00 | 5.00 | 18.00 | ||||||
| vredxor.vs v8,v16,v24 | 1.00 | 1.00 | 1.00 | 1.00 | 2.00 | 5.00 | 18.00 | 1.00 | 1.00 | 1.00 | 2.00 | 5.00 | 18.00 | 1.00 | 1.00 | 2.00 | 5.00 | 18.00 | 1.00 | 2.00 | 5.00 | 18.00 | ||||||
| vredxor.vs v8,v16,v24,v0.t | 1.00 | 1.00 | 1.00 | 1.00 | 2.00 | 5.00 | 18.00 | 1.00 | 1.00 | 1.00 | 2.00 | 5.00 | 18.00 | 1.00 | 1.00 | 2.00 | 5.00 | 18.00 | 1.00 | 2.00 | 5.00 | 18.00 | ||||||
| vredminu.vs v8,v16,v24 | 1.00 | 1.00 | 1.00 | 1.00 | 2.00 | 5.50 | 19.00 | 1.00 | 1.00 | 1.00 | 2.00 | 5.50 | 19.00 | 1.00 | 1.00 | 2.00 | 5.50 | 19.00 | 1.00 | 2.00 | 5.50 | 19.00 | ||||||
| vredminu.vs v8,v16,v24,v0.t | 1.00 | 1.00 | 1.00 | 1.00 | 2.00 | 5.50 | 19.00 | 1.00 | 1.00 | 1.00 | 2.00 | 5.50 | 19.00 | 1.00 | 1.00 | 2.00 | 5.50 | 19.00 | 1.00 | 2.00 | 5.50 | 19.00 | ||||||
| vredmin.vs v8,v16,v24 | 1.00 | 1.00 | 1.00 | 1.00 | 2.00 | 5.50 | 19.00 | 1.00 | 1.00 | 1.00 | 2.00 | 5.50 | 19.00 | 1.00 | 1.00 | 2.00 | 5.50 | 19.00 | 1.00 | 2.00 | 5.50 | 19.00 | ||||||
| vredmin.vs v8,v16,v24,v0.t | 1.00 | 1.00 | 1.00 | 1.00 | 2.00 | 5.50 | 19.00 | 1.00 | 1.00 | 1.00 | 2.00 | 5.50 | 19.00 | 1.00 | 1.00 | 2.00 | 5.50 | 19.00 | 1.00 | 2.00 | 5.50 | 19.00 | ||||||
| vredmaxu.vs v8,v16,v24 | 1.00 | 1.00 | 1.00 | 1.00 | 2.00 | 5.50 | 19.00 | 1.00 | 1.00 | 1.00 | 2.00 | 5.50 | 19.00 | 1.00 | 1.00 | 2.00 | 5.50 | 19.00 | 1.00 | 2.00 | 5.50 | 19.00 | ||||||
| vredmaxu.vs v8,v16,v24,v0.t | 1.00 | 1.00 | 1.00 | 1.00 | 2.00 | 5.50 | 19.00 | 1.00 | 1.00 | 1.00 | 2.00 | 5.50 | 19.00 | 1.00 | 1.00 | 2.00 | 5.50 | 19.00 | 1.00 | 2.00 | 5.50 | 19.00 | ||||||
| vredmax.vs v8,v16,v24 | 1.00 | 1.00 | 1.00 | 1.00 | 2.00 | 5.50 | 19.00 | 1.00 | 1.00 | 1.00 | 2.00 | 5.50 | 19.00 | 1.00 | 1.00 | 2.00 | 5.50 | 19.00 | 1.00 | 2.00 | 5.50 | 19.00 | ||||||
| vredmax.vs v8,v16,v24,v0.t | 1.00 | 1.00 | 1.00 | 1.00 | 2.00 | 5.50 | 19.00 | 1.00 | 1.00 | 1.00 | 2.00 | 5.50 | 19.00 | 1.00 | 1.00 | 2.00 | 5.50 | 19.00 | 1.00 | 2.00 | 5.50 | 19.00 | ||||||
| vaaddu.vv v8,v16,v24 | 1.00 | 1.00 | 1.00 | 1.00 | 2.00 | 4.00 | 8.00 | 1.00 | 1.00 | 1.00 | 2.00 | 4.00 | 8.00 | 1.00 | 1.00 | 2.00 | 4.00 | 8.00 | 1.00 | 2.00 | 4.00 | 8.00 | ||||||
| vaaddu.vv v8,v16,v24,v0.t | 1.00 | 1.00 | 1.00 | 1.00 | 2.00 | 4.00 | 8.00 | 1.00 | 1.00 | 1.00 | 2.00 | 4.00 | 8.00 | 1.00 | 1.00 | 2.00 | 4.00 | 8.00 | 1.00 | 2.00 | 4.00 | 8.00 | ||||||
| vaaddu.vx v8,v16,t0 | 1.06 | 1.06 | 1.06 | 1.06 | 2.00 | 4.00 | 8.00 | 1.06 | 1.06 | 1.06 | 2.00 | 4.00 | 8.00 | 1.06 | 1.06 | 2.00 | 4.00 | 8.00 | 1.06 | 2.00 | 4.00 | 8.00 | ||||||
| vaaddu.vx v8,v16,t0,v0.t | 1.06 | 1.06 | 1.06 | 1.06 | 2.00 | 4.00 | 8.00 | 1.06 | 1.06 | 1.06 | 2.00 | 4.00 | 8.00 | 1.06 | 1.06 | 2.00 | 4.00 | 8.00 | 1.06 | 2.00 | 4.00 | 8.00 | ||||||
| vaadd.vv v8,v16,v24 | 1.00 | 1.00 | 1.00 | 1.00 | 2.00 | 4.00 | 8.00 | 1.00 | 1.00 | 1.00 | 2.00 | 4.00 | 8.00 | 1.00 | 1.00 | 2.00 | 4.00 | 8.00 | 1.00 | 2.00 | 4.00 | 8.00 | ||||||
| vaadd.vv v8,v16,v24,v0.t | 1.00 | 1.00 | 1.00 | 1.00 | 2.00 | 4.00 | 8.00 | 1.00 | 1.00 | 1.00 | 2.00 | 4.00 | 8.00 | 1.00 | 1.00 | 2.00 | 4.00 | 8.00 | 1.00 | 2.00 | 4.00 | 8.00 | ||||||
| vaadd.vx v8,v16,t0 | 1.06 | 1.06 | 1.06 | 1.06 | 2.00 | 4.00 | 8.00 | 1.06 | 1.06 | 1.06 | 2.00 | 4.00 | 8.00 | 1.06 | 1.06 | 2.00 | 4.00 | 8.00 | 1.06 | 2.00 | 4.00 | 8.00 | ||||||
| vaadd.vx v8,v16,t0,v0.t | 1.06 | 1.06 | 1.06 | 1.06 | 2.00 | 4.00 | 8.00 | 1.06 | 1.06 | 1.06 | 2.00 | 4.00 | 8.00 | 1.06 | 1.06 | 2.00 | 4.00 | 8.00 | 1.06 | 2.00 | 4.00 | 8.00 | ||||||
| vasubu.vv v8,v16,v24 | 1.00 | 1.00 | 1.00 | 1.00 | 2.00 | 4.00 | 8.00 | 1.00 | 1.00 | 1.00 | 2.00 | 4.00 | 8.00 | 1.00 | 1.00 | 2.00 | 4.00 | 8.00 | 1.00 | 2.00 | 4.00 | 8.00 | ||||||
| vasubu.vv v8,v16,v24,v0.t | 1.00 | 1.00 | 1.00 | 1.00 | 2.00 | 4.00 | 8.00 | 1.00 | 1.00 | 1.00 | 2.00 | 4.00 | 8.00 | 1.00 | 1.00 | 2.00 | 4.00 | 8.00 | 1.00 | 2.00 | 4.00 | 8.00 | ||||||
| vasubu.vx v8,v16,t0 | 1.06 | 1.06 | 1.06 | 1.06 | 2.00 | 4.00 | 8.00 | 1.06 | 1.06 | 1.06 | 2.00 | 4.00 | 8.00 | 1.06 | 1.06 | 2.00 | 4.00 | 8.00 | 1.06 | 2.00 | 4.00 | 8.00 | ||||||
| vasubu.vx v8,v16,t0,v0.t | 1.06 | 1.06 | 1.06 | 1.06 | 2.00 | 4.00 | 8.00 | 1.06 | 1.06 | 1.06 | 2.00 | 4.00 | 8.00 | 1.06 | 1.06 | 2.00 | 4.00 | 8.00 | 1.06 | 2.00 | 4.00 | 8.00 | ||||||
| vasub.vv v8,v16,v24 | 1.00 | 1.00 | 1.00 | 1.00 | 2.00 | 4.00 | 8.00 | 1.00 | 1.00 | 1.00 | 2.00 | 4.00 | 8.00 | 1.00 | 1.00 | 2.00 | 4.00 | 8.00 | 1.00 | 2.00 | 4.00 | 8.00 | ||||||
| vasub.vv v8,v16,v24,v0.t | 1.00 | 1.00 | 1.00 | 1.00 | 2.00 | 4.00 | 8.00 | 1.00 | 1.00 | 1.00 | 2.00 | 4.00 | 8.00 | 1.00 | 1.00 | 2.00 | 4.00 | 8.00 | 1.00 | 2.00 | 4.00 | 8.00 | ||||||
| vasub.vx v8,v16,t0 | 1.06 | 1.06 | 1.06 | 1.06 | 2.00 | 4.00 | 8.00 | 1.06 | 1.06 | 1.06 | 2.00 | 4.00 | 8.00 | 1.06 | 1.06 | 2.00 | 4.00 | 8.00 | 1.06 | 2.00 | 4.00 | 8.00 | ||||||
| vasub.vx v8,v16,t0,v0.t | 1.06 | 1.06 | 1.06 | 1.06 | 2.00 | 4.00 | 8.00 | 1.06 | 1.06 | 1.06 | 2.00 | 4.00 | 8.00 | 1.06 | 1.06 | 2.00 | 4.00 | 8.00 | 1.06 | 2.00 | 4.00 | 8.00 | ||||||
| vslide1up.vx v8,v16,t0 | 1.06 | 1.06 | 1.06 | 2.00 | 4.00 | 8.00 | 16.00 | 1.06 | 1.06 | 2.00 | 4.00 | 8.00 | 16.00 | 1.06 | 2.00 | 4.00 | 8.00 | 16.00 | 2.00 | 4.00 | 8.00 | 16.00 | ||||||
| vslide1up.vx v8,v16,t0,v0.t | 1.06 | 1.06 | 1.06 | 2.00 | 4.00 | 8.00 | 16.00 | 1.06 | 1.06 | 2.00 | 4.00 | 8.00 | 16.00 | 1.06 | 2.00 | 4.00 | 8.00 | 16.00 | 2.00 | 4.00 | 8.00 | 16.00 | ||||||
| vslide1down.vx v8,v16,t0 | 1.06 | 1.06 | 1.06 | 3.00 | 5.00 | 9.00 | 17.00 | 1.06 | 1.06 | 3.00 | 5.00 | 9.00 | 17.00 | 1.06 | 3.00 | 5.00 | 9.00 | 17.00 | 3.00 | 5.00 | 9.00 | 17.00 | ||||||
| vslide1down.vx v8,v16,t0,v0.t | 1.06 | 1.06 | 1.06 | 3.00 | 5.00 | 9.00 | 17.00 | 1.06 | 1.06 | 3.00 | 5.00 | 9.00 | 17.00 | 1.06 | 3.00 | 5.00 | 9.00 | 17.00 | 3.00 | 5.00 | 9.00 | 17.00 | ||||||
| vadc.vvm v8,v16,v24,v0 | 1.00 | 1.00 | 1.00 | 1.00 | 2.00 | 4.00 | 8.00 | 1.00 | 1.00 | 1.00 | 2.00 | 4.00 | 8.00 | 1.00 | 1.00 | 2.00 | 4.00 | 8.00 | 1.00 | 2.00 | 4.00 | 8.00 | ||||||
| vadc.vxm v8,v16,t0,v0 | 1.06 | 1.06 | 1.06 | 1.06 | 2.00 | 4.00 | 8.00 | 1.06 | 1.06 | 1.06 | 2.00 | 4.00 | 8.00 | 1.06 | 1.06 | 2.00 | 4.00 | 8.00 | 1.06 | 2.00 | 4.00 | 8.00 | ||||||
| vadc.vim v8,v16,13,v0 | 1.00 | 1.00 | 1.00 | 1.00 | 2.00 | 4.00 | 8.00 | 1.00 | 1.00 | 1.00 | 2.00 | 4.00 | 8.00 | 1.00 | 1.00 | 2.00 | 4.00 | 8.00 | 1.00 | 2.00 | 4.00 | 8.00 | ||||||
| vmadc.vvm v8,v16,v24,v0 | 1.00 | 1.00 | 1.00 | 2.00 | 2.50 | 5.00 | 11.00 | 1.00 | 1.00 | 2.00 | 2.50 | 5.00 | 18.00 | 1.00 | 2.00 | 2.50 | 5.00 | 18.00 | 2.00 | 2.50 | 5.00 | 18.00 | ||||||
| vmadc.vxm v8,v16,t0,v0 | 1.06 | 1.06 | 1.06 | 2.00 | 2.50 | 5.00 | 11.00 | 1.06 | 1.06 | 2.00 | 2.50 | 5.00 | 18.00 | 1.06 | 2.00 | 2.50 | 5.00 | 18.00 | 2.00 | 2.50 | 5.00 | 18.00 | ||||||
| vmadc.vim v8,v16,13,v0 | 1.00 | 1.00 | 1.00 | 2.00 | 2.50 | 5.00 | 11.00 | 1.00 | 1.00 | 2.00 | 2.50 | 5.00 | 18.00 | 1.00 | 2.00 | 2.50 | 5.00 | 18.00 | 2.00 | 2.50 | 5.00 | 18.00 | ||||||
| vmadc.vv v8,v16,v24 | 1.00 | 1.00 | 1.00 | 2.00 | 2.50 | 5.00 | 11.00 | 1.00 | 1.00 | 2.00 | 2.50 | 5.00 | 18.00 | 1.00 | 2.00 | 2.50 | 5.00 | 18.00 | 2.00 | 2.50 | 5.00 | 18.00 | ||||||
| vmadc.vx v8,v16,t0 | 1.06 | 1.06 | 1.06 | 2.00 | 2.50 | 5.00 | 11.00 | 1.06 | 1.06 | 2.00 | 2.50 | 5.00 | 18.00 | 1.06 | 2.00 | 2.50 | 5.00 | 18.00 | 2.00 | 2.50 | 5.00 | 18.00 | ||||||
| vmadc.vi v8,v16,13 | 1.00 | 1.00 | 1.00 | 2.00 | 2.50 | 5.00 | 11.00 | 1.00 | 1.00 | 2.00 | 2.50 | 5.00 | 18.00 | 1.00 | 2.00 | 2.50 | 5.00 | 18.00 | 2.00 | 2.50 | 5.00 | 18.00 | ||||||
| vsbc.vvm v8,v16,v24,v0 | 1.00 | 1.00 | 1.00 | 1.00 | 2.00 | 4.00 | 8.00 | 1.00 | 1.00 | 1.00 | 2.00 | 4.00 | 8.00 | 1.00 | 1.00 | 2.00 | 4.00 | 8.00 | 1.00 | 2.00 | 4.00 | 8.00 | ||||||
| vsbc.vxm v8,v16,t0,v0 | 1.06 | 1.06 | 1.06 | 1.06 | 2.00 | 4.00 | 8.00 | 1.06 | 1.06 | 1.06 | 2.00 | 4.00 | 8.00 | 1.06 | 1.06 | 2.00 | 4.00 | 8.00 | 1.06 | 2.00 | 4.00 | 8.00 | ||||||
| vmsbc.vvm v8,v16,v24,v0 | 1.00 | 1.00 | 1.00 | 2.00 | 2.50 | 5.00 | 11.00 | 1.00 | 1.00 | 2.00 | 2.50 | 5.00 | 18.00 | 1.00 | 2.00 | 2.50 | 5.00 | 18.00 | 2.00 | 2.50 | 5.00 | 18.00 | ||||||
| vmsbc.vxm v8,v16,t0,v0 | 1.06 | 1.06 | 1.06 | 2.00 | 2.50 | 5.00 | 11.00 | 1.06 | 1.06 | 2.00 | 2.50 | 5.00 | 18.00 | 1.06 | 2.00 | 2.50 | 5.00 | 18.00 | 2.00 | 2.50 | 5.00 | 18.00 | ||||||
| vmsbc.vv v8,v16,v24 | 1.00 | 1.00 | 1.00 | 2.00 | 2.50 | 5.00 | 11.00 | 1.00 | 1.00 | 2.00 | 2.50 | 5.00 | 18.00 | 1.00 | 2.00 | 2.50 | 5.00 | 18.00 | 2.00 | 2.50 | 5.00 | 18.00 | ||||||
| vmsbc.vx v8,v16,t0 | 1.06 | 1.06 | 1.06 | 2.00 | 2.50 | 5.00 | 11.00 | 1.06 | 1.06 | 2.00 | 2.50 | 5.00 | 18.00 | 1.06 | 2.00 | 2.50 | 5.00 | 18.00 | 2.00 | 2.50 | 5.00 | 18.00 | ||||||
| vmerge.vvm v8,v16,v24,v0 | 1.00 | 1.00 | 1.00 | 1.00 | 2.00 | 4.00 | 8.00 | 1.00 | 1.00 | 1.00 | 2.00 | 4.00 | 8.00 | 1.00 | 1.00 | 2.00 | 4.00 | 8.00 | 1.00 | 2.00 | 4.00 | 8.00 | ||||||
| vmerge.vxm v8,v16,t0,v0 | 1.06 | 1.06 | 1.06 | 1.06 | 2.00 | 4.00 | 8.00 | 1.06 | 1.06 | 1.06 | 2.00 | 4.00 | 8.00 | 1.06 | 1.06 | 2.00 | 4.00 | 8.00 | 1.06 | 2.00 | 4.00 | 8.00 | ||||||
| vmerge.vim v8,v16,13,v0 | 1.00 | 1.00 | 1.00 | 1.00 | 2.00 | 4.00 | 8.00 | 1.00 | 1.00 | 1.00 | 2.00 | 4.00 | 8.00 | 1.00 | 1.00 | 2.00 | 4.00 | 8.00 | 1.00 | 2.00 | 4.00 | 8.00 | ||||||
| vmv.v.v v8,v16 | 1.00 | 1.00 | 1.00 | 1.00 | 2.00 | 4.00 | 8.00 | 1.00 | 1.00 | 1.00 | 2.00 | 4.00 | 8.00 | 1.00 | 1.00 | 2.00 | 4.00 | 8.00 | 1.00 | 2.00 | 4.00 | 8.00 | ||||||
| vmv.v.x v8,t0 | 1.06 | 1.06 | 1.06 | 1.06 | 2.00 | 4.00 | 8.00 | 1.06 | 1.06 | 1.06 | 2.00 | 4.00 | 8.00 | 1.06 | 1.06 | 2.00 | 4.00 | 8.00 | 1.06 | 2.00 | 4.00 | 8.00 | ||||||
| vmv.v.i v8,13 | 1.00 | 1.00 | 1.00 | 1.00 | 2.00 | 4.00 | 8.00 | 1.00 | 1.00 | 1.00 | 2.00 | 4.00 | 8.00 | 1.00 | 1.00 | 2.00 | 4.00 | 8.00 | 1.00 | 2.00 | 4.00 | 8.00 | ||||||
| vmseq.vv v8,v16,v24 | 1.00 | 1.00 | 1.00 | 2.00 | 2.50 | 5.00 | 11.00 | 1.00 | 1.00 | 2.00 | 2.50 | 5.00 | 18.00 | 1.00 | 2.00 | 2.50 | 5.00 | 18.00 | 2.00 | 2.50 | 5.00 | 18.00 | ||||||
| vmseq.vv v8,v16,v24,v0.t | 1.00 | 1.00 | 1.00 | 2.00 | 2.50 | 5.00 | 11.00 | 1.00 | 1.00 | 2.00 | 2.50 | 5.00 | 18.00 | 1.00 | 2.00 | 2.50 | 5.00 | 18.00 | 2.00 | 2.50 | 5.00 | 18.00 | ||||||
| vmseq.vx v8,v16,t0 | 1.06 | 1.06 | 1.06 | 2.00 | 2.50 | 5.00 | 11.00 | 1.06 | 1.06 | 2.00 | 2.50 | 5.00 | 18.00 | 1.06 | 2.00 | 2.50 | 5.00 | 18.00 | 2.00 | 2.50 | 5.00 | 18.00 | ||||||
| vmseq.vx v8,v16,t0,v0.t | 1.06 | 1.06 | 1.06 | 2.00 | 2.50 | 5.00 | 11.00 | 1.06 | 1.06 | 2.00 | 2.50 | 5.00 | 18.00 | 1.06 | 2.00 | 2.50 | 5.00 | 18.00 | 2.00 | 2.50 | 5.00 | 18.00 | ||||||
| vmseq.vi v8,v16,13 | 1.00 | 1.00 | 1.00 | 2.00 | 2.50 | 5.00 | 11.00 | 1.00 | 1.00 | 2.00 | 2.50 | 5.00 | 18.00 | 1.00 | 2.00 | 2.50 | 5.00 | 18.00 | 2.00 | 2.50 | 5.00 | 18.00 | ||||||
| vmseq.vi v8,v16,13,v0.t | 1.00 | 1.00 | 1.00 | 2.00 | 2.50 | 5.00 | 11.00 | 1.00 | 1.00 | 2.00 | 2.50 | 5.00 | 18.00 | 1.00 | 2.00 | 2.50 | 5.00 | 18.00 | 2.00 | 2.50 | 5.00 | 18.00 | ||||||
| vmsne.vv v8,v16,v24 | 1.00 | 1.00 | 1.00 | 2.00 | 2.50 | 5.00 | 11.00 | 1.00 | 1.00 | 2.00 | 2.50 | 5.00 | 18.00 | 1.00 | 2.00 | 2.50 | 5.00 | 18.00 | 2.00 | 2.50 | 5.00 | 18.00 | ||||||
| vmsne.vv v8,v16,v24,v0.t | 1.00 | 1.00 | 1.00 | 2.00 | 2.50 | 5.00 | 11.00 | 1.00 | 1.00 | 2.00 | 2.50 | 5.00 | 18.00 | 1.00 | 2.00 | 2.50 | 5.00 | 18.00 | 2.00 | 2.50 | 5.00 | 18.00 | ||||||
| vmsne.vx v8,v16,t0 | 1.06 | 1.06 | 1.06 | 2.00 | 2.50 | 5.00 | 11.00 | 1.06 | 1.06 | 2.00 | 2.50 | 5.00 | 18.00 | 1.06 | 2.00 | 2.50 | 5.00 | 18.00 | 2.00 | 2.50 | 5.00 | 18.00 | ||||||
| vmsne.vx v8,v16,t0,v0.t | 1.06 | 1.06 | 1.06 | 2.00 | 2.50 | 5.00 | 11.00 | 1.06 | 1.06 | 2.00 | 2.50 | 5.00 | 18.00 | 1.06 | 2.00 | 2.50 | 5.00 | 18.00 | 2.00 | 2.50 | 5.00 | 18.00 | ||||||
| vmsne.vi v8,v16,13 | 1.00 | 1.00 | 1.00 | 2.00 | 2.50 | 5.00 | 11.00 | 1.00 | 1.00 | 2.00 | 2.50 | 5.00 | 18.00 | 1.00 | 2.00 | 2.50 | 5.00 | 18.00 | 2.00 | 2.50 | 5.00 | 18.00 | ||||||
| vmsne.vi v8,v16,13,v0.t | 1.00 | 1.00 | 1.00 | 2.00 | 2.50 | 5.00 | 11.00 | 1.00 | 1.00 | 2.00 | 2.50 | 5.00 | 18.00 | 1.00 | 2.00 | 2.50 | 5.00 | 18.00 | 2.00 | 2.50 | 5.00 | 18.00 | ||||||
| vmsltu.vv v8,v16,v24 | 1.00 | 1.00 | 1.00 | 2.00 | 2.50 | 5.00 | 11.00 | 1.00 | 1.00 | 2.00 | 2.50 | 5.00 | 18.00 | 1.00 | 2.00 | 2.50 | 5.00 | 18.00 | 2.00 | 2.50 | 5.00 | 18.00 | ||||||
| vmsltu.vv v8,v16,v24,v0.t | 1.00 | 1.00 | 1.00 | 2.00 | 2.50 | 5.00 | 11.00 | 1.00 | 1.00 | 2.00 | 2.50 | 5.00 | 18.00 | 1.00 | 2.00 | 2.50 | 5.00 | 18.00 | 2.00 | 2.50 | 5.00 | 18.00 | ||||||
| vmsltu.vx v8,v16,t0 | 1.06 | 1.06 | 1.06 | 2.00 | 2.50 | 5.00 | 11.00 | 1.06 | 1.06 | 2.00 | 2.50 | 5.00 | 18.00 | 1.06 | 2.00 | 2.50 | 5.00 | 18.00 | 2.00 | 2.50 | 5.00 | 18.00 | ||||||
| vmsltu.vx v8,v16,t0,v0.t | 1.06 | 1.06 | 1.06 | 2.00 | 2.50 | 5.00 | 11.00 | 1.06 | 1.06 | 2.00 | 2.50 | 5.00 | 18.00 | 1.06 | 2.00 | 2.50 | 5.00 | 18.00 | 2.00 | 2.50 | 5.00 | 18.00 | ||||||
| vmslt.vv v8,v16,v24 | 1.00 | 1.00 | 1.00 | 2.00 | 2.50 | 5.00 | 11.00 | 1.00 | 1.00 | 2.00 | 2.50 | 5.00 | 18.00 | 1.00 | 2.00 | 2.50 | 5.00 | 18.00 | 2.00 | 2.50 | 5.00 | 18.00 | ||||||
| vmslt.vv v8,v16,v24,v0.t | 1.00 | 1.00 | 1.00 | 2.00 | 2.50 | 5.00 | 11.00 | 1.00 | 1.00 | 2.00 | 2.50 | 5.00 | 18.00 | 1.00 | 2.00 | 2.50 | 5.00 | 18.00 | 2.00 | 2.50 | 5.00 | 18.00 | ||||||
| vmslt.vx v8,v16,t0 | 1.06 | 1.06 | 1.06 | 2.00 | 2.50 | 5.00 | 11.00 | 1.06 | 1.06 | 2.00 | 2.50 | 5.00 | 18.00 | 1.06 | 2.00 | 2.50 | 5.00 | 18.00 | 2.00 | 2.50 | 5.00 | 18.00 | ||||||
| vmslt.vx v8,v16,t0,v0.t | 1.06 | 1.06 | 1.06 | 2.00 | 2.50 | 5.00 | 11.00 | 1.06 | 1.06 | 2.00 | 2.50 | 5.00 | 18.00 | 1.06 | 2.00 | 2.50 | 5.00 | 18.00 | 2.00 | 2.50 | 5.00 | 18.00 | ||||||
| vmsleu.vv v8,v16,v24 | 1.00 | 1.00 | 1.00 | 2.00 | 2.50 | 5.00 | 11.00 | 1.00 | 1.00 | 2.00 | 2.50 | 5.00 | 18.00 | 1.00 | 2.00 | 2.50 | 5.00 | 18.00 | 2.00 | 2.50 | 5.00 | 18.00 | ||||||
| vmsleu.vv v8,v16,v24,v0.t | 1.00 | 1.00 | 1.00 | 2.00 | 2.50 | 5.00 | 11.00 | 1.00 | 1.00 | 2.00 | 2.50 | 5.00 | 18.00 | 1.00 | 2.00 | 2.50 | 5.00 | 18.00 | 2.00 | 2.50 | 5.00 | 18.00 | ||||||
| vmsleu.vx v8,v16,t0 | 1.06 | 1.06 | 1.06 | 2.00 | 2.50 | 5.00 | 11.00 | 1.06 | 1.06 | 2.00 | 2.50 | 5.00 | 18.00 | 1.06 | 2.00 | 2.50 | 5.00 | 18.00 | 2.00 | 2.50 | 5.00 | 18.00 | ||||||
| vmsleu.vx v8,v16,t0,v0.t | 1.06 | 1.06 | 1.06 | 2.00 | 2.50 | 5.00 | 11.00 | 1.06 | 1.06 | 2.00 | 2.50 | 5.00 | 18.00 | 1.06 | 2.00 | 2.50 | 5.00 | 18.00 | 2.00 | 2.50 | 5.00 | 18.00 | ||||||
| vmsleu.vi v8,v16,13 | 1.00 | 1.00 | 1.00 | 2.00 | 2.50 | 5.00 | 11.00 | 1.00 | 1.00 | 2.00 | 2.50 | 5.00 | 18.00 | 1.00 | 2.00 | 2.50 | 5.00 | 18.00 | 2.00 | 2.50 | 5.00 | 18.00 | ||||||
| vmsleu.vi v8,v16,13,v0.t | 1.00 | 1.00 | 1.00 | 2.00 | 2.50 | 5.00 | 11.00 | 1.00 | 1.00 | 2.00 | 2.50 | 5.00 | 18.00 | 1.00 | 2.00 | 2.50 | 5.00 | 18.00 | 2.00 | 2.50 | 5.00 | 18.00 | ||||||
| vmsle.vv v8,v16,v24 | 1.00 | 1.00 | 1.00 | 2.00 | 2.50 | 5.00 | 11.00 | 1.00 | 1.00 | 2.00 | 2.50 | 5.00 | 18.00 | 1.00 | 2.00 | 2.50 | 5.00 | 18.00 | 2.00 | 2.50 | 5.00 | 18.00 | ||||||
| vmsle.vv v8,v16,v24,v0.t | 1.00 | 1.00 | 1.00 | 2.00 | 2.50 | 5.00 | 11.00 | 1.00 | 1.00 | 2.00 | 2.50 | 5.00 | 18.00 | 1.00 | 2.00 | 2.50 | 5.00 | 18.00 | 2.00 | 2.50 | 5.00 | 18.00 | ||||||
| vmsle.vx v8,v16,t0 | 1.06 | 1.06 | 1.06 | 2.00 | 2.50 | 5.00 | 11.00 | 1.06 | 1.06 | 2.00 | 2.50 | 5.00 | 18.00 | 1.06 | 2.00 | 2.50 | 5.00 | 18.00 | 2.00 | 2.50 | 5.00 | 18.00 | ||||||
| vmsle.vx v8,v16,t0,v0.t | 1.06 | 1.06 | 1.06 | 2.00 | 2.50 | 5.00 | 11.00 | 1.06 | 1.06 | 2.00 | 2.50 | 5.00 | 18.00 | 1.06 | 2.00 | 2.50 | 5.00 | 18.00 | 2.00 | 2.50 | 5.00 | 18.00 | ||||||
| vmsle.vi v8,v16,13 | 1.00 | 1.00 | 1.00 | 2.00 | 2.50 | 5.00 | 11.00 | 1.00 | 1.00 | 2.00 | 2.50 | 5.00 | 18.00 | 1.00 | 2.00 | 2.50 | 5.00 | 18.00 | 2.00 | 2.50 | 5.00 | 18.00 | ||||||
| vmsle.vi v8,v16,13,v0.t | 1.00 | 1.00 | 1.00 | 2.00 | 2.50 | 5.00 | 11.00 | 1.00 | 1.00 | 2.00 | 2.50 | 5.00 | 18.00 | 1.00 | 2.00 | 2.50 | 5.00 | 18.00 | 2.00 | 2.50 | 5.00 | 18.00 | ||||||
| vmsgtu.vx v8,v16,t0 | 1.06 | 1.06 | 1.06 | 2.00 | 2.50 | 5.00 | 11.00 | 1.06 | 1.06 | 2.00 | 2.50 | 5.00 | 18.00 | 1.06 | 2.00 | 2.50 | 5.00 | 18.00 | 2.00 | 2.50 | 5.00 | 18.00 | ||||||
| vmsgtu.vx v8,v16,t0,v0.t | 1.06 | 1.06 | 1.06 | 2.00 | 2.50 | 5.00 | 11.00 | 1.06 | 1.06 | 2.00 | 2.50 | 5.00 | 18.00 | 1.06 | 2.00 | 2.50 | 5.00 | 18.00 | 2.00 | 2.50 | 5.00 | 18.00 | ||||||
| vmsgtu.vi v8,v16,13 | 1.00 | 1.00 | 1.00 | 2.00 | 2.50 | 5.00 | 11.00 | 1.00 | 1.00 | 2.00 | 2.50 | 5.00 | 18.00 | 1.00 | 2.00 | 2.50 | 5.00 | 18.00 | 2.00 | 2.50 | 5.00 | 18.00 | ||||||
| vmsgtu.vi v8,v16,13,v0.t | 1.00 | 1.00 | 1.00 | 2.00 | 2.50 | 5.00 | 11.00 | 1.00 | 1.00 | 2.00 | 2.50 | 5.00 | 18.00 | 1.00 | 2.00 | 2.50 | 5.00 | 18.00 | 2.00 | 2.50 | 5.00 | 18.00 | ||||||
| vmsgt.vx v8,v16,t0 | 1.06 | 1.06 | 1.06 | 2.00 | 2.50 | 5.00 | 11.00 | 1.06 | 1.06 | 2.00 | 2.50 | 5.00 | 18.00 | 1.06 | 2.00 | 2.50 | 5.00 | 18.00 | 2.00 | 2.50 | 5.00 | 18.00 | ||||||
| vmsgt.vx v8,v16,t0,v0.t | 1.06 | 1.06 | 1.06 | 2.00 | 2.50 | 5.00 | 11.00 | 1.06 | 1.06 | 2.00 | 2.50 | 5.00 | 18.00 | 1.06 | 2.00 | 2.50 | 5.00 | 18.00 | 2.00 | 2.50 | 5.00 | 18.00 | ||||||
| vmsgt.vi v8,v16,13 | 1.00 | 1.00 | 1.00 | 2.00 | 2.50 | 5.00 | 11.00 | 1.00 | 1.00 | 2.00 | 2.50 | 5.00 | 18.00 | 1.00 | 2.00 | 2.50 | 5.00 | 18.00 | 2.00 | 2.50 | 5.00 | 18.00 | ||||||
| vmsgt.vi v8,v16,13,v0.t | 1.00 | 1.00 | 1.00 | 2.00 | 2.50 | 5.00 | 11.00 | 1.00 | 1.00 | 2.00 | 2.50 | 5.00 | 18.00 | 1.00 | 2.00 | 2.50 | 5.00 | 18.00 | 2.00 | 2.50 | 5.00 | 18.00 | ||||||
| vcompress.vm v8,v16,v24 | 1.00 | 1.00 | 1.00 | 3.00 | 10.00 | 36.00 | 135.96 | 1.00 | 1.00 | 3.00 | 10.00 | 36.00 | 135.95 | 1.00 | 3.00 | 10.00 | 36.00 | 135.96 | 3.00 | 10.00 | 36.00 | 135.95 | ||||||
| vmandn.mm v8,v16,v24 | 1.00 | 1.00 | 1.00 | 1.00 | 1.00 | 1.00 | 1.00 | 1.00 | 1.00 | 1.00 | 1.00 | 1.00 | 1.00 | 1.00 | 1.00 | 1.00 | 1.00 | 1.00 | 1.00 | 1.00 | 1.00 | 1.00 | ||||||
| vmand.mm v8,v16,v24 | 1.00 | 1.00 | 1.00 | 1.00 | 1.00 | 1.00 | 1.00 | 1.00 | 1.00 | 1.00 | 1.00 | 1.00 | 1.00 | 1.00 | 1.00 | 1.00 | 1.00 | 1.00 | 1.00 | 1.00 | 1.00 | 1.00 | ||||||
| vmor.mm v8,v16,v24 | 1.00 | 1.00 | 1.00 | 1.00 | 1.00 | 1.00 | 1.00 | 1.00 | 1.00 | 1.00 | 1.00 | 1.00 | 1.00 | 1.00 | 1.00 | 1.00 | 1.00 | 1.00 | 1.00 | 1.00 | 1.00 | 1.00 | ||||||
| vmxor.mm v8,v16,v24 | 1.00 | 1.00 | 1.00 | 1.00 | 1.00 | 1.00 | 1.00 | 1.00 | 1.00 | 1.00 | 1.00 | 1.00 | 1.00 | 1.00 | 1.00 | 1.00 | 1.00 | 1.00 | 1.00 | 1.00 | 1.00 | 1.00 | ||||||
| vmorn.mm v8,v16,v24 | 1.00 | 1.00 | 1.00 | 1.00 | 1.00 | 1.00 | 1.00 | 1.00 | 1.00 | 1.00 | 1.00 | 1.00 | 1.00 | 1.00 | 1.00 | 1.00 | 1.00 | 1.00 | 1.00 | 1.00 | 1.00 | 1.00 | ||||||
| vmnand.mm v8,v16,v24 | 1.00 | 1.00 | 1.00 | 1.00 | 1.00 | 1.00 | 1.00 | 1.00 | 1.00 | 1.00 | 1.00 | 1.00 | 1.00 | 1.00 | 1.00 | 1.00 | 1.00 | 1.00 | 1.00 | 1.00 | 1.00 | 1.00 | ||||||
| vmnor.mm v8,v16,v24 | 1.00 | 1.00 | 1.00 | 1.00 | 1.00 | 1.00 | 1.00 | 1.00 | 1.00 | 1.00 | 1.00 | 1.00 | 1.00 | 1.00 | 1.00 | 1.00 | 1.00 | 1.00 | 1.00 | 1.00 | 1.00 | 1.00 | ||||||
| vmxnor.mm v8,v16,v24 | 1.00 | 1.00 | 1.00 | 1.00 | 1.00 | 1.00 | 1.00 | 1.00 | 1.00 | 1.00 | 1.00 | 1.00 | 1.00 | 1.00 | 1.00 | 1.00 | 1.00 | 1.00 | 1.00 | 1.00 | 1.00 | 1.00 | ||||||
| vsaddu.vv v8,v16,v24 | 1.00 | 1.00 | 1.00 | 1.00 | 2.00 | 4.00 | 8.00 | 1.00 | 1.00 | 1.00 | 2.00 | 4.00 | 8.00 | 1.00 | 1.00 | 2.00 | 4.00 | 8.00 | 1.00 | 2.00 | 4.00 | 8.00 | ||||||
| vsaddu.vv v8,v16,v24,v0.t | 1.00 | 1.00 | 1.00 | 1.00 | 2.00 | 4.00 | 8.00 | 1.00 | 1.00 | 1.00 | 2.00 | 4.00 | 8.00 | 1.00 | 1.00 | 2.00 | 4.00 | 8.00 | 1.00 | 2.00 | 4.00 | 8.00 | ||||||
| vsaddu.vx v8,v16,t0 | 1.06 | 1.06 | 1.06 | 1.06 | 2.00 | 4.00 | 8.00 | 1.06 | 1.06 | 1.06 | 2.00 | 4.00 | 8.00 | 1.06 | 1.06 | 2.00 | 4.00 | 8.00 | 1.06 | 2.00 | 4.00 | 8.00 | ||||||
| vsaddu.vx v8,v16,t0,v0.t | 1.06 | 1.06 | 1.06 | 1.06 | 2.00 | 4.00 | 8.00 | 1.06 | 1.06 | 1.06 | 2.00 | 4.00 | 8.00 | 1.06 | 1.06 | 2.00 | 4.00 | 8.00 | 1.06 | 2.00 | 4.00 | 8.00 | ||||||
| vsaddu.vi v8,v16,13 | 1.00 | 1.00 | 1.00 | 1.00 | 2.00 | 4.00 | 8.00 | 1.00 | 1.00 | 1.00 | 2.00 | 4.00 | 8.00 | 1.00 | 1.00 | 2.00 | 4.00 | 8.00 | 1.00 | 2.00 | 4.00 | 8.00 | ||||||
| vsaddu.vi v8,v16,13,v0.t | 1.00 | 1.00 | 1.00 | 1.00 | 2.00 | 4.00 | 8.00 | 1.00 | 1.00 | 1.00 | 2.00 | 4.00 | 8.00 | 1.00 | 1.00 | 2.00 | 4.00 | 8.00 | 1.00 | 2.00 | 4.00 | 8.00 | ||||||
| vsadd.vv v8,v16,v24 | 1.00 | 1.00 | 1.00 | 1.00 | 2.00 | 4.00 | 8.00 | 1.00 | 1.00 | 1.00 | 2.00 | 4.00 | 8.00 | 1.00 | 1.00 | 2.00 | 4.00 | 8.00 | 1.00 | 2.00 | 4.00 | 8.00 | ||||||
| vsadd.vv v8,v16,v24,v0.t | 1.00 | 1.00 | 1.00 | 1.00 | 2.00 | 4.00 | 8.00 | 1.00 | 1.00 | 1.00 | 2.00 | 4.00 | 8.00 | 1.00 | 1.00 | 2.00 | 4.00 | 8.00 | 1.00 | 2.00 | 4.00 | 8.00 | ||||||
| vsadd.vx v8,v16,t0 | 1.06 | 1.06 | 1.06 | 1.06 | 2.00 | 4.00 | 8.00 | 1.06 | 1.06 | 1.06 | 2.00 | 4.00 | 8.00 | 1.06 | 1.06 | 2.00 | 4.00 | 8.00 | 1.06 | 2.00 | 4.00 | 8.00 | ||||||
| vsadd.vx v8,v16,t0,v0.t | 1.06 | 1.06 | 1.06 | 1.06 | 2.00 | 4.00 | 8.00 | 1.06 | 1.06 | 1.06 | 2.00 | 4.00 | 8.00 | 1.06 | 1.06 | 2.00 | 4.00 | 8.00 | 1.06 | 2.00 | 4.00 | 8.00 | ||||||
| vsadd.vi v8,v16,13 | 1.00 | 1.00 | 1.00 | 1.00 | 2.00 | 4.00 | 8.00 | 1.00 | 1.00 | 1.00 | 2.00 | 4.00 | 8.00 | 1.00 | 1.00 | 2.00 | 4.00 | 8.00 | 1.00 | 2.00 | 4.00 | 8.00 | ||||||
| vsadd.vi v8,v16,13,v0.t | 1.00 | 1.00 | 1.00 | 1.00 | 2.00 | 4.00 | 8.00 | 1.00 | 1.00 | 1.00 | 2.00 | 4.00 | 8.00 | 1.00 | 1.00 | 2.00 | 4.00 | 8.00 | 1.00 | 2.00 | 4.00 | 8.00 | ||||||
| vssubu.vv v8,v16,v24 | 1.00 | 1.00 | 1.00 | 1.00 | 2.00 | 4.00 | 8.00 | 1.00 | 1.00 | 1.00 | 2.00 | 4.00 | 8.00 | 1.00 | 1.00 | 2.00 | 4.00 | 8.00 | 1.00 | 2.00 | 4.00 | 8.00 | ||||||
| vssubu.vv v8,v16,v24,v0.t | 1.00 | 1.00 | 1.00 | 1.00 | 2.00 | 4.00 | 8.00 | 1.00 | 1.00 | 1.00 | 2.00 | 4.00 | 8.00 | 1.00 | 1.00 | 2.00 | 4.00 | 8.00 | 1.00 | 2.00 | 4.00 | 8.00 | ||||||
| vssubu.vx v8,v16,t0 | 1.06 | 1.06 | 1.06 | 1.06 | 2.00 | 4.00 | 8.00 | 1.06 | 1.06 | 1.06 | 2.00 | 4.00 | 8.00 | 1.06 | 1.06 | 2.00 | 4.00 | 8.00 | 1.06 | 2.00 | 4.00 | 8.00 | ||||||
| vssubu.vx v8,v16,t0,v0.t | 1.06 | 1.06 | 1.06 | 1.06 | 2.00 | 4.00 | 8.00 | 1.06 | 1.06 | 1.06 | 2.00 | 4.00 | 8.00 | 1.06 | 1.06 | 2.00 | 4.00 | 8.00 | 1.06 | 2.00 | 4.00 | 8.00 | ||||||
| vssub.vv v8,v16,v24 | 1.00 | 1.00 | 1.00 | 1.00 | 2.00 | 4.00 | 8.00 | 1.00 | 1.00 | 1.00 | 2.00 | 4.00 | 8.00 | 1.00 | 1.00 | 2.00 | 4.00 | 8.00 | 1.00 | 2.00 | 4.00 | 8.00 | ||||||
| vssub.vv v8,v16,v24,v0.t | 1.00 | 1.00 | 1.00 | 1.00 | 2.00 | 4.00 | 8.00 | 1.00 | 1.00 | 1.00 | 2.00 | 4.00 | 8.00 | 1.00 | 1.00 | 2.00 | 4.00 | 8.00 | 1.00 | 2.00 | 4.00 | 8.00 | ||||||
| vssub.vx v8,v16,t0 | 1.06 | 1.06 | 1.06 | 1.06 | 2.00 | 4.00 | 8.00 | 1.06 | 1.06 | 1.06 | 2.00 | 4.00 | 8.00 | 1.06 | 1.06 | 2.00 | 4.00 | 8.00 | 1.06 | 2.00 | 4.00 | 8.00 | ||||||
| vssub.vx v8,v16,t0,v0.t | 1.06 | 1.06 | 1.06 | 1.06 | 2.00 | 4.00 | 8.00 | 1.06 | 1.06 | 1.06 | 2.00 | 4.00 | 8.00 | 1.06 | 1.06 | 2.00 | 4.00 | 8.00 | 1.06 | 2.00 | 4.00 | 8.00 | ||||||
| vsll.vv v8,v16,v24 | 1.00 | 1.00 | 1.00 | 2.00 | 4.00 | 8.00 | 16.00 | 1.00 | 1.00 | 2.00 | 4.00 | 8.00 | 16.00 | 1.00 | 2.00 | 4.00 | 8.00 | 16.00 | 2.00 | 4.00 | 8.00 | 16.00 | ||||||
| vsll.vv v8,v16,v24,v0.t | 1.00 | 1.00 | 1.00 | 2.00 | 4.00 | 8.00 | 16.00 | 1.00 | 1.00 | 2.00 | 4.00 | 8.00 | 16.00 | 1.00 | 2.00 | 4.00 | 8.00 | 16.00 | 2.00 | 4.00 | 8.00 | 16.00 | ||||||
| vsll.vx v8,v16,t0 | 1.06 | 1.06 | 1.06 | 2.00 | 4.00 | 8.00 | 16.00 | 1.06 | 1.06 | 2.00 | 4.00 | 8.00 | 16.00 | 1.06 | 2.00 | 4.00 | 8.00 | 16.00 | 2.00 | 4.00 | 8.00 | 16.00 | ||||||
| vsll.vx v8,v16,t0,v0.t | 1.06 | 1.06 | 1.06 | 2.00 | 4.00 | 8.00 | 16.00 | 1.06 | 1.06 | 2.00 | 4.00 | 8.00 | 16.00 | 1.06 | 2.00 | 4.00 | 8.00 | 16.00 | 2.00 | 4.00 | 8.00 | 16.00 | ||||||
| vsll.vi v8,v16,13 | 1.00 | 1.00 | 1.00 | 2.00 | 4.00 | 8.00 | 16.00 | 1.00 | 1.00 | 2.00 | 4.00 | 8.00 | 16.00 | 1.00 | 2.00 | 4.00 | 8.00 | 16.00 | 2.00 | 4.00 | 8.00 | 16.00 | ||||||
| vsll.vi v8,v16,13,v0.t | 1.00 | 1.00 | 1.00 | 2.00 | 4.00 | 8.00 | 16.00 | 1.00 | 1.00 | 2.00 | 4.00 | 8.00 | 16.00 | 1.00 | 2.00 | 4.00 | 8.00 | 16.00 | 2.00 | 4.00 | 8.00 | 16.00 | ||||||
| vsmul.vv v8,v16,v24 | 1.00 | 1.00 | 1.00 | 1.00 | 2.00 | 4.00 | 8.00 | 1.00 | 1.00 | 1.00 | 2.00 | 4.00 | 8.00 | 1.00 | 1.00 | 2.00 | 4.00 | 8.00 | 4.00 | 8.00 | 16.00 | 32.00 | ||||||
| vsmul.vv v8,v16,v24,v0.t | 1.00 | 1.00 | 1.00 | 1.00 | 2.00 | 4.00 | 8.00 | 1.00 | 1.00 | 1.00 | 2.00 | 4.00 | 8.00 | 1.00 | 1.00 | 2.00 | 4.00 | 8.00 | 4.00 | 8.00 | 16.00 | 32.00 | ||||||
| vsmul.vx v8,v16,t0 | 1.06 | 1.06 | 1.06 | 1.06 | 2.00 | 4.00 | 8.00 | 1.06 | 1.06 | 1.06 | 2.00 | 4.00 | 8.00 | 1.06 | 1.06 | 2.00 | 4.00 | 8.00 | 4.00 | 8.00 | 16.00 | 32.00 | ||||||
| vsmul.vx v8,v16,t0,v0.t | 1.06 | 1.06 | 1.06 | 1.06 | 2.00 | 4.00 | 8.00 | 1.06 | 1.06 | 1.06 | 2.00 | 4.00 | 8.00 | 1.06 | 1.06 | 2.00 | 4.00 | 8.00 | 4.00 | 8.00 | 16.00 | 32.00 | ||||||
| vmv1r.v v8,v16 | 1.00 | 1.00 | 1.00 | 1.00 | 1.00 | 1.00 | 2.00 | 1.00 | 1.00 | 1.00 | 1.00 | 1.00 | 2.00 | 1.00 | 1.00 | 1.00 | 1.00 | 2.00 | 1.00 | 1.00 | 1.00 | 2.00 | ||||||
| vmv2r.v v8,v16 | 2.00 | 2.00 | 3.00 | 2.00 | 2.00 | 3.00 | 2.00 | 2.00 | 3.00 | 2.00 | 2.00 | 3.00 | ||||||||||||||||
| vmv4r.v v8,v16 | 4.00 | 4.00 | 4.00 | 4.00 | 4.00 | 4.00 | 4.00 | 4.00 | ||||||||||||||||||||
| vmv8r.v v8,v16 | 8.00 | 8.00 | 8.00 | 8.00 | ||||||||||||||||||||||||
| vsrl.vv v8,v16,v24 | 1.00 | 1.00 | 1.00 | 2.00 | 4.00 | 8.00 | 16.00 | 1.00 | 1.00 | 2.00 | 4.00 | 8.00 | 16.00 | 1.00 | 2.00 | 4.00 | 8.00 | 16.00 | 2.00 | 4.00 | 8.00 | 16.00 | ||||||
| vsrl.vv v8,v16,v24,v0.t | 1.00 | 1.00 | 1.00 | 2.00 | 4.00 | 8.00 | 16.00 | 1.00 | 1.00 | 2.00 | 4.00 | 8.00 | 16.00 | 1.00 | 2.00 | 4.00 | 8.00 | 16.00 | 2.00 | 4.00 | 8.00 | 16.00 | ||||||
| vsrl.vx v8,v16,t0 | 1.06 | 1.06 | 1.06 | 2.00 | 4.00 | 8.00 | 16.00 | 1.06 | 1.06 | 2.00 | 4.00 | 8.00 | 16.00 | 1.06 | 2.00 | 4.00 | 8.00 | 16.00 | 2.00 | 4.00 | 8.00 | 16.00 | ||||||
| vsrl.vx v8,v16,t0,v0.t | 1.06 | 1.06 | 1.06 | 2.00 | 4.00 | 8.00 | 16.00 | 1.06 | 1.06 | 2.00 | 4.00 | 8.00 | 16.00 | 1.06 | 2.00 | 4.00 | 8.00 | 16.00 | 2.00 | 4.00 | 8.00 | 16.00 | ||||||
| vsrl.vi v8,v16,13 | 1.00 | 1.00 | 1.00 | 2.00 | 4.00 | 8.00 | 16.00 | 1.00 | 1.00 | 2.00 | 4.00 | 8.00 | 16.00 | 1.00 | 2.00 | 4.00 | 8.00 | 16.00 | 2.00 | 4.00 | 8.00 | 16.00 | ||||||
| vsrl.vi v8,v16,13,v0.t | 1.00 | 1.00 | 1.00 | 2.00 | 4.00 | 8.00 | 16.00 | 1.00 | 1.00 | 2.00 | 4.00 | 8.00 | 16.00 | 1.00 | 2.00 | 4.00 | 8.00 | 16.00 | 2.00 | 4.00 | 8.00 | 16.00 | ||||||
| vsra.vv v8,v16,v24 | 1.00 | 1.00 | 1.00 | 2.00 | 4.00 | 8.00 | 16.00 | 1.00 | 1.00 | 2.00 | 4.00 | 8.00 | 16.00 | 1.00 | 2.00 | 4.00 | 8.00 | 16.00 | 2.00 | 4.00 | 8.00 | 16.00 | ||||||
| vsra.vv v8,v16,v24,v0.t | 1.00 | 1.00 | 1.00 | 2.00 | 4.00 | 8.00 | 16.00 | 1.00 | 1.00 | 2.00 | 4.00 | 8.00 | 16.00 | 1.00 | 2.00 | 4.00 | 8.00 | 16.00 | 2.00 | 4.00 | 8.00 | 16.00 | ||||||
| vsra.vx v8,v16,t0 | 1.06 | 1.06 | 1.06 | 2.00 | 4.00 | 8.00 | 16.00 | 1.06 | 1.06 | 2.00 | 4.00 | 8.00 | 16.00 | 1.06 | 2.00 | 4.00 | 8.00 | 16.00 | 2.00 | 4.00 | 8.00 | 16.00 | ||||||
| vsra.vx v8,v16,t0,v0.t | 1.06 | 1.06 | 1.06 | 2.00 | 4.00 | 8.00 | 16.00 | 1.06 | 1.06 | 2.00 | 4.00 | 8.00 | 16.00 | 1.06 | 2.00 | 4.00 | 8.00 | 16.00 | 2.00 | 4.00 | 8.00 | 16.00 | ||||||
| vsra.vi v8,v16,13 | 1.00 | 1.00 | 1.00 | 2.00 | 4.00 | 8.00 | 16.00 | 1.00 | 1.00 | 2.00 | 4.00 | 8.00 | 16.00 | 1.00 | 2.00 | 4.00 | 8.00 | 16.00 | 2.00 | 4.00 | 8.00 | 16.00 | ||||||
| vsra.vi v8,v16,13,v0.t | 1.00 | 1.00 | 1.00 | 2.00 | 4.00 | 8.00 | 16.00 | 1.00 | 1.00 | 2.00 | 4.00 | 8.00 | 16.00 | 1.00 | 2.00 | 4.00 | 8.00 | 16.00 | 2.00 | 4.00 | 8.00 | 16.00 | ||||||
| vssrl.vv v8,v16,v24 | 1.00 | 1.00 | 1.00 | 2.00 | 4.00 | 8.00 | 16.00 | 1.00 | 1.00 | 2.00 | 4.00 | 8.00 | 16.00 | 1.00 | 2.00 | 4.00 | 8.00 | 16.00 | 2.00 | 4.00 | 8.00 | 16.00 | ||||||
| vssrl.vv v8,v16,v24,v0.t | 1.00 | 1.00 | 1.00 | 2.00 | 4.00 | 8.00 | 16.00 | 1.00 | 1.00 | 2.00 | 4.00 | 8.00 | 16.00 | 1.00 | 2.00 | 4.00 | 8.00 | 16.00 | 2.00 | 4.00 | 8.00 | 16.00 | ||||||
| vssrl.vx v8,v16,t0 | 1.06 | 1.06 | 1.06 | 2.00 | 4.00 | 8.00 | 16.00 | 1.06 | 1.06 | 2.00 | 4.00 | 8.00 | 16.00 | 1.06 | 2.00 | 4.00 | 8.00 | 16.00 | 2.00 | 4.00 | 8.00 | 16.00 | ||||||
| vssrl.vx v8,v16,t0,v0.t | 1.06 | 1.06 | 1.06 | 2.00 | 4.00 | 8.00 | 16.00 | 1.06 | 1.06 | 2.00 | 4.00 | 8.00 | 16.00 | 1.06 | 2.00 | 4.00 | 8.00 | 16.00 | 2.00 | 4.00 | 8.00 | 16.00 | ||||||
| vssrl.vi v8,v16,13 | 1.00 | 1.00 | 1.00 | 2.00 | 4.00 | 8.00 | 16.00 | 1.00 | 1.00 | 2.00 | 4.00 | 8.00 | 16.00 | 1.00 | 2.00 | 4.00 | 8.00 | 16.00 | 2.00 | 4.00 | 8.00 | 16.00 | ||||||
| vssrl.vi v8,v16,13,v0.t | 1.00 | 1.00 | 1.00 | 2.00 | 4.00 | 8.00 | 16.00 | 1.00 | 1.00 | 2.00 | 4.00 | 8.00 | 16.00 | 1.00 | 2.00 | 4.00 | 8.00 | 16.00 | 2.00 | 4.00 | 8.00 | 16.00 | ||||||
| vdivu.vv v8,v16,v24 | 11.24 | 11.81 | 12.68 | 25.76 | 50.89 | 102.84 | 204.07 | 10.43 | 10.88 | 21.96 | 43.66 | 87.45 | 175.32 | 10.49 | 20.76 | 41.88 | 83.85 | 166.22 | 19.81 | 39.74 | 79.56 | 159.18 | ||||||
| vdivu.vv v8,v16,v24,v0.t | 10.26 | 11.16 | 12.03 | 23.62 | 46.97 | 95.00 | 188.27 | 9.96 | 10.42 | 20.56 | 41.59 | 82.33 | 164.54 | 10.08 | 19.94 | 39.30 | 78.46 | 157.84 | 19.05 | 38.21 | 75.49 | 151.00 | ||||||
| vdivu.vx v8,v16,t0 | 9.31 | 9.21 | 9.40 | 18.67 | 37.44 | 74.39 | 148.79 | 9.20 | 9.30 | 18.66 | 36.75 | 73.72 | 148.78 | 9.49 | 19.11 | 37.89 | 74.99 | 150.14 | 18.58 | 36.03 | 71.99 | 143.98 | ||||||
| vdivu.vx v8,v16,t0,v0.t | 9.27 | 9.27 | 9.33 | 18.85 | 37.13 | 73.74 | 146.38 | 9.19 | 9.29 | 18.53 | 36.77 | 73.59 | 143.99 | 9.50 | 18.78 | 37.28 | 74.99 | 146.94 | 18.38 | 36.00 | 71.99 | 143.98 | ||||||
| vdiv.vv v8,v16,v24 | 11.81 | 12.63 | 13.29 | 26.75 | 53.46 | 106.88 | 210.80 | 11.15 | 11.57 | 23.29 | 46.73 | 93.02 | 185.56 | 11.18 | 22.09 | 44.82 | 89.91 | 179.33 | 21.54 | 42.83 | 86.30 | 172.22 | ||||||
| vdiv.vv v8,v16,v24,v0.t | 11.15 | 11.91 | 12.60 | 24.85 | 50.22 | 99.95 | 199.41 | 10.91 | 11.40 | 22.31 | 44.58 | 89.13 | 178.03 | 10.89 | 21.59 | 42.91 | 85.67 | 171.37 | 21.09 | 41.88 | 82.65 | 166.47 | ||||||
| vdiv.vx v8,v16,t0 | 10.42 | 10.38 | 10.39 | 20.78 | 41.33 | 82.22 | 160.38 | 10.33 | 10.43 | 20.61 | 41.24 | 81.59 | 159.99 | 10.45 | 21.01 | 41.94 | 83.42 | 161.34 | 20.45 | 40.00 | 79.99 | 159.98 | ||||||
| vdiv.vx v8,v16,t0,v0.t | 10.27 | 10.29 | 10.45 | 20.84 | 40.96 | 81.77 | 160.19 | 10.29 | 10.34 | 20.49 | 40.93 | 83.19 | 164.98 | 10.48 | 20.91 | 41.34 | 82.79 | 161.54 | 20.30 | 40.00 | 79.99 | 159.98 | ||||||
| vremu.vv v8,v16,v24 | 12.15 | 12.91 | 13.67 | 27.46 | 54.75 | 109.30 | 219.91 | 11.41 | 11.98 | 23.57 | 47.63 | 95.61 | 191.18 | 11.62 | 22.94 | 45.81 | 91.43 | 183.37 | 21.73 | 43.48 | 86.95 | 173.80 | ||||||
| vremu.vv v8,v16,v24,v0.t | 11.40 | 12.07 | 13.00 | 25.88 | 51.70 | 101.40 | 203.69 | 10.90 | 11.50 | 22.68 | 44.96 | 90.31 | 180.73 | 11.00 | 22.02 | 43.51 | 87.63 | 173.30 | 21.28 | 41.87 | 83.36 | 167.88 | ||||||
| vremu.vx v8,v16,t0 | 10.40 | 10.31 | 10.31 | 20.66 | 41.34 | 81.79 | 162.39 | 10.26 | 10.32 | 20.53 | 40.94 | 82.79 | 159.99 | 10.58 | 21.01 | 41.93 | 84.12 | 162.99 | 20.55 | 40.00 | 79.99 | 159.98 | ||||||
| vremu.vx v8,v16,t0,v0.t | 10.27 | 10.36 | 10.30 | 20.75 | 41.15 | 82.97 | 159.98 | 10.20 | 10.24 | 20.48 | 41.16 | 82.09 | 160.63 | 10.40 | 20.92 | 41.32 | 82.34 | 160.88 | 20.34 | 40.00 | 79.99 | 159.98 | ||||||
| vrem.vv v8,v16,v24 | 12.79 | 13.31 | 14.33 | 28.61 | 56.92 | 115.04 | 230.22 | 12.17 | 12.63 | 25.19 | 50.66 | 101.09 | 202.49 | 12.19 | 24.43 | 48.68 | 98.05 | 195.55 | 23.44 | 46.95 | 94.45 | 188.65 | ||||||
| vrem.vv v8,v16,v24,v0.t | 12.40 | 12.79 | 13.35 | 26.96 | 54.23 | 107.89 | 213.81 | 11.74 | 12.35 | 24.30 | 48.64 | 97.02 | 194.06 | 11.81 | 23.52 | 46.76 | 93.46 | 187.31 | 22.84 | 45.74 | 91.13 | 181.57 | ||||||
| vrem.vx v8,v16,t0 | 11.28 | 11.38 | 11.48 | 22.95 | 45.21 | 89.82 | 177.83 | 11.30 | 11.33 | 22.72 | 44.95 | 89.39 | 178.33 | 11.46 | 23.13 | 45.53 | 92.46 | 180.48 | 22.46 | 44.00 | 87.99 | 175.98 | ||||||
| vrem.vx v8,v16,t0,v0.t | 11.23 | 11.43 | 11.35 | 22.85 | 45.29 | 91.32 | 176.83 | 11.20 | 11.35 | 22.63 | 45.28 | 90.32 | 175.98 | 11.38 | 22.88 | 45.32 | 90.84 | 182.43 | 22.32 | 44.00 | 87.99 | 175.98 | ||||||
| vmulhu.vv v8,v16,v24 | 1.00 | 1.00 | 1.00 | 1.00 | 2.00 | 4.00 | 8.00 | 1.00 | 1.00 | 1.00 | 2.00 | 4.00 | 8.00 | 1.00 | 1.00 | 2.00 | 4.00 | 8.00 | 4.00 | 8.00 | 16.00 | 32.00 | ||||||
| vmulhu.vv v8,v16,v24,v0.t | 1.00 | 1.00 | 1.00 | 1.00 | 2.00 | 4.00 | 8.00 | 1.00 | 1.00 | 1.00 | 2.00 | 4.00 | 8.00 | 1.00 | 1.00 | 2.00 | 4.00 | 8.00 | 4.00 | 8.00 | 16.00 | 32.00 | ||||||
| vmulhu.vx v8,v16,t0 | 1.06 | 1.06 | 1.06 | 1.06 | 2.00 | 4.00 | 8.00 | 1.06 | 1.06 | 1.06 | 2.00 | 4.00 | 8.00 | 1.06 | 1.06 | 2.00 | 4.00 | 8.00 | 4.00 | 8.00 | 16.00 | 32.00 | ||||||
| vmulhu.vx v8,v16,t0,v0.t | 1.06 | 1.06 | 1.06 | 1.06 | 2.00 | 4.00 | 8.00 | 1.06 | 1.06 | 1.06 | 2.00 | 4.00 | 8.00 | 1.06 | 1.06 | 2.00 | 4.00 | 8.00 | 4.00 | 8.00 | 16.00 | 32.00 | ||||||
| vmul.vv v8,v16,v24 | 1.00 | 1.00 | 1.00 | 1.00 | 2.00 | 4.00 | 8.00 | 1.00 | 1.00 | 1.00 | 2.00 | 4.00 | 8.00 | 1.00 | 1.00 | 2.00 | 4.00 | 8.00 | 4.00 | 8.00 | 16.00 | 32.00 | ||||||
| vmul.vv v8,v16,v24,v0.t | 1.00 | 1.00 | 1.00 | 1.00 | 2.00 | 4.00 | 8.00 | 1.00 | 1.00 | 1.00 | 2.00 | 4.00 | 8.00 | 1.00 | 1.00 | 2.00 | 4.00 | 8.00 | 4.00 | 8.00 | 16.00 | 32.00 | ||||||
| vmul.vx v8,v16,t0 | 1.06 | 1.06 | 1.06 | 1.06 | 2.00 | 4.00 | 8.00 | 1.06 | 1.06 | 1.06 | 2.00 | 4.00 | 8.00 | 1.06 | 1.06 | 2.00 | 4.00 | 8.00 | 4.00 | 8.00 | 16.00 | 32.00 | ||||||
| vmul.vx v8,v16,t0,v0.t | 1.06 | 1.06 | 1.06 | 1.06 | 2.00 | 4.00 | 8.00 | 1.06 | 1.06 | 1.06 | 2.00 | 4.00 | 8.00 | 1.06 | 1.06 | 2.00 | 4.00 | 8.00 | 4.00 | 8.00 | 16.00 | 32.00 | ||||||
| vmulhsu.vv v8,v16,v24 | 1.00 | 1.00 | 1.00 | 1.00 | 2.00 | 4.00 | 8.00 | 1.00 | 1.00 | 1.00 | 2.00 | 4.00 | 8.00 | 1.00 | 1.00 | 2.00 | 4.00 | 8.00 | 4.00 | 8.00 | 16.00 | 32.00 | ||||||
| vmulhsu.vv v8,v16,v24,v0.t | 1.00 | 1.00 | 1.00 | 1.00 | 2.00 | 4.00 | 8.00 | 1.00 | 1.00 | 1.00 | 2.00 | 4.00 | 8.00 | 1.00 | 1.00 | 2.00 | 4.00 | 8.00 | 4.00 | 8.00 | 16.00 | 32.00 | ||||||
| vmulhsu.vx v8,v16,t0 | 1.06 | 1.06 | 1.06 | 1.06 | 2.00 | 4.00 | 8.00 | 1.06 | 1.06 | 1.06 | 2.00 | 4.00 | 8.00 | 1.06 | 1.06 | 2.00 | 4.00 | 8.00 | 4.00 | 8.00 | 16.00 | 32.00 | ||||||
| vmulhsu.vx v8,v16,t0,v0.t | 1.06 | 1.06 | 1.06 | 1.06 | 2.00 | 4.00 | 8.00 | 1.06 | 1.06 | 1.06 | 2.00 | 4.00 | 8.00 | 1.06 | 1.06 | 2.00 | 4.00 | 8.00 | 4.00 | 8.00 | 16.00 | 32.00 | ||||||
| vmulh.vv v8,v16,v24 | 1.00 | 1.00 | 1.00 | 1.00 | 2.00 | 4.00 | 8.00 | 1.00 | 1.00 | 1.00 | 2.00 | 4.00 | 8.00 | 1.00 | 1.00 | 2.00 | 4.00 | 8.00 | 4.00 | 8.00 | 16.00 | 32.00 | ||||||
| vmulh.vv v8,v16,v24,v0.t | 1.00 | 1.00 | 1.00 | 1.00 | 2.00 | 4.00 | 8.00 | 1.00 | 1.00 | 1.00 | 2.00 | 4.00 | 8.00 | 1.00 | 1.00 | 2.00 | 4.00 | 8.00 | 4.00 | 8.00 | 16.00 | 32.00 | ||||||
| vmulh.vx v8,v16,t0 | 1.06 | 1.06 | 1.06 | 1.06 | 2.00 | 4.00 | 8.00 | 1.06 | 1.06 | 1.06 | 2.00 | 4.00 | 8.00 | 1.06 | 1.06 | 2.00 | 4.00 | 8.00 | 4.00 | 8.00 | 16.00 | 32.00 | ||||||
| vmulh.vx v8,v16,t0,v0.t | 1.06 | 1.06 | 1.06 | 1.06 | 2.00 | 4.00 | 8.00 | 1.06 | 1.06 | 1.06 | 2.00 | 4.00 | 8.00 | 1.06 | 1.06 | 2.00 | 4.00 | 8.00 | 4.00 | 8.00 | 16.00 | 32.00 | ||||||
| vmadd.vv v8,v16,v24 | 1.00 | 1.00 | 1.00 | 1.00 | 2.00 | 4.00 | 8.00 | 1.00 | 1.00 | 1.00 | 2.00 | 4.00 | 8.00 | 1.00 | 1.00 | 2.00 | 4.00 | 8.00 | 4.00 | 8.00 | 16.00 | 32.00 | ||||||
| vmadd.vv v8,v16,v24,v0.t | 1.00 | 1.00 | 1.00 | 1.00 | 2.00 | 4.00 | 8.00 | 1.00 | 1.00 | 1.00 | 2.00 | 4.00 | 8.00 | 1.00 | 1.00 | 2.00 | 4.00 | 8.00 | 4.00 | 8.00 | 16.00 | 32.00 | ||||||
| vmadd.vx v8,t0,v16 | 1.06 | 1.06 | 1.06 | 1.06 | 2.00 | 4.00 | 8.00 | 1.06 | 1.06 | 1.06 | 2.00 | 4.00 | 8.00 | 1.06 | 1.06 | 2.00 | 4.00 | 8.00 | 4.00 | 8.00 | 16.00 | 32.00 | ||||||
| vmadd.vx v8,t0,v16,v0.t | 1.06 | 1.06 | 1.06 | 1.06 | 2.00 | 4.00 | 8.00 | 1.06 | 1.06 | 1.06 | 2.00 | 4.00 | 8.00 | 1.06 | 1.06 | 2.00 | 4.00 | 8.00 | 4.00 | 8.00 | 16.00 | 32.00 | ||||||
| vmacc.vv v8,v16,v24 | 1.00 | 1.00 | 1.00 | 1.00 | 2.00 | 4.00 | 8.00 | 1.00 | 1.00 | 1.00 | 2.00 | 4.00 | 8.00 | 1.00 | 1.00 | 2.00 | 4.00 | 8.00 | 4.00 | 8.00 | 16.00 | 32.00 | ||||||
| vmacc.vv v8,v16,v24,v0.t | 1.00 | 1.00 | 1.00 | 1.00 | 2.00 | 4.00 | 8.00 | 1.00 | 1.00 | 1.00 | 2.00 | 4.00 | 8.00 | 1.00 | 1.00 | 2.00 | 4.00 | 8.00 | 4.00 | 8.00 | 16.00 | 32.00 | ||||||
| vmacc.vx v8,t0,v16 | 1.06 | 1.06 | 1.06 | 1.06 | 2.00 | 4.00 | 8.00 | 1.06 | 1.06 | 1.06 | 2.00 | 4.00 | 8.00 | 1.06 | 1.06 | 2.00 | 4.00 | 8.00 | 4.00 | 8.00 | 16.00 | 32.00 | ||||||
| vmacc.vx v8,t0,v16,v0.t | 1.06 | 1.06 | 1.06 | 1.06 | 2.00 | 4.00 | 8.00 | 1.06 | 1.06 | 1.06 | 2.00 | 4.00 | 8.00 | 1.06 | 1.06 | 2.00 | 4.00 | 8.00 | 4.00 | 8.00 | 16.00 | 32.00 | ||||||
| vnsrl.wv v8,v16,v24 | 1.00 | 1.00 | 2.00 | 4.00 | 8.00 | 16.00 | 1.00 | 2.00 | 4.00 | 8.00 | 16.00 | 2.00 | 4.00 | 8.00 | 16.00 | |||||||||||||
| vnsrl.wv v8,v16,v24,v0.t | 1.00 | 1.00 | 2.00 | 4.00 | 8.00 | 16.00 | 1.00 | 2.00 | 4.00 | 8.00 | 16.00 | 2.00 | 4.00 | 8.00 | 16.00 | |||||||||||||
| vnsrl.wx v8,v16,t0 | 1.06 | 1.06 | 2.00 | 4.00 | 8.00 | 16.00 | 1.06 | 2.00 | 4.00 | 8.00 | 16.00 | 2.00 | 4.00 | 8.00 | 16.00 | |||||||||||||
| vnsrl.wx v8,v16,t0,v0.t | 1.06 | 1.06 | 2.00 | 4.00 | 8.00 | 16.00 | 1.06 | 2.00 | 4.00 | 8.00 | 16.00 | 2.00 | 4.00 | 8.00 | 16.00 | |||||||||||||
| vnsrl.wi v8,v16,13 | 1.00 | 1.00 | 2.00 | 4.00 | 8.00 | 16.00 | 1.00 | 2.00 | 4.00 | 8.00 | 16.00 | 2.00 | 4.00 | 8.00 | 16.00 | |||||||||||||
| vnsrl.wi v8,v16,13,v0.t | 1.00 | 1.00 | 2.00 | 4.00 | 8.00 | 16.00 | 1.00 | 2.00 | 4.00 | 8.00 | 16.00 | 2.00 | 4.00 | 8.00 | 16.00 | |||||||||||||
| vnsra.wv v8,v16,v24 | 1.00 | 1.00 | 2.00 | 4.00 | 8.00 | 16.00 | 1.00 | 2.00 | 4.00 | 8.00 | 16.00 | 2.00 | 4.00 | 8.00 | 16.00 | |||||||||||||
| vnsra.wv v8,v16,v24,v0.t | 1.00 | 1.00 | 2.00 | 4.00 | 8.00 | 16.00 | 1.00 | 2.00 | 4.00 | 8.00 | 16.00 | 2.00 | 4.00 | 8.00 | 16.00 | |||||||||||||
| vnsra.wx v8,v16,t0 | 1.06 | 1.06 | 2.00 | 4.00 | 8.00 | 16.00 | 1.06 | 2.00 | 4.00 | 8.00 | 16.00 | 2.00 | 4.00 | 8.00 | 16.00 | |||||||||||||
| vnsra.wx v8,v16,t0,v0.t | 1.06 | 1.06 | 2.00 | 4.00 | 8.00 | 16.00 | 1.06 | 2.00 | 4.00 | 8.00 | 16.00 | 2.00 | 4.00 | 8.00 | 16.00 | |||||||||||||
| vnsra.wi v8,v16,13 | 1.00 | 1.00 | 2.00 | 4.00 | 8.00 | 16.00 | 1.00 | 2.00 | 4.00 | 8.00 | 16.00 | 2.00 | 4.00 | 8.00 | 16.00 | |||||||||||||
| vnsra.wi v8,v16,13,v0.t | 1.00 | 1.00 | 2.00 | 4.00 | 8.00 | 16.00 | 1.00 | 2.00 | 4.00 | 8.00 | 16.00 | 2.00 | 4.00 | 8.00 | 16.00 | |||||||||||||
| vnclipu.wv v8,v16,v24 | 1.00 | 1.00 | 2.00 | 4.00 | 8.00 | 16.00 | 1.00 | 2.00 | 4.00 | 8.00 | 16.00 | 2.00 | 4.00 | 8.00 | 16.00 | |||||||||||||
| vnclipu.wv v8,v16,v24,v0.t | 1.00 | 1.00 | 2.00 | 4.00 | 8.00 | 16.00 | 1.00 | 2.00 | 4.00 | 8.00 | 16.00 | 2.00 | 4.00 | 8.00 | 16.00 | |||||||||||||
| vnclipu.wx v8,v16,t0 | 1.06 | 1.06 | 2.00 | 4.00 | 8.00 | 16.00 | 1.06 | 2.00 | 4.00 | 8.00 | 16.00 | 2.00 | 4.00 | 8.00 | 16.00 | |||||||||||||
| vnclipu.wx v8,v16,t0,v0.t | 1.06 | 1.06 | 2.00 | 4.00 | 8.00 | 16.00 | 1.06 | 2.00 | 4.00 | 8.00 | 16.00 | 2.00 | 4.00 | 8.00 | 16.00 | |||||||||||||
| vnclipu.wi v8,v16,13 | 1.00 | 1.00 | 2.00 | 4.00 | 8.00 | 16.00 | 1.00 | 2.00 | 4.00 | 8.00 | 16.00 | 2.00 | 4.00 | 8.00 | 16.00 | |||||||||||||
| vnclipu.wi v8,v16,13,v0.t | 1.00 | 1.00 | 2.00 | 4.00 | 8.00 | 16.00 | 1.00 | 2.00 | 4.00 | 8.00 | 16.00 | 2.00 | 4.00 | 8.00 | 16.00 | |||||||||||||
| vnclip.wv v8,v16,v24 | 1.00 | 1.00 | 2.00 | 4.00 | 8.00 | 16.00 | 1.00 | 2.00 | 4.00 | 8.00 | 16.00 | 2.00 | 4.00 | 8.00 | 16.00 | |||||||||||||
| vnclip.wv v8,v16,v24,v0.t | 1.00 | 1.00 | 2.00 | 4.00 | 8.00 | 16.00 | 1.00 | 2.00 | 4.00 | 8.00 | 16.00 | 2.00 | 4.00 | 8.00 | 16.00 | |||||||||||||
| vnclip.wx v8,v16,t0 | 1.06 | 1.06 | 2.00 | 4.00 | 8.00 | 16.00 | 1.06 | 2.00 | 4.00 | 8.00 | 16.00 | 2.00 | 4.00 | 8.00 | 16.00 | |||||||||||||
| vnclip.wx v8,v16,t0,v0.t | 1.06 | 1.06 | 2.00 | 4.00 | 8.00 | 16.00 | 1.06 | 2.00 | 4.00 | 8.00 | 16.00 | 2.00 | 4.00 | 8.00 | 16.00 | |||||||||||||
| vnclip.wi v8,v16,13 | 1.00 | 1.00 | 2.00 | 4.00 | 8.00 | 16.00 | 1.00 | 2.00 | 4.00 | 8.00 | 16.00 | 2.00 | 4.00 | 8.00 | 16.00 | |||||||||||||
| vnclip.wi v8,v16,13,v0.t | 1.00 | 1.00 | 2.00 | 4.00 | 8.00 | 16.00 | 1.00 | 2.00 | 4.00 | 8.00 | 16.00 | 2.00 | 4.00 | 8.00 | 16.00 | |||||||||||||
| vnmsub.vv v8,v16,v24 | 1.00 | 1.00 | 1.00 | 1.00 | 2.00 | 4.00 | 1.00 | 1.00 | 1.00 | 2.00 | 4.00 | 1.00 | 1.00 | 2.00 | 5.00 | |||||||||||||
| vnmsub.vv v8,v16,v24,v0.t | 1.00 | 1.00 | 1.00 | 1.00 | 2.00 | 4.00 | 1.00 | 1.00 | 1.00 | 2.00 | 4.00 | 1.00 | 1.00 | 2.00 | 5.00 | |||||||||||||
| vnmsub.vx v8,t0,v16 | 1.06 | 1.06 | 1.06 | 1.06 | 2.00 | 4.00 | 1.06 | 1.06 | 1.06 | 2.00 | 4.00 | 1.06 | 1.06 | 2.00 | 5.00 | |||||||||||||
| vnmsub.vx v8,t0,v16,v0.t | 1.06 | 1.06 | 1.06 | 1.06 | 2.00 | 4.00 | 1.06 | 1.06 | 1.06 | 2.00 | 4.00 | 1.06 | 1.06 | 2.00 | 5.00 | |||||||||||||
| vnmsac.vv v8,v16,v24 | 1.00 | 1.00 | 1.00 | 1.00 | 2.00 | 4.00 | 1.00 | 1.00 | 1.00 | 2.00 | 4.00 | 1.00 | 1.00 | 2.00 | 5.00 | |||||||||||||
| vnmsac.vv v8,v16,v24,v0.t | 1.00 | 1.00 | 1.00 | 1.00 | 2.00 | 4.00 | 1.00 | 1.00 | 1.00 | 2.00 | 4.00 | 1.00 | 1.00 | 2.00 | 5.00 | |||||||||||||
| vnmsac.vx v8,t0,v16 | 1.06 | 1.06 | 1.06 | 1.06 | 2.00 | 4.00 | 1.06 | 1.06 | 1.06 | 2.00 | 4.00 | 1.06 | 1.06 | 2.00 | 5.00 | |||||||||||||
| vnmsac.vx v8,t0,v16,v0.t | 1.06 | 1.06 | 1.06 | 1.06 | 2.00 | 4.00 | 1.06 | 1.06 | 1.06 | 2.00 | 4.00 | 1.06 | 1.06 | 2.00 | 5.00 | |||||||||||||
| vwaddu.vv v8,v16,v24 | 1.00 | 1.00 | 2.00 | 2.00 | 4.00 | 8.00 | 1.00 | 2.00 | 2.00 | 4.00 | 8.00 | 2.00 | 2.00 | 4.00 | 8.00 | |||||||||||||
| vwaddu.vv v8,v16,v24,v0.t | 1.00 | 1.00 | 2.00 | 2.00 | 4.00 | 8.00 | 1.00 | 2.00 | 2.00 | 4.00 | 8.00 | 2.00 | 2.00 | 4.00 | 8.00 | |||||||||||||
| vwaddu.vx v8,v16,t0 | 1.06 | 1.06 | 2.00 | 2.00 | 4.00 | 8.00 | 1.06 | 2.00 | 2.00 | 4.00 | 8.00 | 2.00 | 2.00 | 4.00 | 8.00 | |||||||||||||
| vwaddu.vx v8,v16,t0,v0.t | 1.06 | 1.06 | 2.00 | 2.00 | 4.00 | 8.00 | 1.06 | 2.00 | 2.00 | 4.00 | 8.00 | 2.00 | 2.00 | 4.00 | 8.00 | |||||||||||||
| vwadd.vv v8,v16,v24 | 1.00 | 1.00 | 2.00 | 2.00 | 4.00 | 8.00 | 1.00 | 2.00 | 2.00 | 4.00 | 8.00 | 2.00 | 2.00 | 4.00 | 8.00 | |||||||||||||
| vwadd.vv v8,v16,v24,v0.t | 1.00 | 1.00 | 2.00 | 2.00 | 4.00 | 8.00 | 1.00 | 2.00 | 2.00 | 4.00 | 8.00 | 2.00 | 2.00 | 4.00 | 8.00 | |||||||||||||
| vwadd.vx v8,v16,t0 | 1.06 | 1.06 | 2.00 | 2.00 | 4.00 | 8.00 | 1.06 | 2.00 | 2.00 | 4.00 | 8.00 | 2.00 | 2.00 | 4.00 | 8.00 | |||||||||||||
| vwadd.vx v8,v16,t0,v0.t | 1.06 | 1.06 | 2.00 | 2.00 | 4.00 | 8.00 | 1.06 | 2.00 | 2.00 | 4.00 | 8.00 | 2.00 | 2.00 | 4.00 | 8.00 | |||||||||||||
| vwsubu.vv v8,v16,v24 | 1.00 | 1.00 | 2.00 | 2.00 | 4.00 | 8.00 | 1.00 | 2.00 | 2.00 | 4.00 | 8.00 | 2.00 | 2.00 | 4.00 | 8.00 | |||||||||||||
| vwsubu.vv v8,v16,v24,v0.t | 1.00 | 1.00 | 2.00 | 2.00 | 4.00 | 8.00 | 1.00 | 2.00 | 2.00 | 4.00 | 8.00 | 2.00 | 2.00 | 4.00 | 8.00 | |||||||||||||
| vwsubu.vx v8,v16,t0 | 1.06 | 1.06 | 2.00 | 2.00 | 4.00 | 8.00 | 1.06 | 2.00 | 2.00 | 4.00 | 8.00 | 2.00 | 2.00 | 4.00 | 8.00 | |||||||||||||
| vwsubu.vx v8,v16,t0,v0.t | 1.06 | 1.06 | 2.00 | 2.00 | 4.00 | 8.00 | 1.06 | 2.00 | 2.00 | 4.00 | 8.00 | 2.00 | 2.00 | 4.00 | 8.00 | |||||||||||||
| vwsub.vv v8,v16,v24 | 1.00 | 1.00 | 2.00 | 2.00 | 4.00 | 8.00 | 1.00 | 2.00 | 2.00 | 4.00 | 8.00 | 2.00 | 2.00 | 4.00 | 8.00 | |||||||||||||
| vwsub.vv v8,v16,v24,v0.t | 1.00 | 1.00 | 2.00 | 2.00 | 4.00 | 8.00 | 1.00 | 2.00 | 2.00 | 4.00 | 8.00 | 2.00 | 2.00 | 4.00 | 8.00 | |||||||||||||
| vwsub.vx v8,v16,t0 | 1.06 | 1.06 | 2.00 | 2.00 | 4.00 | 8.00 | 1.06 | 2.00 | 2.00 | 4.00 | 8.00 | 2.00 | 2.00 | 4.00 | 8.00 | |||||||||||||
| vwsub.vx v8,v16,t0,v0.t | 1.06 | 1.06 | 2.00 | 2.00 | 4.00 | 8.00 | 1.06 | 2.00 | 2.00 | 4.00 | 8.00 | 2.00 | 2.00 | 4.00 | 8.00 | |||||||||||||
| vwaddu.wv v8,v16,v24 | 1.00 | 1.00 | 2.00 | 2.00 | 4.00 | 8.00 | 1.00 | 2.00 | 2.00 | 4.00 | 8.00 | 2.00 | 2.00 | 4.00 | 8.00 | |||||||||||||
| vwaddu.wv v8,v16,v24,v0.t | 1.00 | 1.00 | 2.00 | 2.00 | 4.00 | 8.00 | 1.00 | 2.00 | 2.00 | 4.00 | 8.00 | 2.00 | 2.00 | 4.00 | 8.00 | |||||||||||||
| vwaddu.wx v8,v16,t0 | 1.06 | 1.06 | 2.00 | 2.00 | 4.00 | 8.00 | 1.06 | 2.00 | 2.00 | 4.00 | 8.00 | 2.00 | 2.00 | 4.00 | 8.00 | |||||||||||||
| vwaddu.wx v8,v16,t0,v0.t | 1.06 | 1.06 | 2.00 | 2.00 | 4.00 | 8.00 | 1.06 | 2.00 | 2.00 | 4.00 | 8.00 | 2.00 | 2.00 | 4.00 | 8.00 | |||||||||||||
| vwadd.wv v8,v16,v24 | 1.00 | 1.00 | 2.00 | 2.00 | 4.00 | 8.00 | 1.00 | 2.00 | 2.00 | 4.00 | 8.00 | 2.00 | 2.00 | 4.00 | 8.00 | |||||||||||||
| vwadd.wv v8,v16,v24,v0.t | 1.00 | 1.00 | 2.00 | 2.00 | 4.00 | 8.00 | 1.00 | 2.00 | 2.00 | 4.00 | 8.00 | 2.00 | 2.00 | 4.00 | 8.00 | |||||||||||||
| vwadd.wx v8,v16,t0 | 1.06 | 1.06 | 2.00 | 2.00 | 4.00 | 8.00 | 1.06 | 2.00 | 2.00 | 4.00 | 8.00 | 2.00 | 2.00 | 4.00 | 8.00 | |||||||||||||
| vwadd.wx v8,v16,t0,v0.t | 1.06 | 1.06 | 2.00 | 2.00 | 4.00 | 8.00 | 1.06 | 2.00 | 2.00 | 4.00 | 8.00 | 2.00 | 2.00 | 4.00 | 8.00 | |||||||||||||
| vwsubu.wv v8,v16,v24 | 1.00 | 1.00 | 2.00 | 2.00 | 4.00 | 8.00 | 1.00 | 2.00 | 2.00 | 4.00 | 8.00 | 2.00 | 2.00 | 4.00 | 8.00 | |||||||||||||
| vwsubu.wv v8,v16,v24,v0.t | 1.00 | 1.00 | 2.00 | 2.00 | 4.00 | 8.00 | 1.00 | 2.00 | 2.00 | 4.00 | 8.00 | 2.00 | 2.00 | 4.00 | 8.00 | |||||||||||||
| vwsubu.wx v8,v16,t0 | 1.06 | 1.06 | 2.00 | 2.00 | 4.00 | 8.00 | 1.06 | 2.00 | 2.00 | 4.00 | 8.00 | 2.00 | 2.00 | 4.00 | 8.00 | |||||||||||||
| vwsubu.wx v8,v16,t0,v0.t | 1.06 | 1.06 | 2.00 | 2.00 | 4.00 | 8.00 | 1.06 | 2.00 | 2.00 | 4.00 | 8.00 | 2.00 | 2.00 | 4.00 | 8.00 | |||||||||||||
| vwsub.wv v8,v16,v24 | 1.00 | 1.00 | 2.00 | 2.00 | 4.00 | 8.00 | 1.00 | 2.00 | 2.00 | 4.00 | 8.00 | 2.00 | 2.00 | 4.00 | 8.00 | |||||||||||||
| vwsub.wv v8,v16,v24,v0.t | 1.00 | 1.00 | 2.00 | 2.00 | 4.00 | 8.00 | 1.00 | 2.00 | 2.00 | 4.00 | 8.00 | 2.00 | 2.00 | 4.00 | 8.00 | |||||||||||||
| vwsub.wx v8,v16,t0 | 1.06 | 1.06 | 2.00 | 2.00 | 4.00 | 8.00 | 1.06 | 2.00 | 2.00 | 4.00 | 8.00 | 2.00 | 2.00 | 4.00 | 8.00 | |||||||||||||
| vwsub.wx v8,v16,t0,v0.t | 1.06 | 1.06 | 2.00 | 2.00 | 4.00 | 8.00 | 1.06 | 2.00 | 2.00 | 4.00 | 8.00 | 2.00 | 2.00 | 4.00 | 8.00 | |||||||||||||
| vwmulu.vv v8,v16,v24 | 1.00 | 1.00 | 2.00 | 2.00 | 4.00 | 8.00 | 1.00 | 2.00 | 2.00 | 4.00 | 8.00 | 2.00 | 2.00 | 4.00 | 8.00 | |||||||||||||
| vwmulu.vv v8,v16,v24,v0.t | 1.00 | 1.00 | 2.00 | 2.00 | 4.00 | 8.00 | 1.00 | 2.00 | 2.00 | 4.00 | 8.00 | 2.00 | 2.00 | 4.00 | 8.00 | |||||||||||||
| vwmulu.vx v8,v16,t0 | 1.06 | 1.06 | 2.00 | 2.00 | 4.00 | 8.00 | 1.06 | 2.00 | 2.00 | 4.00 | 8.00 | 2.00 | 2.00 | 4.00 | 8.00 | |||||||||||||
| vwmulu.vx v8,v16,t0,v0.t | 1.06 | 1.06 | 2.00 | 2.00 | 4.00 | 8.00 | 1.06 | 2.00 | 2.00 | 4.00 | 8.00 | 2.00 | 2.00 | 4.00 | 8.00 | |||||||||||||
| vwmulsu.vv v8,v16,v24 | 1.00 | 1.00 | 2.00 | 2.00 | 4.00 | 8.00 | 1.00 | 2.00 | 2.00 | 4.00 | 8.00 | 2.00 | 2.00 | 4.00 | 8.00 | |||||||||||||
| vwmulsu.vv v8,v16,v24,v0.t | 1.00 | 1.00 | 2.00 | 2.00 | 4.00 | 8.00 | 1.00 | 2.00 | 2.00 | 4.00 | 8.00 | 2.00 | 2.00 | 4.00 | 8.00 | |||||||||||||
| vwmulsu.vx v8,v16,t0 | 1.06 | 1.06 | 2.00 | 2.00 | 4.00 | 8.00 | 1.06 | 2.00 | 2.00 | 4.00 | 8.00 | 2.00 | 2.00 | 4.00 | 8.00 | |||||||||||||
| vwmulsu.vx v8,v16,t0,v0.t | 1.06 | 1.06 | 2.00 | 2.00 | 4.00 | 8.00 | 1.06 | 2.00 | 2.00 | 4.00 | 8.00 | 2.00 | 2.00 | 4.00 | 8.00 | |||||||||||||
| vwmul.vv v8,v16,v24 | 1.00 | 1.00 | 2.00 | 2.00 | 4.00 | 8.00 | 1.00 | 2.00 | 2.00 | 4.00 | 8.00 | 2.00 | 2.00 | 4.00 | 8.00 | |||||||||||||
| vwmul.vv v8,v16,v24,v0.t | 1.00 | 1.00 | 2.00 | 2.00 | 4.00 | 8.00 | 1.00 | 2.00 | 2.00 | 4.00 | 8.00 | 2.00 | 2.00 | 4.00 | 8.00 | |||||||||||||
| vwmul.vx v8,v16,t0 | 1.06 | 1.06 | 2.00 | 2.00 | 4.00 | 8.00 | 1.06 | 2.00 | 2.00 | 4.00 | 8.00 | 2.00 | 2.00 | 4.00 | 8.00 | |||||||||||||
| vwmul.vx v8,v16,t0,v0.t | 1.06 | 1.06 | 2.00 | 2.00 | 4.00 | 8.00 | 1.06 | 2.00 | 2.00 | 4.00 | 8.00 | 2.00 | 2.00 | 4.00 | 8.00 | |||||||||||||
| vwmaccu.vv v8,v16,v24 | 1.00 | 1.00 | 2.00 | 2.00 | 4.00 | 8.00 | 1.00 | 2.00 | 2.00 | 4.00 | 8.00 | 2.00 | 2.00 | 4.00 | 8.00 | |||||||||||||
| vwmaccu.vv v8,v16,v24,v0.t | 1.00 | 1.00 | 2.00 | 2.00 | 4.00 | 8.00 | 1.00 | 2.00 | 2.00 | 4.00 | 8.00 | 2.00 | 2.00 | 4.00 | 8.00 | |||||||||||||
| vwmaccu.vx v8,t0,v16 | 1.06 | 1.06 | 2.00 | 2.00 | 4.00 | 8.00 | 1.06 | 2.00 | 2.00 | 4.00 | 8.00 | 2.00 | 2.00 | 4.00 | 8.00 | |||||||||||||
| vwmaccu.vx v8,t0,v16,v0.t | 1.06 | 1.06 | 2.00 | 2.00 | 4.00 | 8.00 | 1.06 | 2.00 | 2.00 | 4.00 | 8.00 | 2.00 | 2.00 | 4.00 | 8.00 | |||||||||||||
| vwmacc.vv v8,v16,v24 | 1.00 | 1.00 | 2.00 | 2.00 | 4.00 | 8.00 | 1.00 | 2.00 | 2.00 | 4.00 | 8.00 | 2.00 | 2.00 | 4.00 | 8.00 | |||||||||||||
| vwmacc.vv v8,v16,v24,v0.t | 1.00 | 1.00 | 2.00 | 2.00 | 4.00 | 8.00 | 1.00 | 2.00 | 2.00 | 4.00 | 8.00 | 2.00 | 2.00 | 4.00 | 8.00 | |||||||||||||
| vwmacc.vx v8,t0,v16 | 1.06 | 1.06 | 2.00 | 2.00 | 4.00 | 8.00 | 1.06 | 2.00 | 2.00 | 4.00 | 8.00 | 2.00 | 2.00 | 4.00 | 8.00 | |||||||||||||
| vwmacc.vx v8,t0,v16,v0.t | 1.06 | 1.06 | 2.00 | 2.00 | 4.00 | 8.00 | 1.06 | 2.00 | 2.00 | 4.00 | 8.00 | 2.00 | 2.00 | 4.00 | 8.00 | |||||||||||||
| vwmaccsu.vv v8,v16,v24 | 1.00 | 1.00 | 2.00 | 2.00 | 4.00 | 8.00 | 1.00 | 2.00 | 2.00 | 4.00 | 8.00 | 2.00 | 2.00 | 4.00 | 8.00 | |||||||||||||
| vwmaccsu.vv v8,v16,v24,v0.t | 1.00 | 1.00 | 2.00 | 2.00 | 4.00 | 8.00 | 1.00 | 2.00 | 2.00 | 4.00 | 8.00 | 2.00 | 2.00 | 4.00 | 8.00 | |||||||||||||
| vwmaccsu.vx v8,t0,v16 | 1.06 | 1.06 | 2.00 | 2.00 | 4.00 | 8.00 | 1.06 | 2.00 | 2.00 | 4.00 | 8.00 | 2.00 | 2.00 | 4.00 | 8.00 | |||||||||||||
| vwmaccsu.vx v8,t0,v16,v0.t | 1.06 | 1.06 | 2.00 | 2.00 | 4.00 | 8.00 | 1.06 | 2.00 | 2.00 | 4.00 | 8.00 | 2.00 | 2.00 | 4.00 | 8.00 | |||||||||||||
| vwmaccus.vx v8,t0,v16 | 1.06 | 1.06 | 2.00 | 2.00 | 4.00 | 8.00 | 1.06 | 2.00 | 2.00 | 4.00 | 8.00 | 2.00 | 2.00 | 4.00 | 8.00 | |||||||||||||
| vwmaccus.vx v8,t0,v16,v0.t | 1.06 | 1.06 | 2.00 | 2.00 | 4.00 | 8.00 | 1.06 | 2.00 | 2.00 | 4.00 | 8.00 | 2.00 | 2.00 | 4.00 | 8.00 | |||||||||||||
| vfadd.vv v8,v16,v24 | 1.00 | 1.00 | 1.00 | 2.00 | 4.00 | 8.00 | 1.00 | 1.00 | 2.00 | 4.00 | 8.00 | 1.00 | 2.00 | 4.00 | 8.00 | |||||||||||||
| vfadd.vv v8,v16,v24,v0.t | 1.00 | 1.00 | 1.00 | 2.00 | 4.00 | 8.00 | 1.00 | 1.00 | 2.00 | 4.00 | 8.00 | 1.00 | 2.00 | 4.00 | 8.00 | |||||||||||||
| vfadd.vf v8,v16,ft0 | 1.00 | 1.00 | 1.00 | 2.00 | 4.00 | 8.00 | 1.00 | 1.00 | 2.00 | 4.00 | 8.00 | 1.00 | 2.00 | 4.00 | 8.00 | |||||||||||||
| vfadd.vf v8,v16,ft0,v0.t | 1.00 | 1.00 | 1.00 | 2.00 | 4.00 | 8.00 | 1.00 | 1.00 | 2.00 | 4.00 | 8.00 | 1.00 | 2.00 | 4.00 | 8.00 | |||||||||||||
| vfsub.vv v8,v16,v24 | 1.00 | 1.00 | 1.00 | 2.00 | 4.00 | 8.00 | 1.00 | 1.00 | 2.00 | 4.00 | 8.00 | 1.00 | 2.00 | 4.00 | 8.00 | |||||||||||||
| vfsub.vv v8,v16,v24,v0.t | 1.00 | 1.00 | 1.00 | 2.00 | 4.00 | 8.00 | 1.00 | 1.00 | 2.00 | 4.00 | 8.00 | 1.00 | 2.00 | 4.00 | 8.00 | |||||||||||||
| vfsub.vf v8,v16,ft0 | 1.00 | 1.00 | 1.00 | 2.00 | 4.00 | 8.00 | 1.00 | 1.00 | 2.00 | 4.00 | 8.00 | 1.00 | 2.00 | 4.00 | 8.00 | |||||||||||||
| vfsub.vf v8,v16,ft0,v0.t | 1.00 | 1.00 | 1.00 | 2.00 | 4.00 | 8.00 | 1.00 | 1.00 | 2.00 | 4.00 | 8.00 | 1.00 | 2.00 | 4.00 | 8.00 | |||||||||||||
| vfmin.vv v8,v16,v24 | 1.00 | 1.00 | 1.00 | 2.00 | 4.00 | 8.00 | 1.00 | 1.00 | 2.00 | 4.00 | 8.00 | 1.00 | 2.00 | 4.00 | 8.00 | |||||||||||||
| vfmin.vv v8,v16,v24,v0.t | 1.00 | 1.00 | 1.00 | 2.00 | 4.00 | 8.00 | 1.00 | 1.00 | 2.00 | 4.00 | 8.00 | 1.00 | 2.00 | 4.00 | 8.00 | |||||||||||||
| vfmin.vf v8,v16,ft0 | 1.00 | 1.00 | 1.00 | 2.00 | 4.00 | 8.00 | 1.00 | 1.00 | 2.00 | 4.00 | 8.00 | 1.00 | 2.00 | 4.00 | 8.00 | |||||||||||||
| vfmin.vf v8,v16,ft0,v0.t | 1.00 | 1.00 | 1.00 | 2.00 | 4.00 | 8.00 | 1.00 | 1.00 | 2.00 | 4.00 | 8.00 | 1.00 | 2.00 | 4.00 | 8.00 | |||||||||||||
| vfmax.vv v8,v16,v24 | 1.00 | 1.00 | 1.00 | 2.00 | 4.00 | 8.00 | 1.00 | 1.00 | 2.00 | 4.00 | 8.00 | 1.00 | 2.00 | 4.00 | 8.00 | |||||||||||||
| vfmax.vv v8,v16,v24,v0.t | 1.00 | 1.00 | 1.00 | 2.00 | 4.00 | 8.00 | 1.00 | 1.00 | 2.00 | 4.00 | 8.00 | 1.00 | 2.00 | 4.00 | 8.00 | |||||||||||||
| vfmax.vf v8,v16,ft0 | 1.00 | 1.00 | 1.00 | 2.00 | 4.00 | 8.00 | 1.00 | 1.00 | 2.00 | 4.00 | 8.00 | 1.00 | 2.00 | 4.00 | 8.00 | |||||||||||||
| vfmax.vf v8,v16,ft0,v0.t | 1.00 | 1.00 | 1.00 | 2.00 | 4.00 | 8.00 | 1.00 | 1.00 | 2.00 | 4.00 | 8.00 | 1.00 | 2.00 | 4.00 | 8.00 | |||||||||||||
| vfsgnj.vv v8,v16,v24 | 1.00 | 1.00 | 2.00 | 4.00 | 8.00 | 16.00 | 1.00 | 2.00 | 4.00 | 8.00 | 16.00 | 2.00 | 4.00 | 8.00 | 16.00 | |||||||||||||
| vfsgnj.vv v8,v16,v24,v0.t | 1.00 | 1.00 | 2.00 | 4.00 | 8.00 | 16.00 | 1.00 | 2.00 | 4.00 | 8.00 | 16.00 | 2.00 | 4.00 | 8.00 | 16.00 | |||||||||||||
| vfsgnj.vf v8,v16,ft0 | 1.00 | 1.00 | 2.00 | 4.00 | 8.00 | 16.00 | 1.00 | 2.00 | 4.00 | 8.00 | 16.00 | 2.00 | 4.00 | 8.00 | 16.00 | |||||||||||||
| vfsgnj.vf v8,v16,ft0,v0.t | 1.00 | 1.00 | 2.00 | 4.00 | 8.00 | 16.00 | 1.00 | 2.00 | 4.00 | 8.00 | 16.00 | 2.00 | 4.00 | 8.00 | 16.00 | |||||||||||||
| vfsgnjn.vv v8,v16,v24 | 1.00 | 1.00 | 2.00 | 4.00 | 8.00 | 16.00 | 1.00 | 2.00 | 4.00 | 8.00 | 16.00 | 2.00 | 4.00 | 8.00 | 16.00 | |||||||||||||
| vfsgnjn.vv v8,v16,v24,v0.t | 1.00 | 1.00 | 2.00 | 4.00 | 8.00 | 16.00 | 1.00 | 2.00 | 4.00 | 8.00 | 16.00 | 2.00 | 4.00 | 8.00 | 16.00 | |||||||||||||
| vfsgnjn.vf v8,v16,ft0 | 1.00 | 1.00 | 2.00 | 4.00 | 8.00 | 16.00 | 1.00 | 2.00 | 4.00 | 8.00 | 16.00 | 2.00 | 4.00 | 8.00 | 16.00 | |||||||||||||
| vfsgnjn.vf v8,v16,ft0,v0.t | 1.00 | 1.00 | 2.00 | 4.00 | 8.00 | 16.00 | 1.00 | 2.00 | 4.00 | 8.00 | 16.00 | 2.00 | 4.00 | 8.00 | 16.00 | |||||||||||||
| vfsgnjx.vv v8,v16,v24 | 1.00 | 1.00 | 2.00 | 4.00 | 8.00 | 16.00 | 1.00 | 2.00 | 4.00 | 8.00 | 16.00 | 2.00 | 4.00 | 8.00 | 16.00 | |||||||||||||
| vfsgnjx.vv v8,v16,v24,v0.t | 1.00 | 1.00 | 2.00 | 4.00 | 8.00 | 16.00 | 1.00 | 2.00 | 4.00 | 8.00 | 16.00 | 2.00 | 4.00 | 8.00 | 16.00 | |||||||||||||
| vfsgnjx.vf v8,v16,ft0 | 1.00 | 1.00 | 2.00 | 4.00 | 8.00 | 16.00 | 1.00 | 2.00 | 4.00 | 8.00 | 16.00 | 2.00 | 4.00 | 8.00 | 16.00 | |||||||||||||
| vfsgnjx.vf v8,v16,ft0,v0.t | 1.00 | 1.00 | 2.00 | 4.00 | 8.00 | 16.00 | 1.00 | 2.00 | 4.00 | 8.00 | 16.00 | 2.00 | 4.00 | 8.00 | 16.00 | |||||||||||||
| vfslide1up.vf v8,v16,ft0 | 1.00 | 1.00 | 2.00 | 4.00 | 8.00 | 16.00 | 1.00 | 2.00 | 4.00 | 8.00 | 16.00 | 2.00 | 4.00 | 8.00 | 16.00 | |||||||||||||
| vfslide1up.vf v8,v16,ft0,v0.t | 1.00 | 1.00 | 2.00 | 4.00 | 8.00 | 16.00 | 1.00 | 2.00 | 4.00 | 8.00 | 16.00 | 2.00 | 4.00 | 8.00 | 16.00 | |||||||||||||
| vfslide1down.vf v8,v16,ft0 | 1.00 | 1.00 | 3.00 | 5.00 | 9.00 | 17.00 | 1.00 | 3.00 | 5.00 | 9.00 | 17.00 | 3.00 | 5.00 | 9.00 | 17.00 | |||||||||||||
| vfslide1down.vf v8,v16,ft0,v0.t | 1.00 | 1.00 | 3.00 | 5.00 | 9.00 | 17.00 | 1.00 | 3.00 | 5.00 | 9.00 | 17.00 | 3.00 | 5.00 | 9.00 | 17.00 | |||||||||||||
| vfredusum.vs v8,v16,v24 | 8.00 | 8.00 | 8.00 | 14.00 | 20.00 | 57.00 | 5.00 | 6.50 | 11.00 | 17.00 | 54.00 | 4.00 | 7.00 | 15.50 | 52.00 | |||||||||||||
| vfredusum.vs v8,v16,v24,v0.t | 8.00 | 8.00 | 8.00 | 14.00 | 20.00 | 56.99 | 5.00 | 6.50 | 11.00 | 17.00 | 53.99 | 4.00 | 7.00 | 15.50 | 52.00 | |||||||||||||
| vfredosum.vs v8,v16,v24 | 8.00 | 20.00 | 23.00 | 47.00 | 95.98 | 383.64 | 8.00 | 11.00 | 23.00 | 47.99 | 191.89 | 5.50 | 11.50 | 24.50 | 96.97 | |||||||||||||
| vfredosum.vs v8,v16,v24,v0.t | 8.00 | 20.00 | 23.00 | 47.00 | 95.98 | 383.66 | 8.00 | 11.00 | 23.00 | 47.99 | 191.92 | 5.50 | 11.50 | 24.50 | 96.98 | |||||||||||||
| vfredmin.vs v8,v16,v24 | 8.00 | 8.00 | 8.00 | 14.00 | 20.00 | 56.99 | 5.00 | 6.50 | 11.00 | 17.00 | 53.99 | 4.00 | 7.00 | 14.00 | 51.00 | |||||||||||||
| vfredmin.vs v8,v16,v24,v0.t | 8.00 | 8.00 | 8.00 | 14.00 | 20.00 | 57.00 | 5.00 | 6.50 | 11.00 | 17.00 | 53.99 | 4.00 | 7.00 | 14.00 | 51.00 | |||||||||||||
| vfredmax.vs v8,v16,v24 | 8.00 | 8.00 | 8.00 | 14.00 | 20.00 | 57.00 | 5.00 | 6.50 | 11.00 | 17.00 | 53.99 | 4.00 | 7.00 | 14.00 | 51.00 | |||||||||||||
| vfredmax.vs v8,v16,v24,v0.t | 8.00 | 8.00 | 8.00 | 14.00 | 20.00 | 56.99 | 5.00 | 6.50 | 11.00 | 17.00 | 53.99 | 4.00 | 7.00 | 14.00 | 51.00 | |||||||||||||
| vfmerge.vfm v8,v16,ft0,v0 | 1.00 | 1.00 | 2.00 | 4.00 | 8.00 | 16.00 | 1.00 | 2.00 | 4.00 | 8.00 | 16.00 | 2.00 | 4.00 | 8.00 | 16.00 | |||||||||||||
| vfmv.v.f v8,ft0 | 1.00 | 1.00 | 2.00 | 4.00 | 8.00 | 16.00 | 1.00 | 2.00 | 4.00 | 8.00 | 16.00 | 2.00 | 4.00 | 8.00 | 16.00 | |||||||||||||
| vmfeq.vv v8,v16,v24 | 1.00 | 1.00 | 2.00 | 2.50 | 5.00 | 18.00 | 1.00 | 2.00 | 2.50 | 5.00 | 18.00 | 2.00 | 2.50 | 5.00 | 18.00 | |||||||||||||
| vmfeq.vv v8,v16,v24,v0.t | 1.00 | 1.00 | 2.00 | 2.50 | 5.00 | 18.00 | 1.00 | 2.00 | 2.50 | 5.00 | 18.00 | 2.00 | 2.50 | 5.00 | 18.00 | |||||||||||||
| vmfeq.vf v8,v16,ft0 | 1.00 | 1.00 | 2.00 | 2.50 | 5.00 | 18.00 | 1.00 | 2.00 | 2.50 | 5.00 | 18.00 | 2.00 | 2.50 | 5.00 | 18.00 | |||||||||||||
| vmfeq.vf v8,v16,ft0,v0.t | 1.00 | 1.00 | 2.00 | 2.50 | 5.00 | 18.00 | 1.00 | 2.00 | 2.50 | 5.00 | 18.00 | 2.00 | 2.50 | 5.00 | 18.00 | |||||||||||||
| vmfle.vv v8,v16,v24 | 1.00 | 1.00 | 2.00 | 2.50 | 5.00 | 18.00 | 1.00 | 2.00 | 2.50 | 5.00 | 18.00 | 2.00 | 2.50 | 5.00 | 18.00 | |||||||||||||
| vmfle.vv v8,v16,v24,v0.t | 1.00 | 1.00 | 2.00 | 2.50 | 5.00 | 18.00 | 1.00 | 2.00 | 2.50 | 5.00 | 18.00 | 2.00 | 2.50 | 5.00 | 18.00 | |||||||||||||
| vmfle.vf v8,v16,ft0 | 1.00 | 1.00 | 2.00 | 2.50 | 5.00 | 18.00 | 1.00 | 2.00 | 2.50 | 5.00 | 18.00 | 2.00 | 2.50 | 5.00 | 18.00 | |||||||||||||
| vmfle.vf v8,v16,ft0,v0.t | 1.00 | 1.00 | 2.00 | 2.50 | 5.00 | 18.00 | 1.00 | 2.00 | 2.50 | 5.00 | 18.00 | 2.00 | 2.50 | 5.00 | 18.00 | |||||||||||||
| vmflt.vv v8,v16,v24 | 1.00 | 1.00 | 2.00 | 2.50 | 5.00 | 18.00 | 1.00 | 2.00 | 2.50 | 5.00 | 18.00 | 2.00 | 2.50 | 5.00 | 18.00 | |||||||||||||
| vmflt.vv v8,v16,v24,v0.t | 1.00 | 1.00 | 2.00 | 2.50 | 5.00 | 18.00 | 1.00 | 2.00 | 2.50 | 5.00 | 18.00 | 2.00 | 2.50 | 5.00 | 18.00 | |||||||||||||
| vmflt.vf v8,v16,ft0 | 1.00 | 1.00 | 2.00 | 2.50 | 5.00 | 18.00 | 1.00 | 2.00 | 2.50 | 5.00 | 18.00 | 2.00 | 2.50 | 5.00 | 18.00 | |||||||||||||
| vmflt.vf v8,v16,ft0,v0.t | 1.00 | 1.00 | 2.00 | 2.50 | 5.00 | 18.00 | 1.00 | 2.00 | 2.50 | 5.00 | 18.00 | 2.00 | 2.50 | 5.00 | 18.00 | |||||||||||||
| vmfne.vv v8,v16,v24 | 1.00 | 1.00 | 2.00 | 2.50 | 5.00 | 18.00 | 1.00 | 2.00 | 2.50 | 5.00 | 18.00 | 2.00 | 2.50 | 5.00 | 18.00 | |||||||||||||
| vmfne.vv v8,v16,v24,v0.t | 1.00 | 1.00 | 2.00 | 2.50 | 5.00 | 18.00 | 1.00 | 2.00 | 2.50 | 5.00 | 18.00 | 2.00 | 2.50 | 5.00 | 18.00 | |||||||||||||
| vmfne.vf v8,v16,ft0 | 1.00 | 1.00 | 2.00 | 2.50 | 5.00 | 18.00 | 1.00 | 2.00 | 2.50 | 5.00 | 18.00 | 2.00 | 2.50 | 5.00 | 18.00 | |||||||||||||
| vmfne.vf v8,v16,ft0,v0.t | 1.00 | 1.00 | 2.00 | 2.50 | 5.00 | 18.00 | 1.00 | 2.00 | 2.50 | 5.00 | 18.00 | 2.00 | 2.50 | 5.00 | 18.00 | |||||||||||||
| vmfgt.vv v8,v16,v24 | 1.00 | 1.00 | 2.00 | 2.50 | 5.00 | 18.00 | 1.00 | 2.00 | 2.50 | 5.00 | 18.00 | 2.00 | 2.50 | 5.00 | 18.00 | |||||||||||||
| vmfgt.vv v8,v16,v24,v0.t | 1.00 | 1.00 | 2.00 | 2.50 | 5.00 | 18.00 | 1.00 | 2.00 | 2.50 | 5.00 | 18.00 | 2.00 | 2.50 | 5.00 | 18.00 | |||||||||||||
| vmfgt.vf v8,v16,ft0 | 1.00 | 1.00 | 2.00 | 2.50 | 5.00 | 18.00 | 1.00 | 2.00 | 2.50 | 5.00 | 18.00 | 2.00 | 2.50 | 5.00 | 18.00 | |||||||||||||
| vmfgt.vf v8,v16,ft0,v0.t | 1.00 | 1.00 | 2.00 | 2.50 | 5.00 | 18.00 | 1.00 | 2.00 | 2.50 | 5.00 | 18.00 | 2.00 | 2.50 | 5.00 | 18.00 | |||||||||||||
| vmfge.vv v8,v16,v24 | 1.00 | 1.00 | 2.00 | 2.50 | 5.00 | 18.00 | 1.00 | 2.00 | 2.50 | 5.00 | 18.00 | 2.00 | 2.50 | 5.00 | 18.00 | |||||||||||||
| vmfge.vv v8,v16,v24,v0.t | 1.00 | 1.00 | 2.00 | 2.50 | 5.00 | 18.00 | 1.00 | 2.00 | 2.50 | 5.00 | 18.00 | 2.00 | 2.50 | 5.00 | 18.00 | |||||||||||||
| vmfge.vf v8,v16,ft0 | 1.00 | 1.00 | 2.00 | 2.50 | 5.00 | 18.00 | 1.00 | 2.00 | 2.50 | 5.00 | 18.00 | 2.00 | 2.50 | 5.00 | 18.00 | |||||||||||||
| vmfge.vf v8,v16,ft0,v0.t | 1.00 | 1.00 | 2.00 | 2.50 | 5.00 | 18.00 | 1.00 | 2.00 | 2.50 | 5.00 | 18.00 | 2.00 | 2.50 | 5.00 | 18.00 | |||||||||||||
| vfdiv.vv v8,v16,v24 | 13.93 | 14.13 | 28.12 | 56.09 | 112.61 | 224.43 | 18.18 | 36.53 | 72.58 | 144.63 | 289.61 | 65.99 | 131.95 | 263.83 | 527.32 | |||||||||||||
| vfdiv.vv v8,v16,v24,v0.t | 13.83 | 14.14 | 27.87 | 55.59 | 110.13 | 221.72 | 18.11 | 36.16 | 71.76 | 139.97 | 270.57 | 52.57 | 106.38 | 200.50 | 414.21 | |||||||||||||
| vfdiv.vf v8,v16,ft0 | 7.06 | 7.23 | 14.32 | 28.08 | 56.39 | 111.29 | 11.55 | 22.82 | 48.48 | 96.44 | 203.06 | 18.75 | 24.00 | 48.00 | 95.99 | |||||||||||||
| vfdiv.vf v8,v16,ft0,v0.t | 7.25 | 7.08 | 14.02 | 28.12 | 57.67 | 111.59 | 11.04 | 22.65 | 47.81 | 93.44 | 156.58 | 17.06 | 24.00 | 48.00 | 95.99 | |||||||||||||
| vfrdiv.vf v8,v16,ft0 | 7.18 | 7.08 | 14.06 | 28.57 | 57.44 | 112.19 | 11.34 | 22.87 | 48.29 | 96.67 | 221.66 | 18.75 | 24.00 | 48.00 | 95.99 | |||||||||||||
| vfrdiv.vf v8,v16,ft0,v0.t | 6.91 | 6.95 | 14.06 | 28.05 | 56.99 | 114.14 | 11.58 | 22.83 | 48.26 | 94.49 | 137.39 | 17.06 | 24.00 | 48.00 | 95.99 | |||||||||||||
| vfmul.vv v8,v16,v24 | 1.00 | 1.00 | 1.00 | 2.00 | 4.00 | 8.00 | 1.00 | 1.00 | 2.00 | 4.00 | 8.00 | 1.00 | 2.00 | 4.00 | 8.00 | |||||||||||||
| vfmul.vv v8,v16,v24,v0.t | 1.00 | 1.00 | 1.00 | 2.00 | 4.00 | 8.00 | 1.00 | 1.00 | 2.00 | 4.00 | 8.00 | 1.00 | 2.00 | 4.00 | 8.00 | |||||||||||||
| vfmul.vf v8,v16,ft0 | 1.00 | 1.00 | 1.00 | 2.00 | 4.00 | 8.00 | 1.00 | 1.00 | 2.00 | 4.00 | 8.00 | 1.00 | 2.00 | 4.00 | 8.00 | |||||||||||||
| vfmul.vf v8,v16,ft0,v0.t | 1.00 | 1.00 | 1.00 | 2.00 | 4.00 | 8.00 | 1.00 | 1.00 | 2.00 | 4.00 | 8.00 | 1.00 | 2.00 | 4.00 | 8.00 | |||||||||||||
| vfrsub.vf v8,v16,ft0 | 1.00 | 1.00 | 1.00 | 2.00 | 4.00 | 8.00 | 1.00 | 1.00 | 2.00 | 4.00 | 8.00 | 1.00 | 2.00 | 4.00 | 8.00 | |||||||||||||
| vfrsub.vf v8,v16,ft0,v0.t | 1.00 | 1.00 | 1.00 | 2.00 | 4.00 | 8.00 | 1.00 | 1.00 | 2.00 | 4.00 | 8.00 | 1.00 | 2.00 | 4.00 | 8.00 | |||||||||||||
| vfmadd.vv v8,v16,v24 | 1.00 | 1.00 | 1.00 | 2.00 | 4.00 | 8.00 | 1.00 | 1.00 | 2.00 | 4.00 | 8.00 | 1.00 | 2.00 | 4.00 | 8.00 | |||||||||||||
| vfmadd.vv v8,v16,v24,v0.t | 1.00 | 1.00 | 1.00 | 2.00 | 4.00 | 8.00 | 1.00 | 1.00 | 2.00 | 4.00 | 8.00 | 1.00 | 2.00 | 4.00 | 8.00 | |||||||||||||
| vfmadd.vf v8,ft0,v16 | 1.00 | 1.00 | 1.00 | 2.00 | 4.00 | 8.00 | 1.00 | 1.00 | 2.00 | 4.00 | 8.00 | 1.00 | 2.00 | 4.00 | 8.00 | |||||||||||||
| vfmadd.vf v8,ft0,v16,v0.t | 1.00 | 1.00 | 1.00 | 2.00 | 4.00 | 8.00 | 1.00 | 1.00 | 2.00 | 4.00 | 8.00 | 1.00 | 2.00 | 4.00 | 8.00 | |||||||||||||
| vfmsub.vv v8,v16,v24 | 1.00 | 1.00 | 1.00 | 2.00 | 4.00 | 8.00 | 1.00 | 1.00 | 2.00 | 4.00 | 8.00 | 1.00 | 2.00 | 4.00 | 8.00 | |||||||||||||
| vfmsub.vv v8,v16,v24,v0.t | 1.00 | 1.00 | 1.00 | 2.00 | 4.00 | 8.00 | 1.00 | 1.00 | 2.00 | 4.00 | 8.00 | 1.00 | 2.00 | 4.00 | 8.00 | |||||||||||||
| vfmsub.vf v8,ft0,v16 | 1.00 | 1.00 | 1.00 | 2.00 | 4.00 | 8.00 | 1.00 | 1.00 | 2.00 | 4.00 | 8.00 | 1.00 | 2.00 | 4.00 | 8.00 | |||||||||||||
| vfmsub.vf v8,ft0,v16,v0.t | 1.00 | 1.00 | 1.00 | 2.00 | 4.00 | 8.00 | 1.00 | 1.00 | 2.00 | 4.00 | 8.00 | 1.00 | 2.00 | 4.00 | 8.00 | |||||||||||||
| vfmacc.vv v8,v16,v24 | 1.00 | 1.00 | 1.00 | 2.00 | 4.00 | 8.00 | 1.00 | 1.00 | 2.00 | 4.00 | 8.00 | 1.00 | 2.00 | 4.00 | 8.00 | |||||||||||||
| vfmacc.vv v8,v16,v24,v0.t | 1.00 | 1.00 | 1.00 | 2.00 | 4.00 | 8.00 | 1.00 | 1.00 | 2.00 | 4.00 | 8.00 | 1.00 | 2.00 | 4.00 | 8.00 | |||||||||||||
| vfmacc.vf v8,ft0,v16 | 1.00 | 1.00 | 1.00 | 2.00 | 4.00 | 8.00 | 1.00 | 1.00 | 2.00 | 4.00 | 8.00 | 1.00 | 2.00 | 4.00 | 8.00 | |||||||||||||
| vfmacc.vf v8,ft0,v16,v0.t | 1.00 | 1.00 | 1.00 | 2.00 | 4.00 | 8.00 | 1.00 | 1.00 | 2.00 | 4.00 | 8.00 | 1.00 | 2.00 | 4.00 | 8.00 | |||||||||||||
| vfmsac.vv v8,v16,v24 | 1.00 | 1.00 | 1.00 | 2.00 | 4.00 | 8.00 | 1.00 | 1.00 | 2.00 | 4.00 | 8.00 | 1.00 | 2.00 | 4.00 | 8.00 | |||||||||||||
| vfmsac.vv v8,v16,v24,v0.t | 1.00 | 1.00 | 1.00 | 2.00 | 4.00 | 8.00 | 1.00 | 1.00 | 2.00 | 4.00 | 8.00 | 1.00 | 2.00 | 4.00 | 8.00 | |||||||||||||
| vfmsac.vf v8,ft0,v16 | 1.00 | 1.00 | 1.00 | 2.00 | 4.00 | 8.00 | 1.00 | 1.00 | 2.00 | 4.00 | 8.00 | 1.00 | 2.00 | 4.00 | 8.00 | |||||||||||||
| vfmsac.vf v8,ft0,v16,v0.t | 1.00 | 1.00 | 1.00 | 2.00 | 4.00 | 8.00 | 1.00 | 1.00 | 2.00 | 4.00 | 8.00 | 1.00 | 2.00 | 4.00 | 8.00 | |||||||||||||
| vfnmsac.vv v8,v16,v24 | 1.00 | 1.00 | 1.00 | 2.00 | 5.00 | 1.00 | 1.00 | 2.00 | 5.00 | |||||||||||||||||||
| vfnmsac.vv v8,v16,v24,v0.t | 1.00 | 1.00 | 1.00 | 2.00 | 5.00 | 1.00 | 1.00 | 2.00 | 5.00 | |||||||||||||||||||
| vfnmsac.vf v8,ft0,v16 | 1.00 | 1.00 | 1.00 | 2.00 | 5.00 | 1.00 | 1.00 | 2.00 | 5.00 | |||||||||||||||||||
| vfnmsac.vf v8,ft0,v16,v0.t | 1.00 | 1.00 | 1.00 | 2.00 | 5.00 | 1.00 | 1.00 | 2.00 | 5.00 | |||||||||||||||||||
| vfnmacc.vv v8,v16,v24 | 1.00 | 1.00 | 1.00 | 2.00 | 5.00 | 1.00 | 1.00 | 2.00 | 5.00 | |||||||||||||||||||
| vfnmacc.vv v8,v16,v24,v0.t | 1.00 | 1.00 | 1.00 | 2.00 | 5.00 | 1.00 | 1.00 | 2.00 | 5.00 | |||||||||||||||||||
| vfnmacc.vf v8,ft0,v16 | 1.00 | 1.00 | 1.00 | 2.00 | 5.00 | 1.00 | 1.00 | 2.00 | 5.00 | |||||||||||||||||||
| vfnmacc.vf v8,ft0,v16,v0.t | 1.00 | 1.00 | 1.00 | 2.00 | 5.00 | 1.00 | 1.00 | 2.00 | 5.00 | |||||||||||||||||||
| vfnmsub.vv v8,v16,v24 | 1.00 | 1.00 | 1.00 | 2.00 | 5.00 | 1.00 | 1.00 | 2.00 | 5.00 | |||||||||||||||||||
| vfnmsub.vv v8,v16,v24,v0.t | 1.00 | 1.00 | 1.00 | 2.00 | 5.00 | 1.00 | 1.00 | 2.00 | 5.00 | |||||||||||||||||||
| vfnmsub.vf v8,ft0,v16 | 1.00 | 1.00 | 1.00 | 2.00 | 5.00 | 1.00 | 1.00 | 2.00 | 5.00 | |||||||||||||||||||
| vfnmsub.vf v8,ft0,v16,v0.t | 1.00 | 1.00 | 1.00 | 2.00 | 5.00 | 1.00 | 1.00 | 2.00 | 5.00 | |||||||||||||||||||
| vfnmadd.vv v8,v16,v24 | 1.00 | 1.00 | 1.00 | 2.00 | 5.00 | 1.00 | 1.00 | 2.00 | 5.00 | |||||||||||||||||||
| vfnmadd.vv v8,v16,v24,v0.t | 1.00 | 1.00 | 1.00 | 2.00 | 5.00 | 1.00 | 1.00 | 2.00 | 5.00 | |||||||||||||||||||
| vfnmadd.vf v8,ft0,v16 | 1.00 | 1.00 | 1.00 | 2.00 | 5.00 | 1.00 | 1.00 | 2.00 | 5.00 | |||||||||||||||||||
| vfnmadd.vf v8,ft0,v16,v0.t | 1.00 | 1.00 | 1.00 | 2.00 | 5.00 | 1.00 | 1.00 | 2.00 | 5.00 | |||||||||||||||||||
| vwredsumu.vs v8,v16,v24 | 1.00 | 1.00 | 1.00 | 1.00 | 2.00 | 5.50 | 19.00 | 1.00 | 1.00 | 1.00 | 2.00 | 5.50 | 19.00 | 1.00 | 1.00 | 2.00 | 5.50 | 19.00 | ||||||||||
| vwredsumu.vs v8,v16,v24,v0.t | 1.00 | 1.00 | 1.00 | 1.00 | 2.00 | 5.50 | 19.00 | 1.00 | 1.00 | 1.00 | 2.00 | 5.50 | 19.00 | 1.00 | 1.00 | 2.00 | 5.50 | 19.00 | ||||||||||
| vwredsum.vs v8,v16,v24 | 1.00 | 1.00 | 1.00 | 1.00 | 2.00 | 5.50 | 19.00 | 1.00 | 1.00 | 1.00 | 2.00 | 5.50 | 19.00 | 1.00 | 1.00 | 2.00 | 5.50 | 19.00 | ||||||||||
| vwredsum.vs v8,v16,v24,v0.t | 1.00 | 1.00 | 1.00 | 1.00 | 2.00 | 5.50 | 19.00 | 1.00 | 1.00 | 1.00 | 2.00 | 5.50 | 19.00 | 1.00 | 1.00 | 2.00 | 5.50 | 19.00 | ||||||||||
| vfwadd.vv v8,v16,v24 | 1.00 | 2.00 | 2.00 | 4.00 | 8.00 | 2.00 | 2.00 | 4.00 | 8.00 | |||||||||||||||||||
| vfwadd.vv v8,v16,v24,v0.t | 1.00 | 2.00 | 2.00 | 4.00 | 8.00 | 2.00 | 2.00 | 4.00 | 8.00 | |||||||||||||||||||
| vfwadd.vf v8,v16,ft0 | 1.00 | 2.00 | 2.00 | 4.00 | 8.00 | 2.00 | 2.00 | 4.00 | 8.00 | |||||||||||||||||||
| vfwadd.vf v8,v16,ft0,v0.t | 1.00 | 2.00 | 2.00 | 4.00 | 8.00 | 2.00 | 2.00 | 4.00 | 8.00 | |||||||||||||||||||
| vfwsub.vv v8,v16,v24 | 1.00 | 2.00 | 2.00 | 4.00 | 8.00 | 2.00 | 2.00 | 4.00 | 8.00 | |||||||||||||||||||
| vfwsub.vv v8,v16,v24,v0.t | 1.00 | 2.00 | 2.00 | 4.00 | 8.00 | 2.00 | 2.00 | 4.00 | 8.00 | |||||||||||||||||||
| vfwsub.vf v8,v16,ft0 | 1.00 | 2.00 | 2.00 | 4.00 | 8.00 | 2.00 | 2.00 | 4.00 | 8.00 | |||||||||||||||||||
| vfwsub.vf v8,v16,ft0,v0.t | 1.00 | 2.00 | 2.00 | 4.00 | 8.00 | 2.00 | 2.00 | 4.00 | 8.00 | |||||||||||||||||||
| vfwadd.wv v8,v16,v24 | 2.00 | 2.00 | 4.00 | 8.00 | 16.00 | 2.00 | 4.00 | 8.00 | 16.00 | |||||||||||||||||||
| vfwadd.wv v8,v16,v24,v0.t | 2.00 | 2.00 | 4.00 | 8.00 | 16.00 | 2.00 | 4.00 | 8.00 | 16.00 | |||||||||||||||||||
| vfwadd.wf v8,v16,ft0 | 2.00 | 2.00 | 4.00 | 8.00 | 16.00 | 2.00 | 4.00 | 8.00 | 16.00 | |||||||||||||||||||
| vfwadd.wf v8,v16,ft0,v0.t | 2.00 | 2.00 | 4.00 | 8.00 | 16.00 | 2.00 | 4.00 | 8.00 | 16.00 | |||||||||||||||||||
| vfwsub.wv v8,v16,v24 | 2.00 | 2.00 | 4.00 | 8.00 | 16.00 | 2.00 | 4.00 | 8.00 | 16.00 | |||||||||||||||||||
| vfwsub.wv v8,v16,v24,v0.t | 2.00 | 2.00 | 4.00 | 8.00 | 16.00 | 2.00 | 4.00 | 8.00 | 16.00 | |||||||||||||||||||
| vfwsub.wf v8,v16,ft0 | 2.00 | 2.00 | 4.00 | 8.00 | 16.00 | 2.00 | 4.00 | 8.00 | 16.00 | |||||||||||||||||||
| vfwsub.wf v8,v16,ft0,v0.t | 2.00 | 2.00 | 4.00 | 8.00 | 16.00 | 2.00 | 4.00 | 8.00 | 16.00 | |||||||||||||||||||
| vfwmul.vv v8,v16,v24 | 1.00 | 2.00 | 2.00 | 4.00 | 8.00 | 2.00 | 2.00 | 4.00 | 8.00 | |||||||||||||||||||
| vfwmul.vv v8,v16,v24,v0.t | 1.00 | 2.00 | 2.00 | 4.00 | 8.00 | 2.00 | 2.00 | 4.00 | 8.00 | |||||||||||||||||||
| vfwmul.vf v8,v16,ft0 | 1.00 | 2.00 | 2.00 | 4.00 | 8.00 | 2.00 | 2.00 | 4.00 | 8.00 | |||||||||||||||||||
| vfwmul.vf v8,v16,ft0,v0.t | 1.00 | 2.00 | 2.00 | 4.00 | 8.00 | 2.00 | 2.00 | 4.00 | 8.00 | |||||||||||||||||||
| vfwmacc.vv v8,v16,v24 | 1.00 | 2.00 | 2.00 | 4.00 | 8.00 | 2.00 | 2.00 | 4.00 | 8.00 | |||||||||||||||||||
| vfwmacc.vv v8,v16,v24,v0.t | 1.00 | 2.00 | 2.00 | 4.00 | 8.00 | 2.00 | 2.00 | 4.00 | 8.00 | |||||||||||||||||||
| vfwmacc.vf v8,ft0,v16 | 1.00 | 2.00 | 2.00 | 4.00 | 8.00 | 2.00 | 2.00 | 4.00 | 8.00 | |||||||||||||||||||
| vfwmacc.vf v8,ft0,v16,v0.t | 1.00 | 2.00 | 2.00 | 4.00 | 8.00 | 2.00 | 2.00 | 4.00 | 8.00 | |||||||||||||||||||
| vfwnmacc.vv v8,v16,v24 | 1.00 | 2.00 | 2.00 | 4.00 | 8.00 | 2.00 | 2.00 | 4.00 | 8.00 | |||||||||||||||||||
| vfwnmacc.vv v8,v16,v24,v0.t | 1.00 | 2.00 | 2.00 | 4.00 | 8.00 | 2.00 | 2.00 | 4.00 | 8.00 | |||||||||||||||||||
| vfwnmacc.vf v8,ft0,v16 | 1.00 | 2.00 | 2.00 | 4.00 | 8.00 | 2.00 | 2.00 | 4.00 | 8.00 | |||||||||||||||||||
| vfwnmacc.vf v8,ft0,v16,v0.t | 1.00 | 2.00 | 2.00 | 4.00 | 8.00 | 2.00 | 2.00 | 4.00 | 8.00 | |||||||||||||||||||
| vfwmsac.vv v8,v16,v24 | 1.00 | 2.00 | 2.00 | 4.00 | 8.00 | 2.00 | 2.00 | 4.00 | 8.00 | |||||||||||||||||||
| vfwmsac.vv v8,v16,v24,v0.t | 1.00 | 2.00 | 2.00 | 4.00 | 8.00 | 2.00 | 2.00 | 4.00 | 8.00 | |||||||||||||||||||
| vfwmsac.vf v8,ft0,v16 | 1.00 | 2.00 | 2.00 | 4.00 | 8.00 | 2.00 | 2.00 | 4.00 | 8.00 | |||||||||||||||||||
| vfwmsac.vf v8,ft0,v16,v0.t | 1.00 | 2.00 | 2.00 | 4.00 | 8.00 | 2.00 | 2.00 | 4.00 | 8.00 | |||||||||||||||||||
| vfwnmsac.vv v8,v16,v24 | 1.00 | 2.00 | 2.00 | 4.00 | 8.00 | 2.00 | 2.00 | 4.00 | 8.00 | |||||||||||||||||||
| vfwnmsac.vv v8,v16,v24,v0.t | 1.00 | 2.00 | 2.00 | 4.00 | 8.00 | 2.00 | 2.00 | 4.00 | 8.00 | |||||||||||||||||||
| vfwnmsac.vf v8,ft0,v16 | 1.00 | 2.00 | 2.00 | 4.00 | 8.00 | 2.00 | 2.00 | 4.00 | 8.00 | |||||||||||||||||||
| vfwnmsac.vf v8,ft0,v16,v0.t | 1.00 | 2.00 | 2.00 | 4.00 | 8.00 | 2.00 | 2.00 | 4.00 | 8.00 | |||||||||||||||||||
| vfwredosum.vs v8,v16,v24 | 10.00 | 26.00 | 31.00 | 62.99 | 127.96 | 511.34 | 10.00 | 15.00 | 31.00 | 65.99 | 256.83 | |||||||||||||||||
| vfwredosum.vs v8,v16,v24,v0.t | 10.00 | 26.00 | 31.00 | 62.99 | 127.96 | 511.34 | 10.00 | 15.00 | 31.00 | 65.99 | 256.83 | |||||||||||||||||
| vfwredusum.vs v8,v16,v24 | 10.00 | 26.00 | 31.00 | 62.99 | 127.96 | 511.34 | 10.00 | 15.00 | 31.00 | 65.99 | 256.83 | |||||||||||||||||
| vfwredusum.vs v8,v16,v24,v0.t | 10.00 | 26.00 | 31.00 | 62.99 | 127.96 | 511.34 | 10.00 | 15.00 | 31.00 | 65.99 | 256.83 | |||||||||||||||||
| vmv.s.x v8,t0 | 1.06 | 1.06 | 1.06 | 1.06 | 1.06 | 1.54 | 3.00 | 1.06 | 1.06 | 1.06 | 1.06 | 1.54 | 3.00 | 1.06 | 1.06 | 1.06 | 1.54 | 3.00 | 1.06 | 1.06 | 1.54 | 3.00 | ||||||
| vmv.x.s t0,v8 | 6.00 | 6.00 | 6.00 | 6.00 | 6.00 | 6.00 | 6.00 | 6.00 | 6.00 | 6.00 | 6.00 | 6.00 | 6.00 | 6.00 | 6.00 | 6.00 | 6.00 | 6.00 | 6.00 | 6.00 | 6.00 | 6.00 | ||||||
| vcpop.m t0,v8 | 6.00 | 6.00 | 6.00 | 6.00 | 6.00 | 6.00 | 7.00 | 6.00 | 6.00 | 6.00 | 6.00 | 6.00 | 6.00 | 6.00 | 6.00 | 6.00 | 6.00 | 6.00 | 6.00 | 6.00 | 6.00 | 6.00 | ||||||
| vcpop.m t0,v8,v0.t | 6.00 | 6.00 | 6.00 | 6.00 | 6.00 | 6.00 | 7.00 | 6.00 | 6.00 | 6.00 | 6.00 | 6.00 | 6.00 | 6.00 | 6.00 | 6.00 | 6.00 | 6.00 | 6.00 | 6.00 | 6.00 | 6.00 | ||||||
| vfirst.m t0,v8 | 6.00 | 6.00 | 6.00 | 6.00 | 6.00 | 6.00 | 7.00 | 6.00 | 6.00 | 6.00 | 6.00 | 6.00 | 6.00 | 6.00 | 6.00 | 6.00 | 6.00 | 6.00 | 6.00 | 6.00 | 6.00 | 6.00 | ||||||
| vfirst.m t0,v8,v0.t | 6.00 | 6.00 | 6.00 | 6.00 | 6.00 | 6.00 | 7.00 | 6.00 | 6.00 | 6.00 | 6.00 | 6.00 | 6.00 | 6.00 | 6.00 | 6.00 | 6.00 | 6.00 | 6.00 | 6.00 | 6.00 | 6.00 | ||||||
| vzext.vf2 v8,v16 | 1.00 | 1.00 | 2.00 | 4.00 | 8.00 | 16.00 | 1.00 | 2.00 | 4.00 | 8.00 | 16.00 | 2.00 | 4.00 | 8.00 | 16.00 | |||||||||||||
| vzext.vf2 v8,v16,v0.t | 1.00 | 1.00 | 2.00 | 4.00 | 8.00 | 16.00 | 1.00 | 2.00 | 4.00 | 8.00 | 16.00 | 2.00 | 4.00 | 8.00 | 16.00 | |||||||||||||
| vsext.vf2 v8,v16 | 1.00 | 1.00 | 2.00 | 4.00 | 8.00 | 16.00 | 1.00 | 2.00 | 4.00 | 8.00 | 16.00 | 2.00 | 4.00 | 8.00 | 16.00 | |||||||||||||
| vsext.vf2 v8,v16,v0.t | 1.00 | 1.00 | 2.00 | 4.00 | 8.00 | 16.00 | 1.00 | 2.00 | 4.00 | 8.00 | 16.00 | 2.00 | 4.00 | 8.00 | 16.00 | |||||||||||||
| vzext.vf4 v8,v16 | 1.00 | 2.00 | 4.00 | 8.00 | 16.00 | 2.00 | 4.00 | 8.00 | 16.00 | |||||||||||||||||||
| vzext.vf4 v8,v16,v0.t | 1.00 | 2.00 | 4.00 | 8.00 | 16.00 | 2.00 | 4.00 | 8.00 | 16.00 | |||||||||||||||||||
| vsext.vf4 v8,v16 | 1.00 | 2.00 | 4.00 | 8.00 | 16.00 | 2.00 | 4.00 | 8.00 | 16.00 | |||||||||||||||||||
| vsext.vf4 v8,v16,v0.t | 1.00 | 2.00 | 4.00 | 8.00 | 16.00 | 2.00 | 4.00 | 8.00 | 16.00 | |||||||||||||||||||
| vzext.vf8 v8,v16 | 2.00 | 4.00 | 8.00 | 16.00 | ||||||||||||||||||||||||
| vzext.vf8 v8,v16,v0.t | 2.00 | 4.00 | 8.00 | 16.00 | ||||||||||||||||||||||||
| vsext.vf8 v8,v16 | 2.00 | 4.00 | 8.00 | 16.00 | ||||||||||||||||||||||||
| vsext.vf8 v8,v16,v0.t | 2.00 | 4.00 | 8.00 | 16.00 | ||||||||||||||||||||||||
| vfmv.f.s ft0,v8 | 6.00 | 6.00 | 6.00 | 6.00 | 6.00 | 6.00 | 6.00 | 6.00 | 6.00 | 6.00 | 6.00 | 6.00 | 6.00 | 6.00 | 6.00 | |||||||||||||
| vfmv.s.f v8,ft0 | 1.00 | 1.00 | 1.00 | 1.00 | 1.50 | 3.00 | 1.00 | 1.00 | 1.00 | 1.50 | 3.00 | 1.00 | 1.00 | 1.50 | 3.00 | |||||||||||||
| vfcvt.xu.f.v v8,v16 | 1.00 | 1.00 | 2.00 | 4.00 | 8.00 | 16.00 | 1.00 | 2.00 | 4.00 | 8.00 | 16.00 | 2.00 | 4.00 | 8.00 | 16.00 | |||||||||||||
| vfcvt.xu.f.v v8,v16,v0.t | 1.00 | 1.00 | 2.00 | 4.00 | 8.00 | 16.00 | 1.00 | 2.00 | 4.00 | 8.00 | 16.00 | 2.00 | 4.00 | 8.00 | 16.00 | |||||||||||||
| vfcvt.x.f.v v8,v16 | 1.00 | 1.00 | 2.00 | 4.00 | 8.00 | 16.00 | 1.00 | 2.00 | 4.00 | 8.00 | 16.00 | 2.00 | 4.00 | 8.00 | 16.00 | |||||||||||||
| vfcvt.x.f.v v8,v16,v0.t | 1.00 | 1.00 | 2.00 | 4.00 | 8.00 | 16.00 | 1.00 | 2.00 | 4.00 | 8.00 | 16.00 | 2.00 | 4.00 | 8.00 | 16.00 | |||||||||||||
| vfcvt.f.xu.v v8,v16 | 1.00 | 1.00 | 2.00 | 4.00 | 8.00 | 16.00 | 1.00 | 2.00 | 4.00 | 8.00 | 16.00 | 2.00 | 4.00 | 8.00 | 16.00 | |||||||||||||
| vfcvt.f.xu.v v8,v16,v0.t | 1.00 | 1.00 | 2.00 | 4.00 | 8.00 | 16.00 | 1.00 | 2.00 | 4.00 | 8.00 | 16.00 | 2.00 | 4.00 | 8.00 | 16.00 | |||||||||||||
| vfcvt.f.x.v v8,v16 | 1.00 | 1.00 | 2.00 | 4.00 | 8.00 | 16.00 | 1.00 | 2.00 | 4.00 | 8.00 | 16.00 | 2.00 | 4.00 | 8.00 | 16.00 | |||||||||||||
| vfcvt.f.x.v v8,v16,v0.t | 1.00 | 1.00 | 2.00 | 4.00 | 8.00 | 16.00 | 1.00 | 2.00 | 4.00 | 8.00 | 16.00 | 2.00 | 4.00 | 8.00 | 16.00 | |||||||||||||
| vfcvt.rtz.x.f.v v8,v16 | 1.00 | 1.00 | 2.00 | 4.00 | 8.00 | 16.00 | 1.00 | 2.00 | 4.00 | 8.00 | 16.00 | 2.00 | 4.00 | 8.00 | 16.00 | |||||||||||||
| vfcvt.rtz.x.f.v v8,v16,v0.t | 1.00 | 1.00 | 2.00 | 4.00 | 8.00 | 16.00 | 1.00 | 2.00 | 4.00 | 8.00 | 16.00 | 2.00 | 4.00 | 8.00 | 16.00 | |||||||||||||
| vfcvt.rtz.xu.f.v v8,v16 | 1.00 | 1.00 | 2.00 | 4.00 | 8.00 | 16.00 | 1.00 | 2.00 | 4.00 | 8.00 | 16.00 | 2.00 | 4.00 | 8.00 | 16.00 | |||||||||||||
| vfcvt.rtz.xu.f.v v8,v16,v0.t | 1.00 | 1.00 | 2.00 | 4.00 | 8.00 | 16.00 | 1.00 | 2.00 | 4.00 | 8.00 | 16.00 | 2.00 | 4.00 | 8.00 | 16.00 | |||||||||||||
| vfwcvt.xu.f.v v8,v16 | 1.00 | 2.00 | 4.00 | 8.00 | 16.00 | 2.00 | 4.00 | 8.00 | 16.00 | |||||||||||||||||||
| vfwcvt.xu.f.v v8,v16,v0.t | 1.00 | 2.00 | 4.00 | 8.00 | 16.00 | 2.00 | 4.00 | 8.00 | 16.00 | |||||||||||||||||||
| vfwcvt.x.f.v v8,v16 | 1.00 | 2.00 | 4.00 | 8.00 | 16.00 | 2.00 | 4.00 | 8.00 | 16.00 | |||||||||||||||||||
| vfwcvt.x.f.v v8,v16,v0.t | 1.00 | 2.00 | 4.00 | 8.00 | 16.00 | 2.00 | 4.00 | 8.00 | 16.00 | |||||||||||||||||||
| vfwcvt.f.xu.v v8,v16 | 1.00 | 2.00 | 4.00 | 8.00 | 16.00 | 2.00 | 4.00 | 8.00 | 16.00 | |||||||||||||||||||
| vfwcvt.f.xu.v v8,v16,v0.t | 1.00 | 2.00 | 4.00 | 8.00 | 16.00 | 2.00 | 4.00 | 8.00 | 16.00 | |||||||||||||||||||
| vfwcvt.f.x.v v8,v16 | 1.00 | 2.00 | 4.00 | 8.00 | 16.00 | 2.00 | 4.00 | 8.00 | 16.00 | |||||||||||||||||||
| vfwcvt.f.x.v v8,v16,v0.t | 1.00 | 2.00 | 4.00 | 8.00 | 16.00 | 2.00 | 4.00 | 8.00 | 16.00 | |||||||||||||||||||
| vfwcvt.f.f.v v8,v16 | 1.00 | 2.00 | 4.00 | 8.00 | 16.00 | 2.00 | 4.00 | 8.00 | 16.00 | |||||||||||||||||||
| vfwcvt.f.f.v v8,v16,v0.t | 1.00 | 2.00 | 4.00 | 8.00 | 16.00 | 2.00 | 4.00 | 8.00 | 16.00 | |||||||||||||||||||
| vfwcvt.rtz.xu.f.v v8,v16 | 1.00 | 2.00 | 4.00 | 8.00 | 16.00 | 2.00 | 4.00 | 8.00 | 16.00 | |||||||||||||||||||
| vfwcvt.rtz.xu.f.v v8,v16,v0.t | 1.00 | 2.00 | 4.00 | 8.00 | 16.00 | 2.00 | 4.00 | 8.00 | 16.00 | |||||||||||||||||||
| vfwcvt.rtz.x.f.v v8,v16 | 1.00 | 2.00 | 4.00 | 8.00 | 16.00 | 2.00 | 4.00 | 8.00 | 16.00 | |||||||||||||||||||
| vfwcvt.rtz.x.f.v v8,v16,v0.t | 1.00 | 2.00 | 4.00 | 8.00 | 16.00 | 2.00 | 4.00 | 8.00 | 16.00 | |||||||||||||||||||
| vfncvt.xu.f.w v8,v16 | 1.00 | 2.00 | 4.00 | 8.00 | 16.00 | 2.00 | 4.00 | 8.00 | 16.00 | |||||||||||||||||||
| vfncvt.xu.f.w v8,v16,v0.t | 1.00 | 2.00 | 4.00 | 8.00 | 16.00 | 2.00 | 4.00 | 8.00 | 16.00 | |||||||||||||||||||
| vfncvt.x.f.w v8,v16 | 1.00 | 2.00 | 4.00 | 8.00 | 16.00 | 2.00 | 4.00 | 8.00 | 16.00 | |||||||||||||||||||
| vfncvt.x.f.w v8,v16,v0.t | 1.00 | 2.00 | 4.00 | 8.00 | 16.00 | 2.00 | 4.00 | 8.00 | 16.00 | |||||||||||||||||||
| vfncvt.f.xu.w v8,v16 | 1.00 | 2.00 | 4.00 | 8.00 | 16.00 | 2.00 | 4.00 | 8.00 | 16.00 | |||||||||||||||||||
| vfncvt.f.xu.w v8,v16,v0.t | 1.00 | 2.00 | 4.00 | 8.00 | 16.00 | 2.00 | 4.00 | 8.00 | 16.00 | |||||||||||||||||||
| vfncvt.f.x.w v8,v16 | 1.00 | 2.00 | 4.00 | 8.00 | 16.00 | 2.00 | 4.00 | 8.00 | 16.00 | |||||||||||||||||||
| vfncvt.f.x.w v8,v16,v0.t | 1.00 | 2.00 | 4.00 | 8.00 | 16.00 | 2.00 | 4.00 | 8.00 | 16.00 | |||||||||||||||||||
| vfncvt.f.f.w v8,v16 | 1.00 | 2.00 | 4.00 | 8.00 | 16.00 | 2.00 | 4.00 | 8.00 | 16.00 | |||||||||||||||||||
| vfncvt.f.f.w v8,v16,v0.t | 1.00 | 2.00 | 4.00 | 8.00 | 16.00 | 2.00 | 4.00 | 8.00 | 16.00 | |||||||||||||||||||
| vfncvt.rtz.x.f.w v8,v16 | 1.00 | 2.00 | 4.00 | 8.00 | 16.00 | 2.00 | 4.00 | 8.00 | 16.00 | |||||||||||||||||||
| vfncvt.rtz.x.f.w v8,v16,v0.t | 1.00 | 2.00 | 4.00 | 8.00 | 16.00 | 2.00 | 4.00 | 8.00 | 16.00 | |||||||||||||||||||
| vfncvt.rtz.xu.f.w v8,v16 | 1.00 | 2.00 | 4.00 | 8.00 | 16.00 | 2.00 | 4.00 | 8.00 | 16.00 | |||||||||||||||||||
| vfncvt.rtz.xu.f.w v8,v16,v0.t | 1.00 | 2.00 | 4.00 | 8.00 | 16.00 | 2.00 | 4.00 | 8.00 | 16.00 | |||||||||||||||||||
| vfncvt.rod.f.f.w v8,v16 | 1.00 | 2.00 | 4.00 | 8.00 | 16.00 | 2.00 | 4.00 | 8.00 | 16.00 | |||||||||||||||||||
| vfncvt.rod.f.f.w v8,v16,v0.t | 1.00 | 2.00 | 4.00 | 8.00 | 16.00 | 2.00 | 4.00 | 8.00 | 16.00 | |||||||||||||||||||
| vfsqrt.v v8,v16 | 12.67 | 13.01 | 26.11 | 52.04 | 105.34 | 205.23 | 17.47 | 34.90 | 70.63 | 138.56 | 274.91 | 52.34 | 98.23 | 203.30 | 418.13 | |||||||||||||
| vfsqrt.v v8,v16,v0.t | 11.66 | 12.97 | 24.97 | 49.49 | 98.60 | 198.05 | 15.33 | 29.58 | 56.73 | 113.06 | 225.04 | 38.01 | 72.58 | 145.91 | 291.55 | |||||||||||||
| vfrsqrt7.v v8,v16 | 1.00 | 1.00 | 2.00 | 4.00 | 8.00 | 16.00 | 1.00 | 2.00 | 4.00 | 8.00 | 16.00 | 2.00 | 4.00 | 8.00 | 16.00 | |||||||||||||
| vfrsqrt7.v v8,v16,v0.t | 1.00 | 1.00 | 2.00 | 4.00 | 8.00 | 16.00 | 1.00 | 2.00 | 4.00 | 8.00 | 16.00 | 2.00 | 4.00 | 8.00 | 16.00 | |||||||||||||
| vfrec7.v v8,v16 | 1.00 | 1.00 | 2.00 | 4.00 | 8.00 | 16.00 | 1.00 | 2.00 | 4.00 | 8.00 | 16.00 | 2.00 | 4.00 | 8.00 | 16.00 | |||||||||||||
| vfrec7.v v8,v16,v0.t | 1.00 | 1.00 | 2.00 | 4.00 | 8.00 | 16.00 | 1.00 | 2.00 | 4.00 | 8.00 | 16.00 | 2.00 | 4.00 | 8.00 | 16.00 | |||||||||||||
| vfclass.v v8,v16 | 1.00 | 1.00 | 2.00 | 4.00 | 8.00 | 16.00 | 1.00 | 2.00 | 4.00 | 8.00 | 16.00 | 2.00 | 4.00 | 8.00 | 16.00 | |||||||||||||
| vfclass.v v8,v16,v0.t | 1.00 | 1.00 | 2.00 | 4.00 | 8.00 | 16.00 | 1.00 | 2.00 | 4.00 | 8.00 | 16.00 | 2.00 | 4.00 | 8.00 | 16.00 | |||||||||||||
| vmsbf.m v8,v16 | 1.00 | 1.00 | 1.00 | 1.00 | 1.00 | 1.50 | 3.00 | 1.00 | 1.00 | 1.00 | 1.00 | 1.50 | 3.00 | 1.00 | 1.00 | 1.00 | 1.50 | 3.00 | 1.00 | 1.00 | 1.50 | 3.00 | ||||||
| vmsbf.m v8,v16,v0.t | 1.00 | 1.00 | 1.00 | 1.00 | 1.00 | 1.50 | 3.00 | 1.00 | 1.00 | 1.00 | 1.00 | 1.50 | 3.00 | 1.00 | 1.00 | 1.00 | 1.50 | 3.00 | 1.00 | 1.00 | 1.50 | 3.00 | ||||||
| vmsof.m v8,v16 | 1.00 | 1.00 | 1.00 | 1.00 | 1.00 | 1.50 | 3.00 | 1.00 | 1.00 | 1.00 | 1.00 | 1.50 | 3.00 | 1.00 | 1.00 | 1.00 | 1.50 | 3.00 | 1.00 | 1.00 | 1.50 | 3.00 | ||||||
| vmsof.m v8,v16,v0.t | 1.00 | 1.00 | 1.00 | 1.00 | 1.00 | 1.50 | 3.00 | 1.00 | 1.00 | 1.00 | 1.00 | 1.50 | 3.00 | 1.00 | 1.00 | 1.00 | 1.50 | 3.00 | 1.00 | 1.00 | 1.50 | 3.00 | ||||||
| vmsif.m v8,v16 | 1.00 | 1.00 | 1.00 | 1.00 | 1.00 | 1.50 | 3.00 | 1.00 | 1.00 | 1.00 | 1.00 | 1.50 | 3.00 | 1.00 | 1.00 | 1.00 | 1.50 | 3.00 | 1.00 | 1.00 | 1.50 | 3.00 | ||||||
| vmsif.m v8,v16,v0.t | 1.00 | 1.00 | 1.00 | 1.00 | 1.00 | 1.50 | 3.00 | 1.00 | 1.00 | 1.00 | 1.00 | 1.50 | 3.00 | 1.00 | 1.00 | 1.00 | 1.50 | 3.00 | 1.00 | 1.00 | 1.50 | 3.00 | ||||||
| viota.m v8,v16 | 1.00 | 1.00 | 1.00 | 2.00 | 4.00 | 8.00 | 16.00 | 1.00 | 1.00 | 2.00 | 4.00 | 8.00 | 16.00 | 1.00 | 2.00 | 4.00 | 8.00 | 16.00 | 2.00 | 4.00 | 8.00 | 16.00 | ||||||
| viota.m v8,v16,v0.t | 1.00 | 1.00 | 1.00 | 2.00 | 4.00 | 8.00 | 16.00 | 1.00 | 1.00 | 2.00 | 4.00 | 8.00 | 16.00 | 1.00 | 2.00 | 4.00 | 8.00 | 16.00 | 2.00 | 4.00 | 8.00 | 16.00 | ||||||
| vid.v v8 | 1.00 | 1.00 | 1.00 | 2.00 | 4.00 | 8.00 | 16.00 | 1.00 | 1.00 | 2.00 | 4.00 | 8.00 | 16.00 | 1.00 | 2.00 | 4.00 | 8.00 | 16.00 | 2.00 | 4.00 | 8.00 | 16.00 | ||||||
| vid.v v8,v0.t | 1.00 | 1.00 | 1.00 | 2.00 | 4.00 | 8.00 | 16.00 | 1.00 | 1.00 | 2.00 | 4.00 | 8.00 | 16.00 | 1.00 | 2.00 | 4.00 | 8.00 | 16.00 | 2.00 | 4.00 | 8.00 | 16.00 | ||||||
| vle8.v v8,(t0) | 1.22 | 1.25 | 1.32 | 1.15 | 2.66 | 5.94 | 12.75 | 1.25 | 1.22 | 1.10 | 1.45 | 2.43 | 5.92 | 1.17 | 1.25 | 1.37 | 2.00 | 4.00 | 1.25 | 1.25 | 2.00 | 4.00 | ||||||
| vle8.v v8,(t0),v0.t | 1.27 | 1.10 | 1.22 | 1.26 | 2.58 | 5.93 | 12.50 | 1.27 | 1.22 | 1.17 | 1.18 | 2.66 | 5.99 | 1.17 | 1.17 | 1.25 | 2.00 | 4.00 | 1.25 | 1.27 | 2.00 | 4.00 | ||||||
| vle16.v v8,(t0) | 1.27 | 1.30 | 1.30 | 1.30 | 1.17 | 1.41 | 2.58 | 5.88 | 12.55 | 1.30 | 1.22 | 1.37 | 2.51 | 6.01 | 1.22 | 1.35 | 2.00 | 4.00 | ||||||||||
| vle16.v v8,(t0),v0.t | 1.07 | 1.22 | 1.33 | 1.30 | 1.32 | 1.33 | 2.77 | 5.88 | 12.45 | 1.37 | 1.15 | 1.33 | 2.43 | 6.03 | 1.20 | 1.10 | 2.00 | 4.00 | ||||||||||
| vle32.v v8,(t0) | 1.30 | 1.33 | 1.22 | 1.37 | 1.25 | 1.52 | 2.73 | 5.88 | 12.50 | 1.17 | 1.45 | 2.62 | 6.07 | |||||||||||||||
| vle32.v v8,(t0),v0.t | 1.22 | 1.37 | 1.20 | 1.33 | 1.32 | 1.33 | 2.66 | 5.88 | 12.55 | 1.27 | 1.45 | 2.47 | 5.99 | |||||||||||||||
| vle64.v v8,(t0) | 1.18 | 1.22 | 1.15 | 1.22 | 2.26 | 5.91 | 12.35 | |||||||||||||||||||||
| vle64.v v8,(t0),v0.t | 1.11 | 1.15 | 1.30 | 1.22 | 2.33 | 5.94 | 12.40 | |||||||||||||||||||||
| vse8.v v8,(t0) | 1.35 | 1.75 | 1.35 | 2.35 | 7.80 | 12.37 | 17.17 | 1.40 | 1.30 | 1.25 | 2.55 | 6.11 | 10.47 | 1.37 | 1.37 | 1.45 | 2.85 | 5.88 | 1.20 | 1.45 | 1.72 | 2.70 | ||||||
| vse8.v v8,(t0),v0.t | 1.30 | 1.60 | 1.45 | 2.45 | 5.60 | 11.53 | 18.44 | 1.22 | 1.57 | 1.45 | 2.55 | 4.65 | 13.85 | 1.32 | 1.27 | 1.50 | 2.15 | 4.50 | 1.25 | 1.30 | 1.40 | 2.55 | ||||||
| vse16.v v8,(t0) | 1.22 | 1.55 | 2.50 | 1.42 | 1.45 | 2.55 | 4.55 | 10.07 | 17.62 | 1.17 | 1.40 | 2.70 | 4.55 | 8.94 | 1.30 | 1.40 | 2.30 | 5.90 | ||||||||||
| vse16.v v8,(t0),v0.t | 1.20 | 1.35 | 2.45 | 1.27 | 1.70 | 2.40 | 4.45 | 12.11 | 16.40 | 1.30 | 1.35 | 2.65 | 7.60 | 13.12 | 1.10 | 1.25 | 2.50 | 4.90 | ||||||||||
| vse32.v v8,(t0) | 1.50 | 2.60 | 1.70 | 2.50 | 1.60 | 2.30 | 4.50 | 9.28 | 17.10 | 1.15 | 2.55 | 5.91 | 9.56 | |||||||||||||||
| vse32.v v8,(t0),v0.t | 1.25 | 2.40 | 1.30 | 2.40 | 1.35 | 2.45 | 5.95 | 8.75 | 17.95 | 1.30 | 2.45 | 4.60 | 9.98 | |||||||||||||||
| vse64.v v8,(t0) | 2.40 | 2.05 | 2.20 | 2.30 | 4.35 | 8.88 | 17.40 | |||||||||||||||||||||
| vse64.v v8,(t0),v0.t | 2.45 | 2.35 | 2.20 | 2.20 | 4.20 | 9.73 | 17.61 | |||||||||||||||||||||
| vle8ff.v v8,(t0) | 1.17 | 1.30 | 1.30 | 1.41 | 2.51 | 5.84 | 12.45 | 1.15 | 1.17 | 1.27 | 1.56 | 2.70 | 6.09 | 1.20 | 1.10 | 1.22 | 2.00 | 4.00 | 1.25 | 1.17 | 2.00 | 4.00 | ||||||
| vle8ff.v v8,(t0),v0.t | 1.20 | 1.25 | 1.27 | 1.45 | 2.51 | 5.94 | 12.50 | 1.27 | 1.20 | 1.32 | 1.30 | 2.58 | 6.01 | 1.42 | 1.25 | 1.20 | 2.00 | 4.00 | 1.20 | 1.27 | 2.00 | 4.00 | ||||||
| vle16ff.v v8,(t0) | 1.22 | 1.22 | 1.30 | 1.25 | 1.20 | 1.18 | 2.55 | 5.89 | 12.80 | 1.17 | 1.20 | 1.30 | 2.62 | 6.12 | 1.20 | 1.10 | 2.00 | 4.00 | ||||||||||
| vle16ff.v v8,(t0),v0.t | 1.40 | 1.22 | 1.33 | 1.17 | 1.27 | 1.45 | 2.51 | 5.85 | 12.45 | 1.32 | 1.25 | 1.48 | 2.70 | 6.03 | 1.20 | 1.30 | 2.00 | 4.00 | ||||||||||
| vle32ff.v v8,(t0) | 1.35 | 1.52 | 1.27 | 1.41 | 1.15 | 1.33 | 2.66 | 5.92 | 12.45 | 1.17 | 1.22 | 2.66 | 6.01 | |||||||||||||||
| vle32ff.v v8,(t0),v0.t | 1.35 | 1.48 | 1.30 | 1.18 | 1.30 | 1.33 | 2.51 | 5.93 | 12.55 | 1.35 | 1.52 | 2.62 | 6.01 | |||||||||||||||
| vle64ff.v v8,(t0) | 1.18 | 1.22 | 1.22 | 1.33 | 2.22 | 5.91 | 12.40 | |||||||||||||||||||||
| vle64ff.v v8,(t0),v0.t | 1.03 | 1.18 | 1.22 | 1.26 | 2.41 | 5.95 | 12.30 | |||||||||||||||||||||
| vlm.v v8,(t0) | 1.27 | 1.32 | 1.12 | 1.27 | 1.25 | 2.00 | 4.00 | 1.30 | 1.32 | 1.25 | 1.32 | 2.00 | 4.00 | 1.17 | 1.25 | 1.15 | 2.00 | 4.00 | 1.17 | 1.27 | 2.00 | 4.00 | ||||||
| vsm.v v8,(t0) | 1.25 | 1.20 | 1.17 | 1.27 | 1.52 | 1.55 | 2.55 | 1.30 | 1.22 | 1.30 | 1.22 | 1.32 | 1.50 | 1.17 | 1.32 | 1.42 | 1.25 | 1.47 | 1.25 | 1.27 | 1.27 | 1.37 | ||||||
| vlse8.v v8,(t2),t3 | 3.00 | 5.00 | 9.00 | 21.12 | 50.01 | 114.01 | 242.01 | 3.00 | 5.00 | 9.00 | 21.20 | 50.01 | 114.01 | 3.00 | 5.00 | 9.00 | 21.15 | 50.01 | 3.00 | 5.00 | 9.00 | 21.07 | ||||||
| vlse8.v v8,(t2),t3,v0.t | 3.00 | 5.00 | 9.00 | 21.10 | 50.01 | 114.01 | 242.01 | 3.00 | 5.00 | 9.00 | 21.05 | 50.01 | 114.01 | 3.00 | 5.00 | 9.00 | 21.10 | 50.01 | 3.00 | 5.00 | 9.00 | 21.05 | ||||||
| vlse8.v v8,(t2),x0 | 3.00 | 5.00 | 9.00 | 17.07 | 50.01 | 114.01 | 242.01 | 3.00 | 5.00 | 9.00 | 17.07 | 50.01 | 114.01 | 3.00 | 5.00 | 9.00 | 17.07 | 50.01 | 3.00 | 5.00 | 9.00 | 17.07 | ||||||
| vlse8.v v8,(t2),x0,v0.t | 3.00 | 5.00 | 9.00 | 17.07 | 50.01 | 114.01 | 242.01 | 3.00 | 5.00 | 9.00 | 17.07 | 50.01 | 114.01 | 3.00 | 5.00 | 9.00 | 17.07 | 50.01 | 3.00 | 5.00 | 9.00 | 17.07 | ||||||
| vlse8.v v8,(t2),t1/*-1*/ | 3.00 | 5.00 | 9.00 | 22.55 | 48.04 | 114.01 | 242.01 | 3.00 | 5.00 | 9.00 | 22.90 | 48.03 | 114.01 | 3.00 | 5.00 | 9.00 | 23.29 | 48.04 | 3.00 | 5.00 | 9.00 | 22.32 | ||||||
| vlse8.v v8,(t2),t1/*-1*/,v0.t | 3.00 | 5.00 | 9.00 | 23.09 | 48.04 | 114.01 | 242.01 | 3.00 | 5.00 | 9.00 | 22.16 | 48.03 | 114.01 | 3.00 | 5.00 | 9.00 | 22.43 | 48.05 | 3.00 | 5.00 | 9.00 | 22.46 | ||||||
| vlse16.v v8,(t2),t3 | 3.00 | 5.00 | 9.00 | 3.00 | 5.00 | 9.00 | 21.72 | 50.01 | 114.01 | 3.00 | 5.00 | 9.00 | 22.52 | 50.01 | 3.00 | 5.00 | 9.00 | 21.65 | ||||||||||
| vlse16.v v8,(t2),t3,v0.t | 3.00 | 5.00 | 9.00 | 3.00 | 5.00 | 9.00 | 21.70 | 50.01 | 114.01 | 3.00 | 5.00 | 9.00 | 21.70 | 50.01 | 3.00 | 5.00 | 9.00 | 22.10 | ||||||||||
| vlse16.v v8,(t2),x0 | 3.00 | 5.00 | 9.00 | 3.00 | 5.00 | 9.00 | 17.07 | 50.01 | 114.01 | 3.00 | 5.00 | 9.00 | 17.07 | 50.01 | 3.00 | 5.00 | 9.00 | 17.07 | ||||||||||
| vlse16.v v8,(t2),x0,v0.t | 3.00 | 5.00 | 9.00 | 3.00 | 5.00 | 9.00 | 17.07 | 50.01 | 114.01 | 3.00 | 5.00 | 9.00 | 17.07 | 50.01 | 3.00 | 5.00 | 9.00 | 17.07 | ||||||||||
| vlse16.v v8,(t2),t1/*-1*/ | 3.00 | 5.00 | 9.00 | 3.00 | 5.00 | 9.00 | 24.00 | 50.01 | 114.01 | 3.00 | 5.00 | 9.00 | 24.00 | 50.01 | 3.00 | 5.00 | 9.00 | 24.00 | ||||||||||
| vlse16.v v8,(t2),t1/*-1*/,v0.t | 3.00 | 5.00 | 9.00 | 3.00 | 5.00 | 9.00 | 24.00 | 50.01 | 114.01 | 3.00 | 5.00 | 9.00 | 24.00 | 50.01 | 3.00 | 5.00 | 9.00 | 24.00 | ||||||||||
| vlse32.v v8,(t2),t3 | 3.00 | 5.00 | 3.00 | 5.00 | 3.00 | 5.00 | 9.00 | 20.00 | 50.01 | 3.00 | 5.00 | 9.00 | 20.00 | |||||||||||||||
| vlse32.v v8,(t2),t3,v0.t | 3.00 | 5.00 | 3.00 | 5.00 | 3.00 | 5.00 | 9.00 | 20.00 | 50.01 | 3.00 | 5.00 | 9.00 | 20.00 | |||||||||||||||
| vlse32.v v8,(t2),x0 | 3.00 | 5.00 | 3.00 | 5.00 | 3.00 | 5.00 | 9.00 | 17.07 | 50.01 | 3.00 | 5.00 | 9.00 | 17.07 | |||||||||||||||
| vlse32.v v8,(t2),x0,v0.t | 3.00 | 5.00 | 3.00 | 5.00 | 3.00 | 5.00 | 9.00 | 17.07 | 50.01 | 3.00 | 5.00 | 9.00 | 17.07 | |||||||||||||||
| vlse32.v v8,(t2),t1/*-1*/ | 3.00 | 5.00 | 3.00 | 5.00 | 3.00 | 5.00 | 9.00 | 20.00 | 50.01 | 3.00 | 5.00 | 9.00 | 20.00 | |||||||||||||||
| vlse32.v v8,(t2),t1/*-1*/,v0.t | 3.00 | 5.00 | 3.00 | 5.00 | 3.00 | 5.00 | 9.00 | 20.00 | 50.01 | 3.00 | 5.00 | 9.00 | 20.00 | |||||||||||||||
| vlse64.v v8,(t2),t3 | 3.00 | 3.00 | 3.00 | 3.00 | 5.00 | 10.15 | 24.00 | |||||||||||||||||||||
| vlse64.v v8,(t2),t3,v0.t | 3.00 | 3.00 | 3.00 | 3.00 | 5.00 | 10.18 | 24.00 | |||||||||||||||||||||
| vlse64.v v8,(t2),x0 | 3.00 | 3.00 | 3.00 | 3.00 | 5.00 | 9.00 | 22.00 | |||||||||||||||||||||
| vlse64.v v8,(t2),x0,v0.t | 3.00 | 3.00 | 3.00 | 3.00 | 5.00 | 9.00 | 22.00 | |||||||||||||||||||||
| vlse64.v v8,(t2),t1/*-1*/ | 3.00 | 3.00 | 3.00 | 3.00 | 5.00 | 10.32 | 24.00 | |||||||||||||||||||||
| vlse64.v v8,(t2),t1/*-1*/,v0.t | 3.00 | 3.00 | 3.00 | 3.00 | 5.00 | 10.30 | 24.00 | |||||||||||||||||||||
| vsse8.v v8,(t2),t3 | 4.00 | 8.00 | 16.00 | 37.24 | 64.00 | 128.00 | 256.00 | 4.00 | 8.00 | 16.00 | 35.89 | 64.00 | 128.00 | 4.00 | 8.00 | 16.00 | 36.74 | 64.00 | 4.45 | 8.00 | 16.67 | 32.00 | ||||||
| vsse8.v v8,(t2),t3,v0.t | 4.00 | 8.00 | 16.00 | 32.00 | 64.00 | 128.00 | 256.00 | 4.00 | 8.00 | 16.00 | 32.00 | 64.00 | 128.00 | 4.00 | 8.00 | 16.00 | 32.00 | 64.00 | 4.00 | 8.00 | 16.00 | 32.06 | ||||||
| vsse8.v v8,(t2),x0 | 4.00 | 8.00 | 16.00 | 32.00 | 64.00 | 128.00 | 256.00 | 4.00 | 8.00 | 16.00 | 32.00 | 64.00 | 128.00 | 4.00 | 8.00 | 16.00 | 32.00 | 64.00 | 4.00 | 8.00 | 16.00 | 32.00 | ||||||
| vsse8.v v8,(t2),x0,v0.t | 4.00 | 8.00 | 16.00 | 32.00 | 64.00 | 128.00 | 256.00 | 4.00 | 8.00 | 16.00 | 32.00 | 64.00 | 128.00 | 4.00 | 8.00 | 16.00 | 32.00 | 64.00 | 4.00 | 8.00 | 16.00 | 32.00 | ||||||
| vsse8.v v8,(t2),t1/*-1*/ | 4.00 | 8.00 | 16.00 | 32.00 | 64.00 | 136.35 | 259.14 | 4.00 | 8.00 | 16.00 | 32.00 | 64.00 | 128.00 | 4.00 | 8.00 | 16.00 | 32.00 | 64.00 | 4.00 | 8.40 | 16.00 | 32.00 | ||||||
| vsse8.v v8,(t2),t1/*-1*/,v0.t | 4.00 | 8.00 | 16.00 | 32.00 | 65.26 | 129.82 | 256.00 | 4.00 | 8.00 | 16.00 | 32.00 | 64.00 | 128.00 | 4.45 | 9.35 | 16.00 | 32.00 | 64.00 | 4.45 | 8.00 | 16.00 | 32.11 | ||||||
| vsse16.v v8,(t2),t3 | 4.00 | 9.50 | 16.00 | 4.00 | 8.00 | 16.00 | 32.52 | 64.00 | 128.00 | 4.00 | 8.00 | 16.00 | 32.85 | 64.00 | 4.00 | 8.00 | 16.00 | 32.75 | ||||||||||
| vsse16.v v8,(t2),t3,v0.t | 4.00 | 8.00 | 16.90 | 4.50 | 8.00 | 16.51 | 33.00 | 64.00 | 128.00 | 4.00 | 8.00 | 16.27 | 32.79 | 64.00 | 4.00 | 8.00 | 16.00 | 32.37 | ||||||||||
| vsse16.v v8,(t2),x0 | 4.00 | 8.00 | 16.00 | 4.00 | 8.00 | 16.00 | 32.00 | 64.00 | 128.00 | 4.00 | 8.00 | 16.00 | 32.00 | 64.00 | 4.00 | 8.00 | 16.00 | 32.00 | ||||||||||
| vsse16.v v8,(t2),x0,v0.t | 4.00 | 8.00 | 16.00 | 4.00 | 8.00 | 16.00 | 32.00 | 64.00 | 128.00 | 4.00 | 8.00 | 16.00 | 32.00 | 64.00 | 4.00 | 8.00 | 16.00 | 32.00 | ||||||||||
| vsse16.v v8,(t2),t1/*-1*/ | 4.30 | 8.00 | 16.00 | 4.00 | 8.00 | 16.00 | 32.00 | 66.44 | 128.00 | 4.90 | 8.00 | 16.92 | 32.00 | 64.00 | 4.60 | 8.00 | 16.00 | 32.00 | ||||||||||
| vsse16.v v8,(t2),t1/*-1*/,v0.t | 4.07 | 8.00 | 16.00 | 4.00 | 8.00 | 16.00 | 32.00 | 64.99 | 128.00 | 4.80 | 8.00 | 16.15 | 32.00 | 65.01 | 4.00 | 8.00 | 16.00 | 32.00 | ||||||||||
| vsse32.v v8,(t2),t3 | 4.88 | 8.90 | 4.00 | 8.42 | 4.67 | 8.31 | 16.00 | 32.00 | 64.00 | 4.00 | 8.00 | 16.30 | 32.00 | |||||||||||||||
| vsse32.v v8,(t2),t3,v0.t | 4.00 | 8.00 | 4.00 | 8.12 | 4.00 | 8.00 | 16.23 | 32.00 | 64.00 | 4.00 | 8.00 | 16.10 | 32.00 | |||||||||||||||
| vsse32.v v8,(t2),x0 | 4.00 | 8.00 | 4.00 | 8.00 | 4.00 | 8.00 | 16.00 | 32.00 | 64.00 | 4.00 | 8.00 | 16.00 | 32.00 | |||||||||||||||
| vsse32.v v8,(t2),x0,v0.t | 4.00 | 8.00 | 4.00 | 8.00 | 4.00 | 8.00 | 16.00 | 32.00 | 64.00 | 4.00 | 8.00 | 16.00 | 32.00 | |||||||||||||||
| vsse32.v v8,(t2),t1/*-1*/ | 4.00 | 8.00 | 4.00 | 8.00 | 4.00 | 8.00 | 16.00 | 33.05 | 64.00 | 4.95 | 8.07 | 16.00 | 32.15 | |||||||||||||||
| vsse32.v v8,(t2),t1/*-1*/,v0.t | 4.71 | 8.00 | 4.07 | 8.35 | 4.00 | 8.15 | 16.00 | 32.00 | 64.75 | 4.00 | 8.00 | 16.00 | 33.55 | |||||||||||||||
| vsse64.v v8,(t2),t3 | 5.12 | 4.69 | 5.07 | 5.26 | 8.82 | 16.00 | 32.00 | |||||||||||||||||||||
| vsse64.v v8,(t2),t3,v0.t | 5.35 | 4.20 | 4.00 | 4.00 | 9.10 | 16.00 | 32.00 | |||||||||||||||||||||
| vsse64.v v8,(t2),x0 | 4.00 | 4.00 | 4.00 | 4.00 | 8.00 | 16.00 | 32.00 | |||||||||||||||||||||
| vsse64.v v8,(t2),x0,v0.t | 4.00 | 4.00 | 4.00 | 4.00 | 8.00 | 16.00 | 32.00 | |||||||||||||||||||||
| vsse64.v v8,(t2),t1/*-1*/ | 4.00 | 4.00 | 4.00 | 4.00 | 8.22 | 16.65 | 33.91 | |||||||||||||||||||||
| vsse64.v v8,(t2),t1/*-1*/,v0.t | 4.15 | 4.00 | 4.00 | 4.00 | 8.12 | 17.12 | 32.00 | |||||||||||||||||||||
| vlseg2e8.v v8,(t0) | 4.87 | 4.87 | 4.59 | 7.33 | 12.43 | 27.93 | 4.87 | 4.87 | 4.65 | 4.75 | 12.77 | 4.87 | 4.87 | 2.80 | 4.78 | 4.87 | 2.22 | 2.93 | ||||||||||
| vlseg2e8.v v8,(t0),v0.t | 4.87 | 4.87 | 4.53 | 7.33 | 12.54 | 27.95 | 4.87 | 4.87 | 4.65 | 4.62 | 12.64 | 4.87 | 4.87 | 2.85 | 4.84 | 4.87 | 2.22 | 2.86 | ||||||||||
| vlseg2e16.v v8,(t0) | 4.87 | 4.47 | 7.30 | 4.87 | 4.74 | 7.34 | 12.03 | 28.01 | 4.87 | 4.53 | 4.93 | 12.69 | 4.87 | 2.72 | 4.78 | |||||||||||||
| vlseg2e16.v v8,(t0),v0.t | 4.87 | 4.62 | 7.38 | 4.87 | 4.68 | 7.34 | 12.60 | 28.04 | 4.87 | 4.59 | 4.78 | 12.77 | 4.87 | 2.90 | 4.81 | |||||||||||||
| vlseg2e32.v v8,(t0) | 4.56 | 7.31 | 4.68 | 7.37 | 4.53 | 7.38 | 12.43 | 27.87 | 4.62 | 4.90 | 12.67 | |||||||||||||||||
| vlseg2e32.v v8,(t0),v0.t | 4.68 | 7.38 | 4.56 | 7.31 | 4.71 | 7.34 | 12.43 | 28.59 | 4.56 | 4.65 | 12.82 | |||||||||||||||||
| vlseg2e64.v v8,(t0) | 7.45 | 7.44 | 7.37 | 7.44 | 12.31 | 28.25 | ||||||||||||||||||||||
| vlseg2e64.v v8,(t0),v0.t | 7.41 | 7.35 | 7.41 | 7.37 | 12.15 | 28.55 | ||||||||||||||||||||||
| vsseg2e8.v v8,(t0) | 3.00 | 3.00 | 4.00 | 8.00 | 16.00 | 32.00 | 3.00 | 3.00 | 4.00 | 8.02 | 16.00 | 3.00 | 3.00 | 4.00 | 8.22 | 3.00 | 3.00 | 4.10 | ||||||||||
| vsseg2e8.v v8,(t0),v0.t | 3.00 | 3.00 | 4.30 | 8.05 | 16.00 | 32.00 | 3.00 | 3.00 | 4.00 | 8.00 | 16.00 | 3.00 | 3.00 | 4.00 | 8.00 | 3.00 | 3.00 | 4.00 | ||||||||||
| vsseg2e16.v v8,(t0) | 3.00 | 4.00 | 8.00 | 3.00 | 4.00 | 8.00 | 16.00 | 32.00 | 3.00 | 4.00 | 8.00 | 16.00 | 3.00 | 4.00 | 8.00 | |||||||||||||
| vsseg2e16.v v8,(t0),v0.t | 3.00 | 4.00 | 8.00 | 3.00 | 4.00 | 8.00 | 16.00 | 32.00 | 3.00 | 4.00 | 8.00 | 16.00 | 3.00 | 4.00 | 8.00 | |||||||||||||
| vsseg2e32.v v8,(t0) | 4.00 | 8.00 | 4.00 | 8.00 | 4.00 | 8.00 | 16.00 | 32.00 | 4.00 | 8.00 | 16.00 | |||||||||||||||||
| vsseg2e32.v v8,(t0),v0.t | 4.02 | 8.00 | 4.00 | 8.00 | 4.00 | 8.00 | 16.00 | 32.00 | 4.00 | 8.00 | 16.00 | |||||||||||||||||
| vsseg2e64.v v8,(t0) | 8.00 | 8.00 | 8.00 | 8.00 | 16.00 | 32.00 | ||||||||||||||||||||||
| vsseg2e64.v v8,(t0),v0.t | 8.00 | 8.00 | 8.00 | 8.00 | 16.00 | 32.00 | ||||||||||||||||||||||
| vlseg3e8.v v8,(t0) | 5.06 | 4.86 | 5.60 | 8.96 | 19.27 | 5.08 | 4.92 | 5.55 | 8.94 | 5.08 | 4.95 | 5.36 | 5.03 | 5.19 | ||||||||||||||
| vlseg3e8.v v8,(t0),v0.t | 5.03 | 4.87 | 5.76 | 8.74 | 19.41 | 5.06 | 4.83 | 5.54 | 8.62 | 5.07 | 5.00 | 5.35 | 5.06 | 5.17 | ||||||||||||||
| vlseg3e16.v v8,(t0) | 5.22 | 5.37 | 9.60 | 4.99 | 5.71 | 9.25 | 19.41 | 4.99 | 5.47 | 8.74 | 5.14 | 5.30 | ||||||||||||||||
| vlseg3e16.v v8,(t0),v0.t | 4.96 | 5.37 | 9.66 | 4.93 | 5.26 | 9.58 | 19.55 | 4.89 | 5.32 | 8.63 | 5.12 | 5.34 | ||||||||||||||||
| vlseg3e32.v v8,(t0) | 5.72 | 9.34 | 5.53 | 8.81 | 5.47 | 9.18 | 19.36 | 5.48 | 8.60 | |||||||||||||||||||
| vlseg3e32.v v8,(t0),v0.t | 5.59 | 8.86 | 5.71 | 9.47 | 5.30 | 9.25 | 19.49 | 5.93 | 8.63 | |||||||||||||||||||
| vlseg3e64.v v8,(t0) | 10.15 | 10.13 | 10.13 | 10.14 | 19.44 | |||||||||||||||||||||||
| vlseg3e64.v v8,(t0),v0.t | 10.14 | 10.14 | 10.15 | 10.14 | 19.44 | |||||||||||||||||||||||
| vsseg3e8.v v8,(t0) | 4.00 | 5.00 | 7.00 | 14.83 | 28.00 | 4.00 | 5.00 | 7.00 | 14.00 | 4.00 | 5.00 | 7.00 | 4.00 | 5.00 | ||||||||||||||
| vsseg3e8.v v8,(t0),v0.t | 4.00 | 5.00 | 7.00 | 15.01 | 28.00 | 4.00 | 5.15 | 7.00 | 14.30 | 4.00 | 5.00 | 7.00 | 4.00 | 5.25 | ||||||||||||||
| vsseg3e16.v v8,(t0) | 5.00 | 7.00 | 14.00 | 5.00 | 7.00 | 14.00 | 28.00 | 5.00 | 7.00 | 14.00 | 5.00 | 7.00 | ||||||||||||||||
| vsseg3e16.v v8,(t0),v0.t | 5.00 | 7.00 | 15.05 | 5.00 | 7.00 | 14.00 | 28.00 | 5.00 | 7.00 | 14.70 | 5.00 | 7.00 | ||||||||||||||||
| vsseg3e32.v v8,(t0) | 7.00 | 14.00 | 7.00 | 14.00 | 7.00 | 14.00 | 28.00 | 7.00 | 14.00 | |||||||||||||||||||
| vsseg3e32.v v8,(t0),v0.t | 7.00 | 14.00 | 7.00 | 14.00 | 7.00 | 14.00 | 28.00 | 7.00 | 14.00 | |||||||||||||||||||
| vsseg3e64.v v8,(t0) | 12.00 | 12.00 | 12.00 | 12.00 | 24.00 | |||||||||||||||||||||||
| vsseg3e64.v v8,(t0),v0.t | 12.00 | 12.00 | 12.00 | 12.00 | 24.00 | |||||||||||||||||||||||
| vlseg4e8.v v8,(t0) | 5.47 | 5.35 | 6.94 | 11.17 | 28.01 | 5.39 | 5.34 | 6.94 | 10.90 | 5.53 | 5.33 | 7.01 | 5.44 | 6.11 | ||||||||||||||
| vlseg4e8.v v8,(t0),v0.t | 5.36 | 5.34 | 6.94 | 11.13 | 27.90 | 5.25 | 5.36 | 7.02 | 10.97 | 5.32 | 5.34 | 6.97 | 5.42 | 5.98 | ||||||||||||||
| vlseg4e16.v v8,(t0) | 5.36 | 7.43 | 11.14 | 5.35 | 7.43 | 11.15 | 28.21 | 5.35 | 7.02 | 10.96 | 5.35 | 7.00 | ||||||||||||||||
| vlseg4e16.v v8,(t0),v0.t | 5.35 | 7.02 | 11.15 | 5.34 | 7.43 | 11.15 | 28.21 | 5.35 | 7.26 | 10.84 | 5.34 | 6.94 | ||||||||||||||||
| vlseg4e32.v v8,(t0) | 7.26 | 11.13 | 7.01 | 11.18 | 7.43 | 11.14 | 27.82 | 7.10 | 10.96 | |||||||||||||||||||
| vlseg4e32.v v8,(t0),v0.t | 7.43 | 11.20 | 7.43 | 11.13 | 7.26 | 11.20 | 27.62 | 7.18 | 10.87 | |||||||||||||||||||
| vlseg4e64.v v8,(t0) | 11.40 | 12.00 | 11.60 | 12.40 | 26.30 | |||||||||||||||||||||||
| vlseg4e64.v v8,(t0),v0.t | 12.40 | 11.86 | 12.32 | 11.46 | 26.25 | |||||||||||||||||||||||
| vsseg4e8.v v8,(t0) | 5.00 | 6.00 | 8.04 | 16.00 | 32.00 | 5.00 | 6.00 | 9.40 | 16.00 | 5.00 | 6.00 | 8.37 | 5.00 | 6.00 | ||||||||||||||
| vsseg4e8.v v8,(t0),v0.t | 5.00 | 6.00 | 8.40 | 16.00 | 32.00 | 5.00 | 6.00 | 8.24 | 16.00 | 5.00 | 6.00 | 8.98 | 5.00 | 6.00 | ||||||||||||||
| vsseg4e16.v v8,(t0) | 6.00 | 8.00 | 16.00 | 6.00 | 8.00 | 16.00 | 32.00 | 6.00 | 8.00 | 16.00 | 6.00 | 8.00 | ||||||||||||||||
| vsseg4e16.v v8,(t0),v0.t | 6.00 | 8.00 | 16.00 | 6.00 | 8.00 | 16.00 | 32.00 | 6.00 | 8.00 | 16.00 | 6.00 | 8.00 | ||||||||||||||||
| vsseg4e32.v v8,(t0) | 8.00 | 16.00 | 8.00 | 16.00 | 8.00 | 16.00 | 32.00 | 8.00 | 16.00 | |||||||||||||||||||
| vsseg4e32.v v8,(t0),v0.t | 8.00 | 16.00 | 8.00 | 16.00 | 8.00 | 16.00 | 32.00 | 8.00 | 16.00 | |||||||||||||||||||
| vsseg4e64.v v8,(t0) | 16.00 | 16.00 | 16.00 | 16.00 | 32.00 | |||||||||||||||||||||||
| vsseg4e64.v v8,(t0),v0.t | 16.00 | 16.00 | 16.00 | 16.00 | 32.00 | |||||||||||||||||||||||
| vlseg5e8.v v8,(t0) | 20.00 | 40.00 | 80.00 | 159.37 | 20.00 | 40.00 | 80.00 | 20.00 | 40.00 | 20.00 | ||||||||||||||||||
| vlseg5e8.v v8,(t0),v0.t | 20.00 | 40.00 | 80.00 | 159.36 | 20.00 | 40.00 | 80.00 | 20.00 | 40.00 | 20.00 | ||||||||||||||||||
| vlseg5e16.v v8,(t0) | 20.00 | 40.00 | 79.22 | 20.00 | 40.00 | 79.24 | 20.00 | 40.00 | 20.00 | |||||||||||||||||||
| vlseg5e16.v v8,(t0),v0.t | 20.00 | 40.00 | 79.21 | 20.00 | 40.00 | 79.20 | 20.00 | 40.00 | 20.00 | |||||||||||||||||||
| vlseg5e32.v v8,(t0) | 20.00 | 39.32 | 20.00 | 39.42 | 20.00 | 39.33 | 20.00 | |||||||||||||||||||||
| vlseg5e32.v v8,(t0),v0.t | 20.00 | 39.38 | 20.00 | 39.40 | 20.00 | 39.37 | 20.00 | |||||||||||||||||||||
| vlseg5e64.v v8,(t0) | 19.57 | 19.60 | 19.56 | 19.55 | ||||||||||||||||||||||||
| vlseg5e64.v v8,(t0),v0.t | 19.56 | 19.56 | 19.56 | 19.55 | ||||||||||||||||||||||||
| vsseg5e8.v v8,(t0) | 20.00 | 40.00 | 80.00 | 161.24 | 20.00 | 40.00 | 80.00 | 20.00 | 40.00 | 20.00 | ||||||||||||||||||
| vsseg5e8.v v8,(t0),v0.t | 20.00 | 40.00 | 80.00 | 160.94 | 20.00 | 40.00 | 80.00 | 20.00 | 40.00 | 20.00 | ||||||||||||||||||
| vsseg5e16.v v8,(t0) | 20.00 | 40.00 | 80.31 | 20.00 | 40.00 | 83.28 | 20.36 | 40.00 | 20.00 | |||||||||||||||||||
| vsseg5e16.v v8,(t0),v0.t | 20.00 | 40.00 | 80.58 | 20.00 | 40.00 | 80.84 | 20.00 | 40.00 | 20.00 | |||||||||||||||||||
| vsseg5e32.v v8,(t0) | 20.00 | 44.03 | 20.00 | 42.43 | 20.00 | 44.22 | 20.00 | |||||||||||||||||||||
| vsseg5e32.v v8,(t0),v0.t | 20.00 | 45.90 | 20.00 | 45.06 | 20.00 | 45.65 | 20.00 | |||||||||||||||||||||
| vsseg5e64.v v8,(t0) | 20.00 | 20.00 | 20.00 | 20.00 | ||||||||||||||||||||||||
| vsseg5e64.v v8,(t0),v0.t | 20.00 | 20.00 | 20.00 | 20.00 | ||||||||||||||||||||||||
| vlseg6e8.v v8,(t0) | 24.37 | 48.37 | 96.37 | 191.37 | 24.37 | 48.37 | 96.37 | 24.37 | 48.37 | 24.37 | ||||||||||||||||||
| vlseg6e8.v v8,(t0),v0.t | 24.37 | 48.37 | 96.37 | 191.36 | 24.37 | 48.37 | 96.37 | 24.37 | 48.37 | 24.37 | ||||||||||||||||||
| vlseg6e16.v v8,(t0) | 24.37 | 48.37 | 95.13 | 24.37 | 48.37 | 95.12 | 24.37 | 48.37 | 24.37 | |||||||||||||||||||
| vlseg6e16.v v8,(t0),v0.t | 24.37 | 48.37 | 95.15 | 24.37 | 48.37 | 95.13 | 24.37 | 48.37 | 24.37 | |||||||||||||||||||
| vlseg6e32.v v8,(t0) | 24.37 | 47.39 | 24.37 | 47.37 | 24.37 | 47.33 | 24.37 | |||||||||||||||||||||
| vlseg6e32.v v8,(t0),v0.t | 24.37 | 47.29 | 24.37 | 47.30 | 24.37 | 47.37 | 24.37 | |||||||||||||||||||||
| vlseg6e64.v v8,(t0) | 23.28 | 23.25 | 23.27 | 23.18 | ||||||||||||||||||||||||
| vlseg6e64.v v8,(t0),v0.t | 23.25 | 23.18 | 23.34 | 23.32 | ||||||||||||||||||||||||
| vsseg6e8.v v8,(t0) | 24.00 | 48.00 | 96.00 | 199.31 | 24.00 | 48.00 | 96.00 | 24.00 | 48.00 | 24.00 | ||||||||||||||||||
| vsseg6e8.v v8,(t0),v0.t | 24.00 | 48.00 | 96.00 | 192.00 | 24.00 | 48.00 | 96.00 | 24.00 | 48.00 | 24.00 | ||||||||||||||||||
| vsseg6e16.v v8,(t0) | 24.00 | 48.00 | 105.99 | 24.00 | 48.00 | 96.20 | 24.00 | 48.00 | 24.00 | |||||||||||||||||||
| vsseg6e16.v v8,(t0),v0.t | 24.00 | 48.00 | 99.60 | 24.00 | 48.00 | 102.09 | 24.00 | 48.00 | 24.00 | |||||||||||||||||||
| vsseg6e32.v v8,(t0) | 24.00 | 55.33 | 24.00 | 55.95 | 24.00 | 53.08 | 24.00 | |||||||||||||||||||||
| vsseg6e32.v v8,(t0),v0.t | 24.00 | 51.58 | 24.00 | 54.30 | 24.00 | 56.15 | 24.00 | |||||||||||||||||||||
| vsseg6e64.v v8,(t0) | 24.00 | 24.00 | 24.00 | 24.00 | ||||||||||||||||||||||||
| vsseg6e64.v v8,(t0),v0.t | 24.00 | 24.00 | 24.02 | 24.00 | ||||||||||||||||||||||||
| vlseg7e8.v v8,(t0) | 28.25 | 56.25 | 112.25 | 223.27 | 28.25 | 56.25 | 112.25 | 28.25 | 56.25 | 28.25 | ||||||||||||||||||
| vlseg7e8.v v8,(t0),v0.t | 28.25 | 56.25 | 112.25 | 223.31 | 28.25 | 56.25 | 112.25 | 28.25 | 56.25 | 28.25 | ||||||||||||||||||
| vlseg7e16.v v8,(t0) | 28.25 | 56.25 | 111.12 | 28.25 | 56.25 | 111.12 | 28.25 | 56.25 | 28.25 | |||||||||||||||||||
| vlseg7e16.v v8,(t0),v0.t | 28.25 | 56.25 | 111.10 | 28.25 | 56.25 | 111.12 | 28.25 | 56.25 | 28.25 | |||||||||||||||||||
| vlseg7e32.v v8,(t0) | 28.25 | 55.04 | 28.25 | 55.00 | 28.25 | 55.00 | 28.25 | |||||||||||||||||||||
| vlseg7e32.v v8,(t0),v0.t | 28.25 | 55.02 | 28.25 | 55.06 | 28.25 | 55.06 | 28.25 | |||||||||||||||||||||
| vlseg7e64.v v8,(t0) | 27.19 | 27.23 | 27.23 | 27.21 | ||||||||||||||||||||||||
| vlseg7e64.v v8,(t0),v0.t | 27.14 | 27.21 | 27.24 | 27.13 | ||||||||||||||||||||||||
| vsseg7e8.v v8,(t0) | 28.00 | 56.00 | 112.00 | 227.00 | 28.00 | 56.00 | 112.00 | 28.00 | 56.00 | 28.00 | ||||||||||||||||||
| vsseg7e8.v v8,(t0),v0.t | 28.00 | 56.00 | 112.00 | 224.00 | 28.00 | 56.00 | 112.00 | 28.00 | 56.00 | 28.00 | ||||||||||||||||||
| vsseg7e16.v v8,(t0) | 28.00 | 56.00 | 116.24 | 28.00 | 56.07 | 118.73 | 28.00 | 56.00 | 28.00 | |||||||||||||||||||
| vsseg7e16.v v8,(t0),v0.t | 28.00 | 57.36 | 116.12 | 28.00 | 56.99 | 115.27 | 28.00 | 56.00 | 28.00 | |||||||||||||||||||
| vsseg7e32.v v8,(t0) | 28.45 | 56.00 | 28.66 | 56.00 | 28.62 | 56.00 | 28.36 | |||||||||||||||||||||
| vsseg7e32.v v8,(t0),v0.t | 28.00 | 57.42 | 28.60 | 59.10 | 28.29 | 61.31 | 28.00 | |||||||||||||||||||||
| vsseg7e64.v v8,(t0) | 28.25 | 28.50 | 28.47 | 28.42 | ||||||||||||||||||||||||
| vsseg7e64.v v8,(t0),v0.t | 28.07 | 28.05 | 28.00 | 28.00 | ||||||||||||||||||||||||
| vlseg8e8.v v8,(t0) | 32.15 | 64.12 | 128.12 | 255.17 | 32.15 | 64.12 | 128.12 | 32.15 | 64.12 | 32.15 | ||||||||||||||||||
| vlseg8e8.v v8,(t0),v0.t | 32.15 | 64.13 | 128.12 | 255.17 | 32.15 | 64.12 | 128.12 | 32.15 | 64.12 | 32.15 | ||||||||||||||||||
| vlseg8e16.v v8,(t0) | 32.13 | 64.13 | 127.13 | 32.13 | 64.13 | 127.13 | 32.13 | 64.14 | 32.13 | |||||||||||||||||||
| vlseg8e16.v v8,(t0),v0.t | 32.13 | 64.14 | 127.13 | 32.13 | 64.13 | 127.14 | 32.14 | 64.13 | 32.14 | |||||||||||||||||||
| vlseg8e32.v v8,(t0) | 32.18 | 63.17 | 32.17 | 63.15 | 32.20 | 63.16 | 32.19 | |||||||||||||||||||||
| vlseg8e32.v v8,(t0),v0.t | 32.19 | 63.16 | 32.19 | 63.17 | 32.19 | 63.17 | 32.19 | |||||||||||||||||||||
| vlseg8e64.v v8,(t0) | 31.12 | 31.12 | 31.12 | 31.12 | ||||||||||||||||||||||||
| vlseg8e64.v v8,(t0),v0.t | 31.12 | 31.12 | 31.12 | 31.12 | ||||||||||||||||||||||||
| vsseg8e8.v v8,(t0) | 32.00 | 64.00 | 129.50 | 260.65 | 32.00 | 64.00 | 128.36 | 32.00 | 64.00 | 32.00 | ||||||||||||||||||
| vsseg8e8.v v8,(t0),v0.t | 32.00 | 64.00 | 131.48 | 265.21 | 32.00 | 64.00 | 128.25 | 32.00 | 64.00 | 32.00 | ||||||||||||||||||
| vsseg8e16.v v8,(t0) | 32.00 | 64.23 | 134.75 | 32.00 | 65.43 | 128.30 | 32.00 | 64.00 | 32.00 | |||||||||||||||||||
| vsseg8e16.v v8,(t0),v0.t | 32.00 | 64.14 | 137.13 | 32.00 | 64.82 | 138.24 | 32.01 | 66.28 | 32.00 | |||||||||||||||||||
| vsseg8e32.v v8,(t0) | 33.22 | 66.75 | 34.07 | 64.00 | 33.69 | 64.17 | 33.22 | |||||||||||||||||||||
| vsseg8e32.v v8,(t0),v0.t | 32.71 | 73.73 | 33.27 | 67.14 | 32.90 | 66.04 | 32.70 | |||||||||||||||||||||
| vsseg8e64.v v8,(t0) | 34.57 | 34.59 | 33.98 | 33.99 | ||||||||||||||||||||||||
| vsseg8e64.v v8,(t0),v0.t | 32.10 | 32.20 | 32.64 | 33.77 | ||||||||||||||||||||||||
| vlseg2e8ff.v v8,(t0) | 4.87 | 4.87 | 4.65 | 7.35 | 12.31 | 27.90 | 4.87 | 4.87 | 4.65 | 4.68 | 12.67 | 4.87 | 4.87 | 2.95 | 4.68 | 4.87 | 2.22 | 2.86 | ||||||||||
| vlseg2e8ff.v v8,(t0),v0.t | 4.87 | 4.87 | 4.62 | 7.36 | 12.60 | 27.74 | 4.87 | 4.87 | 4.59 | 4.84 | 12.77 | 4.87 | 4.87 | 2.77 | 4.75 | 4.87 | 2.22 | 2.90 | ||||||||||
| vlseg2e16ff.v v8,(t0) | 4.87 | 4.59 | 7.42 | 4.87 | 4.44 | 7.30 | 12.26 | 27.75 | 4.87 | 4.62 | 4.75 | 12.69 | 4.87 | 2.80 | 4.88 | |||||||||||||
| vlseg2e16ff.v v8,(t0),v0.t | 4.87 | 4.59 | 7.30 | 4.87 | 4.80 | 7.33 | 12.49 | 28.10 | 4.87 | 4.50 | 4.68 | 12.69 | 4.87 | 2.77 | 4.81 | |||||||||||||
| vlseg2e32ff.v v8,(t0) | 4.62 | 7.28 | 4.59 | 7.35 | 4.62 | 7.34 | 12.60 | 27.95 | 4.62 | 4.68 | 12.86 | |||||||||||||||||
| vlseg2e32ff.v v8,(t0),v0.t | 4.56 | 7.34 | 4.62 | 7.33 | 4.62 | 7.41 | 12.43 | 28.55 | 4.65 | 4.72 | 12.82 | |||||||||||||||||
| vlseg2e64ff.v v8,(t0) | 7.31 | 7.42 | 7.45 | 7.42 | 12.25 | 28.60 | ||||||||||||||||||||||
| vlseg2e64ff.v v8,(t0),v0.t | 7.41 | 7.41 | 7.41 | 7.41 | 12.54 | 28.40 | ||||||||||||||||||||||
| vlseg3e8ff.v v8,(t0) | 5.08 | 4.90 | 5.43 | 8.96 | 19.46 | 5.06 | 4.98 | 5.37 | 8.73 | 5.08 | 4.92 | 5.35 | 5.06 | 5.12 | ||||||||||||||
| vlseg3e8ff.v v8,(t0),v0.t | 5.06 | 4.93 | 5.65 | 8.63 | 19.46 | 5.06 | 4.87 | 5.66 | 8.63 | 5.03 | 4.90 | 5.35 | 5.07 | 5.17 | ||||||||||||||
| vlseg3e16ff.v v8,(t0) | 4.94 | 5.20 | 9.22 | 4.84 | 5.37 | 8.53 | 19.39 | 5.00 | 5.36 | 8.73 | 5.10 | 5.38 | ||||||||||||||||
| vlseg3e16ff.v v8,(t0),v0.t | 4.91 | 5.59 | 9.94 | 4.98 | 5.54 | 8.76 | 19.52 | 4.81 | 5.65 | 8.62 | 5.18 | 5.36 | ||||||||||||||||
| vlseg3e32ff.v v8,(t0) | 5.41 | 8.45 | 5.47 | 9.07 | 5.30 | 9.43 | 19.40 | 5.35 | 8.62 | |||||||||||||||||||
| vlseg3e32ff.v v8,(t0),v0.t | 5.41 | 9.57 | 5.56 | 9.10 | 5.59 | 10.24 | 19.41 | 5.53 | 8.61 | |||||||||||||||||||
| vlseg3e64ff.v v8,(t0) | 10.13 | 10.12 | 10.13 | 10.14 | 19.47 | |||||||||||||||||||||||
| vlseg3e64ff.v v8,(t0),v0.t | 10.14 | 10.14 | 10.13 | 10.12 | 19.47 | |||||||||||||||||||||||
| vlseg4e8ff.v v8,(t0) | 5.37 | 5.34 | 7.18 | 11.11 | 28.10 | 5.37 | 5.35 | 7.10 | 10.96 | 5.44 | 5.35 | 6.99 | 5.49 | 5.92 | ||||||||||||||
| vlseg4e8ff.v v8,(t0),v0.t | 5.51 | 5.34 | 7.26 | 11.20 | 28.30 | 5.35 | 5.34 | 7.18 | 10.87 | 5.46 | 5.35 | 6.99 | 5.32 | 6.00 | ||||||||||||||
| vlseg4e16ff.v v8,(t0) | 5.34 | 7.43 | 11.12 | 5.35 | 7.26 | 11.15 | 27.82 | 5.36 | 7.43 | 11.06 | 5.35 | 6.97 | ||||||||||||||||
| vlseg4e16ff.v v8,(t0),v0.t | 5.37 | 7.10 | 11.15 | 5.36 | 7.43 | 11.14 | 27.90 | 5.33 | 7.26 | 11.03 | 5.35 | 6.96 | ||||||||||||||||
| vlseg4e32ff.v v8,(t0) | 7.34 | 11.15 | 7.10 | 11.14 | 7.10 | 11.21 | 27.52 | 7.34 | 10.84 | |||||||||||||||||||
| vlseg4e32ff.v v8,(t0),v0.t | 7.10 | 11.20 | 7.26 | 11.15 | 7.26 | 11.14 | 28.21 | 7.10 | 11.00 | |||||||||||||||||||
| vlseg4e64ff.v v8,(t0) | 12.00 | 11.60 | 11.48 | 11.86 | 26.47 | |||||||||||||||||||||||
| vlseg4e64ff.v v8,(t0),v0.t | 11.86 | 11.73 | 12.00 | 11.73 | 26.36 | |||||||||||||||||||||||
| vlseg5e8ff.v v8,(t0) | 20.00 | 40.00 | 80.00 | 159.39 | 20.00 | 40.00 | 80.00 | 20.00 | 40.00 | 20.00 | ||||||||||||||||||
| vlseg5e8ff.v v8,(t0),v0.t | 20.00 | 40.00 | 80.00 | 159.39 | 20.00 | 40.00 | 80.00 | 20.00 | 40.00 | 20.00 | ||||||||||||||||||
| vlseg5e16ff.v v8,(t0) | 20.00 | 40.00 | 79.20 | 20.00 | 40.00 | 79.25 | 20.00 | 40.00 | 20.00 | |||||||||||||||||||
| vlseg5e16ff.v v8,(t0),v0.t | 20.00 | 40.00 | 79.23 | 20.00 | 40.00 | 79.22 | 20.00 | 40.00 | 20.00 | |||||||||||||||||||
| vlseg5e32ff.v v8,(t0) | 20.00 | 39.35 | 20.00 | 39.33 | 20.00 | 39.42 | 20.00 | |||||||||||||||||||||
| vlseg5e32ff.v v8,(t0),v0.t | 20.00 | 39.32 | 20.00 | 39.34 | 20.00 | 39.33 | 20.00 | |||||||||||||||||||||
| vlseg5e64ff.v v8,(t0) | 19.56 | 19.60 | 19.55 | 19.58 | ||||||||||||||||||||||||
| vlseg5e64ff.v v8,(t0),v0.t | 19.61 | 19.56 | 19.55 | 19.57 | ||||||||||||||||||||||||
| vlseg6e8ff.v v8,(t0) | 24.37 | 48.37 | 96.37 | 191.35 | 24.37 | 48.37 | 96.37 | 24.37 | 48.37 | 24.37 | ||||||||||||||||||
| vlseg6e8ff.v v8,(t0),v0.t | 24.37 | 48.37 | 96.37 | 191.37 | 24.37 | 48.37 | 96.37 | 24.37 | 48.37 | 24.37 | ||||||||||||||||||
| vlseg6e16ff.v v8,(t0) | 24.37 | 48.37 | 95.12 | 24.37 | 48.37 | 95.18 | 24.37 | 48.37 | 24.37 | |||||||||||||||||||
| vlseg6e16ff.v v8,(t0),v0.t | 24.37 | 48.37 | 95.12 | 24.37 | 48.37 | 95.14 | 24.37 | 48.37 | 24.37 | |||||||||||||||||||
| vlseg6e32ff.v v8,(t0) | 24.37 | 47.31 | 24.37 | 47.33 | 24.37 | 47.35 | 24.37 | |||||||||||||||||||||
| vlseg6e32ff.v v8,(t0),v0.t | 24.37 | 47.40 | 24.37 | 47.35 | 24.37 | 47.30 | 24.37 | |||||||||||||||||||||
| vlseg6e64ff.v v8,(t0) | 23.36 | 23.16 | 23.32 | 23.23 | ||||||||||||||||||||||||
| vlseg6e64ff.v v8,(t0),v0.t | 23.27 | 23.23 | 23.23 | 23.28 | ||||||||||||||||||||||||
| vlseg7e8ff.v v8,(t0) | 28.25 | 56.25 | 112.25 | 223.35 | 28.25 | 56.25 | 112.25 | 28.25 | 56.25 | 28.25 | ||||||||||||||||||
| vlseg7e8ff.v v8,(t0),v0.t | 28.25 | 56.25 | 112.25 | 223.35 | 28.25 | 56.25 | 112.25 | 28.25 | 56.25 | 28.25 | ||||||||||||||||||
| vlseg7e16ff.v v8,(t0) | 28.25 | 56.25 | 111.12 | 28.25 | 56.25 | 111.11 | 28.25 | 56.25 | 28.25 | |||||||||||||||||||
| vlseg7e16ff.v v8,(t0),v0.t | 28.25 | 56.25 | 111.12 | 28.25 | 56.25 | 111.12 | 28.25 | 56.25 | 28.25 | |||||||||||||||||||
| vlseg7e32ff.v v8,(t0) | 28.25 | 54.98 | 28.25 | 55.10 | 28.25 | 55.03 | 28.25 | |||||||||||||||||||||
| vlseg7e32ff.v v8,(t0),v0.t | 28.25 | 55.05 | 28.25 | 55.01 | 28.25 | 55.04 | 28.25 | |||||||||||||||||||||
| vlseg7e64ff.v v8,(t0) | 27.19 | 27.26 | 27.24 | 27.20 | ||||||||||||||||||||||||
| vlseg7e64ff.v v8,(t0),v0.t | 27.23 | 27.19 | 27.21 | 27.20 | ||||||||||||||||||||||||
| vlseg8e8ff.v v8,(t0) | 32.15 | 64.12 | 128.12 | 255.18 | 32.15 | 64.12 | 128.12 | 32.15 | 64.12 | 32.15 | ||||||||||||||||||
| vlseg8e8ff.v v8,(t0),v0.t | 32.15 | 64.12 | 128.12 | 255.18 | 32.15 | 64.12 | 128.12 | 32.15 | 64.12 | 32.15 | ||||||||||||||||||
| vlseg8e16ff.v v8,(t0) | 32.13 | 64.13 | 127.14 | 32.13 | 64.13 | 127.13 | 32.13 | 64.13 | 32.14 | |||||||||||||||||||
| vlseg8e16ff.v v8,(t0),v0.t | 32.13 | 64.13 | 127.13 | 32.13 | 64.13 | 127.13 | 32.13 | 64.13 | 32.13 | |||||||||||||||||||
| vlseg8e32ff.v v8,(t0) | 32.19 | 63.17 | 32.18 | 63.17 | 32.17 | 63.17 | 32.21 | |||||||||||||||||||||
| vlseg8e32ff.v v8,(t0),v0.t | 32.18 | 63.18 | 32.19 | 63.16 | 32.16 | 63.16 | 32.20 | |||||||||||||||||||||
| vlseg8e64ff.v v8,(t0) | 31.12 | 31.12 | 31.12 | 31.12 | ||||||||||||||||||||||||
| vlseg8e64ff.v v8,(t0),v0.t | 31.12 | 31.12 | 31.12 | 31.12 | ||||||||||||||||||||||||
| vlsseg2e8.v v8,(t2),t3 | 5.24 | 6.04 | 11.77 | 25.00 | 59.01 | 137.01 | 5.18 | 6.01 | 11.07 | 25.00 | 59.01 | 5.16 | 6.10 | 9.50 | 25.00 | 5.24 | 5.50 | 9.50 | ||||||||||
| vlsseg2e8.v v8,(t2),t3,v0.t | 5.16 | 6.06 | 11.29 | 25.00 | 59.01 | 137.01 | 5.21 | 6.12 | 11.72 | 25.00 | 59.01 | 5.19 | 6.10 | 9.50 | 25.00 | 5.20 | 5.35 | 9.50 | ||||||||||
| vlsseg2e8.v v8,(t2),x0 | 5.34 | 5.62 | 9.00 | 19.50 | 55.51 | 130.00 | 5.32 | 5.62 | 9.00 | 19.50 | 55.50 | 5.22 | 5.62 | 9.00 | 19.50 | 5.33 | 5.00 | 9.00 | ||||||||||
| vlsseg2e8.v v8,(t2),x0,v0.t | 5.25 | 5.62 | 9.00 | 19.50 | 55.50 | 130.00 | 5.30 | 5.62 | 9.00 | 19.50 | 55.50 | 5.22 | 5.62 | 9.00 | 19.50 | 5.38 | 5.00 | 10.21 | ||||||||||
| vlsseg2e8.v v8,(t2),t1/*-1*/ | 5.11 | 5.87 | 9.50 | 24.45 | 60.00 | 137.01 | 5.02 | 6.02 | 9.50 | 25.95 | 60.00 | 5.48 | 5.97 | 9.50 | 25.15 | 4.93 | 5.32 | 9.50 | ||||||||||
| vlsseg2e8.v v8,(t2),t1/*-1*/,v0.t | 5.20 | 5.92 | 9.50 | 25.72 | 60.00 | 137.01 | 5.30 | 5.92 | 9.50 | 26.10 | 60.00 | 5.11 | 5.94 | 9.50 | 25.25 | 5.15 | 5.32 | 9.50 | ||||||||||
| vlsseg2e16.v v8,(t2),t3 | 5.18 | 6.38 | 14.00 | 5.12 | 6.79 | 14.00 | 35.70 | 81.25 | 5.18 | 6.48 | 14.00 | 35.55 | 5.14 | 5.50 | 14.00 | |||||||||||||
| vlsseg2e16.v v8,(t2),t3,v0.t | 5.16 | 6.33 | 14.00 | 5.15 | 6.12 | 14.00 | 35.80 | 81.45 | 5.16 | 6.48 | 14.00 | 35.45 | 5.14 | 5.50 | 14.00 | |||||||||||||
| vlsseg2e16.v v8,(t2),x0 | 5.31 | 5.62 | 11.50 | 5.44 | 5.62 | 11.50 | 32.00 | 75.43 | 5.40 | 5.62 | 11.50 | 32.00 | 5.14 | 5.00 | 11.50 | |||||||||||||
| vlsseg2e16.v v8,(t2),x0,v0.t | 5.33 | 5.62 | 11.50 | 5.40 | 5.62 | 11.50 | 32.00 | 75.49 | 5.38 | 5.62 | 11.50 | 32.00 | 5.25 | 5.00 | 11.50 | |||||||||||||
| vlsseg2e16.v v8,(t2),t1/*-1*/ | 5.17 | 6.12 | 13.64 | 5.23 | 6.12 | 13.78 | 35.90 | 80.25 | 5.27 | 6.12 | 13.46 | 35.90 | 4.85 | 5.50 | 13.36 | |||||||||||||
| vlsseg2e16.v v8,(t2),t1/*-1*/,v0.t | 5.10 | 6.12 | 13.76 | 5.02 | 6.12 | 13.76 | 35.90 | 80.20 | 5.03 | 6.12 | 13.91 | 35.87 | 4.87 | 5.50 | 13.70 | |||||||||||||
| vlsseg2e32.v v8,(t2),t3 | 4.88 | 9.87 | 4.76 | 9.69 | 4.87 | 9.71 | 22.00 | 51.86 | 4.88 | 9.75 | 22.00 | |||||||||||||||||
| vlsseg2e32.v v8,(t2),t3,v0.t | 5.07 | 9.94 | 4.82 | 9.72 | 5.04 | 9.89 | 22.01 | 51.95 | 5.01 | 9.80 | 21.95 | |||||||||||||||||
| vlsseg2e32.v v8,(t2),x0 | 5.28 | 9.12 | 5.39 | 9.00 | 5.17 | 9.00 | 20.51 | 46.01 | 5.36 | 9.04 | 20.51 | |||||||||||||||||
| vlsseg2e32.v v8,(t2),x0,v0.t | 5.18 | 9.00 | 5.13 | 9.00 | 5.28 | 9.00 | 21.66 | 47.49 | 5.43 | 9.07 | 20.51 | |||||||||||||||||
| vlsseg2e32.v v8,(t2),t1/*-1*/ | 4.80 | 8.92 | 4.83 | 8.90 | 4.81 | 8.95 | 22.62 | 52.33 | 4.81 | 8.92 | 22.87 | |||||||||||||||||
| vlsseg2e32.v v8,(t2),t1/*-1*/,v0.t | 4.86 | 8.95 | 4.78 | 8.95 | 4.83 | 8.95 | 23.50 | 52.55 | 4.81 | 8.92 | 23.11 | |||||||||||||||||
| vlsseg2e64.v v8,(t2),t3 | 5.84 | 6.08 | 5.86 | 5.86 | 15.00 | 32.07 | ||||||||||||||||||||||
| vlsseg2e64.v v8,(t2),t3,v0.t | 5.94 | 5.88 | 5.84 | 5.90 | 15.00 | 32.07 | ||||||||||||||||||||||
| vlsseg2e64.v v8,(t2),x0 | 7.16 | 7.69 | 6.79 | 7.69 | 16.28 | 31.61 | ||||||||||||||||||||||
| vlsseg2e64.v v8,(t2),x0,v0.t | 6.51 | 8.06 | 7.56 | 6.64 | 15.10 | 42.41 | ||||||||||||||||||||||
| vlsseg2e64.v v8,(t2),t1/*-1*/ | 5.78 | 5.78 | 5.82 | 5.84 | 15.00 | 32.07 | ||||||||||||||||||||||
| vlsseg2e64.v v8,(t2),t1/*-1*/,v0.t | 5.88 | 5.95 | 5.82 | 5.97 | 15.00 | 32.07 | ||||||||||||||||||||||
| vssseg2e8.v v8,(t2),t3 | 4.20 | 8.70 | 17.00 | 34.00 | 68.00 | 136.00 | 4.05 | 9.00 | 17.00 | 34.00 | 68.00 | 4.00 | 9.00 | 17.00 | 34.00 | 4.00 | 9.00 | 17.00 | ||||||||||
| vssseg2e8.v v8,(t2),t3,v0.t | 4.20 | 8.85 | 17.00 | 34.00 | 68.00 | 136.00 | 4.00 | 8.75 | 17.00 | 34.00 | 68.00 | 4.10 | 8.85 | 17.00 | 34.00 | 4.00 | 8.80 | 17.00 | ||||||||||
| vssseg2e8.v v8,(t2),x0 | 4.00 | 8.00 | 16.00 | 32.00 | 64.00 | 128.00 | 4.00 | 8.00 | 16.00 | 32.00 | 64.00 | 4.00 | 8.00 | 16.00 | 32.00 | 4.00 | 8.00 | 16.00 | ||||||||||
| vssseg2e8.v v8,(t2),x0,v0.t | 4.00 | 8.00 | 16.00 | 32.00 | 64.00 | 128.00 | 4.00 | 8.00 | 16.00 | 32.00 | 64.00 | 4.00 | 8.00 | 16.00 | 32.00 | 4.00 | 8.00 | 16.00 | ||||||||||
| vssseg2e8.v v8,(t2),t1/*-1*/ | 4.65 | 8.90 | 17.00 | 34.00 | 68.00 | 137.73 | 4.75 | 8.80 | 17.00 | 34.00 | 68.00 | 4.65 | 8.40 | 17.00 | 34.00 | 4.55 | 8.55 | 17.00 | ||||||||||
| vssseg2e8.v v8,(t2),t1/*-1*/,v0.t | 4.25 | 8.60 | 17.00 | 34.00 | 68.00 | 140.33 | 4.50 | 8.50 | 17.00 | 34.00 | 68.00 | 4.35 | 8.55 | 17.00 | 34.00 | 4.70 | 8.55 | 17.00 | ||||||||||
| vssseg2e16.v v8,(t2),t3 | 4.20 | 9.00 | 18.00 | 5.15 | 9.00 | 18.00 | 36.00 | 72.00 | 4.87 | 9.00 | 18.00 | 36.00 | 4.00 | 9.00 | 18.00 | |||||||||||||
| vssseg2e16.v v8,(t2),t3,v0.t | 4.00 | 9.00 | 18.00 | 4.30 | 9.00 | 18.00 | 37.41 | 72.84 | 4.35 | 9.00 | 18.00 | 36.00 | 4.00 | 9.00 | 18.00 | |||||||||||||
| vssseg2e16.v v8,(t2),x0 | 4.00 | 8.00 | 16.00 | 4.00 | 8.00 | 16.00 | 32.00 | 64.00 | 4.00 | 8.00 | 16.00 | 32.00 | 4.00 | 8.00 | 16.00 | |||||||||||||
| vssseg2e16.v v8,(t2),x0,v0.t | 4.00 | 8.00 | 16.00 | 4.00 | 8.00 | 16.00 | 32.00 | 64.00 | 4.00 | 8.00 | 16.00 | 32.00 | 4.00 | 8.00 | 16.00 | |||||||||||||
| vssseg2e16.v v8,(t2),t1/*-1*/ | 4.90 | 9.00 | 18.00 | 4.60 | 9.00 | 18.00 | 36.06 | 74.34 | 5.00 | 9.00 | 18.00 | 36.00 | 4.85 | 9.00 | 18.00 | |||||||||||||
| vssseg2e16.v v8,(t2),t1/*-1*/,v0.t | 4.65 | 9.00 | 18.00 | 4.74 | 9.00 | 18.00 | 36.00 | 77.15 | 4.80 | 9.00 | 18.00 | 36.00 | 4.75 | 9.00 | 18.00 | |||||||||||||
| vssseg2e32.v v8,(t2),t3 | 5.00 | 10.83 | 5.00 | 10.36 | 5.00 | 10.00 | 20.00 | 41.31 | 5.00 | 10.00 | 20.89 | |||||||||||||||||
| vssseg2e32.v v8,(t2),t3,v0.t | 6.75 | 10.00 | 5.00 | 10.00 | 5.00 | 10.00 | 21.67 | 40.30 | 5.00 | 10.15 | 20.78 | |||||||||||||||||
| vssseg2e32.v v8,(t2),x0 | 4.00 | 8.00 | 4.00 | 8.40 | 4.00 | 8.00 | 16.00 | 32.00 | 4.00 | 8.00 | 16.00 | |||||||||||||||||
| vssseg2e32.v v8,(t2),x0,v0.t | 4.00 | 8.00 | 4.60 | 8.00 | 4.00 | 9.20 | 16.00 | 32.00 | 4.40 | 8.00 | 16.00 | |||||||||||||||||
| vssseg2e32.v v8,(t2),t1/*-1*/ | 5.00 | 10.00 | 5.00 | 10.00 | 5.00 | 10.00 | 20.64 | 43.25 | 5.00 | 10.00 | 21.37 | |||||||||||||||||
| vssseg2e32.v v8,(t2),t1/*-1*/,v0.t | 5.00 | 10.00 | 5.94 | 10.00 | 5.00 | 10.00 | 20.00 | 44.02 | 5.00 | 10.00 | 20.00 | |||||||||||||||||
| vssseg2e64.v v8,(t2),t3 | 8.00 | 8.00 | 8.00 | 8.00 | 16.00 | 32.57 | ||||||||||||||||||||||
| vssseg2e64.v v8,(t2),t3,v0.t | 8.00 | 8.00 | 8.00 | 8.00 | 16.00 | 32.53 | ||||||||||||||||||||||
| vssseg2e64.v v8,(t2),x0 | 8.00 | 8.00 | 8.00 | 8.00 | 16.00 | 32.00 | ||||||||||||||||||||||
| vssseg2e64.v v8,(t2),x0,v0.t | 8.00 | 8.00 | 8.00 | 8.00 | 16.00 | 32.00 | ||||||||||||||||||||||
| vssseg2e64.v v8,(t2),t1/*-1*/ | 8.00 | 8.00 | 8.00 | 8.00 | 16.00 | 32.58 | ||||||||||||||||||||||
| vssseg2e64.v v8,(t2),t1/*-1*/,v0.t | 8.00 | 8.00 | 8.00 | 8.00 | 16.00 | 34.32 | ||||||||||||||||||||||
| vlsseg3e8.v v8,(t2),t3 | 5.44 | 6.33 | 12.56 | 28.10 | 68.01 | 5.52 | 6.33 | 12.56 | 27.50 | 5.48 | 6.33 | 12.70 | 5.48 | 6.80 | ||||||||||||||
| vlsseg3e8.v v8,(t2),t3,v0.t | 5.60 | 6.33 | 12.41 | 29.00 | 68.01 | 5.49 | 6.33 | 12.51 | 29.00 | 5.55 | 6.33 | 12.63 | 5.46 | 6.82 | ||||||||||||||
| vlsseg3e8.v v8,(t2),x0 | 4.95 | 6.25 | 9.83 | 22.00 | 60.63 | 5.00 | 6.25 | 9.83 | 22.00 | 4.91 | 6.25 | 9.83 | 4.89 | 6.25 | ||||||||||||||
| vlsseg3e8.v v8,(t2),x0,v0.t | 4.95 | 6.25 | 9.83 | 22.00 | 60.57 | 4.98 | 6.25 | 9.83 | 22.00 | 5.03 | 6.25 | 9.83 | 4.92 | 6.25 | ||||||||||||||
| vlsseg3e8.v v8,(t2),t1/*-1*/ | 5.17 | 6.68 | 10.83 | 28.45 | 68.01 | 5.20 | 6.74 | 10.83 | 29.02 | 5.18 | 6.68 | 10.83 | 5.21 | 7.05 | ||||||||||||||
| vlsseg3e8.v v8,(t2),t1/*-1*/,v0.t | 5.22 | 6.60 | 10.83 | 29.22 | 68.01 | 5.23 | 6.77 | 10.83 | 29.80 | 5.21 | 6.74 | 10.83 | 5.21 | 6.90 | ||||||||||||||
| vlsseg3e16.v v8,(t2),t3 | 5.05 | 7.28 | 18.17 | 5.06 | 7.25 | 17.65 | 43.08 | 5.06 | 7.25 | 17.85 | 5.06 | 7.25 | ||||||||||||||||
| vlsseg3e16.v v8,(t2),t3,v0.t | 5.06 | 7.32 | 18.35 | 5.06 | 7.25 | 18.12 | 43.47 | 5.06 | 7.25 | 17.95 | 5.06 | 7.25 | ||||||||||||||||
| vlsseg3e16.v v8,(t2),x0 | 5.03 | 6.25 | 12.64 | 4.90 | 6.25 | 11.50 | 37.00 | 4.89 | 6.25 | 11.50 | 5.01 | 6.25 | ||||||||||||||||
| vlsseg3e16.v v8,(t2),x0,v0.t | 4.93 | 6.25 | 11.50 | 4.97 | 6.25 | 11.50 | 37.00 | 4.90 | 6.25 | 11.55 | 4.96 | 6.25 | ||||||||||||||||
| vlsseg3e16.v v8,(t2),t1/*-1*/ | 5.18 | 6.83 | 14.14 | 5.18 | 6.83 | 14.39 | 42.31 | 5.23 | 6.83 | 14.18 | 5.20 | 7.25 | ||||||||||||||||
| vlsseg3e16.v v8,(t2),t1/*-1*/,v0.t | 5.17 | 6.83 | 14.13 | 5.21 | 6.83 | 14.22 | 42.55 | 5.23 | 6.83 | 14.25 | 5.23 | 7.25 | ||||||||||||||||
| vlsseg3e32.v v8,(t2),t3 | 5.25 | 11.00 | 5.25 | 11.00 | 5.25 | 11.00 | 31.90 | 5.25 | 11.00 | |||||||||||||||||||
| vlsseg3e32.v v8,(t2),t3,v0.t | 5.25 | 11.00 | 5.25 | 11.00 | 5.25 | 11.00 | 32.00 | 5.25 | 11.00 | |||||||||||||||||||
| vlsseg3e32.v v8,(t2),x0 | 5.09 | 9.75 | 5.10 | 9.75 | 5.60 | 10.25 | 30.10 | 5.10 | 9.62 | |||||||||||||||||||
| vlsseg3e32.v v8,(t2),x0,v0.t | 5.38 | 9.62 | 5.24 | 9.62 | 5.38 | 9.62 | 29.65 | 4.96 | 10.00 | |||||||||||||||||||
| vlsseg3e32.v v8,(t2),t1/*-1*/ | 5.25 | 10.45 | 5.25 | 10.52 | 5.25 | 10.45 | 31.10 | 5.25 | 10.38 | |||||||||||||||||||
| vlsseg3e32.v v8,(t2),t1/*-1*/,v0.t | 5.25 | 10.52 | 5.25 | 10.31 | 5.25 | 10.42 | 31.20 | 5.25 | 10.52 | |||||||||||||||||||
| vlsseg3e64.v v8,(t2),t3 | 10.43 | 10.24 | 10.43 | 10.28 | 24.00 | |||||||||||||||||||||||
| vlsseg3e64.v v8,(t2),t3,v0.t | 10.48 | 10.28 | 10.24 | 10.19 | 24.00 | |||||||||||||||||||||||
| vlsseg3e64.v v8,(t2),x0 | 11.19 | 11.11 | 11.26 | 10.72 | 23.48 | |||||||||||||||||||||||
| vlsseg3e64.v v8,(t2),x0,v0.t | 10.80 | 10.95 | 10.65 | 11.50 | 23.47 | |||||||||||||||||||||||
| vlsseg3e64.v v8,(t2),t1/*-1*/ | 9.38 | 9.37 | 9.37 | 9.37 | 22.00 | |||||||||||||||||||||||
| vlsseg3e64.v v8,(t2),t1/*-1*/,v0.t | 9.37 | 9.37 | 9.37 | 9.37 | 22.00 | |||||||||||||||||||||||
| vssseg3e8.v v8,(t2),t3 | 4.40 | 9.00 | 18.00 | 36.00 | 82.65 | 4.20 | 9.00 | 18.00 | 36.00 | 4.35 | 9.00 | 18.00 | 4.25 | 9.21 | ||||||||||||||
| vssseg3e8.v v8,(t2),t3,v0.t | 4.05 | 9.00 | 18.00 | 36.00 | 72.01 | 4.60 | 9.00 | 18.00 | 36.49 | 4.50 | 9.00 | 18.00 | 4.20 | 9.05 | ||||||||||||||
| vssseg3e8.v v8,(t2),x0 | 4.00 | 8.00 | 16.00 | 32.00 | 64.00 | 4.00 | 8.00 | 16.00 | 32.00 | 4.00 | 8.00 | 16.00 | 4.00 | 8.00 | ||||||||||||||
| vssseg3e8.v v8,(t2),x0,v0.t | 4.00 | 8.00 | 16.00 | 32.00 | 64.00 | 4.00 | 8.00 | 16.00 | 32.00 | 4.00 | 8.00 | 16.00 | 4.00 | 8.00 | ||||||||||||||
| vssseg3e8.v v8,(t2),t1/*-1*/ | 4.80 | 9.80 | 18.00 | 36.00 | 72.73 | 5.50 | 9.50 | 18.00 | 36.00 | 5.20 | 9.00 | 18.07 | 5.20 | 9.20 | ||||||||||||||
| vssseg3e8.v v8,(t2),t1/*-1*/,v0.t | 5.80 | 9.10 | 18.00 | 36.00 | 72.01 | 5.10 | 9.60 | 18.00 | 36.00 | 5.40 | 9.10 | 18.00 | 5.10 | 9.60 | ||||||||||||||
| vssseg3e16.v v8,(t2),t3 | 5.00 | 10.00 | 20.22 | 5.35 | 11.60 | 20.00 | 40.00 | 5.00 | 10.00 | 20.67 | 5.00 | 10.00 | ||||||||||||||||
| vssseg3e16.v v8,(t2),t3,v0.t | 5.51 | 10.65 | 20.24 | 5.15 | 10.00 | 20.00 | 41.16 | 5.00 | 10.00 | 20.00 | 5.00 | 10.00 | ||||||||||||||||
| vssseg3e16.v v8,(t2),x0 | 5.00 | 8.00 | 16.00 | 5.00 | 8.00 | 16.00 | 32.00 | 5.00 | 8.00 | 16.00 | 5.00 | 8.00 | ||||||||||||||||
| vssseg3e16.v v8,(t2),x0,v0.t | 5.00 | 8.00 | 16.00 | 5.00 | 8.00 | 16.00 | 33.60 | 5.00 | 8.00 | 16.00 | 5.15 | 8.00 | ||||||||||||||||
| vssseg3e16.v v8,(t2),t1/*-1*/ | 5.55 | 10.00 | 20.00 | 6.40 | 11.42 | 21.45 | 40.00 | 5.50 | 10.00 | 20.52 | 5.50 | 10.00 | ||||||||||||||||
| vssseg3e16.v v8,(t2),t1/*-1*/,v0.t | 6.08 | 10.00 | 20.00 | 5.45 | 10.00 | 20.00 | 40.00 | 5.75 | 10.00 | 20.00 | 5.45 | 10.00 | ||||||||||||||||
| vssseg3e32.v v8,(t2),t3 | 7.32 | 14.00 | 7.00 | 14.00 | 7.00 | 14.00 | 28.21 | 7.95 | 14.00 | |||||||||||||||||||
| vssseg3e32.v v8,(t2),t3,v0.t | 7.93 | 14.00 | 7.69 | 14.00 | 7.00 | 14.00 | 28.10 | 7.00 | 14.00 | |||||||||||||||||||
| vssseg3e32.v v8,(t2),x0 | 7.40 | 15.00 | 7.45 | 14.60 | 7.45 | 15.00 | 29.40 | 7.35 | 15.00 | |||||||||||||||||||
| vssseg3e32.v v8,(t2),x0,v0.t | 7.45 | 14.70 | 7.30 | 14.90 | 7.25 | 14.70 | 28.80 | 7.25 | 15.00 | |||||||||||||||||||
| vssseg3e32.v v8,(t2),t1/*-1*/ | 7.57 | 14.22 | 7.00 | 14.00 | 7.02 | 15.25 | 28.10 | 7.05 | 14.05 | |||||||||||||||||||
| vssseg3e32.v v8,(t2),t1/*-1*/,v0.t | 7.00 | 14.85 | 7.63 | 14.00 | 7.00 | 14.00 | 28.49 | 7.00 | 14.00 | |||||||||||||||||||
| vssseg3e64.v v8,(t2),t3 | 12.00 | 12.00 | 12.00 | 12.00 | 24.00 | |||||||||||||||||||||||
| vssseg3e64.v v8,(t2),t3,v0.t | 12.00 | 12.00 | 12.00 | 12.00 | 24.00 | |||||||||||||||||||||||
| vssseg3e64.v v8,(t2),x0 | 12.00 | 12.00 | 12.00 | 12.00 | 24.00 | |||||||||||||||||||||||
| vssseg3e64.v v8,(t2),x0,v0.t | 12.00 | 12.00 | 12.00 | 12.00 | 24.00 | |||||||||||||||||||||||
| vssseg3e64.v v8,(t2),t1/*-1*/ | 12.00 | 12.00 | 12.00 | 12.00 | 24.00 | |||||||||||||||||||||||
| vssseg3e64.v v8,(t2),t1/*-1*/,v0.t | 12.00 | 12.00 | 12.00 | 12.00 | 24.00 | |||||||||||||||||||||||
| vlsseg4e8.v v8,(t2),t3 | 5.84 | 6.97 | 13.06 | 27.90 | 72.01 | 5.92 | 6.85 | 13.10 | 29.40 | 5.90 | 6.90 | 13.12 | 5.57 | 6.90 | ||||||||||||||
| vlsseg4e8.v v8,(t2),t3,v0.t | 5.92 | 6.85 | 13.43 | 28.20 | 72.01 | 5.69 | 7.05 | 13.23 | 28.20 | 5.87 | 6.92 | 13.26 | 5.89 | 6.87 | ||||||||||||||
| vlsseg4e8.v v8,(t2),x0 | 5.54 | 6.25 | 10.25 | 22.00 | 63.00 | 5.75 | 6.25 | 10.25 | 22.00 | 5.48 | 6.25 | 10.25 | 5.49 | 6.56 | ||||||||||||||
| vlsseg4e8.v v8,(t2),x0,v0.t | 5.49 | 6.25 | 10.25 | 22.00 | 63.00 | 5.59 | 6.25 | 10.25 | 22.00 | 5.64 | 6.25 | 10.25 | 5.54 | 6.56 | ||||||||||||||
| vlsseg4e8.v v8,(t2),t1/*-1*/ | 6.09 | 7.07 | 11.75 | 29.50 | 72.01 | 6.09 | 7.55 | 11.75 | 29.70 | 6.08 | 7.35 | 11.75 | 6.09 | 7.42 | ||||||||||||||
| vlsseg4e8.v v8,(t2),t1/*-1*/,v0.t | 6.07 | 7.40 | 11.75 | 30.42 | 72.01 | 6.08 | 7.42 | 11.75 | 29.90 | 6.07 | 6.97 | 11.75 | 6.07 | 7.20 | ||||||||||||||
| vlsseg4e16.v v8,(t2),t3 | 5.40 | 7.96 | 19.22 | 5.44 | 7.93 | 18.95 | 47.64 | 5.44 | 7.92 | 19.05 | 5.43 | 8.05 | ||||||||||||||||
| vlsseg4e16.v v8,(t2),t3,v0.t | 5.44 | 7.96 | 19.17 | 5.39 | 7.93 | 19.17 | 47.84 | 5.41 | 7.93 | 19.40 | 5.43 | 8.05 | ||||||||||||||||
| vlsseg4e16.v v8,(t2),x0 | 5.56 | 7.25 | 13.16 | 5.65 | 6.45 | 13.16 | 40.67 | 5.54 | 6.45 | 13.16 | 5.87 | 6.56 | ||||||||||||||||
| vlsseg4e16.v v8,(t2),x0,v0.t | 5.75 | 6.45 | 13.17 | 5.65 | 6.85 | 13.16 | 40.67 | 5.54 | 7.05 | 14.95 | 5.55 | 6.56 | ||||||||||||||||
| vlsseg4e16.v v8,(t2),t1/*-1*/ | 5.83 | 7.75 | 16.91 | 5.89 | 7.75 | 16.99 | 49.95 | 6.02 | 7.75 | 16.92 | 5.80 | 7.80 | ||||||||||||||||
| vlsseg4e16.v v8,(t2),t1/*-1*/,v0.t | 6.06 | 7.75 | 16.95 | 5.97 | 7.75 | 16.95 | 49.75 | 5.98 | 7.75 | 16.95 | 5.98 | 7.75 | ||||||||||||||||
| vlsseg4e32.v v8,(t2),t3 | 6.09 | 12.00 | 6.10 | 12.00 | 6.10 | 12.00 | 37.60 | 6.09 | 12.00 | |||||||||||||||||||
| vlsseg4e32.v v8,(t2),t3,v0.t | 6.05 | 12.00 | 6.08 | 12.00 | 6.11 | 12.00 | 37.45 | 6.07 | 12.00 | |||||||||||||||||||
| vlsseg4e32.v v8,(t2),x0 | 5.69 | 11.35 | 5.67 | 12.15 | 5.54 | 11.85 | 35.22 | 5.67 | 12.50 | |||||||||||||||||||
| vlsseg4e32.v v8,(t2),x0,v0.t | 5.74 | 11.85 | 5.61 | 12.15 | 4.96 | 12.25 | 33.11 | 5.66 | 12.41 | |||||||||||||||||||
| vlsseg4e32.v v8,(t2),t1/*-1*/ | 6.09 | 12.08 | 6.06 | 12.10 | 6.06 | 12.10 | 36.62 | 6.06 | 12.00 | |||||||||||||||||||
| vlsseg4e32.v v8,(t2),t1/*-1*/,v0.t | 6.06 | 12.13 | 6.06 | 12.08 | 6.06 | 12.26 | 36.72 | 6.06 | 12.01 | |||||||||||||||||||
| vlsseg4e64.v v8,(t2),t3 | 10.71 | 10.79 | 10.58 | 10.62 | 31.25 | |||||||||||||||||||||||
| vlsseg4e64.v v8,(t2),t3,v0.t | 10.71 | 10.46 | 10.62 | 10.58 | 31.25 | |||||||||||||||||||||||
| vlsseg4e64.v v8,(t2),x0 | 11.39 | 11.32 | 11.34 | 11.23 | 29.75 | |||||||||||||||||||||||
| vlsseg4e64.v v8,(t2),x0,v0.t | 11.34 | 11.43 | 11.23 | 11.32 | 30.10 | |||||||||||||||||||||||
| vlsseg4e64.v v8,(t2),t1/*-1*/ | 13.00 | 13.00 | 13.00 | 13.00 | 32.13 | |||||||||||||||||||||||
| vlsseg4e64.v v8,(t2),t1/*-1*/,v0.t | 13.00 | 13.00 | 13.00 | 13.00 | 31.90 | |||||||||||||||||||||||
| vssseg4e8.v v8,(t2),t3 | 5.00 | 9.30 | 19.00 | 38.00 | 79.29 | 5.00 | 9.45 | 19.00 | 38.00 | 5.00 | 9.25 | 19.00 | 5.00 | 9.30 | ||||||||||||||
| vssseg4e8.v v8,(t2),t3,v0.t | 5.01 | 9.45 | 19.00 | 38.00 | 76.00 | 5.00 | 9.55 | 19.00 | 38.00 | 5.00 | 9.40 | 19.00 | 5.00 | 9.20 | ||||||||||||||
| vssseg4e8.v v8,(t2),x0 | 5.30 | 8.00 | 17.60 | 32.00 | 64.00 | 5.00 | 8.00 | 16.00 | 32.00 | 5.00 | 8.00 | 16.00 | 5.00 | 8.00 | ||||||||||||||
| vssseg4e8.v v8,(t2),x0,v0.t | 5.00 | 8.40 | 16.00 | 32.00 | 64.00 | 5.05 | 8.00 | 16.00 | 32.00 | 5.00 | 8.00 | 16.00 | 5.00 | 8.00 | ||||||||||||||
| vssseg4e8.v v8,(t2),t1/*-1*/ | 6.03 | 10.45 | 19.00 | 38.00 | 76.21 | 6.40 | 9.95 | 19.00 | 38.00 | 6.30 | 10.40 | 19.00 | 6.40 | 10.40 | ||||||||||||||
| vssseg4e8.v v8,(t2),t1/*-1*/,v0.t | 9.55 | 9.65 | 19.05 | 38.00 | 76.62 | 6.31 | 10.85 | 19.00 | 38.00 | 6.30 | 10.10 | 19.00 | 6.00 | 10.30 | ||||||||||||||
| vssseg4e16.v v8,(t2),t3 | 6.00 | 11.57 | 22.70 | 6.00 | 13.15 | 22.70 | 50.99 | 6.00 | 11.30 | 22.50 | 6.00 | 11.30 | ||||||||||||||||
| vssseg4e16.v v8,(t2),t3,v0.t | 6.00 | 11.50 | 22.90 | 6.00 | 11.20 | 22.74 | 48.35 | 6.00 | 11.20 | 22.90 | 6.00 | 11.40 | ||||||||||||||||
| vssseg4e16.v v8,(t2),x0 | 6.30 | 10.60 | 20.87 | 6.20 | 10.60 | 22.04 | 52.60 | 6.00 | 10.00 | 22.63 | 6.10 | 10.90 | ||||||||||||||||
| vssseg4e16.v v8,(t2),x0,v0.t | 6.50 | 10.00 | 21.45 | 6.40 | 12.10 | 24.38 | 52.00 | 6.40 | 10.00 | 21.45 | 6.70 | 10.00 | ||||||||||||||||
| vssseg4e16.v v8,(t2),t1/*-1*/ | 6.90 | 11.80 | 24.16 | 6.85 | 12.75 | 26.78 | 56.36 | 6.65 | 12.00 | 26.43 | 6.60 | 11.90 | ||||||||||||||||
| vssseg4e16.v v8,(t2),t1/*-1*/,v0.t | 6.65 | 12.50 | 26.89 | 6.55 | 12.30 | 26.73 | 58.58 | 6.90 | 12.45 | 25.63 | 6.75 | 12.35 | ||||||||||||||||
| vssseg4e32.v v8,(t2),t3 | 9.51 | 18.87 | 9.50 | 18.80 | 9.50 | 18.95 | 38.97 | 9.30 | 19.17 | |||||||||||||||||||
| vssseg4e32.v v8,(t2),t3,v0.t | 9.40 | 19.32 | 9.10 | 19.17 | 9.25 | 18.86 | 40.31 | 9.20 | 18.87 | |||||||||||||||||||
| vssseg4e32.v v8,(t2),x0 | 9.30 | 17.71 | 8.70 | 18.35 | 8.70 | 17.71 | 42.65 | 8.90 | 17.71 | |||||||||||||||||||
| vssseg4e32.v v8,(t2),x0,v0.t | 9.10 | 18.57 | 9.20 | 17.70 | 9.18 | 20.28 | 44.25 | 8.50 | 17.91 | |||||||||||||||||||
| vssseg4e32.v v8,(t2),t1/*-1*/ | 9.35 | 18.72 | 9.90 | 19.17 | 9.55 | 19.32 | 39.52 | 9.35 | 18.95 | |||||||||||||||||||
| vssseg4e32.v v8,(t2),t1/*-1*/,v0.t | 9.33 | 18.72 | 9.50 | 18.65 | 9.35 | 18.80 | 39.44 | 9.58 | 19.17 | |||||||||||||||||||
| vssseg4e64.v v8,(t2),t3 | 16.50 | 16.70 | 16.60 | 16.40 | 34.01 | |||||||||||||||||||||||
| vssseg4e64.v v8,(t2),t3,v0.t | 16.80 | 16.50 | 16.50 | 16.80 | 34.11 | |||||||||||||||||||||||
| vssseg4e64.v v8,(t2),x0 | 16.40 | 16.70 | 16.90 | 16.90 | 35.23 | |||||||||||||||||||||||
| vssseg4e64.v v8,(t2),x0,v0.t | 16.80 | 17.10 | 16.90 | 16.30 | 32.98 | |||||||||||||||||||||||
| vssseg4e64.v v8,(t2),t1/*-1*/ | 16.40 | 16.80 | 16.60 | 16.80 | 34.20 | |||||||||||||||||||||||
| vssseg4e64.v v8,(t2),t1/*-1*/,v0.t | 16.76 | 16.40 | 16.40 | 16.30 | 32.20 | |||||||||||||||||||||||
| vlsseg5e8.v v8,(t2),t3 | 20.00 | 40.00 | 80.00 | 159.27 | 20.00 | 40.00 | 80.00 | 20.00 | 40.00 | 20.00 | ||||||||||||||||||
| vlsseg5e8.v v8,(t2),t3,v0.t | 20.00 | 40.00 | 80.00 | 159.30 | 20.00 | 40.00 | 80.00 | 20.00 | 40.00 | 20.00 | ||||||||||||||||||
| vlsseg5e8.v v8,(t2),x0 | 20.00 | 40.00 | 80.00 | 159.20 | 20.00 | 40.00 | 80.00 | 20.00 | 40.00 | 20.00 | ||||||||||||||||||
| vlsseg5e8.v v8,(t2),x0,v0.t | 20.00 | 40.00 | 80.00 | 159.20 | 20.00 | 40.00 | 80.00 | 20.00 | 40.00 | 20.00 | ||||||||||||||||||
| vlsseg5e8.v v8,(t2),t1/*-1*/ | 20.00 | 40.00 | 80.00 | 159.20 | 20.00 | 40.00 | 80.00 | 20.00 | 40.00 | 20.00 | ||||||||||||||||||
| vlsseg5e8.v v8,(t2),t1/*-1*/,v0.t | 20.00 | 40.00 | 80.00 | 159.20 | 20.00 | 40.00 | 80.00 | 20.00 | 40.00 | 20.00 | ||||||||||||||||||
| vlsseg5e16.v v8,(t2),t3 | 20.00 | 40.00 | 79.27 | 20.00 | 40.00 | 79.27 | 20.00 | 40.00 | 20.00 | |||||||||||||||||||
| vlsseg5e16.v v8,(t2),t3,v0.t | 20.00 | 40.00 | 79.24 | 20.00 | 40.00 | 79.24 | 20.00 | 40.00 | 20.00 | |||||||||||||||||||
| vlsseg5e16.v v8,(t2),x0 | 20.00 | 40.00 | 79.20 | 20.00 | 40.00 | 79.20 | 20.00 | 40.00 | 20.00 | |||||||||||||||||||
| vlsseg5e16.v v8,(t2),x0,v0.t | 20.00 | 40.00 | 79.20 | 20.00 | 40.00 | 79.20 | 20.00 | 40.00 | 20.00 | |||||||||||||||||||
| vlsseg5e16.v v8,(t2),t1/*-1*/ | 20.00 | 40.00 | 79.20 | 20.00 | 40.00 | 79.22 | 20.00 | 40.00 | 20.00 | |||||||||||||||||||
| vlsseg5e16.v v8,(t2),t1/*-1*/,v0.t | 20.00 | 40.00 | 79.20 | 20.00 | 40.00 | 79.20 | 20.00 | 40.00 | 20.00 | |||||||||||||||||||
| vlsseg5e32.v v8,(t2),t3 | 20.00 | 39.50 | 20.00 | 39.41 | 20.00 | 39.50 | 20.00 | |||||||||||||||||||||
| vlsseg5e32.v v8,(t2),t3,v0.t | 20.00 | 39.45 | 20.00 | 39.43 | 20.00 | 39.52 | 20.00 | |||||||||||||||||||||
| vlsseg5e32.v v8,(t2),x0 | 20.00 | 39.20 | 20.00 | 39.20 | 20.00 | 39.20 | 20.00 | |||||||||||||||||||||
| vlsseg5e32.v v8,(t2),x0,v0.t | 20.00 | 39.20 | 20.00 | 39.20 | 20.00 | 39.20 | 20.00 | |||||||||||||||||||||
| vlsseg5e32.v v8,(t2),t1/*-1*/ | 20.00 | 39.48 | 20.00 | 39.47 | 20.00 | 39.47 | 20.00 | |||||||||||||||||||||
| vlsseg5e32.v v8,(t2),t1/*-1*/,v0.t | 20.00 | 39.35 | 20.00 | 39.40 | 20.00 | 39.47 | 20.00 | |||||||||||||||||||||
| vlsseg5e64.v v8,(t2),t3 | 19.37 | 19.37 | 19.37 | 19.37 | ||||||||||||||||||||||||
| vlsseg5e64.v v8,(t2),t3,v0.t | 19.37 | 19.37 | 19.37 | 19.37 | ||||||||||||||||||||||||
| vlsseg5e64.v v8,(t2),x0 | 19.50 | 19.49 | 19.47 | 19.48 | ||||||||||||||||||||||||
| vlsseg5e64.v v8,(t2),x0,v0.t | 19.48 | 19.48 | 19.47 | 19.48 | ||||||||||||||||||||||||
| vlsseg5e64.v v8,(t2),t1/*-1*/ | 19.37 | 19.37 | 19.37 | 19.37 | ||||||||||||||||||||||||
| vlsseg5e64.v v8,(t2),t1/*-1*/,v0.t | 19.37 | 19.37 | 19.37 | 19.37 | ||||||||||||||||||||||||
| vssseg5e8.v v8,(t2),t3 | 20.00 | 40.00 | 80.00 | 160.00 | 20.00 | 40.00 | 80.00 | 20.00 | 40.00 | 20.00 | ||||||||||||||||||
| vssseg5e8.v v8,(t2),t3,v0.t | 20.00 | 40.00 | 80.00 | 160.00 | 20.00 | 40.00 | 80.00 | 20.00 | 40.00 | 20.00 | ||||||||||||||||||
| vssseg5e8.v v8,(t2),x0 | 20.00 | 40.00 | 80.00 | 160.00 | 20.00 | 40.00 | 80.00 | 20.00 | 40.00 | 20.00 | ||||||||||||||||||
| vssseg5e8.v v8,(t2),x0,v0.t | 20.00 | 40.00 | 80.00 | 160.00 | 20.00 | 40.00 | 80.00 | 20.00 | 40.00 | 20.00 | ||||||||||||||||||
| vssseg5e8.v v8,(t2),t1/*-1*/ | 20.00 | 40.00 | 80.00 | 160.00 | 20.00 | 40.00 | 80.00 | 20.00 | 40.00 | 20.00 | ||||||||||||||||||
| vssseg5e8.v v8,(t2),t1/*-1*/,v0.t | 20.00 | 40.00 | 80.00 | 160.00 | 20.00 | 40.00 | 80.00 | 20.00 | 40.00 | 20.00 | ||||||||||||||||||
| vssseg5e16.v v8,(t2),t3 | 20.00 | 40.00 | 80.00 | 20.00 | 40.00 | 80.00 | 20.00 | 40.00 | 20.00 | |||||||||||||||||||
| vssseg5e16.v v8,(t2),t3,v0.t | 20.00 | 40.00 | 80.00 | 20.00 | 40.00 | 80.00 | 20.00 | 40.00 | 20.00 | |||||||||||||||||||
| vssseg5e16.v v8,(t2),x0 | 20.00 | 40.00 | 80.00 | 20.00 | 40.00 | 80.00 | 20.00 | 40.00 | 20.00 | |||||||||||||||||||
| vssseg5e16.v v8,(t2),x0,v0.t | 20.00 | 40.00 | 80.00 | 20.00 | 40.00 | 80.00 | 20.00 | 40.00 | 20.00 | |||||||||||||||||||
| vssseg5e16.v v8,(t2),t1/*-1*/ | 20.00 | 40.00 | 80.00 | 20.00 | 40.00 | 80.00 | 20.00 | 40.00 | 20.00 | |||||||||||||||||||
| vssseg5e16.v v8,(t2),t1/*-1*/,v0.t | 20.00 | 40.00 | 80.00 | 20.00 | 40.00 | 80.00 | 20.00 | 40.00 | 20.00 | |||||||||||||||||||
| vssseg5e32.v v8,(t2),t3 | 20.00 | 40.05 | 20.00 | 40.15 | 20.00 | 40.19 | 20.00 | |||||||||||||||||||||
| vssseg5e32.v v8,(t2),t3,v0.t | 20.00 | 40.00 | 20.00 | 40.00 | 20.00 | 40.00 | 20.00 | |||||||||||||||||||||
| vssseg5e32.v v8,(t2),x0 | 20.00 | 40.00 | 20.00 | 40.00 | 20.00 | 40.00 | 20.00 | |||||||||||||||||||||
| vssseg5e32.v v8,(t2),x0,v0.t | 20.00 | 40.00 | 20.00 | 40.00 | 20.00 | 40.00 | 20.00 | |||||||||||||||||||||
| vssseg5e32.v v8,(t2),t1/*-1*/ | 20.35 | 40.00 | 20.00 | 40.00 | 20.00 | 40.00 | 20.00 | |||||||||||||||||||||
| vssseg5e32.v v8,(t2),t1/*-1*/,v0.t | 20.00 | 40.00 | 20.00 | 40.00 | 20.00 | 40.00 | 20.00 | |||||||||||||||||||||
| vssseg5e64.v v8,(t2),t3 | 21.02 | 20.85 | 20.11 | 21.15 | ||||||||||||||||||||||||
| vssseg5e64.v v8,(t2),t3,v0.t | 22.24 | 20.00 | 20.17 | 20.07 | ||||||||||||||||||||||||
| vssseg5e64.v v8,(t2),x0 | 20.00 | 20.00 | 20.00 | 20.00 | ||||||||||||||||||||||||
| vssseg5e64.v v8,(t2),x0,v0.t | 20.00 | 20.00 | 20.00 | 20.00 | ||||||||||||||||||||||||
| vssseg5e64.v v8,(t2),t1/*-1*/ | 20.00 | 20.00 | 20.07 | 20.00 | ||||||||||||||||||||||||
| vssseg5e64.v v8,(t2),t1/*-1*/,v0.t | 20.53 | 20.00 | 20.00 | 20.00 | ||||||||||||||||||||||||
| vlsseg6e8.v v8,(t2),t3 | 24.37 | 48.37 | 96.37 | 191.19 | 24.37 | 48.37 | 96.37 | 24.37 | 48.37 | 24.37 | ||||||||||||||||||
| vlsseg6e8.v v8,(t2),t3,v0.t | 24.37 | 48.37 | 96.37 | 191.15 | 24.37 | 48.37 | 96.37 | 24.37 | 48.37 | 24.37 | ||||||||||||||||||
| vlsseg6e8.v v8,(t2),x0 | 24.37 | 48.37 | 96.37 | 191.37 | 24.37 | 48.37 | 96.37 | 24.37 | 48.37 | 24.37 | ||||||||||||||||||
| vlsseg6e8.v v8,(t2),x0,v0.t | 24.37 | 48.37 | 96.37 | 191.37 | 24.37 | 48.37 | 96.37 | 24.37 | 48.37 | 24.37 | ||||||||||||||||||
| vlsseg6e8.v v8,(t2),t1/*-1*/ | 24.37 | 48.37 | 96.37 | 191.12 | 24.37 | 48.37 | 96.37 | 24.37 | 48.37 | 24.37 | ||||||||||||||||||
| vlsseg6e8.v v8,(t2),t1/*-1*/,v0.t | 24.37 | 48.37 | 96.37 | 191.12 | 24.37 | 48.37 | 96.37 | 24.37 | 48.37 | 24.37 | ||||||||||||||||||
| vlsseg6e16.v v8,(t2),t3 | 24.37 | 48.37 | 95.24 | 24.37 | 48.37 | 95.18 | 24.37 | 48.37 | 24.37 | |||||||||||||||||||
| vlsseg6e16.v v8,(t2),t3,v0.t | 24.37 | 48.37 | 95.20 | 24.37 | 48.37 | 95.24 | 24.37 | 48.37 | 24.37 | |||||||||||||||||||
| vlsseg6e16.v v8,(t2),x0 | 24.37 | 48.37 | 95.25 | 24.37 | 48.37 | 95.25 | 24.37 | 48.37 | 24.37 | |||||||||||||||||||
| vlsseg6e16.v v8,(t2),x0,v0.t | 24.37 | 48.37 | 95.25 | 24.37 | 48.37 | 95.25 | 24.37 | 48.37 | 24.37 | |||||||||||||||||||
| vlsseg6e16.v v8,(t2),t1/*-1*/ | 24.37 | 48.37 | 95.12 | 24.37 | 48.37 | 95.14 | 24.37 | 48.37 | 24.37 | |||||||||||||||||||
| vlsseg6e16.v v8,(t2),t1/*-1*/,v0.t | 24.37 | 48.37 | 95.15 | 24.37 | 48.37 | 95.16 | 24.37 | 48.37 | 24.37 | |||||||||||||||||||
| vlsseg6e32.v v8,(t2),t3 | 24.37 | 47.27 | 24.37 | 47.16 | 24.37 | 47.24 | 24.37 | |||||||||||||||||||||
| vlsseg6e32.v v8,(t2),t3,v0.t | 24.37 | 47.27 | 24.37 | 47.26 | 24.37 | 47.25 | 24.37 | |||||||||||||||||||||
| vlsseg6e32.v v8,(t2),x0 | 24.37 | 47.50 | 24.37 | 47.50 | 24.37 | 47.50 | 24.37 | |||||||||||||||||||||
| vlsseg6e32.v v8,(t2),x0,v0.t | 24.37 | 47.50 | 24.37 | 47.50 | 24.37 | 47.46 | 24.37 | |||||||||||||||||||||
| vlsseg6e32.v v8,(t2),t1/*-1*/ | 24.37 | 47.29 | 24.37 | 47.27 | 24.37 | 47.28 | 24.37 | |||||||||||||||||||||
| vlsseg6e32.v v8,(t2),t1/*-1*/,v0.t | 24.37 | 47.29 | 24.37 | 47.30 | 24.37 | 47.28 | 24.37 | |||||||||||||||||||||
| vlsseg6e64.v v8,(t2),t3 | 23.19 | 23.18 | 23.17 | 23.23 | ||||||||||||||||||||||||
| vlsseg6e64.v v8,(t2),t3,v0.t | 23.22 | 23.19 | 23.21 | 23.18 | ||||||||||||||||||||||||
| vlsseg6e64.v v8,(t2),x0 | 23.50 | 23.50 | 23.50 | 23.50 | ||||||||||||||||||||||||
| vlsseg6e64.v v8,(t2),x0,v0.t | 23.50 | 23.50 | 23.50 | 23.50 | ||||||||||||||||||||||||
| vlsseg6e64.v v8,(t2),t1/*-1*/ | 23.20 | 23.20 | 23.19 | 23.23 | ||||||||||||||||||||||||
| vlsseg6e64.v v8,(t2),t1/*-1*/,v0.t | 23.17 | 23.19 | 23.18 | 23.19 | ||||||||||||||||||||||||
| vssseg6e8.v v8,(t2),t3 | 24.00 | 48.00 | 96.00 | 192.00 | 24.00 | 48.00 | 96.00 | 24.00 | 48.00 | 24.00 | ||||||||||||||||||
| vssseg6e8.v v8,(t2),t3,v0.t | 24.00 | 48.00 | 96.00 | 192.00 | 24.00 | 48.00 | 96.00 | 24.00 | 48.00 | 24.00 | ||||||||||||||||||
| vssseg6e8.v v8,(t2),x0 | 24.00 | 48.00 | 96.00 | 192.00 | 24.00 | 48.00 | 96.00 | 24.00 | 48.00 | 24.00 | ||||||||||||||||||
| vssseg6e8.v v8,(t2),x0,v0.t | 24.00 | 48.00 | 96.00 | 192.00 | 24.00 | 48.00 | 96.00 | 24.00 | 48.00 | 24.00 | ||||||||||||||||||
| vssseg6e8.v v8,(t2),t1/*-1*/ | 24.00 | 48.00 | 96.00 | 192.00 | 24.00 | 48.00 | 96.00 | 24.00 | 48.00 | 24.00 | ||||||||||||||||||
| vssseg6e8.v v8,(t2),t1/*-1*/,v0.t | 24.00 | 48.00 | 96.00 | 192.00 | 24.00 | 48.00 | 96.00 | 24.00 | 48.00 | 24.00 | ||||||||||||||||||
| vssseg6e16.v v8,(t2),t3 | 24.00 | 48.00 | 96.00 | 24.00 | 48.00 | 96.00 | 24.00 | 48.00 | 24.00 | |||||||||||||||||||
| vssseg6e16.v v8,(t2),t3,v0.t | 24.00 | 48.00 | 96.18 | 24.00 | 48.00 | 96.00 | 24.00 | 48.00 | 24.00 | |||||||||||||||||||
| vssseg6e16.v v8,(t2),x0 | 24.00 | 48.00 | 96.00 | 24.00 | 48.00 | 96.00 | 24.00 | 48.00 | 24.00 | |||||||||||||||||||
| vssseg6e16.v v8,(t2),x0,v0.t | 24.00 | 48.00 | 96.00 | 24.00 | 48.00 | 96.00 | 24.00 | 48.00 | 24.00 | |||||||||||||||||||
| vssseg6e16.v v8,(t2),t1/*-1*/ | 24.00 | 48.00 | 96.00 | 24.00 | 48.00 | 96.00 | 24.00 | 48.00 | 24.00 | |||||||||||||||||||
| vssseg6e16.v v8,(t2),t1/*-1*/,v0.t | 24.00 | 48.00 | 96.00 | 24.00 | 48.00 | 96.00 | 24.00 | 48.00 | 24.00 | |||||||||||||||||||
| vssseg6e32.v v8,(t2),t3 | 24.00 | 49.60 | 24.00 | 48.84 | 24.00 | 48.60 | 24.00 | |||||||||||||||||||||
| vssseg6e32.v v8,(t2),t3,v0.t | 24.00 | 48.41 | 24.76 | 49.19 | 24.00 | 49.41 | 24.00 | |||||||||||||||||||||
| vssseg6e32.v v8,(t2),x0 | 24.00 | 48.00 | 24.00 | 48.00 | 24.00 | 48.00 | 24.00 | |||||||||||||||||||||
| vssseg6e32.v v8,(t2),x0,v0.t | 24.00 | 48.00 | 24.00 | 48.00 | 24.00 | 48.00 | 24.00 | |||||||||||||||||||||
| vssseg6e32.v v8,(t2),t1/*-1*/ | 24.11 | 48.00 | 24.00 | 48.00 | 24.00 | 48.00 | 24.00 | |||||||||||||||||||||
| vssseg6e32.v v8,(t2),t1/*-1*/,v0.t | 24.00 | 48.00 | 24.00 | 48.00 | 24.00 | 48.00 | 24.00 | |||||||||||||||||||||
| vssseg6e64.v v8,(t2),t3 | 25.65 | 25.61 | 24.44 | 25.83 | ||||||||||||||||||||||||
| vssseg6e64.v v8,(t2),t3,v0.t | 26.33 | 24.22 | 25.02 | 25.15 | ||||||||||||||||||||||||
| vssseg6e64.v v8,(t2),x0 | 24.00 | 24.00 | 24.00 | 24.00 | ||||||||||||||||||||||||
| vssseg6e64.v v8,(t2),x0,v0.t | 24.00 | 24.00 | 24.00 | 24.00 | ||||||||||||||||||||||||
| vssseg6e64.v v8,(t2),t1/*-1*/ | 24.58 | 24.15 | 24.41 | 24.32 | ||||||||||||||||||||||||
| vssseg6e64.v v8,(t2),t1/*-1*/,v0.t | 24.97 | 24.67 | 24.00 | 24.00 | ||||||||||||||||||||||||
| vlsseg7e8.v v8,(t2),t3 | 28.25 | 56.25 | 112.25 | 223.12 | 28.25 | 56.25 | 112.25 | 28.25 | 56.25 | 28.25 | ||||||||||||||||||
| vlsseg7e8.v v8,(t2),t3,v0.t | 28.25 | 56.25 | 112.25 | 223.12 | 28.25 | 56.25 | 112.25 | 28.25 | 56.25 | 28.25 | ||||||||||||||||||
| vlsseg7e8.v v8,(t2),x0 | 28.25 | 56.25 | 112.25 | 223.00 | 28.25 | 56.25 | 112.25 | 28.25 | 56.25 | 28.25 | ||||||||||||||||||
| vlsseg7e8.v v8,(t2),x0,v0.t | 28.25 | 56.25 | 112.25 | 223.00 | 28.25 | 56.25 | 112.25 | 28.25 | 56.25 | 28.25 | ||||||||||||||||||
| vlsseg7e8.v v8,(t2),t1/*-1*/ | 28.25 | 56.25 | 112.25 | 223.12 | 28.25 | 56.25 | 112.25 | 28.25 | 56.25 | 28.25 | ||||||||||||||||||
| vlsseg7e8.v v8,(t2),t1/*-1*/,v0.t | 28.25 | 56.25 | 112.25 | 223.15 | 28.25 | 56.25 | 112.25 | 28.25 | 56.25 | 28.25 | ||||||||||||||||||
| vlsseg7e16.v v8,(t2),t3 | 28.25 | 56.25 | 111.12 | 28.25 | 56.25 | 111.12 | 28.25 | 56.25 | 28.25 | |||||||||||||||||||
| vlsseg7e16.v v8,(t2),t3,v0.t | 28.25 | 56.25 | 111.12 | 28.25 | 56.25 | 111.12 | 28.25 | 56.25 | 28.25 | |||||||||||||||||||
| vlsseg7e16.v v8,(t2),x0 | 28.25 | 56.25 | 111.37 | 28.25 | 56.25 | 111.37 | 28.25 | 56.25 | 28.25 | |||||||||||||||||||
| vlsseg7e16.v v8,(t2),x0,v0.t | 28.25 | 56.25 | 111.37 | 28.25 | 56.25 | 111.37 | 28.25 | 56.25 | 28.25 | |||||||||||||||||||
| vlsseg7e16.v v8,(t2),t1/*-1*/ | 28.25 | 56.25 | 111.12 | 28.25 | 56.25 | 111.12 | 28.25 | 56.25 | 28.25 | |||||||||||||||||||
| vlsseg7e16.v v8,(t2),t1/*-1*/,v0.t | 28.25 | 56.25 | 111.12 | 28.25 | 56.25 | 111.12 | 28.25 | 56.25 | 28.25 | |||||||||||||||||||
| vlsseg7e32.v v8,(t2),t3 | 28.25 | 55.19 | 28.25 | 55.18 | 28.25 | 55.19 | 28.25 | |||||||||||||||||||||
| vlsseg7e32.v v8,(t2),t3,v0.t | 28.25 | 55.23 | 28.25 | 55.20 | 28.25 | 55.21 | 28.25 | |||||||||||||||||||||
| vlsseg7e32.v v8,(t2),x0 | 28.25 | 55.26 | 28.25 | 55.28 | 28.25 | 55.27 | 28.25 | |||||||||||||||||||||
| vlsseg7e32.v v8,(t2),x0,v0.t | 28.25 | 55.29 | 28.25 | 55.25 | 28.25 | 55.30 | 28.25 | |||||||||||||||||||||
| vlsseg7e32.v v8,(t2),t1/*-1*/ | 28.25 | 55.17 | 28.25 | 55.05 | 28.25 | 55.06 | 28.25 | |||||||||||||||||||||
| vlsseg7e32.v v8,(t2),t1/*-1*/,v0.t | 28.25 | 55.05 | 28.25 | 55.07 | 28.25 | 55.10 | 28.25 | |||||||||||||||||||||
| vlsseg7e64.v v8,(t2),t3 | 27.20 | 27.18 | 27.17 | 27.16 | ||||||||||||||||||||||||
| vlsseg7e64.v v8,(t2),t3,v0.t | 27.16 | 27.16 | 27.08 | 27.20 | ||||||||||||||||||||||||
| vlsseg7e64.v v8,(t2),x0 | 27.21 | 27.20 | 27.20 | 27.22 | ||||||||||||||||||||||||
| vlsseg7e64.v v8,(t2),x0,v0.t | 27.18 | 27.22 | 27.20 | 27.21 | ||||||||||||||||||||||||
| vlsseg7e64.v v8,(t2),t1/*-1*/ | 27.05 | 27.02 | 27.03 | 27.05 | ||||||||||||||||||||||||
| vlsseg7e64.v v8,(t2),t1/*-1*/,v0.t | 27.07 | 27.12 | 27.12 | 27.06 | ||||||||||||||||||||||||
| vssseg7e8.v v8,(t2),t3 | 28.00 | 56.00 | 112.00 | 224.00 | 28.00 | 56.00 | 112.00 | 28.00 | 56.00 | 28.00 | ||||||||||||||||||
| vssseg7e8.v v8,(t2),t3,v0.t | 28.00 | 56.00 | 112.00 | 224.04 | 28.00 | 56.00 | 112.00 | 28.00 | 56.00 | 28.00 | ||||||||||||||||||
| vssseg7e8.v v8,(t2),x0 | 28.00 | 56.00 | 112.00 | 224.00 | 28.00 | 56.00 | 112.00 | 28.00 | 56.00 | 28.00 | ||||||||||||||||||
| vssseg7e8.v v8,(t2),x0,v0.t | 28.00 | 56.00 | 112.00 | 224.00 | 28.00 | 56.00 | 112.00 | 28.00 | 56.00 | 28.00 | ||||||||||||||||||
| vssseg7e8.v v8,(t2),t1/*-1*/ | 28.00 | 56.00 | 112.00 | 224.00 | 28.00 | 56.00 | 112.00 | 28.00 | 56.00 | 28.00 | ||||||||||||||||||
| vssseg7e8.v v8,(t2),t1/*-1*/,v0.t | 28.00 | 56.00 | 112.00 | 224.00 | 28.00 | 56.00 | 112.00 | 28.00 | 56.00 | 28.00 | ||||||||||||||||||
| vssseg7e16.v v8,(t2),t3 | 28.00 | 56.00 | 112.05 | 28.00 | 56.00 | 112.00 | 28.00 | 56.00 | 28.00 | |||||||||||||||||||
| vssseg7e16.v v8,(t2),t3,v0.t | 28.00 | 56.00 | 112.30 | 28.00 | 56.00 | 112.05 | 28.00 | 56.00 | 28.00 | |||||||||||||||||||
| vssseg7e16.v v8,(t2),x0 | 28.00 | 56.00 | 112.00 | 28.00 | 56.00 | 112.00 | 28.00 | 56.00 | 28.00 | |||||||||||||||||||
| vssseg7e16.v v8,(t2),x0,v0.t | 28.00 | 56.00 | 112.00 | 28.00 | 56.00 | 112.00 | 28.00 | 56.00 | 28.00 | |||||||||||||||||||
| vssseg7e16.v v8,(t2),t1/*-1*/ | 28.00 | 56.00 | 112.00 | 28.00 | 56.00 | 112.00 | 28.00 | 56.00 | 28.00 | |||||||||||||||||||
| vssseg7e16.v v8,(t2),t1/*-1*/,v0.t | 28.00 | 56.00 | 112.00 | 28.00 | 56.00 | 112.00 | 28.00 | 56.00 | 28.00 | |||||||||||||||||||
| vssseg7e32.v v8,(t2),t3 | 28.00 | 57.83 | 28.30 | 57.10 | 28.00 | 56.69 | 28.00 | |||||||||||||||||||||
| vssseg7e32.v v8,(t2),t3,v0.t | 28.00 | 56.68 | 28.00 | 56.97 | 28.00 | 56.46 | 28.00 | |||||||||||||||||||||
| vssseg7e32.v v8,(t2),x0 | 28.00 | 56.00 | 28.00 | 56.00 | 28.00 | 56.00 | 28.00 | |||||||||||||||||||||
| vssseg7e32.v v8,(t2),x0,v0.t | 28.00 | 56.00 | 28.00 | 56.00 | 28.00 | 56.00 | 28.00 | |||||||||||||||||||||
| vssseg7e32.v v8,(t2),t1/*-1*/ | 28.00 | 56.00 | 28.00 | 56.00 | 28.00 | 56.00 | 29.62 | |||||||||||||||||||||
| vssseg7e32.v v8,(t2),t1/*-1*/,v0.t | 28.00 | 56.00 | 28.00 | 56.00 | 28.00 | 56.00 | 28.00 | |||||||||||||||||||||
| vssseg7e64.v v8,(t2),t3 | 29.55 | 29.15 | 29.78 | 30.99 | ||||||||||||||||||||||||
| vssseg7e64.v v8,(t2),t3,v0.t | 28.87 | 29.54 | 28.75 | 28.85 | ||||||||||||||||||||||||
| vssseg7e64.v v8,(t2),x0 | 28.00 | 28.00 | 28.00 | 28.00 | ||||||||||||||||||||||||
| vssseg7e64.v v8,(t2),x0,v0.t | 28.00 | 28.00 | 28.00 | 28.00 | ||||||||||||||||||||||||
| vssseg7e64.v v8,(t2),t1/*-1*/ | 28.10 | 28.00 | 28.00 | 28.00 | ||||||||||||||||||||||||
| vssseg7e64.v v8,(t2),t1/*-1*/,v0.t | 28.06 | 28.00 | 28.00 | 28.00 | ||||||||||||||||||||||||
| vlsseg8e8.v v8,(t2),t3 | 32.15 | 64.22 | 128.13 | 255.12 | 32.15 | 64.19 | 128.15 | 32.15 | 64.21 | 32.15 | ||||||||||||||||||
| vlsseg8e8.v v8,(t2),t3,v0.t | 32.15 | 64.22 | 128.12 | 255.12 | 32.15 | 64.22 | 128.13 | 32.15 | 64.21 | 32.15 | ||||||||||||||||||
| vlsseg8e8.v v8,(t2),x0 | 32.15 | 64.25 | 128.12 | 255.25 | 32.15 | 64.25 | 128.12 | 32.15 | 64.25 | 32.15 | ||||||||||||||||||
| vlsseg8e8.v v8,(t2),x0,v0.t | 32.15 | 64.25 | 128.12 | 255.25 | 32.15 | 64.25 | 128.12 | 32.15 | 64.25 | 32.15 | ||||||||||||||||||
| vlsseg8e8.v v8,(t2),t1/*-1*/ | 32.15 | 64.25 | 128.12 | 255.13 | 32.15 | 64.25 | 128.12 | 32.15 | 64.25 | 32.15 | ||||||||||||||||||
| vlsseg8e8.v v8,(t2),t1/*-1*/,v0.t | 32.15 | 64.25 | 128.12 | 255.13 | 32.15 | 64.25 | 128.12 | 32.15 | 64.25 | 32.15 | ||||||||||||||||||
| vlsseg8e16.v v8,(t2),t3 | 32.15 | 64.12 | 127.12 | 32.14 | 64.12 | 127.12 | 32.14 | 64.14 | 32.14 | |||||||||||||||||||
| vlsseg8e16.v v8,(t2),t3,v0.t | 32.14 | 64.12 | 127.13 | 32.14 | 64.13 | 127.12 | 32.14 | 64.15 | 32.14 | |||||||||||||||||||
| vlsseg8e16.v v8,(t2),x0 | 32.15 | 64.25 | 127.18 | 32.15 | 64.25 | 127.18 | 32.15 | 64.25 | 32.15 | |||||||||||||||||||
| vlsseg8e16.v v8,(t2),x0,v0.t | 32.15 | 64.25 | 127.18 | 32.15 | 64.25 | 127.18 | 32.15 | 64.25 | 32.15 | |||||||||||||||||||
| vlsseg8e16.v v8,(t2),t1/*-1*/ | 32.15 | 64.23 | 127.18 | 32.15 | 64.24 | 127.18 | 32.15 | 64.23 | 32.15 | |||||||||||||||||||
| vlsseg8e16.v v8,(t2),t1/*-1*/,v0.t | 32.15 | 64.24 | 127.18 | 32.15 | 64.24 | 127.18 | 32.15 | 64.22 | 32.15 | |||||||||||||||||||
| vlsseg8e32.v v8,(t2),t3 | 32.14 | 63.12 | 32.15 | 63.12 | 32.14 | 63.12 | 32.13 | |||||||||||||||||||||
| vlsseg8e32.v v8,(t2),t3,v0.t | 32.12 | 63.12 | 32.13 | 63.12 | 32.13 | 63.12 | 32.14 | |||||||||||||||||||||
| vlsseg8e32.v v8,(t2),x0 | 32.14 | 63.19 | 32.14 | 63.17 | 32.14 | 63.17 | 32.15 | |||||||||||||||||||||
| vlsseg8e32.v v8,(t2),x0,v0.t | 32.15 | 63.19 | 32.14 | 63.19 | 32.15 | 63.16 | 32.14 | |||||||||||||||||||||
| vlsseg8e32.v v8,(t2),t1/*-1*/ | 32.12 | 63.15 | 32.12 | 63.13 | 32.12 | 63.14 | 32.12 | |||||||||||||||||||||
| vlsseg8e32.v v8,(t2),t1/*-1*/,v0.t | 32.13 | 63.14 | 32.12 | 63.14 | 32.14 | 63.14 | 32.13 | |||||||||||||||||||||
| vlsseg8e64.v v8,(t2),t3 | 31.15 | 31.14 | 31.15 | 31.14 | ||||||||||||||||||||||||
| vlsseg8e64.v v8,(t2),t3,v0.t | 31.14 | 31.14 | 31.15 | 31.14 | ||||||||||||||||||||||||
| vlsseg8e64.v v8,(t2),x0 | 31.14 | 31.13 | 31.13 | 31.13 | ||||||||||||||||||||||||
| vlsseg8e64.v v8,(t2),x0,v0.t | 31.13 | 31.13 | 31.13 | 31.13 | ||||||||||||||||||||||||
| vlsseg8e64.v v8,(t2),t1/*-1*/ | 31.18 | 31.18 | 31.19 | 31.18 | ||||||||||||||||||||||||
| vlsseg8e64.v v8,(t2),t1/*-1*/,v0.t | 31.18 | 31.18 | 31.17 | 31.18 | ||||||||||||||||||||||||
| vssseg8e8.v v8,(t2),t3 | 32.00 | 64.00 | 128.00 | 256.48 | 32.00 | 64.00 | 128.00 | 32.00 | 64.00 | 32.00 | ||||||||||||||||||
| vssseg8e8.v v8,(t2),t3,v0.t | 32.00 | 64.00 | 128.00 | 256.08 | 32.00 | 64.00 | 128.00 | 32.00 | 64.00 | 32.00 | ||||||||||||||||||
| vssseg8e8.v v8,(t2),x0 | 32.00 | 64.00 | 128.00 | 256.00 | 32.00 | 64.00 | 128.00 | 32.00 | 64.00 | 32.00 | ||||||||||||||||||
| vssseg8e8.v v8,(t2),x0,v0.t | 32.00 | 64.00 | 128.00 | 256.00 | 32.00 | 64.00 | 128.00 | 32.00 | 64.00 | 32.00 | ||||||||||||||||||
| vssseg8e8.v v8,(t2),t1/*-1*/ | 32.00 | 64.00 | 128.00 | 256.00 | 32.00 | 64.00 | 128.00 | 32.00 | 64.00 | 32.00 | ||||||||||||||||||
| vssseg8e8.v v8,(t2),t1/*-1*/,v0.t | 32.00 | 64.00 | 128.00 | 256.00 | 32.00 | 64.00 | 128.00 | 32.00 | 64.00 | 32.00 | ||||||||||||||||||
| vssseg8e16.v v8,(t2),t3 | 33.03 | 64.30 | 129.25 | 32.00 | 64.00 | 128.13 | 32.00 | 64.00 | 32.00 | |||||||||||||||||||
| vssseg8e16.v v8,(t2),t3,v0.t | 32.00 | 64.00 | 128.70 | 32.00 | 64.00 | 128.94 | 32.00 | 64.00 | 32.00 | |||||||||||||||||||
| vssseg8e16.v v8,(t2),x0 | 32.00 | 64.00 | 128.00 | 32.00 | 64.00 | 128.00 | 32.00 | 64.00 | 32.00 | |||||||||||||||||||
| vssseg8e16.v v8,(t2),x0,v0.t | 32.00 | 64.00 | 128.00 | 32.00 | 64.00 | 128.00 | 32.00 | 64.00 | 32.00 | |||||||||||||||||||
| vssseg8e16.v v8,(t2),t1/*-1*/ | 32.00 | 64.00 | 128.00 | 32.00 | 64.00 | 128.00 | 32.00 | 64.00 | 32.00 | |||||||||||||||||||
| vssseg8e16.v v8,(t2),t1/*-1*/,v0.t | 32.00 | 64.00 | 128.00 | 32.00 | 64.00 | 128.00 | 32.00 | 64.00 | 32.00 | |||||||||||||||||||
| vssseg8e32.v v8,(t2),t3 | 32.36 | 64.25 | 32.00 | 64.65 | 32.57 | 64.02 | 32.44 | |||||||||||||||||||||
| vssseg8e32.v v8,(t2),t3,v0.t | 32.87 | 64.80 | 32.00 | 64.59 | 32.00 | 64.00 | 32.00 | |||||||||||||||||||||
| vssseg8e32.v v8,(t2),x0 | 32.00 | 64.00 | 32.00 | 64.00 | 32.00 | 64.00 | 32.00 | |||||||||||||||||||||
| vssseg8e32.v v8,(t2),x0,v0.t | 32.00 | 64.00 | 32.00 | 64.00 | 32.00 | 64.00 | 32.00 | |||||||||||||||||||||
| vssseg8e32.v v8,(t2),t1/*-1*/ | 32.00 | 64.00 | 32.00 | 64.00 | 32.00 | 64.00 | 32.00 | |||||||||||||||||||||
| vssseg8e32.v v8,(t2),t1/*-1*/,v0.t | 32.00 | 64.00 | 32.00 | 64.00 | 32.00 | 64.00 | 32.00 | |||||||||||||||||||||
| vssseg8e64.v v8,(t2),t3 | 33.71 | 34.09 | 34.01 | 33.82 | ||||||||||||||||||||||||
| vssseg8e64.v v8,(t2),t3,v0.t | 33.22 | 34.37 | 34.00 | 33.99 | ||||||||||||||||||||||||
| vssseg8e64.v v8,(t2),x0 | 33.56 | 35.82 | 36.01 | 32.00 | ||||||||||||||||||||||||
| vssseg8e64.v v8,(t2),x0,v0.t | 32.00 | 32.52 | 32.00 | 32.00 | ||||||||||||||||||||||||
| vssseg8e64.v v8,(t2),t1/*-1*/ | 32.90 | 32.15 | 33.52 | 32.30 | ||||||||||||||||||||||||
| vssseg8e64.v v8,(t2),t1/*-1*/,v0.t | 32.00 | 33.31 | 32.17 | 32.93 | ||||||||||||||||||||||||
| vandn.vv v8,v16,v24 | 1.00 | 1.00 | 1.00 | 1.00 | 2.00 | 4.00 | 8.00 | 1.00 | 1.00 | 1.00 | 2.00 | 4.00 | 8.00 | 1.00 | 1.00 | 2.00 | 4.00 | 8.00 | 1.00 | 2.00 | 4.00 | 8.00 | ||||||
| vandn.vv v8,v16,v24,v0.t | 1.00 | 1.00 | 1.00 | 1.00 | 2.00 | 4.00 | 8.00 | 1.00 | 1.00 | 1.00 | 2.00 | 4.00 | 8.00 | 1.00 | 1.00 | 2.00 | 4.00 | 8.00 | 1.00 | 2.00 | 4.00 | 8.00 | ||||||
| vandn.vx v8,v16,t0 | 1.06 | 1.06 | 1.06 | 1.06 | 2.00 | 4.00 | 8.00 | 1.06 | 1.06 | 1.06 | 2.00 | 4.00 | 8.00 | 1.06 | 1.06 | 2.00 | 4.00 | 8.00 | 1.06 | 2.00 | 4.00 | 8.00 | ||||||
| vandn.vx v8,v16,t0,v0.t | 1.06 | 1.06 | 1.06 | 1.06 | 2.00 | 4.00 | 8.00 | 1.06 | 1.06 | 1.06 | 2.00 | 4.00 | 8.00 | 1.06 | 1.06 | 2.00 | 4.00 | 8.00 | 1.06 | 2.00 | 4.00 | 8.00 | ||||||
| vbrev.v v8,v16 | 1.00 | 1.00 | 1.00 | 2.00 | 4.00 | 8.00 | 16.00 | 1.00 | 1.00 | 2.00 | 4.00 | 8.00 | 16.00 | 1.00 | 2.00 | 4.00 | 8.00 | 16.00 | 2.00 | 4.00 | 8.00 | 16.00 | ||||||
| vbrev.v v8,v16,v0.t | 1.00 | 1.00 | 1.00 | 2.00 | 4.00 | 8.00 | 16.00 | 1.00 | 1.00 | 2.00 | 4.00 | 8.00 | 16.00 | 1.00 | 2.00 | 4.00 | 8.00 | 16.00 | 2.00 | 4.00 | 8.00 | 16.00 | ||||||
| vbrev8.v v8,v16 | 1.00 | 1.00 | 1.00 | 2.00 | 4.00 | 8.00 | 16.00 | 1.00 | 1.00 | 2.00 | 4.00 | 8.00 | 16.00 | 1.00 | 2.00 | 4.00 | 8.00 | 16.00 | 2.00 | 4.00 | 8.00 | 16.00 | ||||||
| vbrev8.v v8,v16,v0.t | 1.00 | 1.00 | 1.00 | 2.00 | 4.00 | 8.00 | 16.00 | 1.00 | 1.00 | 2.00 | 4.00 | 8.00 | 16.00 | 1.00 | 2.00 | 4.00 | 8.00 | 16.00 | 2.00 | 4.00 | 8.00 | 16.00 | ||||||
| vclz.v v8,v16 | 1.00 | 1.00 | 1.00 | 2.00 | 4.00 | 8.00 | 16.00 | 1.00 | 1.00 | 2.00 | 4.00 | 8.00 | 16.00 | 1.00 | 2.00 | 4.00 | 8.00 | 16.00 | 2.00 | 4.00 | 8.00 | 16.00 | ||||||
| vclz.v v8,v16,v0.t | 1.00 | 1.00 | 1.00 | 2.00 | 4.00 | 8.00 | 16.00 | 1.00 | 1.00 | 2.00 | 4.00 | 8.00 | 16.00 | 1.00 | 2.00 | 4.00 | 8.00 | 16.00 | 2.00 | 4.00 | 8.00 | 16.00 | ||||||
| vctz.v v8,v16 | 1.00 | 1.00 | 1.00 | 2.00 | 4.00 | 8.00 | 16.00 | 1.00 | 1.00 | 2.00 | 4.00 | 8.00 | 16.00 | 1.00 | 2.00 | 4.00 | 8.00 | 16.00 | 2.00 | 4.00 | 8.00 | 16.00 | ||||||
| vctz.v v8,v16,v0.t | 1.00 | 1.00 | 1.00 | 2.00 | 4.00 | 8.00 | 16.00 | 1.00 | 1.00 | 2.00 | 4.00 | 8.00 | 16.00 | 1.00 | 2.00 | 4.00 | 8.00 | 16.00 | 2.00 | 4.00 | 8.00 | 16.00 | ||||||
| vcpop.v v8,v16 | 1.00 | 1.00 | 1.00 | 2.00 | 4.00 | 8.00 | 16.00 | 1.00 | 1.00 | 2.00 | 4.00 | 8.00 | 16.00 | 1.00 | 2.00 | 4.00 | 8.00 | 16.00 | 2.00 | 4.00 | 8.00 | 16.00 | ||||||
| vcpop.v v8,v16,v0.t | 1.00 | 1.00 | 1.00 | 2.00 | 4.00 | 8.00 | 16.00 | 1.00 | 1.00 | 2.00 | 4.00 | 8.00 | 16.00 | 1.00 | 2.00 | 4.00 | 8.00 | 16.00 | 2.00 | 4.00 | 8.00 | 16.00 | ||||||
| vrol.vv v8,v16,v24 | 1.00 | 1.00 | 1.00 | 2.00 | 4.00 | 8.00 | 16.00 | 1.00 | 1.00 | 2.00 | 4.00 | 8.00 | 16.00 | 1.00 | 2.00 | 4.00 | 8.00 | 16.00 | 2.00 | 4.00 | 8.00 | 16.00 | ||||||
| vrol.vv v8,v16,v24,v0.t | 1.00 | 1.00 | 1.00 | 2.00 | 4.00 | 8.00 | 16.00 | 1.00 | 1.00 | 2.00 | 4.00 | 8.00 | 16.00 | 1.00 | 2.00 | 4.00 | 8.00 | 16.00 | 2.00 | 4.00 | 8.00 | 16.00 | ||||||
| vrol.vx v8,v16,t0 | 1.06 | 1.06 | 1.06 | 2.00 | 4.00 | 8.00 | 16.00 | 1.06 | 1.06 | 2.00 | 4.00 | 8.00 | 16.00 | 1.06 | 2.00 | 4.00 | 8.00 | 16.00 | 2.00 | 4.00 | 8.00 | 16.00 | ||||||
| vrol.vx v8,v16,t0,v0.t | 1.06 | 1.06 | 1.06 | 2.00 | 4.00 | 8.00 | 16.00 | 1.06 | 1.06 | 2.00 | 4.00 | 8.00 | 16.00 | 1.06 | 2.00 | 4.00 | 8.00 | 16.00 | 2.00 | 4.00 | 8.00 | 16.00 | ||||||
| vror.vv v8,v16,v24 | 1.00 | 1.00 | 1.00 | 2.00 | 4.00 | 8.00 | 16.00 | 1.00 | 1.00 | 2.00 | 4.00 | 8.00 | 16.00 | 1.00 | 2.00 | 4.00 | 8.00 | 16.00 | 2.00 | 4.00 | 8.00 | 16.00 | ||||||
| vror.vv v8,v16,v24,v0.t | 1.00 | 1.00 | 1.00 | 2.00 | 4.00 | 8.00 | 16.00 | 1.00 | 1.00 | 2.00 | 4.00 | 8.00 | 16.00 | 1.00 | 2.00 | 4.00 | 8.00 | 16.00 | 2.00 | 4.00 | 8.00 | 16.00 | ||||||
| vror.vx v8,v16,t0 | 1.06 | 1.06 | 1.06 | 2.00 | 4.00 | 8.00 | 16.00 | 1.06 | 1.06 | 2.00 | 4.00 | 8.00 | 16.00 | 1.06 | 2.00 | 4.00 | 8.00 | 16.00 | 2.00 | 4.00 | 8.00 | 16.00 | ||||||
| vror.vx v8,v16,t0,v0.t | 1.06 | 1.06 | 1.06 | 2.00 | 4.00 | 8.00 | 16.00 | 1.06 | 1.06 | 2.00 | 4.00 | 8.00 | 16.00 | 1.06 | 2.00 | 4.00 | 8.00 | 16.00 | 2.00 | 4.00 | 8.00 | 16.00 | ||||||
| vwsll.vv v8,v16,v24 | 1.00 | 1.00 | 2.00 | 4.00 | 8.00 | 16.00 | 1.00 | 2.00 | 4.00 | 8.00 | 16.00 | 2.00 | 4.00 | 8.00 | 16.00 | |||||||||||||
| vwsll.vv v8,v16,v24,v0.t | 1.00 | 1.00 | 2.00 | 4.00 | 8.00 | 16.00 | 1.00 | 2.00 | 4.00 | 8.00 | 16.00 | 2.00 | 4.00 | 8.00 | 16.00 | |||||||||||||
| vwsll.vx v8,v16,t0 | 1.06 | 1.06 | 2.00 | 4.00 | 8.00 | 16.00 | 1.06 | 2.00 | 4.00 | 8.00 | 16.00 | 2.00 | 4.00 | 8.00 | 16.00 | |||||||||||||
| vwsll.vx v8,v16,t0,v0.t | 1.06 | 1.06 | 2.00 | 4.00 | 8.00 | 16.00 | 1.06 | 2.00 | 4.00 | 8.00 | 16.00 | 2.00 | 4.00 | 8.00 | 16.00 | |||||||||||||
| vclmul.vv v8,v16,v24 | 2.00 | 4.00 | 8.00 | 16.00 | ||||||||||||||||||||||||
| vclmul.vv v8,v16,v24,v0.t | 2.00 | 4.00 | 8.00 | 16.00 | ||||||||||||||||||||||||
| vclmul.vx v8,v16,t0 | 2.00 | 4.00 | 8.00 | 16.00 | ||||||||||||||||||||||||
| vclmul.vx v8,v16,t0,v0.t | 2.00 | 4.00 | 8.00 | 16.00 | ||||||||||||||||||||||||
| vclmulh.vv v8,v16,v24 | 2.00 | 4.00 | 8.00 | 16.00 | ||||||||||||||||||||||||
| vclmulh.vv v8,v16,v24,v0.t | 2.00 | 4.00 | 8.00 | 16.00 | ||||||||||||||||||||||||
| vclmulh.vx v8,v16,t0 | 2.00 | 4.00 | 8.00 | 16.00 | ||||||||||||||||||||||||
| vclmulh.vx v8,v16,t0,v0.t | 2.00 | 4.00 | 8.00 | 16.00 | ||||||||||||||||||||||||
| vghsh.vv v8,v16,v24 | 2.00 | 4.00 | 8.00 | 16.00 | ||||||||||||||||||||||||
| vgmul.vv v8,v16 | 2.00 | 4.00 | 8.00 | 16.00 |
| instruction | e8mf8 | e8mf4 | e8mf2 | e8m1 | e8m2 | e8m4 | e8m8 | e16mf8 | e16mf4 | e16mf2 | e16m1 | e16m2 | e16m4 | e16m8 | e32mf8 | e32mf4 | e32mf2 | e32m1 | e32m2 | e32m4 | e32m8 | e64mf8 | e64mf4 | e64mf2 | e64m1 | e64m2 | e64m4 | e64m8 |
|---|---|---|---|---|---|---|---|---|---|---|---|---|---|---|---|---|---|---|---|---|---|---|---|---|---|---|---|---|
| add t0,t1,t2 | 0.47 | 0.47 | 0.47 | 0.47 | 0.40 | 0.34 | 0.34 | 0.47 | 0.47 | 0.47 | 0.40 | 0.34 | 0.34 | 0.47 | 0.47 | 0.40 | 0.34 | 0.34 | 0.47 | 0.40 | 0.34 | 0.34 | ||||||
| mul t0,t1,t2 | 1.50 | 1.50 | 1.50 | 1.50 | 1.50 | 1.00 | 1.00 | 1.50 | 1.50 | 1.50 | 1.50 | 1.00 | 1.00 | 1.50 | 1.50 | 1.50 | 1.00 | 1.00 | 1.50 | 1.50 | 1.00 | 1.00 | ||||||
| vadd.vv v8,v16,v24 | 1.00 | 1.00 | 1.00 | 1.00 | 2.00 | 4.00 | 8.00 | 1.00 | 1.00 | 1.00 | 2.00 | 4.00 | 8.00 | 1.00 | 1.00 | 2.00 | 4.00 | 8.00 | 1.00 | 2.00 | 4.00 | 8.00 | ||||||
| vadd.vv v8,v16,v24,v0.t | 1.00 | 1.00 | 1.00 | 1.00 | 2.00 | 4.00 | 8.00 | 1.00 | 1.00 | 1.00 | 2.00 | 4.00 | 8.00 | 1.00 | 1.00 | 2.00 | 4.00 | 8.00 | 1.00 | 2.00 | 4.00 | 8.00 | ||||||
| vadd.vx v8,v16,t0 | 1.06 | 1.06 | 1.06 | 1.06 | 2.00 | 4.00 | 8.00 | 1.06 | 1.06 | 1.06 | 2.00 | 4.00 | 8.00 | 1.06 | 1.06 | 2.00 | 4.00 | 8.00 | 1.06 | 2.00 | 4.00 | 8.00 | ||||||
| vadd.vx v8,v16,t0,v0.t | 1.06 | 1.06 | 1.06 | 1.06 | 2.00 | 4.00 | 8.00 | 1.06 | 1.06 | 1.06 | 2.00 | 4.00 | 8.00 | 1.06 | 1.06 | 2.00 | 4.00 | 8.00 | 1.06 | 2.00 | 4.00 | 8.00 | ||||||
| vadd.vi v8,v16,13 | 1.00 | 1.00 | 1.00 | 1.00 | 2.00 | 4.00 | 8.00 | 1.00 | 1.00 | 1.00 | 2.00 | 4.00 | 8.00 | 1.00 | 1.00 | 2.00 | 4.00 | 8.00 | 1.00 | 2.00 | 4.00 | 8.00 | ||||||
| vadd.vi v8,v16,13,v0.t | 1.00 | 1.00 | 1.00 | 1.00 | 2.00 | 4.00 | 8.00 | 1.00 | 1.00 | 1.00 | 2.00 | 4.00 | 8.00 | 1.00 | 1.00 | 2.00 | 4.00 | 8.00 | 1.00 | 2.00 | 4.00 | 8.00 | ||||||
| vsub.vv v8,v16,v24 | 1.00 | 1.00 | 1.00 | 1.00 | 2.00 | 4.00 | 8.00 | 1.00 | 1.00 | 1.00 | 2.00 | 4.00 | 8.00 | 1.00 | 1.00 | 2.00 | 4.00 | 8.00 | 1.00 | 2.00 | 4.00 | 8.00 | ||||||
| vsub.vv v8,v16,v24,v0.t | 1.00 | 1.00 | 1.00 | 1.00 | 2.00 | 4.00 | 8.00 | 1.00 | 1.00 | 1.00 | 2.00 | 4.00 | 8.00 | 1.00 | 1.00 | 2.00 | 4.00 | 8.00 | 1.00 | 2.00 | 4.00 | 8.00 | ||||||
| vsub.vx v8,v16,t0 | 1.06 | 1.06 | 1.06 | 1.06 | 2.00 | 4.00 | 8.00 | 1.06 | 1.06 | 1.06 | 2.00 | 4.00 | 8.00 | 1.06 | 1.06 | 2.00 | 4.00 | 8.00 | 1.06 | 2.00 | 4.00 | 8.00 | ||||||
| vsub.vx v8,v16,t0,v0.t | 1.06 | 1.06 | 1.06 | 1.06 | 2.00 | 4.00 | 8.00 | 1.06 | 1.06 | 1.06 | 2.00 | 4.00 | 8.00 | 1.06 | 1.06 | 2.00 | 4.00 | 8.00 | 1.06 | 2.00 | 4.00 | 8.00 | ||||||
| vrsub.vx v8,v16,t0 | 1.06 | 1.06 | 1.06 | 1.06 | 2.00 | 4.00 | 8.00 | 1.06 | 1.06 | 1.06 | 2.00 | 4.00 | 8.00 | 1.06 | 1.06 | 2.00 | 4.00 | 8.00 | 1.06 | 2.00 | 4.00 | 8.00 | ||||||
| vrsub.vx v8,v16,t0,v0.t | 1.06 | 1.06 | 1.06 | 1.06 | 2.00 | 4.00 | 8.00 | 1.06 | 1.06 | 1.06 | 2.00 | 4.00 | 8.00 | 1.06 | 1.06 | 2.00 | 4.00 | 8.00 | 1.06 | 2.00 | 4.00 | 8.00 | ||||||
| vrsub.vi v8,v16,13 | 1.00 | 1.00 | 1.00 | 1.00 | 2.00 | 4.00 | 8.00 | 1.00 | 1.00 | 1.00 | 2.00 | 4.00 | 8.00 | 1.00 | 1.00 | 2.00 | 4.00 | 8.00 | 1.00 | 2.00 | 4.00 | 8.00 | ||||||
| vrsub.vi v8,v16,13,v0.t | 1.00 | 1.00 | 1.00 | 1.00 | 2.00 | 4.00 | 8.00 | 1.00 | 1.00 | 1.00 | 2.00 | 4.00 | 8.00 | 1.00 | 1.00 | 2.00 | 4.00 | 8.00 | 1.00 | 2.00 | 4.00 | 8.00 | ||||||
| vminu.vv v8,v16,v24 | 1.00 | 1.00 | 1.00 | 1.00 | 2.00 | 4.00 | 8.00 | 1.00 | 1.00 | 1.00 | 2.00 | 4.00 | 8.00 | 1.00 | 1.00 | 2.00 | 4.00 | 8.00 | 1.00 | 2.00 | 4.00 | 8.00 | ||||||
| vminu.vv v8,v16,v24,v0.t | 1.00 | 1.00 | 1.00 | 1.00 | 2.00 | 4.00 | 8.00 | 1.00 | 1.00 | 1.00 | 2.00 | 4.00 | 8.00 | 1.00 | 1.00 | 2.00 | 4.00 | 8.00 | 1.00 | 2.00 | 4.00 | 8.00 | ||||||
| vminu.vx v8,v16,t0 | 1.06 | 1.06 | 1.06 | 1.06 | 2.00 | 4.00 | 8.00 | 1.06 | 1.06 | 1.06 | 2.00 | 4.00 | 8.00 | 1.06 | 1.06 | 2.00 | 4.00 | 8.00 | 1.06 | 2.00 | 4.00 | 8.00 | ||||||
| vminu.vx v8,v16,t0,v0.t | 1.06 | 1.06 | 1.06 | 1.06 | 2.00 | 4.00 | 8.00 | 1.06 | 1.06 | 1.06 | 2.00 | 4.00 | 8.00 | 1.06 | 1.06 | 2.00 | 4.00 | 8.00 | 1.06 | 2.00 | 4.00 | 8.00 | ||||||
| vmin.vv v8,v16,v24 | 1.00 | 1.00 | 1.00 | 1.00 | 2.00 | 4.00 | 8.00 | 1.00 | 1.00 | 1.00 | 2.00 | 4.00 | 8.00 | 1.00 | 1.00 | 2.00 | 4.00 | 8.00 | 1.00 | 2.00 | 4.00 | 8.00 | ||||||
| vmin.vv v8,v16,v24,v0.t | 1.00 | 1.00 | 1.00 | 1.00 | 2.00 | 4.00 | 8.00 | 1.00 | 1.00 | 1.00 | 2.00 | 4.00 | 8.00 | 1.00 | 1.00 | 2.00 | 4.00 | 8.00 | 1.00 | 2.00 | 4.00 | 8.00 | ||||||
| vmin.vx v8,v16,t0 | 1.06 | 1.06 | 1.06 | 1.06 | 2.00 | 4.00 | 8.00 | 1.06 | 1.06 | 1.06 | 2.00 | 4.00 | 8.00 | 1.06 | 1.06 | 2.00 | 4.00 | 8.00 | 1.06 | 2.00 | 4.00 | 8.00 | ||||||
| vmin.vx v8,v16,t0,v0.t | 1.06 | 1.06 | 1.06 | 1.06 | 2.00 | 4.00 | 8.00 | 1.06 | 1.06 | 1.06 | 2.00 | 4.00 | 8.00 | 1.06 | 1.06 | 2.00 | 4.00 | 8.00 | 1.06 | 2.00 | 4.00 | 8.00 | ||||||
| vmaxu.vv v8,v16,v24 | 1.00 | 1.00 | 1.00 | 1.00 | 2.00 | 4.00 | 8.00 | 1.00 | 1.00 | 1.00 | 2.00 | 4.00 | 8.00 | 1.00 | 1.00 | 2.00 | 4.00 | 8.00 | 1.00 | 2.00 | 4.00 | 8.00 | ||||||
| vmaxu.vv v8,v16,v24,v0.t | 1.00 | 1.00 | 1.00 | 1.00 | 2.00 | 4.00 | 8.00 | 1.00 | 1.00 | 1.00 | 2.00 | 4.00 | 8.00 | 1.00 | 1.00 | 2.00 | 4.00 | 8.00 | 1.00 | 2.00 | 4.00 | 8.00 | ||||||
| vmaxu.vx v8,v16,t0 | 1.06 | 1.06 | 1.06 | 1.06 | 2.00 | 4.00 | 8.00 | 1.06 | 1.06 | 1.06 | 2.00 | 4.00 | 8.00 | 1.06 | 1.06 | 2.00 | 4.00 | 8.00 | 1.06 | 2.00 | 4.00 | 8.00 | ||||||
| vmaxu.vx v8,v16,t0,v0.t | 1.06 | 1.06 | 1.06 | 1.06 | 2.00 | 4.00 | 8.00 | 1.06 | 1.06 | 1.06 | 2.00 | 4.00 | 8.00 | 1.06 | 1.06 | 2.00 | 4.00 | 8.00 | 1.06 | 2.00 | 4.00 | 8.00 | ||||||
| vmax.vv v8,v16,v24 | 1.00 | 1.00 | 1.00 | 1.00 | 2.00 | 4.00 | 8.00 | 1.00 | 1.00 | 1.00 | 2.00 | 4.00 | 8.00 | 1.00 | 1.00 | 2.00 | 4.00 | 8.00 | 1.00 | 2.00 | 4.00 | 8.00 | ||||||
| vmax.vv v8,v16,v24,v0.t | 1.00 | 1.00 | 1.00 | 1.00 | 2.00 | 4.00 | 8.00 | 1.00 | 1.00 | 1.00 | 2.00 | 4.00 | 8.00 | 1.00 | 1.00 | 2.00 | 4.00 | 8.00 | 1.00 | 2.00 | 4.00 | 8.00 | ||||||
| vmax.vx v8,v16,t0 | 1.06 | 1.06 | 1.06 | 1.06 | 2.00 | 4.00 | 8.00 | 1.06 | 1.06 | 1.06 | 2.00 | 4.00 | 8.00 | 1.06 | 1.06 | 2.00 | 4.00 | 8.00 | 1.06 | 2.00 | 4.00 | 8.00 | ||||||
| vmax.vx v8,v16,t0,v0.t | 1.06 | 1.06 | 1.06 | 1.06 | 2.00 | 4.00 | 8.00 | 1.06 | 1.06 | 1.06 | 2.00 | 4.00 | 8.00 | 1.06 | 1.06 | 2.00 | 4.00 | 8.00 | 1.06 | 2.00 | 4.00 | 8.00 | ||||||
| vand.vv v8,v16,v24 | 1.00 | 1.00 | 1.00 | 1.00 | 2.00 | 4.00 | 8.00 | 1.00 | 1.00 | 1.00 | 2.00 | 4.00 | 8.00 | 1.00 | 1.00 | 2.00 | 4.00 | 8.00 | 1.00 | 2.00 | 4.00 | 8.00 | ||||||
| vand.vv v8,v16,v24,v0.t | 1.00 | 1.00 | 1.00 | 1.00 | 2.00 | 4.00 | 8.00 | 1.00 | 1.00 | 1.00 | 2.00 | 4.00 | 8.00 | 1.00 | 1.00 | 2.00 | 4.00 | 8.00 | 1.00 | 2.00 | 4.00 | 8.00 | ||||||
| vand.vx v8,v16,t0 | 1.06 | 1.06 | 1.06 | 1.06 | 2.00 | 4.00 | 8.00 | 1.06 | 1.06 | 1.06 | 2.00 | 4.00 | 8.00 | 1.06 | 1.06 | 2.00 | 4.00 | 8.00 | 1.06 | 2.00 | 4.00 | 8.00 | ||||||
| vand.vx v8,v16,t0,v0.t | 1.06 | 1.06 | 1.06 | 1.06 | 2.00 | 4.00 | 8.00 | 1.06 | 1.06 | 1.06 | 2.00 | 4.00 | 8.00 | 1.06 | 1.06 | 2.00 | 4.00 | 8.00 | 1.06 | 2.00 | 4.00 | 8.00 | ||||||
| vand.vi v8,v16,13 | 1.00 | 1.00 | 1.00 | 1.00 | 2.00 | 4.00 | 8.00 | 1.00 | 1.00 | 1.00 | 2.00 | 4.00 | 8.00 | 1.00 | 1.00 | 2.00 | 4.00 | 8.00 | 1.00 | 2.00 | 4.00 | 8.00 | ||||||
| vand.vi v8,v16,13,v0.t | 1.00 | 1.00 | 1.00 | 1.00 | 2.00 | 4.00 | 8.00 | 1.00 | 1.00 | 1.00 | 2.00 | 4.00 | 8.00 | 1.00 | 1.00 | 2.00 | 4.00 | 8.00 | 1.00 | 2.00 | 4.00 | 8.00 | ||||||
| vor.vv v8,v16,v24 | 1.00 | 1.00 | 1.00 | 1.00 | 2.00 | 4.00 | 8.00 | 1.00 | 1.00 | 1.00 | 2.00 | 4.00 | 8.00 | 1.00 | 1.00 | 2.00 | 4.00 | 8.00 | 1.00 | 2.00 | 4.00 | 8.00 | ||||||
| vor.vv v8,v16,v24,v0.t | 1.00 | 1.00 | 1.00 | 1.00 | 2.00 | 4.00 | 8.00 | 1.00 | 1.00 | 1.00 | 2.00 | 4.00 | 8.00 | 1.00 | 1.00 | 2.00 | 4.00 | 8.00 | 1.00 | 2.00 | 4.00 | 8.00 | ||||||
| vor.vx v8,v16,t0 | 1.06 | 1.06 | 1.06 | 1.06 | 2.00 | 4.00 | 8.00 | 1.06 | 1.06 | 1.06 | 2.00 | 4.00 | 8.00 | 1.06 | 1.06 | 2.00 | 4.00 | 8.00 | 1.06 | 2.00 | 4.00 | 8.00 | ||||||
| vor.vx v8,v16,t0,v0.t | 1.06 | 1.06 | 1.06 | 1.06 | 2.00 | 4.00 | 8.00 | 1.06 | 1.06 | 1.06 | 2.00 | 4.00 | 8.00 | 1.06 | 1.06 | 2.00 | 4.00 | 8.00 | 1.06 | 2.00 | 4.00 | 8.00 | ||||||
| vor.vi v8,v16,13 | 1.00 | 1.00 | 1.00 | 1.00 | 2.00 | 4.00 | 8.00 | 1.00 | 1.00 | 1.00 | 2.00 | 4.00 | 8.00 | 1.00 | 1.00 | 2.00 | 4.00 | 8.00 | 1.00 | 2.00 | 4.00 | 8.00 | ||||||
| vor.vi v8,v16,13,v0.t | 1.00 | 1.00 | 1.00 | 1.00 | 2.00 | 4.00 | 8.00 | 1.00 | 1.00 | 1.00 | 2.00 | 4.00 | 8.00 | 1.00 | 1.00 | 2.00 | 4.00 | 8.00 | 1.00 | 2.00 | 4.00 | 8.00 | ||||||
| vxor.vv v8,v16,v24 | 1.00 | 1.00 | 1.00 | 1.00 | 2.00 | 4.00 | 8.00 | 1.00 | 1.00 | 1.00 | 2.00 | 4.00 | 8.00 | 1.00 | 1.00 | 2.00 | 4.00 | 8.00 | 1.00 | 2.00 | 4.00 | 8.00 | ||||||
| vxor.vv v8,v16,v24,v0.t | 1.00 | 1.00 | 1.00 | 1.00 | 2.00 | 4.00 | 8.00 | 1.00 | 1.00 | 1.00 | 2.00 | 4.00 | 8.00 | 1.00 | 1.00 | 2.00 | 4.00 | 8.00 | 1.00 | 2.00 | 4.00 | 8.00 | ||||||
| vxor.vx v8,v16,t0 | 1.06 | 1.06 | 1.06 | 1.06 | 2.00 | 4.00 | 8.00 | 1.06 | 1.06 | 1.06 | 2.00 | 4.00 | 8.00 | 1.06 | 1.06 | 2.00 | 4.00 | 8.00 | 1.06 | 2.00 | 4.00 | 8.00 | ||||||
| vxor.vx v8,v16,t0,v0.t | 1.06 | 1.06 | 1.06 | 1.06 | 2.00 | 4.00 | 8.00 | 1.06 | 1.06 | 1.06 | 2.00 | 4.00 | 8.00 | 1.06 | 1.06 | 2.00 | 4.00 | 8.00 | 1.06 | 2.00 | 4.00 | 8.00 | ||||||
| vxor.vi v8,v16,13 | 1.00 | 1.00 | 1.00 | 1.00 | 2.00 | 4.00 | 8.00 | 1.00 | 1.00 | 1.00 | 2.00 | 4.00 | 8.00 | 1.00 | 1.00 | 2.00 | 4.00 | 8.00 | 1.00 | 2.00 | 4.00 | 8.00 | ||||||
| vxor.vi v8,v16,13,v0.t | 1.00 | 1.00 | 1.00 | 1.00 | 2.00 | 4.00 | 8.00 | 1.00 | 1.00 | 1.00 | 2.00 | 4.00 | 8.00 | 1.00 | 1.00 | 2.00 | 4.00 | 8.00 | 1.00 | 2.00 | 4.00 | 8.00 | ||||||
| vrgather.vv v8,v16,v24 | 1.00 | 1.00 | 1.00 | 2.00 | 8.00 | 32.00 | 127.95 | 1.00 | 1.00 | 2.00 | 8.00 | 32.00 | 127.95 | 1.00 | 2.00 | 8.00 | 32.00 | 127.96 | 2.00 | 8.00 | 32.00 | 127.96 | ||||||
| vrgather.vv v8,v16,v24,v0.t | 1.00 | 1.00 | 1.00 | 2.00 | 8.00 | 32.00 | 127.96 | 1.00 | 1.00 | 2.00 | 8.00 | 32.00 | 127.96 | 1.00 | 2.00 | 8.00 | 32.00 | 127.95 | 2.00 | 8.00 | 32.00 | 127.96 | ||||||
| vrgather.vx v8,v16,t0 | 1.32 | 1.32 | 1.32 | 2.07 | 4.00 | 8.00 | 16.00 | 1.32 | 1.32 | 2.07 | 4.00 | 8.00 | 16.00 | 1.32 | 2.07 | 4.00 | 8.00 | 16.00 | 2.07 | 4.00 | 8.00 | 16.00 | ||||||
| vrgather.vx v8,v16,t0,v0.t | 1.32 | 1.32 | 1.32 | 2.07 | 4.00 | 8.00 | 16.00 | 1.32 | 1.32 | 2.07 | 4.00 | 8.00 | 16.00 | 1.32 | 2.07 | 4.00 | 8.00 | 16.00 | 2.07 | 4.00 | 8.00 | 16.00 | ||||||
| vrgather.vi v8,v16,3 | 1.00 | 1.00 | 1.00 | 2.00 | 4.00 | 8.00 | 16.00 | 1.00 | 1.00 | 2.00 | 4.00 | 8.00 | 16.00 | 1.00 | 2.00 | 4.00 | 8.00 | 16.00 | 2.00 | 4.00 | 8.00 | 16.00 | ||||||
| vrgather.vi v8,v16,3,v0.t | 1.00 | 1.00 | 1.00 | 2.00 | 4.00 | 8.00 | 16.00 | 1.00 | 1.00 | 2.00 | 4.00 | 8.00 | 16.00 | 1.00 | 2.00 | 4.00 | 8.00 | 16.00 | 2.00 | 4.00 | 8.00 | 16.00 | ||||||
| vslideup.vx v8,v16,t0 | 1.06 | 1.06 | 1.06 | 2.00 | 4.00 | 8.00 | 16.00 | 1.06 | 1.06 | 2.00 | 4.00 | 8.00 | 16.00 | 1.06 | 2.00 | 4.00 | 8.00 | 16.00 | 2.00 | 4.00 | 8.00 | 16.00 | ||||||
| vslideup.vx v8,v16,t0,v0.t | 1.06 | 1.06 | 1.06 | 2.00 | 4.00 | 8.00 | 16.00 | 1.06 | 1.06 | 2.00 | 4.00 | 8.00 | 16.00 | 1.06 | 2.00 | 4.00 | 8.00 | 16.00 | 2.00 | 4.00 | 8.00 | 16.00 | ||||||
| vslideup.vi v8,v16,3 | 1.00 | 1.00 | 1.00 | 2.00 | 4.00 | 8.00 | 16.00 | 1.00 | 1.00 | 2.00 | 4.00 | 8.00 | 16.00 | 1.00 | 2.00 | 4.00 | 8.00 | 16.00 | 2.00 | 4.00 | 8.00 | 16.00 | ||||||
| vslideup.vi v8,v16,3,v0.t | 1.00 | 1.00 | 1.00 | 2.00 | 4.00 | 8.00 | 16.00 | 1.00 | 1.00 | 2.00 | 4.00 | 8.00 | 16.00 | 1.00 | 2.00 | 4.00 | 8.00 | 16.00 | 2.00 | 4.00 | 8.00 | 16.00 | ||||||
| vrgatherei16.vv v8,v16,v24 | 1.00 | 1.00 | 2.00 | 4.00 | 16.00 | 63.99 | 1.00 | 1.00 | 2.00 | 8.00 | 32.00 | 127.95 | 1.00 | 2.00 | 8.00 | 32.00 | 127.96 | 2.00 | 8.00 | 32.00 | 127.95 | |||||||
| vrgatherei16.vv v8,v16,v24,v0.t | 1.00 | 1.00 | 2.00 | 4.00 | 16.00 | 63.99 | 1.00 | 1.00 | 2.00 | 8.00 | 32.00 | 127.96 | 1.00 | 2.00 | 8.00 | 32.00 | 127.96 | 2.00 | 8.00 | 32.00 | 127.96 | |||||||
| vslidedown.vx v8,v16,t0 | 1.32 | 1.32 | 1.32 | 3.00 | 5.00 | 9.00 | 17.00 | 1.32 | 1.32 | 3.00 | 5.00 | 9.00 | 17.00 | 1.32 | 3.00 | 5.00 | 9.00 | 17.00 | 3.00 | 5.00 | 9.00 | 17.00 | ||||||
| vslidedown.vx v8,v16,t0,v0.t | 1.32 | 1.32 | 1.32 | 3.00 | 5.00 | 9.00 | 17.00 | 1.32 | 1.32 | 3.00 | 5.00 | 9.00 | 17.00 | 1.32 | 3.00 | 5.00 | 9.00 | 17.00 | 3.00 | 5.00 | 9.00 | 17.00 | ||||||
| vslidedown.vi v8,v16,3 | 1.00 | 1.00 | 1.00 | 3.00 | 5.00 | 9.00 | 17.00 | 1.00 | 1.00 | 3.00 | 5.00 | 9.00 | 17.00 | 1.00 | 3.00 | 5.00 | 9.00 | 17.00 | 3.00 | 5.00 | 9.00 | 17.00 | ||||||
| vslidedown.vi v8,v16,3,v0.t | 1.00 | 1.00 | 1.00 | 3.00 | 5.00 | 9.00 | 17.00 | 1.00 | 1.00 | 3.00 | 5.00 | 9.00 | 17.00 | 1.00 | 3.00 | 5.00 | 9.00 | 17.00 | 3.00 | 5.00 | 9.00 | 17.00 | ||||||
| vredsum.vs v8,v16,v24 | 1.00 | 1.00 | 1.00 | 1.00 | 2.00 | 5.50 | 19.00 | 1.00 | 1.00 | 1.00 | 2.00 | 5.50 | 19.00 | 1.00 | 1.00 | 2.00 | 5.50 | 19.00 | 1.00 | 2.00 | 5.50 | 19.00 | ||||||
| vredsum.vs v8,v16,v24,v0.t | 1.00 | 1.00 | 1.00 | 1.00 | 2.00 | 5.50 | 19.00 | 1.00 | 1.00 | 1.00 | 2.00 | 5.50 | 19.00 | 1.00 | 1.00 | 2.00 | 5.50 | 19.00 | 1.00 | 2.00 | 5.50 | 19.00 | ||||||
| vredand.vs v8,v16,v24 | 1.00 | 1.00 | 1.00 | 1.00 | 2.00 | 5.00 | 18.00 | 1.00 | 1.00 | 1.00 | 2.00 | 5.00 | 18.00 | 1.00 | 1.00 | 2.00 | 5.00 | 18.00 | 1.00 | 2.00 | 5.00 | 18.00 | ||||||
| vredand.vs v8,v16,v24,v0.t | 1.00 | 1.00 | 1.00 | 1.00 | 2.00 | 5.00 | 18.00 | 1.00 | 1.00 | 1.00 | 2.00 | 5.00 | 18.00 | 1.00 | 1.00 | 2.00 | 5.00 | 18.00 | 1.00 | 2.00 | 5.00 | 18.00 | ||||||
| vredor.vs v8,v16,v24 | 1.00 | 1.00 | 1.00 | 1.00 | 2.00 | 5.00 | 18.00 | 1.00 | 1.00 | 1.00 | 2.00 | 5.00 | 18.00 | 1.00 | 1.00 | 2.00 | 5.00 | 18.00 | 1.00 | 2.00 | 5.00 | 18.00 | ||||||
| vredor.vs v8,v16,v24,v0.t | 1.00 | 1.00 | 1.00 | 1.00 | 2.00 | 5.00 | 18.00 | 1.00 | 1.00 | 1.00 | 2.00 | 5.00 | 18.00 | 1.00 | 1.00 | 2.00 | 5.00 | 18.00 | 1.00 | 2.00 | 5.00 | 18.00 | ||||||
| vredxor.vs v8,v16,v24 | 1.00 | 1.00 | 1.00 | 1.00 | 2.00 | 5.00 | 18.00 | 1.00 | 1.00 | 1.00 | 2.00 | 5.00 | 18.00 | 1.00 | 1.00 | 2.00 | 5.00 | 18.00 | 1.00 | 2.00 | 5.00 | 18.00 | ||||||
| vredxor.vs v8,v16,v24,v0.t | 1.00 | 1.00 | 1.00 | 1.00 | 2.00 | 5.00 | 18.00 | 1.00 | 1.00 | 1.00 | 2.00 | 5.00 | 18.00 | 1.00 | 1.00 | 2.00 | 5.00 | 18.00 | 1.00 | 2.00 | 5.00 | 18.00 | ||||||
| vredminu.vs v8,v16,v24 | 1.00 | 1.00 | 1.00 | 1.00 | 2.00 | 5.50 | 19.00 | 1.00 | 1.00 | 1.00 | 2.00 | 5.50 | 19.00 | 1.00 | 1.00 | 2.00 | 5.50 | 19.00 | 1.00 | 2.00 | 5.50 | 19.00 | ||||||
| vredminu.vs v8,v16,v24,v0.t | 1.00 | 1.00 | 1.00 | 1.00 | 2.00 | 5.50 | 19.00 | 1.00 | 1.00 | 1.00 | 2.00 | 5.50 | 19.00 | 1.00 | 1.00 | 2.00 | 5.50 | 19.00 | 1.00 | 2.00 | 5.50 | 19.00 | ||||||
| vredmin.vs v8,v16,v24 | 1.00 | 1.00 | 1.00 | 1.00 | 2.00 | 5.50 | 19.00 | 1.00 | 1.00 | 1.00 | 2.00 | 5.50 | 19.00 | 1.00 | 1.00 | 2.00 | 5.50 | 19.00 | 1.00 | 2.00 | 5.50 | 19.00 | ||||||
| vredmin.vs v8,v16,v24,v0.t | 1.00 | 1.00 | 1.00 | 1.00 | 2.00 | 5.50 | 19.00 | 1.00 | 1.00 | 1.00 | 2.00 | 5.50 | 19.00 | 1.00 | 1.00 | 2.00 | 5.50 | 19.00 | 1.00 | 2.00 | 5.50 | 19.00 | ||||||
| vredmaxu.vs v8,v16,v24 | 1.00 | 1.00 | 1.00 | 1.00 | 2.00 | 5.50 | 19.00 | 1.00 | 1.00 | 1.00 | 2.00 | 5.50 | 19.00 | 1.00 | 1.00 | 2.00 | 5.50 | 19.00 | 1.00 | 2.00 | 5.50 | 19.00 | ||||||
| vredmaxu.vs v8,v16,v24,v0.t | 1.00 | 1.00 | 1.00 | 1.00 | 2.00 | 5.50 | 19.00 | 1.00 | 1.00 | 1.00 | 2.00 | 5.50 | 19.00 | 1.00 | 1.00 | 2.00 | 5.50 | 19.00 | 1.00 | 2.00 | 5.50 | 19.00 | ||||||
| vredmax.vs v8,v16,v24 | 1.00 | 1.00 | 1.00 | 1.00 | 2.00 | 5.50 | 19.00 | 1.00 | 1.00 | 1.00 | 2.00 | 5.50 | 19.00 | 1.00 | 1.00 | 2.00 | 5.50 | 19.00 | 1.00 | 2.00 | 5.50 | 19.00 | ||||||
| vredmax.vs v8,v16,v24,v0.t | 1.00 | 1.00 | 1.00 | 1.00 | 2.00 | 5.50 | 19.00 | 1.00 | 1.00 | 1.00 | 2.00 | 5.50 | 19.00 | 1.00 | 1.00 | 2.00 | 5.50 | 19.00 | 1.00 | 2.00 | 5.50 | 19.00 | ||||||
| vaaddu.vv v8,v16,v24 | 1.00 | 1.00 | 1.00 | 1.00 | 2.00 | 4.00 | 8.00 | 1.00 | 1.00 | 1.00 | 2.00 | 4.00 | 8.00 | 1.00 | 1.00 | 2.00 | 4.00 | 8.00 | 1.00 | 2.00 | 4.00 | 8.00 | ||||||
| vaaddu.vv v8,v16,v24,v0.t | 1.00 | 1.00 | 1.00 | 1.00 | 2.00 | 4.00 | 8.00 | 1.00 | 1.00 | 1.00 | 2.00 | 4.00 | 8.00 | 1.00 | 1.00 | 2.00 | 4.00 | 8.00 | 1.00 | 2.00 | 4.00 | 8.00 | ||||||
| vaaddu.vx v8,v16,t0 | 1.06 | 1.06 | 1.06 | 1.06 | 2.00 | 4.00 | 8.00 | 1.06 | 1.06 | 1.06 | 2.00 | 4.00 | 8.00 | 1.06 | 1.06 | 2.00 | 4.00 | 8.00 | 1.06 | 2.00 | 4.00 | 8.00 | ||||||
| vaaddu.vx v8,v16,t0,v0.t | 1.06 | 1.06 | 1.06 | 1.06 | 2.00 | 4.00 | 8.00 | 1.06 | 1.06 | 1.06 | 2.00 | 4.00 | 8.00 | 1.06 | 1.06 | 2.00 | 4.00 | 8.00 | 1.06 | 2.00 | 4.00 | 8.00 | ||||||
| vaadd.vv v8,v16,v24 | 1.00 | 1.00 | 1.00 | 1.00 | 2.00 | 4.00 | 8.00 | 1.00 | 1.00 | 1.00 | 2.00 | 4.00 | 8.00 | 1.00 | 1.00 | 2.00 | 4.00 | 8.00 | 1.00 | 2.00 | 4.00 | 8.00 | ||||||
| vaadd.vv v8,v16,v24,v0.t | 1.00 | 1.00 | 1.00 | 1.00 | 2.00 | 4.00 | 8.00 | 1.00 | 1.00 | 1.00 | 2.00 | 4.00 | 8.00 | 1.00 | 1.00 | 2.00 | 4.00 | 8.00 | 1.00 | 2.00 | 4.00 | 8.00 | ||||||
| vaadd.vx v8,v16,t0 | 1.06 | 1.06 | 1.06 | 1.06 | 2.00 | 4.00 | 8.00 | 1.06 | 1.06 | 1.06 | 2.00 | 4.00 | 8.00 | 1.06 | 1.06 | 2.00 | 4.00 | 8.00 | 1.06 | 2.00 | 4.00 | 8.00 | ||||||
| vaadd.vx v8,v16,t0,v0.t | 1.06 | 1.06 | 1.06 | 1.06 | 2.00 | 4.00 | 8.00 | 1.06 | 1.06 | 1.06 | 2.00 | 4.00 | 8.00 | 1.06 | 1.06 | 2.00 | 4.00 | 8.00 | 1.06 | 2.00 | 4.00 | 8.00 | ||||||
| vasubu.vv v8,v16,v24 | 1.00 | 1.00 | 1.00 | 1.00 | 2.00 | 4.00 | 8.00 | 1.00 | 1.00 | 1.00 | 2.00 | 4.00 | 8.00 | 1.00 | 1.00 | 2.00 | 4.00 | 8.00 | 1.00 | 2.00 | 4.00 | 8.00 | ||||||
| vasubu.vv v8,v16,v24,v0.t | 1.00 | 1.00 | 1.00 | 1.00 | 2.00 | 4.00 | 8.00 | 1.00 | 1.00 | 1.00 | 2.00 | 4.00 | 8.00 | 1.00 | 1.00 | 2.00 | 4.00 | 8.00 | 1.00 | 2.00 | 4.00 | 8.00 | ||||||
| vasubu.vx v8,v16,t0 | 1.06 | 1.06 | 1.06 | 1.06 | 2.00 | 4.00 | 8.00 | 1.06 | 1.06 | 1.06 | 2.00 | 4.00 | 8.00 | 1.06 | 1.06 | 2.00 | 4.00 | 8.00 | 1.06 | 2.00 | 4.00 | 8.00 | ||||||
| vasubu.vx v8,v16,t0,v0.t | 1.06 | 1.06 | 1.06 | 1.06 | 2.00 | 4.00 | 8.00 | 1.06 | 1.06 | 1.06 | 2.00 | 4.00 | 8.00 | 1.06 | 1.06 | 2.00 | 4.00 | 8.00 | 1.06 | 2.00 | 4.00 | 8.00 | ||||||
| vasub.vv v8,v16,v24 | 1.00 | 1.00 | 1.00 | 1.00 | 2.00 | 4.00 | 8.00 | 1.00 | 1.00 | 1.00 | 2.00 | 4.00 | 8.00 | 1.00 | 1.00 | 2.00 | 4.00 | 8.00 | 1.00 | 2.00 | 4.00 | 8.00 | ||||||
| vasub.vv v8,v16,v24,v0.t | 1.00 | 1.00 | 1.00 | 1.00 | 2.00 | 4.00 | 8.00 | 1.00 | 1.00 | 1.00 | 2.00 | 4.00 | 8.00 | 1.00 | 1.00 | 2.00 | 4.00 | 8.00 | 1.00 | 2.00 | 4.00 | 8.00 | ||||||
| vasub.vx v8,v16,t0 | 1.06 | 1.06 | 1.06 | 1.06 | 2.00 | 4.00 | 8.00 | 1.06 | 1.06 | 1.06 | 2.00 | 4.00 | 8.00 | 1.06 | 1.06 | 2.00 | 4.00 | 8.00 | 1.06 | 2.00 | 4.00 | 8.00 | ||||||
| vasub.vx v8,v16,t0,v0.t | 1.06 | 1.06 | 1.06 | 1.06 | 2.00 | 4.00 | 8.00 | 1.06 | 1.06 | 1.06 | 2.00 | 4.00 | 8.00 | 1.06 | 1.06 | 2.00 | 4.00 | 8.00 | 1.06 | 2.00 | 4.00 | 8.00 | ||||||
| vslide1up.vx v8,v16,t0 | 1.06 | 1.06 | 1.06 | 2.00 | 4.00 | 8.00 | 16.00 | 1.06 | 1.06 | 2.00 | 4.00 | 8.00 | 16.00 | 1.06 | 2.00 | 4.00 | 8.00 | 16.00 | 2.00 | 4.00 | 8.00 | 16.00 | ||||||
| vslide1up.vx v8,v16,t0,v0.t | 1.06 | 1.06 | 1.06 | 2.00 | 4.00 | 8.00 | 16.00 | 1.06 | 1.06 | 2.00 | 4.00 | 8.00 | 16.00 | 1.06 | 2.00 | 4.00 | 8.00 | 16.00 | 2.00 | 4.00 | 8.00 | 16.00 | ||||||
| vslide1down.vx v8,v16,t0 | 1.06 | 1.06 | 1.06 | 3.00 | 5.00 | 9.00 | 17.00 | 1.06 | 1.06 | 3.00 | 5.00 | 9.00 | 17.00 | 1.06 | 3.00 | 5.00 | 9.00 | 17.00 | 3.00 | 5.00 | 9.00 | 17.00 | ||||||
| vslide1down.vx v8,v16,t0,v0.t | 1.06 | 1.06 | 1.06 | 3.00 | 5.00 | 9.00 | 17.00 | 1.06 | 1.06 | 3.00 | 5.00 | 9.00 | 17.00 | 1.06 | 3.00 | 5.00 | 9.00 | 17.00 | 3.00 | 5.00 | 9.00 | 17.00 | ||||||
| vadc.vvm v8,v16,v24,v0 | 1.00 | 1.00 | 1.00 | 1.00 | 2.00 | 4.00 | 8.00 | 1.00 | 1.00 | 1.00 | 2.00 | 4.00 | 8.00 | 1.00 | 1.00 | 2.00 | 4.00 | 8.00 | 1.00 | 2.00 | 4.00 | 8.00 | ||||||
| vadc.vxm v8,v16,t0,v0 | 1.06 | 1.06 | 1.06 | 1.06 | 2.00 | 4.00 | 8.00 | 1.06 | 1.06 | 1.06 | 2.00 | 4.00 | 8.00 | 1.06 | 1.06 | 2.00 | 4.00 | 8.00 | 1.06 | 2.00 | 4.00 | 8.00 | ||||||
| vadc.vim v8,v16,13,v0 | 1.00 | 1.00 | 1.00 | 1.00 | 2.00 | 4.00 | 8.00 | 1.00 | 1.00 | 1.00 | 2.00 | 4.00 | 8.00 | 1.00 | 1.00 | 2.00 | 4.00 | 8.00 | 1.00 | 2.00 | 4.00 | 8.00 | ||||||
| vmadc.vvm v8,v16,v24,v0 | 1.00 | 1.00 | 1.00 | 2.00 | 2.50 | 5.00 | 11.00 | 1.00 | 1.00 | 2.00 | 2.50 | 5.00 | 18.00 | 1.00 | 2.00 | 2.50 | 5.00 | 18.00 | 2.00 | 2.50 | 5.00 | 18.00 | ||||||
| vmadc.vxm v8,v16,t0,v0 | 1.06 | 1.06 | 1.06 | 2.00 | 2.50 | 5.00 | 11.00 | 1.06 | 1.06 | 2.00 | 2.50 | 5.00 | 18.00 | 1.06 | 2.00 | 2.50 | 5.00 | 18.00 | 2.00 | 2.50 | 5.00 | 18.00 | ||||||
| vmadc.vim v8,v16,13,v0 | 1.00 | 1.00 | 1.00 | 2.00 | 2.50 | 5.00 | 11.00 | 1.00 | 1.00 | 2.00 | 2.50 | 5.00 | 18.00 | 1.00 | 2.00 | 2.50 | 5.00 | 18.00 | 2.00 | 2.50 | 5.00 | 18.00 | ||||||
| vmadc.vv v8,v16,v24 | 1.00 | 1.00 | 1.00 | 2.00 | 2.50 | 5.00 | 11.00 | 1.00 | 1.00 | 2.00 | 2.50 | 5.00 | 18.00 | 1.00 | 2.00 | 2.50 | 5.00 | 18.00 | 2.00 | 2.50 | 5.00 | 18.00 | ||||||
| vmadc.vx v8,v16,t0 | 1.06 | 1.06 | 1.06 | 2.00 | 2.50 | 5.00 | 11.00 | 1.06 | 1.06 | 2.00 | 2.50 | 5.00 | 18.00 | 1.06 | 2.00 | 2.50 | 5.00 | 18.00 | 2.00 | 2.50 | 5.00 | 18.00 | ||||||
| vmadc.vi v8,v16,13 | 1.00 | 1.00 | 1.00 | 2.00 | 2.50 | 5.00 | 11.00 | 1.00 | 1.00 | 2.00 | 2.50 | 5.00 | 18.00 | 1.00 | 2.00 | 2.50 | 5.00 | 18.00 | 2.00 | 2.50 | 5.00 | 18.00 | ||||||
| vsbc.vvm v8,v16,v24,v0 | 1.00 | 1.00 | 1.00 | 1.00 | 2.00 | 4.00 | 8.00 | 1.00 | 1.00 | 1.00 | 2.00 | 4.00 | 8.00 | 1.00 | 1.00 | 2.00 | 4.00 | 8.00 | 1.00 | 2.00 | 4.00 | 8.00 | ||||||
| vsbc.vxm v8,v16,t0,v0 | 1.06 | 1.06 | 1.06 | 1.06 | 2.00 | 4.00 | 8.00 | 1.06 | 1.06 | 1.06 | 2.00 | 4.00 | 8.00 | 1.06 | 1.06 | 2.00 | 4.00 | 8.00 | 1.06 | 2.00 | 4.00 | 8.00 | ||||||
| vmsbc.vvm v8,v16,v24,v0 | 1.00 | 1.00 | 1.00 | 2.00 | 2.50 | 5.00 | 11.00 | 1.00 | 1.00 | 2.00 | 2.50 | 5.00 | 18.00 | 1.00 | 2.00 | 2.50 | 5.00 | 18.00 | 2.00 | 2.50 | 5.00 | 18.00 | ||||||
| vmsbc.vxm v8,v16,t0,v0 | 1.06 | 1.06 | 1.06 | 2.00 | 2.50 | 5.00 | 11.00 | 1.06 | 1.06 | 2.00 | 2.50 | 5.00 | 18.00 | 1.06 | 2.00 | 2.50 | 5.00 | 18.00 | 2.00 | 2.50 | 5.00 | 18.00 | ||||||
| vmsbc.vv v8,v16,v24 | 1.00 | 1.00 | 1.00 | 2.00 | 2.50 | 5.00 | 11.00 | 1.00 | 1.00 | 2.00 | 2.50 | 5.00 | 18.00 | 1.00 | 2.00 | 2.50 | 5.00 | 18.00 | 2.00 | 2.50 | 5.00 | 18.00 | ||||||
| vmsbc.vx v8,v16,t0 | 1.06 | 1.06 | 1.06 | 2.00 | 2.50 | 5.00 | 11.00 | 1.06 | 1.06 | 2.00 | 2.50 | 5.00 | 18.00 | 1.06 | 2.00 | 2.50 | 5.00 | 18.00 | 2.00 | 2.50 | 5.00 | 18.00 | ||||||
| vmerge.vvm v8,v16,v24,v0 | 1.00 | 1.00 | 1.00 | 1.00 | 2.00 | 4.00 | 8.00 | 1.00 | 1.00 | 1.00 | 2.00 | 4.00 | 8.00 | 1.00 | 1.00 | 2.00 | 4.00 | 8.00 | 1.00 | 2.00 | 4.00 | 8.00 | ||||||
| vmerge.vxm v8,v16,t0,v0 | 1.06 | 1.06 | 1.06 | 1.06 | 2.00 | 4.00 | 8.00 | 1.06 | 1.06 | 1.06 | 2.00 | 4.00 | 8.00 | 1.06 | 1.06 | 2.00 | 4.00 | 8.00 | 1.06 | 2.00 | 4.00 | 8.00 | ||||||
| vmerge.vim v8,v16,13,v0 | 1.00 | 1.00 | 1.00 | 1.00 | 2.00 | 4.00 | 8.00 | 1.00 | 1.00 | 1.00 | 2.00 | 4.00 | 8.00 | 1.00 | 1.00 | 2.00 | 4.00 | 8.00 | 1.00 | 2.00 | 4.00 | 8.00 | ||||||
| vmv.v.v v8,v16 | 1.00 | 1.00 | 1.00 | 1.00 | 2.00 | 4.00 | 8.00 | 1.00 | 1.00 | 1.00 | 2.00 | 4.00 | 8.00 | 1.00 | 1.00 | 2.00 | 4.00 | 8.00 | 1.00 | 2.00 | 4.00 | 8.00 | ||||||
| vmv.v.x v8,t0 | 1.06 | 1.06 | 1.06 | 1.06 | 2.00 | 4.00 | 8.00 | 1.06 | 1.06 | 1.06 | 2.00 | 4.00 | 8.00 | 1.06 | 1.06 | 2.00 | 4.00 | 8.00 | 1.06 | 2.00 | 4.00 | 8.00 | ||||||
| vmv.v.i v8,13 | 1.00 | 1.00 | 1.00 | 1.00 | 2.00 | 4.00 | 8.00 | 1.00 | 1.00 | 1.00 | 2.00 | 4.00 | 8.00 | 1.00 | 1.00 | 2.00 | 4.00 | 8.00 | 1.00 | 2.00 | 4.00 | 8.00 | ||||||
| vmseq.vv v8,v16,v24 | 1.00 | 1.00 | 1.00 | 2.00 | 2.50 | 5.00 | 11.00 | 1.00 | 1.00 | 2.00 | 2.50 | 5.00 | 18.00 | 1.00 | 2.00 | 2.50 | 5.00 | 18.00 | 2.00 | 2.50 | 5.00 | 18.00 | ||||||
| vmseq.vv v8,v16,v24,v0.t | 1.00 | 1.00 | 1.00 | 2.00 | 2.50 | 5.00 | 11.00 | 1.00 | 1.00 | 2.00 | 2.50 | 5.00 | 18.00 | 1.00 | 2.00 | 2.50 | 5.00 | 18.00 | 2.00 | 2.50 | 5.00 | 18.00 | ||||||
| vmseq.vx v8,v16,t0 | 1.06 | 1.06 | 1.06 | 2.00 | 2.50 | 5.00 | 11.00 | 1.06 | 1.06 | 2.00 | 2.50 | 5.00 | 18.00 | 1.06 | 2.00 | 2.50 | 5.00 | 18.00 | 2.00 | 2.50 | 5.00 | 18.00 | ||||||
| vmseq.vx v8,v16,t0,v0.t | 1.06 | 1.06 | 1.06 | 2.00 | 2.50 | 5.00 | 11.00 | 1.06 | 1.06 | 2.00 | 2.50 | 5.00 | 18.00 | 1.06 | 2.00 | 2.50 | 5.00 | 18.00 | 2.00 | 2.50 | 5.00 | 18.00 | ||||||
| vmseq.vi v8,v16,13 | 1.00 | 1.00 | 1.00 | 2.00 | 2.50 | 5.00 | 11.00 | 1.00 | 1.00 | 2.00 | 2.50 | 5.00 | 18.00 | 1.00 | 2.00 | 2.50 | 5.00 | 18.00 | 2.00 | 2.50 | 5.00 | 18.00 | ||||||
| vmseq.vi v8,v16,13,v0.t | 1.00 | 1.00 | 1.00 | 2.00 | 2.50 | 5.00 | 11.00 | 1.00 | 1.00 | 2.00 | 2.50 | 5.00 | 18.00 | 1.00 | 2.00 | 2.50 | 5.00 | 18.00 | 2.00 | 2.50 | 5.00 | 18.00 | ||||||
| vmsne.vv v8,v16,v24 | 1.00 | 1.00 | 1.00 | 2.00 | 2.50 | 5.00 | 11.00 | 1.00 | 1.00 | 2.00 | 2.50 | 5.00 | 18.00 | 1.00 | 2.00 | 2.50 | 5.00 | 18.00 | 2.00 | 2.50 | 5.00 | 18.00 | ||||||
| vmsne.vv v8,v16,v24,v0.t | 1.00 | 1.00 | 1.00 | 2.00 | 2.50 | 5.00 | 11.00 | 1.00 | 1.00 | 2.00 | 2.50 | 5.00 | 18.00 | 1.00 | 2.00 | 2.50 | 5.00 | 18.00 | 2.00 | 2.50 | 5.00 | 18.00 | ||||||
| vmsne.vx v8,v16,t0 | 1.06 | 1.06 | 1.06 | 2.00 | 2.50 | 5.00 | 11.00 | 1.06 | 1.06 | 2.00 | 2.50 | 5.00 | 18.00 | 1.06 | 2.00 | 2.50 | 5.00 | 18.00 | 2.00 | 2.50 | 5.00 | 18.00 | ||||||
| vmsne.vx v8,v16,t0,v0.t | 1.06 | 1.06 | 1.06 | 2.00 | 2.50 | 5.00 | 11.00 | 1.06 | 1.06 | 2.00 | 2.50 | 5.00 | 18.00 | 1.06 | 2.00 | 2.50 | 5.00 | 18.00 | 2.00 | 2.50 | 5.00 | 18.00 | ||||||
| vmsne.vi v8,v16,13 | 1.00 | 1.00 | 1.00 | 2.00 | 2.50 | 5.00 | 11.00 | 1.00 | 1.00 | 2.00 | 2.50 | 5.00 | 18.00 | 1.00 | 2.00 | 2.50 | 5.00 | 18.00 | 2.00 | 2.50 | 5.00 | 18.00 | ||||||
| vmsne.vi v8,v16,13,v0.t | 1.00 | 1.00 | 1.00 | 2.00 | 2.50 | 5.00 | 11.00 | 1.00 | 1.00 | 2.00 | 2.50 | 5.00 | 18.00 | 1.00 | 2.00 | 2.50 | 5.00 | 18.00 | 2.00 | 2.50 | 5.00 | 18.00 | ||||||
| vmsltu.vv v8,v16,v24 | 1.00 | 1.00 | 1.00 | 2.00 | 2.50 | 5.00 | 11.00 | 1.00 | 1.00 | 2.00 | 2.50 | 5.00 | 18.00 | 1.00 | 2.00 | 2.50 | 5.00 | 18.00 | 2.00 | 2.50 | 5.00 | 18.00 | ||||||
| vmsltu.vv v8,v16,v24,v0.t | 1.00 | 1.00 | 1.00 | 2.00 | 2.50 | 5.00 | 11.00 | 1.00 | 1.00 | 2.00 | 2.50 | 5.00 | 18.00 | 1.00 | 2.00 | 2.50 | 5.00 | 18.00 | 2.00 | 2.50 | 5.00 | 18.00 | ||||||
| vmsltu.vx v8,v16,t0 | 1.06 | 1.06 | 1.06 | 2.00 | 2.50 | 5.00 | 11.00 | 1.06 | 1.06 | 2.00 | 2.50 | 5.00 | 18.00 | 1.06 | 2.00 | 2.50 | 5.00 | 18.00 | 2.00 | 2.50 | 5.00 | 18.00 | ||||||
| vmsltu.vx v8,v16,t0,v0.t | 1.06 | 1.06 | 1.06 | 2.00 | 2.50 | 5.00 | 11.00 | 1.06 | 1.06 | 2.00 | 2.50 | 5.00 | 18.00 | 1.06 | 2.00 | 2.50 | 5.00 | 18.00 | 2.00 | 2.50 | 5.00 | 18.00 | ||||||
| vmslt.vv v8,v16,v24 | 1.00 | 1.00 | 1.00 | 2.00 | 2.50 | 5.00 | 11.00 | 1.00 | 1.00 | 2.00 | 2.50 | 5.00 | 18.00 | 1.00 | 2.00 | 2.50 | 5.00 | 18.00 | 2.00 | 2.50 | 5.00 | 18.00 | ||||||
| vmslt.vv v8,v16,v24,v0.t | 1.00 | 1.00 | 1.00 | 2.00 | 2.50 | 5.00 | 11.00 | 1.00 | 1.00 | 2.00 | 2.50 | 5.00 | 18.00 | 1.00 | 2.00 | 2.50 | 5.00 | 18.00 | 2.00 | 2.50 | 5.00 | 18.00 | ||||||
| vmslt.vx v8,v16,t0 | 1.06 | 1.06 | 1.06 | 2.00 | 2.50 | 5.00 | 11.00 | 1.06 | 1.06 | 2.00 | 2.50 | 5.00 | 18.00 | 1.06 | 2.00 | 2.50 | 5.00 | 18.00 | 2.00 | 2.50 | 5.00 | 18.00 | ||||||
| vmslt.vx v8,v16,t0,v0.t | 1.06 | 1.06 | 1.06 | 2.00 | 2.50 | 5.00 | 11.00 | 1.06 | 1.06 | 2.00 | 2.50 | 5.00 | 18.00 | 1.06 | 2.00 | 2.50 | 5.00 | 18.00 | 2.00 | 2.50 | 5.00 | 18.00 | ||||||
| vmsleu.vv v8,v16,v24 | 1.00 | 1.00 | 1.00 | 2.00 | 2.50 | 5.00 | 11.00 | 1.00 | 1.00 | 2.00 | 2.50 | 5.00 | 18.00 | 1.00 | 2.00 | 2.50 | 5.00 | 18.00 | 2.00 | 2.50 | 5.00 | 18.00 | ||||||
| vmsleu.vv v8,v16,v24,v0.t | 1.00 | 1.00 | 1.00 | 2.00 | 2.50 | 5.00 | 11.00 | 1.00 | 1.00 | 2.00 | 2.50 | 5.00 | 18.00 | 1.00 | 2.00 | 2.50 | 5.00 | 18.00 | 2.00 | 2.50 | 5.00 | 18.00 | ||||||
| vmsleu.vx v8,v16,t0 | 1.06 | 1.06 | 1.06 | 2.00 | 2.50 | 5.00 | 11.00 | 1.06 | 1.06 | 2.00 | 2.50 | 5.00 | 18.00 | 1.06 | 2.00 | 2.50 | 5.00 | 18.00 | 2.00 | 2.50 | 5.00 | 18.00 | ||||||
| vmsleu.vx v8,v16,t0,v0.t | 1.06 | 1.06 | 1.06 | 2.00 | 2.50 | 5.00 | 11.00 | 1.06 | 1.06 | 2.00 | 2.50 | 5.00 | 18.00 | 1.06 | 2.00 | 2.50 | 5.00 | 18.00 | 2.00 | 2.50 | 5.00 | 18.00 | ||||||
| vmsleu.vi v8,v16,13 | 1.00 | 1.00 | 1.00 | 2.00 | 2.50 | 5.00 | 11.00 | 1.00 | 1.00 | 2.00 | 2.50 | 5.00 | 18.00 | 1.00 | 2.00 | 2.50 | 5.00 | 18.00 | 2.00 | 2.50 | 5.00 | 18.00 | ||||||
| vmsleu.vi v8,v16,13,v0.t | 1.00 | 1.00 | 1.00 | 2.00 | 2.50 | 5.00 | 11.00 | 1.00 | 1.00 | 2.00 | 2.50 | 5.00 | 18.00 | 1.00 | 2.00 | 2.50 | 5.00 | 18.00 | 2.00 | 2.50 | 5.00 | 18.00 | ||||||
| vmsle.vv v8,v16,v24 | 1.00 | 1.00 | 1.00 | 2.00 | 2.50 | 5.00 | 11.00 | 1.00 | 1.00 | 2.00 | 2.50 | 5.00 | 18.00 | 1.00 | 2.00 | 2.50 | 5.00 | 18.00 | 2.00 | 2.50 | 5.00 | 18.00 | ||||||
| vmsle.vv v8,v16,v24,v0.t | 1.00 | 1.00 | 1.00 | 2.00 | 2.50 | 5.00 | 11.00 | 1.00 | 1.00 | 2.00 | 2.50 | 5.00 | 18.00 | 1.00 | 2.00 | 2.50 | 5.00 | 18.00 | 2.00 | 2.50 | 5.00 | 18.00 | ||||||
| vmsle.vx v8,v16,t0 | 1.06 | 1.06 | 1.06 | 2.00 | 2.50 | 5.00 | 11.00 | 1.06 | 1.06 | 2.00 | 2.50 | 5.00 | 18.00 | 1.06 | 2.00 | 2.50 | 5.00 | 18.00 | 2.00 | 2.50 | 5.00 | 18.00 | ||||||
| vmsle.vx v8,v16,t0,v0.t | 1.06 | 1.06 | 1.06 | 2.00 | 2.50 | 5.00 | 11.00 | 1.06 | 1.06 | 2.00 | 2.50 | 5.00 | 18.00 | 1.06 | 2.00 | 2.50 | 5.00 | 18.00 | 2.00 | 2.50 | 5.00 | 18.00 | ||||||
| vmsle.vi v8,v16,13 | 1.00 | 1.00 | 1.00 | 2.00 | 2.50 | 5.00 | 11.00 | 1.00 | 1.00 | 2.00 | 2.50 | 5.00 | 18.00 | 1.00 | 2.00 | 2.50 | 5.00 | 18.00 | 2.00 | 2.50 | 5.00 | 18.00 | ||||||
| vmsle.vi v8,v16,13,v0.t | 1.00 | 1.00 | 1.00 | 2.00 | 2.50 | 5.00 | 11.00 | 1.00 | 1.00 | 2.00 | 2.50 | 5.00 | 18.00 | 1.00 | 2.00 | 2.50 | 5.00 | 18.00 | 2.00 | 2.50 | 5.00 | 18.00 | ||||||
| vmsgtu.vx v8,v16,t0 | 1.06 | 1.06 | 1.06 | 2.00 | 2.50 | 5.00 | 11.00 | 1.06 | 1.06 | 2.00 | 2.50 | 5.00 | 18.00 | 1.06 | 2.00 | 2.50 | 5.00 | 18.00 | 2.00 | 2.50 | 5.00 | 18.00 | ||||||
| vmsgtu.vx v8,v16,t0,v0.t | 1.06 | 1.06 | 1.06 | 2.00 | 2.50 | 5.00 | 11.00 | 1.06 | 1.06 | 2.00 | 2.50 | 5.00 | 18.00 | 1.06 | 2.00 | 2.50 | 5.00 | 18.00 | 2.00 | 2.50 | 5.00 | 18.00 | ||||||
| vmsgtu.vi v8,v16,13 | 1.00 | 1.00 | 1.00 | 2.00 | 2.50 | 5.00 | 11.00 | 1.00 | 1.00 | 2.00 | 2.50 | 5.00 | 18.00 | 1.00 | 2.00 | 2.50 | 5.00 | 18.00 | 2.00 | 2.50 | 5.00 | 18.00 | ||||||
| vmsgtu.vi v8,v16,13,v0.t | 1.00 | 1.00 | 1.00 | 2.00 | 2.50 | 5.00 | 11.00 | 1.00 | 1.00 | 2.00 | 2.50 | 5.00 | 18.00 | 1.00 | 2.00 | 2.50 | 5.00 | 18.00 | 2.00 | 2.50 | 5.00 | 18.00 | ||||||
| vmsgt.vx v8,v16,t0 | 1.06 | 1.06 | 1.06 | 2.00 | 2.50 | 5.00 | 11.00 | 1.06 | 1.06 | 2.00 | 2.50 | 5.00 | 18.00 | 1.06 | 2.00 | 2.50 | 5.00 | 18.00 | 2.00 | 2.50 | 5.00 | 18.00 | ||||||
| vmsgt.vx v8,v16,t0,v0.t | 1.06 | 1.06 | 1.06 | 2.00 | 2.50 | 5.00 | 11.00 | 1.06 | 1.06 | 2.00 | 2.50 | 5.00 | 18.00 | 1.06 | 2.00 | 2.50 | 5.00 | 18.00 | 2.00 | 2.50 | 5.00 | 18.00 | ||||||
| vmsgt.vi v8,v16,13 | 1.00 | 1.00 | 1.00 | 2.00 | 2.50 | 5.00 | 11.00 | 1.00 | 1.00 | 2.00 | 2.50 | 5.00 | 18.00 | 1.00 | 2.00 | 2.50 | 5.00 | 18.00 | 2.00 | 2.50 | 5.00 | 18.00 | ||||||
| vmsgt.vi v8,v16,13,v0.t | 1.00 | 1.00 | 1.00 | 2.00 | 2.50 | 5.00 | 11.00 | 1.00 | 1.00 | 2.00 | 2.50 | 5.00 | 18.00 | 1.00 | 2.00 | 2.50 | 5.00 | 18.00 | 2.00 | 2.50 | 5.00 | 18.00 | ||||||
| vcompress.vm v8,v16,v24 | 1.00 | 1.00 | 1.00 | 3.00 | 10.00 | 36.00 | 135.96 | 1.00 | 1.00 | 3.00 | 10.00 | 36.00 | 135.95 | 1.00 | 3.00 | 10.00 | 36.00 | 135.95 | 3.00 | 10.00 | 36.00 | 135.95 | ||||||
| vmandn.mm v8,v16,v24 | 1.00 | 1.00 | 1.00 | 1.00 | 1.00 | 1.00 | 1.00 | 1.00 | 1.00 | 1.00 | 1.00 | 1.00 | 1.00 | 1.00 | 1.00 | 1.00 | 1.00 | 1.00 | 1.00 | 1.00 | 1.00 | 1.00 | ||||||
| vmand.mm v8,v16,v24 | 1.00 | 1.00 | 1.00 | 1.00 | 1.00 | 1.00 | 1.00 | 1.00 | 1.00 | 1.00 | 1.00 | 1.00 | 1.00 | 1.00 | 1.00 | 1.00 | 1.00 | 1.00 | 1.00 | 1.00 | 1.00 | 1.00 | ||||||
| vmor.mm v8,v16,v24 | 1.00 | 1.00 | 1.00 | 1.00 | 1.00 | 1.00 | 1.00 | 1.00 | 1.00 | 1.00 | 1.00 | 1.00 | 1.00 | 1.00 | 1.00 | 1.00 | 1.00 | 1.00 | 1.00 | 1.00 | 1.00 | 1.00 | ||||||
| vmxor.mm v8,v16,v24 | 1.00 | 1.00 | 1.00 | 1.00 | 1.00 | 1.00 | 1.00 | 1.00 | 1.00 | 1.00 | 1.00 | 1.00 | 1.00 | 1.00 | 1.00 | 1.00 | 1.00 | 1.00 | 1.00 | 1.00 | 1.00 | 1.00 | ||||||
| vmorn.mm v8,v16,v24 | 1.00 | 1.00 | 1.00 | 1.00 | 1.00 | 1.00 | 1.00 | 1.00 | 1.00 | 1.00 | 1.00 | 1.00 | 1.00 | 1.00 | 1.00 | 1.00 | 1.00 | 1.00 | 1.00 | 1.00 | 1.00 | 1.00 | ||||||
| vmnand.mm v8,v16,v24 | 1.00 | 1.00 | 1.00 | 1.00 | 1.00 | 1.00 | 1.00 | 1.00 | 1.00 | 1.00 | 1.00 | 1.00 | 1.00 | 1.00 | 1.00 | 1.00 | 1.00 | 1.00 | 1.00 | 1.00 | 1.00 | 1.00 | ||||||
| vmnor.mm v8,v16,v24 | 1.00 | 1.00 | 1.00 | 1.00 | 1.00 | 1.00 | 1.00 | 1.00 | 1.00 | 1.00 | 1.00 | 1.00 | 1.00 | 1.00 | 1.00 | 1.00 | 1.00 | 1.00 | 1.00 | 1.00 | 1.00 | 1.00 | ||||||
| vmxnor.mm v8,v16,v24 | 1.00 | 1.00 | 1.00 | 1.00 | 1.00 | 1.00 | 1.00 | 1.00 | 1.00 | 1.00 | 1.00 | 1.00 | 1.00 | 1.00 | 1.00 | 1.00 | 1.00 | 1.00 | 1.00 | 1.00 | 1.00 | 1.00 | ||||||
| vsaddu.vv v8,v16,v24 | 1.00 | 1.00 | 1.00 | 1.00 | 2.00 | 4.00 | 8.00 | 1.00 | 1.00 | 1.00 | 2.00 | 4.00 | 8.00 | 1.00 | 1.00 | 2.00 | 4.00 | 8.00 | 1.00 | 2.00 | 4.00 | 8.00 | ||||||
| vsaddu.vv v8,v16,v24,v0.t | 1.00 | 1.00 | 1.00 | 1.00 | 2.00 | 4.00 | 8.00 | 1.00 | 1.00 | 1.00 | 2.00 | 4.00 | 8.00 | 1.00 | 1.00 | 2.00 | 4.00 | 8.00 | 1.00 | 2.00 | 4.00 | 8.00 | ||||||
| vsaddu.vx v8,v16,t0 | 1.06 | 1.06 | 1.06 | 1.06 | 2.00 | 4.00 | 8.00 | 1.06 | 1.06 | 1.06 | 2.00 | 4.00 | 8.00 | 1.06 | 1.06 | 2.00 | 4.00 | 8.00 | 1.06 | 2.00 | 4.00 | 8.00 | ||||||
| vsaddu.vx v8,v16,t0,v0.t | 1.06 | 1.06 | 1.06 | 1.06 | 2.00 | 4.00 | 8.00 | 1.06 | 1.06 | 1.06 | 2.00 | 4.00 | 8.00 | 1.06 | 1.06 | 2.00 | 4.00 | 8.00 | 1.06 | 2.00 | 4.00 | 8.00 | ||||||
| vsaddu.vi v8,v16,13 | 1.00 | 1.00 | 1.00 | 1.00 | 2.00 | 4.00 | 8.00 | 1.00 | 1.00 | 1.00 | 2.00 | 4.00 | 8.00 | 1.00 | 1.00 | 2.00 | 4.00 | 8.00 | 1.00 | 2.00 | 4.00 | 8.00 | ||||||
| vsaddu.vi v8,v16,13,v0.t | 1.00 | 1.00 | 1.00 | 1.00 | 2.00 | 4.00 | 8.00 | 1.00 | 1.00 | 1.00 | 2.00 | 4.00 | 8.00 | 1.00 | 1.00 | 2.00 | 4.00 | 8.00 | 1.00 | 2.00 | 4.00 | 8.00 | ||||||
| vsadd.vv v8,v16,v24 | 1.00 | 1.00 | 1.00 | 1.00 | 2.00 | 4.00 | 8.00 | 1.00 | 1.00 | 1.00 | 2.00 | 4.00 | 8.00 | 1.00 | 1.00 | 2.00 | 4.00 | 8.00 | 1.00 | 2.00 | 4.00 | 8.00 | ||||||
| vsadd.vv v8,v16,v24,v0.t | 1.00 | 1.00 | 1.00 | 1.00 | 2.00 | 4.00 | 8.00 | 1.00 | 1.00 | 1.00 | 2.00 | 4.00 | 8.00 | 1.00 | 1.00 | 2.00 | 4.00 | 8.00 | 1.00 | 2.00 | 4.00 | 8.00 | ||||||
| vsadd.vx v8,v16,t0 | 1.06 | 1.06 | 1.06 | 1.06 | 2.00 | 4.00 | 8.00 | 1.06 | 1.06 | 1.06 | 2.00 | 4.00 | 8.00 | 1.06 | 1.06 | 2.00 | 4.00 | 8.00 | 1.06 | 2.00 | 4.00 | 8.00 | ||||||
| vsadd.vx v8,v16,t0,v0.t | 1.06 | 1.06 | 1.06 | 1.06 | 2.00 | 4.00 | 8.00 | 1.06 | 1.06 | 1.06 | 2.00 | 4.00 | 8.00 | 1.06 | 1.06 | 2.00 | 4.00 | 8.00 | 1.06 | 2.00 | 4.00 | 8.00 | ||||||
| vsadd.vi v8,v16,13 | 1.00 | 1.00 | 1.00 | 1.00 | 2.00 | 4.00 | 8.00 | 1.00 | 1.00 | 1.00 | 2.00 | 4.00 | 8.00 | 1.00 | 1.00 | 2.00 | 4.00 | 8.00 | 1.00 | 2.00 | 4.00 | 8.00 | ||||||
| vsadd.vi v8,v16,13,v0.t | 1.00 | 1.00 | 1.00 | 1.00 | 2.00 | 4.00 | 8.00 | 1.00 | 1.00 | 1.00 | 2.00 | 4.00 | 8.00 | 1.00 | 1.00 | 2.00 | 4.00 | 8.00 | 1.00 | 2.00 | 4.00 | 8.00 | ||||||
| vssubu.vv v8,v16,v24 | 1.00 | 1.00 | 1.00 | 1.00 | 2.00 | 4.00 | 8.00 | 1.00 | 1.00 | 1.00 | 2.00 | 4.00 | 8.00 | 1.00 | 1.00 | 2.00 | 4.00 | 8.00 | 1.00 | 2.00 | 4.00 | 8.00 | ||||||
| vssubu.vv v8,v16,v24,v0.t | 1.00 | 1.00 | 1.00 | 1.00 | 2.00 | 4.00 | 8.00 | 1.00 | 1.00 | 1.00 | 2.00 | 4.00 | 8.00 | 1.00 | 1.00 | 2.00 | 4.00 | 8.00 | 1.00 | 2.00 | 4.00 | 8.00 | ||||||
| vssubu.vx v8,v16,t0 | 1.06 | 1.06 | 1.06 | 1.06 | 2.00 | 4.00 | 8.00 | 1.06 | 1.06 | 1.06 | 2.00 | 4.00 | 8.00 | 1.06 | 1.06 | 2.00 | 4.00 | 8.00 | 1.06 | 2.00 | 4.00 | 8.00 | ||||||
| vssubu.vx v8,v16,t0,v0.t | 1.06 | 1.06 | 1.06 | 1.06 | 2.00 | 4.00 | 8.00 | 1.06 | 1.06 | 1.06 | 2.00 | 4.00 | 8.00 | 1.06 | 1.06 | 2.00 | 4.00 | 8.00 | 1.06 | 2.00 | 4.00 | 8.00 | ||||||
| vssub.vv v8,v16,v24 | 1.00 | 1.00 | 1.00 | 1.00 | 2.00 | 4.00 | 8.00 | 1.00 | 1.00 | 1.00 | 2.00 | 4.00 | 8.00 | 1.00 | 1.00 | 2.00 | 4.00 | 8.00 | 1.00 | 2.00 | 4.00 | 8.00 | ||||||
| vssub.vv v8,v16,v24,v0.t | 1.00 | 1.00 | 1.00 | 1.00 | 2.00 | 4.00 | 8.00 | 1.00 | 1.00 | 1.00 | 2.00 | 4.00 | 8.00 | 1.00 | 1.00 | 2.00 | 4.00 | 8.00 | 1.00 | 2.00 | 4.00 | 8.00 | ||||||
| vssub.vx v8,v16,t0 | 1.06 | 1.06 | 1.06 | 1.06 | 2.00 | 4.00 | 8.00 | 1.06 | 1.06 | 1.06 | 2.00 | 4.00 | 8.00 | 1.06 | 1.06 | 2.00 | 4.00 | 8.00 | 1.06 | 2.00 | 4.00 | 8.00 | ||||||
| vssub.vx v8,v16,t0,v0.t | 1.06 | 1.06 | 1.06 | 1.06 | 2.00 | 4.00 | 8.00 | 1.06 | 1.06 | 1.06 | 2.00 | 4.00 | 8.00 | 1.06 | 1.06 | 2.00 | 4.00 | 8.00 | 1.06 | 2.00 | 4.00 | 8.00 | ||||||
| vsll.vv v8,v16,v24 | 1.00 | 1.00 | 1.00 | 2.00 | 4.00 | 8.00 | 16.00 | 1.00 | 1.00 | 2.00 | 4.00 | 8.00 | 16.00 | 1.00 | 2.00 | 4.00 | 8.00 | 16.00 | 2.00 | 4.00 | 8.00 | 16.00 | ||||||
| vsll.vv v8,v16,v24,v0.t | 1.00 | 1.00 | 1.00 | 2.00 | 4.00 | 8.00 | 16.00 | 1.00 | 1.00 | 2.00 | 4.00 | 8.00 | 16.00 | 1.00 | 2.00 | 4.00 | 8.00 | 16.00 | 2.00 | 4.00 | 8.00 | 16.00 | ||||||
| vsll.vx v8,v16,t0 | 1.06 | 1.06 | 1.06 | 2.00 | 4.00 | 8.00 | 16.00 | 1.06 | 1.06 | 2.00 | 4.00 | 8.00 | 16.00 | 1.06 | 2.00 | 4.00 | 8.00 | 16.00 | 2.00 | 4.00 | 8.00 | 16.00 | ||||||
| vsll.vx v8,v16,t0,v0.t | 1.06 | 1.06 | 1.06 | 2.00 | 4.00 | 8.00 | 16.00 | 1.06 | 1.06 | 2.00 | 4.00 | 8.00 | 16.00 | 1.06 | 2.00 | 4.00 | 8.00 | 16.00 | 2.00 | 4.00 | 8.00 | 16.00 | ||||||
| vsll.vi v8,v16,13 | 1.00 | 1.00 | 1.00 | 2.00 | 4.00 | 8.00 | 16.00 | 1.00 | 1.00 | 2.00 | 4.00 | 8.00 | 16.00 | 1.00 | 2.00 | 4.00 | 8.00 | 16.00 | 2.00 | 4.00 | 8.00 | 16.00 | ||||||
| vsll.vi v8,v16,13,v0.t | 1.00 | 1.00 | 1.00 | 2.00 | 4.00 | 8.00 | 16.00 | 1.00 | 1.00 | 2.00 | 4.00 | 8.00 | 16.00 | 1.00 | 2.00 | 4.00 | 8.00 | 16.00 | 2.00 | 4.00 | 8.00 | 16.00 | ||||||
| vsmul.vv v8,v16,v24 | 1.00 | 1.00 | 1.00 | 1.00 | 2.00 | 4.00 | 8.00 | 1.00 | 1.00 | 1.00 | 2.00 | 4.00 | 8.00 | 1.00 | 1.00 | 2.00 | 4.00 | 8.00 | 4.00 | 8.00 | 16.00 | 32.00 | ||||||
| vsmul.vv v8,v16,v24,v0.t | 1.00 | 1.00 | 1.00 | 1.00 | 2.00 | 4.00 | 8.00 | 1.00 | 1.00 | 1.00 | 2.00 | 4.00 | 8.00 | 1.00 | 1.00 | 2.00 | 4.00 | 8.00 | 4.00 | 8.00 | 16.00 | 32.00 | ||||||
| vsmul.vx v8,v16,t0 | 1.06 | 1.06 | 1.06 | 1.06 | 2.00 | 4.00 | 8.00 | 1.06 | 1.06 | 1.06 | 2.00 | 4.00 | 8.00 | 1.06 | 1.06 | 2.00 | 4.00 | 8.00 | 4.00 | 8.00 | 16.00 | 32.00 | ||||||
| vsmul.vx v8,v16,t0,v0.t | 1.06 | 1.06 | 1.06 | 1.06 | 2.00 | 4.00 | 8.00 | 1.06 | 1.06 | 1.06 | 2.00 | 4.00 | 8.00 | 1.06 | 1.06 | 2.00 | 4.00 | 8.00 | 4.00 | 8.00 | 16.00 | 32.00 | ||||||
| vmv1r.v v8,v16 | 1.00 | 1.00 | 1.00 | 1.00 | 1.00 | 1.00 | 2.00 | 1.00 | 1.00 | 1.00 | 1.00 | 1.00 | 2.00 | 1.00 | 1.00 | 1.00 | 1.00 | 2.00 | 1.00 | 1.00 | 1.00 | 2.00 | ||||||
| vmv2r.v v8,v16 | 2.00 | 2.00 | 3.00 | 2.00 | 2.00 | 3.00 | 2.00 | 2.00 | 3.00 | 2.00 | 2.00 | 3.00 | ||||||||||||||||
| vmv4r.v v8,v16 | 4.00 | 4.00 | 4.00 | 4.00 | 4.00 | 4.00 | 4.00 | 4.00 | ||||||||||||||||||||
| vmv8r.v v8,v16 | 8.00 | 8.00 | 8.00 | 8.00 | ||||||||||||||||||||||||
| vsrl.vv v8,v16,v24 | 1.00 | 1.00 | 1.00 | 2.00 | 4.00 | 8.00 | 16.00 | 1.00 | 1.00 | 2.00 | 4.00 | 8.00 | 16.00 | 1.00 | 2.00 | 4.00 | 8.00 | 16.00 | 2.00 | 4.00 | 8.00 | 16.00 | ||||||
| vsrl.vv v8,v16,v24,v0.t | 1.00 | 1.00 | 1.00 | 2.00 | 4.00 | 8.00 | 16.00 | 1.00 | 1.00 | 2.00 | 4.00 | 8.00 | 16.00 | 1.00 | 2.00 | 4.00 | 8.00 | 16.00 | 2.00 | 4.00 | 8.00 | 16.00 | ||||||
| vsrl.vx v8,v16,t0 | 1.06 | 1.06 | 1.06 | 2.00 | 4.00 | 8.00 | 16.00 | 1.06 | 1.06 | 2.00 | 4.00 | 8.00 | 16.00 | 1.06 | 2.00 | 4.00 | 8.00 | 16.00 | 2.00 | 4.00 | 8.00 | 16.00 | ||||||
| vsrl.vx v8,v16,t0,v0.t | 1.06 | 1.06 | 1.06 | 2.00 | 4.00 | 8.00 | 16.00 | 1.06 | 1.06 | 2.00 | 4.00 | 8.00 | 16.00 | 1.06 | 2.00 | 4.00 | 8.00 | 16.00 | 2.00 | 4.00 | 8.00 | 16.00 | ||||||
| vsrl.vi v8,v16,13 | 1.00 | 1.00 | 1.00 | 2.00 | 4.00 | 8.00 | 16.00 | 1.00 | 1.00 | 2.00 | 4.00 | 8.00 | 16.00 | 1.00 | 2.00 | 4.00 | 8.00 | 16.00 | 2.00 | 4.00 | 8.00 | 16.00 | ||||||
| vsrl.vi v8,v16,13,v0.t | 1.00 | 1.00 | 1.00 | 2.00 | 4.00 | 8.00 | 16.00 | 1.00 | 1.00 | 2.00 | 4.00 | 8.00 | 16.00 | 1.00 | 2.00 | 4.00 | 8.00 | 16.00 | 2.00 | 4.00 | 8.00 | 16.00 | ||||||
| vsra.vv v8,v16,v24 | 1.00 | 1.00 | 1.00 | 2.00 | 4.00 | 8.00 | 16.00 | 1.00 | 1.00 | 2.00 | 4.00 | 8.00 | 16.00 | 1.00 | 2.00 | 4.00 | 8.00 | 16.00 | 2.00 | 4.00 | 8.00 | 16.00 | ||||||
| vsra.vv v8,v16,v24,v0.t | 1.00 | 1.00 | 1.00 | 2.00 | 4.00 | 8.00 | 16.00 | 1.00 | 1.00 | 2.00 | 4.00 | 8.00 | 16.00 | 1.00 | 2.00 | 4.00 | 8.00 | 16.00 | 2.00 | 4.00 | 8.00 | 16.00 | ||||||
| vsra.vx v8,v16,t0 | 1.06 | 1.06 | 1.06 | 2.00 | 4.00 | 8.00 | 16.00 | 1.06 | 1.06 | 2.00 | 4.00 | 8.00 | 16.00 | 1.06 | 2.00 | 4.00 | 8.00 | 16.00 | 2.00 | 4.00 | 8.00 | 16.00 | ||||||
| vsra.vx v8,v16,t0,v0.t | 1.06 | 1.06 | 1.06 | 2.00 | 4.00 | 8.00 | 16.00 | 1.06 | 1.06 | 2.00 | 4.00 | 8.00 | 16.00 | 1.06 | 2.00 | 4.00 | 8.00 | 16.00 | 2.00 | 4.00 | 8.00 | 16.00 | ||||||
| vsra.vi v8,v16,13 | 1.00 | 1.00 | 1.00 | 2.00 | 4.00 | 8.00 | 16.00 | 1.00 | 1.00 | 2.00 | 4.00 | 8.00 | 16.00 | 1.00 | 2.00 | 4.00 | 8.00 | 16.00 | 2.00 | 4.00 | 8.00 | 16.00 | ||||||
| vsra.vi v8,v16,13,v0.t | 1.00 | 1.00 | 1.00 | 2.00 | 4.00 | 8.00 | 16.00 | 1.00 | 1.00 | 2.00 | 4.00 | 8.00 | 16.00 | 1.00 | 2.00 | 4.00 | 8.00 | 16.00 | 2.00 | 4.00 | 8.00 | 16.00 | ||||||
| vssrl.vv v8,v16,v24 | 1.00 | 1.00 | 1.00 | 2.00 | 4.00 | 8.00 | 16.00 | 1.00 | 1.00 | 2.00 | 4.00 | 8.00 | 16.00 | 1.00 | 2.00 | 4.00 | 8.00 | 16.00 | 2.00 | 4.00 | 8.00 | 16.00 | ||||||
| vssrl.vv v8,v16,v24,v0.t | 1.00 | 1.00 | 1.00 | 2.00 | 4.00 | 8.00 | 16.00 | 1.00 | 1.00 | 2.00 | 4.00 | 8.00 | 16.00 | 1.00 | 2.00 | 4.00 | 8.00 | 16.00 | 2.00 | 4.00 | 8.00 | 16.00 | ||||||
| vssrl.vx v8,v16,t0 | 1.06 | 1.06 | 1.06 | 2.00 | 4.00 | 8.00 | 16.00 | 1.06 | 1.06 | 2.00 | 4.00 | 8.00 | 16.00 | 1.06 | 2.00 | 4.00 | 8.00 | 16.00 | 2.00 | 4.00 | 8.00 | 16.00 | ||||||
| vssrl.vx v8,v16,t0,v0.t | 1.06 | 1.06 | 1.06 | 2.00 | 4.00 | 8.00 | 16.00 | 1.06 | 1.06 | 2.00 | 4.00 | 8.00 | 16.00 | 1.06 | 2.00 | 4.00 | 8.00 | 16.00 | 2.00 | 4.00 | 8.00 | 16.00 | ||||||
| vssrl.vi v8,v16,13 | 1.00 | 1.00 | 1.00 | 2.00 | 4.00 | 8.00 | 16.00 | 1.00 | 1.00 | 2.00 | 4.00 | 8.00 | 16.00 | 1.00 | 2.00 | 4.00 | 8.00 | 16.00 | 2.00 | 4.00 | 8.00 | 16.00 | ||||||
| vssrl.vi v8,v16,13,v0.t | 1.00 | 1.00 | 1.00 | 2.00 | 4.00 | 8.00 | 16.00 | 1.00 | 1.00 | 2.00 | 4.00 | 8.00 | 16.00 | 1.00 | 2.00 | 4.00 | 8.00 | 16.00 | 2.00 | 4.00 | 8.00 | 16.00 | ||||||
| vdivu.vv v8,v16,v24 | 9.56 | 9.59 | 9.56 | 18.59 | 36.47 | 72.46 | 143.95 | 9.46 | 9.48 | 18.47 | 36.52 | 72.56 | 144.52 | 9.50 | 18.56 | 36.52 | 72.42 | 143.94 | 18.41 | 36.46 | 72.34 | 144.18 | ||||||
| vdivu.vv v8,v16,v24,v0.t | 9.13 | 9.13 | 9.13 | 18.13 | 36.08 | 72.09 | 143.94 | 9.16 | 9.17 | 18.15 | 36.20 | 72.11 | 143.94 | 9.08 | 18.22 | 36.16 | 72.12 | 143.95 | 18.16 | 36.14 | 72.09 | 143.98 | ||||||
| vdivu.vx v8,v16,t0 | 9.16 | 9.18 | 9.23 | 18.19 | 36.11 | 72.04 | 143.99 | 9.10 | 9.10 | 18.15 | 36.11 | 71.99 | 143.98 | 9.30 | 18.31 | 36.22 | 72.12 | 143.99 | 18.22 | 36.00 | 71.99 | 143.98 | ||||||
| vdivu.vx v8,v16,t0,v0.t | 9.02 | 9.06 | 9.02 | 18.03 | 36.02 | 71.99 | 143.99 | 9.03 | 9.03 | 18.03 | 36.00 | 71.99 | 143.98 | 9.11 | 18.13 | 36.05 | 72.07 | 143.99 | 18.11 | 36.00 | 71.99 | 143.98 | ||||||
| vdiv.vv v8,v16,v24 | 10.60 | 10.53 | 10.60 | 20.53 | 40.59 | 80.49 | 160.24 | 10.40 | 10.39 | 20.43 | 40.26 | 80.24 | 160.10 | 10.41 | 20.37 | 40.53 | 80.33 | 160.18 | 20.38 | 40.44 | 80.33 | 160.23 | ||||||
| vdiv.vv v8,v16,v24,v0.t | 10.21 | 10.11 | 10.21 | 20.11 | 40.18 | 80.09 | 159.95 | 10.14 | 10.16 | 20.14 | 40.10 | 80.09 | 159.99 | 10.18 | 20.23 | 40.07 | 80.07 | 159.95 | 20.23 | 40.08 | 80.06 | 159.94 | ||||||
| vdiv.vx v8,v16,t0 | 10.17 | 10.17 | 10.26 | 20.28 | 40.11 | 80.04 | 160.04 | 10.20 | 10.26 | 20.21 | 40.13 | 80.02 | 159.98 | 10.31 | 20.29 | 40.32 | 80.17 | 160.08 | 20.21 | 40.00 | 79.99 | 159.98 | ||||||
| vdiv.vx v8,v16,t0,v0.t | 10.01 | 10.06 | 10.03 | 20.04 | 40.00 | 79.99 | 159.98 | 10.05 | 10.06 | 20.05 | 40.03 | 79.99 | 159.98 | 10.10 | 20.11 | 40.08 | 79.99 | 159.99 | 20.05 | 40.00 | 79.99 | 159.98 | ||||||
| vremu.vv v8,v16,v24 | 10.56 | 10.60 | 10.56 | 20.59 | 40.47 | 80.46 | 159.95 | 10.55 | 10.52 | 20.53 | 40.43 | 80.33 | 160.19 | 10.35 | 20.47 | 40.39 | 80.50 | 160.29 | 20.54 | 40.66 | 80.41 | 160.35 | ||||||
| vremu.vv v8,v16,v24,v0.t | 10.13 | 10.13 | 10.13 | 20.13 | 40.08 | 80.09 | 159.93 | 10.15 | 10.15 | 20.13 | 40.07 | 80.04 | 160.00 | 10.18 | 20.20 | 40.22 | 80.09 | 160.00 | 20.23 | 40.14 | 80.09 | 159.94 | ||||||
| vremu.vx v8,v16,t0 | 10.14 | 10.21 | 10.11 | 20.26 | 40.06 | 80.07 | 159.98 | 10.18 | 10.15 | 20.19 | 40.13 | 80.09 | 159.98 | 10.28 | 20.31 | 40.33 | 80.14 | 160.08 | 20.25 | 40.00 | 79.99 | 159.98 | ||||||
| vremu.vx v8,v16,t0,v0.t | 10.04 | 10.07 | 10.05 | 20.08 | 40.00 | 80.07 | 159.98 | 10.05 | 10.05 | 20.05 | 40.00 | 80.00 | 159.98 | 10.10 | 20.09 | 40.02 | 80.04 | 159.99 | 20.06 | 40.00 | 80.00 | 159.98 | ||||||
| vrem.vv v8,v16,v24 | 11.60 | 11.53 | 11.59 | 22.53 | 44.59 | 88.48 | 176.24 | 11.49 | 11.35 | 22.44 | 44.39 | 88.31 | 176.09 | 11.40 | 22.44 | 44.29 | 88.26 | 176.17 | 22.41 | 44.31 | 88.47 | 176.02 | ||||||
| vrem.vv v8,v16,v24,v0.t | 11.21 | 11.11 | 11.21 | 22.11 | 44.18 | 88.09 | 175.93 | 11.16 | 11.23 | 22.13 | 44.07 | 88.06 | 175.92 | 11.12 | 22.09 | 44.13 | 87.99 | 175.93 | 22.14 | 44.12 | 88.09 | 175.92 | ||||||
| vrem.vx v8,v16,t0 | 11.22 | 11.23 | 11.20 | 22.23 | 44.07 | 88.09 | 175.98 | 11.20 | 11.19 | 22.22 | 44.15 | 88.14 | 176.08 | 11.41 | 22.26 | 44.33 | 88.19 | 176.08 | 22.20 | 44.00 | 87.99 | 175.98 | ||||||
| vrem.vx v8,v16,t0,v0.t | 11.02 | 11.04 | 11.08 | 22.05 | 44.06 | 87.99 | 175.98 | 11.02 | 11.08 | 22.08 | 44.00 | 87.99 | 175.98 | 11.13 | 22.13 | 44.06 | 88.04 | 175.98 | 22.07 | 44.00 | 87.99 | 175.98 | ||||||
| vmulhu.vv v8,v16,v24 | 1.00 | 1.00 | 1.00 | 1.00 | 2.00 | 4.00 | 8.00 | 1.00 | 1.00 | 1.00 | 2.00 | 4.00 | 8.00 | 1.00 | 1.00 | 2.00 | 4.00 | 8.00 | 4.00 | 8.00 | 16.00 | 32.00 | ||||||
| vmulhu.vv v8,v16,v24,v0.t | 1.00 | 1.00 | 1.00 | 1.00 | 2.00 | 4.00 | 8.00 | 1.00 | 1.00 | 1.00 | 2.00 | 4.00 | 8.00 | 1.00 | 1.00 | 2.00 | 4.00 | 8.00 | 4.00 | 8.00 | 16.00 | 32.00 | ||||||
| vmulhu.vx v8,v16,t0 | 1.06 | 1.06 | 1.06 | 1.06 | 2.00 | 4.00 | 8.00 | 1.06 | 1.06 | 1.06 | 2.00 | 4.00 | 8.00 | 1.06 | 1.06 | 2.00 | 4.00 | 8.00 | 4.00 | 8.00 | 16.00 | 32.00 | ||||||
| vmulhu.vx v8,v16,t0,v0.t | 1.06 | 1.06 | 1.06 | 1.06 | 2.00 | 4.00 | 8.00 | 1.06 | 1.06 | 1.06 | 2.00 | 4.00 | 8.00 | 1.06 | 1.06 | 2.00 | 4.00 | 8.00 | 4.00 | 8.00 | 16.00 | 32.00 | ||||||
| vmul.vv v8,v16,v24 | 1.00 | 1.00 | 1.00 | 1.00 | 2.00 | 4.00 | 8.00 | 1.00 | 1.00 | 1.00 | 2.00 | 4.00 | 8.00 | 1.00 | 1.00 | 2.00 | 4.00 | 8.00 | 4.00 | 8.00 | 16.00 | 32.00 | ||||||
| vmul.vv v8,v16,v24,v0.t | 1.00 | 1.00 | 1.00 | 1.00 | 2.00 | 4.00 | 8.00 | 1.00 | 1.00 | 1.00 | 2.00 | 4.00 | 8.00 | 1.00 | 1.00 | 2.00 | 4.00 | 8.00 | 4.00 | 8.00 | 16.00 | 32.00 | ||||||
| vmul.vx v8,v16,t0 | 1.06 | 1.06 | 1.06 | 1.06 | 2.00 | 4.00 | 8.00 | 1.06 | 1.06 | 1.06 | 2.00 | 4.00 | 8.00 | 1.06 | 1.06 | 2.00 | 4.00 | 8.00 | 4.00 | 8.00 | 16.00 | 32.00 | ||||||
| vmul.vx v8,v16,t0,v0.t | 1.06 | 1.06 | 1.06 | 1.06 | 2.00 | 4.00 | 8.00 | 1.06 | 1.06 | 1.06 | 2.00 | 4.00 | 8.00 | 1.06 | 1.06 | 2.00 | 4.00 | 8.00 | 4.00 | 8.00 | 16.00 | 32.00 | ||||||
| vmulhsu.vv v8,v16,v24 | 1.00 | 1.00 | 1.00 | 1.00 | 2.00 | 4.00 | 8.00 | 1.00 | 1.00 | 1.00 | 2.00 | 4.00 | 8.00 | 1.00 | 1.00 | 2.00 | 4.00 | 8.00 | 4.00 | 8.00 | 16.00 | 32.00 | ||||||
| vmulhsu.vv v8,v16,v24,v0.t | 1.00 | 1.00 | 1.00 | 1.00 | 2.00 | 4.00 | 8.00 | 1.00 | 1.00 | 1.00 | 2.00 | 4.00 | 8.00 | 1.00 | 1.00 | 2.00 | 4.00 | 8.00 | 4.00 | 8.00 | 16.00 | 32.00 | ||||||
| vmulhsu.vx v8,v16,t0 | 1.06 | 1.06 | 1.06 | 1.06 | 2.00 | 4.00 | 8.00 | 1.06 | 1.06 | 1.06 | 2.00 | 4.00 | 8.00 | 1.06 | 1.06 | 2.00 | 4.00 | 8.00 | 4.00 | 8.00 | 16.00 | 32.00 | ||||||
| vmulhsu.vx v8,v16,t0,v0.t | 1.06 | 1.06 | 1.06 | 1.06 | 2.00 | 4.00 | 8.00 | 1.06 | 1.06 | 1.06 | 2.00 | 4.00 | 8.00 | 1.06 | 1.06 | 2.00 | 4.00 | 8.00 | 4.00 | 8.00 | 16.00 | 32.00 | ||||||
| vmulh.vv v8,v16,v24 | 1.00 | 1.00 | 1.00 | 1.00 | 2.00 | 4.00 | 8.00 | 1.00 | 1.00 | 1.00 | 2.00 | 4.00 | 8.00 | 1.00 | 1.00 | 2.00 | 4.00 | 8.00 | 4.00 | 8.00 | 16.00 | 32.00 | ||||||
| vmulh.vv v8,v16,v24,v0.t | 1.00 | 1.00 | 1.00 | 1.00 | 2.00 | 4.00 | 8.00 | 1.00 | 1.00 | 1.00 | 2.00 | 4.00 | 8.00 | 1.00 | 1.00 | 2.00 | 4.00 | 8.00 | 4.00 | 8.00 | 16.00 | 32.00 | ||||||
| vmulh.vx v8,v16,t0 | 1.06 | 1.06 | 1.06 | 1.06 | 2.00 | 4.00 | 8.00 | 1.06 | 1.06 | 1.06 | 2.00 | 4.00 | 8.00 | 1.06 | 1.06 | 2.00 | 4.00 | 8.00 | 4.00 | 8.00 | 16.00 | 32.00 | ||||||
| vmulh.vx v8,v16,t0,v0.t | 1.06 | 1.06 | 1.06 | 1.06 | 2.00 | 4.00 | 8.00 | 1.06 | 1.06 | 1.06 | 2.00 | 4.00 | 8.00 | 1.06 | 1.06 | 2.00 | 4.00 | 8.00 | 4.00 | 8.00 | 16.00 | 32.00 | ||||||
| vmadd.vv v8,v16,v24 | 1.00 | 1.00 | 1.00 | 1.00 | 2.00 | 4.00 | 8.00 | 1.00 | 1.00 | 1.00 | 2.00 | 4.00 | 8.00 | 1.00 | 1.00 | 2.00 | 4.00 | 8.00 | 4.00 | 8.00 | 16.00 | 32.00 | ||||||
| vmadd.vv v8,v16,v24,v0.t | 1.00 | 1.00 | 1.00 | 1.00 | 2.00 | 4.00 | 8.00 | 1.00 | 1.00 | 1.00 | 2.00 | 4.00 | 8.00 | 1.00 | 1.00 | 2.00 | 4.00 | 8.00 | 4.00 | 8.00 | 16.00 | 32.00 | ||||||
| vmadd.vx v8,t0,v16 | 1.06 | 1.06 | 1.06 | 1.06 | 2.00 | 4.00 | 8.00 | 1.06 | 1.06 | 1.06 | 2.00 | 4.00 | 8.00 | 1.06 | 1.06 | 2.00 | 4.00 | 8.00 | 4.00 | 8.00 | 16.00 | 32.00 | ||||||
| vmadd.vx v8,t0,v16,v0.t | 1.06 | 1.06 | 1.06 | 1.06 | 2.00 | 4.00 | 8.00 | 1.06 | 1.06 | 1.06 | 2.00 | 4.00 | 8.00 | 1.06 | 1.06 | 2.00 | 4.00 | 8.00 | 4.00 | 8.00 | 16.00 | 32.00 | ||||||
| vmacc.vv v8,v16,v24 | 1.00 | 1.00 | 1.00 | 1.00 | 2.00 | 4.00 | 8.00 | 1.00 | 1.00 | 1.00 | 2.00 | 4.00 | 8.00 | 1.00 | 1.00 | 2.00 | 4.00 | 8.00 | 4.00 | 8.00 | 16.00 | 32.00 | ||||||
| vmacc.vv v8,v16,v24,v0.t | 1.00 | 1.00 | 1.00 | 1.00 | 2.00 | 4.00 | 8.00 | 1.00 | 1.00 | 1.00 | 2.00 | 4.00 | 8.00 | 1.00 | 1.00 | 2.00 | 4.00 | 8.00 | 4.00 | 8.00 | 16.00 | 32.00 | ||||||
| vmacc.vx v8,t0,v16 | 1.06 | 1.06 | 1.06 | 1.06 | 2.00 | 4.00 | 8.00 | 1.06 | 1.06 | 1.06 | 2.00 | 4.00 | 8.00 | 1.06 | 1.06 | 2.00 | 4.00 | 8.00 | 4.00 | 8.00 | 16.00 | 32.00 | ||||||
| vmacc.vx v8,t0,v16,v0.t | 1.06 | 1.06 | 1.06 | 1.06 | 2.00 | 4.00 | 8.00 | 1.06 | 1.06 | 1.06 | 2.00 | 4.00 | 8.00 | 1.06 | 1.06 | 2.00 | 4.00 | 8.00 | 4.00 | 8.00 | 16.00 | 32.00 | ||||||
| vnsrl.wv v8,v16,v24 | 1.00 | 1.00 | 2.00 | 4.00 | 8.00 | 16.00 | 1.00 | 2.00 | 4.00 | 8.00 | 16.00 | 2.00 | 4.00 | 8.00 | 16.00 | |||||||||||||
| vnsrl.wv v8,v16,v24,v0.t | 1.00 | 1.00 | 2.00 | 4.00 | 8.00 | 16.00 | 1.00 | 2.00 | 4.00 | 8.00 | 16.00 | 2.00 | 4.00 | 8.00 | 16.00 | |||||||||||||
| vnsrl.wx v8,v16,t0 | 1.06 | 1.06 | 2.00 | 4.00 | 8.00 | 16.00 | 1.06 | 2.00 | 4.00 | 8.00 | 16.00 | 2.00 | 4.00 | 8.00 | 16.00 | |||||||||||||
| vnsrl.wx v8,v16,t0,v0.t | 1.06 | 1.06 | 2.00 | 4.00 | 8.00 | 16.00 | 1.06 | 2.00 | 4.00 | 8.00 | 16.00 | 2.00 | 4.00 | 8.00 | 16.00 | |||||||||||||
| vnsrl.wi v8,v16,13 | 1.00 | 1.00 | 2.00 | 4.00 | 8.00 | 16.00 | 1.00 | 2.00 | 4.00 | 8.00 | 16.00 | 2.00 | 4.00 | 8.00 | 16.00 | |||||||||||||
| vnsrl.wi v8,v16,13,v0.t | 1.00 | 1.00 | 2.00 | 4.00 | 8.00 | 16.00 | 1.00 | 2.00 | 4.00 | 8.00 | 16.00 | 2.00 | 4.00 | 8.00 | 16.00 | |||||||||||||
| vnsra.wv v8,v16,v24 | 1.00 | 1.00 | 2.00 | 4.00 | 8.00 | 16.00 | 1.00 | 2.00 | 4.00 | 8.00 | 16.00 | 2.00 | 4.00 | 8.00 | 16.00 | |||||||||||||
| vnsra.wv v8,v16,v24,v0.t | 1.00 | 1.00 | 2.00 | 4.00 | 8.00 | 16.00 | 1.00 | 2.00 | 4.00 | 8.00 | 16.00 | 2.00 | 4.00 | 8.00 | 16.00 | |||||||||||||
| vnsra.wx v8,v16,t0 | 1.06 | 1.06 | 2.00 | 4.00 | 8.00 | 16.00 | 1.06 | 2.00 | 4.00 | 8.00 | 16.00 | 2.00 | 4.00 | 8.00 | 16.00 | |||||||||||||
| vnsra.wx v8,v16,t0,v0.t | 1.06 | 1.06 | 2.00 | 4.00 | 8.00 | 16.00 | 1.06 | 2.00 | 4.00 | 8.00 | 16.00 | 2.00 | 4.00 | 8.00 | 16.00 | |||||||||||||
| vnsra.wi v8,v16,13 | 1.00 | 1.00 | 2.00 | 4.00 | 8.00 | 16.00 | 1.00 | 2.00 | 4.00 | 8.00 | 16.00 | 2.00 | 4.00 | 8.00 | 16.00 | |||||||||||||
| vnsra.wi v8,v16,13,v0.t | 1.00 | 1.00 | 2.00 | 4.00 | 8.00 | 16.00 | 1.00 | 2.00 | 4.00 | 8.00 | 16.00 | 2.00 | 4.00 | 8.00 | 16.00 | |||||||||||||
| vnclipu.wv v8,v16,v24 | 1.00 | 1.00 | 2.00 | 4.00 | 8.00 | 16.00 | 1.00 | 2.00 | 4.00 | 8.00 | 16.00 | 2.00 | 4.00 | 8.00 | 16.00 | |||||||||||||
| vnclipu.wv v8,v16,v24,v0.t | 1.00 | 1.00 | 2.00 | 4.00 | 8.00 | 16.00 | 1.00 | 2.00 | 4.00 | 8.00 | 16.00 | 2.00 | 4.00 | 8.00 | 16.00 | |||||||||||||
| vnclipu.wx v8,v16,t0 | 1.06 | 1.06 | 2.00 | 4.00 | 8.00 | 16.00 | 1.06 | 2.00 | 4.00 | 8.00 | 16.00 | 2.00 | 4.00 | 8.00 | 16.00 | |||||||||||||
| vnclipu.wx v8,v16,t0,v0.t | 1.06 | 1.06 | 2.00 | 4.00 | 8.00 | 16.00 | 1.06 | 2.00 | 4.00 | 8.00 | 16.00 | 2.00 | 4.00 | 8.00 | 16.00 | |||||||||||||
| vnclipu.wi v8,v16,13 | 1.00 | 1.00 | 2.00 | 4.00 | 8.00 | 16.00 | 1.00 | 2.00 | 4.00 | 8.00 | 16.00 | 2.00 | 4.00 | 8.00 | 16.00 | |||||||||||||
| vnclipu.wi v8,v16,13,v0.t | 1.00 | 1.00 | 2.00 | 4.00 | 8.00 | 16.00 | 1.00 | 2.00 | 4.00 | 8.00 | 16.00 | 2.00 | 4.00 | 8.00 | 16.00 | |||||||||||||
| vnclip.wv v8,v16,v24 | 1.00 | 1.00 | 2.00 | 4.00 | 8.00 | 16.00 | 1.00 | 2.00 | 4.00 | 8.00 | 16.00 | 2.00 | 4.00 | 8.00 | 16.00 | |||||||||||||
| vnclip.wv v8,v16,v24,v0.t | 1.00 | 1.00 | 2.00 | 4.00 | 8.00 | 16.00 | 1.00 | 2.00 | 4.00 | 8.00 | 16.00 | 2.00 | 4.00 | 8.00 | 16.00 | |||||||||||||
| vnclip.wx v8,v16,t0 | 1.06 | 1.06 | 2.00 | 4.00 | 8.00 | 16.00 | 1.06 | 2.00 | 4.00 | 8.00 | 16.00 | 2.00 | 4.00 | 8.00 | 16.00 | |||||||||||||
| vnclip.wx v8,v16,t0,v0.t | 1.06 | 1.06 | 2.00 | 4.00 | 8.00 | 16.00 | 1.06 | 2.00 | 4.00 | 8.00 | 16.00 | 2.00 | 4.00 | 8.00 | 16.00 | |||||||||||||
| vnclip.wi v8,v16,13 | 1.00 | 1.00 | 2.00 | 4.00 | 8.00 | 16.00 | 1.00 | 2.00 | 4.00 | 8.00 | 16.00 | 2.00 | 4.00 | 8.00 | 16.00 | |||||||||||||
| vnclip.wi v8,v16,13,v0.t | 1.00 | 1.00 | 2.00 | 4.00 | 8.00 | 16.00 | 1.00 | 2.00 | 4.00 | 8.00 | 16.00 | 2.00 | 4.00 | 8.00 | 16.00 | |||||||||||||
| vnmsub.vv v8,v16,v24 | 1.00 | 1.00 | 1.00 | 1.00 | 2.00 | 4.00 | 1.00 | 1.00 | 1.00 | 2.00 | 4.00 | 1.00 | 1.00 | 2.00 | 5.00 | |||||||||||||
| vnmsub.vv v8,v16,v24,v0.t | 1.00 | 1.00 | 1.00 | 1.00 | 2.00 | 4.00 | 1.00 | 1.00 | 1.00 | 2.00 | 4.00 | 1.00 | 1.00 | 2.00 | 5.00 | |||||||||||||
| vnmsub.vx v8,t0,v16 | 1.06 | 1.06 | 1.06 | 1.06 | 2.00 | 4.00 | 1.06 | 1.06 | 1.06 | 2.00 | 4.00 | 1.06 | 1.06 | 2.00 | 5.00 | |||||||||||||
| vnmsub.vx v8,t0,v16,v0.t | 1.06 | 1.06 | 1.06 | 1.06 | 2.00 | 4.00 | 1.06 | 1.06 | 1.06 | 2.00 | 4.00 | 1.06 | 1.06 | 2.00 | 5.00 | |||||||||||||
| vnmsac.vv v8,v16,v24 | 1.00 | 1.00 | 1.00 | 1.00 | 2.00 | 4.00 | 1.00 | 1.00 | 1.00 | 2.00 | 4.00 | 1.00 | 1.00 | 2.00 | 5.00 | |||||||||||||
| vnmsac.vv v8,v16,v24,v0.t | 1.00 | 1.00 | 1.00 | 1.00 | 2.00 | 4.00 | 1.00 | 1.00 | 1.00 | 2.00 | 4.00 | 1.00 | 1.00 | 2.00 | 5.00 | |||||||||||||
| vnmsac.vx v8,t0,v16 | 1.06 | 1.06 | 1.06 | 1.06 | 2.00 | 4.00 | 1.06 | 1.06 | 1.06 | 2.00 | 4.00 | 1.06 | 1.06 | 2.00 | 5.00 | |||||||||||||
| vnmsac.vx v8,t0,v16,v0.t | 1.06 | 1.06 | 1.06 | 1.06 | 2.00 | 4.00 | 1.06 | 1.06 | 1.06 | 2.00 | 4.00 | 1.06 | 1.06 | 2.00 | 5.00 | |||||||||||||
| vwaddu.vv v8,v16,v24 | 1.00 | 1.00 | 2.00 | 2.00 | 4.00 | 8.00 | 1.00 | 2.00 | 2.00 | 4.00 | 8.00 | 2.00 | 2.00 | 4.00 | 8.00 | |||||||||||||
| vwaddu.vv v8,v16,v24,v0.t | 1.00 | 1.00 | 2.00 | 2.00 | 4.00 | 8.00 | 1.00 | 2.00 | 2.00 | 4.00 | 8.00 | 2.00 | 2.00 | 4.00 | 8.00 | |||||||||||||
| vwaddu.vx v8,v16,t0 | 1.06 | 1.06 | 2.00 | 2.00 | 4.00 | 8.00 | 1.06 | 2.00 | 2.00 | 4.00 | 8.00 | 2.00 | 2.00 | 4.00 | 8.00 | |||||||||||||
| vwaddu.vx v8,v16,t0,v0.t | 1.06 | 1.06 | 2.00 | 2.00 | 4.00 | 8.00 | 1.06 | 2.00 | 2.00 | 4.00 | 8.00 | 2.00 | 2.00 | 4.00 | 8.00 | |||||||||||||
| vwadd.vv v8,v16,v24 | 1.00 | 1.00 | 2.00 | 2.00 | 4.00 | 8.00 | 1.00 | 2.00 | 2.00 | 4.00 | 8.00 | 2.00 | 2.00 | 4.00 | 8.00 | |||||||||||||
| vwadd.vv v8,v16,v24,v0.t | 1.00 | 1.00 | 2.00 | 2.00 | 4.00 | 8.00 | 1.00 | 2.00 | 2.00 | 4.00 | 8.00 | 2.00 | 2.00 | 4.00 | 8.00 | |||||||||||||
| vwadd.vx v8,v16,t0 | 1.06 | 1.06 | 2.00 | 2.00 | 4.00 | 8.00 | 1.06 | 2.00 | 2.00 | 4.00 | 8.00 | 2.00 | 2.00 | 4.00 | 8.00 | |||||||||||||
| vwadd.vx v8,v16,t0,v0.t | 1.06 | 1.06 | 2.00 | 2.00 | 4.00 | 8.00 | 1.06 | 2.00 | 2.00 | 4.00 | 8.00 | 2.00 | 2.00 | 4.00 | 8.00 | |||||||||||||
| vwsubu.vv v8,v16,v24 | 1.00 | 1.00 | 2.00 | 2.00 | 4.00 | 8.00 | 1.00 | 2.00 | 2.00 | 4.00 | 8.00 | 2.00 | 2.00 | 4.00 | 8.00 | |||||||||||||
| vwsubu.vv v8,v16,v24,v0.t | 1.00 | 1.00 | 2.00 | 2.00 | 4.00 | 8.00 | 1.00 | 2.00 | 2.00 | 4.00 | 8.00 | 2.00 | 2.00 | 4.00 | 8.00 | |||||||||||||
| vwsubu.vx v8,v16,t0 | 1.06 | 1.06 | 2.00 | 2.00 | 4.00 | 8.00 | 1.06 | 2.00 | 2.00 | 4.00 | 8.00 | 2.00 | 2.00 | 4.00 | 8.00 | |||||||||||||
| vwsubu.vx v8,v16,t0,v0.t | 1.06 | 1.06 | 2.00 | 2.00 | 4.00 | 8.00 | 1.06 | 2.00 | 2.00 | 4.00 | 8.00 | 2.00 | 2.00 | 4.00 | 8.00 | |||||||||||||
| vwsub.vv v8,v16,v24 | 1.00 | 1.00 | 2.00 | 2.00 | 4.00 | 8.00 | 1.00 | 2.00 | 2.00 | 4.00 | 8.00 | 2.00 | 2.00 | 4.00 | 8.00 | |||||||||||||
| vwsub.vv v8,v16,v24,v0.t | 1.00 | 1.00 | 2.00 | 2.00 | 4.00 | 8.00 | 1.00 | 2.00 | 2.00 | 4.00 | 8.00 | 2.00 | 2.00 | 4.00 | 8.00 | |||||||||||||
| vwsub.vx v8,v16,t0 | 1.06 | 1.06 | 2.00 | 2.00 | 4.00 | 8.00 | 1.06 | 2.00 | 2.00 | 4.00 | 8.00 | 2.00 | 2.00 | 4.00 | 8.00 | |||||||||||||
| vwsub.vx v8,v16,t0,v0.t | 1.06 | 1.06 | 2.00 | 2.00 | 4.00 | 8.00 | 1.06 | 2.00 | 2.00 | 4.00 | 8.00 | 2.00 | 2.00 | 4.00 | 8.00 | |||||||||||||
| vwaddu.wv v8,v16,v24 | 1.00 | 1.00 | 2.00 | 2.00 | 4.00 | 8.00 | 1.00 | 2.00 | 2.00 | 4.00 | 8.00 | 2.00 | 2.00 | 4.00 | 8.00 | |||||||||||||
| vwaddu.wv v8,v16,v24,v0.t | 1.00 | 1.00 | 2.00 | 2.00 | 4.00 | 8.00 | 1.00 | 2.00 | 2.00 | 4.00 | 8.00 | 2.00 | 2.00 | 4.00 | 8.00 | |||||||||||||
| vwaddu.wx v8,v16,t0 | 1.06 | 1.06 | 2.00 | 2.00 | 4.00 | 8.00 | 1.06 | 2.00 | 2.00 | 4.00 | 8.00 | 2.00 | 2.00 | 4.00 | 8.00 | |||||||||||||
| vwaddu.wx v8,v16,t0,v0.t | 1.06 | 1.06 | 2.00 | 2.00 | 4.00 | 8.00 | 1.06 | 2.00 | 2.00 | 4.00 | 8.00 | 2.00 | 2.00 | 4.00 | 8.00 | |||||||||||||
| vwadd.wv v8,v16,v24 | 1.00 | 1.00 | 2.00 | 2.00 | 4.00 | 8.00 | 1.00 | 2.00 | 2.00 | 4.00 | 8.00 | 2.00 | 2.00 | 4.00 | 8.00 | |||||||||||||
| vwadd.wv v8,v16,v24,v0.t | 1.00 | 1.00 | 2.00 | 2.00 | 4.00 | 8.00 | 1.00 | 2.00 | 2.00 | 4.00 | 8.00 | 2.00 | 2.00 | 4.00 | 8.00 | |||||||||||||
| vwadd.wx v8,v16,t0 | 1.06 | 1.06 | 2.00 | 2.00 | 4.00 | 8.00 | 1.06 | 2.00 | 2.00 | 4.00 | 8.00 | 2.00 | 2.00 | 4.00 | 8.00 | |||||||||||||
| vwadd.wx v8,v16,t0,v0.t | 1.06 | 1.06 | 2.00 | 2.00 | 4.00 | 8.00 | 1.06 | 2.00 | 2.00 | 4.00 | 8.00 | 2.00 | 2.00 | 4.00 | 8.00 | |||||||||||||
| vwsubu.wv v8,v16,v24 | 1.00 | 1.00 | 2.00 | 2.00 | 4.00 | 8.00 | 1.00 | 2.00 | 2.00 | 4.00 | 8.00 | 2.00 | 2.00 | 4.00 | 8.00 | |||||||||||||
| vwsubu.wv v8,v16,v24,v0.t | 1.00 | 1.00 | 2.00 | 2.00 | 4.00 | 8.00 | 1.00 | 2.00 | 2.00 | 4.00 | 8.00 | 2.00 | 2.00 | 4.00 | 8.00 | |||||||||||||
| vwsubu.wx v8,v16,t0 | 1.06 | 1.06 | 2.00 | 2.00 | 4.00 | 8.00 | 1.06 | 2.00 | 2.00 | 4.00 | 8.00 | 2.00 | 2.00 | 4.00 | 8.00 | |||||||||||||
| vwsubu.wx v8,v16,t0,v0.t | 1.06 | 1.06 | 2.00 | 2.00 | 4.00 | 8.00 | 1.06 | 2.00 | 2.00 | 4.00 | 8.00 | 2.00 | 2.00 | 4.00 | 8.00 | |||||||||||||
| vwsub.wv v8,v16,v24 | 1.00 | 1.00 | 2.00 | 2.00 | 4.00 | 8.00 | 1.00 | 2.00 | 2.00 | 4.00 | 8.00 | 2.00 | 2.00 | 4.00 | 8.00 | |||||||||||||
| vwsub.wv v8,v16,v24,v0.t | 1.00 | 1.00 | 2.00 | 2.00 | 4.00 | 8.00 | 1.00 | 2.00 | 2.00 | 4.00 | 8.00 | 2.00 | 2.00 | 4.00 | 8.00 | |||||||||||||
| vwsub.wx v8,v16,t0 | 1.06 | 1.06 | 2.00 | 2.00 | 4.00 | 8.00 | 1.06 | 2.00 | 2.00 | 4.00 | 8.00 | 2.00 | 2.00 | 4.00 | 8.00 | |||||||||||||
| vwsub.wx v8,v16,t0,v0.t | 1.06 | 1.06 | 2.00 | 2.00 | 4.00 | 8.00 | 1.06 | 2.00 | 2.00 | 4.00 | 8.00 | 2.00 | 2.00 | 4.00 | 8.00 | |||||||||||||
| vwmulu.vv v8,v16,v24 | 1.00 | 1.00 | 2.00 | 2.00 | 4.00 | 8.00 | 1.00 | 2.00 | 2.00 | 4.00 | 8.00 | 2.00 | 2.00 | 4.00 | 8.00 | |||||||||||||
| vwmulu.vv v8,v16,v24,v0.t | 1.00 | 1.00 | 2.00 | 2.00 | 4.00 | 8.00 | 1.00 | 2.00 | 2.00 | 4.00 | 8.00 | 2.00 | 2.00 | 4.00 | 8.00 | |||||||||||||
| vwmulu.vx v8,v16,t0 | 1.06 | 1.06 | 2.00 | 2.00 | 4.00 | 8.00 | 1.06 | 2.00 | 2.00 | 4.00 | 8.00 | 2.00 | 2.00 | 4.00 | 8.00 | |||||||||||||
| vwmulu.vx v8,v16,t0,v0.t | 1.06 | 1.06 | 2.00 | 2.00 | 4.00 | 8.00 | 1.06 | 2.00 | 2.00 | 4.00 | 8.00 | 2.00 | 2.00 | 4.00 | 8.00 | |||||||||||||
| vwmulsu.vv v8,v16,v24 | 1.00 | 1.00 | 2.00 | 2.00 | 4.00 | 8.00 | 1.00 | 2.00 | 2.00 | 4.00 | 8.00 | 2.00 | 2.00 | 4.00 | 8.00 | |||||||||||||
| vwmulsu.vv v8,v16,v24,v0.t | 1.00 | 1.00 | 2.00 | 2.00 | 4.00 | 8.00 | 1.00 | 2.00 | 2.00 | 4.00 | 8.00 | 2.00 | 2.00 | 4.00 | 8.00 | |||||||||||||
| vwmulsu.vx v8,v16,t0 | 1.06 | 1.06 | 2.00 | 2.00 | 4.00 | 8.00 | 1.06 | 2.00 | 2.00 | 4.00 | 8.00 | 2.00 | 2.00 | 4.00 | 8.00 | |||||||||||||
| vwmulsu.vx v8,v16,t0,v0.t | 1.06 | 1.06 | 2.00 | 2.00 | 4.00 | 8.00 | 1.06 | 2.00 | 2.00 | 4.00 | 8.00 | 2.00 | 2.00 | 4.00 | 8.00 | |||||||||||||
| vwmul.vv v8,v16,v24 | 1.00 | 1.00 | 2.00 | 2.00 | 4.00 | 8.00 | 1.00 | 2.00 | 2.00 | 4.00 | 8.00 | 2.00 | 2.00 | 4.00 | 8.00 | |||||||||||||
| vwmul.vv v8,v16,v24,v0.t | 1.00 | 1.00 | 2.00 | 2.00 | 4.00 | 8.00 | 1.00 | 2.00 | 2.00 | 4.00 | 8.00 | 2.00 | 2.00 | 4.00 | 8.00 | |||||||||||||
| vwmul.vx v8,v16,t0 | 1.06 | 1.06 | 2.00 | 2.00 | 4.00 | 8.00 | 1.06 | 2.00 | 2.00 | 4.00 | 8.00 | 2.00 | 2.00 | 4.00 | 8.00 | |||||||||||||
| vwmul.vx v8,v16,t0,v0.t | 1.06 | 1.06 | 2.00 | 2.00 | 4.00 | 8.00 | 1.06 | 2.00 | 2.00 | 4.00 | 8.00 | 2.00 | 2.00 | 4.00 | 8.00 | |||||||||||||
| vwmaccu.vv v8,v16,v24 | 1.00 | 1.00 | 2.00 | 2.00 | 4.00 | 8.00 | 1.00 | 2.00 | 2.00 | 4.00 | 8.00 | 2.00 | 2.00 | 4.00 | 8.00 | |||||||||||||
| vwmaccu.vv v8,v16,v24,v0.t | 1.00 | 1.00 | 2.00 | 2.00 | 4.00 | 8.00 | 1.00 | 2.00 | 2.00 | 4.00 | 8.00 | 2.00 | 2.00 | 4.00 | 8.00 | |||||||||||||
| vwmaccu.vx v8,t0,v16 | 1.06 | 1.06 | 2.00 | 2.00 | 4.00 | 8.00 | 1.06 | 2.00 | 2.00 | 4.00 | 8.00 | 2.00 | 2.00 | 4.00 | 8.00 | |||||||||||||
| vwmaccu.vx v8,t0,v16,v0.t | 1.06 | 1.06 | 2.00 | 2.00 | 4.00 | 8.00 | 1.06 | 2.00 | 2.00 | 4.00 | 8.00 | 2.00 | 2.00 | 4.00 | 8.00 | |||||||||||||
| vwmacc.vv v8,v16,v24 | 1.00 | 1.00 | 2.00 | 2.00 | 4.00 | 8.00 | 1.00 | 2.00 | 2.00 | 4.00 | 8.00 | 2.00 | 2.00 | 4.00 | 8.00 | |||||||||||||
| vwmacc.vv v8,v16,v24,v0.t | 1.00 | 1.00 | 2.00 | 2.00 | 4.00 | 8.00 | 1.00 | 2.00 | 2.00 | 4.00 | 8.00 | 2.00 | 2.00 | 4.00 | 8.00 | |||||||||||||
| vwmacc.vx v8,t0,v16 | 1.06 | 1.06 | 2.00 | 2.00 | 4.00 | 8.00 | 1.06 | 2.00 | 2.00 | 4.00 | 8.00 | 2.00 | 2.00 | 4.00 | 8.00 | |||||||||||||
| vwmacc.vx v8,t0,v16,v0.t | 1.06 | 1.06 | 2.00 | 2.00 | 4.00 | 8.00 | 1.06 | 2.00 | 2.00 | 4.00 | 8.00 | 2.00 | 2.00 | 4.00 | 8.00 | |||||||||||||
| vwmaccsu.vv v8,v16,v24 | 1.00 | 1.00 | 2.00 | 2.00 | 4.00 | 8.00 | 1.00 | 2.00 | 2.00 | 4.00 | 8.00 | 2.00 | 2.00 | 4.00 | 8.00 | |||||||||||||
| vwmaccsu.vv v8,v16,v24,v0.t | 1.00 | 1.00 | 2.00 | 2.00 | 4.00 | 8.00 | 1.00 | 2.00 | 2.00 | 4.00 | 8.00 | 2.00 | 2.00 | 4.00 | 8.00 | |||||||||||||
| vwmaccsu.vx v8,t0,v16 | 1.06 | 1.06 | 2.00 | 2.00 | 4.00 | 8.00 | 1.06 | 2.00 | 2.00 | 4.00 | 8.00 | 2.00 | 2.00 | 4.00 | 8.00 | |||||||||||||
| vwmaccsu.vx v8,t0,v16,v0.t | 1.06 | 1.06 | 2.00 | 2.00 | 4.00 | 8.00 | 1.06 | 2.00 | 2.00 | 4.00 | 8.00 | 2.00 | 2.00 | 4.00 | 8.00 | |||||||||||||
| vwmaccus.vx v8,t0,v16 | 1.06 | 1.06 | 2.00 | 2.00 | 4.00 | 8.00 | 1.06 | 2.00 | 2.00 | 4.00 | 8.00 | 2.00 | 2.00 | 4.00 | 8.00 | |||||||||||||
| vwmaccus.vx v8,t0,v16,v0.t | 1.06 | 1.06 | 2.00 | 2.00 | 4.00 | 8.00 | 1.06 | 2.00 | 2.00 | 4.00 | 8.00 | 2.00 | 2.00 | 4.00 | 8.00 | |||||||||||||
| vfadd.vv v8,v16,v24 | 1.00 | 1.00 | 1.00 | 2.00 | 4.00 | 8.00 | 1.00 | 1.00 | 2.00 | 4.00 | 8.00 | 1.00 | 2.00 | 4.00 | 8.00 | |||||||||||||
| vfadd.vv v8,v16,v24,v0.t | 1.00 | 1.00 | 1.00 | 2.00 | 4.00 | 8.00 | 1.00 | 1.00 | 2.00 | 4.00 | 8.00 | 1.00 | 2.00 | 4.00 | 8.00 | |||||||||||||
| vfadd.vf v8,v16,ft0 | 1.00 | 1.00 | 1.00 | 2.00 | 4.00 | 8.00 | 1.00 | 1.00 | 2.00 | 4.00 | 8.00 | 1.00 | 2.00 | 4.00 | 8.00 | |||||||||||||
| vfadd.vf v8,v16,ft0,v0.t | 1.00 | 1.00 | 1.00 | 2.00 | 4.00 | 8.00 | 1.00 | 1.00 | 2.00 | 4.00 | 8.00 | 1.00 | 2.00 | 4.00 | 8.00 | |||||||||||||
| vfsub.vv v8,v16,v24 | 1.00 | 1.00 | 1.00 | 2.00 | 4.00 | 8.00 | 1.00 | 1.00 | 2.00 | 4.00 | 8.00 | 1.00 | 2.00 | 4.00 | 8.00 | |||||||||||||
| vfsub.vv v8,v16,v24,v0.t | 1.00 | 1.00 | 1.00 | 2.00 | 4.00 | 8.00 | 1.00 | 1.00 | 2.00 | 4.00 | 8.00 | 1.00 | 2.00 | 4.00 | 8.00 | |||||||||||||
| vfsub.vf v8,v16,ft0 | 1.00 | 1.00 | 1.00 | 2.00 | 4.00 | 8.00 | 1.00 | 1.00 | 2.00 | 4.00 | 8.00 | 1.00 | 2.00 | 4.00 | 8.00 | |||||||||||||
| vfsub.vf v8,v16,ft0,v0.t | 1.00 | 1.00 | 1.00 | 2.00 | 4.00 | 8.00 | 1.00 | 1.00 | 2.00 | 4.00 | 8.00 | 1.00 | 2.00 | 4.00 | 8.00 | |||||||||||||
| vfmin.vv v8,v16,v24 | 1.00 | 1.00 | 1.00 | 2.00 | 4.00 | 8.00 | 1.00 | 1.00 | 2.00 | 4.00 | 8.00 | 1.00 | 2.00 | 4.00 | 8.00 | |||||||||||||
| vfmin.vv v8,v16,v24,v0.t | 1.00 | 1.00 | 1.00 | 2.00 | 4.00 | 8.00 | 1.00 | 1.00 | 2.00 | 4.00 | 8.00 | 1.00 | 2.00 | 4.00 | 8.00 | |||||||||||||
| vfmin.vf v8,v16,ft0 | 1.00 | 1.00 | 1.00 | 2.00 | 4.00 | 8.00 | 1.00 | 1.00 | 2.00 | 4.00 | 8.00 | 1.00 | 2.00 | 4.00 | 8.00 | |||||||||||||
| vfmin.vf v8,v16,ft0,v0.t | 1.00 | 1.00 | 1.00 | 2.00 | 4.00 | 8.00 | 1.00 | 1.00 | 2.00 | 4.00 | 8.00 | 1.00 | 2.00 | 4.00 | 8.00 | |||||||||||||
| vfmax.vv v8,v16,v24 | 1.00 | 1.00 | 1.00 | 2.00 | 4.00 | 8.00 | 1.00 | 1.00 | 2.00 | 4.00 | 8.00 | 1.00 | 2.00 | 4.00 | 8.00 | |||||||||||||
| vfmax.vv v8,v16,v24,v0.t | 1.00 | 1.00 | 1.00 | 2.00 | 4.00 | 8.00 | 1.00 | 1.00 | 2.00 | 4.00 | 8.00 | 1.00 | 2.00 | 4.00 | 8.00 | |||||||||||||
| vfmax.vf v8,v16,ft0 | 1.00 | 1.00 | 1.00 | 2.00 | 4.00 | 8.00 | 1.00 | 1.00 | 2.00 | 4.00 | 8.00 | 1.00 | 2.00 | 4.00 | 8.00 | |||||||||||||
| vfmax.vf v8,v16,ft0,v0.t | 1.00 | 1.00 | 1.00 | 2.00 | 4.00 | 8.00 | 1.00 | 1.00 | 2.00 | 4.00 | 8.00 | 1.00 | 2.00 | 4.00 | 8.00 | |||||||||||||
| vfsgnj.vv v8,v16,v24 | 1.00 | 1.00 | 2.00 | 4.00 | 8.00 | 16.00 | 1.00 | 2.00 | 4.00 | 8.00 | 16.00 | 2.00 | 4.00 | 8.00 | 16.00 | |||||||||||||
| vfsgnj.vv v8,v16,v24,v0.t | 1.00 | 1.00 | 2.00 | 4.00 | 8.00 | 16.00 | 1.00 | 2.00 | 4.00 | 8.00 | 16.00 | 2.00 | 4.00 | 8.00 | 16.00 | |||||||||||||
| vfsgnj.vf v8,v16,ft0 | 1.00 | 1.00 | 2.00 | 4.00 | 8.00 | 16.00 | 1.00 | 2.00 | 4.00 | 8.00 | 16.00 | 2.00 | 4.00 | 8.00 | 16.00 | |||||||||||||
| vfsgnj.vf v8,v16,ft0,v0.t | 1.00 | 1.00 | 2.00 | 4.00 | 8.00 | 16.00 | 1.00 | 2.00 | 4.00 | 8.00 | 16.00 | 2.00 | 4.00 | 8.00 | 16.00 | |||||||||||||
| vfsgnjn.vv v8,v16,v24 | 1.00 | 1.00 | 2.00 | 4.00 | 8.00 | 16.00 | 1.00 | 2.00 | 4.00 | 8.00 | 16.00 | 2.00 | 4.00 | 8.00 | 16.00 | |||||||||||||
| vfsgnjn.vv v8,v16,v24,v0.t | 1.00 | 1.00 | 2.00 | 4.00 | 8.00 | 16.00 | 1.00 | 2.00 | 4.00 | 8.00 | 16.00 | 2.00 | 4.00 | 8.00 | 16.00 | |||||||||||||
| vfsgnjn.vf v8,v16,ft0 | 1.00 | 1.00 | 2.00 | 4.00 | 8.00 | 16.00 | 1.00 | 2.00 | 4.00 | 8.00 | 16.00 | 2.00 | 4.00 | 8.00 | 16.00 | |||||||||||||
| vfsgnjn.vf v8,v16,ft0,v0.t | 1.00 | 1.00 | 2.00 | 4.00 | 8.00 | 16.00 | 1.00 | 2.00 | 4.00 | 8.00 | 16.00 | 2.00 | 4.00 | 8.00 | 16.00 | |||||||||||||
| vfsgnjx.vv v8,v16,v24 | 1.00 | 1.00 | 2.00 | 4.00 | 8.00 | 16.00 | 1.00 | 2.00 | 4.00 | 8.00 | 16.00 | 2.00 | 4.00 | 8.00 | 16.00 | |||||||||||||
| vfsgnjx.vv v8,v16,v24,v0.t | 1.00 | 1.00 | 2.00 | 4.00 | 8.00 | 16.00 | 1.00 | 2.00 | 4.00 | 8.00 | 16.00 | 2.00 | 4.00 | 8.00 | 16.00 | |||||||||||||
| vfsgnjx.vf v8,v16,ft0 | 1.00 | 1.00 | 2.00 | 4.00 | 8.00 | 16.00 | 1.00 | 2.00 | 4.00 | 8.00 | 16.00 | 2.00 | 4.00 | 8.00 | 16.00 | |||||||||||||
| vfsgnjx.vf v8,v16,ft0,v0.t | 1.00 | 1.00 | 2.00 | 4.00 | 8.00 | 16.00 | 1.00 | 2.00 | 4.00 | 8.00 | 16.00 | 2.00 | 4.00 | 8.00 | 16.00 | |||||||||||||
| vfslide1up.vf v8,v16,ft0 | 1.00 | 1.00 | 2.00 | 4.00 | 8.00 | 16.00 | 1.00 | 2.00 | 4.00 | 8.00 | 16.00 | 2.00 | 4.00 | 8.00 | 16.00 | |||||||||||||
| vfslide1up.vf v8,v16,ft0,v0.t | 1.00 | 1.00 | 2.00 | 4.00 | 8.00 | 16.00 | 1.00 | 2.00 | 4.00 | 8.00 | 16.00 | 2.00 | 4.00 | 8.00 | 16.00 | |||||||||||||
| vfslide1down.vf v8,v16,ft0 | 1.00 | 1.00 | 3.00 | 5.00 | 9.00 | 17.00 | 1.00 | 3.00 | 5.00 | 9.00 | 17.00 | 3.00 | 5.00 | 9.00 | 17.00 | |||||||||||||
| vfslide1down.vf v8,v16,ft0,v0.t | 1.00 | 1.00 | 3.00 | 5.00 | 9.00 | 17.00 | 1.00 | 3.00 | 5.00 | 9.00 | 17.00 | 3.00 | 5.00 | 9.00 | 17.00 | |||||||||||||
| vfredusum.vs v8,v16,v24 | 8.00 | 8.00 | 8.00 | 14.00 | 20.00 | 57.00 | 5.00 | 6.50 | 11.00 | 17.00 | 54.00 | 4.00 | 7.00 | 15.50 | 52.00 | |||||||||||||
| vfredusum.vs v8,v16,v24,v0.t | 8.00 | 8.00 | 8.00 | 14.00 | 20.00 | 56.99 | 5.00 | 6.50 | 11.00 | 17.00 | 53.99 | 4.00 | 7.00 | 15.50 | 52.00 | |||||||||||||
| vfredosum.vs v8,v16,v24 | 8.00 | 20.00 | 23.00 | 47.00 | 95.98 | 383.65 | 8.00 | 11.00 | 23.00 | 47.99 | 191.90 | 5.50 | 11.50 | 24.50 | 96.97 | |||||||||||||
| vfredosum.vs v8,v16,v24,v0.t | 8.00 | 20.00 | 23.00 | 47.00 | 95.98 | 383.65 | 8.00 | 11.00 | 23.00 | 47.99 | 191.90 | 5.50 | 11.50 | 24.50 | 96.98 | |||||||||||||
| vfredmin.vs v8,v16,v24 | 8.00 | 8.00 | 8.00 | 14.00 | 20.00 | 57.00 | 5.00 | 6.50 | 11.00 | 17.00 | 54.00 | 4.00 | 7.00 | 14.00 | 51.00 | |||||||||||||
| vfredmin.vs v8,v16,v24,v0.t | 8.00 | 8.00 | 8.00 | 14.00 | 20.00 | 57.00 | 5.00 | 6.50 | 11.00 | 17.00 | 54.00 | 4.00 | 7.00 | 14.00 | 51.00 | |||||||||||||
| vfredmax.vs v8,v16,v24 | 8.00 | 8.00 | 8.00 | 14.00 | 20.00 | 56.99 | 5.00 | 6.50 | 11.00 | 17.00 | 53.99 | 4.00 | 7.00 | 14.00 | 50.99 | |||||||||||||
| vfredmax.vs v8,v16,v24,v0.t | 8.00 | 8.00 | 8.00 | 14.00 | 20.00 | 56.99 | 5.00 | 6.50 | 11.00 | 17.00 | 53.99 | 4.00 | 7.00 | 14.00 | 51.00 | |||||||||||||
| vfmerge.vfm v8,v16,ft0,v0 | 1.00 | 1.00 | 2.00 | 4.00 | 8.00 | 16.00 | 1.00 | 2.00 | 4.00 | 8.00 | 16.00 | 2.00 | 4.00 | 8.00 | 16.00 | |||||||||||||
| vfmv.v.f v8,ft0 | 1.00 | 1.00 | 2.00 | 4.00 | 8.00 | 16.00 | 1.00 | 2.00 | 4.00 | 8.00 | 16.00 | 2.00 | 4.00 | 8.00 | 16.00 | |||||||||||||
| vmfeq.vv v8,v16,v24 | 1.00 | 1.00 | 2.00 | 2.50 | 5.00 | 18.00 | 1.00 | 2.00 | 2.50 | 5.00 | 18.00 | 2.00 | 2.50 | 5.00 | 18.00 | |||||||||||||
| vmfeq.vv v8,v16,v24,v0.t | 1.00 | 1.00 | 2.00 | 2.50 | 5.00 | 18.00 | 1.00 | 2.00 | 2.50 | 5.00 | 18.00 | 2.00 | 2.50 | 5.00 | 18.00 | |||||||||||||
| vmfeq.vf v8,v16,ft0 | 1.00 | 1.00 | 2.00 | 2.50 | 5.00 | 18.00 | 1.00 | 2.00 | 2.50 | 5.00 | 18.00 | 2.00 | 2.50 | 5.00 | 18.00 | |||||||||||||
| vmfeq.vf v8,v16,ft0,v0.t | 1.00 | 1.00 | 2.00 | 2.50 | 5.00 | 18.00 | 1.00 | 2.00 | 2.50 | 5.00 | 18.00 | 2.00 | 2.50 | 5.00 | 18.00 | |||||||||||||
| vmfle.vv v8,v16,v24 | 1.00 | 1.00 | 2.00 | 2.50 | 5.00 | 18.00 | 1.00 | 2.00 | 2.50 | 5.00 | 18.00 | 2.00 | 2.50 | 5.00 | 18.00 | |||||||||||||
| vmfle.vv v8,v16,v24,v0.t | 1.00 | 1.00 | 2.00 | 2.50 | 5.00 | 18.00 | 1.00 | 2.00 | 2.50 | 5.00 | 18.00 | 2.00 | 2.50 | 5.00 | 18.00 | |||||||||||||
| vmfle.vf v8,v16,ft0 | 1.00 | 1.00 | 2.00 | 2.50 | 5.00 | 18.00 | 1.00 | 2.00 | 2.50 | 5.00 | 18.00 | 2.00 | 2.50 | 5.00 | 18.00 | |||||||||||||
| vmfle.vf v8,v16,ft0,v0.t | 1.00 | 1.00 | 2.00 | 2.50 | 5.00 | 18.00 | 1.00 | 2.00 | 2.50 | 5.00 | 18.00 | 2.00 | 2.50 | 5.00 | 18.00 | |||||||||||||
| vmflt.vv v8,v16,v24 | 1.00 | 1.00 | 2.00 | 2.50 | 5.00 | 18.00 | 1.00 | 2.00 | 2.50 | 5.00 | 18.00 | 2.00 | 2.50 | 5.00 | 18.00 | |||||||||||||
| vmflt.vv v8,v16,v24,v0.t | 1.00 | 1.00 | 2.00 | 2.50 | 5.00 | 18.00 | 1.00 | 2.00 | 2.50 | 5.00 | 18.00 | 2.00 | 2.50 | 5.00 | 18.00 | |||||||||||||
| vmflt.vf v8,v16,ft0 | 1.00 | 1.00 | 2.00 | 2.50 | 5.00 | 18.00 | 1.00 | 2.00 | 2.50 | 5.00 | 18.00 | 2.00 | 2.50 | 5.00 | 18.00 | |||||||||||||
| vmflt.vf v8,v16,ft0,v0.t | 1.00 | 1.00 | 2.00 | 2.50 | 5.00 | 18.00 | 1.00 | 2.00 | 2.50 | 5.00 | 18.00 | 2.00 | 2.50 | 5.00 | 18.00 | |||||||||||||
| vmfne.vv v8,v16,v24 | 1.00 | 1.00 | 2.00 | 2.50 | 5.00 | 18.00 | 1.00 | 2.00 | 2.50 | 5.00 | 18.00 | 2.00 | 2.50 | 5.00 | 18.00 | |||||||||||||
| vmfne.vv v8,v16,v24,v0.t | 1.00 | 1.00 | 2.00 | 2.50 | 5.00 | 18.00 | 1.00 | 2.00 | 2.50 | 5.00 | 18.00 | 2.00 | 2.50 | 5.00 | 18.00 | |||||||||||||
| vmfne.vf v8,v16,ft0 | 1.00 | 1.00 | 2.00 | 2.50 | 5.00 | 18.00 | 1.00 | 2.00 | 2.50 | 5.00 | 18.00 | 2.00 | 2.50 | 5.00 | 18.00 | |||||||||||||
| vmfne.vf v8,v16,ft0,v0.t | 1.00 | 1.00 | 2.00 | 2.50 | 5.00 | 18.00 | 1.00 | 2.00 | 2.50 | 5.00 | 18.00 | 2.00 | 2.50 | 5.00 | 18.00 | |||||||||||||
| vmfgt.vv v8,v16,v24 | 1.00 | 1.00 | 2.00 | 2.50 | 5.00 | 18.00 | 1.00 | 2.00 | 2.50 | 5.00 | 18.00 | 2.00 | 2.50 | 5.00 | 18.00 | |||||||||||||
| vmfgt.vv v8,v16,v24,v0.t | 1.00 | 1.00 | 2.00 | 2.50 | 5.00 | 18.00 | 1.00 | 2.00 | 2.50 | 5.00 | 18.00 | 2.00 | 2.50 | 5.00 | 18.00 | |||||||||||||
| vmfgt.vf v8,v16,ft0 | 1.00 | 1.00 | 2.00 | 2.50 | 5.00 | 18.00 | 1.00 | 2.00 | 2.50 | 5.00 | 18.00 | 2.00 | 2.50 | 5.00 | 18.00 | |||||||||||||
| vmfgt.vf v8,v16,ft0,v0.t | 1.00 | 1.00 | 2.00 | 2.50 | 5.00 | 18.00 | 1.00 | 2.00 | 2.50 | 5.00 | 18.00 | 2.00 | 2.50 | 5.00 | 18.00 | |||||||||||||
| vmfge.vv v8,v16,v24 | 1.00 | 1.00 | 2.00 | 2.50 | 5.00 | 18.00 | 1.00 | 2.00 | 2.50 | 5.00 | 18.00 | 2.00 | 2.50 | 5.00 | 18.00 | |||||||||||||
| vmfge.vv v8,v16,v24,v0.t | 1.00 | 1.00 | 2.00 | 2.50 | 5.00 | 18.00 | 1.00 | 2.00 | 2.50 | 5.00 | 18.00 | 2.00 | 2.50 | 5.00 | 18.00 | |||||||||||||
| vmfge.vf v8,v16,ft0 | 1.00 | 1.00 | 2.00 | 2.50 | 5.00 | 18.00 | 1.00 | 2.00 | 2.50 | 5.00 | 18.00 | 2.00 | 2.50 | 5.00 | 18.00 | |||||||||||||
| vmfge.vf v8,v16,ft0,v0.t | 1.00 | 1.00 | 2.00 | 2.50 | 5.00 | 18.00 | 1.00 | 2.00 | 2.50 | 5.00 | 18.00 | 2.00 | 2.50 | 5.00 | 18.00 | |||||||||||||
| vfdiv.vv v8,v16,v24 | 13.91 | 13.82 | 21.31 | 37.36 | 68.38 | 129.85 | 18.16 | 24.29 | 36.78 | 61.27 | 110.53 | 39.00 | 50.99 | 74.99 | 122.96 | |||||||||||||
| vfdiv.vv v8,v16,v24,v0.t | 10.70 | 10.65 | 18.54 | 34.19 | 65.24 | 128.56 | 12.18 | 18.37 | 30.55 | 55.41 | 104.51 | 25.49 | 37.53 | 61.56 | 109.46 | |||||||||||||
| vfdiv.vf v8,v16,ft0 | 7.10 | 7.16 | 14.25 | 28.61 | 56.17 | 113.84 | 11.94 | 17.36 | 30.30 | 54.52 | 103.34 | 15.37 | 24.00 | 48.00 | 95.99 | |||||||||||||
| vfdiv.vf v8,v16,ft0,v0.t | 6.86 | 7.03 | 14.30 | 28.57 | 57.14 | 113.54 | 8.66 | 14.55 | 27.26 | 51.74 | 100.19 | 13.68 | 24.00 | 48.00 | 95.99 | |||||||||||||
| vfrdiv.vf v8,v16,ft0 | 6.95 | 7.21 | 14.25 | 28.35 | 56.77 | 113.54 | 11.43 | 17.34 | 30.15 | 54.59 | 103.64 | 15.37 | 24.00 | 48.00 | 95.99 | |||||||||||||
| vfrdiv.vf v8,v16,ft0,v0.t | 7.03 | 6.93 | 14.23 | 27.86 | 56.02 | 112.79 | 8.56 | 14.77 | 27.30 | 51.89 | 99.29 | 13.68 | 24.00 | 48.00 | 95.99 | |||||||||||||
| vfmul.vv v8,v16,v24 | 1.00 | 1.00 | 1.00 | 2.00 | 4.00 | 8.00 | 1.00 | 1.00 | 2.00 | 4.00 | 8.00 | 1.00 | 2.00 | 4.00 | 8.00 | |||||||||||||
| vfmul.vv v8,v16,v24,v0.t | 1.00 | 1.00 | 1.00 | 2.00 | 4.00 | 8.00 | 1.00 | 1.00 | 2.00 | 4.00 | 8.00 | 1.00 | 2.00 | 4.00 | 8.00 | |||||||||||||
| vfmul.vf v8,v16,ft0 | 1.00 | 1.00 | 1.00 | 2.00 | 4.00 | 8.00 | 1.00 | 1.00 | 2.00 | 4.00 | 8.00 | 1.00 | 2.00 | 4.00 | 8.00 | |||||||||||||
| vfmul.vf v8,v16,ft0,v0.t | 1.00 | 1.00 | 1.00 | 2.00 | 4.00 | 8.00 | 1.00 | 1.00 | 2.00 | 4.00 | 8.00 | 1.00 | 2.00 | 4.00 | 8.00 | |||||||||||||
| vfrsub.vf v8,v16,ft0 | 1.00 | 1.00 | 1.00 | 2.00 | 4.00 | 8.00 | 1.00 | 1.00 | 2.00 | 4.00 | 8.00 | 1.00 | 2.00 | 4.00 | 8.00 | |||||||||||||
| vfrsub.vf v8,v16,ft0,v0.t | 1.00 | 1.00 | 1.00 | 2.00 | 4.00 | 8.00 | 1.00 | 1.00 | 2.00 | 4.00 | 8.00 | 1.00 | 2.00 | 4.00 | 8.00 | |||||||||||||
| vfmadd.vv v8,v16,v24 | 1.00 | 1.00 | 1.00 | 2.00 | 4.00 | 8.00 | 1.00 | 1.00 | 2.00 | 4.00 | 8.00 | 1.00 | 2.00 | 4.00 | 8.00 | |||||||||||||
| vfmadd.vv v8,v16,v24,v0.t | 1.00 | 1.00 | 1.00 | 2.00 | 4.00 | 8.00 | 1.00 | 1.00 | 2.00 | 4.00 | 8.00 | 1.00 | 2.00 | 4.00 | 8.00 | |||||||||||||
| vfmadd.vf v8,ft0,v16 | 1.00 | 1.00 | 1.00 | 2.00 | 4.00 | 8.00 | 1.00 | 1.00 | 2.00 | 4.00 | 8.00 | 1.00 | 2.00 | 4.00 | 8.00 | |||||||||||||
| vfmadd.vf v8,ft0,v16,v0.t | 1.00 | 1.00 | 1.00 | 2.00 | 4.00 | 8.00 | 1.00 | 1.00 | 2.00 | 4.00 | 8.00 | 1.00 | 2.00 | 4.00 | 8.00 | |||||||||||||
| vfmsub.vv v8,v16,v24 | 1.00 | 1.00 | 1.00 | 2.00 | 4.00 | 8.00 | 1.00 | 1.00 | 2.00 | 4.00 | 8.00 | 1.00 | 2.00 | 4.00 | 8.00 | |||||||||||||
| vfmsub.vv v8,v16,v24,v0.t | 1.00 | 1.00 | 1.00 | 2.00 | 4.00 | 8.00 | 1.00 | 1.00 | 2.00 | 4.00 | 8.00 | 1.00 | 2.00 | 4.00 | 8.00 | |||||||||||||
| vfmsub.vf v8,ft0,v16 | 1.00 | 1.00 | 1.00 | 2.00 | 4.00 | 8.00 | 1.00 | 1.00 | 2.00 | 4.00 | 8.00 | 1.00 | 2.00 | 4.00 | 8.00 | |||||||||||||
| vfmsub.vf v8,ft0,v16,v0.t | 1.00 | 1.00 | 1.00 | 2.00 | 4.00 | 8.00 | 1.00 | 1.00 | 2.00 | 4.00 | 8.00 | 1.00 | 2.00 | 4.00 | 8.00 | |||||||||||||
| vfmacc.vv v8,v16,v24 | 1.00 | 1.00 | 1.00 | 2.00 | 4.00 | 8.00 | 1.00 | 1.00 | 2.00 | 4.00 | 8.00 | 1.00 | 2.00 | 4.00 | 8.00 | |||||||||||||
| vfmacc.vv v8,v16,v24,v0.t | 1.00 | 1.00 | 1.00 | 2.00 | 4.00 | 8.00 | 1.00 | 1.00 | 2.00 | 4.00 | 8.00 | 1.00 | 2.00 | 4.00 | 8.00 | |||||||||||||
| vfmacc.vf v8,ft0,v16 | 1.00 | 1.00 | 1.00 | 2.00 | 4.00 | 8.00 | 1.00 | 1.00 | 2.00 | 4.00 | 8.00 | 1.00 | 2.00 | 4.00 | 8.00 | |||||||||||||
| vfmacc.vf v8,ft0,v16,v0.t | 1.00 | 1.00 | 1.00 | 2.00 | 4.00 | 8.00 | 1.00 | 1.00 | 2.00 | 4.00 | 8.00 | 1.00 | 2.00 | 4.00 | 8.00 | |||||||||||||
| vfmsac.vv v8,v16,v24 | 1.00 | 1.00 | 1.00 | 2.00 | 4.00 | 8.00 | 1.00 | 1.00 | 2.00 | 4.00 | 8.00 | 1.00 | 2.00 | 4.00 | 8.00 | |||||||||||||
| vfmsac.vv v8,v16,v24,v0.t | 1.00 | 1.00 | 1.00 | 2.00 | 4.00 | 8.00 | 1.00 | 1.00 | 2.00 | 4.00 | 8.00 | 1.00 | 2.00 | 4.00 | 8.00 | |||||||||||||
| vfmsac.vf v8,ft0,v16 | 1.00 | 1.00 | 1.00 | 2.00 | 4.00 | 8.00 | 1.00 | 1.00 | 2.00 | 4.00 | 8.00 | 1.00 | 2.00 | 4.00 | 8.00 | |||||||||||||
| vfmsac.vf v8,ft0,v16,v0.t | 1.00 | 1.00 | 1.00 | 2.00 | 4.00 | 8.00 | 1.00 | 1.00 | 2.00 | 4.00 | 8.00 | 1.00 | 2.00 | 4.00 | 8.00 | |||||||||||||
| vfnmsac.vv v8,v16,v24 | 1.00 | 1.00 | 1.00 | 2.00 | 5.00 | 1.00 | 1.00 | 2.00 | 5.00 | |||||||||||||||||||
| vfnmsac.vv v8,v16,v24,v0.t | 1.00 | 1.00 | 1.00 | 2.00 | 5.00 | 1.00 | 1.00 | 2.00 | 5.00 | |||||||||||||||||||
| vfnmsac.vf v8,ft0,v16 | 1.00 | 1.00 | 1.00 | 2.00 | 5.00 | 1.00 | 1.00 | 2.00 | 5.00 | |||||||||||||||||||
| vfnmsac.vf v8,ft0,v16,v0.t | 1.00 | 1.00 | 1.00 | 2.00 | 5.00 | 1.00 | 1.00 | 2.00 | 5.00 | |||||||||||||||||||
| vfnmacc.vv v8,v16,v24 | 1.00 | 1.00 | 1.00 | 2.00 | 5.00 | 1.00 | 1.00 | 2.00 | 5.00 | |||||||||||||||||||
| vfnmacc.vv v8,v16,v24,v0.t | 1.00 | 1.00 | 1.00 | 2.00 | 5.00 | 1.00 | 1.00 | 2.00 | 5.00 | |||||||||||||||||||
| vfnmacc.vf v8,ft0,v16 | 1.00 | 1.00 | 1.00 | 2.00 | 5.00 | 1.00 | 1.00 | 2.00 | 5.00 | |||||||||||||||||||
| vfnmacc.vf v8,ft0,v16,v0.t | 1.00 | 1.00 | 1.00 | 2.00 | 5.00 | 1.00 | 1.00 | 2.00 | 5.00 | |||||||||||||||||||
| vfnmsub.vv v8,v16,v24 | 1.00 | 1.00 | 1.00 | 2.00 | 5.00 | 1.00 | 1.00 | 2.00 | 5.00 | |||||||||||||||||||
| vfnmsub.vv v8,v16,v24,v0.t | 1.00 | 1.00 | 1.00 | 2.00 | 5.00 | 1.00 | 1.00 | 2.00 | 5.00 | |||||||||||||||||||
| vfnmsub.vf v8,ft0,v16 | 1.00 | 1.00 | 1.00 | 2.00 | 5.00 | 1.00 | 1.00 | 2.00 | 5.00 | |||||||||||||||||||
| vfnmsub.vf v8,ft0,v16,v0.t | 1.00 | 1.00 | 1.00 | 2.00 | 5.00 | 1.00 | 1.00 | 2.00 | 5.00 | |||||||||||||||||||
| vfnmadd.vv v8,v16,v24 | 1.00 | 1.00 | 1.00 | 2.00 | 5.00 | 1.00 | 1.00 | 2.00 | 5.00 | |||||||||||||||||||
| vfnmadd.vv v8,v16,v24,v0.t | 1.00 | 1.00 | 1.00 | 2.00 | 5.00 | 1.00 | 1.00 | 2.00 | 5.00 | |||||||||||||||||||
| vfnmadd.vf v8,ft0,v16 | 1.00 | 1.00 | 1.00 | 2.00 | 5.00 | 1.00 | 1.00 | 2.00 | 5.00 | |||||||||||||||||||
| vfnmadd.vf v8,ft0,v16,v0.t | 1.00 | 1.00 | 1.00 | 2.00 | 5.00 | 1.00 | 1.00 | 2.00 | 5.00 | |||||||||||||||||||
| vwredsumu.vs v8,v16,v24 | 1.00 | 1.00 | 1.00 | 1.00 | 2.00 | 5.50 | 19.00 | 1.00 | 1.00 | 1.00 | 2.00 | 5.50 | 19.00 | 1.00 | 1.00 | 2.00 | 5.50 | 19.00 | ||||||||||
| vwredsumu.vs v8,v16,v24,v0.t | 1.00 | 1.00 | 1.00 | 1.00 | 2.00 | 5.50 | 19.00 | 1.00 | 1.00 | 1.00 | 2.00 | 5.50 | 19.00 | 1.00 | 1.00 | 2.00 | 5.50 | 19.00 | ||||||||||
| vwredsum.vs v8,v16,v24 | 1.00 | 1.00 | 1.00 | 1.00 | 2.00 | 5.50 | 19.00 | 1.00 | 1.00 | 1.00 | 2.00 | 5.50 | 19.00 | 1.00 | 1.00 | 2.00 | 5.50 | 19.00 | ||||||||||
| vwredsum.vs v8,v16,v24,v0.t | 1.00 | 1.00 | 1.00 | 1.00 | 2.00 | 5.50 | 19.00 | 1.00 | 1.00 | 1.00 | 2.00 | 5.50 | 19.00 | 1.00 | 1.00 | 2.00 | 5.50 | 19.00 | ||||||||||
| vfwadd.vv v8,v16,v24 | 1.00 | 2.00 | 2.00 | 4.00 | 8.00 | 2.00 | 2.00 | 4.00 | 8.00 | |||||||||||||||||||
| vfwadd.vv v8,v16,v24,v0.t | 1.00 | 2.00 | 2.00 | 4.00 | 8.00 | 2.00 | 2.00 | 4.00 | 8.00 | |||||||||||||||||||
| vfwadd.vf v8,v16,ft0 | 1.00 | 2.00 | 2.00 | 4.00 | 8.00 | 2.00 | 2.00 | 4.00 | 8.00 | |||||||||||||||||||
| vfwadd.vf v8,v16,ft0,v0.t | 1.00 | 2.00 | 2.00 | 4.00 | 8.00 | 2.00 | 2.00 | 4.00 | 8.00 | |||||||||||||||||||
| vfwsub.vv v8,v16,v24 | 1.00 | 2.00 | 2.00 | 4.00 | 8.00 | 2.00 | 2.00 | 4.00 | 8.00 | |||||||||||||||||||
| vfwsub.vv v8,v16,v24,v0.t | 1.00 | 2.00 | 2.00 | 4.00 | 8.00 | 2.00 | 2.00 | 4.00 | 8.00 | |||||||||||||||||||
| vfwsub.vf v8,v16,ft0 | 1.00 | 2.00 | 2.00 | 4.00 | 8.00 | 2.00 | 2.00 | 4.00 | 8.00 | |||||||||||||||||||
| vfwsub.vf v8,v16,ft0,v0.t | 1.00 | 2.00 | 2.00 | 4.00 | 8.00 | 2.00 | 2.00 | 4.00 | 8.00 | |||||||||||||||||||
| vfwadd.wv v8,v16,v24 | 2.00 | 2.00 | 4.00 | 8.00 | 16.00 | 2.00 | 4.00 | 8.00 | 16.00 | |||||||||||||||||||
| vfwadd.wv v8,v16,v24,v0.t | 2.00 | 2.00 | 4.00 | 8.00 | 16.00 | 2.00 | 4.00 | 8.00 | 16.00 | |||||||||||||||||||
| vfwadd.wf v8,v16,ft0 | 2.00 | 2.00 | 4.00 | 8.00 | 16.00 | 2.00 | 4.00 | 8.00 | 16.00 | |||||||||||||||||||
| vfwadd.wf v8,v16,ft0,v0.t | 2.00 | 2.00 | 4.00 | 8.00 | 16.00 | 2.00 | 4.00 | 8.00 | 16.00 | |||||||||||||||||||
| vfwsub.wv v8,v16,v24 | 2.00 | 2.00 | 4.00 | 8.00 | 16.00 | 2.00 | 4.00 | 8.00 | 16.00 | |||||||||||||||||||
| vfwsub.wv v8,v16,v24,v0.t | 2.00 | 2.00 | 4.00 | 8.00 | 16.00 | 2.00 | 4.00 | 8.00 | 16.00 | |||||||||||||||||||
| vfwsub.wf v8,v16,ft0 | 2.00 | 2.00 | 4.00 | 8.00 | 16.00 | 2.00 | 4.00 | 8.00 | 16.00 | |||||||||||||||||||
| vfwsub.wf v8,v16,ft0,v0.t | 2.00 | 2.00 | 4.00 | 8.00 | 16.00 | 2.00 | 4.00 | 8.00 | 16.00 | |||||||||||||||||||
| vfwmul.vv v8,v16,v24 | 1.00 | 2.00 | 2.00 | 4.00 | 8.00 | 2.00 | 2.00 | 4.00 | 8.00 | |||||||||||||||||||
| vfwmul.vv v8,v16,v24,v0.t | 1.00 | 2.00 | 2.00 | 4.00 | 8.00 | 2.00 | 2.00 | 4.00 | 8.00 | |||||||||||||||||||
| vfwmul.vf v8,v16,ft0 | 1.00 | 2.00 | 2.00 | 4.00 | 8.00 | 2.00 | 2.00 | 4.00 | 8.00 | |||||||||||||||||||
| vfwmul.vf v8,v16,ft0,v0.t | 1.00 | 2.00 | 2.00 | 4.00 | 8.00 | 2.00 | 2.00 | 4.00 | 8.00 | |||||||||||||||||||
| vfwmacc.vv v8,v16,v24 | 1.00 | 2.00 | 2.00 | 4.00 | 8.00 | 2.00 | 2.00 | 4.00 | 8.00 | |||||||||||||||||||
| vfwmacc.vv v8,v16,v24,v0.t | 1.00 | 2.00 | 2.00 | 4.00 | 8.00 | 2.00 | 2.00 | 4.00 | 8.00 | |||||||||||||||||||
| vfwmacc.vf v8,ft0,v16 | 1.00 | 2.00 | 2.00 | 4.00 | 8.00 | 2.00 | 2.00 | 4.00 | 8.00 | |||||||||||||||||||
| vfwmacc.vf v8,ft0,v16,v0.t | 1.00 | 2.00 | 2.00 | 4.00 | 8.00 | 2.00 | 2.00 | 4.00 | 8.00 | |||||||||||||||||||
| vfwnmacc.vv v8,v16,v24 | 1.00 | 2.00 | 2.00 | 4.00 | 8.00 | 2.00 | 2.00 | 4.00 | 8.00 | |||||||||||||||||||
| vfwnmacc.vv v8,v16,v24,v0.t | 1.00 | 2.00 | 2.00 | 4.00 | 8.00 | 2.00 | 2.00 | 4.00 | 8.00 | |||||||||||||||||||
| vfwnmacc.vf v8,ft0,v16 | 1.00 | 2.00 | 2.00 | 4.00 | 8.00 | 2.00 | 2.00 | 4.00 | 8.00 | |||||||||||||||||||
| vfwnmacc.vf v8,ft0,v16,v0.t | 1.00 | 2.00 | 2.00 | 4.00 | 8.00 | 2.00 | 2.00 | 4.00 | 8.00 | |||||||||||||||||||
| vfwmsac.vv v8,v16,v24 | 1.00 | 2.00 | 2.00 | 4.00 | 8.00 | 2.00 | 2.00 | 4.00 | 8.00 | |||||||||||||||||||
| vfwmsac.vv v8,v16,v24,v0.t | 1.00 | 2.00 | 2.00 | 4.00 | 8.00 | 2.00 | 2.00 | 4.00 | 8.00 | |||||||||||||||||||
| vfwmsac.vf v8,ft0,v16 | 1.00 | 2.00 | 2.00 | 4.00 | 8.00 | 2.00 | 2.00 | 4.00 | 8.00 | |||||||||||||||||||
| vfwmsac.vf v8,ft0,v16,v0.t | 1.00 | 2.00 | 2.00 | 4.00 | 8.00 | 2.00 | 2.00 | 4.00 | 8.00 | |||||||||||||||||||
| vfwnmsac.vv v8,v16,v24 | 1.00 | 2.00 | 2.00 | 4.00 | 8.00 | 2.00 | 2.00 | 4.00 | 8.00 | |||||||||||||||||||
| vfwnmsac.vv v8,v16,v24,v0.t | 1.00 | 2.00 | 2.00 | 4.00 | 8.00 | 2.00 | 2.00 | 4.00 | 8.00 | |||||||||||||||||||
| vfwnmsac.vf v8,ft0,v16 | 1.00 | 2.00 | 2.00 | 4.00 | 8.00 | 2.00 | 2.00 | 4.00 | 8.00 | |||||||||||||||||||
| vfwnmsac.vf v8,ft0,v16,v0.t | 1.00 | 2.00 | 2.00 | 4.00 | 8.00 | 2.00 | 2.00 | 4.00 | 8.00 | |||||||||||||||||||
| vfwredosum.vs v8,v16,v24 | 10.00 | 26.00 | 31.00 | 62.99 | 127.96 | 511.34 | 10.00 | 15.00 | 31.00 | 65.99 | 256.83 | |||||||||||||||||
| vfwredosum.vs v8,v16,v24,v0.t | 10.00 | 26.00 | 31.00 | 63.00 | 127.95 | 511.34 | 10.00 | 15.00 | 31.00 | 65.99 | 256.83 | |||||||||||||||||
| vfwredusum.vs v8,v16,v24 | 10.00 | 26.00 | 31.00 | 62.99 | 127.96 | 511.34 | 10.00 | 15.00 | 31.00 | 65.99 | 256.83 | |||||||||||||||||
| vfwredusum.vs v8,v16,v24,v0.t | 10.00 | 26.00 | 31.00 | 62.99 | 127.96 | 511.34 | 10.00 | 15.00 | 31.00 | 65.99 | 256.83 | |||||||||||||||||
| vmv.s.x v8,t0 | 1.06 | 1.06 | 1.06 | 1.06 | 1.06 | 1.54 | 3.00 | 1.06 | 1.06 | 1.06 | 1.06 | 1.54 | 3.00 | 1.06 | 1.06 | 1.06 | 1.54 | 3.00 | 1.06 | 1.06 | 1.54 | 3.00 | ||||||
| vmv.x.s t0,v8 | 6.00 | 6.00 | 6.00 | 6.00 | 6.00 | 6.00 | 6.00 | 6.00 | 6.00 | 6.00 | 6.00 | 6.00 | 6.00 | 6.00 | 6.00 | 6.00 | 6.00 | 6.00 | 6.00 | 6.00 | 6.00 | 6.00 | ||||||
| vcpop.m t0,v8 | 6.00 | 6.00 | 6.00 | 6.00 | 6.00 | 6.00 | 7.00 | 6.00 | 6.00 | 6.00 | 6.00 | 6.00 | 6.00 | 6.00 | 6.00 | 6.00 | 6.00 | 6.00 | 6.00 | 6.00 | 6.00 | 6.00 | ||||||
| vcpop.m t0,v8,v0.t | 6.00 | 6.00 | 6.00 | 6.00 | 6.00 | 6.00 | 7.00 | 6.00 | 6.00 | 6.00 | 6.00 | 6.00 | 6.00 | 6.00 | 6.00 | 6.00 | 6.00 | 6.00 | 6.00 | 6.00 | 6.00 | 6.00 | ||||||
| vfirst.m t0,v8 | 6.00 | 6.00 | 6.00 | 6.00 | 6.00 | 6.00 | 7.00 | 6.00 | 6.00 | 6.00 | 6.00 | 6.00 | 6.00 | 6.00 | 6.00 | 6.00 | 6.00 | 6.00 | 6.00 | 6.00 | 6.00 | 6.00 | ||||||
| vfirst.m t0,v8,v0.t | 6.00 | 6.00 | 6.00 | 6.00 | 6.00 | 6.00 | 7.00 | 6.00 | 6.00 | 6.00 | 6.00 | 6.00 | 6.00 | 6.00 | 6.00 | 6.00 | 6.00 | 6.00 | 6.00 | 6.00 | 6.00 | 6.00 | ||||||
| vzext.vf2 v8,v16 | 1.00 | 1.00 | 2.00 | 4.00 | 8.00 | 16.00 | 1.00 | 2.00 | 4.00 | 8.00 | 16.00 | 2.00 | 4.00 | 8.00 | 16.00 | |||||||||||||
| vzext.vf2 v8,v16,v0.t | 1.00 | 1.00 | 2.00 | 4.00 | 8.00 | 16.00 | 1.00 | 2.00 | 4.00 | 8.00 | 16.00 | 2.00 | 4.00 | 8.00 | 16.00 | |||||||||||||
| vsext.vf2 v8,v16 | 1.00 | 1.00 | 2.00 | 4.00 | 8.00 | 16.00 | 1.00 | 2.00 | 4.00 | 8.00 | 16.00 | 2.00 | 4.00 | 8.00 | 16.00 | |||||||||||||
| vsext.vf2 v8,v16,v0.t | 1.00 | 1.00 | 2.00 | 4.00 | 8.00 | 16.00 | 1.00 | 2.00 | 4.00 | 8.00 | 16.00 | 2.00 | 4.00 | 8.00 | 16.00 | |||||||||||||
| vzext.vf4 v8,v16 | 1.00 | 2.00 | 4.00 | 8.00 | 16.00 | 2.00 | 4.00 | 8.00 | 16.00 | |||||||||||||||||||
| vzext.vf4 v8,v16,v0.t | 1.00 | 2.00 | 4.00 | 8.00 | 16.00 | 2.00 | 4.00 | 8.00 | 16.00 | |||||||||||||||||||
| vsext.vf4 v8,v16 | 1.00 | 2.00 | 4.00 | 8.00 | 16.00 | 2.00 | 4.00 | 8.00 | 16.00 | |||||||||||||||||||
| vsext.vf4 v8,v16,v0.t | 1.00 | 2.00 | 4.00 | 8.00 | 16.00 | 2.00 | 4.00 | 8.00 | 16.00 | |||||||||||||||||||
| vzext.vf8 v8,v16 | 2.00 | 4.00 | 8.00 | 16.00 | ||||||||||||||||||||||||
| vzext.vf8 v8,v16,v0.t | 2.00 | 4.00 | 8.00 | 16.00 | ||||||||||||||||||||||||
| vsext.vf8 v8,v16 | 2.00 | 4.00 | 8.00 | 16.00 | ||||||||||||||||||||||||
| vsext.vf8 v8,v16,v0.t | 2.00 | 4.00 | 8.00 | 16.00 | ||||||||||||||||||||||||
| vfmv.f.s ft0,v8 | 6.00 | 6.00 | 6.00 | 6.00 | 6.00 | 6.00 | 6.00 | 6.00 | 6.00 | 6.00 | 6.00 | 6.00 | 6.00 | 6.00 | 6.00 | |||||||||||||
| vfmv.s.f v8,ft0 | 1.00 | 1.00 | 1.00 | 1.00 | 1.50 | 3.00 | 1.00 | 1.00 | 1.00 | 1.50 | 3.00 | 1.00 | 1.00 | 1.50 | 3.00 | |||||||||||||
| vfcvt.xu.f.v v8,v16 | 1.00 | 1.00 | 2.00 | 4.00 | 8.00 | 16.00 | 1.00 | 2.00 | 4.00 | 8.00 | 16.00 | 2.00 | 4.00 | 8.00 | 16.00 | |||||||||||||
| vfcvt.xu.f.v v8,v16,v0.t | 1.00 | 1.00 | 2.00 | 4.00 | 8.00 | 16.00 | 1.00 | 2.00 | 4.00 | 8.00 | 16.00 | 2.00 | 4.00 | 8.00 | 16.00 | |||||||||||||
| vfcvt.x.f.v v8,v16 | 1.00 | 1.00 | 2.00 | 4.00 | 8.00 | 16.00 | 1.00 | 2.00 | 4.00 | 8.00 | 16.00 | 2.00 | 4.00 | 8.00 | 16.00 | |||||||||||||
| vfcvt.x.f.v v8,v16,v0.t | 1.00 | 1.00 | 2.00 | 4.00 | 8.00 | 16.00 | 1.00 | 2.00 | 4.00 | 8.00 | 16.00 | 2.00 | 4.00 | 8.00 | 16.00 | |||||||||||||
| vfcvt.f.xu.v v8,v16 | 1.00 | 1.00 | 2.00 | 4.00 | 8.00 | 16.00 | 1.00 | 2.00 | 4.00 | 8.00 | 16.00 | 2.00 | 4.00 | 8.00 | 16.00 | |||||||||||||
| vfcvt.f.xu.v v8,v16,v0.t | 1.00 | 1.00 | 2.00 | 4.00 | 8.00 | 16.00 | 1.00 | 2.00 | 4.00 | 8.00 | 16.00 | 2.00 | 4.00 | 8.00 | 16.00 | |||||||||||||
| vfcvt.f.x.v v8,v16 | 1.00 | 1.00 | 2.00 | 4.00 | 8.00 | 16.00 | 1.00 | 2.00 | 4.00 | 8.00 | 16.00 | 2.00 | 4.00 | 8.00 | 16.00 | |||||||||||||
| vfcvt.f.x.v v8,v16,v0.t | 1.00 | 1.00 | 2.00 | 4.00 | 8.00 | 16.00 | 1.00 | 2.00 | 4.00 | 8.00 | 16.00 | 2.00 | 4.00 | 8.00 | 16.00 | |||||||||||||
| vfcvt.rtz.x.f.v v8,v16 | 1.00 | 1.00 | 2.00 | 4.00 | 8.00 | 16.00 | 1.00 | 2.00 | 4.00 | 8.00 | 16.00 | 2.00 | 4.00 | 8.00 | 16.00 | |||||||||||||
| vfcvt.rtz.x.f.v v8,v16,v0.t | 1.00 | 1.00 | 2.00 | 4.00 | 8.00 | 16.00 | 1.00 | 2.00 | 4.00 | 8.00 | 16.00 | 2.00 | 4.00 | 8.00 | 16.00 | |||||||||||||
| vfcvt.rtz.xu.f.v v8,v16 | 1.00 | 1.00 | 2.00 | 4.00 | 8.00 | 16.00 | 1.00 | 2.00 | 4.00 | 8.00 | 16.00 | 2.00 | 4.00 | 8.00 | 16.00 | |||||||||||||
| vfcvt.rtz.xu.f.v v8,v16,v0.t | 1.00 | 1.00 | 2.00 | 4.00 | 8.00 | 16.00 | 1.00 | 2.00 | 4.00 | 8.00 | 16.00 | 2.00 | 4.00 | 8.00 | 16.00 | |||||||||||||
| vfwcvt.xu.f.v v8,v16 | 1.00 | 2.00 | 4.00 | 8.00 | 16.00 | 2.00 | 4.00 | 8.00 | 16.00 | |||||||||||||||||||
| vfwcvt.xu.f.v v8,v16,v0.t | 1.00 | 2.00 | 4.00 | 8.00 | 16.00 | 2.00 | 4.00 | 8.00 | 16.00 | |||||||||||||||||||
| vfwcvt.x.f.v v8,v16 | 1.00 | 2.00 | 4.00 | 8.00 | 16.00 | 2.00 | 4.00 | 8.00 | 16.00 | |||||||||||||||||||
| vfwcvt.x.f.v v8,v16,v0.t | 1.00 | 2.00 | 4.00 | 8.00 | 16.00 | 2.00 | 4.00 | 8.00 | 16.00 | |||||||||||||||||||
| vfwcvt.f.xu.v v8,v16 | 1.00 | 2.00 | 4.00 | 8.00 | 16.00 | 2.00 | 4.00 | 8.00 | 16.00 | |||||||||||||||||||
| vfwcvt.f.xu.v v8,v16,v0.t | 1.00 | 2.00 | 4.00 | 8.00 | 16.00 | 2.00 | 4.00 | 8.00 | 16.00 | |||||||||||||||||||
| vfwcvt.f.x.v v8,v16 | 1.00 | 2.00 | 4.00 | 8.00 | 16.00 | 2.00 | 4.00 | 8.00 | 16.00 | |||||||||||||||||||
| vfwcvt.f.x.v v8,v16,v0.t | 1.00 | 2.00 | 4.00 | 8.00 | 16.00 | 2.00 | 4.00 | 8.00 | 16.00 | |||||||||||||||||||
| vfwcvt.f.f.v v8,v16 | 1.00 | 2.00 | 4.00 | 8.00 | 16.00 | 2.00 | 4.00 | 8.00 | 16.00 | |||||||||||||||||||
| vfwcvt.f.f.v v8,v16,v0.t | 1.00 | 2.00 | 4.00 | 8.00 | 16.00 | 2.00 | 4.00 | 8.00 | 16.00 | |||||||||||||||||||
| vfwcvt.rtz.xu.f.v v8,v16 | 1.00 | 2.00 | 4.00 | 8.00 | 16.00 | 2.00 | 4.00 | 8.00 | 16.00 | |||||||||||||||||||
| vfwcvt.rtz.xu.f.v v8,v16,v0.t | 1.00 | 2.00 | 4.00 | 8.00 | 16.00 | 2.00 | 4.00 | 8.00 | 16.00 | |||||||||||||||||||
| vfwcvt.rtz.x.f.v v8,v16 | 1.00 | 2.00 | 4.00 | 8.00 | 16.00 | 2.00 | 4.00 | 8.00 | 16.00 | |||||||||||||||||||
| vfwcvt.rtz.x.f.v v8,v16,v0.t | 1.00 | 2.00 | 4.00 | 8.00 | 16.00 | 2.00 | 4.00 | 8.00 | 16.00 | |||||||||||||||||||
| vfncvt.xu.f.w v8,v16 | 1.00 | 2.00 | 4.00 | 8.00 | 16.00 | 2.00 | 4.00 | 8.00 | 16.00 | |||||||||||||||||||
| vfncvt.xu.f.w v8,v16,v0.t | 1.00 | 2.00 | 4.00 | 8.00 | 16.00 | 2.00 | 4.00 | 8.00 | 16.00 | |||||||||||||||||||
| vfncvt.x.f.w v8,v16 | 1.00 | 2.00 | 4.00 | 8.00 | 16.00 | 2.00 | 4.00 | 8.00 | 16.00 | |||||||||||||||||||
| vfncvt.x.f.w v8,v16,v0.t | 1.00 | 2.00 | 4.00 | 8.00 | 16.00 | 2.00 | 4.00 | 8.00 | 16.00 | |||||||||||||||||||
| vfncvt.f.xu.w v8,v16 | 1.00 | 2.00 | 4.00 | 8.00 | 16.00 | 2.00 | 4.00 | 8.00 | 16.00 | |||||||||||||||||||
| vfncvt.f.xu.w v8,v16,v0.t | 1.00 | 2.00 | 4.00 | 8.00 | 16.00 | 2.00 | 4.00 | 8.00 | 16.00 | |||||||||||||||||||
| vfncvt.f.x.w v8,v16 | 1.00 | 2.00 | 4.00 | 8.00 | 16.00 | 2.00 | 4.00 | 8.00 | 16.00 | |||||||||||||||||||
| vfncvt.f.x.w v8,v16,v0.t | 1.00 | 2.00 | 4.00 | 8.00 | 16.00 | 2.00 | 4.00 | 8.00 | 16.00 | |||||||||||||||||||
| vfncvt.f.f.w v8,v16 | 1.00 | 2.00 | 4.00 | 8.00 | 16.00 | 2.00 | 4.00 | 8.00 | 16.00 | |||||||||||||||||||
| vfncvt.f.f.w v8,v16,v0.t | 1.00 | 2.00 | 4.00 | 8.00 | 16.00 | 2.00 | 4.00 | 8.00 | 16.00 | |||||||||||||||||||
| vfncvt.rtz.x.f.w v8,v16 | 1.00 | 2.00 | 4.00 | 8.00 | 16.00 | 2.00 | 4.00 | 8.00 | 16.00 | |||||||||||||||||||
| vfncvt.rtz.x.f.w v8,v16,v0.t | 1.00 | 2.00 | 4.00 | 8.00 | 16.00 | 2.00 | 4.00 | 8.00 | 16.00 | |||||||||||||||||||
| vfncvt.rtz.xu.f.w v8,v16 | 1.00 | 2.00 | 4.00 | 8.00 | 16.00 | 2.00 | 4.00 | 8.00 | 16.00 | |||||||||||||||||||
| vfncvt.rtz.xu.f.w v8,v16,v0.t | 1.00 | 2.00 | 4.00 | 8.00 | 16.00 | 2.00 | 4.00 | 8.00 | 16.00 | |||||||||||||||||||
| vfncvt.rod.f.f.w v8,v16 | 1.00 | 2.00 | 4.00 | 8.00 | 16.00 | 2.00 | 4.00 | 8.00 | 16.00 | |||||||||||||||||||
| vfncvt.rod.f.f.w v8,v16,v0.t | 1.00 | 2.00 | 4.00 | 8.00 | 16.00 | 2.00 | 4.00 | 8.00 | 16.00 | |||||||||||||||||||
| vfsqrt.v v8,v16 | 9.91 | 9.99 | 17.32 | 30.74 | 58.93 | 116.37 | 11.58 | 17.81 | 29.06 | 54.21 | 104.06 | 24.18 | 38.84 | 62.23 | 113.51 | |||||||||||||
| vfsqrt.v v8,v16,v0.t | 8.21 | 8.43 | 15.41 | 29.96 | 58.71 | 115.91 | 8.40 | 14.10 | 26.62 | 50.91 | 99.88 | 17.23 | 29.43 | 53.47 | 96.13 | |||||||||||||
| vfrsqrt7.v v8,v16 | 1.00 | 1.00 | 2.00 | 4.00 | 8.00 | 16.00 | 1.00 | 2.00 | 4.00 | 8.00 | 16.00 | 2.00 | 4.00 | 8.00 | 16.00 | |||||||||||||
| vfrsqrt7.v v8,v16,v0.t | 1.00 | 1.00 | 2.00 | 4.00 | 8.00 | 16.00 | 1.00 | 2.00 | 4.00 | 8.00 | 16.00 | 2.00 | 4.00 | 8.00 | 16.00 | |||||||||||||
| vfrec7.v v8,v16 | 1.00 | 1.00 | 2.00 | 4.00 | 8.00 | 16.00 | 1.00 | 2.00 | 4.00 | 8.00 | 16.00 | 2.00 | 4.00 | 8.00 | 16.00 | |||||||||||||
| vfrec7.v v8,v16,v0.t | 1.00 | 1.00 | 2.00 | 4.00 | 8.00 | 16.00 | 1.00 | 2.00 | 4.00 | 8.00 | 16.00 | 2.00 | 4.00 | 8.00 | 16.00 | |||||||||||||
| vfclass.v v8,v16 | 1.00 | 1.00 | 2.00 | 4.00 | 8.00 | 16.00 | 1.00 | 2.00 | 4.00 | 8.00 | 16.00 | 2.00 | 4.00 | 8.00 | 16.00 | |||||||||||||
| vfclass.v v8,v16,v0.t | 1.00 | 1.00 | 2.00 | 4.00 | 8.00 | 16.00 | 1.00 | 2.00 | 4.00 | 8.00 | 16.00 | 2.00 | 4.00 | 8.00 | 16.00 | |||||||||||||
| vmsbf.m v8,v16 | 1.00 | 1.00 | 1.00 | 1.00 | 1.00 | 1.50 | 3.00 | 1.00 | 1.00 | 1.00 | 1.00 | 1.50 | 3.00 | 1.00 | 1.00 | 1.00 | 1.50 | 3.00 | 1.00 | 1.00 | 1.50 | 3.00 | ||||||
| vmsbf.m v8,v16,v0.t | 1.00 | 1.00 | 1.00 | 1.00 | 1.00 | 1.50 | 3.00 | 1.00 | 1.00 | 1.00 | 1.00 | 1.50 | 3.00 | 1.00 | 1.00 | 1.00 | 1.50 | 3.00 | 1.00 | 1.00 | 1.50 | 3.00 | ||||||
| vmsof.m v8,v16 | 1.00 | 1.00 | 1.00 | 1.00 | 1.00 | 1.50 | 3.00 | 1.00 | 1.00 | 1.00 | 1.00 | 1.50 | 3.00 | 1.00 | 1.00 | 1.00 | 1.50 | 3.00 | 1.00 | 1.00 | 1.50 | 3.00 | ||||||
| vmsof.m v8,v16,v0.t | 1.00 | 1.00 | 1.00 | 1.00 | 1.00 | 1.50 | 3.00 | 1.00 | 1.00 | 1.00 | 1.00 | 1.50 | 3.00 | 1.00 | 1.00 | 1.00 | 1.50 | 3.00 | 1.00 | 1.00 | 1.50 | 3.00 | ||||||
| vmsif.m v8,v16 | 1.00 | 1.00 | 1.00 | 1.00 | 1.00 | 1.50 | 3.00 | 1.00 | 1.00 | 1.00 | 1.00 | 1.50 | 3.00 | 1.00 | 1.00 | 1.00 | 1.50 | 3.00 | 1.00 | 1.00 | 1.50 | 3.00 | ||||||
| vmsif.m v8,v16,v0.t | 1.00 | 1.00 | 1.00 | 1.00 | 1.00 | 1.50 | 3.00 | 1.00 | 1.00 | 1.00 | 1.00 | 1.50 | 3.00 | 1.00 | 1.00 | 1.00 | 1.50 | 3.00 | 1.00 | 1.00 | 1.50 | 3.00 | ||||||
| viota.m v8,v16 | 1.00 | 1.00 | 1.00 | 2.00 | 4.00 | 8.00 | 16.00 | 1.00 | 1.00 | 2.00 | 4.00 | 8.00 | 16.00 | 1.00 | 2.00 | 4.00 | 8.00 | 16.00 | 2.00 | 4.00 | 8.00 | 16.00 | ||||||
| viota.m v8,v16,v0.t | 1.00 | 1.00 | 1.00 | 2.00 | 4.00 | 8.00 | 16.00 | 1.00 | 1.00 | 2.00 | 4.00 | 8.00 | 16.00 | 1.00 | 2.00 | 4.00 | 8.00 | 16.00 | 2.00 | 4.00 | 8.00 | 16.00 | ||||||
| vid.v v8 | 1.00 | 1.00 | 1.00 | 2.00 | 4.00 | 8.00 | 16.00 | 1.00 | 1.00 | 2.00 | 4.00 | 8.00 | 16.00 | 1.00 | 2.00 | 4.00 | 8.00 | 16.00 | 2.00 | 4.00 | 8.00 | 16.00 | ||||||
| vid.v v8,v0.t | 1.00 | 1.00 | 1.00 | 2.00 | 4.00 | 8.00 | 16.00 | 1.00 | 1.00 | 2.00 | 4.00 | 8.00 | 16.00 | 1.00 | 2.00 | 4.00 | 8.00 | 16.00 | 2.00 | 4.00 | 8.00 | 16.00 | ||||||
| vle8.v v8,(t0) | 1.22 | 1.20 | 1.40 | 1.37 | 2.55 | 5.93 | 12.60 | 1.25 | 1.25 | 1.22 | 1.33 | 2.43 | 6.03 | 1.37 | 1.25 | 1.17 | 2.00 | 4.00 | 1.32 | 1.32 | 2.00 | 4.00 | ||||||
| vle8.v v8,(t0),v0.t | 1.22 | 1.22 | 1.20 | 1.37 | 2.58 | 5.88 | 12.20 | 1.27 | 1.30 | 1.25 | 1.45 | 2.73 | 5.97 | 1.40 | 1.32 | 1.25 | 2.00 | 4.00 | 1.20 | 1.22 | 2.00 | 4.00 | ||||||
| vle16.v v8,(t0) | 1.25 | 1.27 | 1.48 | 1.25 | 1.35 | 1.41 | 2.55 | 5.89 | 12.45 | 1.17 | 1.30 | 1.37 | 2.58 | 6.05 | 1.10 | 1.30 | 2.00 | 4.00 | ||||||||||
| vle16.v v8,(t0),v0.t | 1.42 | 1.10 | 1.30 | 1.15 | 1.40 | 1.37 | 2.43 | 5.91 | 12.45 | 1.07 | 1.20 | 1.30 | 2.40 | 5.92 | 1.25 | 1.30 | 2.00 | 4.00 | ||||||||||
| vle32.v v8,(t0) | 1.17 | 1.18 | 1.25 | 1.48 | 1.25 | 1.30 | 2.66 | 5.92 | 12.30 | 1.05 | 1.33 | 2.85 | 6.09 | |||||||||||||||
| vle32.v v8,(t0),v0.t | 1.22 | 1.30 | 1.37 | 1.45 | 1.35 | 1.48 | 2.58 | 5.94 | 12.55 | 1.27 | 1.37 | 2.62 | 6.03 | |||||||||||||||
| vle64.v v8,(t0) | 1.11 | 1.22 | 1.18 | 1.26 | 2.33 | 5.95 | 12.40 | |||||||||||||||||||||
| vle64.v v8,(t0),v0.t | 1.30 | 1.37 | 1.22 | 1.03 | 2.30 | 5.94 | 12.20 | |||||||||||||||||||||
| vse8.v v8,(t0) | 1.17 | 1.32 | 1.50 | 2.40 | 4.55 | 11.28 | 16.87 | 1.20 | 1.10 | 1.65 | 2.60 | 4.35 | 9.00 | 1.22 | 1.62 | 1.35 | 2.60 | 4.55 | 1.30 | 1.40 | 1.50 | 2.40 | ||||||
| vse8.v v8,(t0),v0.t | 1.25 | 1.50 | 1.55 | 2.35 | 4.35 | 9.65 | 16.84 | 1.47 | 1.35 | 1.40 | 2.25 | 4.60 | 9.70 | 1.30 | 1.57 | 1.60 | 2.70 | 4.45 | 1.35 | 1.50 | 1.55 | 2.55 | ||||||
| vse16.v v8,(t0) | 1.07 | 1.50 | 2.80 | 1.32 | 1.70 | 2.60 | 4.45 | 9.37 | 16.65 | 1.35 | 1.55 | 2.85 | 4.25 | 9.07 | 1.25 | 1.45 | 2.50 | 4.45 | ||||||||||
| vse16.v v8,(t0),v0.t | 1.22 | 1.80 | 2.30 | 1.52 | 1.35 | 2.37 | 4.60 | 10.15 | 17.06 | 1.17 | 1.60 | 2.85 | 5.20 | 9.62 | 1.30 | 1.45 | 2.30 | 5.42 | ||||||||||
| vse32.v v8,(t0) | 1.45 | 2.40 | 1.40 | 2.60 | 1.25 | 2.45 | 4.30 | 9.63 | 16.82 | 1.50 | 2.30 | 4.47 | 9.17 | |||||||||||||||
| vse32.v v8,(t0),v0.t | 1.50 | 2.55 | 1.50 | 2.85 | 1.40 | 2.45 | 4.42 | 9.52 | 16.55 | 1.95 | 2.50 | 5.75 | 9.35 | |||||||||||||||
| vse64.v v8,(t0) | 2.40 | 3.00 | 2.19 | 2.45 | 4.40 | 9.46 | 16.35 | |||||||||||||||||||||
| vse64.v v8,(t0),v0.t | 2.30 | 2.25 | 2.15 | 2.45 | 4.42 | 9.21 | 16.92 | |||||||||||||||||||||
| vle8ff.v v8,(t0) | 1.17 | 1.27 | 1.15 | 1.37 | 2.66 | 5.91 | 12.45 | 1.27 | 1.17 | 1.17 | 1.37 | 2.73 | 6.01 | 1.32 | 1.07 | 1.22 | 2.00 | 4.00 | 1.32 | 1.20 | 2.00 | 4.00 | ||||||
| vle8ff.v v8,(t0),v0.t | 1.30 | 1.25 | 1.32 | 1.41 | 2.62 | 5.87 | 12.45 | 1.15 | 1.10 | 1.37 | 1.41 | 2.77 | 5.92 | 1.10 | 1.17 | 1.27 | 2.00 | 4.00 | 1.22 | 1.27 | 2.00 | 4.00 | ||||||
| vle16ff.v v8,(t0) | 1.37 | 1.27 | 1.26 | 1.22 | 1.30 | 1.45 | 2.55 | 5.89 | 12.20 | 1.30 | 1.30 | 1.52 | 2.51 | 6.09 | 1.17 | 1.20 | 2.00 | 4.00 | ||||||||||
| vle16ff.v v8,(t0),v0.t | 1.25 | 1.32 | 1.15 | 1.15 | 1.25 | 1.56 | 2.55 | 5.95 | 12.45 | 1.32 | 1.32 | 1.52 | 2.70 | 5.88 | 1.15 | 1.25 | 2.00 | 4.00 | ||||||||||
| vle32ff.v v8,(t0) | 1.20 | 1.37 | 1.27 | 1.41 | 1.30 | 1.41 | 2.40 | 5.88 | 12.25 | 1.32 | 1.37 | 2.62 | 5.95 | |||||||||||||||
| vle32ff.v v8,(t0),v0.t | 1.37 | 1.22 | 1.30 | 1.52 | 1.17 | 1.41 | 2.66 | 5.89 | 12.25 | 1.17 | 1.63 | 2.66 | 5.90 | |||||||||||||||
| vle64ff.v v8,(t0) | 1.26 | 1.37 | 1.37 | 1.11 | 2.22 | 5.95 | 12.30 | |||||||||||||||||||||
| vle64ff.v v8,(t0),v0.t | 1.22 | 1.26 | 1.15 | 1.15 | 2.22 | 5.90 | 12.20 | |||||||||||||||||||||
| vlm.v v8,(t0) | 1.22 | 1.40 | 1.27 | 1.20 | 1.22 | 2.00 | 4.00 | 1.22 | 1.32 | 1.10 | 1.30 | 2.00 | 4.00 | 1.27 | 1.22 | 1.20 | 2.00 | 4.00 | 1.25 | 1.35 | 2.00 | 4.00 | ||||||
| vsm.v v8,(t0) | 1.17 | 1.32 | 1.25 | 1.25 | 1.50 | 1.35 | 3.25 | 1.15 | 1.30 | 1.32 | 1.27 | 1.40 | 1.50 | 1.20 | 1.22 | 1.17 | 1.12 | 1.10 | 1.25 | 1.15 | 1.27 | 1.32 | ||||||
| vlse8.v v8,(t2),t3 | 3.00 | 5.00 | 9.00 | 21.15 | 50.01 | 114.01 | 242.01 | 3.00 | 5.00 | 9.00 | 21.15 | 50.01 | 114.01 | 3.00 | 5.00 | 9.00 | 21.22 | 50.01 | 3.00 | 5.00 | 9.00 | 21.27 | ||||||
| vlse8.v v8,(t2),t3,v0.t | 3.00 | 5.00 | 9.00 | 21.02 | 50.01 | 114.01 | 242.01 | 3.00 | 5.00 | 9.00 | 21.22 | 50.01 | 114.01 | 3.00 | 5.00 | 9.00 | 21.02 | 50.01 | 3.00 | 5.00 | 9.00 | 21.22 | ||||||
| vlse8.v v8,(t2),x0 | 3.00 | 5.00 | 9.00 | 17.07 | 50.01 | 114.01 | 242.01 | 3.00 | 5.00 | 9.00 | 17.07 | 50.01 | 114.01 | 3.00 | 5.00 | 9.00 | 17.07 | 50.01 | 3.00 | 5.00 | 9.00 | 17.07 | ||||||
| vlse8.v v8,(t2),x0,v0.t | 3.00 | 5.00 | 9.00 | 17.07 | 50.01 | 114.01 | 242.01 | 3.00 | 5.00 | 9.00 | 17.07 | 50.01 | 114.01 | 3.00 | 5.00 | 9.00 | 17.07 | 50.01 | 3.00 | 5.00 | 9.00 | 17.07 | ||||||
| vlse8.v v8,(t2),t1/*-1*/ | 3.00 | 5.00 | 9.00 | 23.06 | 48.03 | 114.01 | 242.01 | 3.00 | 5.00 | 9.00 | 22.28 | 48.06 | 114.01 | 3.00 | 5.00 | 9.00 | 23.19 | 48.02 | 3.00 | 5.00 | 9.00 | 22.76 | ||||||
| vlse8.v v8,(t2),t1/*-1*/,v0.t | 3.00 | 5.00 | 9.00 | 23.30 | 48.05 | 114.01 | 242.01 | 3.00 | 5.00 | 9.00 | 22.81 | 48.02 | 114.01 | 3.00 | 5.00 | 9.00 | 22.80 | 48.04 | 3.00 | 5.00 | 9.00 | 22.05 | ||||||
| vlse16.v v8,(t2),t3 | 3.00 | 5.00 | 9.00 | 3.00 | 5.00 | 9.00 | 21.77 | 50.01 | 114.01 | 3.00 | 5.00 | 9.00 | 21.65 | 50.01 | 3.00 | 5.00 | 9.00 | 21.62 | ||||||||||
| vlse16.v v8,(t2),t3,v0.t | 3.00 | 5.00 | 9.00 | 3.00 | 5.00 | 9.00 | 21.75 | 50.01 | 114.01 | 3.00 | 5.00 | 9.00 | 21.95 | 50.01 | 3.00 | 5.00 | 9.00 | 21.90 | ||||||||||
| vlse16.v v8,(t2),x0 | 3.00 | 5.00 | 9.00 | 3.00 | 5.00 | 9.00 | 17.07 | 50.01 | 114.01 | 3.00 | 5.00 | 9.00 | 17.07 | 50.01 | 3.00 | 5.00 | 9.00 | 17.07 | ||||||||||
| vlse16.v v8,(t2),x0,v0.t | 3.00 | 5.00 | 9.00 | 3.00 | 5.00 | 9.00 | 17.07 | 50.01 | 114.01 | 3.00 | 5.00 | 9.00 | 17.07 | 50.01 | 3.00 | 5.00 | 9.00 | 17.07 | ||||||||||
| vlse16.v v8,(t2),t1/*-1*/ | 3.00 | 5.00 | 9.00 | 3.00 | 5.00 | 9.00 | 24.00 | 50.01 | 114.01 | 3.00 | 5.00 | 9.00 | 24.00 | 50.01 | 3.00 | 5.00 | 9.00 | 24.00 | ||||||||||
| vlse16.v v8,(t2),t1/*-1*/,v0.t | 3.00 | 5.00 | 9.00 | 3.00 | 5.00 | 9.00 | 24.00 | 50.01 | 114.01 | 3.00 | 5.00 | 9.00 | 24.00 | 50.01 | 3.00 | 5.00 | 9.00 | 24.00 | ||||||||||
| vlse32.v v8,(t2),t3 | 3.00 | 5.00 | 3.00 | 5.00 | 3.00 | 5.00 | 9.00 | 20.00 | 50.01 | 3.00 | 5.00 | 9.00 | 20.00 | |||||||||||||||
| vlse32.v v8,(t2),t3,v0.t | 3.00 | 5.00 | 3.00 | 5.00 | 3.00 | 5.00 | 9.00 | 20.00 | 50.01 | 3.00 | 5.00 | 9.00 | 20.00 | |||||||||||||||
| vlse32.v v8,(t2),x0 | 3.00 | 5.00 | 3.00 | 5.00 | 3.00 | 5.00 | 9.00 | 17.07 | 50.01 | 3.00 | 5.00 | 9.00 | 17.07 | |||||||||||||||
| vlse32.v v8,(t2),x0,v0.t | 3.00 | 5.00 | 3.00 | 5.00 | 3.00 | 5.00 | 9.00 | 17.07 | 50.01 | 3.00 | 5.00 | 9.00 | 17.07 | |||||||||||||||
| vlse32.v v8,(t2),t1/*-1*/ | 3.00 | 5.00 | 3.00 | 5.00 | 3.00 | 5.00 | 9.00 | 20.00 | 50.01 | 3.00 | 5.00 | 9.00 | 20.00 | |||||||||||||||
| vlse32.v v8,(t2),t1/*-1*/,v0.t | 3.00 | 5.00 | 3.00 | 5.00 | 3.00 | 5.00 | 9.00 | 20.00 | 50.01 | 3.00 | 5.00 | 9.00 | 20.00 | |||||||||||||||
| vlse64.v v8,(t2),t3 | 3.00 | 3.00 | 3.00 | 3.00 | 5.00 | 10.13 | 24.00 | |||||||||||||||||||||
| vlse64.v v8,(t2),t3,v0.t | 3.00 | 3.00 | 3.00 | 3.00 | 5.00 | 10.12 | 24.00 | |||||||||||||||||||||
| vlse64.v v8,(t2),x0 | 3.00 | 3.00 | 3.00 | 3.00 | 5.00 | 9.00 | 22.00 | |||||||||||||||||||||
| vlse64.v v8,(t2),x0,v0.t | 3.00 | 3.00 | 3.00 | 3.00 | 5.00 | 9.00 | 22.00 | |||||||||||||||||||||
| vlse64.v v8,(t2),t1/*-1*/ | 3.00 | 3.00 | 3.00 | 3.00 | 5.00 | 10.33 | 24.00 | |||||||||||||||||||||
| vlse64.v v8,(t2),t1/*-1*/,v0.t | 3.00 | 3.00 | 3.00 | 3.00 | 5.00 | 10.28 | 24.00 | |||||||||||||||||||||
| vsse8.v v8,(t2),t3 | 4.00 | 8.00 | 16.00 | 32.00 | 68.90 | 137.62 | 273.21 | 4.00 | 8.00 | 16.00 | 33.55 | 66.87 | 176.45 | 4.00 | 8.00 | 16.00 | 32.85 | 65.35 | 4.00 | 8.00 | 16.00 | 32.00 | ||||||
| vsse8.v v8,(t2),t3,v0.t | 4.00 | 8.00 | 16.00 | 32.00 | 73.13 | 135.20 | 256.01 | 4.00 | 8.00 | 16.00 | 32.00 | 69.98 | 139.04 | 4.00 | 8.00 | 16.00 | 32.00 | 64.02 | 4.00 | 8.00 | 16.02 | 32.00 | ||||||
| vsse8.v v8,(t2),x0 | 4.00 | 8.00 | 16.00 | 32.00 | 64.00 | 128.00 | 256.00 | 4.00 | 8.00 | 16.00 | 32.00 | 64.00 | 128.00 | 4.00 | 8.00 | 16.00 | 32.00 | 64.00 | 4.00 | 8.00 | 16.00 | 32.00 | ||||||
| vsse8.v v8,(t2),x0,v0.t | 4.00 | 8.00 | 16.00 | 32.00 | 64.00 | 128.00 | 256.00 | 4.00 | 8.00 | 16.00 | 32.00 | 64.00 | 128.00 | 4.00 | 8.00 | 16.00 | 32.00 | 64.00 | 4.00 | 8.00 | 16.00 | 32.00 | ||||||
| vsse8.v v8,(t2),t1/*-1*/ | 5.50 | 8.00 | 16.00 | 32.00 | 64.00 | 128.00 | 256.59 | 4.00 | 8.00 | 16.00 | 32.00 | 64.00 | 128.00 | 4.00 | 8.00 | 16.00 | 32.00 | 64.00 | 4.00 | 8.00 | 16.00 | 32.00 | ||||||
| vsse8.v v8,(t2),t1/*-1*/,v0.t | 4.00 | 8.00 | 16.00 | 32.00 | 64.00 | 128.77 | 257.59 | 4.70 | 8.71 | 16.00 | 32.00 | 64.00 | 129.75 | 4.00 | 8.00 | 16.00 | 32.00 | 64.00 | 4.00 | 8.00 | 16.00 | 32.00 | ||||||
| vsse16.v v8,(t2),t3 | 4.00 | 8.00 | 16.97 | 4.00 | 8.00 | 16.00 | 34.66 | 70.33 | 162.85 | 4.00 | 8.00 | 16.00 | 33.79 | 65.52 | 4.00 | 8.00 | 16.00 | 33.06 | ||||||||||
| vsse16.v v8,(t2),t3,v0.t | 4.27 | 8.00 | 17.33 | 4.00 | 8.00 | 17.55 | 39.57 | 93.17 | 141.58 | 4.00 | 8.00 | 16.00 | 34.18 | 72.43 | 4.00 | 8.00 | 16.00 | 34.69 | ||||||||||
| vsse16.v v8,(t2),x0 | 4.00 | 8.00 | 16.00 | 4.00 | 8.00 | 16.00 | 32.00 | 64.00 | 128.00 | 4.00 | 8.00 | 16.00 | 32.00 | 64.00 | 4.00 | 8.00 | 16.00 | 32.00 | ||||||||||
| vsse16.v v8,(t2),x0,v0.t | 4.00 | 8.00 | 16.00 | 4.00 | 8.00 | 16.00 | 32.00 | 64.00 | 128.00 | 4.00 | 8.00 | 16.00 | 32.00 | 64.00 | 4.00 | 8.00 | 16.00 | 32.00 | ||||||||||
| vsse16.v v8,(t2),t1/*-1*/ | 5.35 | 8.00 | 16.00 | 5.02 | 8.00 | 16.00 | 32.00 | 66.31 | 131.63 | 4.00 | 8.00 | 16.00 | 32.00 | 64.16 | 4.00 | 8.00 | 16.00 | 32.00 | ||||||||||
| vsse16.v v8,(t2),t1/*-1*/,v0.t | 4.07 | 8.00 | 16.00 | 5.35 | 8.00 | 16.43 | 32.00 | 64.00 | 134.40 | 4.00 | 8.73 | 16.00 | 32.00 | 64.00 | 4.00 | 8.45 | 16.00 | 32.00 | ||||||||||
| vsse32.v v8,(t2),t3 | 4.00 | 9.27 | 4.00 | 8.24 | 4.00 | 8.00 | 16.01 | 32.00 | 64.00 | 4.00 | 8.00 | 16.54 | 32.00 | |||||||||||||||
| vsse32.v v8,(t2),t3,v0.t | 4.00 | 8.00 | 4.00 | 8.35 | 4.00 | 8.00 | 16.17 | 32.00 | 64.00 | 4.00 | 8.00 | 16.15 | 32.00 | |||||||||||||||
| vsse32.v v8,(t2),x0 | 4.00 | 8.00 | 4.00 | 8.00 | 4.00 | 8.00 | 16.00 | 32.00 | 64.00 | 4.00 | 8.00 | 16.00 | 32.00 | |||||||||||||||
| vsse32.v v8,(t2),x0,v0.t | 4.00 | 8.00 | 4.00 | 8.00 | 4.00 | 8.00 | 16.00 | 32.00 | 64.00 | 4.00 | 8.00 | 16.00 | 32.00 | |||||||||||||||
| vsse32.v v8,(t2),t1/*-1*/ | 4.00 | 8.00 | 4.00 | 8.00 | 4.00 | 8.00 | 16.00 | 34.20 | 64.45 | 4.16 | 8.00 | 16.00 | 32.00 | |||||||||||||||
| vsse32.v v8,(t2),t1/*-1*/,v0.t | 4.00 | 8.00 | 4.27 | 8.00 | 4.00 | 8.00 | 16.00 | 32.00 | 64.02 | 4.00 | 8.00 | 16.00 | 32.50 | |||||||||||||||
| vsse64.v v8,(t2),t3 | 5.74 | 5.70 | 6.58 | 4.81 | 8.85 | 16.00 | 32.00 | |||||||||||||||||||||
| vsse64.v v8,(t2),t3,v0.t | 6.83 | 4.00 | 4.00 | 5.40 | 8.74 | 16.00 | 32.00 | |||||||||||||||||||||
| vsse64.v v8,(t2),x0 | 4.00 | 4.00 | 4.00 | 4.00 | 8.00 | 16.00 | 32.00 | |||||||||||||||||||||
| vsse64.v v8,(t2),x0,v0.t | 4.00 | 4.00 | 4.00 | 4.00 | 8.00 | 16.00 | 32.00 | |||||||||||||||||||||
| vsse64.v v8,(t2),t1/*-1*/ | 4.00 | 4.00 | 4.00 | 4.00 | 8.00 | 17.30 | 32.00 | |||||||||||||||||||||
| vsse64.v v8,(t2),t1/*-1*/,v0.t | 4.00 | 4.00 | 4.00 | 4.00 | 8.00 | 17.06 | 32.00 | |||||||||||||||||||||
| vlseg2e8.v v8,(t0) | 4.87 | 4.87 | 4.68 | 7.33 | 12.26 | 28.24 | 4.87 | 4.87 | 4.62 | 4.87 | 12.67 | 4.87 | 4.87 | 2.70 | 4.87 | 4.87 | 2.23 | 2.79 | ||||||||||
| vlseg2e8.v v8,(t0),v0.t | 4.87 | 4.87 | 4.62 | 7.33 | 12.77 | 28.37 | 4.87 | 4.87 | 4.50 | 4.90 | 12.77 | 4.87 | 4.87 | 2.77 | 4.78 | 4.87 | 2.23 | 3.04 | ||||||||||
| vlseg2e16.v v8,(t0) | 4.87 | 4.59 | 7.35 | 4.87 | 4.77 | 7.35 | 12.37 | 28.32 | 4.87 | 4.59 | 4.62 | 12.87 | 4.87 | 2.72 | 4.93 | |||||||||||||
| vlseg2e16.v v8,(t0),v0.t | 4.87 | 4.53 | 7.31 | 4.87 | 4.56 | 7.35 | 12.31 | 28.59 | 4.87 | 4.59 | 4.74 | 12.64 | 4.87 | 2.75 | 4.75 | |||||||||||||
| vlseg2e32.v v8,(t0) | 4.59 | 7.30 | 4.71 | 7.41 | 4.62 | 7.41 | 12.66 | 28.30 | 4.65 | 4.72 | 12.77 | |||||||||||||||||
| vlseg2e32.v v8,(t0),v0.t | 4.50 | 7.40 | 4.56 | 7.34 | 4.53 | 7.37 | 12.54 | 28.17 | 4.68 | 4.81 | 12.87 | |||||||||||||||||
| vlseg2e64.v v8,(t0) | 7.40 | 7.41 | 7.35 | 7.44 | 12.43 | 28.83 | ||||||||||||||||||||||
| vlseg2e64.v v8,(t0),v0.t | 7.44 | 7.42 | 7.38 | 7.40 | 11.97 | 28.76 | ||||||||||||||||||||||
| vsseg2e8.v v8,(t0) | 3.00 | 3.00 | 4.30 | 8.00 | 16.00 | 32.00 | 3.00 | 3.00 | 4.00 | 8.00 | 16.00 | 3.00 | 3.00 | 4.00 | 8.00 | 3.00 | 3.00 | 4.00 | ||||||||||
| vsseg2e8.v v8,(t0),v0.t | 3.00 | 3.00 | 4.00 | 8.00 | 16.00 | 32.00 | 3.00 | 3.00 | 4.00 | 8.00 | 16.00 | 3.00 | 3.00 | 4.00 | 8.00 | 3.00 | 3.00 | 4.00 | ||||||||||
| vsseg2e16.v v8,(t0) | 3.00 | 4.00 | 8.00 | 3.00 | 4.00 | 8.00 | 16.00 | 32.00 | 3.00 | 4.00 | 8.00 | 16.00 | 3.00 | 4.00 | 8.00 | |||||||||||||
| vsseg2e16.v v8,(t0),v0.t | 3.00 | 4.00 | 8.00 | 3.00 | 4.00 | 8.00 | 16.00 | 32.00 | 3.00 | 4.00 | 8.00 | 16.00 | 3.00 | 4.00 | 8.00 | |||||||||||||
| vsseg2e32.v v8,(t0) | 4.30 | 8.00 | 4.00 | 8.00 | 4.00 | 8.00 | 16.00 | 32.00 | 4.00 | 8.00 | 16.00 | |||||||||||||||||
| vsseg2e32.v v8,(t0),v0.t | 4.00 | 8.00 | 4.00 | 8.00 | 4.00 | 8.00 | 16.00 | 32.00 | 4.00 | 8.00 | 16.00 | |||||||||||||||||
| vsseg2e64.v v8,(t0) | 8.00 | 8.00 | 8.00 | 8.00 | 16.00 | 32.00 | ||||||||||||||||||||||
| vsseg2e64.v v8,(t0),v0.t | 8.00 | 8.00 | 8.00 | 8.00 | 16.00 | 32.00 | ||||||||||||||||||||||
| vlseg3e8.v v8,(t0) | 5.02 | 4.89 | 5.32 | 9.38 | 19.40 | 5.05 | 4.89 | 5.54 | 8.62 | 5.03 | 4.93 | 5.32 | 5.07 | 5.11 | ||||||||||||||
| vlseg3e8.v v8,(t0),v0.t | 5.04 | 4.94 | 5.43 | 9.28 | 19.24 | 5.04 | 4.86 | 5.38 | 8.63 | 5.06 | 4.89 | 5.30 | 5.05 | 5.13 | ||||||||||||||
| vlseg3e16.v v8,(t0) | 5.01 | 5.59 | 9.32 | 5.01 | 5.39 | 10.01 | 19.46 | 4.97 | 5.55 | 8.73 | 5.21 | 5.33 | ||||||||||||||||
| vlseg3e16.v v8,(t0),v0.t | 4.98 | 5.65 | 9.34 | 5.14 | 5.65 | 9.66 | 19.49 | 4.95 | 5.21 | 8.62 | 4.87 | 5.35 | ||||||||||||||||
| vlseg3e32.v v8,(t0) | 5.30 | 9.47 | 5.36 | 8.86 | 5.40 | 9.92 | 19.51 | 5.64 | 8.62 | |||||||||||||||||||
| vlseg3e32.v v8,(t0),v0.t | 5.53 | 8.96 | 5.16 | 8.73 | 5.48 | 9.48 | 19.42 | 5.07 | 8.61 | |||||||||||||||||||
| vlseg3e64.v v8,(t0) | 10.13 | 10.17 | 10.12 | 10.15 | 19.57 | |||||||||||||||||||||||
| vlseg3e64.v v8,(t0),v0.t | 10.14 | 10.16 | 10.16 | 10.13 | 19.60 | |||||||||||||||||||||||
| vsseg3e8.v v8,(t0) | 4.00 | 5.00 | 7.00 | 14.00 | 28.00 | 4.00 | 5.00 | 7.00 | 14.00 | 4.00 | 5.00 | 7.00 | 4.00 | 5.00 | ||||||||||||||
| vsseg3e8.v v8,(t0),v0.t | 4.00 | 5.00 | 7.00 | 14.00 | 28.00 | 4.00 | 5.00 | 7.00 | 14.00 | 4.00 | 5.00 | 7.00 | 4.00 | 5.00 | ||||||||||||||
| vsseg3e16.v v8,(t0) | 5.00 | 7.00 | 14.00 | 5.00 | 7.00 | 14.00 | 28.00 | 5.00 | 7.00 | 14.00 | 5.00 | 7.00 | ||||||||||||||||
| vsseg3e16.v v8,(t0),v0.t | 5.00 | 7.00 | 14.00 | 5.00 | 7.00 | 14.00 | 28.00 | 5.00 | 7.00 | 14.00 | 5.00 | 7.00 | ||||||||||||||||
| vsseg3e32.v v8,(t0) | 7.00 | 14.00 | 7.00 | 14.00 | 7.00 | 14.00 | 28.00 | 7.00 | 14.00 | |||||||||||||||||||
| vsseg3e32.v v8,(t0),v0.t | 7.00 | 14.00 | 7.00 | 14.00 | 7.00 | 14.00 | 28.00 | 7.00 | 14.00 | |||||||||||||||||||
| vsseg3e64.v v8,(t0) | 12.00 | 12.00 | 12.00 | 12.00 | 24.00 | |||||||||||||||||||||||
| vsseg3e64.v v8,(t0),v0.t | 12.00 | 12.00 | 12.00 | 12.00 | 24.00 | |||||||||||||||||||||||
| vlseg4e8.v v8,(t0) | 5.50 | 5.34 | 7.18 | 11.11 | 27.81 | 5.40 | 5.34 | 7.51 | 10.84 | 5.37 | 5.35 | 6.92 | 5.40 | 6.04 | ||||||||||||||
| vlseg4e8.v v8,(t0),v0.t | 5.32 | 5.35 | 7.26 | 11.16 | 27.97 | 5.37 | 5.35 | 7.51 | 11.00 | 5.46 | 5.36 | 6.98 | 5.46 | 6.14 | ||||||||||||||
| vlseg4e16.v v8,(t0) | 5.35 | 7.02 | 11.12 | 5.35 | 6.94 | 11.18 | 27.93 | 5.35 | 7.02 | 10.93 | 5.35 | 6.99 | ||||||||||||||||
| vlseg4e16.v v8,(t0),v0.t | 5.34 | 7.34 | 11.17 | 5.34 | 7.42 | 11.13 | 28.36 | 5.36 | 6.86 | 11.03 | 5.34 | 6.99 | ||||||||||||||||
| vlseg4e32.v v8,(t0) | 7.18 | 11.20 | 7.51 | 11.17 | 7.43 | 11.18 | 28.11 | 7.10 | 11.03 | |||||||||||||||||||
| vlseg4e32.v v8,(t0),v0.t | 7.51 | 11.19 | 7.02 | 11.20 | 7.43 | 11.14 | 28.01 | 7.18 | 11.12 | |||||||||||||||||||
| vlseg4e64.v v8,(t0) | 11.87 | 11.73 | 11.33 | 11.73 | 26.36 | |||||||||||||||||||||||
| vlseg4e64.v v8,(t0),v0.t | 11.94 | 12.36 | 11.73 | 12.43 | 26.25 | |||||||||||||||||||||||
| vsseg4e8.v v8,(t0) | 5.00 | 6.00 | 8.00 | 16.00 | 32.00 | 5.00 | 6.00 | 8.00 | 16.00 | 5.00 | 6.00 | 8.00 | 5.00 | 6.00 | ||||||||||||||
| vsseg4e8.v v8,(t0),v0.t | 5.00 | 6.00 | 8.00 | 16.00 | 32.00 | 5.00 | 6.00 | 8.00 | 16.00 | 5.00 | 6.00 | 8.00 | 5.00 | 6.00 | ||||||||||||||
| vsseg4e16.v v8,(t0) | 6.00 | 8.00 | 16.00 | 6.00 | 8.00 | 16.00 | 32.00 | 6.00 | 8.00 | 16.00 | 6.00 | 8.00 | ||||||||||||||||
| vsseg4e16.v v8,(t0),v0.t | 6.00 | 8.00 | 16.00 | 6.00 | 8.00 | 16.00 | 32.00 | 6.00 | 8.00 | 16.00 | 6.00 | 8.00 | ||||||||||||||||
| vsseg4e32.v v8,(t0) | 8.00 | 16.00 | 8.00 | 16.00 | 8.00 | 16.00 | 32.00 | 8.00 | 16.00 | |||||||||||||||||||
| vsseg4e32.v v8,(t0),v0.t | 8.00 | 16.00 | 8.00 | 16.00 | 8.00 | 16.00 | 32.00 | 8.00 | 16.00 | |||||||||||||||||||
| vsseg4e64.v v8,(t0) | 16.00 | 16.00 | 16.00 | 16.00 | 32.00 | |||||||||||||||||||||||
| vsseg4e64.v v8,(t0),v0.t | 16.00 | 16.00 | 16.00 | 16.00 | 32.00 | |||||||||||||||||||||||
| vlseg5e8.v v8,(t0) | 20.00 | 40.00 | 80.00 | 159.38 | 20.00 | 40.00 | 80.00 | 20.00 | 40.00 | 20.00 | ||||||||||||||||||
| vlseg5e8.v v8,(t0),v0.t | 20.00 | 40.00 | 80.00 | 159.38 | 20.00 | 40.00 | 80.00 | 20.00 | 40.00 | 20.00 | ||||||||||||||||||
| vlseg5e16.v v8,(t0) | 20.00 | 40.00 | 79.21 | 20.00 | 40.00 | 79.21 | 20.00 | 40.00 | 20.00 | |||||||||||||||||||
| vlseg5e16.v v8,(t0),v0.t | 20.00 | 40.00 | 79.20 | 20.00 | 40.00 | 79.20 | 20.00 | 40.00 | 20.00 | |||||||||||||||||||
| vlseg5e32.v v8,(t0) | 20.00 | 39.36 | 20.00 | 39.40 | 20.00 | 39.32 | 20.00 | |||||||||||||||||||||
| vlseg5e32.v v8,(t0),v0.t | 20.00 | 39.37 | 20.00 | 39.41 | 20.00 | 39.31 | 20.00 | |||||||||||||||||||||
| vlseg5e64.v v8,(t0) | 19.58 | 19.58 | 19.55 | 19.58 | ||||||||||||||||||||||||
| vlseg5e64.v v8,(t0),v0.t | 19.58 | 19.55 | 19.58 | 19.58 | ||||||||||||||||||||||||
| vsseg5e8.v v8,(t0) | 20.00 | 40.00 | 80.00 | 163.35 | 20.00 | 40.00 | 80.00 | 20.00 | 40.00 | 20.00 | ||||||||||||||||||
| vsseg5e8.v v8,(t0),v0.t | 20.00 | 40.00 | 80.00 | 161.45 | 20.00 | 40.00 | 80.00 | 20.00 | 40.00 | 20.00 | ||||||||||||||||||
| vsseg5e16.v v8,(t0) | 20.00 | 40.06 | 80.90 | 20.00 | 40.04 | 80.82 | 20.00 | 40.00 | 20.00 | |||||||||||||||||||
| vsseg5e16.v v8,(t0),v0.t | 20.00 | 40.00 | 82.13 | 20.00 | 40.00 | 83.09 | 20.00 | 40.00 | 20.00 | |||||||||||||||||||
| vsseg5e32.v v8,(t0) | 20.00 | 40.73 | 20.85 | 43.04 | 20.00 | 42.41 | 20.00 | |||||||||||||||||||||
| vsseg5e32.v v8,(t0),v0.t | 20.00 | 42.27 | 20.00 | 43.25 | 20.00 | 42.95 | 20.00 | |||||||||||||||||||||
| vsseg5e64.v v8,(t0) | 20.00 | 20.08 | 20.00 | 20.00 | ||||||||||||||||||||||||
| vsseg5e64.v v8,(t0),v0.t | 20.00 | 20.00 | 20.00 | 20.00 | ||||||||||||||||||||||||
| vlseg6e8.v v8,(t0) | 24.37 | 48.37 | 96.37 | 191.36 | 24.37 | 48.37 | 96.37 | 24.37 | 48.37 | 24.37 | ||||||||||||||||||
| vlseg6e8.v v8,(t0),v0.t | 24.37 | 48.37 | 96.37 | 191.33 | 24.37 | 48.37 | 96.37 | 24.37 | 48.37 | 24.37 | ||||||||||||||||||
| vlseg6e16.v v8,(t0) | 24.37 | 48.37 | 95.15 | 24.37 | 48.37 | 95.13 | 24.37 | 48.37 | 24.37 | |||||||||||||||||||
| vlseg6e16.v v8,(t0),v0.t | 24.37 | 48.37 | 95.13 | 24.37 | 48.37 | 95.14 | 24.37 | 48.37 | 24.37 | |||||||||||||||||||
| vlseg6e32.v v8,(t0) | 24.37 | 47.29 | 24.37 | 47.35 | 24.37 | 47.42 | 24.37 | |||||||||||||||||||||
| vlseg6e32.v v8,(t0),v0.t | 24.37 | 47.35 | 24.37 | 47.35 | 24.37 | 47.31 | 24.37 | |||||||||||||||||||||
| vlseg6e64.v v8,(t0) | 23.25 | 23.18 | 23.23 | 23.20 | ||||||||||||||||||||||||
| vlseg6e64.v v8,(t0),v0.t | 23.23 | 23.27 | 23.23 | 23.20 | ||||||||||||||||||||||||
| vsseg6e8.v v8,(t0) | 24.00 | 48.00 | 96.00 | 195.89 | 24.00 | 48.00 | 96.00 | 24.00 | 48.00 | 24.00 | ||||||||||||||||||
| vsseg6e8.v v8,(t0),v0.t | 24.00 | 48.00 | 96.00 | 197.44 | 24.00 | 48.00 | 96.00 | 24.00 | 48.00 | 24.00 | ||||||||||||||||||
| vsseg6e16.v v8,(t0) | 24.00 | 48.00 | 104.68 | 24.00 | 48.00 | 100.44 | 24.00 | 48.00 | 24.00 | |||||||||||||||||||
| vsseg6e16.v v8,(t0),v0.t | 24.00 | 48.02 | 101.40 | 24.00 | 48.00 | 101.90 | 24.00 | 48.00 | 24.00 | |||||||||||||||||||
| vsseg6e32.v v8,(t0) | 24.00 | 55.06 | 24.00 | 51.68 | 24.00 | 54.62 | 24.00 | |||||||||||||||||||||
| vsseg6e32.v v8,(t0),v0.t | 24.00 | 53.86 | 24.00 | 53.19 | 24.00 | 53.40 | 24.00 | |||||||||||||||||||||
| vsseg6e64.v v8,(t0) | 24.00 | 24.00 | 24.15 | 24.00 | ||||||||||||||||||||||||
| vsseg6e64.v v8,(t0),v0.t | 24.00 | 24.00 | 24.00 | 24.00 | ||||||||||||||||||||||||
| vlseg7e8.v v8,(t0) | 28.25 | 56.25 | 112.25 | 223.24 | 28.25 | 56.25 | 112.25 | 28.25 | 56.25 | 28.25 | ||||||||||||||||||
| vlseg7e8.v v8,(t0),v0.t | 28.25 | 56.25 | 112.25 | 223.31 | 28.25 | 56.25 | 112.25 | 28.25 | 56.25 | 28.25 | ||||||||||||||||||
| vlseg7e16.v v8,(t0) | 28.25 | 56.25 | 111.12 | 28.25 | 56.25 | 111.13 | 28.25 | 56.25 | 28.25 | |||||||||||||||||||
| vlseg7e16.v v8,(t0),v0.t | 28.25 | 56.25 | 111.10 | 28.25 | 56.25 | 111.12 | 28.25 | 56.25 | 28.25 | |||||||||||||||||||
| vlseg7e32.v v8,(t0) | 28.25 | 55.01 | 28.25 | 55.02 | 28.25 | 55.04 | 28.25 | |||||||||||||||||||||
| vlseg7e32.v v8,(t0),v0.t | 28.25 | 55.04 | 28.25 | 55.05 | 28.25 | 55.04 | 28.25 | |||||||||||||||||||||
| vlseg7e64.v v8,(t0) | 27.21 | 27.21 | 27.20 | 27.17 | ||||||||||||||||||||||||
| vlseg7e64.v v8,(t0),v0.t | 27.10 | 27.14 | 27.20 | 27.14 | ||||||||||||||||||||||||
| vsseg7e8.v v8,(t0) | 28.00 | 56.00 | 112.00 | 224.00 | 28.00 | 56.00 | 112.35 | 28.00 | 56.00 | 28.00 | ||||||||||||||||||
| vsseg7e8.v v8,(t0),v0.t | 28.00 | 56.00 | 112.37 | 230.37 | 28.00 | 56.00 | 112.07 | 28.00 | 56.00 | 28.00 | ||||||||||||||||||
| vsseg7e16.v v8,(t0) | 28.00 | 56.54 | 115.27 | 28.00 | 56.09 | 112.38 | 28.00 | 56.32 | 28.00 | |||||||||||||||||||
| vsseg7e16.v v8,(t0),v0.t | 28.00 | 57.16 | 116.12 | 28.00 | 56.07 | 115.20 | 28.00 | 56.13 | 28.00 | |||||||||||||||||||
| vsseg7e32.v v8,(t0) | 28.61 | 58.82 | 28.82 | 57.97 | 28.00 | 58.28 | 28.05 | |||||||||||||||||||||
| vsseg7e32.v v8,(t0),v0.t | 28.00 | 58.40 | 28.25 | 64.23 | 29.44 | 61.62 | 28.07 | |||||||||||||||||||||
| vsseg7e64.v v8,(t0) | 28.00 | 28.00 | 28.00 | 28.00 | ||||||||||||||||||||||||
| vsseg7e64.v v8,(t0),v0.t | 28.00 | 28.00 | 28.00 | 28.00 | ||||||||||||||||||||||||
| vlseg8e8.v v8,(t0) | 32.15 | 64.12 | 128.13 | 255.18 | 32.15 | 64.12 | 128.12 | 32.15 | 64.12 | 32.15 | ||||||||||||||||||
| vlseg8e8.v v8,(t0),v0.t | 32.15 | 64.12 | 128.12 | 255.17 | 32.15 | 64.12 | 128.12 | 32.15 | 64.12 | 32.15 | ||||||||||||||||||
| vlseg8e16.v v8,(t0) | 32.13 | 64.14 | 127.13 | 32.13 | 64.13 | 127.14 | 32.13 | 64.13 | 32.13 | |||||||||||||||||||
| vlseg8e16.v v8,(t0),v0.t | 32.14 | 64.13 | 127.13 | 32.13 | 64.13 | 127.12 | 32.13 | 64.13 | 32.13 | |||||||||||||||||||
| vlseg8e32.v v8,(t0) | 32.21 | 63.16 | 32.21 | 63.16 | 32.20 | 63.18 | 32.20 | |||||||||||||||||||||
| vlseg8e32.v v8,(t0),v0.t | 32.19 | 63.16 | 32.21 | 63.17 | 32.19 | 63.15 | 32.20 | |||||||||||||||||||||
| vlseg8e64.v v8,(t0) | 31.12 | 31.12 | 31.12 | 31.12 | ||||||||||||||||||||||||
| vlseg8e64.v v8,(t0),v0.t | 31.12 | 31.12 | 31.12 | 31.12 | ||||||||||||||||||||||||
| vsseg8e8.v v8,(t0) | 32.00 | 64.00 | 128.00 | 266.82 | 32.00 | 64.00 | 128.80 | 32.00 | 64.00 | 32.00 | ||||||||||||||||||
| vsseg8e8.v v8,(t0),v0.t | 32.00 | 64.00 | 129.56 | 266.64 | 32.00 | 64.00 | 128.16 | 32.00 | 64.00 | 32.00 | ||||||||||||||||||
| vsseg8e16.v v8,(t0) | 32.00 | 65.53 | 137.15 | 32.00 | 64.00 | 138.39 | 32.00 | 64.63 | 32.00 | |||||||||||||||||||
| vsseg8e16.v v8,(t0),v0.t | 32.00 | 64.00 | 138.25 | 32.00 | 65.36 | 139.23 | 32.00 | 65.86 | 32.00 | |||||||||||||||||||
| vsseg8e32.v v8,(t0) | 32.70 | 77.03 | 32.87 | 76.63 | 32.62 | 76.34 | 33.67 | |||||||||||||||||||||
| vsseg8e32.v v8,(t0),v0.t | 33.34 | 76.00 | 32.34 | 79.05 | 33.12 | 74.74 | 34.72 | |||||||||||||||||||||
| vsseg8e64.v v8,(t0) | 32.00 | 32.00 | 32.00 | 32.00 | ||||||||||||||||||||||||
| vsseg8e64.v v8,(t0),v0.t | 32.00 | 32.00 | 32.00 | 32.00 | ||||||||||||||||||||||||
| vlseg2e8ff.v v8,(t0) | 4.87 | 4.87 | 4.53 | 7.41 | 12.43 | 27.80 | 4.86 | 4.87 | 4.56 | 4.68 | 12.69 | 4.87 | 4.87 | 2.72 | 4.75 | 4.85 | 2.23 | 3.04 | ||||||||||
| vlseg2e8ff.v v8,(t0),v0.t | 4.87 | 4.87 | 4.53 | 7.33 | 12.25 | 28.17 | 4.87 | 4.87 | 4.62 | 4.78 | 12.91 | 4.87 | 4.87 | 2.82 | 4.81 | 4.87 | 2.21 | 2.93 | ||||||||||
| vlseg2e16ff.v v8,(t0) | 4.87 | 4.65 | 7.38 | 4.87 | 4.74 | 7.35 | 12.43 | 28.36 | 4.87 | 4.62 | 4.78 | 12.77 | 4.87 | 2.70 | 4.85 | |||||||||||||
| vlseg2e16ff.v v8,(t0),v0.t | 4.87 | 4.68 | 7.31 | 4.87 | 4.68 | 7.42 | 12.37 | 28.00 | 4.87 | 4.56 | 4.90 | 12.79 | 4.87 | 2.80 | 4.78 | |||||||||||||
| vlseg2e32ff.v v8,(t0) | 4.59 | 7.38 | 4.47 | 7.34 | 4.62 | 7.38 | 12.88 | 28.10 | 4.77 | 4.75 | 12.84 | |||||||||||||||||
| vlseg2e32ff.v v8,(t0),v0.t | 4.65 | 7.41 | 4.56 | 7.34 | 4.65 | 7.38 | 12.25 | 28.12 | 4.65 | 4.87 | 12.72 | |||||||||||||||||
| vlseg2e64ff.v v8,(t0) | 7.37 | 7.42 | 7.41 | 7.41 | 12.08 | 28.54 | ||||||||||||||||||||||
| vlseg2e64ff.v v8,(t0),v0.t | 7.39 | 7.44 | 7.38 | 7.40 | 11.87 | 28.24 | ||||||||||||||||||||||
| vlseg3e8ff.v v8,(t0) | 5.06 | 4.93 | 5.26 | 9.87 | 19.33 | 5.07 | 4.90 | 5.60 | 8.84 | 5.04 | 4.83 | 5.37 | 5.06 | 5.10 | ||||||||||||||
| vlseg3e8ff.v v8,(t0),v0.t | 5.10 | 5.00 | 5.54 | 9.67 | 19.52 | 5.05 | 4.93 | 5.43 | 9.26 | 5.03 | 4.97 | 5.36 | 5.08 | 5.17 | ||||||||||||||
| vlseg3e16ff.v v8,(t0) | 5.08 | 5.19 | 9.00 | 4.93 | 5.42 | 9.40 | 19.54 | 5.03 | 5.37 | 9.01 | 5.01 | 5.32 | ||||||||||||||||
| vlseg3e16ff.v v8,(t0),v0.t | 4.87 | 5.49 | 9.25 | 4.88 | 5.37 | 9.38 | 19.42 | 5.17 | 5.65 | 8.62 | 4.84 | 5.30 | ||||||||||||||||
| vlseg3e32ff.v v8,(t0) | 5.12 | 8.60 | 5.42 | 9.98 | 5.47 | 8.70 | 19.41 | 5.41 | 8.61 | |||||||||||||||||||
| vlseg3e32ff.v v8,(t0),v0.t | 5.25 | 9.32 | 5.48 | 9.46 | 5.47 | 8.94 | 19.39 | 5.46 | 8.61 | |||||||||||||||||||
| vlseg3e64ff.v v8,(t0) | 10.15 | 10.12 | 10.12 | 10.14 | 19.83 | |||||||||||||||||||||||
| vlseg3e64ff.v v8,(t0),v0.t | 10.13 | 10.13 | 10.15 | 10.13 | 19.44 | |||||||||||||||||||||||
| vlseg4e8ff.v v8,(t0) | 5.35 | 5.33 | 7.02 | 11.14 | 27.69 | 5.44 | 5.35 | 7.43 | 10.93 | 5.46 | 5.36 | 6.99 | 5.28 | 5.92 | ||||||||||||||
| vlseg4e8ff.v v8,(t0),v0.t | 5.37 | 5.35 | 7.59 | 11.13 | 27.69 | 5.25 | 5.35 | 6.94 | 10.90 | 5.46 | 5.34 | 6.93 | 5.37 | 6.20 | ||||||||||||||
| vlseg4e16ff.v v8,(t0) | 5.36 | 6.70 | 11.18 | 5.34 | 7.18 | 11.17 | 28.11 | 5.35 | 7.10 | 10.96 | 5.33 | 7.00 | ||||||||||||||||
| vlseg4e16ff.v v8,(t0),v0.t | 5.33 | 7.18 | 11.18 | 5.34 | 7.51 | 11.15 | 27.91 | 5.34 | 7.10 | 11.06 | 5.36 | 6.92 | ||||||||||||||||
| vlseg4e32ff.v v8,(t0) | 7.26 | 11.10 | 7.18 | 11.16 | 7.26 | 11.14 | 27.62 | 7.02 | 10.90 | |||||||||||||||||||
| vlseg4e32ff.v v8,(t0),v0.t | 7.49 | 11.13 | 7.02 | 11.17 | 7.10 | 11.18 | 27.83 | 7.26 | 10.88 | |||||||||||||||||||
| vlseg4e64ff.v v8,(t0) | 12.67 | 11.85 | 11.87 | 12.08 | 26.19 | |||||||||||||||||||||||
| vlseg4e64ff.v v8,(t0),v0.t | 12.27 | 12.19 | 11.60 | 11.60 | 26.25 | |||||||||||||||||||||||
| vlseg5e8ff.v v8,(t0) | 20.00 | 40.00 | 80.00 | 159.38 | 20.00 | 40.00 | 80.00 | 20.00 | 40.00 | 20.00 | ||||||||||||||||||
| vlseg5e8ff.v v8,(t0),v0.t | 20.00 | 40.00 | 80.00 | 159.37 | 20.00 | 40.00 | 80.00 | 20.00 | 40.00 | 20.00 | ||||||||||||||||||
| vlseg5e16ff.v v8,(t0) | 20.00 | 40.00 | 79.21 | 20.00 | 40.00 | 79.29 | 20.00 | 40.00 | 20.00 | |||||||||||||||||||
| vlseg5e16ff.v v8,(t0),v0.t | 20.00 | 40.00 | 79.27 | 20.00 | 40.00 | 79.22 | 20.00 | 40.00 | 20.00 | |||||||||||||||||||
| vlseg5e32ff.v v8,(t0) | 20.00 | 39.30 | 20.00 | 39.36 | 20.00 | 39.34 | 20.00 | |||||||||||||||||||||
| vlseg5e32ff.v v8,(t0),v0.t | 20.00 | 39.43 | 20.00 | 39.33 | 20.00 | 39.44 | 20.00 | |||||||||||||||||||||
| vlseg5e64ff.v v8,(t0) | 19.58 | 19.60 | 19.61 | 19.61 | ||||||||||||||||||||||||
| vlseg5e64ff.v v8,(t0),v0.t | 19.61 | 19.57 | 19.58 | 19.60 | ||||||||||||||||||||||||
| vlseg6e8ff.v v8,(t0) | 24.37 | 48.37 | 96.37 | 191.34 | 24.37 | 48.37 | 96.37 | 24.37 | 48.37 | 24.37 | ||||||||||||||||||
| vlseg6e8ff.v v8,(t0),v0.t | 24.37 | 48.37 | 96.37 | 191.35 | 24.37 | 48.37 | 96.37 | 24.37 | 48.37 | 24.37 | ||||||||||||||||||
| vlseg6e16ff.v v8,(t0) | 24.37 | 48.37 | 95.13 | 24.37 | 48.37 | 95.20 | 24.37 | 48.37 | 24.37 | |||||||||||||||||||
| vlseg6e16ff.v v8,(t0),v0.t | 24.37 | 48.37 | 95.16 | 24.37 | 48.37 | 95.12 | 24.37 | 48.37 | 24.37 | |||||||||||||||||||
| vlseg6e32ff.v v8,(t0) | 24.37 | 47.30 | 24.37 | 47.33 | 24.37 | 47.26 | 24.37 | |||||||||||||||||||||
| vlseg6e32ff.v v8,(t0),v0.t | 24.37 | 47.40 | 24.37 | 47.37 | 24.37 | 47.38 | 24.37 | |||||||||||||||||||||
| vlseg6e64ff.v v8,(t0) | 23.21 | 23.23 | 23.25 | 23.25 | ||||||||||||||||||||||||
| vlseg6e64ff.v v8,(t0),v0.t | 23.14 | 23.32 | 23.27 | 23.30 | ||||||||||||||||||||||||
| vlseg7e8ff.v v8,(t0) | 28.25 | 56.25 | 112.25 | 223.25 | 28.25 | 56.25 | 112.25 | 28.25 | 56.25 | 28.25 | ||||||||||||||||||
| vlseg7e8ff.v v8,(t0),v0.t | 28.25 | 56.25 | 112.25 | 223.30 | 28.25 | 56.25 | 112.25 | 28.25 | 56.25 | 28.25 | ||||||||||||||||||
| vlseg7e16ff.v v8,(t0) | 28.25 | 56.25 | 111.12 | 28.25 | 56.25 | 111.12 | 28.25 | 56.25 | 28.25 | |||||||||||||||||||
| vlseg7e16ff.v v8,(t0),v0.t | 28.25 | 56.25 | 111.12 | 28.25 | 56.25 | 111.12 | 28.25 | 56.25 | 28.25 | |||||||||||||||||||
| vlseg7e32ff.v v8,(t0) | 28.25 | 55.04 | 28.25 | 55.02 | 28.25 | 55.02 | 28.25 | |||||||||||||||||||||
| vlseg7e32ff.v v8,(t0),v0.t | 28.25 | 55.08 | 28.25 | 55.02 | 28.25 | 54.98 | 28.25 | |||||||||||||||||||||
| vlseg7e64ff.v v8,(t0) | 27.20 | 27.24 | 27.23 | 27.24 | ||||||||||||||||||||||||
| vlseg7e64ff.v v8,(t0),v0.t | 27.20 | 27.26 | 27.21 | 27.14 | ||||||||||||||||||||||||
| vlseg8e8ff.v v8,(t0) | 32.15 | 64.12 | 128.12 | 255.17 | 32.15 | 64.12 | 128.12 | 32.15 | 64.12 | 32.15 | ||||||||||||||||||
| vlseg8e8ff.v v8,(t0),v0.t | 32.15 | 64.12 | 128.12 | 255.18 | 32.15 | 64.12 | 128.12 | 32.15 | 64.12 | 32.15 | ||||||||||||||||||
| vlseg8e16ff.v v8,(t0) | 32.13 | 64.13 | 127.13 | 32.13 | 64.13 | 127.13 | 32.13 | 64.13 | 32.13 | |||||||||||||||||||
| vlseg8e16ff.v v8,(t0),v0.t | 32.13 | 64.13 | 127.12 | 32.13 | 64.14 | 127.13 | 32.13 | 64.13 | 32.13 | |||||||||||||||||||
| vlseg8e32ff.v v8,(t0) | 32.17 | 63.16 | 32.19 | 63.17 | 32.18 | 63.16 | 32.21 | |||||||||||||||||||||
| vlseg8e32ff.v v8,(t0),v0.t | 32.17 | 63.18 | 32.19 | 63.16 | 32.19 | 63.16 | 32.21 | |||||||||||||||||||||
| vlseg8e64ff.v v8,(t0) | 31.12 | 31.12 | 31.12 | 31.12 | ||||||||||||||||||||||||
| vlseg8e64ff.v v8,(t0),v0.t | 31.12 | 31.12 | 31.12 | 31.12 | ||||||||||||||||||||||||
| vlsseg2e8.v v8,(t2),t3 | 5.25 | 6.05 | 10.85 | 25.00 | 59.01 | 137.01 | 5.31 | 6.09 | 10.92 | 25.00 | 59.01 | 5.26 | 6.05 | 9.50 | 25.00 | 5.20 | 5.45 | 9.50 | ||||||||||
| vlsseg2e8.v v8,(t2),t3,v0.t | 5.35 | 6.11 | 11.32 | 25.00 | 59.01 | 137.01 | 5.27 | 5.97 | 11.46 | 24.97 | 59.01 | 5.10 | 6.07 | 9.50 | 25.00 | 5.18 | 5.40 | 9.50 | ||||||||||
| vlsseg2e8.v v8,(t2),x0 | 5.25 | 5.62 | 9.00 | 19.50 | 55.50 | 130.00 | 5.18 | 5.62 | 9.00 | 19.50 | 55.50 | 5.43 | 5.62 | 9.00 | 19.50 | 5.25 | 5.00 | 9.00 | ||||||||||
| vlsseg2e8.v v8,(t2),x0,v0.t | 5.25 | 5.62 | 9.00 | 19.50 | 55.50 | 130.00 | 5.34 | 5.62 | 9.00 | 19.50 | 55.50 | 5.06 | 5.62 | 9.00 | 19.50 | 5.33 | 5.00 | 9.00 | ||||||||||
| vlsseg2e8.v v8,(t2),t1/*-1*/ | 5.34 | 5.95 | 9.50 | 25.90 | 60.00 | 137.01 | 4.84 | 6.00 | 9.50 | 25.62 | 60.00 | 5.20 | 5.92 | 9.50 | 23.41 | 5.30 | 5.40 | 9.50 | ||||||||||
| vlsseg2e8.v v8,(t2),t1/*-1*/,v0.t | 5.16 | 5.99 | 9.50 | 24.74 | 60.00 | 137.01 | 5.20 | 5.92 | 9.50 | 24.55 | 60.00 | 5.16 | 6.10 | 9.50 | 25.05 | 5.20 | 5.32 | 9.50 | ||||||||||
| vlsseg2e16.v v8,(t2),t3 | 5.09 | 6.17 | 14.00 | 5.21 | 6.43 | 14.00 | 35.50 | 81.30 | 5.17 | 6.84 | 14.00 | 35.50 | 5.10 | 5.50 | 14.00 | |||||||||||||
| vlsseg2e16.v v8,(t2),t3,v0.t | 5.11 | 6.53 | 14.00 | 5.15 | 6.43 | 14.00 | 35.15 | 81.45 | 5.15 | 6.58 | 14.00 | 35.55 | 5.16 | 5.50 | 14.00 | |||||||||||||
| vlsseg2e16.v v8,(t2),x0 | 5.36 | 5.62 | 11.50 | 5.18 | 5.62 | 11.50 | 32.00 | 75.50 | 5.17 | 5.62 | 11.50 | 32.00 | 5.36 | 5.00 | 11.50 | |||||||||||||
| vlsseg2e16.v v8,(t2),x0,v0.t | 5.17 | 5.62 | 11.50 | 5.30 | 5.62 | 11.50 | 32.00 | 75.50 | 5.14 | 5.62 | 11.50 | 32.00 | 5.25 | 5.00 | 11.50 | |||||||||||||
| vlsseg2e16.v v8,(t2),t1/*-1*/ | 4.91 | 6.12 | 13.66 | 5.02 | 6.12 | 13.58 | 35.80 | 80.15 | 5.18 | 6.12 | 13.62 | 35.82 | 5.13 | 5.50 | 13.72 | |||||||||||||
| vlsseg2e16.v v8,(t2),t1/*-1*/,v0.t | 5.05 | 6.12 | 13.46 | 5.27 | 6.12 | 13.43 | 35.85 | 80.20 | 4.91 | 6.12 | 13.58 | 35.90 | 4.88 | 5.50 | 13.56 | |||||||||||||
| vlsseg2e32.v v8,(t2),t3 | 5.06 | 9.85 | 4.93 | 9.95 | 4.97 | 9.78 | 21.81 | 51.81 | 4.79 | 9.85 | 21.86 | |||||||||||||||||
| vlsseg2e32.v v8,(t2),t3,v0.t | 5.00 | 9.79 | 4.97 | 9.79 | 5.01 | 9.77 | 21.81 | 51.81 | 4.95 | 9.74 | 22.00 | |||||||||||||||||
| vlsseg2e32.v v8,(t2),x0 | 5.29 | 9.00 | 5.17 | 9.00 | 5.22 | 9.00 | 20.50 | 46.01 | 5.21 | 9.06 | 20.51 | |||||||||||||||||
| vlsseg2e32.v v8,(t2),x0,v0.t | 5.33 | 9.00 | 5.30 | 9.00 | 5.21 | 9.12 | 20.51 | 48.81 | 5.24 | 9.03 | 20.50 | |||||||||||||||||
| vlsseg2e32.v v8,(t2),t1/*-1*/ | 4.79 | 8.92 | 4.85 | 8.90 | 4.77 | 8.90 | 23.11 | 52.76 | 4.77 | 8.92 | 22.76 | |||||||||||||||||
| vlsseg2e32.v v8,(t2),t1/*-1*/,v0.t | 4.81 | 8.95 | 4.82 | 9.00 | 4.81 | 8.95 | 22.91 | 52.67 | 4.86 | 8.97 | 22.66 | |||||||||||||||||
| vlsseg2e64.v v8,(t2),t3 | 5.84 | 5.93 | 5.95 | 5.93 | 15.00 | 32.07 | ||||||||||||||||||||||
| vlsseg2e64.v v8,(t2),t3,v0.t | 5.86 | 5.95 | 5.84 | 5.95 | 15.00 | 32.07 | ||||||||||||||||||||||
| vlsseg2e64.v v8,(t2),x0 | 7.95 | 7.56 | 6.38 | 7.03 | 16.28 | 34.31 | ||||||||||||||||||||||
| vlsseg2e64.v v8,(t2),x0,v0.t | 6.77 | 7.43 | 7.26 | 7.43 | 13.22 | 34.31 | ||||||||||||||||||||||
| vlsseg2e64.v v8,(t2),t1/*-1*/ | 5.88 | 5.95 | 5.90 | 5.86 | 15.00 | 32.07 | ||||||||||||||||||||||
| vlsseg2e64.v v8,(t2),t1/*-1*/,v0.t | 5.97 | 5.82 | 5.84 | 5.80 | 15.00 | 32.07 | ||||||||||||||||||||||
| vssseg2e8.v v8,(t2),t3 | 4.00 | 8.95 | 17.00 | 34.00 | 71.35 | 147.58 | 4.15 | 8.85 | 17.00 | 34.00 | 73.53 | 4.00 | 9.00 | 17.00 | 34.00 | 4.00 | 8.95 | 17.00 | ||||||||||
| vssseg2e8.v v8,(t2),t3,v0.t | 4.00 | 8.80 | 17.00 | 34.00 | 71.72 | 162.28 | 4.25 | 8.75 | 17.00 | 34.00 | 73.37 | 4.00 | 8.90 | 17.00 | 34.00 | 4.10 | 8.85 | 17.00 | ||||||||||
| vssseg2e8.v v8,(t2),x0 | 4.00 | 8.00 | 16.00 | 32.00 | 64.00 | 128.00 | 4.00 | 8.40 | 16.00 | 32.00 | 64.00 | 4.00 | 8.00 | 16.00 | 32.00 | 4.00 | 8.00 | 16.00 | ||||||||||
| vssseg2e8.v v8,(t2),x0,v0.t | 4.00 | 8.00 | 16.00 | 32.00 | 64.00 | 128.00 | 4.00 | 8.00 | 16.00 | 32.00 | 64.00 | 4.00 | 8.00 | 16.00 | 32.00 | 4.00 | 8.00 | 16.00 | ||||||||||
| vssseg2e8.v v8,(t2),t1/*-1*/ | 4.65 | 8.70 | 17.00 | 34.00 | 68.00 | 136.58 | 6.10 | 8.55 | 17.00 | 34.00 | 68.00 | 6.76 | 8.65 | 17.00 | 34.00 | 4.55 | 8.45 | 17.00 | ||||||||||
| vssseg2e8.v v8,(t2),t1/*-1*/,v0.t | 4.65 | 8.55 | 17.00 | 34.00 | 68.00 | 138.51 | 4.50 | 8.70 | 17.00 | 34.00 | 68.00 | 4.55 | 8.80 | 17.00 | 34.00 | 4.40 | 8.70 | 17.00 | ||||||||||
| vssseg2e16.v v8,(t2),t3 | 4.65 | 9.00 | 18.00 | 4.10 | 9.00 | 18.00 | 41.86 | 89.67 | 4.15 | 9.00 | 18.10 | 47.02 | 4.15 | 9.67 | 18.00 | |||||||||||||
| vssseg2e16.v v8,(t2),t3,v0.t | 4.40 | 9.00 | 18.00 | 4.00 | 9.00 | 18.00 | 46.85 | 78.04 | 4.10 | 9.00 | 18.00 | 47.32 | 4.27 | 10.46 | 18.00 | |||||||||||||
| vssseg2e16.v v8,(t2),x0 | 4.00 | 8.00 | 16.00 | 4.00 | 8.00 | 16.00 | 32.00 | 64.00 | 4.00 | 8.00 | 16.00 | 32.00 | 4.00 | 8.00 | 16.00 | |||||||||||||
| vssseg2e16.v v8,(t2),x0,v0.t | 4.00 | 8.00 | 16.00 | 4.00 | 8.00 | 16.00 | 32.00 | 64.00 | 4.00 | 8.00 | 16.00 | 32.00 | 4.00 | 8.00 | 16.00 | |||||||||||||
| vssseg2e16.v v8,(t2),t1/*-1*/ | 4.70 | 9.00 | 18.00 | 5.51 | 9.00 | 18.00 | 36.00 | 75.77 | 4.75 | 9.00 | 18.00 | 36.00 | 6.25 | 9.05 | 18.00 | |||||||||||||
| vssseg2e16.v v8,(t2),t1/*-1*/,v0.t | 6.84 | 9.00 | 18.00 | 6.00 | 9.00 | 18.00 | 36.00 | 74.62 | 4.80 | 9.00 | 18.40 | 36.00 | 4.70 | 9.00 | 18.00 | |||||||||||||
| vssseg2e32.v v8,(t2),t3 | 5.97 | 10.00 | 6.72 | 10.00 | 6.41 | 10.00 | 21.34 | 42.70 | 5.00 | 10.01 | 21.48 | |||||||||||||||||
| vssseg2e32.v v8,(t2),t3,v0.t | 5.01 | 10.00 | 5.08 | 10.00 | 5.00 | 10.00 | 21.17 | 40.00 | 5.00 | 10.41 | 20.00 | |||||||||||||||||
| vssseg2e32.v v8,(t2),x0 | 4.20 | 8.00 | 4.00 | 8.00 | 4.00 | 8.00 | 16.00 | 32.00 | 4.00 | 8.00 | 16.00 | |||||||||||||||||
| vssseg2e32.v v8,(t2),x0,v0.t | 4.00 | 8.00 | 4.00 | 8.00 | 4.20 | 8.00 | 16.00 | 33.60 | 4.00 | 8.00 | 16.00 | |||||||||||||||||
| vssseg2e32.v v8,(t2),t1/*-1*/ | 5.00 | 10.00 | 5.00 | 10.00 | 5.22 | 10.00 | 20.82 | 41.81 | 5.00 | 10.00 | 20.56 | |||||||||||||||||
| vssseg2e32.v v8,(t2),t1/*-1*/,v0.t | 6.04 | 10.00 | 5.00 | 10.00 | 5.00 | 10.00 | 21.37 | 42.37 | 5.00 | 10.00 | 20.22 | |||||||||||||||||
| vssseg2e64.v v8,(t2),t3 | 8.00 | 8.00 | 8.00 | 8.00 | 16.00 | 32.50 | ||||||||||||||||||||||
| vssseg2e64.v v8,(t2),t3,v0.t | 8.90 | 8.00 | 8.00 | 8.00 | 16.00 | 32.50 | ||||||||||||||||||||||
| vssseg2e64.v v8,(t2),x0 | 8.00 | 8.00 | 8.00 | 8.00 | 16.00 | 32.00 | ||||||||||||||||||||||
| vssseg2e64.v v8,(t2),x0,v0.t | 8.00 | 8.00 | 8.00 | 8.00 | 16.00 | 32.00 | ||||||||||||||||||||||
| vssseg2e64.v v8,(t2),t1/*-1*/ | 8.00 | 8.00 | 8.00 | 8.00 | 16.00 | 35.70 | ||||||||||||||||||||||
| vssseg2e64.v v8,(t2),t1/*-1*/,v0.t | 8.00 | 8.00 | 8.00 | 8.00 | 16.00 | 32.50 | ||||||||||||||||||||||
| vlsseg3e8.v v8,(t2),t3 | 5.53 | 6.40 | 12.52 | 28.40 | 68.01 | 5.41 | 6.33 | 12.66 | 29.00 | 5.44 | 6.35 | 12.51 | 5.36 | 6.75 | ||||||||||||||
| vlsseg3e8.v v8,(t2),t3,v0.t | 5.51 | 6.33 | 12.56 | 29.00 | 68.01 | 5.48 | 6.35 | 12.33 | 28.40 | 5.54 | 6.35 | 12.47 | 5.44 | 6.75 | ||||||||||||||
| vlsseg3e8.v v8,(t2),x0 | 4.96 | 6.25 | 9.83 | 22.00 | 60.57 | 4.93 | 6.25 | 9.83 | 22.00 | 5.04 | 6.25 | 9.83 | 4.96 | 6.25 | ||||||||||||||
| vlsseg3e8.v v8,(t2),x0,v0.t | 4.93 | 6.25 | 9.83 | 22.00 | 60.58 | 4.95 | 6.25 | 9.83 | 22.00 | 4.96 | 6.25 | 9.83 | 5.01 | 6.25 | ||||||||||||||
| vlsseg3e8.v v8,(t2),t1/*-1*/ | 5.21 | 6.57 | 10.83 | 30.10 | 68.01 | 5.20 | 6.71 | 10.83 | 29.47 | 5.22 | 6.65 | 10.83 | 5.21 | 6.95 | ||||||||||||||
| vlsseg3e8.v v8,(t2),t1/*-1*/,v0.t | 5.20 | 6.60 | 10.83 | 29.00 | 68.01 | 5.20 | 6.54 | 10.83 | 30.05 | 5.18 | 6.54 | 10.83 | 5.20 | 6.85 | ||||||||||||||
| vlsseg3e16.v v8,(t2),t3 | 5.06 | 7.25 | 17.32 | 5.06 | 7.25 | 17.60 | 43.46 | 5.06 | 7.36 | 18.02 | 5.06 | 7.40 | ||||||||||||||||
| vlsseg3e16.v v8,(t2),t3,v0.t | 5.06 | 7.32 | 18.12 | 5.06 | 7.25 | 18.00 | 43.27 | 5.06 | 7.25 | 17.82 | 5.06 | 7.32 | ||||||||||||||||
| vlsseg3e16.v v8,(t2),x0 | 4.98 | 6.25 | 11.50 | 4.92 | 6.25 | 11.50 | 37.00 | 5.01 | 6.25 | 11.52 | 4.93 | 6.25 | ||||||||||||||||
| vlsseg3e16.v v8,(t2),x0,v0.t | 4.98 | 6.25 | 11.50 | 5.03 | 6.25 | 11.50 | 38.17 | 4.95 | 6.25 | 11.50 | 4.99 | 6.25 | ||||||||||||||||
| vlsseg3e16.v v8,(t2),t1/*-1*/ | 5.20 | 6.83 | 14.35 | 5.23 | 6.83 | 14.13 | 42.40 | 5.20 | 6.83 | 14.31 | 5.21 | 7.25 | ||||||||||||||||
| vlsseg3e16.v v8,(t2),t1/*-1*/,v0.t | 5.18 | 6.83 | 14.42 | 5.21 | 6.83 | 14.30 | 42.17 | 5.23 | 6.83 | 14.14 | 5.20 | 7.25 | ||||||||||||||||
| vlsseg3e32.v v8,(t2),t3 | 5.25 | 11.00 | 5.25 | 11.00 | 5.25 | 11.00 | 32.00 | 5.25 | 11.00 | |||||||||||||||||||
| vlsseg3e32.v v8,(t2),t3,v0.t | 5.25 | 11.00 | 5.25 | 11.00 | 5.25 | 11.00 | 32.60 | 5.25 | 11.00 | |||||||||||||||||||
| vlsseg3e32.v v8,(t2),x0 | 5.17 | 9.87 | 5.59 | 9.50 | 5.38 | 9.50 | 29.04 | 5.31 | 10.12 | |||||||||||||||||||
| vlsseg3e32.v v8,(t2),x0,v0.t | 4.95 | 9.75 | 5.17 | 9.81 | 5.24 | 10.12 | 28.37 | 5.10 | 9.75 | |||||||||||||||||||
| vlsseg3e32.v v8,(t2),t1/*-1*/ | 5.25 | 10.38 | 5.25 | 10.59 | 5.25 | 10.52 | 31.40 | 5.25 | 10.70 | |||||||||||||||||||
| vlsseg3e32.v v8,(t2),t1/*-1*/,v0.t | 5.25 | 10.38 | 5.25 | 10.45 | 5.25 | 10.63 | 31.10 | 5.25 | 10.52 | |||||||||||||||||||
| vlsseg3e64.v v8,(t2),t3 | 10.33 | 10.38 | 10.29 | 10.38 | 24.00 | |||||||||||||||||||||||
| vlsseg3e64.v v8,(t2),t3,v0.t | 10.34 | 10.28 | 10.57 | 10.17 | 24.00 | |||||||||||||||||||||||
| vlsseg3e64.v v8,(t2),x0 | 10.88 | 10.95 | 11.11 | 11.19 | 23.47 | |||||||||||||||||||||||
| vlsseg3e64.v v8,(t2),x0,v0.t | 11.26 | 11.03 | 11.50 | 11.11 | 23.45 | |||||||||||||||||||||||
| vlsseg3e64.v v8,(t2),t1/*-1*/ | 9.37 | 9.37 | 9.38 | 9.37 | 22.00 | |||||||||||||||||||||||
| vlsseg3e64.v v8,(t2),t1/*-1*/,v0.t | 9.37 | 9.40 | 9.38 | 9.38 | 22.00 | |||||||||||||||||||||||
| vssseg3e8.v v8,(t2),t3 | 4.20 | 9.10 | 18.00 | 36.00 | 73.23 | 4.35 | 9.05 | 18.00 | 36.00 | 4.25 | 9.10 | 18.00 | 4.35 | 9.00 | ||||||||||||||
| vssseg3e8.v v8,(t2),t3,v0.t | 4.20 | 9.05 | 18.00 | 36.00 | 76.67 | 4.20 | 9.05 | 18.00 | 36.00 | 4.25 | 9.00 | 18.00 | 4.25 | 9.00 | ||||||||||||||
| vssseg3e8.v v8,(t2),x0 | 4.00 | 8.00 | 16.00 | 32.00 | 64.00 | 4.00 | 8.00 | 16.00 | 32.00 | 4.00 | 8.00 | 16.00 | 4.00 | 8.00 | ||||||||||||||
| vssseg3e8.v v8,(t2),x0,v0.t | 4.00 | 8.00 | 16.00 | 32.00 | 64.01 | 4.00 | 8.00 | 16.00 | 32.00 | 4.00 | 8.00 | 16.00 | 4.00 | 8.00 | ||||||||||||||
| vssseg3e8.v v8,(t2),t1/*-1*/ | 5.60 | 9.60 | 18.00 | 36.00 | 72.16 | 4.50 | 9.50 | 18.00 | 36.00 | 5.60 | 9.20 | 18.00 | 5.00 | 9.70 | ||||||||||||||
| vssseg3e8.v v8,(t2),t1/*-1*/,v0.t | 4.80 | 9.50 | 18.00 | 36.00 | 72.05 | 5.10 | 8.90 | 18.00 | 36.00 | 5.30 | 9.60 | 18.00 | 5.30 | 9.70 | ||||||||||||||
| vssseg3e16.v v8,(t2),t3 | 5.00 | 10.00 | 21.09 | 5.00 | 10.00 | 20.17 | 46.02 | 5.00 | 10.00 | 20.00 | 5.00 | 10.00 | ||||||||||||||||
| vssseg3e16.v v8,(t2),t3,v0.t | 5.00 | 10.00 | 20.00 | 5.00 | 10.00 | 20.00 | 47.70 | 5.00 | 10.00 | 20.00 | 5.00 | 10.00 | ||||||||||||||||
| vssseg3e16.v v8,(t2),x0 | 5.00 | 8.00 | 16.00 | 5.00 | 8.00 | 16.00 | 32.00 | 5.00 | 8.00 | 16.80 | 5.15 | 8.00 | ||||||||||||||||
| vssseg3e16.v v8,(t2),x0,v0.t | 5.00 | 8.00 | 16.00 | 5.00 | 8.00 | 16.00 | 32.00 | 5.00 | 8.00 | 16.00 | 5.00 | 8.00 | ||||||||||||||||
| vssseg3e16.v v8,(t2),t1/*-1*/ | 5.65 | 10.00 | 20.00 | 5.55 | 10.00 | 20.00 | 40.00 | 5.45 | 10.00 | 20.00 | 5.85 | 10.00 | ||||||||||||||||
| vssseg3e16.v v8,(t2),t1/*-1*/,v0.t | 5.50 | 10.00 | 20.00 | 5.50 | 10.00 | 20.00 | 40.00 | 5.55 | 10.00 | 20.00 | 5.60 | 10.00 | ||||||||||||||||
| vssseg3e32.v v8,(t2),t3 | 7.27 | 14.00 | 7.00 | 14.00 | 8.65 | 14.00 | 28.00 | 7.14 | 14.00 | |||||||||||||||||||
| vssseg3e32.v v8,(t2),t3,v0.t | 7.00 | 14.00 | 7.72 | 14.01 | 7.05 | 14.00 | 28.04 | 7.05 | 14.28 | |||||||||||||||||||
| vssseg3e32.v v8,(t2),x0 | 7.20 | 14.30 | 7.40 | 14.70 | 7.25 | 14.70 | 29.00 | 7.25 | 14.90 | |||||||||||||||||||
| vssseg3e32.v v8,(t2),x0,v0.t | 7.30 | 15.00 | 7.35 | 14.40 | 7.35 | 14.80 | 30.40 | 7.55 | 14.40 | |||||||||||||||||||
| vssseg3e32.v v8,(t2),t1/*-1*/ | 7.41 | 14.00 | 7.00 | 14.00 | 7.34 | 14.26 | 28.04 | 7.20 | 14.00 | |||||||||||||||||||
| vssseg3e32.v v8,(t2),t1/*-1*/,v0.t | 7.00 | 14.00 | 8.10 | 14.00 | 7.23 | 14.00 | 28.16 | 8.34 | 14.00 | |||||||||||||||||||
| vssseg3e64.v v8,(t2),t3 | 12.00 | 12.00 | 12.00 | 12.00 | 24.00 | |||||||||||||||||||||||
| vssseg3e64.v v8,(t2),t3,v0.t | 12.00 | 12.00 | 12.00 | 12.00 | 24.00 | |||||||||||||||||||||||
| vssseg3e64.v v8,(t2),x0 | 12.00 | 12.00 | 12.00 | 12.00 | 24.00 | |||||||||||||||||||||||
| vssseg3e64.v v8,(t2),x0,v0.t | 12.00 | 12.00 | 12.00 | 12.00 | 24.00 | |||||||||||||||||||||||
| vssseg3e64.v v8,(t2),t1/*-1*/ | 12.00 | 12.00 | 12.00 | 12.00 | 24.00 | |||||||||||||||||||||||
| vssseg3e64.v v8,(t2),t1/*-1*/,v0.t | 12.00 | 12.00 | 12.00 | 12.00 | 24.00 | |||||||||||||||||||||||
| vlsseg4e8.v v8,(t2),t3 | 5.75 | 6.87 | 13.15 | 29.70 | 72.01 | 5.66 | 6.87 | 13.27 | 29.10 | 5.83 | 6.85 | 13.32 | 5.77 | 6.87 | ||||||||||||||
| vlsseg4e8.v v8,(t2),t3,v0.t | 5.73 | 6.97 | 13.25 | 28.80 | 72.01 | 5.73 | 6.97 | 13.16 | 29.12 | 5.66 | 6.97 | 13.26 | 6.00 | 7.00 | ||||||||||||||
| vlsseg4e8.v v8,(t2),x0 | 5.68 | 6.25 | 10.25 | 22.00 | 63.00 | 5.88 | 6.25 | 10.25 | 22.00 | 5.59 | 6.25 | 10.25 | 5.69 | 6.56 | ||||||||||||||
| vlsseg4e8.v v8,(t2),x0,v0.t | 5.54 | 6.25 | 10.25 | 22.00 | 63.00 | 5.65 | 6.25 | 10.25 | 22.00 | 5.45 | 6.25 | 10.25 | 5.69 | 6.56 | ||||||||||||||
| vlsseg4e8.v v8,(t2),t1/*-1*/ | 6.08 | 7.62 | 11.75 | 29.67 | 72.01 | 6.06 | 7.42 | 11.75 | 29.50 | 6.09 | 7.57 | 11.75 | 6.12 | 7.04 | ||||||||||||||
| vlsseg4e8.v v8,(t2),t1/*-1*/,v0.t | 6.07 | 7.15 | 11.75 | 29.87 | 72.01 | 6.09 | 7.20 | 11.75 | 30.37 | 6.10 | 7.37 | 11.75 | 6.13 | 6.97 | ||||||||||||||
| vlsseg4e16.v v8,(t2),t3 | 5.44 | 7.95 | 19.20 | 5.41 | 7.91 | 19.12 | 47.25 | 5.38 | 7.92 | 19.05 | 5.43 | 8.04 | ||||||||||||||||
| vlsseg4e16.v v8,(t2),t3,v0.t | 5.43 | 7.96 | 18.97 | 5.44 | 7.90 | 19.10 | 49.21 | 5.43 | 7.93 | 19.05 | 5.42 | 8.05 | ||||||||||||||||
| vlsseg4e16.v v8,(t2),x0 | 5.54 | 6.65 | 14.52 | 5.49 | 6.65 | 13.16 | 45.37 | 5.76 | 6.45 | 14.49 | 5.93 | 7.11 | ||||||||||||||||
| vlsseg4e16.v v8,(t2),x0,v0.t | 5.64 | 6.25 | 13.62 | 5.74 | 6.85 | 13.61 | 47.72 | 5.89 | 7.05 | 16.25 | 5.55 | 6.56 | ||||||||||||||||
| vlsseg4e16.v v8,(t2),t1/*-1*/ | 5.92 | 7.75 | 16.80 | 5.94 | 7.75 | 17.00 | 49.95 | 5.90 | 7.76 | 16.82 | 5.98 | 7.75 | ||||||||||||||||
| vlsseg4e16.v v8,(t2),t1/*-1*/,v0.t | 5.91 | 7.75 | 16.99 | 5.99 | 7.75 | 16.99 | 50.00 | 5.95 | 7.75 | 16.79 | 5.98 | 7.75 | ||||||||||||||||
| vlsseg4e32.v v8,(t2),t3 | 6.07 | 12.00 | 6.09 | 12.00 | 6.07 | 12.00 | 37.15 | 6.06 | 12.00 | |||||||||||||||||||
| vlsseg4e32.v v8,(t2),t3,v0.t | 6.09 | 12.00 | 6.09 | 12.00 | 6.08 | 12.00 | 37.65 | 6.07 | 12.00 | |||||||||||||||||||
| vlsseg4e32.v v8,(t2),x0 | 5.67 | 11.95 | 5.93 | 11.85 | 5.61 | 11.95 | 36.91 | 5.86 | 12.33 | |||||||||||||||||||
| vlsseg4e32.v v8,(t2),x0,v0.t | 5.90 | 12.05 | 5.61 | 11.65 | 5.61 | 12.25 | 32.65 | 5.67 | 12.41 | |||||||||||||||||||
| vlsseg4e32.v v8,(t2),t1/*-1*/ | 6.06 | 12.10 | 6.06 | 12.31 | 6.06 | 12.07 | 36.65 | 6.06 | 12.01 | |||||||||||||||||||
| vlsseg4e32.v v8,(t2),t1/*-1*/,v0.t | 6.06 | 12.15 | 6.06 | 12.12 | 6.11 | 12.11 | 36.55 | 6.06 | 12.05 | |||||||||||||||||||
| vlsseg4e64.v v8,(t2),t3 | 10.71 | 10.75 | 10.71 | 10.58 | 31.20 | |||||||||||||||||||||||
| vlsseg4e64.v v8,(t2),t3,v0.t | 10.66 | 10.54 | 10.62 | 10.37 | 31.15 | |||||||||||||||||||||||
| vlsseg4e64.v v8,(t2),x0 | 11.39 | 11.39 | 11.32 | 11.39 | 31.15 | |||||||||||||||||||||||
| vlsseg4e64.v v8,(t2),x0,v0.t | 11.28 | 11.39 | 11.39 | 11.34 | 29.40 | |||||||||||||||||||||||
| vlsseg4e64.v v8,(t2),t1/*-1*/ | 13.00 | 13.00 | 13.00 | 13.00 | 31.87 | |||||||||||||||||||||||
| vlsseg4e64.v v8,(t2),t1/*-1*/,v0.t | 13.00 | 13.00 | 13.00 | 13.00 | 31.50 | |||||||||||||||||||||||
| vssseg4e8.v v8,(t2),t3 | 5.00 | 9.45 | 19.00 | 38.00 | 76.00 | 5.00 | 9.40 | 19.00 | 38.00 | 5.00 | 9.20 | 19.00 | 5.00 | 9.15 | ||||||||||||||
| vssseg4e8.v v8,(t2),t3,v0.t | 5.00 | 9.35 | 19.00 | 38.00 | 76.00 | 5.00 | 9.30 | 19.00 | 38.00 | 5.00 | 9.15 | 19.00 | 5.00 | 9.25 | ||||||||||||||
| vssseg4e8.v v8,(t2),x0 | 5.00 | 8.00 | 16.00 | 33.60 | 64.00 | 5.00 | 8.00 | 16.00 | 32.00 | 5.00 | 8.00 | 16.00 | 5.00 | 8.00 | ||||||||||||||
| vssseg4e8.v v8,(t2),x0,v0.t | 5.00 | 8.40 | 16.00 | 32.00 | 76.80 | 5.00 | 8.00 | 16.00 | 32.00 | 5.15 | 8.00 | 16.00 | 5.00 | 8.40 | ||||||||||||||
| vssseg4e8.v v8,(t2),t1/*-1*/ | 6.20 | 10.00 | 19.00 | 38.00 | 76.78 | 6.20 | 10.20 | 19.00 | 38.00 | 6.50 | 10.00 | 19.00 | 6.99 | 10.95 | ||||||||||||||
| vssseg4e8.v v8,(t2),t1/*-1*/,v0.t | 7.91 | 10.50 | 19.00 | 38.00 | 76.19 | 6.40 | 10.20 | 19.00 | 38.00 | 6.20 | 9.95 | 19.00 | 6.53 | 10.20 | ||||||||||||||
| vssseg4e16.v v8,(t2),t3 | 6.24 | 11.50 | 22.90 | 6.00 | 11.55 | 22.70 | 45.59 | 6.00 | 11.30 | 22.80 | 6.00 | 11.45 | ||||||||||||||||
| vssseg4e16.v v8,(t2),t3,v0.t | 6.12 | 11.35 | 22.30 | 6.00 | 11.25 | 22.80 | 46.78 | 6.00 | 11.10 | 22.80 | 6.00 | 11.35 | ||||||||||||||||
| vssseg4e16.v v8,(t2),x0 | 6.40 | 10.60 | 20.28 | 6.00 | 11.20 | 22.04 | 54.40 | 6.00 | 10.90 | 22.04 | 6.40 | 11.80 | ||||||||||||||||
| vssseg4e16.v v8,(t2),x0,v0.t | 6.30 | 10.90 | 23.21 | 6.30 | 10.30 | 20.28 | 53.80 | 6.20 | 12.70 | 23.80 | 6.30 | 10.00 | ||||||||||||||||
| vssseg4e16.v v8,(t2),t1/*-1*/ | 7.90 | 12.30 | 26.80 | 6.40 | 12.20 | 26.51 | 54.55 | 6.80 | 12.10 | 26.12 | 6.65 | 12.60 | ||||||||||||||||
| vssseg4e16.v v8,(t2),t1/*-1*/,v0.t | 7.00 | 12.10 | 24.77 | 7.70 | 12.10 | 25.77 | 53.74 | 6.66 | 12.00 | 26.86 | 6.55 | 12.05 | ||||||||||||||||
| vssseg4e32.v v8,(t2),t3 | 9.38 | 18.95 | 9.10 | 18.87 | 9.20 | 19.10 | 41.60 | 9.25 | 18.75 | |||||||||||||||||||
| vssseg4e32.v v8,(t2),t3,v0.t | 9.28 | 19.17 | 9.15 | 19.32 | 9.45 | 18.80 | 42.16 | 9.30 | 18.87 | |||||||||||||||||||
| vssseg4e32.v v8,(t2),x0 | 9.30 | 17.92 | 8.70 | 18.14 | 9.20 | 17.92 | 41.92 | 8.80 | 17.92 | |||||||||||||||||||
| vssseg4e32.v v8,(t2),x0,v0.t | 9.10 | 18.78 | 8.40 | 16.85 | 9.30 | 18.35 | 38.94 | 8.70 | 18.35 | |||||||||||||||||||
| vssseg4e32.v v8,(t2),t1/*-1*/ | 9.85 | 18.80 | 9.50 | 19.02 | 9.30 | 18.80 | 39.48 | 9.35 | 18.95 | |||||||||||||||||||
| vssseg4e32.v v8,(t2),t1/*-1*/,v0.t | 10.37 | 19.17 | 9.57 | 19.32 | 9.50 | 18.72 | 39.61 | 9.20 | 18.65 | |||||||||||||||||||
| vssseg4e64.v v8,(t2),t3 | 16.80 | 16.30 | 16.90 | 16.20 | 34.88 | |||||||||||||||||||||||
| vssseg4e64.v v8,(t2),t3,v0.t | 16.30 | 16.70 | 16.40 | 16.50 | 34.44 | |||||||||||||||||||||||
| vssseg4e64.v v8,(t2),x0 | 16.90 | 16.60 | 16.30 | 16.10 | 32.58 | |||||||||||||||||||||||
| vssseg4e64.v v8,(t2),x0,v0.t | 17.00 | 16.80 | 16.30 | 17.00 | 34.53 | |||||||||||||||||||||||
| vssseg4e64.v v8,(t2),t1/*-1*/ | 17.00 | 16.60 | 16.60 | 16.40 | 33.60 | |||||||||||||||||||||||
| vssseg4e64.v v8,(t2),t1/*-1*/,v0.t | 16.20 | 16.50 | 16.90 | 16.90 | 33.40 | |||||||||||||||||||||||
| vlsseg5e8.v v8,(t2),t3 | 20.00 | 40.00 | 80.00 | 159.28 | 20.00 | 40.00 | 80.00 | 20.00 | 40.00 | 20.00 | ||||||||||||||||||
| vlsseg5e8.v v8,(t2),t3,v0.t | 20.00 | 40.00 | 80.00 | 159.27 | 20.00 | 40.00 | 80.00 | 20.00 | 40.00 | 20.00 | ||||||||||||||||||
| vlsseg5e8.v v8,(t2),x0 | 20.00 | 40.00 | 80.00 | 159.20 | 20.00 | 40.00 | 80.00 | 20.00 | 40.00 | 20.00 | ||||||||||||||||||
| vlsseg5e8.v v8,(t2),x0,v0.t | 20.00 | 40.00 | 80.00 | 159.20 | 20.00 | 40.00 | 80.00 | 20.00 | 40.00 | 20.00 | ||||||||||||||||||
| vlsseg5e8.v v8,(t2),t1/*-1*/ | 20.00 | 40.00 | 80.00 | 159.20 | 20.00 | 40.00 | 80.00 | 20.00 | 40.00 | 20.00 | ||||||||||||||||||
| vlsseg5e8.v v8,(t2),t1/*-1*/,v0.t | 20.00 | 40.00 | 80.00 | 159.20 | 20.00 | 40.00 | 80.00 | 20.00 | 40.00 | 20.00 | ||||||||||||||||||
| vlsseg5e16.v v8,(t2),t3 | 20.00 | 40.00 | 79.34 | 20.00 | 40.00 | 79.26 | 20.00 | 40.00 | 20.00 | |||||||||||||||||||
| vlsseg5e16.v v8,(t2),t3,v0.t | 20.00 | 40.00 | 79.25 | 20.00 | 40.00 | 79.25 | 20.00 | 40.00 | 20.00 | |||||||||||||||||||
| vlsseg5e16.v v8,(t2),x0 | 20.00 | 40.00 | 79.20 | 20.00 | 40.00 | 79.20 | 20.00 | 40.00 | 20.00 | |||||||||||||||||||
| vlsseg5e16.v v8,(t2),x0,v0.t | 20.00 | 40.00 | 79.20 | 20.00 | 40.00 | 79.20 | 20.00 | 40.00 | 20.00 | |||||||||||||||||||
| vlsseg5e16.v v8,(t2),t1/*-1*/ | 20.00 | 40.00 | 79.20 | 20.00 | 40.00 | 79.23 | 20.00 | 40.00 | 20.00 | |||||||||||||||||||
| vlsseg5e16.v v8,(t2),t1/*-1*/,v0.t | 20.00 | 40.00 | 79.21 | 20.00 | 40.00 | 79.22 | 20.00 | 40.00 | 20.00 | |||||||||||||||||||
| vlsseg5e32.v v8,(t2),t3 | 20.00 | 39.42 | 20.00 | 39.47 | 20.00 | 39.38 | 20.00 | |||||||||||||||||||||
| vlsseg5e32.v v8,(t2),t3,v0.t | 20.00 | 39.44 | 20.00 | 39.40 | 20.00 | 39.47 | 20.00 | |||||||||||||||||||||
| vlsseg5e32.v v8,(t2),x0 | 20.00 | 39.20 | 20.00 | 39.20 | 20.00 | 39.20 | 20.00 | |||||||||||||||||||||
| vlsseg5e32.v v8,(t2),x0,v0.t | 20.00 | 39.20 | 20.00 | 39.20 | 20.00 | 39.20 | 20.00 | |||||||||||||||||||||
| vlsseg5e32.v v8,(t2),t1/*-1*/ | 20.00 | 39.47 | 20.00 | 39.41 | 20.00 | 39.51 | 20.00 | |||||||||||||||||||||
| vlsseg5e32.v v8,(t2),t1/*-1*/,v0.t | 20.00 | 39.39 | 20.00 | 39.49 | 20.00 | 39.46 | 20.00 | |||||||||||||||||||||
| vlsseg5e64.v v8,(t2),t3 | 19.37 | 19.37 | 19.37 | 19.37 | ||||||||||||||||||||||||
| vlsseg5e64.v v8,(t2),t3,v0.t | 19.37 | 19.37 | 19.37 | 19.37 | ||||||||||||||||||||||||
| vlsseg5e64.v v8,(t2),x0 | 19.47 | 19.47 | 19.49 | 19.47 | ||||||||||||||||||||||||
| vlsseg5e64.v v8,(t2),x0,v0.t | 19.47 | 19.48 | 19.48 | 19.48 | ||||||||||||||||||||||||
| vlsseg5e64.v v8,(t2),t1/*-1*/ | 19.37 | 19.37 | 19.37 | 19.37 | ||||||||||||||||||||||||
| vlsseg5e64.v v8,(t2),t1/*-1*/,v0.t | 19.37 | 19.37 | 19.37 | 19.37 | ||||||||||||||||||||||||
| vssseg5e8.v v8,(t2),t3 | 20.00 | 40.00 | 80.00 | 160.34 | 20.00 | 40.00 | 80.00 | 20.00 | 40.00 | 20.00 | ||||||||||||||||||
| vssseg5e8.v v8,(t2),t3,v0.t | 20.00 | 40.00 | 80.00 | 160.00 | 20.00 | 40.00 | 80.00 | 20.00 | 40.00 | 20.00 | ||||||||||||||||||
| vssseg5e8.v v8,(t2),x0 | 20.00 | 40.00 | 80.00 | 160.00 | 20.00 | 40.00 | 80.00 | 20.00 | 40.00 | 20.00 | ||||||||||||||||||
| vssseg5e8.v v8,(t2),x0,v0.t | 20.00 | 40.00 | 80.00 | 160.00 | 20.00 | 40.00 | 80.00 | 20.00 | 40.00 | 20.00 | ||||||||||||||||||
| vssseg5e8.v v8,(t2),t1/*-1*/ | 20.00 | 40.00 | 80.00 | 160.00 | 20.00 | 40.00 | 80.00 | 20.00 | 40.00 | 20.00 | ||||||||||||||||||
| vssseg5e8.v v8,(t2),t1/*-1*/,v0.t | 20.00 | 40.00 | 80.00 | 160.00 | 20.00 | 40.00 | 80.00 | 20.00 | 40.00 | 20.00 | ||||||||||||||||||
| vssseg5e16.v v8,(t2),t3 | 20.00 | 40.00 | 80.00 | 20.00 | 40.00 | 80.79 | 20.00 | 40.00 | 20.00 | |||||||||||||||||||
| vssseg5e16.v v8,(t2),t3,v0.t | 20.00 | 40.00 | 80.00 | 20.00 | 40.00 | 80.05 | 20.00 | 40.00 | 20.00 | |||||||||||||||||||
| vssseg5e16.v v8,(t2),x0 | 20.00 | 40.00 | 80.00 | 20.00 | 40.00 | 80.00 | 20.00 | 40.00 | 20.00 | |||||||||||||||||||
| vssseg5e16.v v8,(t2),x0,v0.t | 20.00 | 40.00 | 80.00 | 20.00 | 40.00 | 80.00 | 20.00 | 40.00 | 20.00 | |||||||||||||||||||
| vssseg5e16.v v8,(t2),t1/*-1*/ | 20.00 | 40.00 | 80.00 | 20.00 | 40.00 | 80.00 | 20.00 | 40.00 | 20.00 | |||||||||||||||||||
| vssseg5e16.v v8,(t2),t1/*-1*/,v0.t | 20.00 | 40.00 | 80.00 | 20.00 | 40.00 | 80.00 | 20.00 | 40.00 | 20.00 | |||||||||||||||||||
| vssseg5e32.v v8,(t2),t3 | 20.00 | 40.00 | 20.00 | 40.00 | 20.00 | 40.00 | 20.00 | |||||||||||||||||||||
| vssseg5e32.v v8,(t2),t3,v0.t | 20.00 | 40.01 | 20.00 | 40.00 | 20.00 | 40.00 | 20.00 | |||||||||||||||||||||
| vssseg5e32.v v8,(t2),x0 | 20.00 | 40.00 | 20.00 | 40.00 | 20.00 | 40.00 | 20.00 | |||||||||||||||||||||
| vssseg5e32.v v8,(t2),x0,v0.t | 20.00 | 40.00 | 20.00 | 40.00 | 20.00 | 40.00 | 20.00 | |||||||||||||||||||||
| vssseg5e32.v v8,(t2),t1/*-1*/ | 20.00 | 40.00 | 20.00 | 40.00 | 20.00 | 40.00 | 20.00 | |||||||||||||||||||||
| vssseg5e32.v v8,(t2),t1/*-1*/,v0.t | 20.00 | 40.00 | 20.00 | 40.00 | 20.00 | 40.00 | 20.00 | |||||||||||||||||||||
| vssseg5e64.v v8,(t2),t3 | 20.00 | 20.17 | 20.00 | 20.55 | ||||||||||||||||||||||||
| vssseg5e64.v v8,(t2),t3,v0.t | 20.18 | 21.67 | 21.00 | 20.17 | ||||||||||||||||||||||||
| vssseg5e64.v v8,(t2),x0 | 20.00 | 20.00 | 20.00 | 20.00 | ||||||||||||||||||||||||
| vssseg5e64.v v8,(t2),x0,v0.t | 20.00 | 20.00 | 20.00 | 20.00 | ||||||||||||||||||||||||
| vssseg5e64.v v8,(t2),t1/*-1*/ | 20.00 | 20.00 | 20.00 | 20.00 | ||||||||||||||||||||||||
| vssseg5e64.v v8,(t2),t1/*-1*/,v0.t | 20.00 | 20.00 | 20.00 | 20.00 | ||||||||||||||||||||||||
| vlsseg6e8.v v8,(t2),t3 | 24.37 | 48.37 | 96.37 | 191.14 | 24.37 | 48.37 | 96.37 | 24.37 | 48.37 | 24.37 | ||||||||||||||||||
| vlsseg6e8.v v8,(t2),t3,v0.t | 24.37 | 48.37 | 96.37 | 191.17 | 24.37 | 48.37 | 96.37 | 24.37 | 48.37 | 24.37 | ||||||||||||||||||
| vlsseg6e8.v v8,(t2),x0 | 24.37 | 48.37 | 96.37 | 191.37 | 24.37 | 48.37 | 96.37 | 24.37 | 48.37 | 24.37 | ||||||||||||||||||
| vlsseg6e8.v v8,(t2),x0,v0.t | 24.37 | 48.37 | 96.37 | 191.37 | 24.37 | 48.37 | 96.37 | 24.37 | 48.37 | 24.37 | ||||||||||||||||||
| vlsseg6e8.v v8,(t2),t1/*-1*/ | 24.37 | 48.37 | 96.37 | 191.12 | 24.37 | 48.37 | 96.37 | 24.37 | 48.37 | 24.37 | ||||||||||||||||||
| vlsseg6e8.v v8,(t2),t1/*-1*/,v0.t | 24.37 | 48.37 | 96.37 | 191.12 | 24.37 | 48.37 | 96.37 | 24.37 | 48.37 | 24.37 | ||||||||||||||||||
| vlsseg6e16.v v8,(t2),t3 | 24.37 | 48.37 | 95.21 | 24.37 | 48.37 | 95.17 | 24.37 | 48.37 | 24.37 | |||||||||||||||||||
| vlsseg6e16.v v8,(t2),t3,v0.t | 24.37 | 48.37 | 95.16 | 24.37 | 48.37 | 95.17 | 24.37 | 48.37 | 24.37 | |||||||||||||||||||
| vlsseg6e16.v v8,(t2),x0 | 24.37 | 48.37 | 95.25 | 24.37 | 48.37 | 95.25 | 24.37 | 48.37 | 24.37 | |||||||||||||||||||
| vlsseg6e16.v v8,(t2),x0,v0.t | 24.37 | 48.37 | 95.25 | 24.37 | 48.37 | 95.25 | 24.37 | 48.37 | 24.37 | |||||||||||||||||||
| vlsseg6e16.v v8,(t2),t1/*-1*/ | 24.37 | 48.37 | 95.15 | 24.37 | 48.37 | 95.16 | 24.37 | 48.37 | 24.37 | |||||||||||||||||||
| vlsseg6e16.v v8,(t2),t1/*-1*/,v0.t | 24.37 | 48.37 | 95.15 | 24.37 | 48.37 | 95.16 | 24.37 | 48.37 | 24.37 | |||||||||||||||||||
| vlsseg6e32.v v8,(t2),t3 | 24.37 | 47.20 | 24.37 | 47.26 | 24.37 | 47.25 | 24.37 | |||||||||||||||||||||
| vlsseg6e32.v v8,(t2),t3,v0.t | 24.37 | 47.23 | 24.37 | 47.25 | 24.37 | 47.26 | 24.37 | |||||||||||||||||||||
| vlsseg6e32.v v8,(t2),x0 | 24.37 | 47.50 | 24.37 | 47.50 | 24.37 | 47.50 | 24.37 | |||||||||||||||||||||
| vlsseg6e32.v v8,(t2),x0,v0.t | 24.37 | 47.50 | 24.37 | 47.50 | 24.37 | 47.50 | 24.37 | |||||||||||||||||||||
| vlsseg6e32.v v8,(t2),t1/*-1*/ | 24.37 | 47.31 | 24.37 | 47.32 | 24.37 | 47.28 | 24.37 | |||||||||||||||||||||
| vlsseg6e32.v v8,(t2),t1/*-1*/,v0.t | 24.37 | 47.28 | 24.37 | 47.29 | 24.37 | 47.31 | 24.37 | |||||||||||||||||||||
| vlsseg6e64.v v8,(t2),t3 | 23.25 | 23.21 | 23.19 | 23.18 | ||||||||||||||||||||||||
| vlsseg6e64.v v8,(t2),t3,v0.t | 23.20 | 23.23 | 23.21 | 23.23 | ||||||||||||||||||||||||
| vlsseg6e64.v v8,(t2),x0 | 23.50 | 23.50 | 23.50 | 23.50 | ||||||||||||||||||||||||
| vlsseg6e64.v v8,(t2),x0,v0.t | 23.50 | 23.50 | 23.50 | 23.50 | ||||||||||||||||||||||||
| vlsseg6e64.v v8,(t2),t1/*-1*/ | 23.15 | 23.22 | 23.19 | 23.18 | ||||||||||||||||||||||||
| vlsseg6e64.v v8,(t2),t1/*-1*/,v0.t | 23.21 | 23.19 | 23.20 | 23.20 | ||||||||||||||||||||||||
| vssseg6e8.v v8,(t2),t3 | 24.00 | 48.00 | 96.00 | 192.40 | 24.00 | 48.00 | 96.00 | 24.00 | 48.00 | 24.00 | ||||||||||||||||||
| vssseg6e8.v v8,(t2),t3,v0.t | 24.00 | 48.00 | 96.00 | 192.07 | 24.00 | 48.00 | 96.00 | 24.00 | 48.00 | 24.00 | ||||||||||||||||||
| vssseg6e8.v v8,(t2),x0 | 24.00 | 48.00 | 96.00 | 192.00 | 24.00 | 48.00 | 96.00 | 24.00 | 48.00 | 24.00 | ||||||||||||||||||
| vssseg6e8.v v8,(t2),x0,v0.t | 24.00 | 48.00 | 96.00 | 192.00 | 24.00 | 48.00 | 96.00 | 24.00 | 48.00 | 24.00 | ||||||||||||||||||
| vssseg6e8.v v8,(t2),t1/*-1*/ | 24.00 | 48.00 | 96.00 | 192.00 | 24.00 | 48.00 | 96.00 | 24.00 | 48.00 | 24.00 | ||||||||||||||||||
| vssseg6e8.v v8,(t2),t1/*-1*/,v0.t | 24.00 | 48.00 | 96.00 | 192.00 | 24.00 | 48.00 | 96.00 | 24.00 | 48.00 | 24.04 | ||||||||||||||||||
| vssseg6e16.v v8,(t2),t3 | 24.00 | 48.00 | 96.42 | 24.00 | 48.00 | 96.63 | 24.00 | 48.00 | 24.00 | |||||||||||||||||||
| vssseg6e16.v v8,(t2),t3,v0.t | 24.00 | 48.00 | 96.02 | 24.00 | 48.00 | 96.00 | 24.00 | 48.00 | 24.00 | |||||||||||||||||||
| vssseg6e16.v v8,(t2),x0 | 24.00 | 48.00 | 96.00 | 24.00 | 48.00 | 96.00 | 24.00 | 48.00 | 24.00 | |||||||||||||||||||
| vssseg6e16.v v8,(t2),x0,v0.t | 24.00 | 48.00 | 96.00 | 24.00 | 48.00 | 96.00 | 24.00 | 48.00 | 24.00 | |||||||||||||||||||
| vssseg6e16.v v8,(t2),t1/*-1*/ | 24.00 | 48.00 | 96.00 | 24.00 | 48.00 | 96.00 | 24.00 | 48.00 | 24.00 | |||||||||||||||||||
| vssseg6e16.v v8,(t2),t1/*-1*/,v0.t | 24.00 | 48.00 | 96.00 | 24.00 | 48.00 | 96.00 | 24.00 | 48.00 | 24.00 | |||||||||||||||||||
| vssseg6e32.v v8,(t2),t3 | 24.00 | 48.09 | 24.00 | 48.42 | 24.00 | 50.13 | 24.00 | |||||||||||||||||||||
| vssseg6e32.v v8,(t2),t3,v0.t | 24.00 | 48.87 | 24.00 | 48.19 | 24.00 | 48.22 | 24.00 | |||||||||||||||||||||
| vssseg6e32.v v8,(t2),x0 | 24.00 | 48.00 | 24.00 | 48.00 | 24.00 | 48.00 | 24.00 | |||||||||||||||||||||
| vssseg6e32.v v8,(t2),x0,v0.t | 24.00 | 48.00 | 24.00 | 48.00 | 24.00 | 48.00 | 24.00 | |||||||||||||||||||||
| vssseg6e32.v v8,(t2),t1/*-1*/ | 24.00 | 48.00 | 24.00 | 48.00 | 24.00 | 48.00 | 24.00 | |||||||||||||||||||||
| vssseg6e32.v v8,(t2),t1/*-1*/,v0.t | 24.00 | 48.00 | 24.00 | 48.00 | 24.00 | 48.00 | 24.00 | |||||||||||||||||||||
| vssseg6e64.v v8,(t2),t3 | 26.53 | 24.77 | 24.60 | 24.55 | ||||||||||||||||||||||||
| vssseg6e64.v v8,(t2),t3,v0.t | 24.21 | 24.70 | 24.53 | 24.25 | ||||||||||||||||||||||||
| vssseg6e64.v v8,(t2),x0 | 24.00 | 24.00 | 24.00 | 24.00 | ||||||||||||||||||||||||
| vssseg6e64.v v8,(t2),x0,v0.t | 24.00 | 24.00 | 24.00 | 24.00 | ||||||||||||||||||||||||
| vssseg6e64.v v8,(t2),t1/*-1*/ | 24.00 | 24.00 | 24.00 | 24.00 | ||||||||||||||||||||||||
| vssseg6e64.v v8,(t2),t1/*-1*/,v0.t | 24.05 | 24.00 | 24.00 | 24.00 | ||||||||||||||||||||||||
| vlsseg7e8.v v8,(t2),t3 | 28.25 | 56.25 | 112.25 | 223.12 | 28.25 | 56.25 | 112.25 | 28.25 | 56.25 | 28.25 | ||||||||||||||||||
| vlsseg7e8.v v8,(t2),t3,v0.t | 28.25 | 56.25 | 112.25 | 223.12 | 28.25 | 56.25 | 112.25 | 28.25 | 56.25 | 28.25 | ||||||||||||||||||
| vlsseg7e8.v v8,(t2),x0 | 28.25 | 56.25 | 112.25 | 223.00 | 28.25 | 56.25 | 112.25 | 28.25 | 56.25 | 28.25 | ||||||||||||||||||
| vlsseg7e8.v v8,(t2),x0,v0.t | 28.25 | 56.25 | 112.25 | 223.00 | 28.25 | 56.25 | 112.25 | 28.25 | 56.25 | 28.25 | ||||||||||||||||||
| vlsseg7e8.v v8,(t2),t1/*-1*/ | 28.25 | 56.25 | 112.25 | 223.13 | 28.25 | 56.25 | 112.25 | 28.25 | 56.25 | 28.25 | ||||||||||||||||||
| vlsseg7e8.v v8,(t2),t1/*-1*/,v0.t | 28.25 | 56.25 | 112.25 | 223.15 | 28.25 | 56.25 | 112.25 | 28.25 | 56.25 | 28.25 | ||||||||||||||||||
| vlsseg7e16.v v8,(t2),t3 | 28.25 | 56.25 | 111.12 | 28.25 | 56.25 | 111.12 | 28.25 | 56.25 | 28.25 | |||||||||||||||||||
| vlsseg7e16.v v8,(t2),t3,v0.t | 28.25 | 56.25 | 111.12 | 28.25 | 56.25 | 111.12 | 28.25 | 56.25 | 28.25 | |||||||||||||||||||
| vlsseg7e16.v v8,(t2),x0 | 28.25 | 56.25 | 111.37 | 28.25 | 56.25 | 111.37 | 28.25 | 56.25 | 28.25 | |||||||||||||||||||
| vlsseg7e16.v v8,(t2),x0,v0.t | 28.25 | 56.25 | 111.37 | 28.25 | 56.25 | 111.37 | 28.25 | 56.25 | 28.25 | |||||||||||||||||||
| vlsseg7e16.v v8,(t2),t1/*-1*/ | 28.25 | 56.25 | 111.12 | 28.25 | 56.25 | 111.12 | 28.25 | 56.25 | 28.25 | |||||||||||||||||||
| vlsseg7e16.v v8,(t2),t1/*-1*/,v0.t | 28.25 | 56.25 | 111.11 | 28.25 | 56.25 | 111.12 | 28.25 | 56.25 | 28.25 | |||||||||||||||||||
| vlsseg7e32.v v8,(t2),t3 | 28.25 | 55.22 | 28.25 | 55.23 | 28.25 | 55.18 | 28.25 | |||||||||||||||||||||
| vlsseg7e32.v v8,(t2),t3,v0.t | 28.25 | 55.23 | 28.25 | 55.25 | 28.25 | 55.20 | 28.25 | |||||||||||||||||||||
| vlsseg7e32.v v8,(t2),x0 | 28.25 | 55.25 | 28.25 | 55.25 | 28.25 | 55.28 | 28.25 | |||||||||||||||||||||
| vlsseg7e32.v v8,(t2),x0,v0.t | 28.25 | 55.27 | 28.25 | 55.27 | 28.25 | 55.25 | 28.25 | |||||||||||||||||||||
| vlsseg7e32.v v8,(t2),t1/*-1*/ | 28.25 | 55.08 | 28.25 | 55.05 | 28.25 | 55.11 | 28.25 | |||||||||||||||||||||
| vlsseg7e32.v v8,(t2),t1/*-1*/,v0.t | 28.25 | 55.08 | 28.25 | 55.10 | 28.25 | 54.99 | 28.25 | |||||||||||||||||||||
| vlsseg7e64.v v8,(t2),t3 | 27.18 | 27.22 | 27.20 | 27.12 | ||||||||||||||||||||||||
| vlsseg7e64.v v8,(t2),t3,v0.t | 27.18 | 27.15 | 27.18 | 27.13 | ||||||||||||||||||||||||
| vlsseg7e64.v v8,(t2),x0 | 27.21 | 27.21 | 27.20 | 27.23 | ||||||||||||||||||||||||
| vlsseg7e64.v v8,(t2),x0,v0.t | 27.20 | 27.19 | 27.23 | 27.20 | ||||||||||||||||||||||||
| vlsseg7e64.v v8,(t2),t1/*-1*/ | 27.08 | 27.05 | 27.11 | 27.02 | ||||||||||||||||||||||||
| vlsseg7e64.v v8,(t2),t1/*-1*/,v0.t | 27.05 | 27.02 | 27.10 | 27.03 | ||||||||||||||||||||||||
| vssseg7e8.v v8,(t2),t3 | 28.00 | 56.00 | 112.00 | 224.00 | 28.00 | 56.00 | 112.00 | 28.00 | 56.00 | 28.00 | ||||||||||||||||||
| vssseg7e8.v v8,(t2),t3,v0.t | 28.00 | 56.00 | 112.00 | 224.21 | 28.00 | 56.00 | 112.00 | 28.00 | 56.00 | 28.00 | ||||||||||||||||||
| vssseg7e8.v v8,(t2),x0 | 28.00 | 56.00 | 112.00 | 224.00 | 28.00 | 56.00 | 112.00 | 28.00 | 56.00 | 28.00 | ||||||||||||||||||
| vssseg7e8.v v8,(t2),x0,v0.t | 28.00 | 56.00 | 112.00 | 224.00 | 28.00 | 56.00 | 112.00 | 28.00 | 56.00 | 28.00 | ||||||||||||||||||
| vssseg7e8.v v8,(t2),t1/*-1*/ | 28.00 | 56.00 | 112.00 | 224.00 | 28.00 | 56.00 | 112.00 | 28.00 | 56.00 | 28.00 | ||||||||||||||||||
| vssseg7e8.v v8,(t2),t1/*-1*/,v0.t | 28.00 | 56.00 | 112.00 | 224.00 | 28.00 | 56.00 | 112.00 | 28.00 | 56.00 | 28.00 | ||||||||||||||||||
| vssseg7e16.v v8,(t2),t3 | 28.00 | 56.00 | 112.71 | 28.00 | 56.00 | 113.35 | 28.00 | 56.00 | 28.00 | |||||||||||||||||||
| vssseg7e16.v v8,(t2),t3,v0.t | 28.00 | 56.00 | 112.70 | 28.00 | 56.00 | 112.17 | 28.00 | 56.00 | 28.00 | |||||||||||||||||||
| vssseg7e16.v v8,(t2),x0 | 28.00 | 56.00 | 112.00 | 28.00 | 56.00 | 112.00 | 28.00 | 56.00 | 28.00 | |||||||||||||||||||
| vssseg7e16.v v8,(t2),x0,v0.t | 28.00 | 56.00 | 112.00 | 28.00 | 56.00 | 112.00 | 28.00 | 56.00 | 28.00 | |||||||||||||||||||
| vssseg7e16.v v8,(t2),t1/*-1*/ | 28.00 | 56.00 | 112.00 | 28.00 | 56.00 | 112.00 | 28.00 | 56.00 | 28.00 | |||||||||||||||||||
| vssseg7e16.v v8,(t2),t1/*-1*/,v0.t | 28.00 | 56.00 | 112.00 | 28.00 | 56.00 | 112.00 | 28.00 | 56.00 | 28.00 | |||||||||||||||||||
| vssseg7e32.v v8,(t2),t3 | 28.00 | 56.00 | 28.00 | 57.63 | 28.00 | 57.96 | 28.00 | |||||||||||||||||||||
| vssseg7e32.v v8,(t2),t3,v0.t | 28.45 | 56.86 | 28.00 | 57.89 | 28.00 | 57.01 | 28.00 | |||||||||||||||||||||
| vssseg7e32.v v8,(t2),x0 | 28.00 | 56.00 | 28.00 | 56.00 | 28.00 | 56.00 | 28.00 | |||||||||||||||||||||
| vssseg7e32.v v8,(t2),x0,v0.t | 28.00 | 56.00 | 28.00 | 56.00 | 28.00 | 56.00 | 28.00 | |||||||||||||||||||||
| vssseg7e32.v v8,(t2),t1/*-1*/ | 28.00 | 56.00 | 28.00 | 56.00 | 28.00 | 56.00 | 28.00 | |||||||||||||||||||||
| vssseg7e32.v v8,(t2),t1/*-1*/,v0.t | 28.00 | 56.00 | 28.00 | 56.00 | 28.00 | 56.00 | 28.08 | |||||||||||||||||||||
| vssseg7e64.v v8,(t2),t3 | 29.00 | 28.70 | 29.62 | 28.41 | ||||||||||||||||||||||||
| vssseg7e64.v v8,(t2),t3,v0.t | 28.78 | 29.14 | 28.45 | 28.14 | ||||||||||||||||||||||||
| vssseg7e64.v v8,(t2),x0 | 28.00 | 28.00 | 28.00 | 28.00 | ||||||||||||||||||||||||
| vssseg7e64.v v8,(t2),x0,v0.t | 28.00 | 28.00 | 28.00 | 28.00 | ||||||||||||||||||||||||
| vssseg7e64.v v8,(t2),t1/*-1*/ | 28.16 | 28.00 | 28.00 | 28.00 | ||||||||||||||||||||||||
| vssseg7e64.v v8,(t2),t1/*-1*/,v0.t | 29.13 | 28.00 | 28.00 | 28.00 | ||||||||||||||||||||||||
| vlsseg8e8.v v8,(t2),t3 | 32.15 | 64.22 | 128.15 | 255.12 | 32.15 | 64.23 | 128.13 | 32.15 | 64.22 | 32.15 | ||||||||||||||||||
| vlsseg8e8.v v8,(t2),t3,v0.t | 32.15 | 64.25 | 128.13 | 255.12 | 32.15 | 64.19 | 128.14 | 32.15 | 64.23 | 32.15 | ||||||||||||||||||
| vlsseg8e8.v v8,(t2),x0 | 32.15 | 64.25 | 128.12 | 255.25 | 32.15 | 64.25 | 128.12 | 32.15 | 64.25 | 32.15 | ||||||||||||||||||
| vlsseg8e8.v v8,(t2),x0,v0.t | 32.15 | 64.25 | 128.12 | 255.25 | 32.15 | 64.25 | 128.12 | 32.15 | 64.25 | 32.15 | ||||||||||||||||||
| vlsseg8e8.v v8,(t2),t1/*-1*/ | 32.15 | 64.25 | 128.12 | 255.14 | 32.15 | 64.25 | 128.12 | 32.15 | 64.25 | 32.15 | ||||||||||||||||||
| vlsseg8e8.v v8,(t2),t1/*-1*/,v0.t | 32.15 | 64.25 | 128.12 | 255.13 | 32.15 | 64.25 | 128.12 | 32.15 | 64.25 | 32.15 | ||||||||||||||||||
| vlsseg8e16.v v8,(t2),t3 | 32.14 | 64.12 | 127.12 | 32.14 | 64.12 | 127.12 | 32.14 | 64.13 | 32.14 | |||||||||||||||||||
| vlsseg8e16.v v8,(t2),t3,v0.t | 32.14 | 64.14 | 127.12 | 32.14 | 64.12 | 127.12 | 32.14 | 64.14 | 32.14 | |||||||||||||||||||
| vlsseg8e16.v v8,(t2),x0 | 32.15 | 64.25 | 127.18 | 32.15 | 64.25 | 127.18 | 32.15 | 64.25 | 32.15 | |||||||||||||||||||
| vlsseg8e16.v v8,(t2),x0,v0.t | 32.15 | 64.25 | 127.18 | 32.15 | 64.25 | 127.18 | 32.15 | 64.25 | 32.15 | |||||||||||||||||||
| vlsseg8e16.v v8,(t2),t1/*-1*/ | 32.15 | 64.23 | 127.18 | 32.15 | 64.23 | 127.18 | 32.15 | 64.23 | 32.15 | |||||||||||||||||||
| vlsseg8e16.v v8,(t2),t1/*-1*/,v0.t | 32.15 | 64.22 | 127.18 | 32.15 | 64.22 | 127.18 | 32.15 | 64.24 | 32.15 | |||||||||||||||||||
| vlsseg8e32.v v8,(t2),t3 | 32.14 | 63.12 | 32.12 | 63.12 | 32.13 | 63.12 | 32.12 | |||||||||||||||||||||
| vlsseg8e32.v v8,(t2),t3,v0.t | 32.13 | 63.12 | 32.12 | 63.12 | 32.15 | 63.12 | 32.12 | |||||||||||||||||||||
| vlsseg8e32.v v8,(t2),x0 | 32.14 | 63.19 | 32.14 | 63.16 | 32.14 | 63.18 | 32.14 | |||||||||||||||||||||
| vlsseg8e32.v v8,(t2),x0,v0.t | 32.14 | 63.18 | 32.15 | 63.17 | 32.15 | 63.17 | 32.14 | |||||||||||||||||||||
| vlsseg8e32.v v8,(t2),t1/*-1*/ | 32.13 | 63.14 | 32.12 | 63.14 | 32.12 | 63.13 | 32.12 | |||||||||||||||||||||
| vlsseg8e32.v v8,(t2),t1/*-1*/,v0.t | 32.13 | 63.14 | 32.12 | 63.13 | 32.12 | 63.13 | 32.12 | |||||||||||||||||||||
| vlsseg8e64.v v8,(t2),t3 | 31.15 | 31.13 | 31.14 | 31.15 | ||||||||||||||||||||||||
| vlsseg8e64.v v8,(t2),t3,v0.t | 31.14 | 31.14 | 31.13 | 31.14 | ||||||||||||||||||||||||
| vlsseg8e64.v v8,(t2),x0 | 31.13 | 31.13 | 31.13 | 31.13 | ||||||||||||||||||||||||
| vlsseg8e64.v v8,(t2),x0,v0.t | 31.13 | 31.13 | 31.13 | 31.13 | ||||||||||||||||||||||||
| vlsseg8e64.v v8,(t2),t1/*-1*/ | 31.22 | 31.19 | 31.18 | 31.18 | ||||||||||||||||||||||||
| vlsseg8e64.v v8,(t2),t1/*-1*/,v0.t | 31.18 | 31.18 | 31.18 | 31.15 | ||||||||||||||||||||||||
| vssseg8e8.v v8,(t2),t3 | 32.00 | 64.00 | 128.00 | 256.00 | 32.00 | 64.00 | 128.00 | 32.00 | 64.00 | 32.00 | ||||||||||||||||||
| vssseg8e8.v v8,(t2),t3,v0.t | 32.00 | 64.00 | 128.00 | 256.00 | 32.00 | 64.00 | 128.00 | 32.00 | 64.00 | 32.00 | ||||||||||||||||||
| vssseg8e8.v v8,(t2),x0 | 32.00 | 64.00 | 128.00 | 256.00 | 32.00 | 64.00 | 128.00 | 32.00 | 64.00 | 32.00 | ||||||||||||||||||
| vssseg8e8.v v8,(t2),x0,v0.t | 32.00 | 64.00 | 128.00 | 256.00 | 32.00 | 64.00 | 128.00 | 32.00 | 64.00 | 32.00 | ||||||||||||||||||
| vssseg8e8.v v8,(t2),t1/*-1*/ | 32.00 | 64.00 | 128.00 | 256.01 | 32.00 | 64.00 | 128.00 | 32.04 | 64.00 | 32.00 | ||||||||||||||||||
| vssseg8e8.v v8,(t2),t1/*-1*/,v0.t | 32.00 | 64.00 | 128.00 | 256.00 | 32.00 | 64.00 | 128.00 | 32.00 | 64.00 | 32.00 | ||||||||||||||||||
| vssseg8e16.v v8,(t2),t3 | 32.00 | 64.00 | 128.25 | 32.00 | 64.00 | 128.26 | 32.00 | 64.00 | 32.00 | |||||||||||||||||||
| vssseg8e16.v v8,(t2),t3,v0.t | 32.00 | 64.40 | 128.00 | 32.17 | 64.00 | 128.07 | 32.00 | 64.00 | 32.00 | |||||||||||||||||||
| vssseg8e16.v v8,(t2),x0 | 32.00 | 64.00 | 128.00 | 32.00 | 64.00 | 128.00 | 32.00 | 64.00 | 32.00 | |||||||||||||||||||
| vssseg8e16.v v8,(t2),x0,v0.t | 32.00 | 64.00 | 128.00 | 32.00 | 64.00 | 128.00 | 32.00 | 64.00 | 32.00 | |||||||||||||||||||
| vssseg8e16.v v8,(t2),t1/*-1*/ | 32.00 | 64.00 | 128.00 | 32.00 | 64.00 | 128.00 | 32.00 | 64.00 | 32.00 | |||||||||||||||||||
| vssseg8e16.v v8,(t2),t1/*-1*/,v0.t | 32.00 | 64.00 | 128.00 | 32.00 | 64.00 | 128.00 | 32.00 | 64.00 | 32.00 | |||||||||||||||||||
| vssseg8e32.v v8,(t2),t3 | 32.49 | 65.21 | 32.00 | 64.45 | 32.00 | 64.23 | 32.00 | |||||||||||||||||||||
| vssseg8e32.v v8,(t2),t3,v0.t | 32.00 | 64.00 | 32.38 | 64.56 | 32.00 | 64.63 | 32.00 | |||||||||||||||||||||
| vssseg8e32.v v8,(t2),x0 | 32.00 | 64.00 | 32.00 | 64.00 | 32.00 | 64.00 | 32.00 | |||||||||||||||||||||
| vssseg8e32.v v8,(t2),x0,v0.t | 32.00 | 64.00 | 32.00 | 64.00 | 32.00 | 64.00 | 32.00 | |||||||||||||||||||||
| vssseg8e32.v v8,(t2),t1/*-1*/ | 32.00 | 64.00 | 32.20 | 64.00 | 32.00 | 64.00 | 32.00 | |||||||||||||||||||||
| vssseg8e32.v v8,(t2),t1/*-1*/,v0.t | 32.00 | 64.00 | 32.00 | 64.00 | 32.00 | 64.00 | 32.00 | |||||||||||||||||||||
| vssseg8e64.v v8,(t2),t3 | 34.80 | 34.89 | 34.74 | 34.83 | ||||||||||||||||||||||||
| vssseg8e64.v v8,(t2),t3,v0.t | 35.63 | 36.03 | 34.49 | 34.69 | ||||||||||||||||||||||||
| vssseg8e64.v v8,(t2),x0 | 32.18 | 33.40 | 33.60 | 32.00 | ||||||||||||||||||||||||
| vssseg8e64.v v8,(t2),x0,v0.t | 34.56 | 32.63 | 32.71 | 35.19 | ||||||||||||||||||||||||
| vssseg8e64.v v8,(t2),t1/*-1*/ | 32.39 | 33.83 | 32.69 | 32.00 | ||||||||||||||||||||||||
| vssseg8e64.v v8,(t2),t1/*-1*/,v0.t | 34.07 | 33.24 | 33.95 | 33.96 | ||||||||||||||||||||||||
| vandn.vv v8,v16,v24 | 1.00 | 1.00 | 1.00 | 1.00 | 2.00 | 4.00 | 8.00 | 1.00 | 1.00 | 1.00 | 2.00 | 4.00 | 8.00 | 1.00 | 1.00 | 2.00 | 4.00 | 8.00 | 1.00 | 2.00 | 4.00 | 8.00 | ||||||
| vandn.vv v8,v16,v24,v0.t | 1.00 | 1.00 | 1.00 | 1.00 | 2.00 | 4.00 | 8.00 | 1.00 | 1.00 | 1.00 | 2.00 | 4.00 | 8.00 | 1.00 | 1.00 | 2.00 | 4.00 | 8.00 | 1.00 | 2.00 | 4.00 | 8.00 | ||||||
| vandn.vx v8,v16,t0 | 1.06 | 1.06 | 1.06 | 1.06 | 2.00 | 4.00 | 8.00 | 1.06 | 1.06 | 1.06 | 2.00 | 4.00 | 8.00 | 1.06 | 1.06 | 2.00 | 4.00 | 8.00 | 1.06 | 2.00 | 4.00 | 8.00 | ||||||
| vandn.vx v8,v16,t0,v0.t | 1.06 | 1.06 | 1.06 | 1.06 | 2.00 | 4.00 | 8.00 | 1.06 | 1.06 | 1.06 | 2.00 | 4.00 | 8.00 | 1.06 | 1.06 | 2.00 | 4.00 | 8.00 | 1.06 | 2.00 | 4.00 | 8.00 | ||||||
| vbrev.v v8,v16 | 1.00 | 1.00 | 1.00 | 2.00 | 4.00 | 8.00 | 16.00 | 1.00 | 1.00 | 2.00 | 4.00 | 8.00 | 16.00 | 1.00 | 2.00 | 4.00 | 8.00 | 16.00 | 2.00 | 4.00 | 8.00 | 16.00 | ||||||
| vbrev.v v8,v16,v0.t | 1.00 | 1.00 | 1.00 | 2.00 | 4.00 | 8.00 | 16.00 | 1.00 | 1.00 | 2.00 | 4.00 | 8.00 | 16.00 | 1.00 | 2.00 | 4.00 | 8.00 | 16.00 | 2.00 | 4.00 | 8.00 | 16.00 | ||||||
| vbrev8.v v8,v16 | 1.00 | 1.00 | 1.00 | 2.00 | 4.00 | 8.00 | 16.00 | 1.00 | 1.00 | 2.00 | 4.00 | 8.00 | 16.00 | 1.00 | 2.00 | 4.00 | 8.00 | 16.00 | 2.00 | 4.00 | 8.00 | 16.00 | ||||||
| vbrev8.v v8,v16,v0.t | 1.00 | 1.00 | 1.00 | 2.00 | 4.00 | 8.00 | 16.00 | 1.00 | 1.00 | 2.00 | 4.00 | 8.00 | 16.00 | 1.00 | 2.00 | 4.00 | 8.00 | 16.00 | 2.00 | 4.00 | 8.00 | 16.00 | ||||||
| vclz.v v8,v16 | 1.00 | 1.00 | 1.00 | 2.00 | 4.00 | 8.00 | 16.00 | 1.00 | 1.00 | 2.00 | 4.00 | 8.00 | 16.00 | 1.00 | 2.00 | 4.00 | 8.00 | 16.00 | 2.00 | 4.00 | 8.00 | 16.00 | ||||||
| vclz.v v8,v16,v0.t | 1.00 | 1.00 | 1.00 | 2.00 | 4.00 | 8.00 | 16.00 | 1.00 | 1.00 | 2.00 | 4.00 | 8.00 | 16.00 | 1.00 | 2.00 | 4.00 | 8.00 | 16.00 | 2.00 | 4.00 | 8.00 | 16.00 | ||||||
| vctz.v v8,v16 | 1.00 | 1.00 | 1.00 | 2.00 | 4.00 | 8.00 | 16.00 | 1.00 | 1.00 | 2.00 | 4.00 | 8.00 | 16.00 | 1.00 | 2.00 | 4.00 | 8.00 | 16.00 | 2.00 | 4.00 | 8.00 | 16.00 | ||||||
| vctz.v v8,v16,v0.t | 1.00 | 1.00 | 1.00 | 2.00 | 4.00 | 8.00 | 16.00 | 1.00 | 1.00 | 2.00 | 4.00 | 8.00 | 16.00 | 1.00 | 2.00 | 4.00 | 8.00 | 16.00 | 2.00 | 4.00 | 8.00 | 16.00 | ||||||
| vcpop.v v8,v16 | 1.00 | 1.00 | 1.00 | 2.00 | 4.00 | 8.00 | 16.00 | 1.00 | 1.00 | 2.00 | 4.00 | 8.00 | 16.00 | 1.00 | 2.00 | 4.00 | 8.00 | 16.00 | 2.00 | 4.00 | 8.00 | 16.00 | ||||||
| vcpop.v v8,v16,v0.t | 1.00 | 1.00 | 1.00 | 2.00 | 4.00 | 8.00 | 16.00 | 1.00 | 1.00 | 2.00 | 4.00 | 8.00 | 16.00 | 1.00 | 2.00 | 4.00 | 8.00 | 16.00 | 2.00 | 4.00 | 8.00 | 16.00 | ||||||
| vrol.vv v8,v16,v24 | 1.00 | 1.00 | 1.00 | 2.00 | 4.00 | 8.00 | 16.00 | 1.00 | 1.00 | 2.00 | 4.00 | 8.00 | 16.00 | 1.00 | 2.00 | 4.00 | 8.00 | 16.00 | 2.00 | 4.00 | 8.00 | 16.00 | ||||||
| vrol.vv v8,v16,v24,v0.t | 1.00 | 1.00 | 1.00 | 2.00 | 4.00 | 8.00 | 16.00 | 1.00 | 1.00 | 2.00 | 4.00 | 8.00 | 16.00 | 1.00 | 2.00 | 4.00 | 8.00 | 16.00 | 2.00 | 4.00 | 8.00 | 16.00 | ||||||
| vrol.vx v8,v16,t0 | 1.06 | 1.06 | 1.06 | 2.00 | 4.00 | 8.00 | 16.00 | 1.06 | 1.06 | 2.00 | 4.00 | 8.00 | 16.00 | 1.06 | 2.00 | 4.00 | 8.00 | 16.00 | 2.00 | 4.00 | 8.00 | 16.00 | ||||||
| vrol.vx v8,v16,t0,v0.t | 1.06 | 1.06 | 1.06 | 2.00 | 4.00 | 8.00 | 16.00 | 1.06 | 1.06 | 2.00 | 4.00 | 8.00 | 16.00 | 1.06 | 2.00 | 4.00 | 8.00 | 16.00 | 2.00 | 4.00 | 8.00 | 16.00 | ||||||
| vror.vv v8,v16,v24 | 1.00 | 1.00 | 1.00 | 2.00 | 4.00 | 8.00 | 16.00 | 1.00 | 1.00 | 2.00 | 4.00 | 8.00 | 16.00 | 1.00 | 2.00 | 4.00 | 8.00 | 16.00 | 2.00 | 4.00 | 8.00 | 16.00 | ||||||
| vror.vv v8,v16,v24,v0.t | 1.00 | 1.00 | 1.00 | 2.00 | 4.00 | 8.00 | 16.00 | 1.00 | 1.00 | 2.00 | 4.00 | 8.00 | 16.00 | 1.00 | 2.00 | 4.00 | 8.00 | 16.00 | 2.00 | 4.00 | 8.00 | 16.00 | ||||||
| vror.vx v8,v16,t0 | 1.06 | 1.06 | 1.06 | 2.00 | 4.00 | 8.00 | 16.00 | 1.06 | 1.06 | 2.00 | 4.00 | 8.00 | 16.00 | 1.06 | 2.00 | 4.00 | 8.00 | 16.00 | 2.00 | 4.00 | 8.00 | 16.00 | ||||||
| vror.vx v8,v16,t0,v0.t | 1.06 | 1.06 | 1.06 | 2.00 | 4.00 | 8.00 | 16.00 | 1.06 | 1.06 | 2.00 | 4.00 | 8.00 | 16.00 | 1.06 | 2.00 | 4.00 | 8.00 | 16.00 | 2.00 | 4.00 | 8.00 | 16.00 | ||||||
| vwsll.vv v8,v16,v24 | 1.00 | 1.00 | 2.00 | 4.00 | 8.00 | 16.00 | 1.00 | 2.00 | 4.00 | 8.00 | 16.00 | 2.00 | 4.00 | 8.00 | 16.00 | |||||||||||||
| vwsll.vv v8,v16,v24,v0.t | 1.00 | 1.00 | 2.00 | 4.00 | 8.00 | 16.00 | 1.00 | 2.00 | 4.00 | 8.00 | 16.00 | 2.00 | 4.00 | 8.00 | 16.00 | |||||||||||||
| vwsll.vx v8,v16,t0 | 1.06 | 1.06 | 2.00 | 4.00 | 8.00 | 16.00 | 1.06 | 2.00 | 4.00 | 8.00 | 16.00 | 2.00 | 4.00 | 8.00 | 16.00 | |||||||||||||
| vwsll.vx v8,v16,t0,v0.t | 1.06 | 1.06 | 2.00 | 4.00 | 8.00 | 16.00 | 1.06 | 2.00 | 4.00 | 8.00 | 16.00 | 2.00 | 4.00 | 8.00 | 16.00 | |||||||||||||
| vclmul.vv v8,v16,v24 | 2.00 | 4.00 | 8.00 | 16.00 | ||||||||||||||||||||||||
| vclmul.vv v8,v16,v24,v0.t | 2.00 | 4.00 | 8.00 | 16.00 | ||||||||||||||||||||||||
| vclmul.vx v8,v16,t0 | 2.00 | 4.00 | 8.00 | 16.00 | ||||||||||||||||||||||||
| vclmul.vx v8,v16,t0,v0.t | 2.00 | 4.00 | 8.00 | 16.00 | ||||||||||||||||||||||||
| vclmulh.vv v8,v16,v24 | 2.00 | 4.00 | 8.00 | 16.00 | ||||||||||||||||||||||||
| vclmulh.vv v8,v16,v24,v0.t | 2.00 | 4.00 | 8.00 | 16.00 | ||||||||||||||||||||||||
| vclmulh.vx v8,v16,t0 | 2.00 | 4.00 | 8.00 | 16.00 | ||||||||||||||||||||||||
| vclmulh.vx v8,v16,t0,v0.t | 2.00 | 4.00 | 8.00 | 16.00 | ||||||||||||||||||||||||
| vghsh.vv v8,v16,v24 | 2.00 | 4.00 | 8.00 | 16.00 | ||||||||||||||||||||||||
| vgmul.vv v8,v16 | 2.00 | 4.00 | 8.00 | 16.00 |
| instruction | e8mf8 | e8mf4 | e8mf2 | e8m1 | e8m2 | e8m4 | e8m8 | e16mf8 | e16mf4 | e16mf2 | e16m1 | e16m2 | e16m4 | e16m8 | e32mf8 | e32mf4 | e32mf2 | e32m1 | e32m2 | e32m4 | e32m8 | e64mf8 | e64mf4 | e64mf2 | e64m1 | e64m2 | e64m4 | e64m8 |
|---|---|---|---|---|---|---|---|---|---|---|---|---|---|---|---|---|---|---|---|---|---|---|---|---|---|---|---|---|
| add t0,t1,t2 | 0.47 | 0.47 | 0.47 | 0.47 | 0.40 | 0.34 | 0.34 | 0.47 | 0.47 | 0.47 | 0.40 | 0.34 | 0.34 | 0.47 | 0.47 | 0.40 | 0.34 | 0.34 | 0.47 | 0.40 | 0.34 | 0.34 | ||||||
| mul t0,t1,t2 | 1.50 | 1.50 | 1.50 | 1.50 | 1.50 | 1.00 | 1.00 | 1.50 | 1.50 | 1.50 | 1.50 | 1.00 | 1.00 | 1.50 | 1.50 | 1.50 | 1.00 | 1.00 | 1.50 | 1.50 | 1.00 | 1.00 | ||||||
| vadd.vv v8,v16,v24 | 1.00 | 1.00 | 1.00 | 1.00 | 2.00 | 4.00 | 8.00 | 1.00 | 1.00 | 1.00 | 2.00 | 4.00 | 8.00 | 1.00 | 1.00 | 2.00 | 4.00 | 8.00 | 1.00 | 2.00 | 4.00 | 8.00 | ||||||
| vadd.vv v8,v16,v24,v0.t | 1.00 | 1.00 | 1.00 | 1.00 | 2.00 | 4.00 | 8.00 | 1.00 | 1.00 | 1.00 | 2.00 | 4.00 | 8.00 | 1.00 | 1.00 | 2.00 | 4.00 | 8.00 | 1.00 | 2.00 | 4.00 | 8.00 | ||||||
| vadd.vx v8,v16,t0 | 1.06 | 1.06 | 1.06 | 1.06 | 2.00 | 4.00 | 8.00 | 1.06 | 1.06 | 1.06 | 2.00 | 4.00 | 8.00 | 1.06 | 1.06 | 2.00 | 4.00 | 8.00 | 1.06 | 2.00 | 4.00 | 8.00 | ||||||
| vadd.vx v8,v16,t0,v0.t | 1.06 | 1.06 | 1.06 | 1.06 | 2.00 | 4.00 | 8.00 | 1.06 | 1.06 | 1.06 | 2.00 | 4.00 | 8.00 | 1.06 | 1.06 | 2.00 | 4.00 | 8.00 | 1.06 | 2.00 | 4.00 | 8.00 | ||||||
| vadd.vi v8,v16,13 | 1.00 | 1.00 | 1.00 | 1.00 | 2.00 | 4.00 | 8.00 | 1.00 | 1.00 | 1.00 | 2.00 | 4.00 | 8.00 | 1.00 | 1.00 | 2.00 | 4.00 | 8.00 | 1.00 | 2.00 | 4.00 | 8.00 | ||||||
| vadd.vi v8,v16,13,v0.t | 1.00 | 1.00 | 1.00 | 1.00 | 2.00 | 4.00 | 8.00 | 1.00 | 1.00 | 1.00 | 2.00 | 4.00 | 8.00 | 1.00 | 1.00 | 2.00 | 4.00 | 8.00 | 1.00 | 2.00 | 4.00 | 8.00 | ||||||
| vsub.vv v8,v16,v24 | 1.00 | 1.00 | 1.00 | 1.00 | 2.00 | 4.00 | 8.00 | 1.00 | 1.00 | 1.00 | 2.00 | 4.00 | 8.00 | 1.00 | 1.00 | 2.00 | 4.00 | 8.00 | 1.00 | 2.00 | 4.00 | 8.00 | ||||||
| vsub.vv v8,v16,v24,v0.t | 1.00 | 1.00 | 1.00 | 1.00 | 2.00 | 4.00 | 8.00 | 1.00 | 1.00 | 1.00 | 2.00 | 4.00 | 8.00 | 1.00 | 1.00 | 2.00 | 4.00 | 8.00 | 1.00 | 2.00 | 4.00 | 8.00 | ||||||
| vsub.vx v8,v16,t0 | 1.06 | 1.06 | 1.06 | 1.06 | 2.00 | 4.00 | 8.00 | 1.06 | 1.06 | 1.06 | 2.00 | 4.00 | 8.00 | 1.06 | 1.06 | 2.00 | 4.00 | 8.00 | 1.06 | 2.00 | 4.00 | 8.00 | ||||||
| vsub.vx v8,v16,t0,v0.t | 1.06 | 1.06 | 1.06 | 1.06 | 2.00 | 4.00 | 8.00 | 1.06 | 1.06 | 1.06 | 2.00 | 4.00 | 8.00 | 1.06 | 1.06 | 2.00 | 4.00 | 8.00 | 1.06 | 2.00 | 4.00 | 8.00 | ||||||
| vrsub.vx v8,v16,t0 | 1.06 | 1.06 | 1.06 | 1.06 | 2.00 | 4.00 | 8.00 | 1.06 | 1.06 | 1.06 | 2.00 | 4.00 | 8.00 | 1.06 | 1.06 | 2.00 | 4.00 | 8.00 | 1.06 | 2.00 | 4.00 | 8.00 | ||||||
| vrsub.vx v8,v16,t0,v0.t | 1.06 | 1.06 | 1.06 | 1.06 | 2.00 | 4.00 | 8.00 | 1.06 | 1.06 | 1.06 | 2.00 | 4.00 | 8.00 | 1.06 | 1.06 | 2.00 | 4.00 | 8.00 | 1.06 | 2.00 | 4.00 | 8.00 | ||||||
| vrsub.vi v8,v16,13 | 1.00 | 1.00 | 1.00 | 1.00 | 2.00 | 4.00 | 8.00 | 1.00 | 1.00 | 1.00 | 2.00 | 4.00 | 8.00 | 1.00 | 1.00 | 2.00 | 4.00 | 8.00 | 1.00 | 2.00 | 4.00 | 8.00 | ||||||
| vrsub.vi v8,v16,13,v0.t | 1.00 | 1.00 | 1.00 | 1.00 | 2.00 | 4.00 | 8.00 | 1.00 | 1.00 | 1.00 | 2.00 | 4.00 | 8.00 | 1.00 | 1.00 | 2.00 | 4.00 | 8.00 | 1.00 | 2.00 | 4.00 | 8.00 | ||||||
| vminu.vv v8,v16,v24 | 1.00 | 1.00 | 1.00 | 1.00 | 2.00 | 4.00 | 8.00 | 1.00 | 1.00 | 1.00 | 2.00 | 4.00 | 8.00 | 1.00 | 1.00 | 2.00 | 4.00 | 8.00 | 1.00 | 2.00 | 4.00 | 8.00 | ||||||
| vminu.vv v8,v16,v24,v0.t | 1.00 | 1.00 | 1.00 | 1.00 | 2.00 | 4.00 | 8.00 | 1.00 | 1.00 | 1.00 | 2.00 | 4.00 | 8.00 | 1.00 | 1.00 | 2.00 | 4.00 | 8.00 | 1.00 | 2.00 | 4.00 | 8.00 | ||||||
| vminu.vx v8,v16,t0 | 1.06 | 1.06 | 1.06 | 1.06 | 2.00 | 4.00 | 8.00 | 1.06 | 1.06 | 1.06 | 2.00 | 4.00 | 8.00 | 1.06 | 1.06 | 2.00 | 4.00 | 8.00 | 1.06 | 2.00 | 4.00 | 8.00 | ||||||
| vminu.vx v8,v16,t0,v0.t | 1.06 | 1.06 | 1.06 | 1.06 | 2.00 | 4.00 | 8.00 | 1.06 | 1.06 | 1.06 | 2.00 | 4.00 | 8.00 | 1.06 | 1.06 | 2.00 | 4.00 | 8.00 | 1.06 | 2.00 | 4.00 | 8.00 | ||||||
| vmin.vv v8,v16,v24 | 1.00 | 1.00 | 1.00 | 1.00 | 2.00 | 4.00 | 8.00 | 1.00 | 1.00 | 1.00 | 2.00 | 4.00 | 8.00 | 1.00 | 1.00 | 2.00 | 4.00 | 8.00 | 1.00 | 2.00 | 4.00 | 8.00 | ||||||
| vmin.vv v8,v16,v24,v0.t | 1.00 | 1.00 | 1.00 | 1.00 | 2.00 | 4.00 | 8.00 | 1.00 | 1.00 | 1.00 | 2.00 | 4.00 | 8.00 | 1.00 | 1.00 | 2.00 | 4.00 | 8.00 | 1.00 | 2.00 | 4.00 | 8.00 | ||||||
| vmin.vx v8,v16,t0 | 1.06 | 1.06 | 1.06 | 1.06 | 2.00 | 4.00 | 8.00 | 1.06 | 1.06 | 1.06 | 2.00 | 4.00 | 8.00 | 1.06 | 1.06 | 2.00 | 4.00 | 8.00 | 1.06 | 2.00 | 4.00 | 8.00 | ||||||
| vmin.vx v8,v16,t0,v0.t | 1.06 | 1.06 | 1.06 | 1.06 | 2.00 | 4.00 | 8.00 | 1.06 | 1.06 | 1.06 | 2.00 | 4.00 | 8.00 | 1.06 | 1.06 | 2.00 | 4.00 | 8.00 | 1.06 | 2.00 | 4.00 | 8.00 | ||||||
| vmaxu.vv v8,v16,v24 | 1.00 | 1.00 | 1.00 | 1.00 | 2.00 | 4.00 | 8.00 | 1.00 | 1.00 | 1.00 | 2.00 | 4.00 | 8.00 | 1.00 | 1.00 | 2.00 | 4.00 | 8.00 | 1.00 | 2.00 | 4.00 | 8.00 | ||||||
| vmaxu.vv v8,v16,v24,v0.t | 1.00 | 1.00 | 1.00 | 1.00 | 2.00 | 4.00 | 8.00 | 1.00 | 1.00 | 1.00 | 2.00 | 4.00 | 8.00 | 1.00 | 1.00 | 2.00 | 4.00 | 8.00 | 1.00 | 2.00 | 4.00 | 8.00 | ||||||
| vmaxu.vx v8,v16,t0 | 1.06 | 1.06 | 1.06 | 1.06 | 2.00 | 4.00 | 8.00 | 1.06 | 1.06 | 1.06 | 2.00 | 4.00 | 8.00 | 1.06 | 1.06 | 2.00 | 4.00 | 8.00 | 1.06 | 2.00 | 4.00 | 8.00 | ||||||
| vmaxu.vx v8,v16,t0,v0.t | 1.06 | 1.06 | 1.06 | 1.06 | 2.00 | 4.00 | 8.00 | 1.06 | 1.06 | 1.06 | 2.00 | 4.00 | 8.00 | 1.06 | 1.06 | 2.00 | 4.00 | 8.00 | 1.06 | 2.00 | 4.00 | 8.00 | ||||||
| vmax.vv v8,v16,v24 | 1.00 | 1.00 | 1.00 | 1.00 | 2.00 | 4.00 | 8.00 | 1.00 | 1.00 | 1.00 | 2.00 | 4.00 | 8.00 | 1.00 | 1.00 | 2.00 | 4.00 | 8.00 | 1.00 | 2.00 | 4.00 | 8.00 | ||||||
| vmax.vv v8,v16,v24,v0.t | 1.00 | 1.00 | 1.00 | 1.00 | 2.00 | 4.00 | 8.00 | 1.00 | 1.00 | 1.00 | 2.00 | 4.00 | 8.00 | 1.00 | 1.00 | 2.00 | 4.00 | 8.00 | 1.00 | 2.00 | 4.00 | 8.00 | ||||||
| vmax.vx v8,v16,t0 | 1.06 | 1.06 | 1.06 | 1.06 | 2.00 | 4.00 | 8.00 | 1.06 | 1.06 | 1.06 | 2.00 | 4.00 | 8.00 | 1.06 | 1.06 | 2.00 | 4.00 | 8.00 | 1.06 | 2.00 | 4.00 | 8.00 | ||||||
| vmax.vx v8,v16,t0,v0.t | 1.06 | 1.06 | 1.06 | 1.06 | 2.00 | 4.00 | 8.00 | 1.06 | 1.06 | 1.06 | 2.00 | 4.00 | 8.00 | 1.06 | 1.06 | 2.00 | 4.00 | 8.00 | 1.06 | 2.00 | 4.00 | 8.00 | ||||||
| vand.vv v8,v16,v24 | 1.00 | 1.00 | 1.00 | 1.00 | 2.00 | 4.00 | 8.00 | 1.00 | 1.00 | 1.00 | 2.00 | 4.00 | 8.00 | 1.00 | 1.00 | 2.00 | 4.00 | 8.00 | 1.00 | 2.00 | 4.00 | 8.00 | ||||||
| vand.vv v8,v16,v24,v0.t | 1.00 | 1.00 | 1.00 | 1.00 | 2.00 | 4.00 | 8.00 | 1.00 | 1.00 | 1.00 | 2.00 | 4.00 | 8.00 | 1.00 | 1.00 | 2.00 | 4.00 | 8.00 | 1.00 | 2.00 | 4.00 | 8.00 | ||||||
| vand.vx v8,v16,t0 | 1.06 | 1.06 | 1.06 | 1.06 | 2.00 | 4.00 | 8.00 | 1.06 | 1.06 | 1.06 | 2.00 | 4.00 | 8.00 | 1.06 | 1.06 | 2.00 | 4.00 | 8.00 | 1.06 | 2.00 | 4.00 | 8.00 | ||||||
| vand.vx v8,v16,t0,v0.t | 1.06 | 1.06 | 1.06 | 1.06 | 2.00 | 4.00 | 8.00 | 1.06 | 1.06 | 1.06 | 2.00 | 4.00 | 8.00 | 1.06 | 1.06 | 2.00 | 4.00 | 8.00 | 1.06 | 2.00 | 4.00 | 8.00 | ||||||
| vand.vi v8,v16,13 | 1.00 | 1.00 | 1.00 | 1.00 | 2.00 | 4.00 | 8.00 | 1.00 | 1.00 | 1.00 | 2.00 | 4.00 | 8.00 | 1.00 | 1.00 | 2.00 | 4.00 | 8.00 | 1.00 | 2.00 | 4.00 | 8.00 | ||||||
| vand.vi v8,v16,13,v0.t | 1.00 | 1.00 | 1.00 | 1.00 | 2.00 | 4.00 | 8.00 | 1.00 | 1.00 | 1.00 | 2.00 | 4.00 | 8.00 | 1.00 | 1.00 | 2.00 | 4.00 | 8.00 | 1.00 | 2.00 | 4.00 | 8.00 | ||||||
| vor.vv v8,v16,v24 | 1.00 | 1.00 | 1.00 | 1.00 | 2.00 | 4.00 | 8.00 | 1.00 | 1.00 | 1.00 | 2.00 | 4.00 | 8.00 | 1.00 | 1.00 | 2.00 | 4.00 | 8.00 | 1.00 | 2.00 | 4.00 | 8.00 | ||||||
| vor.vv v8,v16,v24,v0.t | 1.00 | 1.00 | 1.00 | 1.00 | 2.00 | 4.00 | 8.00 | 1.00 | 1.00 | 1.00 | 2.00 | 4.00 | 8.00 | 1.00 | 1.00 | 2.00 | 4.00 | 8.00 | 1.00 | 2.00 | 4.00 | 8.00 | ||||||
| vor.vx v8,v16,t0 | 1.06 | 1.06 | 1.06 | 1.06 | 2.00 | 4.00 | 8.00 | 1.06 | 1.06 | 1.06 | 2.00 | 4.00 | 8.00 | 1.06 | 1.06 | 2.00 | 4.00 | 8.00 | 1.06 | 2.00 | 4.00 | 8.00 | ||||||
| vor.vx v8,v16,t0,v0.t | 1.06 | 1.06 | 1.06 | 1.06 | 2.00 | 4.00 | 8.00 | 1.06 | 1.06 | 1.06 | 2.00 | 4.00 | 8.00 | 1.06 | 1.06 | 2.00 | 4.00 | 8.00 | 1.06 | 2.00 | 4.00 | 8.00 | ||||||
| vor.vi v8,v16,13 | 1.00 | 1.00 | 1.00 | 1.00 | 2.00 | 4.00 | 8.00 | 1.00 | 1.00 | 1.00 | 2.00 | 4.00 | 8.00 | 1.00 | 1.00 | 2.00 | 4.00 | 8.00 | 1.00 | 2.00 | 4.00 | 8.00 | ||||||
| vor.vi v8,v16,13,v0.t | 1.00 | 1.00 | 1.00 | 1.00 | 2.00 | 4.00 | 8.00 | 1.00 | 1.00 | 1.00 | 2.00 | 4.00 | 8.00 | 1.00 | 1.00 | 2.00 | 4.00 | 8.00 | 1.00 | 2.00 | 4.00 | 8.00 | ||||||
| vxor.vv v8,v16,v24 | 1.00 | 1.00 | 1.00 | 1.00 | 2.00 | 4.00 | 8.00 | 1.00 | 1.00 | 1.00 | 2.00 | 4.00 | 8.00 | 1.00 | 1.00 | 2.00 | 4.00 | 8.00 | 1.00 | 2.00 | 4.00 | 8.00 | ||||||
| vxor.vv v8,v16,v24,v0.t | 1.00 | 1.00 | 1.00 | 1.00 | 2.00 | 4.00 | 8.00 | 1.00 | 1.00 | 1.00 | 2.00 | 4.00 | 8.00 | 1.00 | 1.00 | 2.00 | 4.00 | 8.00 | 1.00 | 2.00 | 4.00 | 8.00 | ||||||
| vxor.vx v8,v16,t0 | 1.06 | 1.06 | 1.06 | 1.06 | 2.00 | 4.00 | 8.00 | 1.06 | 1.06 | 1.06 | 2.00 | 4.00 | 8.00 | 1.06 | 1.06 | 2.00 | 4.00 | 8.00 | 1.06 | 2.00 | 4.00 | 8.00 | ||||||
| vxor.vx v8,v16,t0,v0.t | 1.06 | 1.06 | 1.06 | 1.06 | 2.00 | 4.00 | 8.00 | 1.06 | 1.06 | 1.06 | 2.00 | 4.00 | 8.00 | 1.06 | 1.06 | 2.00 | 4.00 | 8.00 | 1.06 | 2.00 | 4.00 | 8.00 | ||||||
| vxor.vi v8,v16,13 | 1.00 | 1.00 | 1.00 | 1.00 | 2.00 | 4.00 | 8.00 | 1.00 | 1.00 | 1.00 | 2.00 | 4.00 | 8.00 | 1.00 | 1.00 | 2.00 | 4.00 | 8.00 | 1.00 | 2.00 | 4.00 | 8.00 | ||||||
| vxor.vi v8,v16,13,v0.t | 1.00 | 1.00 | 1.00 | 1.00 | 2.00 | 4.00 | 8.00 | 1.00 | 1.00 | 1.00 | 2.00 | 4.00 | 8.00 | 1.00 | 1.00 | 2.00 | 4.00 | 8.00 | 1.00 | 2.00 | 4.00 | 8.00 | ||||||
| vrgather.vv v8,v16,v24 | 1.00 | 1.00 | 1.00 | 2.00 | 8.00 | 32.00 | 127.96 | 1.00 | 1.00 | 2.00 | 8.00 | 32.00 | 127.96 | 1.00 | 2.00 | 8.00 | 32.00 | 127.96 | 2.00 | 8.00 | 32.00 | 127.96 | ||||||
| vrgather.vv v8,v16,v24,v0.t | 1.00 | 1.00 | 1.00 | 2.00 | 8.00 | 32.00 | 127.96 | 1.00 | 1.00 | 2.00 | 8.00 | 32.00 | 127.96 | 1.00 | 2.00 | 8.00 | 32.00 | 127.96 | 2.00 | 8.00 | 32.00 | 127.96 | ||||||
| vrgather.vx v8,v16,t0 | 1.32 | 1.32 | 1.32 | 2.07 | 4.00 | 8.00 | 16.00 | 1.32 | 1.32 | 2.07 | 4.00 | 8.00 | 16.00 | 1.32 | 2.07 | 4.00 | 8.00 | 16.00 | 2.07 | 4.00 | 8.00 | 16.00 | ||||||
| vrgather.vx v8,v16,t0,v0.t | 1.32 | 1.32 | 1.32 | 2.07 | 4.00 | 8.00 | 16.00 | 1.32 | 1.32 | 2.07 | 4.00 | 8.00 | 16.00 | 1.32 | 2.07 | 4.00 | 8.00 | 16.00 | 2.07 | 4.00 | 8.00 | 16.00 | ||||||
| vrgather.vi v8,v16,3 | 1.00 | 1.00 | 1.00 | 2.00 | 4.00 | 8.00 | 16.00 | 1.00 | 1.00 | 2.00 | 4.00 | 8.00 | 16.00 | 1.00 | 2.00 | 4.00 | 8.00 | 16.00 | 2.00 | 4.00 | 8.00 | 16.00 | ||||||
| vrgather.vi v8,v16,3,v0.t | 1.00 | 1.00 | 1.00 | 2.00 | 4.00 | 8.00 | 16.00 | 1.00 | 1.00 | 2.00 | 4.00 | 8.00 | 16.00 | 1.00 | 2.00 | 4.00 | 8.00 | 16.00 | 2.00 | 4.00 | 8.00 | 16.00 | ||||||
| vslideup.vx v8,v16,t0 | 1.06 | 1.06 | 1.06 | 2.00 | 4.00 | 8.00 | 16.00 | 1.06 | 1.06 | 2.00 | 4.00 | 8.00 | 16.00 | 1.06 | 2.00 | 4.00 | 8.00 | 16.00 | 2.00 | 4.00 | 8.00 | 16.00 | ||||||
| vslideup.vx v8,v16,t0,v0.t | 1.06 | 1.06 | 1.06 | 2.00 | 4.00 | 8.00 | 16.00 | 1.06 | 1.06 | 2.00 | 4.00 | 8.00 | 16.00 | 1.06 | 2.00 | 4.00 | 8.00 | 16.00 | 2.00 | 4.00 | 8.00 | 16.00 | ||||||
| vslideup.vi v8,v16,3 | 1.00 | 1.00 | 1.00 | 2.00 | 4.00 | 8.00 | 16.00 | 1.00 | 1.00 | 2.00 | 4.00 | 8.00 | 16.00 | 1.00 | 2.00 | 4.00 | 8.00 | 16.00 | 2.00 | 4.00 | 8.00 | 16.00 | ||||||
| vslideup.vi v8,v16,3,v0.t | 1.00 | 1.00 | 1.00 | 2.00 | 4.00 | 8.00 | 16.00 | 1.00 | 1.00 | 2.00 | 4.00 | 8.00 | 16.00 | 1.00 | 2.00 | 4.00 | 8.00 | 16.00 | 2.00 | 4.00 | 8.00 | 16.00 | ||||||
| vrgatherei16.vv v8,v16,v24 | 1.00 | 1.00 | 2.00 | 4.00 | 16.00 | 63.99 | 1.00 | 1.00 | 2.00 | 8.00 | 32.00 | 127.96 | 1.00 | 2.00 | 8.00 | 32.00 | 127.96 | 2.00 | 8.00 | 32.00 | 127.96 | |||||||
| vrgatherei16.vv v8,v16,v24,v0.t | 1.00 | 1.00 | 2.00 | 4.00 | 16.00 | 63.99 | 1.00 | 1.00 | 2.00 | 8.00 | 32.00 | 127.96 | 1.00 | 2.00 | 8.00 | 32.00 | 127.96 | 2.00 | 8.00 | 32.00 | 127.96 | |||||||
| vslidedown.vx v8,v16,t0 | 1.32 | 1.32 | 1.32 | 3.00 | 5.00 | 9.00 | 17.00 | 1.32 | 1.32 | 3.00 | 5.00 | 9.00 | 17.00 | 1.32 | 3.00 | 5.00 | 9.00 | 17.00 | 3.00 | 5.00 | 9.00 | 17.00 | ||||||
| vslidedown.vx v8,v16,t0,v0.t | 1.32 | 1.32 | 1.32 | 3.00 | 5.00 | 9.00 | 17.00 | 1.32 | 1.32 | 3.00 | 5.00 | 9.00 | 17.00 | 1.32 | 3.00 | 5.00 | 9.00 | 17.00 | 3.00 | 5.00 | 9.00 | 17.00 | ||||||
| vslidedown.vi v8,v16,3 | 1.00 | 1.00 | 1.00 | 3.00 | 5.00 | 9.00 | 17.00 | 1.00 | 1.00 | 3.00 | 5.00 | 9.00 | 17.00 | 1.00 | 3.00 | 5.00 | 9.00 | 17.00 | 3.00 | 5.00 | 9.00 | 17.00 | ||||||
| vslidedown.vi v8,v16,3,v0.t | 1.00 | 1.00 | 1.00 | 3.00 | 5.00 | 9.00 | 17.00 | 1.00 | 1.00 | 3.00 | 5.00 | 9.00 | 17.00 | 1.00 | 3.00 | 5.00 | 9.00 | 17.00 | 3.00 | 5.00 | 9.00 | 17.00 | ||||||
| vredsum.vs v8,v16,v24 | 1.00 | 1.00 | 1.00 | 1.00 | 2.00 | 5.50 | 19.00 | 1.00 | 1.00 | 1.00 | 2.00 | 5.50 | 19.00 | 1.00 | 1.00 | 2.00 | 5.50 | 19.00 | 1.00 | 2.00 | 5.50 | 19.00 | ||||||
| vredsum.vs v8,v16,v24,v0.t | 1.00 | 1.00 | 1.00 | 1.00 | 2.00 | 5.50 | 19.00 | 1.00 | 1.00 | 1.00 | 2.00 | 5.50 | 19.00 | 1.00 | 1.00 | 2.00 | 5.50 | 19.00 | 1.00 | 2.00 | 5.50 | 19.00 | ||||||
| vredand.vs v8,v16,v24 | 1.00 | 1.00 | 1.00 | 1.00 | 2.00 | 5.00 | 18.00 | 1.00 | 1.00 | 1.00 | 2.00 | 5.00 | 18.00 | 1.00 | 1.00 | 2.00 | 5.00 | 18.00 | 1.00 | 2.00 | 5.00 | 18.00 | ||||||
| vredand.vs v8,v16,v24,v0.t | 1.00 | 1.00 | 1.00 | 1.00 | 2.00 | 5.00 | 18.00 | 1.00 | 1.00 | 1.00 | 2.00 | 5.00 | 18.00 | 1.00 | 1.00 | 2.00 | 5.00 | 18.00 | 1.00 | 2.00 | 5.00 | 18.00 | ||||||
| vredor.vs v8,v16,v24 | 1.00 | 1.00 | 1.00 | 1.00 | 2.00 | 5.00 | 18.00 | 1.00 | 1.00 | 1.00 | 2.00 | 5.00 | 18.00 | 1.00 | 1.00 | 2.00 | 5.00 | 18.00 | 1.00 | 2.00 | 5.00 | 18.00 | ||||||
| vredor.vs v8,v16,v24,v0.t | 1.00 | 1.00 | 1.00 | 1.00 | 2.00 | 5.00 | 18.00 | 1.00 | 1.00 | 1.00 | 2.00 | 5.00 | 18.00 | 1.00 | 1.00 | 2.00 | 5.00 | 18.00 | 1.00 | 2.00 | 5.00 | 18.00 | ||||||
| vredxor.vs v8,v16,v24 | 1.00 | 1.00 | 1.00 | 1.00 | 2.00 | 5.00 | 18.00 | 1.00 | 1.00 | 1.00 | 2.00 | 5.00 | 18.00 | 1.00 | 1.00 | 2.00 | 5.00 | 18.00 | 1.00 | 2.00 | 5.00 | 18.00 | ||||||
| vredxor.vs v8,v16,v24,v0.t | 1.00 | 1.00 | 1.00 | 1.00 | 2.00 | 5.00 | 18.00 | 1.00 | 1.00 | 1.00 | 2.00 | 5.00 | 18.00 | 1.00 | 1.00 | 2.00 | 5.00 | 18.00 | 1.00 | 2.00 | 5.00 | 18.00 | ||||||
| vredminu.vs v8,v16,v24 | 1.00 | 1.00 | 1.00 | 1.00 | 2.00 | 5.50 | 19.00 | 1.00 | 1.00 | 1.00 | 2.00 | 5.50 | 19.00 | 1.00 | 1.00 | 2.00 | 5.50 | 19.00 | 1.00 | 2.00 | 5.50 | 19.00 | ||||||
| vredminu.vs v8,v16,v24,v0.t | 1.00 | 1.00 | 1.00 | 1.00 | 2.00 | 5.50 | 19.00 | 1.00 | 1.00 | 1.00 | 2.00 | 5.50 | 19.00 | 1.00 | 1.00 | 2.00 | 5.50 | 19.00 | 1.00 | 2.00 | 5.50 | 19.00 | ||||||
| vredmin.vs v8,v16,v24 | 1.00 | 1.00 | 1.00 | 1.00 | 2.00 | 5.50 | 19.00 | 1.00 | 1.00 | 1.00 | 2.00 | 5.50 | 19.00 | 1.00 | 1.00 | 2.00 | 5.50 | 19.00 | 1.00 | 2.00 | 5.50 | 19.00 | ||||||
| vredmin.vs v8,v16,v24,v0.t | 1.00 | 1.00 | 1.00 | 1.00 | 2.00 | 5.50 | 19.00 | 1.00 | 1.00 | 1.00 | 2.00 | 5.50 | 19.00 | 1.00 | 1.00 | 2.00 | 5.50 | 19.00 | 1.00 | 2.00 | 5.50 | 19.00 | ||||||
| vredmaxu.vs v8,v16,v24 | 1.00 | 1.00 | 1.00 | 1.00 | 2.00 | 5.50 | 19.00 | 1.00 | 1.00 | 1.00 | 2.00 | 5.50 | 19.00 | 1.00 | 1.00 | 2.00 | 5.50 | 19.00 | 1.00 | 2.00 | 5.50 | 19.00 | ||||||
| vredmaxu.vs v8,v16,v24,v0.t | 1.00 | 1.00 | 1.00 | 1.00 | 2.00 | 5.50 | 19.00 | 1.00 | 1.00 | 1.00 | 2.00 | 5.50 | 19.00 | 1.00 | 1.00 | 2.00 | 5.50 | 19.00 | 1.00 | 2.00 | 5.50 | 19.00 | ||||||
| vredmax.vs v8,v16,v24 | 1.00 | 1.00 | 1.00 | 1.00 | 2.00 | 5.50 | 19.00 | 1.00 | 1.00 | 1.00 | 2.00 | 5.50 | 19.00 | 1.00 | 1.00 | 2.00 | 5.50 | 19.00 | 1.00 | 2.00 | 5.50 | 19.00 | ||||||
| vredmax.vs v8,v16,v24,v0.t | 1.00 | 1.00 | 1.00 | 1.00 | 2.00 | 5.50 | 19.00 | 1.00 | 1.00 | 1.00 | 2.00 | 5.50 | 19.00 | 1.00 | 1.00 | 2.00 | 5.50 | 19.00 | 1.00 | 2.00 | 5.50 | 19.00 | ||||||
| vaaddu.vv v8,v16,v24 | 1.00 | 1.00 | 1.00 | 1.00 | 2.00 | 4.00 | 8.00 | 1.00 | 1.00 | 1.00 | 2.00 | 4.00 | 8.00 | 1.00 | 1.00 | 2.00 | 4.00 | 8.00 | 1.00 | 2.00 | 4.00 | 8.00 | ||||||
| vaaddu.vv v8,v16,v24,v0.t | 1.00 | 1.00 | 1.00 | 1.00 | 2.00 | 4.00 | 8.00 | 1.00 | 1.00 | 1.00 | 2.00 | 4.00 | 8.00 | 1.00 | 1.00 | 2.00 | 4.00 | 8.00 | 1.00 | 2.00 | 4.00 | 8.00 | ||||||
| vaaddu.vx v8,v16,t0 | 1.06 | 1.06 | 1.06 | 1.06 | 2.00 | 4.00 | 8.00 | 1.06 | 1.06 | 1.06 | 2.00 | 4.00 | 8.00 | 1.06 | 1.06 | 2.00 | 4.00 | 8.00 | 1.06 | 2.00 | 4.00 | 8.00 | ||||||
| vaaddu.vx v8,v16,t0,v0.t | 1.06 | 1.06 | 1.06 | 1.06 | 2.00 | 4.00 | 8.00 | 1.06 | 1.06 | 1.06 | 2.00 | 4.00 | 8.00 | 1.06 | 1.06 | 2.00 | 4.00 | 8.00 | 1.06 | 2.00 | 4.00 | 8.00 | ||||||
| vaadd.vv v8,v16,v24 | 1.00 | 1.00 | 1.00 | 1.00 | 2.00 | 4.00 | 8.00 | 1.00 | 1.00 | 1.00 | 2.00 | 4.00 | 8.00 | 1.00 | 1.00 | 2.00 | 4.00 | 8.00 | 1.00 | 2.00 | 4.00 | 8.00 | ||||||
| vaadd.vv v8,v16,v24,v0.t | 1.00 | 1.00 | 1.00 | 1.00 | 2.00 | 4.00 | 8.00 | 1.00 | 1.00 | 1.00 | 2.00 | 4.00 | 8.00 | 1.00 | 1.00 | 2.00 | 4.00 | 8.00 | 1.00 | 2.00 | 4.00 | 8.00 | ||||||
| vaadd.vx v8,v16,t0 | 1.06 | 1.06 | 1.06 | 1.06 | 2.00 | 4.00 | 8.00 | 1.06 | 1.06 | 1.06 | 2.00 | 4.00 | 8.00 | 1.06 | 1.06 | 2.00 | 4.00 | 8.00 | 1.06 | 2.00 | 4.00 | 8.00 | ||||||
| vaadd.vx v8,v16,t0,v0.t | 1.06 | 1.06 | 1.06 | 1.06 | 2.00 | 4.00 | 8.00 | 1.06 | 1.06 | 1.06 | 2.00 | 4.00 | 8.00 | 1.06 | 1.06 | 2.00 | 4.00 | 8.00 | 1.06 | 2.00 | 4.00 | 8.00 | ||||||
| vasubu.vv v8,v16,v24 | 1.00 | 1.00 | 1.00 | 1.00 | 2.00 | 4.00 | 8.00 | 1.00 | 1.00 | 1.00 | 2.00 | 4.00 | 8.00 | 1.00 | 1.00 | 2.00 | 4.00 | 8.00 | 1.00 | 2.00 | 4.00 | 8.00 | ||||||
| vasubu.vv v8,v16,v24,v0.t | 1.00 | 1.00 | 1.00 | 1.00 | 2.00 | 4.00 | 8.00 | 1.00 | 1.00 | 1.00 | 2.00 | 4.00 | 8.00 | 1.00 | 1.00 | 2.00 | 4.00 | 8.00 | 1.00 | 2.00 | 4.00 | 8.00 | ||||||
| vasubu.vx v8,v16,t0 | 1.06 | 1.06 | 1.06 | 1.06 | 2.00 | 4.00 | 8.00 | 1.06 | 1.06 | 1.06 | 2.00 | 4.00 | 8.00 | 1.06 | 1.06 | 2.00 | 4.00 | 8.00 | 1.06 | 2.00 | 4.00 | 8.00 | ||||||
| vasubu.vx v8,v16,t0,v0.t | 1.06 | 1.06 | 1.06 | 1.06 | 2.00 | 4.00 | 8.00 | 1.06 | 1.06 | 1.06 | 2.00 | 4.00 | 8.00 | 1.06 | 1.06 | 2.00 | 4.00 | 8.00 | 1.06 | 2.00 | 4.00 | 8.00 | ||||||
| vasub.vv v8,v16,v24 | 1.00 | 1.00 | 1.00 | 1.00 | 2.00 | 4.00 | 8.00 | 1.00 | 1.00 | 1.00 | 2.00 | 4.00 | 8.00 | 1.00 | 1.00 | 2.00 | 4.00 | 8.00 | 1.00 | 2.00 | 4.00 | 8.00 | ||||||
| vasub.vv v8,v16,v24,v0.t | 1.00 | 1.00 | 1.00 | 1.00 | 2.00 | 4.00 | 8.00 | 1.00 | 1.00 | 1.00 | 2.00 | 4.00 | 8.00 | 1.00 | 1.00 | 2.00 | 4.00 | 8.00 | 1.00 | 2.00 | 4.00 | 8.00 | ||||||
| vasub.vx v8,v16,t0 | 1.06 | 1.06 | 1.06 | 1.06 | 2.00 | 4.00 | 8.00 | 1.06 | 1.06 | 1.06 | 2.00 | 4.00 | 8.00 | 1.06 | 1.06 | 2.00 | 4.00 | 8.00 | 1.06 | 2.00 | 4.00 | 8.00 | ||||||
| vasub.vx v8,v16,t0,v0.t | 1.06 | 1.06 | 1.06 | 1.06 | 2.00 | 4.00 | 8.00 | 1.06 | 1.06 | 1.06 | 2.00 | 4.00 | 8.00 | 1.06 | 1.06 | 2.00 | 4.00 | 8.00 | 1.06 | 2.00 | 4.00 | 8.00 | ||||||
| vslide1up.vx v8,v16,t0 | 1.06 | 1.06 | 1.06 | 2.00 | 4.00 | 8.00 | 16.00 | 1.06 | 1.06 | 2.00 | 4.00 | 8.00 | 16.00 | 1.06 | 2.00 | 4.00 | 8.00 | 16.00 | 2.00 | 4.00 | 8.00 | 16.00 | ||||||
| vslide1up.vx v8,v16,t0,v0.t | 1.06 | 1.06 | 1.06 | 2.00 | 4.00 | 8.00 | 16.00 | 1.06 | 1.06 | 2.00 | 4.00 | 8.00 | 16.00 | 1.06 | 2.00 | 4.00 | 8.00 | 16.00 | 2.00 | 4.00 | 8.00 | 16.00 | ||||||
| vslide1down.vx v8,v16,t0 | 1.06 | 1.06 | 1.06 | 3.00 | 5.00 | 9.00 | 17.00 | 1.06 | 1.06 | 3.00 | 5.00 | 9.00 | 17.00 | 1.06 | 3.00 | 5.00 | 9.00 | 17.00 | 3.00 | 5.00 | 9.00 | 17.00 | ||||||
| vslide1down.vx v8,v16,t0,v0.t | 1.06 | 1.06 | 1.06 | 3.00 | 5.00 | 9.00 | 17.00 | 1.06 | 1.06 | 3.00 | 5.00 | 9.00 | 17.00 | 1.06 | 3.00 | 5.00 | 9.00 | 17.00 | 3.00 | 5.00 | 9.00 | 17.00 | ||||||
| vadc.vvm v8,v16,v24,v0 | 1.00 | 1.00 | 1.00 | 1.00 | 2.00 | 4.00 | 8.00 | 1.00 | 1.00 | 1.00 | 2.00 | 4.00 | 8.00 | 1.00 | 1.00 | 2.00 | 4.00 | 8.00 | 1.00 | 2.00 | 4.00 | 8.00 | ||||||
| vadc.vxm v8,v16,t0,v0 | 1.06 | 1.06 | 1.06 | 1.06 | 2.00 | 4.00 | 8.00 | 1.06 | 1.06 | 1.06 | 2.00 | 4.00 | 8.00 | 1.06 | 1.06 | 2.00 | 4.00 | 8.00 | 1.06 | 2.00 | 4.00 | 8.00 | ||||||
| vadc.vim v8,v16,13,v0 | 1.00 | 1.00 | 1.00 | 1.00 | 2.00 | 4.00 | 8.00 | 1.00 | 1.00 | 1.00 | 2.00 | 4.00 | 8.00 | 1.00 | 1.00 | 2.00 | 4.00 | 8.00 | 1.00 | 2.00 | 4.00 | 8.00 | ||||||
| vmadc.vvm v8,v16,v24,v0 | 1.00 | 1.00 | 1.00 | 2.00 | 2.50 | 5.00 | 11.00 | 1.00 | 1.00 | 2.00 | 2.50 | 5.00 | 18.00 | 1.00 | 2.00 | 2.50 | 5.00 | 18.00 | 2.00 | 2.50 | 5.00 | 18.00 | ||||||
| vmadc.vxm v8,v16,t0,v0 | 1.06 | 1.06 | 1.06 | 2.00 | 2.50 | 5.00 | 11.00 | 1.06 | 1.06 | 2.00 | 2.50 | 5.00 | 18.00 | 1.06 | 2.00 | 2.50 | 5.00 | 18.00 | 2.00 | 2.50 | 5.00 | 18.00 | ||||||
| vmadc.vim v8,v16,13,v0 | 1.00 | 1.00 | 1.00 | 2.00 | 2.50 | 5.00 | 11.00 | 1.00 | 1.00 | 2.00 | 2.50 | 5.00 | 18.00 | 1.00 | 2.00 | 2.50 | 5.00 | 18.00 | 2.00 | 2.50 | 5.00 | 18.00 | ||||||
| vmadc.vv v8,v16,v24 | 1.00 | 1.00 | 1.00 | 2.00 | 2.50 | 5.00 | 11.00 | 1.00 | 1.00 | 2.00 | 2.50 | 5.00 | 18.00 | 1.00 | 2.00 | 2.50 | 5.00 | 18.00 | 2.00 | 2.50 | 5.00 | 18.00 | ||||||
| vmadc.vx v8,v16,t0 | 1.06 | 1.06 | 1.06 | 2.00 | 2.50 | 5.00 | 11.00 | 1.06 | 1.06 | 2.00 | 2.50 | 5.00 | 18.00 | 1.06 | 2.00 | 2.50 | 5.00 | 18.00 | 2.00 | 2.50 | 5.00 | 18.00 | ||||||
| vmadc.vi v8,v16,13 | 1.00 | 1.00 | 1.00 | 2.00 | 2.50 | 5.00 | 11.00 | 1.00 | 1.00 | 2.00 | 2.50 | 5.00 | 18.00 | 1.00 | 2.00 | 2.50 | 5.00 | 18.00 | 2.00 | 2.50 | 5.00 | 18.00 | ||||||
| vsbc.vvm v8,v16,v24,v0 | 1.00 | 1.00 | 1.00 | 1.00 | 2.00 | 4.00 | 8.00 | 1.00 | 1.00 | 1.00 | 2.00 | 4.00 | 8.00 | 1.00 | 1.00 | 2.00 | 4.00 | 8.00 | 1.00 | 2.00 | 4.00 | 8.00 | ||||||
| vsbc.vxm v8,v16,t0,v0 | 1.06 | 1.06 | 1.06 | 1.06 | 2.00 | 4.00 | 8.00 | 1.06 | 1.06 | 1.06 | 2.00 | 4.00 | 8.00 | 1.06 | 1.06 | 2.00 | 4.00 | 8.00 | 1.06 | 2.00 | 4.00 | 8.00 | ||||||
| vmsbc.vvm v8,v16,v24,v0 | 1.00 | 1.00 | 1.00 | 2.00 | 2.50 | 5.00 | 11.00 | 1.00 | 1.00 | 2.00 | 2.50 | 5.00 | 18.00 | 1.00 | 2.00 | 2.50 | 5.00 | 18.00 | 2.00 | 2.50 | 5.00 | 18.00 | ||||||
| vmsbc.vxm v8,v16,t0,v0 | 1.06 | 1.06 | 1.06 | 2.00 | 2.50 | 5.00 | 11.00 | 1.06 | 1.06 | 2.00 | 2.50 | 5.00 | 18.00 | 1.06 | 2.00 | 2.50 | 5.00 | 18.00 | 2.00 | 2.50 | 5.00 | 18.00 | ||||||
| vmsbc.vv v8,v16,v24 | 1.00 | 1.00 | 1.00 | 2.00 | 2.50 | 5.00 | 11.00 | 1.00 | 1.00 | 2.00 | 2.50 | 5.00 | 18.00 | 1.00 | 2.00 | 2.50 | 5.00 | 18.00 | 2.00 | 2.50 | 5.00 | 18.00 | ||||||
| vmsbc.vx v8,v16,t0 | 1.06 | 1.06 | 1.06 | 2.00 | 2.50 | 5.00 | 11.00 | 1.06 | 1.06 | 2.00 | 2.50 | 5.00 | 18.00 | 1.06 | 2.00 | 2.50 | 5.00 | 18.00 | 2.00 | 2.50 | 5.00 | 18.00 | ||||||
| vmerge.vvm v8,v16,v24,v0 | 1.00 | 1.00 | 1.00 | 1.00 | 2.00 | 4.00 | 8.00 | 1.00 | 1.00 | 1.00 | 2.00 | 4.00 | 8.00 | 1.00 | 1.00 | 2.00 | 4.00 | 8.00 | 1.00 | 2.00 | 4.00 | 8.00 | ||||||
| vmerge.vxm v8,v16,t0,v0 | 1.06 | 1.06 | 1.06 | 1.06 | 2.00 | 4.00 | 8.00 | 1.06 | 1.06 | 1.06 | 2.00 | 4.00 | 8.00 | 1.06 | 1.06 | 2.00 | 4.00 | 8.00 | 1.06 | 2.00 | 4.00 | 8.00 | ||||||
| vmerge.vim v8,v16,13,v0 | 1.00 | 1.00 | 1.00 | 1.00 | 2.00 | 4.00 | 8.00 | 1.00 | 1.00 | 1.00 | 2.00 | 4.00 | 8.00 | 1.00 | 1.00 | 2.00 | 4.00 | 8.00 | 1.00 | 2.00 | 4.00 | 8.00 | ||||||
| vmv.v.v v8,v16 | 1.00 | 1.00 | 1.00 | 1.00 | 2.00 | 4.00 | 8.00 | 1.00 | 1.00 | 1.00 | 2.00 | 4.00 | 8.00 | 1.00 | 1.00 | 2.00 | 4.00 | 8.00 | 1.00 | 2.00 | 4.00 | 8.00 | ||||||
| vmv.v.x v8,t0 | 1.06 | 1.06 | 1.06 | 1.06 | 2.00 | 4.00 | 8.00 | 1.06 | 1.06 | 1.06 | 2.00 | 4.00 | 8.00 | 1.06 | 1.06 | 2.00 | 4.00 | 8.00 | 1.06 | 2.00 | 4.00 | 8.00 | ||||||
| vmv.v.i v8,13 | 1.00 | 1.00 | 1.00 | 1.00 | 2.00 | 4.00 | 8.00 | 1.00 | 1.00 | 1.00 | 2.00 | 4.00 | 8.00 | 1.00 | 1.00 | 2.00 | 4.00 | 8.00 | 1.00 | 2.00 | 4.00 | 8.00 | ||||||
| vmseq.vv v8,v16,v24 | 1.00 | 1.00 | 1.00 | 2.00 | 2.50 | 5.00 | 11.00 | 1.00 | 1.00 | 2.00 | 2.50 | 5.00 | 18.00 | 1.00 | 2.00 | 2.50 | 5.00 | 18.00 | 2.00 | 2.50 | 5.00 | 18.00 | ||||||
| vmseq.vv v8,v16,v24,v0.t | 1.00 | 1.00 | 1.00 | 2.00 | 2.50 | 5.00 | 11.00 | 1.00 | 1.00 | 2.00 | 2.50 | 5.00 | 18.00 | 1.00 | 2.00 | 2.50 | 5.00 | 18.00 | 2.00 | 2.50 | 5.00 | 18.00 | ||||||
| vmseq.vx v8,v16,t0 | 1.06 | 1.06 | 1.06 | 2.00 | 2.50 | 5.00 | 11.00 | 1.06 | 1.06 | 2.00 | 2.50 | 5.00 | 18.00 | 1.06 | 2.00 | 2.50 | 5.00 | 18.00 | 2.00 | 2.50 | 5.00 | 18.00 | ||||||
| vmseq.vx v8,v16,t0,v0.t | 1.06 | 1.06 | 1.06 | 2.00 | 2.50 | 5.00 | 11.00 | 1.06 | 1.06 | 2.00 | 2.50 | 5.00 | 18.00 | 1.06 | 2.00 | 2.50 | 5.00 | 18.00 | 2.00 | 2.50 | 5.00 | 18.00 | ||||||
| vmseq.vi v8,v16,13 | 1.00 | 1.00 | 1.00 | 2.00 | 2.50 | 5.00 | 11.00 | 1.00 | 1.00 | 2.00 | 2.50 | 5.00 | 18.00 | 1.00 | 2.00 | 2.50 | 5.00 | 18.00 | 2.00 | 2.50 | 5.00 | 18.00 | ||||||
| vmseq.vi v8,v16,13,v0.t | 1.00 | 1.00 | 1.00 | 2.00 | 2.50 | 5.00 | 11.00 | 1.00 | 1.00 | 2.00 | 2.50 | 5.00 | 18.00 | 1.00 | 2.00 | 2.50 | 5.00 | 18.00 | 2.00 | 2.50 | 5.00 | 18.00 | ||||||
| vmsne.vv v8,v16,v24 | 1.00 | 1.00 | 1.00 | 2.00 | 2.50 | 5.00 | 11.00 | 1.00 | 1.00 | 2.00 | 2.50 | 5.00 | 18.00 | 1.00 | 2.00 | 2.50 | 5.00 | 18.00 | 2.00 | 2.50 | 5.00 | 18.00 | ||||||
| vmsne.vv v8,v16,v24,v0.t | 1.00 | 1.00 | 1.00 | 2.00 | 2.50 | 5.00 | 11.00 | 1.00 | 1.00 | 2.00 | 2.50 | 5.00 | 18.00 | 1.00 | 2.00 | 2.50 | 5.00 | 18.00 | 2.00 | 2.50 | 5.00 | 18.00 | ||||||
| vmsne.vx v8,v16,t0 | 1.06 | 1.06 | 1.06 | 2.00 | 2.50 | 5.00 | 11.00 | 1.06 | 1.06 | 2.00 | 2.50 | 5.00 | 18.00 | 1.06 | 2.00 | 2.50 | 5.00 | 18.00 | 2.00 | 2.50 | 5.00 | 18.00 | ||||||
| vmsne.vx v8,v16,t0,v0.t | 1.06 | 1.06 | 1.06 | 2.00 | 2.50 | 5.00 | 11.00 | 1.06 | 1.06 | 2.00 | 2.50 | 5.00 | 18.00 | 1.06 | 2.00 | 2.50 | 5.00 | 18.00 | 2.00 | 2.50 | 5.00 | 18.00 | ||||||
| vmsne.vi v8,v16,13 | 1.00 | 1.00 | 1.00 | 2.00 | 2.50 | 5.00 | 11.00 | 1.00 | 1.00 | 2.00 | 2.50 | 5.00 | 18.00 | 1.00 | 2.00 | 2.50 | 5.00 | 18.00 | 2.00 | 2.50 | 5.00 | 18.00 | ||||||
| vmsne.vi v8,v16,13,v0.t | 1.00 | 1.00 | 1.00 | 2.00 | 2.50 | 5.00 | 11.00 | 1.00 | 1.00 | 2.00 | 2.50 | 5.00 | 18.00 | 1.00 | 2.00 | 2.50 | 5.00 | 18.00 | 2.00 | 2.50 | 5.00 | 18.00 | ||||||
| vmsltu.vv v8,v16,v24 | 1.00 | 1.00 | 1.00 | 2.00 | 2.50 | 5.00 | 11.00 | 1.00 | 1.00 | 2.00 | 2.50 | 5.00 | 18.00 | 1.00 | 2.00 | 2.50 | 5.00 | 18.00 | 2.00 | 2.50 | 5.00 | 18.00 | ||||||
| vmsltu.vv v8,v16,v24,v0.t | 1.00 | 1.00 | 1.00 | 2.00 | 2.50 | 5.00 | 11.00 | 1.00 | 1.00 | 2.00 | 2.50 | 5.00 | 18.00 | 1.00 | 2.00 | 2.50 | 5.00 | 18.00 | 2.00 | 2.50 | 5.00 | 18.00 | ||||||
| vmsltu.vx v8,v16,t0 | 1.06 | 1.06 | 1.06 | 2.00 | 2.50 | 5.00 | 11.00 | 1.06 | 1.06 | 2.00 | 2.50 | 5.00 | 18.00 | 1.06 | 2.00 | 2.50 | 5.00 | 18.00 | 2.00 | 2.50 | 5.00 | 18.00 | ||||||
| vmsltu.vx v8,v16,t0,v0.t | 1.06 | 1.06 | 1.06 | 2.00 | 2.50 | 5.00 | 11.00 | 1.06 | 1.06 | 2.00 | 2.50 | 5.00 | 18.00 | 1.06 | 2.00 | 2.50 | 5.00 | 18.00 | 2.00 | 2.50 | 5.00 | 18.00 | ||||||
| vmslt.vv v8,v16,v24 | 1.00 | 1.00 | 1.00 | 2.00 | 2.50 | 5.00 | 11.00 | 1.00 | 1.00 | 2.00 | 2.50 | 5.00 | 18.00 | 1.00 | 2.00 | 2.50 | 5.00 | 18.00 | 2.00 | 2.50 | 5.00 | 18.00 | ||||||
| vmslt.vv v8,v16,v24,v0.t | 1.00 | 1.00 | 1.00 | 2.00 | 2.50 | 5.00 | 11.00 | 1.00 | 1.00 | 2.00 | 2.50 | 5.00 | 18.00 | 1.00 | 2.00 | 2.50 | 5.00 | 18.00 | 2.00 | 2.50 | 5.00 | 18.00 | ||||||
| vmslt.vx v8,v16,t0 | 1.06 | 1.06 | 1.06 | 2.00 | 2.50 | 5.00 | 11.00 | 1.06 | 1.06 | 2.00 | 2.50 | 5.00 | 18.00 | 1.06 | 2.00 | 2.50 | 5.00 | 18.00 | 2.00 | 2.50 | 5.00 | 18.00 | ||||||
| vmslt.vx v8,v16,t0,v0.t | 1.06 | 1.06 | 1.06 | 2.00 | 2.50 | 5.00 | 11.00 | 1.06 | 1.06 | 2.00 | 2.50 | 5.00 | 18.00 | 1.06 | 2.00 | 2.50 | 5.00 | 18.00 | 2.00 | 2.50 | 5.00 | 18.00 | ||||||
| vmsleu.vv v8,v16,v24 | 1.00 | 1.00 | 1.00 | 2.00 | 2.50 | 5.00 | 11.00 | 1.00 | 1.00 | 2.00 | 2.50 | 5.00 | 18.00 | 1.00 | 2.00 | 2.50 | 5.00 | 18.00 | 2.00 | 2.50 | 5.00 | 18.00 | ||||||
| vmsleu.vv v8,v16,v24,v0.t | 1.00 | 1.00 | 1.00 | 2.00 | 2.50 | 5.00 | 11.00 | 1.00 | 1.00 | 2.00 | 2.50 | 5.00 | 18.00 | 1.00 | 2.00 | 2.50 | 5.00 | 18.00 | 2.00 | 2.50 | 5.00 | 18.00 | ||||||
| vmsleu.vx v8,v16,t0 | 1.06 | 1.06 | 1.06 | 2.00 | 2.50 | 5.00 | 11.00 | 1.06 | 1.06 | 2.00 | 2.50 | 5.00 | 18.00 | 1.06 | 2.00 | 2.50 | 5.00 | 18.00 | 2.00 | 2.50 | 5.00 | 18.00 | ||||||
| vmsleu.vx v8,v16,t0,v0.t | 1.06 | 1.06 | 1.06 | 2.00 | 2.50 | 5.00 | 11.00 | 1.06 | 1.06 | 2.00 | 2.50 | 5.00 | 18.00 | 1.06 | 2.00 | 2.50 | 5.00 | 18.00 | 2.00 | 2.50 | 5.00 | 18.00 | ||||||
| vmsleu.vi v8,v16,13 | 1.00 | 1.00 | 1.00 | 2.00 | 2.50 | 5.00 | 11.00 | 1.00 | 1.00 | 2.00 | 2.50 | 5.00 | 18.00 | 1.00 | 2.00 | 2.50 | 5.00 | 18.00 | 2.00 | 2.50 | 5.00 | 18.00 | ||||||
| vmsleu.vi v8,v16,13,v0.t | 1.00 | 1.00 | 1.00 | 2.00 | 2.50 | 5.00 | 11.00 | 1.00 | 1.00 | 2.00 | 2.50 | 5.00 | 18.00 | 1.00 | 2.00 | 2.50 | 5.00 | 18.00 | 2.00 | 2.50 | 5.00 | 18.00 | ||||||
| vmsle.vv v8,v16,v24 | 1.00 | 1.00 | 1.00 | 2.00 | 2.50 | 5.00 | 11.00 | 1.00 | 1.00 | 2.00 | 2.50 | 5.00 | 18.00 | 1.00 | 2.00 | 2.50 | 5.00 | 18.00 | 2.00 | 2.50 | 5.00 | 18.00 | ||||||
| vmsle.vv v8,v16,v24,v0.t | 1.00 | 1.00 | 1.00 | 2.00 | 2.50 | 5.00 | 11.00 | 1.00 | 1.00 | 2.00 | 2.50 | 5.00 | 18.00 | 1.00 | 2.00 | 2.50 | 5.00 | 18.00 | 2.00 | 2.50 | 5.00 | 18.00 | ||||||
| vmsle.vx v8,v16,t0 | 1.06 | 1.06 | 1.06 | 2.00 | 2.50 | 5.00 | 11.00 | 1.06 | 1.06 | 2.00 | 2.50 | 5.00 | 18.00 | 1.06 | 2.00 | 2.50 | 5.00 | 18.00 | 2.00 | 2.50 | 5.00 | 18.00 | ||||||
| vmsle.vx v8,v16,t0,v0.t | 1.06 | 1.06 | 1.06 | 2.00 | 2.50 | 5.00 | 11.00 | 1.06 | 1.06 | 2.00 | 2.50 | 5.00 | 18.00 | 1.06 | 2.00 | 2.50 | 5.00 | 18.00 | 2.00 | 2.50 | 5.00 | 18.00 | ||||||
| vmsle.vi v8,v16,13 | 1.00 | 1.00 | 1.00 | 2.00 | 2.50 | 5.00 | 11.00 | 1.00 | 1.00 | 2.00 | 2.50 | 5.00 | 18.00 | 1.00 | 2.00 | 2.50 | 5.00 | 18.00 | 2.00 | 2.50 | 5.00 | 18.00 | ||||||
| vmsle.vi v8,v16,13,v0.t | 1.00 | 1.00 | 1.00 | 2.00 | 2.50 | 5.00 | 11.00 | 1.00 | 1.00 | 2.00 | 2.50 | 5.00 | 18.00 | 1.00 | 2.00 | 2.50 | 5.00 | 18.00 | 2.00 | 2.50 | 5.00 | 18.00 | ||||||
| vmsgtu.vx v8,v16,t0 | 1.06 | 1.06 | 1.06 | 2.00 | 2.50 | 5.00 | 11.00 | 1.06 | 1.06 | 2.00 | 2.50 | 5.00 | 18.00 | 1.06 | 2.00 | 2.50 | 5.00 | 18.00 | 2.00 | 2.50 | 5.00 | 18.00 | ||||||
| vmsgtu.vx v8,v16,t0,v0.t | 1.06 | 1.06 | 1.06 | 2.00 | 2.50 | 5.00 | 11.00 | 1.06 | 1.06 | 2.00 | 2.50 | 5.00 | 18.00 | 1.06 | 2.00 | 2.50 | 5.00 | 18.00 | 2.00 | 2.50 | 5.00 | 18.00 | ||||||
| vmsgtu.vi v8,v16,13 | 1.00 | 1.00 | 1.00 | 2.00 | 2.50 | 5.00 | 11.00 | 1.00 | 1.00 | 2.00 | 2.50 | 5.00 | 18.00 | 1.00 | 2.00 | 2.50 | 5.00 | 18.00 | 2.00 | 2.50 | 5.00 | 18.00 | ||||||
| vmsgtu.vi v8,v16,13,v0.t | 1.00 | 1.00 | 1.00 | 2.00 | 2.50 | 5.00 | 11.00 | 1.00 | 1.00 | 2.00 | 2.50 | 5.00 | 18.00 | 1.00 | 2.00 | 2.50 | 5.00 | 18.00 | 2.00 | 2.50 | 5.00 | 18.00 | ||||||
| vmsgt.vx v8,v16,t0 | 1.06 | 1.06 | 1.06 | 2.00 | 2.50 | 5.00 | 11.00 | 1.06 | 1.06 | 2.00 | 2.50 | 5.00 | 18.00 | 1.06 | 2.00 | 2.50 | 5.00 | 18.00 | 2.00 | 2.50 | 5.00 | 18.00 | ||||||
| vmsgt.vx v8,v16,t0,v0.t | 1.06 | 1.06 | 1.06 | 2.00 | 2.50 | 5.00 | 11.00 | 1.06 | 1.06 | 2.00 | 2.50 | 5.00 | 18.00 | 1.06 | 2.00 | 2.50 | 5.00 | 18.00 | 2.00 | 2.50 | 5.00 | 18.00 | ||||||
| vmsgt.vi v8,v16,13 | 1.00 | 1.00 | 1.00 | 2.00 | 2.50 | 5.00 | 11.00 | 1.00 | 1.00 | 2.00 | 2.50 | 5.00 | 18.00 | 1.00 | 2.00 | 2.50 | 5.00 | 18.00 | 2.00 | 2.50 | 5.00 | 18.00 | ||||||
| vmsgt.vi v8,v16,13,v0.t | 1.00 | 1.00 | 1.00 | 2.00 | 2.50 | 5.00 | 11.00 | 1.00 | 1.00 | 2.00 | 2.50 | 5.00 | 18.00 | 1.00 | 2.00 | 2.50 | 5.00 | 18.00 | 2.00 | 2.50 | 5.00 | 18.00 | ||||||
| vcompress.vm v8,v16,v24 | 1.00 | 1.00 | 1.00 | 3.00 | 10.00 | 36.00 | 135.94 | 1.00 | 1.00 | 3.00 | 10.00 | 36.00 | 135.95 | 1.00 | 3.00 | 10.00 | 36.00 | 135.95 | 3.00 | 10.00 | 36.00 | 135.95 | ||||||
| vmandn.mm v8,v16,v24 | 1.00 | 1.00 | 1.00 | 1.00 | 1.00 | 1.00 | 1.00 | 1.00 | 1.00 | 1.00 | 1.00 | 1.00 | 1.00 | 1.00 | 1.00 | 1.00 | 1.00 | 1.00 | 1.00 | 1.00 | 1.00 | 1.00 | ||||||
| vmand.mm v8,v16,v24 | 1.00 | 1.00 | 1.00 | 1.00 | 1.00 | 1.00 | 1.00 | 1.00 | 1.00 | 1.00 | 1.00 | 1.00 | 1.00 | 1.00 | 1.00 | 1.00 | 1.00 | 1.00 | 1.00 | 1.00 | 1.00 | 1.00 | ||||||
| vmor.mm v8,v16,v24 | 1.00 | 1.00 | 1.00 | 1.00 | 1.00 | 1.00 | 1.00 | 1.00 | 1.00 | 1.00 | 1.00 | 1.00 | 1.00 | 1.00 | 1.00 | 1.00 | 1.00 | 1.00 | 1.00 | 1.00 | 1.00 | 1.00 | ||||||
| vmxor.mm v8,v16,v24 | 1.00 | 1.00 | 1.00 | 1.00 | 1.00 | 1.00 | 1.00 | 1.00 | 1.00 | 1.00 | 1.00 | 1.00 | 1.00 | 1.00 | 1.00 | 1.00 | 1.00 | 1.00 | 1.00 | 1.00 | 1.00 | 1.00 | ||||||
| vmorn.mm v8,v16,v24 | 1.00 | 1.00 | 1.00 | 1.00 | 1.00 | 1.00 | 1.00 | 1.00 | 1.00 | 1.00 | 1.00 | 1.00 | 1.00 | 1.00 | 1.00 | 1.00 | 1.00 | 1.00 | 1.00 | 1.00 | 1.00 | 1.00 | ||||||
| vmnand.mm v8,v16,v24 | 1.00 | 1.00 | 1.00 | 1.00 | 1.00 | 1.00 | 1.00 | 1.00 | 1.00 | 1.00 | 1.00 | 1.00 | 1.00 | 1.00 | 1.00 | 1.00 | 1.00 | 1.00 | 1.00 | 1.00 | 1.00 | 1.00 | ||||||
| vmnor.mm v8,v16,v24 | 1.00 | 1.00 | 1.00 | 1.00 | 1.00 | 1.00 | 1.00 | 1.00 | 1.00 | 1.00 | 1.00 | 1.00 | 1.00 | 1.00 | 1.00 | 1.00 | 1.00 | 1.00 | 1.00 | 1.00 | 1.00 | 1.00 | ||||||
| vmxnor.mm v8,v16,v24 | 1.00 | 1.00 | 1.00 | 1.00 | 1.00 | 1.00 | 1.00 | 1.00 | 1.00 | 1.00 | 1.00 | 1.00 | 1.00 | 1.00 | 1.00 | 1.00 | 1.00 | 1.00 | 1.00 | 1.00 | 1.00 | 1.00 | ||||||
| vsaddu.vv v8,v16,v24 | 1.00 | 1.00 | 1.00 | 1.00 | 2.00 | 4.00 | 8.00 | 1.00 | 1.00 | 1.00 | 2.00 | 4.00 | 8.00 | 1.00 | 1.00 | 2.00 | 4.00 | 8.00 | 1.00 | 2.00 | 4.00 | 8.00 | ||||||
| vsaddu.vv v8,v16,v24,v0.t | 1.00 | 1.00 | 1.00 | 1.00 | 2.00 | 4.00 | 8.00 | 1.00 | 1.00 | 1.00 | 2.00 | 4.00 | 8.00 | 1.00 | 1.00 | 2.00 | 4.00 | 8.00 | 1.00 | 2.00 | 4.00 | 8.00 | ||||||
| vsaddu.vx v8,v16,t0 | 1.06 | 1.06 | 1.06 | 1.06 | 2.00 | 4.00 | 8.00 | 1.06 | 1.06 | 1.06 | 2.00 | 4.00 | 8.00 | 1.06 | 1.06 | 2.00 | 4.00 | 8.00 | 1.06 | 2.00 | 4.00 | 8.00 | ||||||
| vsaddu.vx v8,v16,t0,v0.t | 1.06 | 1.06 | 1.06 | 1.06 | 2.00 | 4.00 | 8.00 | 1.06 | 1.06 | 1.06 | 2.00 | 4.00 | 8.00 | 1.06 | 1.06 | 2.00 | 4.00 | 8.00 | 1.06 | 2.00 | 4.00 | 8.00 | ||||||
| vsaddu.vi v8,v16,13 | 1.00 | 1.00 | 1.00 | 1.00 | 2.00 | 4.00 | 8.00 | 1.00 | 1.00 | 1.00 | 2.00 | 4.00 | 8.00 | 1.00 | 1.00 | 2.00 | 4.00 | 8.00 | 1.00 | 2.00 | 4.00 | 8.00 | ||||||
| vsaddu.vi v8,v16,13,v0.t | 1.00 | 1.00 | 1.00 | 1.00 | 2.00 | 4.00 | 8.00 | 1.00 | 1.00 | 1.00 | 2.00 | 4.00 | 8.00 | 1.00 | 1.00 | 2.00 | 4.00 | 8.00 | 1.00 | 2.00 | 4.00 | 8.00 | ||||||
| vsadd.vv v8,v16,v24 | 1.00 | 1.00 | 1.00 | 1.00 | 2.00 | 4.00 | 8.00 | 1.00 | 1.00 | 1.00 | 2.00 | 4.00 | 8.00 | 1.00 | 1.00 | 2.00 | 4.00 | 8.00 | 1.00 | 2.00 | 4.00 | 8.00 | ||||||
| vsadd.vv v8,v16,v24,v0.t | 1.00 | 1.00 | 1.00 | 1.00 | 2.00 | 4.00 | 8.00 | 1.00 | 1.00 | 1.00 | 2.00 | 4.00 | 8.00 | 1.00 | 1.00 | 2.00 | 4.00 | 8.00 | 1.00 | 2.00 | 4.00 | 8.00 | ||||||
| vsadd.vx v8,v16,t0 | 1.06 | 1.06 | 1.06 | 1.06 | 2.00 | 4.00 | 8.00 | 1.06 | 1.06 | 1.06 | 2.00 | 4.00 | 8.00 | 1.06 | 1.06 | 2.00 | 4.00 | 8.00 | 1.06 | 2.00 | 4.00 | 8.00 | ||||||
| vsadd.vx v8,v16,t0,v0.t | 1.06 | 1.06 | 1.06 | 1.06 | 2.00 | 4.00 | 8.00 | 1.06 | 1.06 | 1.06 | 2.00 | 4.00 | 8.00 | 1.06 | 1.06 | 2.00 | 4.00 | 8.00 | 1.06 | 2.00 | 4.00 | 8.00 | ||||||
| vsadd.vi v8,v16,13 | 1.00 | 1.00 | 1.00 | 1.00 | 2.00 | 4.00 | 8.00 | 1.00 | 1.00 | 1.00 | 2.00 | 4.00 | 8.00 | 1.00 | 1.00 | 2.00 | 4.00 | 8.00 | 1.00 | 2.00 | 4.00 | 8.00 | ||||||
| vsadd.vi v8,v16,13,v0.t | 1.00 | 1.00 | 1.00 | 1.00 | 2.00 | 4.00 | 8.00 | 1.00 | 1.00 | 1.00 | 2.00 | 4.00 | 8.00 | 1.00 | 1.00 | 2.00 | 4.00 | 8.00 | 1.00 | 2.00 | 4.00 | 8.00 | ||||||
| vssubu.vv v8,v16,v24 | 1.00 | 1.00 | 1.00 | 1.00 | 2.00 | 4.00 | 8.00 | 1.00 | 1.00 | 1.00 | 2.00 | 4.00 | 8.00 | 1.00 | 1.00 | 2.00 | 4.00 | 8.00 | 1.00 | 2.00 | 4.00 | 8.00 | ||||||
| vssubu.vv v8,v16,v24,v0.t | 1.00 | 1.00 | 1.00 | 1.00 | 2.00 | 4.00 | 8.00 | 1.00 | 1.00 | 1.00 | 2.00 | 4.00 | 8.00 | 1.00 | 1.00 | 2.00 | 4.00 | 8.00 | 1.00 | 2.00 | 4.00 | 8.00 | ||||||
| vssubu.vx v8,v16,t0 | 1.06 | 1.06 | 1.06 | 1.06 | 2.00 | 4.00 | 8.00 | 1.06 | 1.06 | 1.06 | 2.00 | 4.00 | 8.00 | 1.06 | 1.06 | 2.00 | 4.00 | 8.00 | 1.06 | 2.00 | 4.00 | 8.00 | ||||||
| vssubu.vx v8,v16,t0,v0.t | 1.06 | 1.06 | 1.06 | 1.06 | 2.00 | 4.00 | 8.00 | 1.06 | 1.06 | 1.06 | 2.00 | 4.00 | 8.00 | 1.06 | 1.06 | 2.00 | 4.00 | 8.00 | 1.06 | 2.00 | 4.00 | 8.00 | ||||||
| vssub.vv v8,v16,v24 | 1.00 | 1.00 | 1.00 | 1.00 | 2.00 | 4.00 | 8.00 | 1.00 | 1.00 | 1.00 | 2.00 | 4.00 | 8.00 | 1.00 | 1.00 | 2.00 | 4.00 | 8.00 | 1.00 | 2.00 | 4.00 | 8.00 | ||||||
| vssub.vv v8,v16,v24,v0.t | 1.00 | 1.00 | 1.00 | 1.00 | 2.00 | 4.00 | 8.00 | 1.00 | 1.00 | 1.00 | 2.00 | 4.00 | 8.00 | 1.00 | 1.00 | 2.00 | 4.00 | 8.00 | 1.00 | 2.00 | 4.00 | 8.00 | ||||||
| vssub.vx v8,v16,t0 | 1.06 | 1.06 | 1.06 | 1.06 | 2.00 | 4.00 | 8.00 | 1.06 | 1.06 | 1.06 | 2.00 | 4.00 | 8.00 | 1.06 | 1.06 | 2.00 | 4.00 | 8.00 | 1.06 | 2.00 | 4.00 | 8.00 | ||||||
| vssub.vx v8,v16,t0,v0.t | 1.06 | 1.06 | 1.06 | 1.06 | 2.00 | 4.00 | 8.00 | 1.06 | 1.06 | 1.06 | 2.00 | 4.00 | 8.00 | 1.06 | 1.06 | 2.00 | 4.00 | 8.00 | 1.06 | 2.00 | 4.00 | 8.00 | ||||||
| vsll.vv v8,v16,v24 | 1.00 | 1.00 | 1.00 | 2.00 | 4.00 | 8.00 | 16.00 | 1.00 | 1.00 | 2.00 | 4.00 | 8.00 | 16.00 | 1.00 | 2.00 | 4.00 | 8.00 | 16.00 | 2.00 | 4.00 | 8.00 | 16.00 | ||||||
| vsll.vv v8,v16,v24,v0.t | 1.00 | 1.00 | 1.00 | 2.00 | 4.00 | 8.00 | 16.00 | 1.00 | 1.00 | 2.00 | 4.00 | 8.00 | 16.00 | 1.00 | 2.00 | 4.00 | 8.00 | 16.00 | 2.00 | 4.00 | 8.00 | 16.00 | ||||||
| vsll.vx v8,v16,t0 | 1.06 | 1.06 | 1.06 | 2.00 | 4.00 | 8.00 | 16.00 | 1.06 | 1.06 | 2.00 | 4.00 | 8.00 | 16.00 | 1.06 | 2.00 | 4.00 | 8.00 | 16.00 | 2.00 | 4.00 | 8.00 | 16.00 | ||||||
| vsll.vx v8,v16,t0,v0.t | 1.06 | 1.06 | 1.06 | 2.00 | 4.00 | 8.00 | 16.00 | 1.06 | 1.06 | 2.00 | 4.00 | 8.00 | 16.00 | 1.06 | 2.00 | 4.00 | 8.00 | 16.00 | 2.00 | 4.00 | 8.00 | 16.00 | ||||||
| vsll.vi v8,v16,13 | 1.00 | 1.00 | 1.00 | 2.00 | 4.00 | 8.00 | 16.00 | 1.00 | 1.00 | 2.00 | 4.00 | 8.00 | 16.00 | 1.00 | 2.00 | 4.00 | 8.00 | 16.00 | 2.00 | 4.00 | 8.00 | 16.00 | ||||||
| vsll.vi v8,v16,13,v0.t | 1.00 | 1.00 | 1.00 | 2.00 | 4.00 | 8.00 | 16.00 | 1.00 | 1.00 | 2.00 | 4.00 | 8.00 | 16.00 | 1.00 | 2.00 | 4.00 | 8.00 | 16.00 | 2.00 | 4.00 | 8.00 | 16.00 | ||||||
| vsmul.vv v8,v16,v24 | 1.00 | 1.00 | 1.00 | 1.00 | 2.00 | 4.00 | 8.00 | 1.00 | 1.00 | 1.00 | 2.00 | 4.00 | 8.00 | 1.00 | 1.00 | 2.00 | 4.00 | 8.00 | 4.00 | 8.00 | 16.00 | 32.00 | ||||||
| vsmul.vv v8,v16,v24,v0.t | 1.00 | 1.00 | 1.00 | 1.00 | 2.00 | 4.00 | 8.00 | 1.00 | 1.00 | 1.00 | 2.00 | 4.00 | 8.00 | 1.00 | 1.00 | 2.00 | 4.00 | 8.00 | 4.00 | 8.00 | 16.00 | 32.00 | ||||||
| vsmul.vx v8,v16,t0 | 1.06 | 1.06 | 1.06 | 1.06 | 2.00 | 4.00 | 8.00 | 1.06 | 1.06 | 1.06 | 2.00 | 4.00 | 8.00 | 1.06 | 1.06 | 2.00 | 4.00 | 8.00 | 4.00 | 8.00 | 16.00 | 32.00 | ||||||
| vsmul.vx v8,v16,t0,v0.t | 1.06 | 1.06 | 1.06 | 1.06 | 2.00 | 4.00 | 8.00 | 1.06 | 1.06 | 1.06 | 2.00 | 4.00 | 8.00 | 1.06 | 1.06 | 2.00 | 4.00 | 8.00 | 4.00 | 8.00 | 16.00 | 32.00 | ||||||
| vmv1r.v v8,v16 | 1.00 | 1.00 | 1.00 | 1.00 | 1.00 | 1.00 | 2.00 | 1.00 | 1.00 | 1.00 | 1.00 | 1.00 | 2.00 | 1.00 | 1.00 | 1.00 | 1.00 | 2.00 | 1.00 | 1.00 | 1.00 | 2.00 | ||||||
| vmv2r.v v8,v16 | 2.00 | 2.00 | 3.00 | 2.00 | 2.00 | 3.00 | 2.00 | 2.00 | 3.00 | 2.00 | 2.00 | 3.00 | ||||||||||||||||
| vmv4r.v v8,v16 | 4.00 | 4.00 | 4.00 | 4.00 | 4.00 | 4.00 | 4.00 | 4.00 | ||||||||||||||||||||
| vmv8r.v v8,v16 | 8.00 | 8.00 | 8.00 | 8.00 | ||||||||||||||||||||||||
| vsrl.vv v8,v16,v24 | 1.00 | 1.00 | 1.00 | 2.00 | 4.00 | 8.00 | 16.00 | 1.00 | 1.00 | 2.00 | 4.00 | 8.00 | 16.00 | 1.00 | 2.00 | 4.00 | 8.00 | 16.00 | 2.00 | 4.00 | 8.00 | 16.00 | ||||||
| vsrl.vv v8,v16,v24,v0.t | 1.00 | 1.00 | 1.00 | 2.00 | 4.00 | 8.00 | 16.00 | 1.00 | 1.00 | 2.00 | 4.00 | 8.00 | 16.00 | 1.00 | 2.00 | 4.00 | 8.00 | 16.00 | 2.00 | 4.00 | 8.00 | 16.00 | ||||||
| vsrl.vx v8,v16,t0 | 1.06 | 1.06 | 1.06 | 2.00 | 4.00 | 8.00 | 16.00 | 1.06 | 1.06 | 2.00 | 4.00 | 8.00 | 16.00 | 1.06 | 2.00 | 4.00 | 8.00 | 16.00 | 2.00 | 4.00 | 8.00 | 16.00 | ||||||
| vsrl.vx v8,v16,t0,v0.t | 1.06 | 1.06 | 1.06 | 2.00 | 4.00 | 8.00 | 16.00 | 1.06 | 1.06 | 2.00 | 4.00 | 8.00 | 16.00 | 1.06 | 2.00 | 4.00 | 8.00 | 16.00 | 2.00 | 4.00 | 8.00 | 16.00 | ||||||
| vsrl.vi v8,v16,13 | 1.00 | 1.00 | 1.00 | 2.00 | 4.00 | 8.00 | 16.00 | 1.00 | 1.00 | 2.00 | 4.00 | 8.00 | 16.00 | 1.00 | 2.00 | 4.00 | 8.00 | 16.00 | 2.00 | 4.00 | 8.00 | 16.00 | ||||||
| vsrl.vi v8,v16,13,v0.t | 1.00 | 1.00 | 1.00 | 2.00 | 4.00 | 8.00 | 16.00 | 1.00 | 1.00 | 2.00 | 4.00 | 8.00 | 16.00 | 1.00 | 2.00 | 4.00 | 8.00 | 16.00 | 2.00 | 4.00 | 8.00 | 16.00 | ||||||
| vsra.vv v8,v16,v24 | 1.00 | 1.00 | 1.00 | 2.00 | 4.00 | 8.00 | 16.00 | 1.00 | 1.00 | 2.00 | 4.00 | 8.00 | 16.00 | 1.00 | 2.00 | 4.00 | 8.00 | 16.00 | 2.00 | 4.00 | 8.00 | 16.00 | ||||||
| vsra.vv v8,v16,v24,v0.t | 1.00 | 1.00 | 1.00 | 2.00 | 4.00 | 8.00 | 16.00 | 1.00 | 1.00 | 2.00 | 4.00 | 8.00 | 16.00 | 1.00 | 2.00 | 4.00 | 8.00 | 16.00 | 2.00 | 4.00 | 8.00 | 16.00 | ||||||
| vsra.vx v8,v16,t0 | 1.06 | 1.06 | 1.06 | 2.00 | 4.00 | 8.00 | 16.00 | 1.06 | 1.06 | 2.00 | 4.00 | 8.00 | 16.00 | 1.06 | 2.00 | 4.00 | 8.00 | 16.00 | 2.00 | 4.00 | 8.00 | 16.00 | ||||||
| vsra.vx v8,v16,t0,v0.t | 1.06 | 1.06 | 1.06 | 2.00 | 4.00 | 8.00 | 16.00 | 1.06 | 1.06 | 2.00 | 4.00 | 8.00 | 16.00 | 1.06 | 2.00 | 4.00 | 8.00 | 16.00 | 2.00 | 4.00 | 8.00 | 16.00 | ||||||
| vsra.vi v8,v16,13 | 1.00 | 1.00 | 1.00 | 2.00 | 4.00 | 8.00 | 16.00 | 1.00 | 1.00 | 2.00 | 4.00 | 8.00 | 16.00 | 1.00 | 2.00 | 4.00 | 8.00 | 16.00 | 2.00 | 4.00 | 8.00 | 16.00 | ||||||
| vsra.vi v8,v16,13,v0.t | 1.00 | 1.00 | 1.00 | 2.00 | 4.00 | 8.00 | 16.00 | 1.00 | 1.00 | 2.00 | 4.00 | 8.00 | 16.00 | 1.00 | 2.00 | 4.00 | 8.00 | 16.00 | 2.00 | 4.00 | 8.00 | 16.00 | ||||||
| vssrl.vv v8,v16,v24 | 1.00 | 1.00 | 1.00 | 2.00 | 4.00 | 8.00 | 16.00 | 1.00 | 1.00 | 2.00 | 4.00 | 8.00 | 16.00 | 1.00 | 2.00 | 4.00 | 8.00 | 16.00 | 2.00 | 4.00 | 8.00 | 16.00 | ||||||
| vssrl.vv v8,v16,v24,v0.t | 1.00 | 1.00 | 1.00 | 2.00 | 4.00 | 8.00 | 16.00 | 1.00 | 1.00 | 2.00 | 4.00 | 8.00 | 16.00 | 1.00 | 2.00 | 4.00 | 8.00 | 16.00 | 2.00 | 4.00 | 8.00 | 16.00 | ||||||
| vssrl.vx v8,v16,t0 | 1.06 | 1.06 | 1.06 | 2.00 | 4.00 | 8.00 | 16.00 | 1.06 | 1.06 | 2.00 | 4.00 | 8.00 | 16.00 | 1.06 | 2.00 | 4.00 | 8.00 | 16.00 | 2.00 | 4.00 | 8.00 | 16.00 | ||||||
| vssrl.vx v8,v16,t0,v0.t | 1.06 | 1.06 | 1.06 | 2.00 | 4.00 | 8.00 | 16.00 | 1.06 | 1.06 | 2.00 | 4.00 | 8.00 | 16.00 | 1.06 | 2.00 | 4.00 | 8.00 | 16.00 | 2.00 | 4.00 | 8.00 | 16.00 | ||||||
| vssrl.vi v8,v16,13 | 1.00 | 1.00 | 1.00 | 2.00 | 4.00 | 8.00 | 16.00 | 1.00 | 1.00 | 2.00 | 4.00 | 8.00 | 16.00 | 1.00 | 2.00 | 4.00 | 8.00 | 16.00 | 2.00 | 4.00 | 8.00 | 16.00 | ||||||
| vssrl.vi v8,v16,13,v0.t | 1.00 | 1.00 | 1.00 | 2.00 | 4.00 | 8.00 | 16.00 | 1.00 | 1.00 | 2.00 | 4.00 | 8.00 | 16.00 | 1.00 | 2.00 | 4.00 | 8.00 | 16.00 | 2.00 | 4.00 | 8.00 | 16.00 | ||||||
| vdivu.vv v8,v16,v24 | 9.56 | 9.60 | 9.56 | 18.59 | 36.47 | 72.45 | 143.97 | 9.56 | 9.55 | 18.50 | 36.63 | 72.24 | 144.17 | 9.65 | 18.53 | 36.38 | 72.34 | 144.20 | 18.43 | 36.54 | 72.46 | 144.44 | ||||||
| vdivu.vv v8,v16,v24,v0.t | 9.12 | 9.13 | 9.13 | 18.13 | 36.08 | 72.09 | 143.95 | 9.20 | 9.10 | 18.20 | 36.17 | 72.16 | 144.00 | 9.16 | 18.15 | 36.11 | 72.09 | 143.93 | 18.21 | 36.16 | 72.04 | 143.98 | ||||||
| vdivu.vx v8,v16,t0 | 9.16 | 9.23 | 9.21 | 18.16 | 36.16 | 72.12 | 143.99 | 9.11 | 9.14 | 18.16 | 36.11 | 72.04 | 143.98 | 9.29 | 18.31 | 36.21 | 72.22 | 144.13 | 18.26 | 36.00 | 71.99 | 143.99 | ||||||
| vdivu.vx v8,v16,t0,v0.t | 9.08 | 9.05 | 9.03 | 18.05 | 36.00 | 72.02 | 143.98 | 9.03 | 9.03 | 18.05 | 36.01 | 71.99 | 143.99 | 9.08 | 18.10 | 36.03 | 72.07 | 143.98 | 18.09 | 36.00 | 71.99 | 143.98 | ||||||
| vdiv.vv v8,v16,v24 | 10.59 | 10.53 | 10.60 | 20.53 | 40.59 | 80.48 | 160.25 | 10.48 | 10.42 | 20.43 | 40.44 | 80.24 | 160.00 | 10.34 | 20.44 | 40.53 | 80.17 | 160.29 | 20.48 | 40.28 | 80.31 | 159.99 | ||||||
| vdiv.vv v8,v16,v24,v0.t | 10.21 | 10.11 | 10.21 | 20.11 | 40.18 | 80.09 | 159.94 | 10.13 | 10.16 | 20.15 | 40.07 | 80.06 | 160.14 | 10.16 | 20.11 | 40.13 | 80.20 | 160.04 | 20.17 | 40.11 | 80.04 | 160.03 | ||||||
| vdiv.vx v8,v16,t0 | 10.20 | 10.22 | 10.23 | 20.11 | 40.10 | 80.09 | 159.98 | 10.18 | 10.18 | 20.29 | 40.16 | 79.99 | 159.98 | 10.30 | 20.27 | 40.33 | 80.22 | 160.23 | 20.20 | 40.00 | 79.99 | 159.98 | ||||||
| vdiv.vx v8,v16,t0,v0.t | 10.01 | 10.05 | 10.09 | 20.01 | 40.01 | 79.99 | 159.98 | 10.06 | 10.10 | 20.04 | 40.00 | 80.04 | 159.98 | 10.11 | 20.11 | 40.08 | 80.02 | 160.09 | 20.06 | 40.00 | 79.99 | 159.98 | ||||||
| vremu.vv v8,v16,v24 | 10.56 | 10.60 | 10.56 | 20.59 | 40.46 | 80.46 | 159.94 | 10.48 | 10.47 | 20.41 | 40.50 | 80.48 | 160.11 | 10.44 | 20.51 | 40.63 | 80.43 | 160.13 | 20.49 | 40.54 | 80.33 | 160.04 | ||||||
| vremu.vv v8,v16,v24,v0.t | 10.13 | 10.13 | 10.13 | 20.13 | 40.08 | 80.09 | 159.94 | 10.18 | 10.14 | 20.09 | 40.13 | 80.06 | 159.95 | 10.16 | 20.18 | 40.12 | 80.02 | 159.94 | 20.18 | 40.07 | 80.12 | 159.94 | ||||||
| vremu.vx v8,v16,t0 | 10.23 | 10.20 | 10.16 | 20.15 | 40.14 | 79.99 | 159.98 | 10.17 | 10.15 | 20.18 | 40.17 | 80.00 | 159.98 | 10.34 | 20.31 | 40.36 | 80.24 | 160.09 | 20.25 | 40.00 | 79.99 | 159.98 | ||||||
| vremu.vx v8,v16,t0,v0.t | 10.07 | 10.08 | 10.06 | 20.05 | 40.03 | 79.99 | 159.98 | 10.04 | 10.03 | 20.05 | 40.01 | 79.99 | 159.98 | 10.12 | 20.08 | 40.03 | 80.12 | 159.98 | 20.07 | 40.00 | 79.99 | 159.98 | ||||||
| vrem.vv v8,v16,v24 | 11.60 | 11.53 | 11.60 | 22.53 | 44.59 | 88.48 | 176.23 | 11.39 | 11.42 | 22.35 | 44.50 | 88.26 | 176.08 | 11.50 | 22.45 | 44.44 | 88.26 | 176.18 | 22.40 | 44.30 | 88.14 | 176.14 | ||||||
| vrem.vv v8,v16,v24,v0.t | 11.21 | 11.11 | 11.21 | 22.11 | 44.18 | 88.09 | 175.93 | 11.16 | 11.18 | 22.14 | 44.06 | 88.08 | 176.03 | 11.16 | 22.10 | 44.04 | 88.04 | 175.92 | 22.14 | 44.08 | 88.06 | 175.92 | ||||||
| vrem.vx v8,v16,t0 | 11.21 | 11.23 | 11.27 | 22.10 | 44.11 | 88.12 | 176.03 | 11.22 | 11.21 | 22.18 | 44.16 | 88.04 | 175.98 | 11.33 | 22.35 | 44.21 | 88.22 | 176.08 | 22.19 | 44.00 | 87.99 | 175.98 | ||||||
| vrem.vx v8,v16,t0,v0.t | 11.03 | 11.04 | 11.03 | 22.04 | 44.02 | 87.99 | 175.98 | 11.07 | 11.05 | 22.05 | 44.06 | 87.99 | 175.98 | 11.05 | 22.14 | 44.06 | 88.07 | 175.98 | 22.05 | 44.00 | 87.99 | 175.98 | ||||||
| vmulhu.vv v8,v16,v24 | 1.00 | 1.00 | 1.00 | 1.00 | 2.00 | 4.00 | 8.00 | 1.00 | 1.00 | 1.00 | 2.00 | 4.00 | 8.00 | 1.00 | 1.00 | 2.00 | 4.00 | 8.00 | 4.00 | 8.00 | 16.00 | 32.00 | ||||||
| vmulhu.vv v8,v16,v24,v0.t | 1.00 | 1.00 | 1.00 | 1.00 | 2.00 | 4.00 | 8.00 | 1.00 | 1.00 | 1.00 | 2.00 | 4.00 | 8.00 | 1.00 | 1.00 | 2.00 | 4.00 | 8.00 | 4.00 | 8.00 | 16.00 | 32.00 | ||||||
| vmulhu.vx v8,v16,t0 | 1.06 | 1.06 | 1.06 | 1.06 | 2.00 | 4.00 | 8.00 | 1.06 | 1.06 | 1.06 | 2.00 | 4.00 | 8.00 | 1.06 | 1.06 | 2.00 | 4.00 | 8.00 | 4.00 | 8.00 | 16.00 | 32.00 | ||||||
| vmulhu.vx v8,v16,t0,v0.t | 1.06 | 1.06 | 1.06 | 1.06 | 2.00 | 4.00 | 8.00 | 1.06 | 1.06 | 1.06 | 2.00 | 4.00 | 8.00 | 1.06 | 1.06 | 2.00 | 4.00 | 8.00 | 4.00 | 8.00 | 16.00 | 32.00 | ||||||
| vmul.vv v8,v16,v24 | 1.00 | 1.00 | 1.00 | 1.00 | 2.00 | 4.00 | 8.00 | 1.00 | 1.00 | 1.00 | 2.00 | 4.00 | 8.00 | 1.00 | 1.00 | 2.00 | 4.00 | 8.00 | 4.00 | 8.00 | 16.00 | 32.00 | ||||||
| vmul.vv v8,v16,v24,v0.t | 1.00 | 1.00 | 1.00 | 1.00 | 2.00 | 4.00 | 8.00 | 1.00 | 1.00 | 1.00 | 2.00 | 4.00 | 8.00 | 1.00 | 1.00 | 2.00 | 4.00 | 8.00 | 4.00 | 8.00 | 16.00 | 32.00 | ||||||
| vmul.vx v8,v16,t0 | 1.06 | 1.06 | 1.06 | 1.06 | 2.00 | 4.00 | 8.00 | 1.06 | 1.06 | 1.06 | 2.00 | 4.00 | 8.00 | 1.06 | 1.06 | 2.00 | 4.00 | 8.00 | 4.00 | 8.00 | 16.00 | 32.00 | ||||||
| vmul.vx v8,v16,t0,v0.t | 1.06 | 1.06 | 1.06 | 1.06 | 2.00 | 4.00 | 8.00 | 1.06 | 1.06 | 1.06 | 2.00 | 4.00 | 8.00 | 1.06 | 1.06 | 2.00 | 4.00 | 8.00 | 4.00 | 8.00 | 16.00 | 32.00 | ||||||
| vmulhsu.vv v8,v16,v24 | 1.00 | 1.00 | 1.00 | 1.00 | 2.00 | 4.00 | 8.00 | 1.00 | 1.00 | 1.00 | 2.00 | 4.00 | 8.00 | 1.00 | 1.00 | 2.00 | 4.00 | 8.00 | 4.00 | 8.00 | 16.00 | 32.00 | ||||||
| vmulhsu.vv v8,v16,v24,v0.t | 1.00 | 1.00 | 1.00 | 1.00 | 2.00 | 4.00 | 8.00 | 1.00 | 1.00 | 1.00 | 2.00 | 4.00 | 8.00 | 1.00 | 1.00 | 2.00 | 4.00 | 8.00 | 4.00 | 8.00 | 16.00 | 32.00 | ||||||
| vmulhsu.vx v8,v16,t0 | 1.06 | 1.06 | 1.06 | 1.06 | 2.00 | 4.00 | 8.00 | 1.06 | 1.06 | 1.06 | 2.00 | 4.00 | 8.00 | 1.06 | 1.06 | 2.00 | 4.00 | 8.00 | 4.00 | 8.00 | 16.00 | 32.00 | ||||||
| vmulhsu.vx v8,v16,t0,v0.t | 1.06 | 1.06 | 1.06 | 1.06 | 2.00 | 4.00 | 8.00 | 1.06 | 1.06 | 1.06 | 2.00 | 4.00 | 8.00 | 1.06 | 1.06 | 2.00 | 4.00 | 8.00 | 4.00 | 8.00 | 16.00 | 32.00 | ||||||
| vmulh.vv v8,v16,v24 | 1.00 | 1.00 | 1.00 | 1.00 | 2.00 | 4.00 | 8.00 | 1.00 | 1.00 | 1.00 | 2.00 | 4.00 | 8.00 | 1.00 | 1.00 | 2.00 | 4.00 | 8.00 | 4.00 | 8.00 | 16.00 | 32.00 | ||||||
| vmulh.vv v8,v16,v24,v0.t | 1.00 | 1.00 | 1.00 | 1.00 | 2.00 | 4.00 | 8.00 | 1.00 | 1.00 | 1.00 | 2.00 | 4.00 | 8.00 | 1.00 | 1.00 | 2.00 | 4.00 | 8.00 | 4.00 | 8.00 | 16.00 | 32.00 | ||||||
| vmulh.vx v8,v16,t0 | 1.06 | 1.06 | 1.06 | 1.06 | 2.00 | 4.00 | 8.00 | 1.06 | 1.06 | 1.06 | 2.00 | 4.00 | 8.00 | 1.06 | 1.06 | 2.00 | 4.00 | 8.00 | 4.00 | 8.00 | 16.00 | 32.00 | ||||||
| vmulh.vx v8,v16,t0,v0.t | 1.06 | 1.06 | 1.06 | 1.06 | 2.00 | 4.00 | 8.00 | 1.06 | 1.06 | 1.06 | 2.00 | 4.00 | 8.00 | 1.06 | 1.06 | 2.00 | 4.00 | 8.00 | 4.00 | 8.00 | 16.00 | 32.00 | ||||||
| vmadd.vv v8,v16,v24 | 1.00 | 1.00 | 1.00 | 1.00 | 2.00 | 4.00 | 8.00 | 1.00 | 1.00 | 1.00 | 2.00 | 4.00 | 8.00 | 1.00 | 1.00 | 2.00 | 4.00 | 8.00 | 4.00 | 8.00 | 16.00 | 32.00 | ||||||
| vmadd.vv v8,v16,v24,v0.t | 1.00 | 1.00 | 1.00 | 1.00 | 2.00 | 4.00 | 8.00 | 1.00 | 1.00 | 1.00 | 2.00 | 4.00 | 8.00 | 1.00 | 1.00 | 2.00 | 4.00 | 8.00 | 4.00 | 8.00 | 16.00 | 32.00 | ||||||
| vmadd.vx v8,t0,v16 | 1.06 | 1.06 | 1.06 | 1.06 | 2.00 | 4.00 | 8.00 | 1.06 | 1.06 | 1.06 | 2.00 | 4.00 | 8.00 | 1.06 | 1.06 | 2.00 | 4.00 | 8.00 | 4.00 | 8.00 | 16.00 | 32.00 | ||||||
| vmadd.vx v8,t0,v16,v0.t | 1.06 | 1.06 | 1.06 | 1.06 | 2.00 | 4.00 | 8.00 | 1.06 | 1.06 | 1.06 | 2.00 | 4.00 | 8.00 | 1.06 | 1.06 | 2.00 | 4.00 | 8.00 | 4.00 | 8.00 | 16.00 | 32.00 | ||||||
| vmacc.vv v8,v16,v24 | 1.00 | 1.00 | 1.00 | 1.00 | 2.00 | 4.00 | 8.00 | 1.00 | 1.00 | 1.00 | 2.00 | 4.00 | 8.00 | 1.00 | 1.00 | 2.00 | 4.00 | 8.00 | 4.00 | 8.00 | 16.00 | 32.00 | ||||||
| vmacc.vv v8,v16,v24,v0.t | 1.00 | 1.00 | 1.00 | 1.00 | 2.00 | 4.00 | 8.00 | 1.00 | 1.00 | 1.00 | 2.00 | 4.00 | 8.00 | 1.00 | 1.00 | 2.00 | 4.00 | 8.00 | 4.00 | 8.00 | 16.00 | 32.00 | ||||||
| vmacc.vx v8,t0,v16 | 1.06 | 1.06 | 1.06 | 1.06 | 2.00 | 4.00 | 8.00 | 1.06 | 1.06 | 1.06 | 2.00 | 4.00 | 8.00 | 1.06 | 1.06 | 2.00 | 4.00 | 8.00 | 4.00 | 8.00 | 16.00 | 32.00 | ||||||
| vmacc.vx v8,t0,v16,v0.t | 1.06 | 1.06 | 1.06 | 1.06 | 2.00 | 4.00 | 8.00 | 1.06 | 1.06 | 1.06 | 2.00 | 4.00 | 8.00 | 1.06 | 1.06 | 2.00 | 4.00 | 8.00 | 4.00 | 8.00 | 16.00 | 32.00 | ||||||
| vnsrl.wv v8,v16,v24 | 1.00 | 1.00 | 2.00 | 4.00 | 8.00 | 16.00 | 1.00 | 2.00 | 4.00 | 8.00 | 16.00 | 2.00 | 4.00 | 8.00 | 16.00 | |||||||||||||
| vnsrl.wv v8,v16,v24,v0.t | 1.00 | 1.00 | 2.00 | 4.00 | 8.00 | 16.00 | 1.00 | 2.00 | 4.00 | 8.00 | 16.00 | 2.00 | 4.00 | 8.00 | 16.00 | |||||||||||||
| vnsrl.wx v8,v16,t0 | 1.06 | 1.06 | 2.00 | 4.00 | 8.00 | 16.00 | 1.06 | 2.00 | 4.00 | 8.00 | 16.00 | 2.00 | 4.00 | 8.00 | 16.00 | |||||||||||||
| vnsrl.wx v8,v16,t0,v0.t | 1.06 | 1.06 | 2.00 | 4.00 | 8.00 | 16.00 | 1.06 | 2.00 | 4.00 | 8.00 | 16.00 | 2.00 | 4.00 | 8.00 | 16.00 | |||||||||||||
| vnsrl.wi v8,v16,13 | 1.00 | 1.00 | 2.00 | 4.00 | 8.00 | 16.00 | 1.00 | 2.00 | 4.00 | 8.00 | 16.00 | 2.00 | 4.00 | 8.00 | 16.00 | |||||||||||||
| vnsrl.wi v8,v16,13,v0.t | 1.00 | 1.00 | 2.00 | 4.00 | 8.00 | 16.00 | 1.00 | 2.00 | 4.00 | 8.00 | 16.00 | 2.00 | 4.00 | 8.00 | 16.00 | |||||||||||||
| vnsra.wv v8,v16,v24 | 1.00 | 1.00 | 2.00 | 4.00 | 8.00 | 16.00 | 1.00 | 2.00 | 4.00 | 8.00 | 16.00 | 2.00 | 4.00 | 8.00 | 16.00 | |||||||||||||
| vnsra.wv v8,v16,v24,v0.t | 1.00 | 1.00 | 2.00 | 4.00 | 8.00 | 16.00 | 1.00 | 2.00 | 4.00 | 8.00 | 16.00 | 2.00 | 4.00 | 8.00 | 16.00 | |||||||||||||
| vnsra.wx v8,v16,t0 | 1.06 | 1.06 | 2.00 | 4.00 | 8.00 | 16.00 | 1.06 | 2.00 | 4.00 | 8.00 | 16.00 | 2.00 | 4.00 | 8.00 | 16.00 | |||||||||||||
| vnsra.wx v8,v16,t0,v0.t | 1.06 | 1.06 | 2.00 | 4.00 | 8.00 | 16.00 | 1.06 | 2.00 | 4.00 | 8.00 | 16.00 | 2.00 | 4.00 | 8.00 | 16.00 | |||||||||||||
| vnsra.wi v8,v16,13 | 1.00 | 1.00 | 2.00 | 4.00 | 8.00 | 16.00 | 1.00 | 2.00 | 4.00 | 8.00 | 16.00 | 2.00 | 4.00 | 8.00 | 16.00 | |||||||||||||
| vnsra.wi v8,v16,13,v0.t | 1.00 | 1.00 | 2.00 | 4.00 | 8.00 | 16.00 | 1.00 | 2.00 | 4.00 | 8.00 | 16.00 | 2.00 | 4.00 | 8.00 | 16.00 | |||||||||||||
| vnclipu.wv v8,v16,v24 | 1.00 | 1.00 | 2.00 | 4.00 | 8.00 | 16.00 | 1.00 | 2.00 | 4.00 | 8.00 | 16.00 | 2.00 | 4.00 | 8.00 | 16.00 | |||||||||||||
| vnclipu.wv v8,v16,v24,v0.t | 1.00 | 1.00 | 2.00 | 4.00 | 8.00 | 16.00 | 1.00 | 2.00 | 4.00 | 8.00 | 16.00 | 2.00 | 4.00 | 8.00 | 16.00 | |||||||||||||
| vnclipu.wx v8,v16,t0 | 1.06 | 1.06 | 2.00 | 4.00 | 8.00 | 16.00 | 1.06 | 2.00 | 4.00 | 8.00 | 16.00 | 2.00 | 4.00 | 8.00 | 16.00 | |||||||||||||
| vnclipu.wx v8,v16,t0,v0.t | 1.06 | 1.06 | 2.00 | 4.00 | 8.00 | 16.00 | 1.06 | 2.00 | 4.00 | 8.00 | 16.00 | 2.00 | 4.00 | 8.00 | 16.00 | |||||||||||||
| vnclipu.wi v8,v16,13 | 1.00 | 1.00 | 2.00 | 4.00 | 8.00 | 16.00 | 1.00 | 2.00 | 4.00 | 8.00 | 16.00 | 2.00 | 4.00 | 8.00 | 16.00 | |||||||||||||
| vnclipu.wi v8,v16,13,v0.t | 1.00 | 1.00 | 2.00 | 4.00 | 8.00 | 16.00 | 1.00 | 2.00 | 4.00 | 8.00 | 16.00 | 2.00 | 4.00 | 8.00 | 16.00 | |||||||||||||
| vnclip.wv v8,v16,v24 | 1.00 | 1.00 | 2.00 | 4.00 | 8.00 | 16.00 | 1.00 | 2.00 | 4.00 | 8.00 | 16.00 | 2.00 | 4.00 | 8.00 | 16.00 | |||||||||||||
| vnclip.wv v8,v16,v24,v0.t | 1.00 | 1.00 | 2.00 | 4.00 | 8.00 | 16.00 | 1.00 | 2.00 | 4.00 | 8.00 | 16.00 | 2.00 | 4.00 | 8.00 | 16.00 | |||||||||||||
| vnclip.wx v8,v16,t0 | 1.06 | 1.06 | 2.00 | 4.00 | 8.00 | 16.00 | 1.06 | 2.00 | 4.00 | 8.00 | 16.00 | 2.00 | 4.00 | 8.00 | 16.00 | |||||||||||||
| vnclip.wx v8,v16,t0,v0.t | 1.06 | 1.06 | 2.00 | 4.00 | 8.00 | 16.00 | 1.06 | 2.00 | 4.00 | 8.00 | 16.00 | 2.00 | 4.00 | 8.00 | 16.00 | |||||||||||||
| vnclip.wi v8,v16,13 | 1.00 | 1.00 | 2.00 | 4.00 | 8.00 | 16.00 | 1.00 | 2.00 | 4.00 | 8.00 | 16.00 | 2.00 | 4.00 | 8.00 | 16.00 | |||||||||||||
| vnclip.wi v8,v16,13,v0.t | 1.00 | 1.00 | 2.00 | 4.00 | 8.00 | 16.00 | 1.00 | 2.00 | 4.00 | 8.00 | 16.00 | 2.00 | 4.00 | 8.00 | 16.00 | |||||||||||||
| vnmsub.vv v8,v16,v24 | 1.00 | 1.00 | 1.00 | 1.00 | 2.00 | 4.00 | 1.00 | 1.00 | 1.00 | 2.00 | 4.00 | 1.00 | 1.00 | 2.00 | 5.00 | |||||||||||||
| vnmsub.vv v8,v16,v24,v0.t | 1.00 | 1.00 | 1.00 | 1.00 | 2.00 | 4.00 | 1.00 | 1.00 | 1.00 | 2.00 | 4.00 | 1.00 | 1.00 | 2.00 | 5.00 | |||||||||||||
| vnmsub.vx v8,t0,v16 | 1.06 | 1.06 | 1.06 | 1.06 | 2.00 | 4.00 | 1.06 | 1.06 | 1.06 | 2.00 | 4.00 | 1.06 | 1.06 | 2.00 | 5.00 | |||||||||||||
| vnmsub.vx v8,t0,v16,v0.t | 1.06 | 1.06 | 1.06 | 1.06 | 2.00 | 4.00 | 1.06 | 1.06 | 1.06 | 2.00 | 4.00 | 1.06 | 1.06 | 2.00 | 5.00 | |||||||||||||
| vnmsac.vv v8,v16,v24 | 1.00 | 1.00 | 1.00 | 1.00 | 2.00 | 4.00 | 1.00 | 1.00 | 1.00 | 2.00 | 4.00 | 1.00 | 1.00 | 2.00 | 5.00 | |||||||||||||
| vnmsac.vv v8,v16,v24,v0.t | 1.00 | 1.00 | 1.00 | 1.00 | 2.00 | 4.00 | 1.00 | 1.00 | 1.00 | 2.00 | 4.00 | 1.00 | 1.00 | 2.00 | 5.00 | |||||||||||||
| vnmsac.vx v8,t0,v16 | 1.06 | 1.06 | 1.06 | 1.06 | 2.00 | 4.00 | 1.06 | 1.06 | 1.06 | 2.00 | 4.00 | 1.06 | 1.06 | 2.00 | 5.00 | |||||||||||||
| vnmsac.vx v8,t0,v16,v0.t | 1.06 | 1.06 | 1.06 | 1.06 | 2.00 | 4.00 | 1.06 | 1.06 | 1.06 | 2.00 | 4.00 | 1.06 | 1.06 | 2.00 | 5.00 | |||||||||||||
| vwaddu.vv v8,v16,v24 | 1.00 | 1.00 | 2.00 | 2.00 | 4.00 | 8.00 | 1.00 | 2.00 | 2.00 | 4.00 | 8.00 | 2.00 | 2.00 | 4.00 | 8.00 | |||||||||||||
| vwaddu.vv v8,v16,v24,v0.t | 1.00 | 1.00 | 2.00 | 2.00 | 4.00 | 8.00 | 1.00 | 2.00 | 2.00 | 4.00 | 8.00 | 2.00 | 2.00 | 4.00 | 8.00 | |||||||||||||
| vwaddu.vx v8,v16,t0 | 1.06 | 1.06 | 2.00 | 2.00 | 4.00 | 8.00 | 1.06 | 2.00 | 2.00 | 4.00 | 8.00 | 2.00 | 2.00 | 4.00 | 8.00 | |||||||||||||
| vwaddu.vx v8,v16,t0,v0.t | 1.06 | 1.06 | 2.00 | 2.00 | 4.00 | 8.00 | 1.06 | 2.00 | 2.00 | 4.00 | 8.00 | 2.00 | 2.00 | 4.00 | 8.00 | |||||||||||||
| vwadd.vv v8,v16,v24 | 1.00 | 1.00 | 2.00 | 2.00 | 4.00 | 8.00 | 1.00 | 2.00 | 2.00 | 4.00 | 8.00 | 2.00 | 2.00 | 4.00 | 8.00 | |||||||||||||
| vwadd.vv v8,v16,v24,v0.t | 1.00 | 1.00 | 2.00 | 2.00 | 4.00 | 8.00 | 1.00 | 2.00 | 2.00 | 4.00 | 8.00 | 2.00 | 2.00 | 4.00 | 8.00 | |||||||||||||
| vwadd.vx v8,v16,t0 | 1.06 | 1.06 | 2.00 | 2.00 | 4.00 | 8.00 | 1.06 | 2.00 | 2.00 | 4.00 | 8.00 | 2.00 | 2.00 | 4.00 | 8.00 | |||||||||||||
| vwadd.vx v8,v16,t0,v0.t | 1.06 | 1.06 | 2.00 | 2.00 | 4.00 | 8.00 | 1.06 | 2.00 | 2.00 | 4.00 | 8.00 | 2.00 | 2.00 | 4.00 | 8.00 | |||||||||||||
| vwsubu.vv v8,v16,v24 | 1.00 | 1.00 | 2.00 | 2.00 | 4.00 | 8.00 | 1.00 | 2.00 | 2.00 | 4.00 | 8.00 | 2.00 | 2.00 | 4.00 | 8.00 | |||||||||||||
| vwsubu.vv v8,v16,v24,v0.t | 1.00 | 1.00 | 2.00 | 2.00 | 4.00 | 8.00 | 1.00 | 2.00 | 2.00 | 4.00 | 8.00 | 2.00 | 2.00 | 4.00 | 8.00 | |||||||||||||
| vwsubu.vx v8,v16,t0 | 1.06 | 1.06 | 2.00 | 2.00 | 4.00 | 8.00 | 1.06 | 2.00 | 2.00 | 4.00 | 8.00 | 2.00 | 2.00 | 4.00 | 8.00 | |||||||||||||
| vwsubu.vx v8,v16,t0,v0.t | 1.06 | 1.06 | 2.00 | 2.00 | 4.00 | 8.00 | 1.06 | 2.00 | 2.00 | 4.00 | 8.00 | 2.00 | 2.00 | 4.00 | 8.00 | |||||||||||||
| vwsub.vv v8,v16,v24 | 1.00 | 1.00 | 2.00 | 2.00 | 4.00 | 8.00 | 1.00 | 2.00 | 2.00 | 4.00 | 8.00 | 2.00 | 2.00 | 4.00 | 8.00 | |||||||||||||
| vwsub.vv v8,v16,v24,v0.t | 1.00 | 1.00 | 2.00 | 2.00 | 4.00 | 8.00 | 1.00 | 2.00 | 2.00 | 4.00 | 8.00 | 2.00 | 2.00 | 4.00 | 8.00 | |||||||||||||
| vwsub.vx v8,v16,t0 | 1.06 | 1.06 | 2.00 | 2.00 | 4.00 | 8.00 | 1.06 | 2.00 | 2.00 | 4.00 | 8.00 | 2.00 | 2.00 | 4.00 | 8.00 | |||||||||||||
| vwsub.vx v8,v16,t0,v0.t | 1.06 | 1.06 | 2.00 | 2.00 | 4.00 | 8.00 | 1.06 | 2.00 | 2.00 | 4.00 | 8.00 | 2.00 | 2.00 | 4.00 | 8.00 | |||||||||||||
| vwaddu.wv v8,v16,v24 | 1.00 | 1.00 | 2.00 | 2.00 | 4.00 | 8.00 | 1.00 | 2.00 | 2.00 | 4.00 | 8.00 | 2.00 | 2.00 | 4.00 | 8.00 | |||||||||||||
| vwaddu.wv v8,v16,v24,v0.t | 1.00 | 1.00 | 2.00 | 2.00 | 4.00 | 8.00 | 1.00 | 2.00 | 2.00 | 4.00 | 8.00 | 2.00 | 2.00 | 4.00 | 8.00 | |||||||||||||
| vwaddu.wx v8,v16,t0 | 1.06 | 1.06 | 2.00 | 2.00 | 4.00 | 8.00 | 1.06 | 2.00 | 2.00 | 4.00 | 8.00 | 2.00 | 2.00 | 4.00 | 8.00 | |||||||||||||
| vwaddu.wx v8,v16,t0,v0.t | 1.06 | 1.06 | 2.00 | 2.00 | 4.00 | 8.00 | 1.06 | 2.00 | 2.00 | 4.00 | 8.00 | 2.00 | 2.00 | 4.00 | 8.00 | |||||||||||||
| vwadd.wv v8,v16,v24 | 1.00 | 1.00 | 2.00 | 2.00 | 4.00 | 8.00 | 1.00 | 2.00 | 2.00 | 4.00 | 8.00 | 2.00 | 2.00 | 4.00 | 8.00 | |||||||||||||
| vwadd.wv v8,v16,v24,v0.t | 1.00 | 1.00 | 2.00 | 2.00 | 4.00 | 8.00 | 1.00 | 2.00 | 2.00 | 4.00 | 8.00 | 2.00 | 2.00 | 4.00 | 8.00 | |||||||||||||
| vwadd.wx v8,v16,t0 | 1.06 | 1.06 | 2.00 | 2.00 | 4.00 | 8.00 | 1.06 | 2.00 | 2.00 | 4.00 | 8.00 | 2.00 | 2.00 | 4.00 | 8.00 | |||||||||||||
| vwadd.wx v8,v16,t0,v0.t | 1.06 | 1.06 | 2.00 | 2.00 | 4.00 | 8.00 | 1.06 | 2.00 | 2.00 | 4.00 | 8.00 | 2.00 | 2.00 | 4.00 | 8.00 | |||||||||||||
| vwsubu.wv v8,v16,v24 | 1.00 | 1.00 | 2.00 | 2.00 | 4.00 | 8.00 | 1.00 | 2.00 | 2.00 | 4.00 | 8.00 | 2.00 | 2.00 | 4.00 | 8.00 | |||||||||||||
| vwsubu.wv v8,v16,v24,v0.t | 1.00 | 1.00 | 2.00 | 2.00 | 4.00 | 8.00 | 1.00 | 2.00 | 2.00 | 4.00 | 8.00 | 2.00 | 2.00 | 4.00 | 8.00 | |||||||||||||
| vwsubu.wx v8,v16,t0 | 1.06 | 1.06 | 2.00 | 2.00 | 4.00 | 8.00 | 1.06 | 2.00 | 2.00 | 4.00 | 8.00 | 2.00 | 2.00 | 4.00 | 8.00 | |||||||||||||
| vwsubu.wx v8,v16,t0,v0.t | 1.06 | 1.06 | 2.00 | 2.00 | 4.00 | 8.00 | 1.06 | 2.00 | 2.00 | 4.00 | 8.00 | 2.00 | 2.00 | 4.00 | 8.00 | |||||||||||||
| vwsub.wv v8,v16,v24 | 1.00 | 1.00 | 2.00 | 2.00 | 4.00 | 8.00 | 1.00 | 2.00 | 2.00 | 4.00 | 8.00 | 2.00 | 2.00 | 4.00 | 8.00 | |||||||||||||
| vwsub.wv v8,v16,v24,v0.t | 1.00 | 1.00 | 2.00 | 2.00 | 4.00 | 8.00 | 1.00 | 2.00 | 2.00 | 4.00 | 8.00 | 2.00 | 2.00 | 4.00 | 8.00 | |||||||||||||
| vwsub.wx v8,v16,t0 | 1.06 | 1.06 | 2.00 | 2.00 | 4.00 | 8.00 | 1.06 | 2.00 | 2.00 | 4.00 | 8.00 | 2.00 | 2.00 | 4.00 | 8.00 | |||||||||||||
| vwsub.wx v8,v16,t0,v0.t | 1.06 | 1.06 | 2.00 | 2.00 | 4.00 | 8.00 | 1.06 | 2.00 | 2.00 | 4.00 | 8.00 | 2.00 | 2.00 | 4.00 | 8.00 | |||||||||||||
| vwmulu.vv v8,v16,v24 | 1.00 | 1.00 | 2.00 | 2.00 | 4.00 | 8.00 | 1.00 | 2.00 | 2.00 | 4.00 | 8.00 | 2.00 | 2.00 | 4.00 | 8.00 | |||||||||||||
| vwmulu.vv v8,v16,v24,v0.t | 1.00 | 1.00 | 2.00 | 2.00 | 4.00 | 8.00 | 1.00 | 2.00 | 2.00 | 4.00 | 8.00 | 2.00 | 2.00 | 4.00 | 8.00 | |||||||||||||
| vwmulu.vx v8,v16,t0 | 1.06 | 1.06 | 2.00 | 2.00 | 4.00 | 8.00 | 1.06 | 2.00 | 2.00 | 4.00 | 8.00 | 2.00 | 2.00 | 4.00 | 8.00 | |||||||||||||
| vwmulu.vx v8,v16,t0,v0.t | 1.06 | 1.06 | 2.00 | 2.00 | 4.00 | 8.00 | 1.06 | 2.00 | 2.00 | 4.00 | 8.00 | 2.00 | 2.00 | 4.00 | 8.00 | |||||||||||||
| vwmulsu.vv v8,v16,v24 | 1.00 | 1.00 | 2.00 | 2.00 | 4.00 | 8.00 | 1.00 | 2.00 | 2.00 | 4.00 | 8.00 | 2.00 | 2.00 | 4.00 | 8.00 | |||||||||||||
| vwmulsu.vv v8,v16,v24,v0.t | 1.00 | 1.00 | 2.00 | 2.00 | 4.00 | 8.00 | 1.00 | 2.00 | 2.00 | 4.00 | 8.00 | 2.00 | 2.00 | 4.00 | 8.00 | |||||||||||||
| vwmulsu.vx v8,v16,t0 | 1.06 | 1.06 | 2.00 | 2.00 | 4.00 | 8.00 | 1.06 | 2.00 | 2.00 | 4.00 | 8.00 | 2.00 | 2.00 | 4.00 | 8.00 | |||||||||||||
| vwmulsu.vx v8,v16,t0,v0.t | 1.06 | 1.06 | 2.00 | 2.00 | 4.00 | 8.00 | 1.06 | 2.00 | 2.00 | 4.00 | 8.00 | 2.00 | 2.00 | 4.00 | 8.00 | |||||||||||||
| vwmul.vv v8,v16,v24 | 1.00 | 1.00 | 2.00 | 2.00 | 4.00 | 8.00 | 1.00 | 2.00 | 2.00 | 4.00 | 8.00 | 2.00 | 2.00 | 4.00 | 8.00 | |||||||||||||
| vwmul.vv v8,v16,v24,v0.t | 1.00 | 1.00 | 2.00 | 2.00 | 4.00 | 8.00 | 1.00 | 2.00 | 2.00 | 4.00 | 8.00 | 2.00 | 2.00 | 4.00 | 8.00 | |||||||||||||
| vwmul.vx v8,v16,t0 | 1.06 | 1.06 | 2.00 | 2.00 | 4.00 | 8.00 | 1.06 | 2.00 | 2.00 | 4.00 | 8.00 | 2.00 | 2.00 | 4.00 | 8.00 | |||||||||||||
| vwmul.vx v8,v16,t0,v0.t | 1.06 | 1.06 | 2.00 | 2.00 | 4.00 | 8.00 | 1.06 | 2.00 | 2.00 | 4.00 | 8.00 | 2.00 | 2.00 | 4.00 | 8.00 | |||||||||||||
| vwmaccu.vv v8,v16,v24 | 1.00 | 1.00 | 2.00 | 2.00 | 4.00 | 8.00 | 1.00 | 2.00 | 2.00 | 4.00 | 8.00 | 2.00 | 2.00 | 4.00 | 8.00 | |||||||||||||
| vwmaccu.vv v8,v16,v24,v0.t | 1.00 | 1.00 | 2.00 | 2.00 | 4.00 | 8.00 | 1.00 | 2.00 | 2.00 | 4.00 | 8.00 | 2.00 | 2.00 | 4.00 | 8.00 | |||||||||||||
| vwmaccu.vx v8,t0,v16 | 1.06 | 1.06 | 2.00 | 2.00 | 4.00 | 8.00 | 1.06 | 2.00 | 2.00 | 4.00 | 8.00 | 2.00 | 2.00 | 4.00 | 8.00 | |||||||||||||
| vwmaccu.vx v8,t0,v16,v0.t | 1.06 | 1.06 | 2.00 | 2.00 | 4.00 | 8.00 | 1.06 | 2.00 | 2.00 | 4.00 | 8.00 | 2.00 | 2.00 | 4.00 | 8.00 | |||||||||||||
| vwmacc.vv v8,v16,v24 | 1.00 | 1.00 | 2.00 | 2.00 | 4.00 | 8.00 | 1.00 | 2.00 | 2.00 | 4.00 | 8.00 | 2.00 | 2.00 | 4.00 | 8.00 | |||||||||||||
| vwmacc.vv v8,v16,v24,v0.t | 1.00 | 1.00 | 2.00 | 2.00 | 4.00 | 8.00 | 1.00 | 2.00 | 2.00 | 4.00 | 8.00 | 2.00 | 2.00 | 4.00 | 8.00 | |||||||||||||
| vwmacc.vx v8,t0,v16 | 1.06 | 1.06 | 2.00 | 2.00 | 4.00 | 8.00 | 1.06 | 2.00 | 2.00 | 4.00 | 8.00 | 2.00 | 2.00 | 4.00 | 8.00 | |||||||||||||
| vwmacc.vx v8,t0,v16,v0.t | 1.06 | 1.06 | 2.00 | 2.00 | 4.00 | 8.00 | 1.06 | 2.00 | 2.00 | 4.00 | 8.00 | 2.00 | 2.00 | 4.00 | 8.00 | |||||||||||||
| vwmaccsu.vv v8,v16,v24 | 1.00 | 1.00 | 2.00 | 2.00 | 4.00 | 8.00 | 1.00 | 2.00 | 2.00 | 4.00 | 8.00 | 2.00 | 2.00 | 4.00 | 8.00 | |||||||||||||
| vwmaccsu.vv v8,v16,v24,v0.t | 1.00 | 1.00 | 2.00 | 2.00 | 4.00 | 8.00 | 1.00 | 2.00 | 2.00 | 4.00 | 8.00 | 2.00 | 2.00 | 4.00 | 8.00 | |||||||||||||
| vwmaccsu.vx v8,t0,v16 | 1.06 | 1.06 | 2.00 | 2.00 | 4.00 | 8.00 | 1.06 | 2.00 | 2.00 | 4.00 | 8.00 | 2.00 | 2.00 | 4.00 | 8.00 | |||||||||||||
| vwmaccsu.vx v8,t0,v16,v0.t | 1.06 | 1.06 | 2.00 | 2.00 | 4.00 | 8.00 | 1.06 | 2.00 | 2.00 | 4.00 | 8.00 | 2.00 | 2.00 | 4.00 | 8.00 | |||||||||||||
| vwmaccus.vx v8,t0,v16 | 1.06 | 1.06 | 2.00 | 2.00 | 4.00 | 8.00 | 1.06 | 2.00 | 2.00 | 4.00 | 8.00 | 2.00 | 2.00 | 4.00 | 8.00 | |||||||||||||
| vwmaccus.vx v8,t0,v16,v0.t | 1.06 | 1.06 | 2.00 | 2.00 | 4.00 | 8.00 | 1.06 | 2.00 | 2.00 | 4.00 | 8.00 | 2.00 | 2.00 | 4.00 | 8.00 | |||||||||||||
| vfadd.vv v8,v16,v24 | 1.00 | 1.00 | 1.00 | 2.00 | 4.00 | 8.00 | 1.00 | 1.00 | 2.00 | 4.00 | 8.00 | 1.00 | 2.00 | 4.00 | 8.00 | |||||||||||||
| vfadd.vv v8,v16,v24,v0.t | 1.00 | 1.00 | 1.00 | 2.00 | 4.00 | 8.00 | 1.00 | 1.00 | 2.00 | 4.00 | 8.00 | 1.00 | 2.00 | 4.00 | 8.00 | |||||||||||||
| vfadd.vf v8,v16,ft0 | 1.00 | 1.00 | 1.00 | 2.00 | 4.00 | 8.00 | 1.00 | 1.00 | 2.00 | 4.00 | 8.00 | 1.00 | 2.00 | 4.00 | 8.00 | |||||||||||||
| vfadd.vf v8,v16,ft0,v0.t | 1.00 | 1.00 | 1.00 | 2.00 | 4.00 | 8.00 | 1.00 | 1.00 | 2.00 | 4.00 | 8.00 | 1.00 | 2.00 | 4.00 | 8.00 | |||||||||||||
| vfsub.vv v8,v16,v24 | 1.00 | 1.00 | 1.00 | 2.00 | 4.00 | 8.00 | 1.00 | 1.00 | 2.00 | 4.00 | 8.00 | 1.00 | 2.00 | 4.00 | 8.00 | |||||||||||||
| vfsub.vv v8,v16,v24,v0.t | 1.00 | 1.00 | 1.00 | 2.00 | 4.00 | 8.00 | 1.00 | 1.00 | 2.00 | 4.00 | 8.00 | 1.00 | 2.00 | 4.00 | 8.00 | |||||||||||||
| vfsub.vf v8,v16,ft0 | 1.00 | 1.00 | 1.00 | 2.00 | 4.00 | 8.00 | 1.00 | 1.00 | 2.00 | 4.00 | 8.00 | 1.00 | 2.00 | 4.00 | 8.00 | |||||||||||||
| vfsub.vf v8,v16,ft0,v0.t | 1.00 | 1.00 | 1.00 | 2.00 | 4.00 | 8.00 | 1.00 | 1.00 | 2.00 | 4.00 | 8.00 | 1.00 | 2.00 | 4.00 | 8.00 | |||||||||||||
| vfmin.vv v8,v16,v24 | 1.00 | 1.00 | 1.00 | 2.00 | 4.00 | 8.00 | 1.00 | 1.00 | 2.00 | 4.00 | 8.00 | 1.00 | 2.00 | 4.00 | 8.00 | |||||||||||||
| vfmin.vv v8,v16,v24,v0.t | 1.00 | 1.00 | 1.00 | 2.00 | 4.00 | 8.00 | 1.00 | 1.00 | 2.00 | 4.00 | 8.00 | 1.00 | 2.00 | 4.00 | 8.00 | |||||||||||||
| vfmin.vf v8,v16,ft0 | 1.00 | 1.00 | 1.00 | 2.00 | 4.00 | 8.00 | 1.00 | 1.00 | 2.00 | 4.00 | 8.00 | 1.00 | 2.00 | 4.00 | 8.00 | |||||||||||||
| vfmin.vf v8,v16,ft0,v0.t | 1.00 | 1.00 | 1.00 | 2.00 | 4.00 | 8.00 | 1.00 | 1.00 | 2.00 | 4.00 | 8.00 | 1.00 | 2.00 | 4.00 | 8.00 | |||||||||||||
| vfmax.vv v8,v16,v24 | 1.00 | 1.00 | 1.00 | 2.00 | 4.00 | 8.00 | 1.00 | 1.00 | 2.00 | 4.00 | 8.00 | 1.00 | 2.00 | 4.00 | 8.00 | |||||||||||||
| vfmax.vv v8,v16,v24,v0.t | 1.00 | 1.00 | 1.00 | 2.00 | 4.00 | 8.00 | 1.00 | 1.00 | 2.00 | 4.00 | 8.00 | 1.00 | 2.00 | 4.00 | 8.00 | |||||||||||||
| vfmax.vf v8,v16,ft0 | 1.00 | 1.00 | 1.00 | 2.00 | 4.00 | 8.00 | 1.00 | 1.00 | 2.00 | 4.00 | 8.00 | 1.00 | 2.00 | 4.00 | 8.00 | |||||||||||||
| vfmax.vf v8,v16,ft0,v0.t | 1.00 | 1.00 | 1.00 | 2.00 | 4.00 | 8.00 | 1.00 | 1.00 | 2.00 | 4.00 | 8.00 | 1.00 | 2.00 | 4.00 | 8.00 | |||||||||||||
| vfsgnj.vv v8,v16,v24 | 1.00 | 1.00 | 2.00 | 4.00 | 8.00 | 16.00 | 1.00 | 2.00 | 4.00 | 8.00 | 16.00 | 2.00 | 4.00 | 8.00 | 16.00 | |||||||||||||
| vfsgnj.vv v8,v16,v24,v0.t | 1.00 | 1.00 | 2.00 | 4.00 | 8.00 | 16.00 | 1.00 | 2.00 | 4.00 | 8.00 | 16.00 | 2.00 | 4.00 | 8.00 | 16.00 | |||||||||||||
| vfsgnj.vf v8,v16,ft0 | 1.00 | 1.00 | 2.00 | 4.00 | 8.00 | 16.00 | 1.00 | 2.00 | 4.00 | 8.00 | 16.00 | 2.00 | 4.00 | 8.00 | 16.00 | |||||||||||||
| vfsgnj.vf v8,v16,ft0,v0.t | 1.00 | 1.00 | 2.00 | 4.00 | 8.00 | 16.00 | 1.00 | 2.00 | 4.00 | 8.00 | 16.00 | 2.00 | 4.00 | 8.00 | 16.00 | |||||||||||||
| vfsgnjn.vv v8,v16,v24 | 1.00 | 1.00 | 2.00 | 4.00 | 8.00 | 16.00 | 1.00 | 2.00 | 4.00 | 8.00 | 16.00 | 2.00 | 4.00 | 8.00 | 16.00 | |||||||||||||
| vfsgnjn.vv v8,v16,v24,v0.t | 1.00 | 1.00 | 2.00 | 4.00 | 8.00 | 16.00 | 1.00 | 2.00 | 4.00 | 8.00 | 16.00 | 2.00 | 4.00 | 8.00 | 16.00 | |||||||||||||
| vfsgnjn.vf v8,v16,ft0 | 1.00 | 1.00 | 2.00 | 4.00 | 8.00 | 16.00 | 1.00 | 2.00 | 4.00 | 8.00 | 16.00 | 2.00 | 4.00 | 8.00 | 16.00 | |||||||||||||
| vfsgnjn.vf v8,v16,ft0,v0.t | 1.00 | 1.00 | 2.00 | 4.00 | 8.00 | 16.00 | 1.00 | 2.00 | 4.00 | 8.00 | 16.00 | 2.00 | 4.00 | 8.00 | 16.00 | |||||||||||||
| vfsgnjx.vv v8,v16,v24 | 1.00 | 1.00 | 2.00 | 4.00 | 8.00 | 16.00 | 1.00 | 2.00 | 4.00 | 8.00 | 16.00 | 2.00 | 4.00 | 8.00 | 16.00 | |||||||||||||
| vfsgnjx.vv v8,v16,v24,v0.t | 1.00 | 1.00 | 2.00 | 4.00 | 8.00 | 16.00 | 1.00 | 2.00 | 4.00 | 8.00 | 16.00 | 2.00 | 4.00 | 8.00 | 16.00 | |||||||||||||
| vfsgnjx.vf v8,v16,ft0 | 1.00 | 1.00 | 2.00 | 4.00 | 8.00 | 16.00 | 1.00 | 2.00 | 4.00 | 8.00 | 16.00 | 2.00 | 4.00 | 8.00 | 16.00 | |||||||||||||
| vfsgnjx.vf v8,v16,ft0,v0.t | 1.00 | 1.00 | 2.00 | 4.00 | 8.00 | 16.00 | 1.00 | 2.00 | 4.00 | 8.00 | 16.00 | 2.00 | 4.00 | 8.00 | 16.00 | |||||||||||||
| vfslide1up.vf v8,v16,ft0 | 1.00 | 1.00 | 2.00 | 4.00 | 8.00 | 16.00 | 1.00 | 2.00 | 4.00 | 8.00 | 16.00 | 2.00 | 4.00 | 8.00 | 16.00 | |||||||||||||
| vfslide1up.vf v8,v16,ft0,v0.t | 1.00 | 1.00 | 2.00 | 4.00 | 8.00 | 16.00 | 1.00 | 2.00 | 4.00 | 8.00 | 16.00 | 2.00 | 4.00 | 8.00 | 16.00 | |||||||||||||
| vfslide1down.vf v8,v16,ft0 | 1.00 | 1.00 | 3.00 | 5.00 | 9.00 | 17.00 | 1.00 | 3.00 | 5.00 | 9.00 | 17.00 | 3.00 | 5.00 | 9.00 | 17.00 | |||||||||||||
| vfslide1down.vf v8,v16,ft0,v0.t | 1.00 | 1.00 | 3.00 | 5.00 | 9.00 | 17.00 | 1.00 | 3.00 | 5.00 | 9.00 | 17.00 | 3.00 | 5.00 | 9.00 | 17.00 | |||||||||||||
| vfredusum.vs v8,v16,v24 | 8.00 | 8.00 | 8.00 | 14.00 | 20.00 | 56.99 | 5.00 | 6.50 | 11.00 | 17.00 | 53.99 | 4.00 | 7.00 | 15.50 | 52.00 | |||||||||||||
| vfredusum.vs v8,v16,v24,v0.t | 8.00 | 8.00 | 8.00 | 14.00 | 20.00 | 57.00 | 5.00 | 6.50 | 11.00 | 17.00 | 53.99 | 4.00 | 7.00 | 15.50 | 51.99 | |||||||||||||
| vfredosum.vs v8,v16,v24 | 8.00 | 20.00 | 23.00 | 47.00 | 95.98 | 383.65 | 8.00 | 11.00 | 23.00 | 48.00 | 191.87 | 5.50 | 11.50 | 24.50 | 96.97 | |||||||||||||
| vfredosum.vs v8,v16,v24,v0.t | 8.00 | 20.00 | 23.00 | 47.00 | 95.98 | 383.66 | 8.00 | 11.00 | 23.00 | 47.99 | 191.89 | 5.50 | 11.50 | 24.50 | 96.98 | |||||||||||||
| vfredmin.vs v8,v16,v24 | 8.00 | 8.00 | 8.00 | 14.00 | 20.00 | 56.99 | 5.00 | 6.50 | 11.00 | 17.00 | 54.00 | 4.00 | 7.00 | 14.00 | 51.00 | |||||||||||||
| vfredmin.vs v8,v16,v24,v0.t | 8.00 | 8.00 | 8.00 | 14.00 | 20.00 | 56.99 | 5.00 | 6.50 | 11.00 | 17.00 | 53.99 | 4.00 | 7.00 | 14.00 | 51.00 | |||||||||||||
| vfredmax.vs v8,v16,v24 | 8.00 | 8.00 | 8.00 | 14.00 | 20.00 | 56.99 | 5.00 | 6.50 | 11.00 | 17.00 | 53.99 | 4.00 | 7.00 | 14.00 | 51.00 | |||||||||||||
| vfredmax.vs v8,v16,v24,v0.t | 8.00 | 8.00 | 8.00 | 14.00 | 20.00 | 56.99 | 5.00 | 6.50 | 11.00 | 17.00 | 53.99 | 4.00 | 7.00 | 14.00 | 51.00 | |||||||||||||
| vfmerge.vfm v8,v16,ft0,v0 | 1.00 | 1.00 | 2.00 | 4.00 | 8.00 | 16.00 | 1.00 | 2.00 | 4.00 | 8.00 | 16.00 | 2.00 | 4.00 | 8.00 | 16.00 | |||||||||||||
| vfmv.v.f v8,ft0 | 1.00 | 1.00 | 2.00 | 4.00 | 8.00 | 16.00 | 1.00 | 2.00 | 4.00 | 8.00 | 16.00 | 2.00 | 4.00 | 8.00 | 16.00 | |||||||||||||
| vmfeq.vv v8,v16,v24 | 1.00 | 1.00 | 2.00 | 2.50 | 5.00 | 18.00 | 1.00 | 2.00 | 2.50 | 5.00 | 18.00 | 2.00 | 2.50 | 5.00 | 18.00 | |||||||||||||
| vmfeq.vv v8,v16,v24,v0.t | 1.00 | 1.00 | 2.00 | 2.50 | 5.00 | 18.00 | 1.00 | 2.00 | 2.50 | 5.00 | 18.00 | 2.00 | 2.50 | 5.00 | 18.00 | |||||||||||||
| vmfeq.vf v8,v16,ft0 | 1.00 | 1.00 | 2.00 | 2.50 | 5.00 | 18.00 | 1.00 | 2.00 | 2.50 | 5.00 | 18.00 | 2.00 | 2.50 | 5.00 | 18.00 | |||||||||||||
| vmfeq.vf v8,v16,ft0,v0.t | 1.00 | 1.00 | 2.00 | 2.50 | 5.00 | 18.00 | 1.00 | 2.00 | 2.50 | 5.00 | 18.00 | 2.00 | 2.50 | 5.00 | 18.00 | |||||||||||||
| vmfle.vv v8,v16,v24 | 1.00 | 1.00 | 2.00 | 2.50 | 5.00 | 18.00 | 1.00 | 2.00 | 2.50 | 5.00 | 18.00 | 2.00 | 2.50 | 5.00 | 18.00 | |||||||||||||
| vmfle.vv v8,v16,v24,v0.t | 1.00 | 1.00 | 2.00 | 2.50 | 5.00 | 18.00 | 1.00 | 2.00 | 2.50 | 5.00 | 18.00 | 2.00 | 2.50 | 5.00 | 18.00 | |||||||||||||
| vmfle.vf v8,v16,ft0 | 1.00 | 1.00 | 2.00 | 2.50 | 5.00 | 18.00 | 1.00 | 2.00 | 2.50 | 5.00 | 18.00 | 2.00 | 2.50 | 5.00 | 18.00 | |||||||||||||
| vmfle.vf v8,v16,ft0,v0.t | 1.00 | 1.00 | 2.00 | 2.50 | 5.00 | 18.00 | 1.00 | 2.00 | 2.50 | 5.00 | 18.00 | 2.00 | 2.50 | 5.00 | 18.00 | |||||||||||||
| vmflt.vv v8,v16,v24 | 1.00 | 1.00 | 2.00 | 2.50 | 5.00 | 18.00 | 1.00 | 2.00 | 2.50 | 5.00 | 18.00 | 2.00 | 2.50 | 5.00 | 18.00 | |||||||||||||
| vmflt.vv v8,v16,v24,v0.t | 1.00 | 1.00 | 2.00 | 2.50 | 5.00 | 18.00 | 1.00 | 2.00 | 2.50 | 5.00 | 18.00 | 2.00 | 2.50 | 5.00 | 18.00 | |||||||||||||
| vmflt.vf v8,v16,ft0 | 1.00 | 1.00 | 2.00 | 2.50 | 5.00 | 18.00 | 1.00 | 2.00 | 2.50 | 5.00 | 18.00 | 2.00 | 2.50 | 5.00 | 18.00 | |||||||||||||
| vmflt.vf v8,v16,ft0,v0.t | 1.00 | 1.00 | 2.00 | 2.50 | 5.00 | 18.00 | 1.00 | 2.00 | 2.50 | 5.00 | 18.00 | 2.00 | 2.50 | 5.00 | 18.00 | |||||||||||||
| vmfne.vv v8,v16,v24 | 1.00 | 1.00 | 2.00 | 2.50 | 5.00 | 18.00 | 1.00 | 2.00 | 2.50 | 5.00 | 18.00 | 2.00 | 2.50 | 5.00 | 18.00 | |||||||||||||
| vmfne.vv v8,v16,v24,v0.t | 1.00 | 1.00 | 2.00 | 2.50 | 5.00 | 18.00 | 1.00 | 2.00 | 2.50 | 5.00 | 18.00 | 2.00 | 2.50 | 5.00 | 18.00 | |||||||||||||
| vmfne.vf v8,v16,ft0 | 1.00 | 1.00 | 2.00 | 2.50 | 5.00 | 18.00 | 1.00 | 2.00 | 2.50 | 5.00 | 18.00 | 2.00 | 2.50 | 5.00 | 18.00 | |||||||||||||
| vmfne.vf v8,v16,ft0,v0.t | 1.00 | 1.00 | 2.00 | 2.50 | 5.00 | 18.00 | 1.00 | 2.00 | 2.50 | 5.00 | 18.00 | 2.00 | 2.50 | 5.00 | 18.00 | |||||||||||||
| vmfgt.vv v8,v16,v24 | 1.00 | 1.00 | 2.00 | 2.50 | 5.00 | 18.00 | 1.00 | 2.00 | 2.50 | 5.00 | 18.00 | 2.00 | 2.50 | 5.00 | 18.00 | |||||||||||||
| vmfgt.vv v8,v16,v24,v0.t | 1.00 | 1.00 | 2.00 | 2.50 | 5.00 | 18.00 | 1.00 | 2.00 | 2.50 | 5.00 | 18.00 | 2.00 | 2.50 | 5.00 | 18.00 | |||||||||||||
| vmfgt.vf v8,v16,ft0 | 1.00 | 1.00 | 2.00 | 2.50 | 5.00 | 18.00 | 1.00 | 2.00 | 2.50 | 5.00 | 18.00 | 2.00 | 2.50 | 5.00 | 18.00 | |||||||||||||
| vmfgt.vf v8,v16,ft0,v0.t | 1.00 | 1.00 | 2.00 | 2.50 | 5.00 | 18.00 | 1.00 | 2.00 | 2.50 | 5.00 | 18.00 | 2.00 | 2.50 | 5.00 | 18.00 | |||||||||||||
| vmfge.vv v8,v16,v24 | 1.00 | 1.00 | 2.00 | 2.50 | 5.00 | 18.00 | 1.00 | 2.00 | 2.50 | 5.00 | 18.00 | 2.00 | 2.50 | 5.00 | 18.00 | |||||||||||||
| vmfge.vv v8,v16,v24,v0.t | 1.00 | 1.00 | 2.00 | 2.50 | 5.00 | 18.00 | 1.00 | 2.00 | 2.50 | 5.00 | 18.00 | 2.00 | 2.50 | 5.00 | 18.00 | |||||||||||||
| vmfge.vf v8,v16,ft0 | 1.00 | 1.00 | 2.00 | 2.50 | 5.00 | 18.00 | 1.00 | 2.00 | 2.50 | 5.00 | 18.00 | 2.00 | 2.50 | 5.00 | 18.00 | |||||||||||||
| vmfge.vf v8,v16,ft0,v0.t | 1.00 | 1.00 | 2.00 | 2.50 | 5.00 | 18.00 | 1.00 | 2.00 | 2.50 | 5.00 | 18.00 | 2.00 | 2.50 | 5.00 | 18.00 | |||||||||||||
| vfdiv.vv v8,v16,v24 | 13.91 | 13.77 | 21.45 | 37.12 | 69.21 | 132.40 | 18.09 | 24.31 | 36.70 | 61.49 | 110.67 | 39.00 | 51.00 | 74.99 | 122.96 | |||||||||||||
| vfdiv.vv v8,v16,v24,v0.t | 10.81 | 10.81 | 18.47 | 33.85 | 65.08 | 127.60 | 12.14 | 18.35 | 30.78 | 55.86 | 105.72 | 25.49 | 37.53 | 61.49 | 109.61 | |||||||||||||
| vfdiv.vf v8,v16,ft0 | 7.20 | 7.10 | 14.06 | 28.57 | 56.84 | 115.19 | 11.71 | 17.41 | 30.15 | 54.45 | 103.94 | 15.37 | 24.00 | 48.00 | 95.99 | |||||||||||||
| vfdiv.vf v8,v16,ft0,v0.t | 6.95 | 7.08 | 14.19 | 28.27 | 55.34 | 111.29 | 8.34 | 14.44 | 27.33 | 51.37 | 98.39 | 13.70 | 24.00 | 48.00 | 95.99 | |||||||||||||
| vfrdiv.vf v8,v16,ft0 | 7.06 | 7.12 | 14.00 | 28.50 | 55.94 | 114.89 | 11.30 | 17.25 | 30.37 | 54.44 | 104.39 | 15.37 | 24.00 | 48.00 | 95.99 | |||||||||||||
| vfrdiv.vf v8,v16,ft0,v0.t | 7.16 | 7.21 | 14.25 | 28.53 | 56.84 | 110.69 | 8.45 | 14.36 | 27.18 | 51.52 | 98.99 | 13.70 | 24.00 | 48.00 | 95.99 | |||||||||||||
| vfmul.vv v8,v16,v24 | 1.00 | 1.00 | 1.00 | 2.00 | 4.00 | 8.00 | 1.00 | 1.00 | 2.00 | 4.00 | 8.00 | 1.00 | 2.00 | 4.00 | 8.00 | |||||||||||||
| vfmul.vv v8,v16,v24,v0.t | 1.00 | 1.00 | 1.00 | 2.00 | 4.00 | 8.00 | 1.00 | 1.00 | 2.00 | 4.00 | 8.00 | 1.00 | 2.00 | 4.00 | 8.00 | |||||||||||||
| vfmul.vf v8,v16,ft0 | 1.00 | 1.00 | 1.00 | 2.00 | 4.00 | 8.00 | 1.00 | 1.00 | 2.00 | 4.00 | 8.00 | 1.00 | 2.00 | 4.00 | 8.00 | |||||||||||||
| vfmul.vf v8,v16,ft0,v0.t | 1.00 | 1.00 | 1.00 | 2.00 | 4.00 | 8.00 | 1.00 | 1.00 | 2.00 | 4.00 | 8.00 | 1.00 | 2.00 | 4.00 | 8.00 | |||||||||||||
| vfrsub.vf v8,v16,ft0 | 1.00 | 1.00 | 1.00 | 2.00 | 4.00 | 8.00 | 1.00 | 1.00 | 2.00 | 4.00 | 8.00 | 1.00 | 2.00 | 4.00 | 8.00 | |||||||||||||
| vfrsub.vf v8,v16,ft0,v0.t | 1.00 | 1.00 | 1.00 | 2.00 | 4.00 | 8.00 | 1.00 | 1.00 | 2.00 | 4.00 | 8.00 | 1.00 | 2.00 | 4.00 | 8.00 | |||||||||||||
| vfmadd.vv v8,v16,v24 | 1.00 | 1.00 | 1.00 | 2.00 | 4.00 | 8.00 | 1.00 | 1.00 | 2.00 | 4.00 | 8.00 | 1.00 | 2.00 | 4.00 | 8.00 | |||||||||||||
| vfmadd.vv v8,v16,v24,v0.t | 1.00 | 1.00 | 1.00 | 2.00 | 4.00 | 8.00 | 1.00 | 1.00 | 2.00 | 4.00 | 8.00 | 1.00 | 2.00 | 4.00 | 8.00 | |||||||||||||
| vfmadd.vf v8,ft0,v16 | 1.00 | 1.00 | 1.00 | 2.00 | 4.00 | 8.00 | 1.00 | 1.00 | 2.00 | 4.00 | 8.00 | 1.00 | 2.00 | 4.00 | 8.00 | |||||||||||||
| vfmadd.vf v8,ft0,v16,v0.t | 1.00 | 1.00 | 1.00 | 2.00 | 4.00 | 8.00 | 1.00 | 1.00 | 2.00 | 4.00 | 8.00 | 1.00 | 2.00 | 4.00 | 8.00 | |||||||||||||
| vfmsub.vv v8,v16,v24 | 1.00 | 1.00 | 1.00 | 2.00 | 4.00 | 8.00 | 1.00 | 1.00 | 2.00 | 4.00 | 8.00 | 1.00 | 2.00 | 4.00 | 8.00 | |||||||||||||
| vfmsub.vv v8,v16,v24,v0.t | 1.00 | 1.00 | 1.00 | 2.00 | 4.00 | 8.00 | 1.00 | 1.00 | 2.00 | 4.00 | 8.00 | 1.00 | 2.00 | 4.00 | 8.00 | |||||||||||||
| vfmsub.vf v8,ft0,v16 | 1.00 | 1.00 | 1.00 | 2.00 | 4.00 | 8.00 | 1.00 | 1.00 | 2.00 | 4.00 | 8.00 | 1.00 | 2.00 | 4.00 | 8.00 | |||||||||||||
| vfmsub.vf v8,ft0,v16,v0.t | 1.00 | 1.00 | 1.00 | 2.00 | 4.00 | 8.00 | 1.00 | 1.00 | 2.00 | 4.00 | 8.00 | 1.00 | 2.00 | 4.00 | 8.00 | |||||||||||||
| vfmacc.vv v8,v16,v24 | 1.00 | 1.00 | 1.00 | 2.00 | 4.00 | 8.00 | 1.00 | 1.00 | 2.00 | 4.00 | 8.00 | 1.00 | 2.00 | 4.00 | 8.00 | |||||||||||||
| vfmacc.vv v8,v16,v24,v0.t | 1.00 | 1.00 | 1.00 | 2.00 | 4.00 | 8.00 | 1.00 | 1.00 | 2.00 | 4.00 | 8.00 | 1.00 | 2.00 | 4.00 | 8.00 | |||||||||||||
| vfmacc.vf v8,ft0,v16 | 1.00 | 1.00 | 1.00 | 2.00 | 4.00 | 8.00 | 1.00 | 1.00 | 2.00 | 4.00 | 8.00 | 1.00 | 2.00 | 4.00 | 8.00 | |||||||||||||
| vfmacc.vf v8,ft0,v16,v0.t | 1.00 | 1.00 | 1.00 | 2.00 | 4.00 | 8.00 | 1.00 | 1.00 | 2.00 | 4.00 | 8.00 | 1.00 | 2.00 | 4.00 | 8.00 | |||||||||||||
| vfmsac.vv v8,v16,v24 | 1.00 | 1.00 | 1.00 | 2.00 | 4.00 | 8.00 | 1.00 | 1.00 | 2.00 | 4.00 | 8.00 | 1.00 | 2.00 | 4.00 | 8.00 | |||||||||||||
| vfmsac.vv v8,v16,v24,v0.t | 1.00 | 1.00 | 1.00 | 2.00 | 4.00 | 8.00 | 1.00 | 1.00 | 2.00 | 4.00 | 8.00 | 1.00 | 2.00 | 4.00 | 8.00 | |||||||||||||
| vfmsac.vf v8,ft0,v16 | 1.00 | 1.00 | 1.00 | 2.00 | 4.00 | 8.00 | 1.00 | 1.00 | 2.00 | 4.00 | 8.00 | 1.00 | 2.00 | 4.00 | 8.00 | |||||||||||||
| vfmsac.vf v8,ft0,v16,v0.t | 1.00 | 1.00 | 1.00 | 2.00 | 4.00 | 8.00 | 1.00 | 1.00 | 2.00 | 4.00 | 8.00 | 1.00 | 2.00 | 4.00 | 8.00 | |||||||||||||
| vfnmsac.vv v8,v16,v24 | 1.00 | 1.00 | 1.00 | 2.00 | 5.00 | 1.00 | 1.00 | 2.00 | 5.00 | |||||||||||||||||||
| vfnmsac.vv v8,v16,v24,v0.t | 1.00 | 1.00 | 1.00 | 2.00 | 5.00 | 1.00 | 1.00 | 2.00 | 5.00 | |||||||||||||||||||
| vfnmsac.vf v8,ft0,v16 | 1.00 | 1.00 | 1.00 | 2.00 | 5.00 | 1.00 | 1.00 | 2.00 | 5.00 | |||||||||||||||||||
| vfnmsac.vf v8,ft0,v16,v0.t | 1.00 | 1.00 | 1.00 | 2.00 | 5.00 | 1.00 | 1.00 | 2.00 | 5.00 | |||||||||||||||||||
| vfnmacc.vv v8,v16,v24 | 1.00 | 1.00 | 1.00 | 2.00 | 5.00 | 1.00 | 1.00 | 2.00 | 5.00 | |||||||||||||||||||
| vfnmacc.vv v8,v16,v24,v0.t | 1.00 | 1.00 | 1.00 | 2.00 | 5.00 | 1.00 | 1.00 | 2.00 | 5.00 | |||||||||||||||||||
| vfnmacc.vf v8,ft0,v16 | 1.00 | 1.00 | 1.00 | 2.00 | 5.00 | 1.00 | 1.00 | 2.00 | 5.00 | |||||||||||||||||||
| vfnmacc.vf v8,ft0,v16,v0.t | 1.00 | 1.00 | 1.00 | 2.00 | 5.00 | 1.00 | 1.00 | 2.00 | 5.00 | |||||||||||||||||||
| vfnmsub.vv v8,v16,v24 | 1.00 | 1.00 | 1.00 | 2.00 | 5.00 | 1.00 | 1.00 | 2.00 | 5.00 | |||||||||||||||||||
| vfnmsub.vv v8,v16,v24,v0.t | 1.00 | 1.00 | 1.00 | 2.00 | 5.00 | 1.00 | 1.00 | 2.00 | 5.00 | |||||||||||||||||||
| vfnmsub.vf v8,ft0,v16 | 1.00 | 1.00 | 1.00 | 2.00 | 5.00 | 1.00 | 1.00 | 2.00 | 5.00 | |||||||||||||||||||
| vfnmsub.vf v8,ft0,v16,v0.t | 1.00 | 1.00 | 1.00 | 2.00 | 5.00 | 1.00 | 1.00 | 2.00 | 5.00 | |||||||||||||||||||
| vfnmadd.vv v8,v16,v24 | 1.00 | 1.00 | 1.00 | 2.00 | 5.00 | 1.00 | 1.00 | 2.00 | 5.00 | |||||||||||||||||||
| vfnmadd.vv v8,v16,v24,v0.t | 1.00 | 1.00 | 1.00 | 2.00 | 5.00 | 1.00 | 1.00 | 2.00 | 5.00 | |||||||||||||||||||
| vfnmadd.vf v8,ft0,v16 | 1.00 | 1.00 | 1.00 | 2.00 | 5.00 | 1.00 | 1.00 | 2.00 | 5.00 | |||||||||||||||||||
| vfnmadd.vf v8,ft0,v16,v0.t | 1.00 | 1.00 | 1.00 | 2.00 | 5.00 | 1.00 | 1.00 | 2.00 | 5.00 | |||||||||||||||||||
| vwredsumu.vs v8,v16,v24 | 1.00 | 1.00 | 1.00 | 1.00 | 2.00 | 5.50 | 19.00 | 1.00 | 1.00 | 1.00 | 2.00 | 5.50 | 19.00 | 1.00 | 1.00 | 2.00 | 5.50 | 19.00 | ||||||||||
| vwredsumu.vs v8,v16,v24,v0.t | 1.00 | 1.00 | 1.00 | 1.00 | 2.00 | 5.50 | 19.00 | 1.00 | 1.00 | 1.00 | 2.00 | 5.50 | 19.00 | 1.00 | 1.00 | 2.00 | 5.50 | 19.00 | ||||||||||
| vwredsum.vs v8,v16,v24 | 1.00 | 1.00 | 1.00 | 1.00 | 2.00 | 5.50 | 19.00 | 1.00 | 1.00 | 1.00 | 2.00 | 5.50 | 19.00 | 1.00 | 1.00 | 2.00 | 5.50 | 19.00 | ||||||||||
| vwredsum.vs v8,v16,v24,v0.t | 1.00 | 1.00 | 1.00 | 1.00 | 2.00 | 5.50 | 19.00 | 1.00 | 1.00 | 1.00 | 2.00 | 5.50 | 19.00 | 1.00 | 1.00 | 2.00 | 5.50 | 19.00 | ||||||||||
| vfwadd.vv v8,v16,v24 | 1.00 | 2.00 | 2.00 | 4.00 | 8.00 | 2.00 | 2.00 | 4.00 | 8.00 | |||||||||||||||||||
| vfwadd.vv v8,v16,v24,v0.t | 1.00 | 2.00 | 2.00 | 4.00 | 8.00 | 2.00 | 2.00 | 4.00 | 8.00 | |||||||||||||||||||
| vfwadd.vf v8,v16,ft0 | 1.00 | 2.00 | 2.00 | 4.00 | 8.00 | 2.00 | 2.00 | 4.00 | 8.00 | |||||||||||||||||||
| vfwadd.vf v8,v16,ft0,v0.t | 1.00 | 2.00 | 2.00 | 4.00 | 8.00 | 2.00 | 2.00 | 4.00 | 8.00 | |||||||||||||||||||
| vfwsub.vv v8,v16,v24 | 1.00 | 2.00 | 2.00 | 4.00 | 8.00 | 2.00 | 2.00 | 4.00 | 8.00 | |||||||||||||||||||
| vfwsub.vv v8,v16,v24,v0.t | 1.00 | 2.00 | 2.00 | 4.00 | 8.00 | 2.00 | 2.00 | 4.00 | 8.00 | |||||||||||||||||||
| vfwsub.vf v8,v16,ft0 | 1.00 | 2.00 | 2.00 | 4.00 | 8.00 | 2.00 | 2.00 | 4.00 | 8.00 | |||||||||||||||||||
| vfwsub.vf v8,v16,ft0,v0.t | 1.00 | 2.00 | 2.00 | 4.00 | 8.00 | 2.00 | 2.00 | 4.00 | 8.00 | |||||||||||||||||||
| vfwadd.wv v8,v16,v24 | 2.00 | 2.00 | 4.00 | 8.00 | 16.00 | 2.00 | 4.00 | 8.00 | 16.00 | |||||||||||||||||||
| vfwadd.wv v8,v16,v24,v0.t | 2.00 | 2.00 | 4.00 | 8.00 | 16.00 | 2.00 | 4.00 | 8.00 | 16.00 | |||||||||||||||||||
| vfwadd.wf v8,v16,ft0 | 2.00 | 2.00 | 4.00 | 8.00 | 16.00 | 2.00 | 4.00 | 8.00 | 16.00 | |||||||||||||||||||
| vfwadd.wf v8,v16,ft0,v0.t | 2.00 | 2.00 | 4.00 | 8.00 | 16.00 | 2.00 | 4.00 | 8.00 | 16.00 | |||||||||||||||||||
| vfwsub.wv v8,v16,v24 | 2.00 | 2.00 | 4.00 | 8.00 | 16.00 | 2.00 | 4.00 | 8.00 | 16.00 | |||||||||||||||||||
| vfwsub.wv v8,v16,v24,v0.t | 2.00 | 2.00 | 4.00 | 8.00 | 16.00 | 2.00 | 4.00 | 8.00 | 16.00 | |||||||||||||||||||
| vfwsub.wf v8,v16,ft0 | 2.00 | 2.00 | 4.00 | 8.00 | 16.00 | 2.00 | 4.00 | 8.00 | 16.00 | |||||||||||||||||||
| vfwsub.wf v8,v16,ft0,v0.t | 2.00 | 2.00 | 4.00 | 8.00 | 16.00 | 2.00 | 4.00 | 8.00 | 16.00 | |||||||||||||||||||
| vfwmul.vv v8,v16,v24 | 1.00 | 2.00 | 2.00 | 4.00 | 8.00 | 2.00 | 2.00 | 4.00 | 8.00 | |||||||||||||||||||
| vfwmul.vv v8,v16,v24,v0.t | 1.00 | 2.00 | 2.00 | 4.00 | 8.00 | 2.00 | 2.00 | 4.00 | 8.00 | |||||||||||||||||||
| vfwmul.vf v8,v16,ft0 | 1.00 | 2.00 | 2.00 | 4.00 | 8.00 | 2.00 | 2.00 | 4.00 | 8.00 | |||||||||||||||||||
| vfwmul.vf v8,v16,ft0,v0.t | 1.00 | 2.00 | 2.00 | 4.00 | 8.00 | 2.00 | 2.00 | 4.00 | 8.00 | |||||||||||||||||||
| vfwmacc.vv v8,v16,v24 | 1.00 | 2.00 | 2.00 | 4.00 | 8.00 | 2.00 | 2.00 | 4.00 | 8.00 | |||||||||||||||||||
| vfwmacc.vv v8,v16,v24,v0.t | 1.00 | 2.00 | 2.00 | 4.00 | 8.00 | 2.00 | 2.00 | 4.00 | 8.00 | |||||||||||||||||||
| vfwmacc.vf v8,ft0,v16 | 1.00 | 2.00 | 2.00 | 4.00 | 8.00 | 2.00 | 2.00 | 4.00 | 8.00 | |||||||||||||||||||
| vfwmacc.vf v8,ft0,v16,v0.t | 1.00 | 2.00 | 2.00 | 4.00 | 8.00 | 2.00 | 2.00 | 4.00 | 8.00 | |||||||||||||||||||
| vfwnmacc.vv v8,v16,v24 | 1.00 | 2.00 | 2.00 | 4.00 | 8.00 | 2.00 | 2.00 | 4.00 | 8.00 | |||||||||||||||||||
| vfwnmacc.vv v8,v16,v24,v0.t | 1.00 | 2.00 | 2.00 | 4.00 | 8.00 | 2.00 | 2.00 | 4.00 | 8.00 | |||||||||||||||||||
| vfwnmacc.vf v8,ft0,v16 | 1.00 | 2.00 | 2.00 | 4.00 | 8.00 | 2.00 | 2.00 | 4.00 | 8.00 | |||||||||||||||||||
| vfwnmacc.vf v8,ft0,v16,v0.t | 1.00 | 2.00 | 2.00 | 4.00 | 8.00 | 2.00 | 2.00 | 4.00 | 8.00 | |||||||||||||||||||
| vfwmsac.vv v8,v16,v24 | 1.00 | 2.00 | 2.00 | 4.00 | 8.00 | 2.00 | 2.00 | 4.00 | 8.00 | |||||||||||||||||||
| vfwmsac.vv v8,v16,v24,v0.t | 1.00 | 2.00 | 2.00 | 4.00 | 8.00 | 2.00 | 2.00 | 4.00 | 8.00 | |||||||||||||||||||
| vfwmsac.vf v8,ft0,v16 | 1.00 | 2.00 | 2.00 | 4.00 | 8.00 | 2.00 | 2.00 | 4.00 | 8.00 | |||||||||||||||||||
| vfwmsac.vf v8,ft0,v16,v0.t | 1.00 | 2.00 | 2.00 | 4.00 | 8.00 | 2.00 | 2.00 | 4.00 | 8.00 | |||||||||||||||||||
| vfwnmsac.vv v8,v16,v24 | 1.00 | 2.00 | 2.00 | 4.00 | 8.00 | 2.00 | 2.00 | 4.00 | 8.00 | |||||||||||||||||||
| vfwnmsac.vv v8,v16,v24,v0.t | 1.00 | 2.00 | 2.00 | 4.00 | 8.00 | 2.00 | 2.00 | 4.00 | 8.00 | |||||||||||||||||||
| vfwnmsac.vf v8,ft0,v16 | 1.00 | 2.00 | 2.00 | 4.00 | 8.00 | 2.00 | 2.00 | 4.00 | 8.00 | |||||||||||||||||||
| vfwnmsac.vf v8,ft0,v16,v0.t | 1.00 | 2.00 | 2.00 | 4.00 | 8.00 | 2.00 | 2.00 | 4.00 | 8.00 | |||||||||||||||||||
| vfwredosum.vs v8,v16,v24 | 10.00 | 26.00 | 31.00 | 62.99 | 127.96 | 511.34 | 10.00 | 15.00 | 31.00 | 65.99 | 256.83 | |||||||||||||||||
| vfwredosum.vs v8,v16,v24,v0.t | 10.00 | 26.00 | 31.00 | 63.00 | 127.96 | 511.34 | 10.00 | 15.00 | 31.00 | 65.99 | 256.83 | |||||||||||||||||
| vfwredusum.vs v8,v16,v24 | 10.00 | 26.00 | 31.00 | 62.99 | 127.96 | 511.34 | 10.00 | 15.00 | 31.00 | 65.99 | 256.83 | |||||||||||||||||
| vfwredusum.vs v8,v16,v24,v0.t | 10.00 | 26.00 | 31.00 | 62.99 | 127.96 | 511.34 | 10.00 | 15.00 | 31.00 | 65.99 | 256.83 | |||||||||||||||||
| vmv.s.x v8,t0 | 1.06 | 1.06 | 1.06 | 1.06 | 1.06 | 1.54 | 3.00 | 1.06 | 1.06 | 1.06 | 1.06 | 1.54 | 3.00 | 1.06 | 1.06 | 1.06 | 1.54 | 3.00 | 1.06 | 1.06 | 1.54 | 3.00 | ||||||
| vmv.x.s t0,v8 | 6.00 | 6.00 | 6.00 | 6.00 | 6.00 | 6.00 | 6.00 | 6.00 | 6.00 | 6.00 | 6.00 | 6.00 | 6.00 | 6.00 | 6.00 | 6.00 | 6.00 | 6.00 | 6.00 | 6.00 | 6.00 | 6.00 | ||||||
| vcpop.m t0,v8 | 6.00 | 6.00 | 6.00 | 6.00 | 6.00 | 6.00 | 7.00 | 6.00 | 6.00 | 6.00 | 6.00 | 6.00 | 6.00 | 6.00 | 6.00 | 6.00 | 6.00 | 6.00 | 6.00 | 6.00 | 6.00 | 6.00 | ||||||
| vcpop.m t0,v8,v0.t | 6.00 | 6.00 | 6.00 | 6.00 | 6.00 | 6.00 | 7.00 | 6.00 | 6.00 | 6.00 | 6.00 | 6.00 | 6.00 | 6.00 | 6.00 | 6.00 | 6.00 | 6.00 | 6.00 | 6.00 | 6.00 | 6.00 | ||||||
| vfirst.m t0,v8 | 6.00 | 6.00 | 6.00 | 6.00 | 6.00 | 6.00 | 7.00 | 6.00 | 6.00 | 6.00 | 6.00 | 6.00 | 6.00 | 6.00 | 6.00 | 6.00 | 6.00 | 6.00 | 6.00 | 6.00 | 6.00 | 6.00 | ||||||
| vfirst.m t0,v8,v0.t | 6.00 | 6.00 | 6.00 | 6.00 | 6.00 | 6.00 | 7.00 | 6.00 | 6.00 | 6.00 | 6.00 | 6.00 | 6.00 | 6.00 | 6.00 | 6.00 | 6.00 | 6.00 | 6.00 | 6.00 | 6.00 | 6.00 | ||||||
| vzext.vf2 v8,v16 | 1.00 | 1.00 | 2.00 | 4.00 | 8.00 | 16.00 | 1.00 | 2.00 | 4.00 | 8.00 | 16.00 | 2.00 | 4.00 | 8.00 | 16.00 | |||||||||||||
| vzext.vf2 v8,v16,v0.t | 1.00 | 1.00 | 2.00 | 4.00 | 8.00 | 16.00 | 1.00 | 2.00 | 4.00 | 8.00 | 16.00 | 2.00 | 4.00 | 8.00 | 16.00 | |||||||||||||
| vsext.vf2 v8,v16 | 1.00 | 1.00 | 2.00 | 4.00 | 8.00 | 16.00 | 1.00 | 2.00 | 4.00 | 8.00 | 16.00 | 2.00 | 4.00 | 8.00 | 16.00 | |||||||||||||
| vsext.vf2 v8,v16,v0.t | 1.00 | 1.00 | 2.00 | 4.00 | 8.00 | 16.00 | 1.00 | 2.00 | 4.00 | 8.00 | 16.00 | 2.00 | 4.00 | 8.00 | 16.00 | |||||||||||||
| vzext.vf4 v8,v16 | 1.00 | 2.00 | 4.00 | 8.00 | 16.00 | 2.00 | 4.00 | 8.00 | 16.00 | |||||||||||||||||||
| vzext.vf4 v8,v16,v0.t | 1.00 | 2.00 | 4.00 | 8.00 | 16.00 | 2.00 | 4.00 | 8.00 | 16.00 | |||||||||||||||||||
| vsext.vf4 v8,v16 | 1.00 | 2.00 | 4.00 | 8.00 | 16.00 | 2.00 | 4.00 | 8.00 | 16.00 | |||||||||||||||||||
| vsext.vf4 v8,v16,v0.t | 1.00 | 2.00 | 4.00 | 8.00 | 16.00 | 2.00 | 4.00 | 8.00 | 16.00 | |||||||||||||||||||
| vzext.vf8 v8,v16 | 2.00 | 4.00 | 8.00 | 16.00 | ||||||||||||||||||||||||
| vzext.vf8 v8,v16,v0.t | 2.00 | 4.00 | 8.00 | 16.00 | ||||||||||||||||||||||||
| vsext.vf8 v8,v16 | 2.00 | 4.00 | 8.00 | 16.00 | ||||||||||||||||||||||||
| vsext.vf8 v8,v16,v0.t | 2.00 | 4.00 | 8.00 | 16.00 | ||||||||||||||||||||||||
| vfmv.f.s ft0,v8 | 6.00 | 6.00 | 6.00 | 6.00 | 6.00 | 6.00 | 6.00 | 6.00 | 6.00 | 6.00 | 6.00 | 6.00 | 6.00 | 6.00 | 6.00 | |||||||||||||
| vfmv.s.f v8,ft0 | 1.00 | 1.00 | 1.00 | 1.00 | 1.50 | 3.00 | 1.00 | 1.00 | 1.00 | 1.50 | 3.00 | 1.00 | 1.00 | 1.50 | 3.00 | |||||||||||||
| vfcvt.xu.f.v v8,v16 | 1.00 | 1.00 | 2.00 | 4.00 | 8.00 | 16.00 | 1.00 | 2.00 | 4.00 | 8.00 | 16.00 | 2.00 | 4.00 | 8.00 | 16.00 | |||||||||||||
| vfcvt.xu.f.v v8,v16,v0.t | 1.00 | 1.00 | 2.00 | 4.00 | 8.00 | 16.00 | 1.00 | 2.00 | 4.00 | 8.00 | 16.00 | 2.00 | 4.00 | 8.00 | 16.00 | |||||||||||||
| vfcvt.x.f.v v8,v16 | 1.00 | 1.00 | 2.00 | 4.00 | 8.00 | 16.00 | 1.00 | 2.00 | 4.00 | 8.00 | 16.00 | 2.00 | 4.00 | 8.00 | 16.00 | |||||||||||||
| vfcvt.x.f.v v8,v16,v0.t | 1.00 | 1.00 | 2.00 | 4.00 | 8.00 | 16.00 | 1.00 | 2.00 | 4.00 | 8.00 | 16.00 | 2.00 | 4.00 | 8.00 | 16.00 | |||||||||||||
| vfcvt.f.xu.v v8,v16 | 1.00 | 1.00 | 2.00 | 4.00 | 8.00 | 16.00 | 1.00 | 2.00 | 4.00 | 8.00 | 16.00 | 2.00 | 4.00 | 8.00 | 16.00 | |||||||||||||
| vfcvt.f.xu.v v8,v16,v0.t | 1.00 | 1.00 | 2.00 | 4.00 | 8.00 | 16.00 | 1.00 | 2.00 | 4.00 | 8.00 | 16.00 | 2.00 | 4.00 | 8.00 | 16.00 | |||||||||||||
| vfcvt.f.x.v v8,v16 | 1.00 | 1.00 | 2.00 | 4.00 | 8.00 | 16.00 | 1.00 | 2.00 | 4.00 | 8.00 | 16.00 | 2.00 | 4.00 | 8.00 | 16.00 | |||||||||||||
| vfcvt.f.x.v v8,v16,v0.t | 1.00 | 1.00 | 2.00 | 4.00 | 8.00 | 16.00 | 1.00 | 2.00 | 4.00 | 8.00 | 16.00 | 2.00 | 4.00 | 8.00 | 16.00 | |||||||||||||
| vfcvt.rtz.x.f.v v8,v16 | 1.00 | 1.00 | 2.00 | 4.00 | 8.00 | 16.00 | 1.00 | 2.00 | 4.00 | 8.00 | 16.00 | 2.00 | 4.00 | 8.00 | 16.00 | |||||||||||||
| vfcvt.rtz.x.f.v v8,v16,v0.t | 1.00 | 1.00 | 2.00 | 4.00 | 8.00 | 16.00 | 1.00 | 2.00 | 4.00 | 8.00 | 16.00 | 2.00 | 4.00 | 8.00 | 16.00 | |||||||||||||
| vfcvt.rtz.xu.f.v v8,v16 | 1.00 | 1.00 | 2.00 | 4.00 | 8.00 | 16.00 | 1.00 | 2.00 | 4.00 | 8.00 | 16.00 | 2.00 | 4.00 | 8.00 | 16.00 | |||||||||||||
| vfcvt.rtz.xu.f.v v8,v16,v0.t | 1.00 | 1.00 | 2.00 | 4.00 | 8.00 | 16.00 | 1.00 | 2.00 | 4.00 | 8.00 | 16.00 | 2.00 | 4.00 | 8.00 | 16.00 | |||||||||||||
| vfwcvt.xu.f.v v8,v16 | 1.00 | 2.00 | 4.00 | 8.00 | 16.00 | 2.00 | 4.00 | 8.00 | 16.00 | |||||||||||||||||||
| vfwcvt.xu.f.v v8,v16,v0.t | 1.00 | 2.00 | 4.00 | 8.00 | 16.00 | 2.00 | 4.00 | 8.00 | 16.00 | |||||||||||||||||||
| vfwcvt.x.f.v v8,v16 | 1.00 | 2.00 | 4.00 | 8.00 | 16.00 | 2.00 | 4.00 | 8.00 | 16.00 | |||||||||||||||||||
| vfwcvt.x.f.v v8,v16,v0.t | 1.00 | 2.00 | 4.00 | 8.00 | 16.00 | 2.00 | 4.00 | 8.00 | 16.00 | |||||||||||||||||||
| vfwcvt.f.xu.v v8,v16 | 1.00 | 2.00 | 4.00 | 8.00 | 16.00 | 2.00 | 4.00 | 8.00 | 16.00 | |||||||||||||||||||
| vfwcvt.f.xu.v v8,v16,v0.t | 1.00 | 2.00 | 4.00 | 8.00 | 16.00 | 2.00 | 4.00 | 8.00 | 16.00 | |||||||||||||||||||
| vfwcvt.f.x.v v8,v16 | 1.00 | 2.00 | 4.00 | 8.00 | 16.00 | 2.00 | 4.00 | 8.00 | 16.00 | |||||||||||||||||||
| vfwcvt.f.x.v v8,v16,v0.t | 1.00 | 2.00 | 4.00 | 8.00 | 16.00 | 2.00 | 4.00 | 8.00 | 16.00 | |||||||||||||||||||
| vfwcvt.f.f.v v8,v16 | 1.00 | 2.00 | 4.00 | 8.00 | 16.00 | 2.00 | 4.00 | 8.00 | 16.00 | |||||||||||||||||||
| vfwcvt.f.f.v v8,v16,v0.t | 1.00 | 2.00 | 4.00 | 8.00 | 16.00 | 2.00 | 4.00 | 8.00 | 16.00 | |||||||||||||||||||
| vfwcvt.rtz.xu.f.v v8,v16 | 1.00 | 2.00 | 4.00 | 8.00 | 16.00 | 2.00 | 4.00 | 8.00 | 16.00 | |||||||||||||||||||
| vfwcvt.rtz.xu.f.v v8,v16,v0.t | 1.00 | 2.00 | 4.00 | 8.00 | 16.00 | 2.00 | 4.00 | 8.00 | 16.00 | |||||||||||||||||||
| vfwcvt.rtz.x.f.v v8,v16 | 1.00 | 2.00 | 4.00 | 8.00 | 16.00 | 2.00 | 4.00 | 8.00 | 16.00 | |||||||||||||||||||
| vfwcvt.rtz.x.f.v v8,v16,v0.t | 1.00 | 2.00 | 4.00 | 8.00 | 16.00 | 2.00 | 4.00 | 8.00 | 16.00 | |||||||||||||||||||
| vfncvt.xu.f.w v8,v16 | 1.00 | 2.00 | 4.00 | 8.00 | 16.00 | 2.00 | 4.00 | 8.00 | 16.00 | |||||||||||||||||||
| vfncvt.xu.f.w v8,v16,v0.t | 1.00 | 2.00 | 4.00 | 8.00 | 16.00 | 2.00 | 4.00 | 8.00 | 16.00 | |||||||||||||||||||
| vfncvt.x.f.w v8,v16 | 1.00 | 2.00 | 4.00 | 8.00 | 16.00 | 2.00 | 4.00 | 8.00 | 16.00 | |||||||||||||||||||
| vfncvt.x.f.w v8,v16,v0.t | 1.00 | 2.00 | 4.00 | 8.00 | 16.00 | 2.00 | 4.00 | 8.00 | 16.00 | |||||||||||||||||||
| vfncvt.f.xu.w v8,v16 | 1.00 | 2.00 | 4.00 | 8.00 | 16.00 | 2.00 | 4.00 | 8.00 | 16.00 | |||||||||||||||||||
| vfncvt.f.xu.w v8,v16,v0.t | 1.00 | 2.00 | 4.00 | 8.00 | 16.00 | 2.00 | 4.00 | 8.00 | 16.00 | |||||||||||||||||||
| vfncvt.f.x.w v8,v16 | 1.00 | 2.00 | 4.00 | 8.00 | 16.00 | 2.00 | 4.00 | 8.00 | 16.00 | |||||||||||||||||||
| vfncvt.f.x.w v8,v16,v0.t | 1.00 | 2.00 | 4.00 | 8.00 | 16.00 | 2.00 | 4.00 | 8.00 | 16.00 | |||||||||||||||||||
| vfncvt.f.f.w v8,v16 | 1.00 | 2.00 | 4.00 | 8.00 | 16.00 | 2.00 | 4.00 | 8.00 | 16.00 | |||||||||||||||||||
| vfncvt.f.f.w v8,v16,v0.t | 1.00 | 2.00 | 4.00 | 8.00 | 16.00 | 2.00 | 4.00 | 8.00 | 16.00 | |||||||||||||||||||
| vfncvt.rtz.x.f.w v8,v16 | 1.00 | 2.00 | 4.00 | 8.00 | 16.00 | 2.00 | 4.00 | 8.00 | 16.00 | |||||||||||||||||||
| vfncvt.rtz.x.f.w v8,v16,v0.t | 1.00 | 2.00 | 4.00 | 8.00 | 16.00 | 2.00 | 4.00 | 8.00 | 16.00 | |||||||||||||||||||
| vfncvt.rtz.xu.f.w v8,v16 | 1.00 | 2.00 | 4.00 | 8.00 | 16.00 | 2.00 | 4.00 | 8.00 | 16.00 | |||||||||||||||||||
| vfncvt.rtz.xu.f.w v8,v16,v0.t | 1.00 | 2.00 | 4.00 | 8.00 | 16.00 | 2.00 | 4.00 | 8.00 | 16.00 | |||||||||||||||||||
| vfncvt.rod.f.f.w v8,v16 | 1.00 | 2.00 | 4.00 | 8.00 | 16.00 | 2.00 | 4.00 | 8.00 | 16.00 | |||||||||||||||||||
| vfncvt.rod.f.f.w v8,v16,v0.t | 1.00 | 2.00 | 4.00 | 8.00 | 16.00 | 2.00 | 4.00 | 8.00 | 16.00 | |||||||||||||||||||
| vfsqrt.v v8,v16 | 10.27 | 10.38 | 17.34 | 31.87 | 60.36 | 114.71 | 11.73 | 18.41 | 29.62 | 53.54 | 102.88 | 25.49 | 36.82 | 61.56 | 108.26 | |||||||||||||
| vfsqrt.v v8,v16,v0.t | 8.15 | 8.10 | 15.37 | 29.88 | 58.57 | 115.92 | 8.64 | 14.60 | 26.99 | 50.84 | 97.77 | 18.07 | 28.75 | 54.81 | 98.83 | |||||||||||||
| vfrsqrt7.v v8,v16 | 1.00 | 1.00 | 2.00 | 4.00 | 8.00 | 16.00 | 1.00 | 2.00 | 4.00 | 8.00 | 16.00 | 2.00 | 4.00 | 8.00 | 16.00 | |||||||||||||
| vfrsqrt7.v v8,v16,v0.t | 1.00 | 1.00 | 2.00 | 4.00 | 8.00 | 16.00 | 1.00 | 2.00 | 4.00 | 8.00 | 16.00 | 2.00 | 4.00 | 8.00 | 16.00 | |||||||||||||
| vfrec7.v v8,v16 | 1.00 | 1.00 | 2.00 | 4.00 | 8.00 | 16.00 | 1.00 | 2.00 | 4.00 | 8.00 | 16.00 | 2.00 | 4.00 | 8.00 | 16.00 | |||||||||||||
| vfrec7.v v8,v16,v0.t | 1.00 | 1.00 | 2.00 | 4.00 | 8.00 | 16.00 | 1.00 | 2.00 | 4.00 | 8.00 | 16.00 | 2.00 | 4.00 | 8.00 | 16.00 | |||||||||||||
| vfclass.v v8,v16 | 1.00 | 1.00 | 2.00 | 4.00 | 8.00 | 16.00 | 1.00 | 2.00 | 4.00 | 8.00 | 16.00 | 2.00 | 4.00 | 8.00 | 16.00 | |||||||||||||
| vfclass.v v8,v16,v0.t | 1.00 | 1.00 | 2.00 | 4.00 | 8.00 | 16.00 | 1.00 | 2.00 | 4.00 | 8.00 | 16.00 | 2.00 | 4.00 | 8.00 | 16.00 | |||||||||||||
| vmsbf.m v8,v16 | 1.00 | 1.00 | 1.00 | 1.00 | 1.00 | 1.50 | 3.00 | 1.00 | 1.00 | 1.00 | 1.00 | 1.50 | 3.00 | 1.00 | 1.00 | 1.00 | 1.50 | 3.00 | 1.00 | 1.00 | 1.50 | 3.00 | ||||||
| vmsbf.m v8,v16,v0.t | 1.00 | 1.00 | 1.00 | 1.00 | 1.00 | 1.50 | 3.00 | 1.00 | 1.00 | 1.00 | 1.00 | 1.50 | 3.00 | 1.00 | 1.00 | 1.00 | 1.50 | 3.00 | 1.00 | 1.00 | 1.50 | 3.00 | ||||||
| vmsof.m v8,v16 | 1.00 | 1.00 | 1.00 | 1.00 | 1.00 | 1.50 | 3.00 | 1.00 | 1.00 | 1.00 | 1.00 | 1.50 | 3.00 | 1.00 | 1.00 | 1.00 | 1.50 | 3.00 | 1.00 | 1.00 | 1.50 | 3.00 | ||||||
| vmsof.m v8,v16,v0.t | 1.00 | 1.00 | 1.00 | 1.00 | 1.00 | 1.50 | 3.00 | 1.00 | 1.00 | 1.00 | 1.00 | 1.50 | 3.00 | 1.00 | 1.00 | 1.00 | 1.50 | 3.00 | 1.00 | 1.00 | 1.50 | 3.00 | ||||||
| vmsif.m v8,v16 | 1.00 | 1.00 | 1.00 | 1.00 | 1.00 | 1.50 | 3.00 | 1.00 | 1.00 | 1.00 | 1.00 | 1.50 | 3.00 | 1.00 | 1.00 | 1.00 | 1.50 | 3.00 | 1.00 | 1.00 | 1.50 | 3.00 | ||||||
| vmsif.m v8,v16,v0.t | 1.00 | 1.00 | 1.00 | 1.00 | 1.00 | 1.50 | 3.00 | 1.00 | 1.00 | 1.00 | 1.00 | 1.50 | 3.00 | 1.00 | 1.00 | 1.00 | 1.50 | 3.00 | 1.00 | 1.00 | 1.50 | 3.00 | ||||||
| viota.m v8,v16 | 1.00 | 1.00 | 1.00 | 2.00 | 4.00 | 8.00 | 16.00 | 1.00 | 1.00 | 2.00 | 4.00 | 8.00 | 16.00 | 1.00 | 2.00 | 4.00 | 8.00 | 16.00 | 2.00 | 4.00 | 8.00 | 16.00 | ||||||
| viota.m v8,v16,v0.t | 1.00 | 1.00 | 1.00 | 2.00 | 4.00 | 8.00 | 16.00 | 1.00 | 1.00 | 2.00 | 4.00 | 8.00 | 16.00 | 1.00 | 2.00 | 4.00 | 8.00 | 16.00 | 2.00 | 4.00 | 8.00 | 16.00 | ||||||
| vid.v v8 | 1.00 | 1.00 | 1.00 | 2.00 | 4.00 | 8.00 | 16.00 | 1.00 | 1.00 | 2.00 | 4.00 | 8.00 | 16.00 | 1.00 | 2.00 | 4.00 | 8.00 | 16.00 | 2.00 | 4.00 | 8.00 | 16.00 | ||||||
| vid.v v8,v0.t | 1.00 | 1.00 | 1.00 | 2.00 | 4.00 | 8.00 | 16.00 | 1.00 | 1.00 | 2.00 | 4.00 | 8.00 | 16.00 | 1.00 | 2.00 | 4.00 | 8.00 | 16.00 | 2.00 | 4.00 | 8.00 | 16.00 | ||||||
| vle8.v v8,(t0) | 1.35 | 1.12 | 1.22 | 1.26 | 2.81 | 5.87 | 12.50 | 1.25 | 1.27 | 1.25 | 1.33 | 2.66 | 6.07 | 1.15 | 1.27 | 1.27 | 2.00 | 4.00 | 1.17 | 1.15 | 2.00 | 4.00 | ||||||
| vle8.v v8,(t0),v0.t | 1.25 | 1.20 | 1.32 | 1.33 | 2.43 | 5.88 | 12.55 | 1.30 | 1.22 | 1.27 | 1.22 | 2.77 | 5.95 | 1.25 | 1.22 | 1.30 | 2.00 | 4.00 | 1.12 | 1.35 | 2.00 | 4.00 | ||||||
| vle16.v v8,(t0) | 1.37 | 1.32 | 1.30 | 1.25 | 1.12 | 1.30 | 2.73 | 5.88 | 12.45 | 1.25 | 1.15 | 1.33 | 2.55 | 6.03 | 1.27 | 1.22 | 2.00 | 4.00 | ||||||||||
| vle16.v v8,(t0),v0.t | 1.32 | 1.22 | 1.30 | 1.12 | 1.25 | 1.41 | 2.55 | 5.96 | 12.40 | 1.35 | 1.25 | 1.52 | 2.62 | 6.01 | 1.20 | 1.15 | 2.00 | 4.00 | ||||||||||
| vle32.v v8,(t0) | 1.12 | 1.15 | 1.25 | 1.26 | 1.25 | 1.37 | 2.51 | 5.96 | 12.55 | 1.30 | 1.22 | 2.62 | 6.01 | |||||||||||||||
| vle32.v v8,(t0),v0.t | 1.22 | 1.30 | 1.20 | 1.33 | 1.27 | 1.18 | 2.70 | 5.84 | 12.45 | 1.25 | 1.30 | 2.77 | 6.01 | |||||||||||||||
| vle64.v v8,(t0) | 1.22 | 1.30 | 1.41 | 1.37 | 2.07 | 5.93 | 12.45 | |||||||||||||||||||||
| vle64.v v8,(t0),v0.t | 1.11 | 1.07 | 1.18 | 1.18 | 2.22 | 5.98 | 12.45 | |||||||||||||||||||||
| vse8.v v8,(t0) | 1.22 | 1.07 | 1.35 | 2.40 | 4.40 | 10.52 | 16.65 | 1.27 | 1.05 | 1.45 | 2.70 | 4.55 | 9.25 | 1.22 | 1.42 | 1.45 | 2.70 | 4.35 | 1.35 | 1.55 | 1.30 | 3.70 | ||||||
| vse8.v v8,(t0),v0.t | 1.27 | 1.20 | 1.40 | 2.70 | 6.32 | 8.67 | 16.85 | 1.27 | 1.35 | 1.30 | 2.35 | 4.35 | 9.12 | 1.22 | 1.32 | 1.35 | 2.50 | 4.45 | 1.27 | 1.47 | 1.70 | 2.65 | ||||||
| vse16.v v8,(t0) | 1.55 | 1.60 | 2.40 | 1.55 | 1.70 | 2.50 | 4.55 | 9.65 | 16.82 | 1.30 | 1.45 | 2.40 | 4.40 | 9.27 | 1.22 | 1.55 | 2.25 | 4.45 | ||||||||||
| vse16.v v8,(t0),v0.t | 1.27 | 1.45 | 2.55 | 1.30 | 1.35 | 2.40 | 4.70 | 9.40 | 16.75 | 1.15 | 1.50 | 2.75 | 4.45 | 9.97 | 1.35 | 1.40 | 2.20 | 4.40 | ||||||||||
| vse32.v v8,(t0) | 1.40 | 2.60 | 1.40 | 2.40 | 1.30 | 2.45 | 4.55 | 10.92 | 16.75 | 1.30 | 2.60 | 4.35 | 9.11 | |||||||||||||||
| vse32.v v8,(t0),v0.t | 1.35 | 2.40 | 1.60 | 2.50 | 1.25 | 2.35 | 4.55 | 9.78 | 16.52 | 1.40 | 2.55 | 5.00 | 8.92 | |||||||||||||||
| vse64.v v8,(t0) | 2.75 | 2.30 | 2.20 | 2.35 | 4.50 | 9.37 | 16.25 | |||||||||||||||||||||
| vse64.v v8,(t0),v0.t | 2.20 | 2.35 | 2.25 | 2.00 | 4.52 | 9.85 | 16.55 | |||||||||||||||||||||
| vle8ff.v v8,(t0) | 1.17 | 1.22 | 1.17 | 1.37 | 2.88 | 5.93 | 12.65 | 1.12 | 1.27 | 1.32 | 1.37 | 2.85 | 6.01 | 1.32 | 1.22 | 1.17 | 2.00 | 4.00 | 1.22 | 1.17 | 2.00 | 4.00 | ||||||
| vle8ff.v v8,(t0),v0.t | 1.27 | 1.22 | 1.17 | 1.37 | 2.66 | 5.92 | 12.45 | 1.22 | 1.22 | 1.27 | 1.33 | 2.62 | 5.97 | 1.22 | 1.27 | 1.25 | 2.00 | 4.00 | 1.17 | 1.27 | 2.00 | 4.00 | ||||||
| vle16ff.v v8,(t0) | 1.20 | 1.37 | 1.52 | 1.30 | 1.27 | 1.30 | 2.62 | 5.90 | 12.60 | 1.30 | 1.20 | 1.48 | 2.66 | 6.01 | 1.20 | 1.22 | 2.00 | 4.00 | ||||||||||
| vle16ff.v v8,(t0),v0.t | 1.25 | 1.17 | 1.30 | 1.27 | 1.27 | 1.45 | 2.47 | 5.92 | 12.60 | 1.17 | 1.32 | 1.26 | 2.62 | 5.92 | 1.22 | 1.20 | 2.00 | 4.00 | ||||||||||
| vle32ff.v v8,(t0) | 1.27 | 1.22 | 1.27 | 1.48 | 1.22 | 1.18 | 2.85 | 5.93 | 12.45 | 1.27 | 1.45 | 2.47 | 5.99 | |||||||||||||||
| vle32ff.v v8,(t0),v0.t | 1.25 | 1.30 | 1.30 | 1.18 | 1.12 | 1.11 | 2.62 | 5.89 | 12.30 | 1.22 | 1.33 | 2.66 | 6.03 | |||||||||||||||
| vle64ff.v v8,(t0) | 1.11 | 1.26 | 1.30 | 1.33 | 2.00 | 5.92 | 12.30 | |||||||||||||||||||||
| vle64ff.v v8,(t0),v0.t | 1.11 | 1.22 | 1.26 | 1.30 | 2.15 | 5.91 | 12.25 | |||||||||||||||||||||
| vlm.v v8,(t0) | 1.17 | 1.25 | 1.27 | 1.20 | 1.22 | 2.00 | 4.00 | 1.17 | 1.22 | 1.17 | 1.25 | 2.00 | 4.00 | 1.25 | 1.32 | 1.30 | 2.00 | 4.00 | 1.15 | 1.25 | 2.00 | 4.00 | ||||||
| vsm.v v8,(t0) | 1.20 | 1.30 | 1.20 | 1.27 | 1.22 | 1.65 | 2.35 | 1.17 | 1.17 | 1.22 | 1.30 | 1.37 | 1.65 | 1.30 | 1.20 | 1.27 | 1.25 | 1.35 | 1.22 | 1.25 | 1.35 | 1.25 | ||||||
| vlse8.v v8,(t2),t3 | 3.00 | 5.00 | 9.00 | 21.17 | 50.01 | 114.01 | 242.01 | 3.00 | 5.00 | 9.00 | 21.15 | 50.01 | 114.01 | 3.00 | 5.00 | 9.00 | 21.20 | 50.01 | 3.00 | 5.00 | 9.00 | 21.05 | ||||||
| vlse8.v v8,(t2),t3,v0.t | 3.00 | 5.00 | 9.00 | 21.00 | 50.01 | 114.01 | 242.01 | 3.00 | 5.00 | 9.00 | 21.02 | 50.01 | 114.01 | 3.00 | 5.00 | 9.00 | 21.23 | 50.01 | 3.00 | 5.00 | 9.00 | 21.08 | ||||||
| vlse8.v v8,(t2),x0 | 3.00 | 5.00 | 9.00 | 17.07 | 50.01 | 114.01 | 242.01 | 3.00 | 5.00 | 9.00 | 17.07 | 50.01 | 114.01 | 3.00 | 5.00 | 9.00 | 17.07 | 50.01 | 3.00 | 5.00 | 9.00 | 17.07 | ||||||
| vlse8.v v8,(t2),x0,v0.t | 3.00 | 5.00 | 9.00 | 17.07 | 50.01 | 114.01 | 242.01 | 3.00 | 5.00 | 9.00 | 17.07 | 50.01 | 114.01 | 3.00 | 5.00 | 9.00 | 17.07 | 50.01 | 3.00 | 5.00 | 9.00 | 17.07 | ||||||
| vlse8.v v8,(t2),t1/*-1*/ | 3.00 | 5.00 | 9.00 | 23.02 | 48.02 | 114.01 | 242.01 | 3.00 | 5.00 | 9.00 | 22.46 | 48.01 | 114.01 | 3.00 | 5.00 | 9.00 | 23.10 | 48.05 | 3.00 | 5.00 | 9.00 | 23.00 | ||||||
| vlse8.v v8,(t2),t1/*-1*/,v0.t | 3.00 | 5.00 | 9.00 | 23.29 | 48.03 | 114.01 | 242.01 | 3.00 | 5.00 | 9.00 | 23.36 | 48.02 | 114.01 | 3.00 | 5.00 | 9.00 | 22.89 | 48.03 | 3.00 | 5.00 | 9.00 | 22.83 | ||||||
| vlse16.v v8,(t2),t3 | 3.00 | 5.00 | 9.00 | 3.00 | 5.00 | 9.00 | 21.85 | 50.01 | 114.01 | 3.00 | 5.00 | 9.00 | 22.37 | 50.01 | 3.00 | 5.00 | 9.00 | 22.02 | ||||||||||
| vlse16.v v8,(t2),t3,v0.t | 3.00 | 5.00 | 9.00 | 3.00 | 5.00 | 9.00 | 21.90 | 50.01 | 114.01 | 3.00 | 5.00 | 9.00 | 21.95 | 50.01 | 3.00 | 5.00 | 9.00 | 21.85 | ||||||||||
| vlse16.v v8,(t2),x0 | 3.00 | 5.00 | 9.00 | 3.00 | 5.00 | 9.00 | 17.07 | 50.01 | 114.01 | 3.00 | 5.00 | 9.00 | 17.07 | 50.01 | 3.00 | 5.00 | 9.00 | 17.07 | ||||||||||
| vlse16.v v8,(t2),x0,v0.t | 3.00 | 5.00 | 9.00 | 3.00 | 5.00 | 9.00 | 17.07 | 50.01 | 114.01 | 3.00 | 5.00 | 9.00 | 17.07 | 50.01 | 3.00 | 5.00 | 9.00 | 17.07 | ||||||||||
| vlse16.v v8,(t2),t1/*-1*/ | 3.00 | 5.00 | 9.00 | 3.00 | 5.00 | 9.00 | 24.00 | 50.01 | 114.01 | 3.00 | 5.00 | 9.00 | 24.00 | 50.01 | 3.00 | 5.00 | 9.00 | 24.00 | ||||||||||
| vlse16.v v8,(t2),t1/*-1*/,v0.t | 3.00 | 5.00 | 9.00 | 3.00 | 5.00 | 9.00 | 24.00 | 50.01 | 114.01 | 3.00 | 5.00 | 9.00 | 24.00 | 50.01 | 3.00 | 5.00 | 9.00 | 24.00 | ||||||||||
| vlse32.v v8,(t2),t3 | 3.00 | 5.00 | 3.00 | 5.00 | 3.00 | 5.00 | 9.00 | 20.00 | 50.01 | 3.00 | 5.00 | 9.00 | 20.00 | |||||||||||||||
| vlse32.v v8,(t2),t3,v0.t | 3.00 | 5.00 | 3.00 | 5.00 | 3.00 | 5.00 | 9.00 | 20.00 | 50.01 | 3.00 | 5.00 | 9.00 | 20.00 | |||||||||||||||
| vlse32.v v8,(t2),x0 | 3.00 | 5.00 | 3.00 | 5.00 | 3.00 | 5.00 | 9.00 | 17.07 | 50.01 | 3.00 | 5.00 | 9.00 | 17.07 | |||||||||||||||
| vlse32.v v8,(t2),x0,v0.t | 3.00 | 5.00 | 3.00 | 5.00 | 3.00 | 5.00 | 9.00 | 17.07 | 50.01 | 3.00 | 5.00 | 9.00 | 17.07 | |||||||||||||||
| vlse32.v v8,(t2),t1/*-1*/ | 3.00 | 5.00 | 3.00 | 5.00 | 3.00 | 5.00 | 9.00 | 20.00 | 50.01 | 3.00 | 5.00 | 9.00 | 20.00 | |||||||||||||||
| vlse32.v v8,(t2),t1/*-1*/,v0.t | 3.00 | 5.00 | 3.00 | 5.00 | 3.00 | 5.00 | 9.00 | 20.00 | 50.01 | 3.00 | 5.00 | 9.00 | 20.00 | |||||||||||||||
| vlse64.v v8,(t2),t3 | 3.00 | 3.00 | 3.00 | 3.00 | 5.00 | 10.15 | 24.00 | |||||||||||||||||||||
| vlse64.v v8,(t2),t3,v0.t | 3.00 | 3.00 | 3.00 | 3.00 | 5.00 | 10.13 | 24.00 | |||||||||||||||||||||
| vlse64.v v8,(t2),x0 | 3.00 | 3.00 | 3.00 | 3.00 | 5.00 | 9.00 | 22.00 | |||||||||||||||||||||
| vlse64.v v8,(t2),x0,v0.t | 3.00 | 3.00 | 3.00 | 3.00 | 5.00 | 9.00 | 22.00 | |||||||||||||||||||||
| vlse64.v v8,(t2),t1/*-1*/ | 3.00 | 3.00 | 3.00 | 3.00 | 5.00 | 10.32 | 24.00 | |||||||||||||||||||||
| vlse64.v v8,(t2),t1/*-1*/,v0.t | 3.00 | 3.00 | 3.00 | 3.00 | 5.00 | 10.28 | 24.00 | |||||||||||||||||||||
| vsse8.v v8,(t2),t3 | 4.00 | 8.00 | 16.00 | 32.00 | 69.25 | 144.07 | 292.02 | 4.00 | 8.00 | 16.00 | 32.00 | 70.30 | 137.89 | 4.00 | 8.00 | 16.00 | 32.00 | 68.30 | 4.00 | 8.00 | 16.00 | 32.00 | ||||||
| vsse8.v v8,(t2),t3,v0.t | 4.00 | 8.00 | 16.00 | 32.87 | 70.44 | 140.83 | 537.48 | 4.00 | 8.00 | 16.00 | 32.00 | 68.62 | 139.81 | 4.00 | 8.00 | 16.00 | 32.00 | 67.60 | 4.00 | 8.00 | 16.00 | 32.00 | ||||||
| vsse8.v v8,(t2),x0 | 4.00 | 8.00 | 16.00 | 32.00 | 64.00 | 128.00 | 256.00 | 4.00 | 8.00 | 16.00 | 32.00 | 64.00 | 128.00 | 4.00 | 8.00 | 16.00 | 32.00 | 64.00 | 4.00 | 8.00 | 16.00 | 32.00 | ||||||
| vsse8.v v8,(t2),x0,v0.t | 4.00 | 8.00 | 16.00 | 32.00 | 64.00 | 128.00 | 256.00 | 4.00 | 8.00 | 16.00 | 32.00 | 64.00 | 128.00 | 4.00 | 8.00 | 16.00 | 32.00 | 64.00 | 4.00 | 8.00 | 16.00 | 32.00 | ||||||
| vsse8.v v8,(t2),t1/*-1*/ | 4.00 | 8.00 | 16.00 | 32.00 | 64.00 | 129.59 | 263.08 | 4.00 | 8.00 | 16.00 | 32.00 | 64.00 | 132.22 | 4.00 | 8.00 | 16.00 | 32.00 | 64.00 | 4.00 | 8.00 | 16.00 | 32.00 | ||||||
| vsse8.v v8,(t2),t1/*-1*/,v0.t | 4.80 | 8.00 | 16.00 | 32.00 | 64.00 | 128.10 | 261.58 | 4.00 | 8.00 | 16.00 | 32.05 | 64.00 | 128.03 | 4.00 | 8.08 | 16.00 | 32.00 | 64.00 | 4.00 | 8.00 | 16.00 | 32.00 | ||||||
| vsse16.v v8,(t2),t3 | 4.00 | 9.42 | 16.00 | 4.00 | 8.00 | 16.00 | 32.53 | 73.20 | 144.73 | 4.00 | 8.00 | 16.00 | 34.86 | 73.01 | 4.75 | 8.00 | 16.00 | 33.50 | ||||||||||
| vsse16.v v8,(t2),t3,v0.t | 4.00 | 8.00 | 16.00 | 4.00 | 8.00 | 18.12 | 38.50 | 91.02 | 171.00 | 4.00 | 8.00 | 17.27 | 35.13 | 72.55 | 4.32 | 8.00 | 16.00 | 34.28 | ||||||||||
| vsse16.v v8,(t2),x0 | 4.00 | 8.00 | 16.00 | 4.00 | 8.00 | 16.00 | 32.00 | 64.00 | 128.00 | 4.00 | 8.00 | 16.00 | 32.00 | 64.00 | 4.00 | 8.00 | 16.00 | 32.00 | ||||||||||
| vsse16.v v8,(t2),x0,v0.t | 4.00 | 8.00 | 16.00 | 4.00 | 8.00 | 16.00 | 32.00 | 64.00 | 128.00 | 4.00 | 8.00 | 16.00 | 32.00 | 64.00 | 4.00 | 8.00 | 16.00 | 32.00 | ||||||||||
| vsse16.v v8,(t2),t1/*-1*/ | 4.00 | 8.00 | 16.00 | 4.00 | 8.00 | 16.00 | 32.00 | 66.53 | 128.03 | 4.00 | 8.00 | 16.00 | 32.00 | 65.40 | 4.00 | 8.00 | 16.00 | 32.00 | ||||||||||
| vsse16.v v8,(t2),t1/*-1*/,v0.t | 4.00 | 8.00 | 16.00 | 4.00 | 8.00 | 16.00 | 32.00 | 65.48 | 135.72 | 4.00 | 8.00 | 16.00 | 32.00 | 66.08 | 4.00 | 8.00 | 16.00 | 32.00 | ||||||||||
| vsse32.v v8,(t2),t3 | 4.00 | 8.50 | 4.00 | 8.70 | 4.00 | 8.75 | 16.18 | 32.00 | 64.00 | 4.00 | 8.00 | 16.63 | 32.00 | |||||||||||||||
| vsse32.v v8,(t2),t3,v0.t | 4.00 | 8.00 | 4.00 | 8.08 | 4.00 | 8.00 | 16.04 | 32.00 | 64.00 | 4.00 | 8.00 | 16.04 | 32.00 | |||||||||||||||
| vsse32.v v8,(t2),x0 | 4.00 | 8.00 | 4.00 | 8.00 | 4.00 | 8.00 | 16.00 | 32.00 | 64.00 | 4.00 | 8.00 | 16.00 | 32.00 | |||||||||||||||
| vsse32.v v8,(t2),x0,v0.t | 4.00 | 8.00 | 4.00 | 8.00 | 4.00 | 8.00 | 16.00 | 32.00 | 64.00 | 4.00 | 8.00 | 16.00 | 32.00 | |||||||||||||||
| vsse32.v v8,(t2),t1/*-1*/ | 4.00 | 8.00 | 4.00 | 8.00 | 4.00 | 8.00 | 16.00 | 33.25 | 64.00 | 4.00 | 8.00 | 16.00 | 34.16 | |||||||||||||||
| vsse32.v v8,(t2),t1/*-1*/,v0.t | 4.90 | 8.00 | 4.00 | 8.00 | 4.00 | 8.00 | 16.00 | 32.74 | 64.48 | 4.00 | 8.00 | 16.00 | 34.20 | |||||||||||||||
| vsse64.v v8,(t2),t3 | 4.00 | 4.00 | 4.00 | 4.00 | 9.15 | 16.00 | 32.00 | |||||||||||||||||||||
| vsse64.v v8,(t2),t3,v0.t | 4.00 | 4.26 | 6.20 | 5.27 | 8.93 | 16.00 | 32.00 | |||||||||||||||||||||
| vsse64.v v8,(t2),x0 | 4.00 | 4.00 | 4.00 | 4.00 | 8.00 | 16.00 | 32.00 | |||||||||||||||||||||
| vsse64.v v8,(t2),x0,v0.t | 4.00 | 4.00 | 4.00 | 4.00 | 8.00 | 16.00 | 32.00 | |||||||||||||||||||||
| vsse64.v v8,(t2),t1/*-1*/ | 4.00 | 4.00 | 4.00 | 4.00 | 8.76 | 16.00 | 32.00 | |||||||||||||||||||||
| vsse64.v v8,(t2),t1/*-1*/,v0.t | 4.45 | 4.00 | 4.00 | 4.00 | 8.97 | 17.03 | 32.00 | |||||||||||||||||||||
| vlseg2e8.v v8,(t0) | 4.87 | 4.87 | 4.59 | 7.30 | 12.26 | 28.17 | 4.87 | 4.87 | 4.65 | 4.72 | 12.79 | 4.87 | 4.87 | 2.65 | 4.89 | 4.87 | 2.23 | 2.97 | ||||||||||
| vlseg2e8.v v8,(t0),v0.t | 4.87 | 4.87 | 4.65 | 7.34 | 12.48 | 28.32 | 4.87 | 4.87 | 4.62 | 4.84 | 12.79 | 4.87 | 4.87 | 2.75 | 4.84 | 4.87 | 2.22 | 2.90 | ||||||||||
| vlseg2e16.v v8,(t0) | 4.87 | 4.56 | 7.33 | 4.87 | 4.47 | 7.37 | 12.43 | 28.22 | 4.87 | 4.68 | 4.93 | 12.72 | 4.87 | 2.75 | 4.97 | |||||||||||||
| vlseg2e16.v v8,(t0),v0.t | 4.87 | 4.59 | 7.37 | 4.87 | 4.62 | 7.31 | 12.43 | 27.99 | 4.87 | 4.65 | 4.78 | 12.67 | 4.87 | 2.82 | 4.93 | |||||||||||||
| vlseg2e32.v v8,(t0) | 4.68 | 7.37 | 4.65 | 7.41 | 4.65 | 7.38 | 12.71 | 28.09 | 4.71 | 4.84 | 12.72 | |||||||||||||||||
| vlseg2e32.v v8,(t0),v0.t | 4.50 | 7.30 | 4.74 | 7.35 | 4.62 | 7.35 | 12.54 | 28.23 | 4.59 | 4.84 | 12.72 | |||||||||||||||||
| vlseg2e64.v v8,(t0) | 7.37 | 7.41 | 7.42 | 7.40 | 12.03 | 28.53 | ||||||||||||||||||||||
| vlseg2e64.v v8,(t0),v0.t | 7.45 | 7.47 | 7.37 | 7.41 | 12.37 | 28.44 | ||||||||||||||||||||||
| vsseg2e8.v v8,(t0) | 3.00 | 3.00 | 4.90 | 8.00 | 16.00 | 32.00 | 3.00 | 3.00 | 4.00 | 8.00 | 16.00 | 3.00 | 3.00 | 4.00 | 8.00 | 3.00 | 3.00 | 4.00 | ||||||||||
| vsseg2e8.v v8,(t0),v0.t | 3.00 | 3.00 | 4.00 | 8.00 | 16.00 | 32.00 | 3.00 | 3.00 | 4.00 | 8.00 | 16.00 | 3.00 | 3.00 | 4.00 | 8.00 | 3.00 | 3.00 | 4.00 | ||||||||||
| vsseg2e16.v v8,(t0) | 3.00 | 4.00 | 8.00 | 3.00 | 4.00 | 8.00 | 16.00 | 32.00 | 3.00 | 4.00 | 8.00 | 16.00 | 3.00 | 4.00 | 8.00 | |||||||||||||
| vsseg2e16.v v8,(t0),v0.t | 3.00 | 4.00 | 8.00 | 3.00 | 4.00 | 8.00 | 16.00 | 32.00 | 3.00 | 4.00 | 8.00 | 16.00 | 3.00 | 4.00 | 8.00 | |||||||||||||
| vsseg2e32.v v8,(t0) | 4.32 | 8.00 | 4.00 | 8.00 | 4.00 | 8.00 | 16.00 | 32.00 | 4.00 | 8.00 | 16.00 | |||||||||||||||||
| vsseg2e32.v v8,(t0),v0.t | 4.00 | 8.00 | 4.00 | 8.00 | 4.10 | 8.00 | 16.00 | 32.00 | 4.00 | 8.00 | 16.00 | |||||||||||||||||
| vsseg2e64.v v8,(t0) | 8.00 | 8.00 | 8.00 | 8.00 | 16.00 | 32.00 | ||||||||||||||||||||||
| vsseg2e64.v v8,(t0),v0.t | 8.00 | 8.00 | 8.00 | 8.00 | 16.00 | 32.00 | ||||||||||||||||||||||
| vlseg3e8.v v8,(t0) | 5.05 | 4.93 | 5.43 | 9.26 | 19.44 | 5.03 | 4.95 | 5.22 | 9.08 | 5.06 | 4.96 | 5.32 | 5.06 | 5.18 | ||||||||||||||
| vlseg3e8.v v8,(t0),v0.t | 5.08 | 4.95 | 5.65 | 9.05 | 19.39 | 5.07 | 4.93 | 5.60 | 8.71 | 5.06 | 4.97 | 5.44 | 5.05 | 5.18 | ||||||||||||||
| vlseg3e16.v v8,(t0) | 4.91 | 5.54 | 10.23 | 5.06 | 5.37 | 10.65 | 19.38 | 4.92 | 5.76 | 8.84 | 4.89 | 5.37 | ||||||||||||||||
| vlseg3e16.v v8,(t0),v0.t | 4.94 | 5.59 | 8.96 | 4.93 | 5.48 | 9.12 | 19.42 | 4.89 | 5.65 | 8.62 | 4.95 | 5.31 | ||||||||||||||||
| vlseg3e32.v v8,(t0) | 5.76 | 9.13 | 5.53 | 9.33 | 5.47 | 8.88 | 19.54 | 5.76 | 8.72 | |||||||||||||||||||
| vlseg3e32.v v8,(t0),v0.t | 5.02 | 9.34 | 5.52 | 9.46 | 5.36 | 8.56 | 19.23 | 5.76 | 8.63 | |||||||||||||||||||
| vlseg3e64.v v8,(t0) | 10.13 | 10.14 | 10.14 | 10.13 | 19.44 | |||||||||||||||||||||||
| vlseg3e64.v v8,(t0),v0.t | 10.14 | 10.11 | 10.12 | 10.16 | 19.50 | |||||||||||||||||||||||
| vsseg3e8.v v8,(t0) | 4.00 | 5.00 | 7.00 | 14.00 | 28.00 | 4.00 | 5.00 | 7.00 | 14.00 | 4.00 | 5.00 | 7.00 | 4.00 | 5.00 | ||||||||||||||
| vsseg3e8.v v8,(t0),v0.t | 4.00 | 5.00 | 7.00 | 14.00 | 28.00 | 4.00 | 5.00 | 7.00 | 14.00 | 4.00 | 5.00 | 7.00 | 4.00 | 5.00 | ||||||||||||||
| vsseg3e16.v v8,(t0) | 5.00 | 7.00 | 14.00 | 5.00 | 7.00 | 14.00 | 28.00 | 5.00 | 7.00 | 14.00 | 5.00 | 7.00 | ||||||||||||||||
| vsseg3e16.v v8,(t0),v0.t | 5.00 | 7.00 | 14.00 | 5.00 | 7.00 | 14.00 | 28.00 | 5.00 | 7.00 | 14.00 | 5.00 | 7.00 | ||||||||||||||||
| vsseg3e32.v v8,(t0) | 7.00 | 14.00 | 7.00 | 14.00 | 7.00 | 14.00 | 28.00 | 7.00 | 14.00 | |||||||||||||||||||
| vsseg3e32.v v8,(t0),v0.t | 7.00 | 14.00 | 7.00 | 14.00 | 7.00 | 14.00 | 28.00 | 7.00 | 14.00 | |||||||||||||||||||
| vsseg3e64.v v8,(t0) | 12.00 | 12.00 | 12.00 | 12.00 | 24.00 | |||||||||||||||||||||||
| vsseg3e64.v v8,(t0),v0.t | 12.00 | 12.00 | 12.00 | 12.00 | 24.00 | |||||||||||||||||||||||
| vlseg4e8.v v8,(t0) | 5.37 | 5.33 | 6.78 | 11.11 | 28.07 | 5.56 | 5.36 | 7.51 | 10.78 | 5.46 | 5.35 | 6.96 | 5.33 | 5.95 | ||||||||||||||
| vlseg4e8.v v8,(t0),v0.t | 5.37 | 5.36 | 7.18 | 11.13 | 28.30 | 5.35 | 5.34 | 7.02 | 10.96 | 5.44 | 5.34 | 6.89 | 5.51 | 5.91 | ||||||||||||||
| vlseg4e16.v v8,(t0) | 5.35 | 7.10 | 11.11 | 5.33 | 6.69 | 11.17 | 28.11 | 5.35 | 7.02 | 10.87 | 5.35 | 6.98 | ||||||||||||||||
| vlseg4e16.v v8,(t0),v0.t | 5.35 | 7.51 | 11.12 | 5.36 | 7.43 | 11.15 | 27.72 | 5.34 | 7.26 | 11.06 | 5.34 | 6.99 | ||||||||||||||||
| vlseg4e32.v v8,(t0) | 7.10 | 11.18 | 7.43 | 11.17 | 6.94 | 11.18 | 27.72 | 6.94 | 11.09 | |||||||||||||||||||
| vlseg4e32.v v8,(t0),v0.t | 6.70 | 11.16 | 7.02 | 11.19 | 7.18 | 11.22 | 27.72 | 6.78 | 11.12 | |||||||||||||||||||
| vlseg4e64.v v8,(t0) | 12.00 | 12.40 | 11.19 | 11.68 | 26.19 | |||||||||||||||||||||||
| vlseg4e64.v v8,(t0),v0.t | 11.73 | 11.25 | 12.13 | 11.41 | 26.25 | |||||||||||||||||||||||
| vsseg4e8.v v8,(t0) | 5.00 | 6.00 | 8.00 | 16.00 | 32.00 | 5.00 | 6.00 | 8.00 | 16.00 | 5.00 | 6.00 | 8.00 | 5.00 | 6.00 | ||||||||||||||
| vsseg4e8.v v8,(t0),v0.t | 5.00 | 6.00 | 8.00 | 16.00 | 32.00 | 5.00 | 6.00 | 8.00 | 16.00 | 5.00 | 6.00 | 8.00 | 5.00 | 6.00 | ||||||||||||||
| vsseg4e16.v v8,(t0) | 6.00 | 8.00 | 16.00 | 6.00 | 8.00 | 16.00 | 32.00 | 6.00 | 8.00 | 16.00 | 6.00 | 8.00 | ||||||||||||||||
| vsseg4e16.v v8,(t0),v0.t | 6.00 | 8.00 | 16.00 | 6.00 | 8.00 | 16.00 | 32.00 | 6.00 | 8.00 | 16.00 | 6.00 | 8.00 | ||||||||||||||||
| vsseg4e32.v v8,(t0) | 8.00 | 16.00 | 8.00 | 16.00 | 8.00 | 16.00 | 32.00 | 8.00 | 16.00 | |||||||||||||||||||
| vsseg4e32.v v8,(t0),v0.t | 8.00 | 16.00 | 8.00 | 16.00 | 8.00 | 16.00 | 32.00 | 8.00 | 16.00 | |||||||||||||||||||
| vsseg4e64.v v8,(t0) | 16.00 | 16.00 | 16.00 | 16.00 | 32.00 | |||||||||||||||||||||||
| vsseg4e64.v v8,(t0),v0.t | 16.00 | 16.00 | 16.00 | 16.00 | 32.00 | |||||||||||||||||||||||
| vlseg5e8.v v8,(t0) | 20.00 | 40.00 | 80.00 | 159.37 | 20.00 | 40.00 | 80.00 | 20.00 | 40.00 | 20.00 | ||||||||||||||||||
| vlseg5e8.v v8,(t0),v0.t | 20.00 | 40.00 | 80.00 | 159.37 | 20.00 | 40.00 | 80.00 | 20.00 | 40.00 | 20.00 | ||||||||||||||||||
| vlseg5e16.v v8,(t0) | 20.00 | 40.00 | 79.22 | 20.00 | 40.00 | 79.21 | 20.00 | 40.00 | 20.00 | |||||||||||||||||||
| vlseg5e16.v v8,(t0),v0.t | 20.00 | 40.00 | 79.23 | 20.00 | 40.00 | 79.23 | 20.00 | 40.00 | 20.00 | |||||||||||||||||||
| vlseg5e32.v v8,(t0) | 20.00 | 39.33 | 20.00 | 39.34 | 20.00 | 39.39 | 20.00 | |||||||||||||||||||||
| vlseg5e32.v v8,(t0),v0.t | 20.00 | 39.36 | 20.00 | 39.32 | 20.00 | 39.46 | 20.00 | |||||||||||||||||||||
| vlseg5e64.v v8,(t0) | 19.58 | 19.57 | 19.60 | 19.57 | ||||||||||||||||||||||||
| vlseg5e64.v v8,(t0),v0.t | 19.60 | 19.58 | 19.60 | 19.60 | ||||||||||||||||||||||||
| vsseg5e8.v v8,(t0) | 20.00 | 40.00 | 80.00 | 162.09 | 20.00 | 40.00 | 80.00 | 20.00 | 40.00 | 20.00 | ||||||||||||||||||
| vsseg5e8.v v8,(t0),v0.t | 20.00 | 40.00 | 80.00 | 162.60 | 20.00 | 40.00 | 80.00 | 20.00 | 40.00 | 20.00 | ||||||||||||||||||
| vsseg5e16.v v8,(t0) | 20.00 | 40.00 | 83.30 | 20.00 | 40.07 | 82.46 | 20.00 | 40.00 | 20.00 | |||||||||||||||||||
| vsseg5e16.v v8,(t0),v0.t | 20.00 | 40.00 | 81.51 | 20.00 | 40.00 | 83.31 | 20.00 | 40.00 | 20.00 | |||||||||||||||||||
| vsseg5e32.v v8,(t0) | 20.07 | 43.58 | 20.43 | 44.45 | 20.00 | 45.43 | 20.00 | |||||||||||||||||||||
| vsseg5e32.v v8,(t0),v0.t | 20.61 | 43.37 | 21.37 | 43.51 | 20.37 | 42.38 | 20.00 | |||||||||||||||||||||
| vsseg5e64.v v8,(t0) | 20.00 | 20.02 | 20.11 | 20.23 | ||||||||||||||||||||||||
| vsseg5e64.v v8,(t0),v0.t | 20.17 | 20.05 | 20.33 | 20.02 | ||||||||||||||||||||||||
| vlseg6e8.v v8,(t0) | 24.37 | 48.37 | 96.37 | 191.37 | 24.37 | 48.37 | 96.37 | 24.37 | 48.37 | 24.37 | ||||||||||||||||||
| vlseg6e8.v v8,(t0),v0.t | 24.37 | 48.37 | 96.37 | 191.37 | 24.37 | 48.37 | 96.37 | 24.37 | 48.37 | 24.37 | ||||||||||||||||||
| vlseg6e16.v v8,(t0) | 24.37 | 48.37 | 95.15 | 24.37 | 48.37 | 95.12 | 24.37 | 48.37 | 24.37 | |||||||||||||||||||
| vlseg6e16.v v8,(t0),v0.t | 24.37 | 48.37 | 95.12 | 24.37 | 48.37 | 95.18 | 24.37 | 48.37 | 24.37 | |||||||||||||||||||
| vlseg6e32.v v8,(t0) | 24.37 | 47.33 | 24.37 | 47.41 | 24.37 | 47.36 | 24.37 | |||||||||||||||||||||
| vlseg6e32.v v8,(t0),v0.t | 24.37 | 47.38 | 24.37 | 47.31 | 24.37 | 47.22 | 24.37 | |||||||||||||||||||||
| vlseg6e64.v v8,(t0) | 23.23 | 23.25 | 23.21 | 23.27 | ||||||||||||||||||||||||
| vlseg6e64.v v8,(t0),v0.t | 23.21 | 23.32 | 23.20 | 23.27 | ||||||||||||||||||||||||
| vsseg6e8.v v8,(t0) | 24.00 | 48.00 | 96.00 | 198.30 | 24.00 | 48.00 | 96.00 | 24.00 | 48.00 | 24.00 | ||||||||||||||||||
| vsseg6e8.v v8,(t0),v0.t | 24.00 | 48.00 | 96.00 | 197.05 | 24.00 | 48.00 | 96.00 | 24.00 | 48.00 | 24.00 | ||||||||||||||||||
| vsseg6e16.v v8,(t0) | 24.00 | 48.00 | 105.08 | 24.00 | 48.00 | 101.32 | 24.00 | 48.00 | 24.00 | |||||||||||||||||||
| vsseg6e16.v v8,(t0),v0.t | 24.00 | 48.00 | 99.89 | 24.00 | 48.00 | 102.47 | 24.00 | 48.00 | 24.00 | |||||||||||||||||||
| vsseg6e32.v v8,(t0) | 24.00 | 55.70 | 24.00 | 54.37 | 24.00 | 53.83 | 24.00 | |||||||||||||||||||||
| vsseg6e32.v v8,(t0),v0.t | 24.00 | 55.87 | 24.00 | 53.73 | 24.00 | 57.18 | 24.00 | |||||||||||||||||||||
| vsseg6e64.v v8,(t0) | 24.00 | 24.00 | 24.04 | 24.00 | ||||||||||||||||||||||||
| vsseg6e64.v v8,(t0),v0.t | 24.00 | 24.35 | 24.00 | 24.00 | ||||||||||||||||||||||||
| vlseg7e8.v v8,(t0) | 28.25 | 56.25 | 112.25 | 223.29 | 28.25 | 56.25 | 112.25 | 28.25 | 56.25 | 28.25 | ||||||||||||||||||
| vlseg7e8.v v8,(t0),v0.t | 28.25 | 56.25 | 112.25 | 223.31 | 28.25 | 56.25 | 112.25 | 28.25 | 56.25 | 28.25 | ||||||||||||||||||
| vlseg7e16.v v8,(t0) | 28.25 | 56.25 | 111.12 | 28.25 | 56.25 | 111.12 | 28.25 | 56.25 | 28.25 | |||||||||||||||||||
| vlseg7e16.v v8,(t0),v0.t | 28.25 | 56.25 | 111.11 | 28.25 | 56.25 | 111.10 | 28.25 | 56.25 | 28.25 | |||||||||||||||||||
| vlseg7e32.v v8,(t0) | 28.25 | 54.99 | 28.25 | 55.02 | 28.25 | 55.00 | 28.25 | |||||||||||||||||||||
| vlseg7e32.v v8,(t0),v0.t | 28.25 | 55.01 | 28.25 | 55.06 | 28.25 | 55.04 | 28.25 | |||||||||||||||||||||
| vlseg7e64.v v8,(t0) | 27.23 | 27.19 | 27.20 | 27.27 | ||||||||||||||||||||||||
| vlseg7e64.v v8,(t0),v0.t | 27.16 | 27.23 | 27.14 | 27.17 | ||||||||||||||||||||||||
| vsseg7e8.v v8,(t0) | 28.00 | 56.00 | 112.00 | 234.18 | 28.00 | 56.00 | 113.12 | 28.00 | 56.00 | 28.00 | ||||||||||||||||||
| vsseg7e8.v v8,(t0),v0.t | 28.00 | 56.00 | 112.07 | 232.50 | 28.00 | 56.00 | 112.77 | 28.00 | 56.00 | 28.00 | ||||||||||||||||||
| vsseg7e16.v v8,(t0) | 28.00 | 56.00 | 115.19 | 28.00 | 56.40 | 116.53 | 28.00 | 56.97 | 28.00 | |||||||||||||||||||
| vsseg7e16.v v8,(t0),v0.t | 28.00 | 56.00 | 113.96 | 28.00 | 56.02 | 114.77 | 28.00 | 56.00 | 28.00 | |||||||||||||||||||
| vsseg7e32.v v8,(t0) | 28.00 | 60.66 | 28.67 | 56.00 | 28.22 | 60.55 | 28.55 | |||||||||||||||||||||
| vsseg7e32.v v8,(t0),v0.t | 28.08 | 56.74 | 28.41 | 60.38 | 28.32 | 59.26 | 28.30 | |||||||||||||||||||||
| vsseg7e64.v v8,(t0) | 28.00 | 28.00 | 28.00 | 28.00 | ||||||||||||||||||||||||
| vsseg7e64.v v8,(t0),v0.t | 28.00 | 28.00 | 28.00 | 28.00 | ||||||||||||||||||||||||
| vlseg8e8.v v8,(t0) | 32.15 | 64.12 | 128.12 | 255.17 | 32.15 | 64.12 | 128.12 | 32.15 | 64.12 | 32.15 | ||||||||||||||||||
| vlseg8e8.v v8,(t0),v0.t | 32.15 | 64.12 | 128.12 | 255.17 | 32.15 | 64.12 | 128.12 | 32.15 | 64.12 | 32.15 | ||||||||||||||||||
| vlseg8e16.v v8,(t0) | 32.14 | 64.13 | 127.14 | 32.13 | 64.13 | 127.14 | 32.13 | 64.14 | 32.13 | |||||||||||||||||||
| vlseg8e16.v v8,(t0),v0.t | 32.13 | 64.14 | 127.13 | 32.13 | 64.13 | 127.14 | 32.13 | 64.13 | 32.13 | |||||||||||||||||||
| vlseg8e32.v v8,(t0) | 32.19 | 63.16 | 32.18 | 63.16 | 32.18 | 63.16 | 32.19 | |||||||||||||||||||||
| vlseg8e32.v v8,(t0),v0.t | 32.19 | 63.16 | 32.18 | 63.16 | 32.18 | 63.16 | 32.18 | |||||||||||||||||||||
| vlseg8e64.v v8,(t0) | 31.12 | 31.12 | 31.12 | 31.12 | ||||||||||||||||||||||||
| vlseg8e64.v v8,(t0),v0.t | 31.12 | 31.12 | 31.12 | 31.12 | ||||||||||||||||||||||||
| vsseg8e8.v v8,(t0) | 32.00 | 64.00 | 128.00 | 264.70 | 32.00 | 64.00 | 128.00 | 32.00 | 64.00 | 32.00 | ||||||||||||||||||
| vsseg8e8.v v8,(t0),v0.t | 32.00 | 64.00 | 128.80 | 264.12 | 32.00 | 64.00 | 128.17 | 32.00 | 64.00 | 32.00 | ||||||||||||||||||
| vsseg8e16.v v8,(t0) | 32.00 | 64.55 | 134.78 | 32.00 | 64.92 | 133.87 | 32.00 | 64.87 | 32.00 | |||||||||||||||||||
| vsseg8e16.v v8,(t0),v0.t | 32.00 | 66.93 | 141.96 | 32.00 | 65.16 | 140.52 | 32.00 | 64.97 | 32.00 | |||||||||||||||||||
| vsseg8e32.v v8,(t0) | 33.72 | 76.18 | 33.65 | 76.49 | 33.46 | 74.82 | 35.39 | |||||||||||||||||||||
| vsseg8e32.v v8,(t0),v0.t | 33.29 | 78.92 | 33.13 | 76.31 | 33.24 | 74.64 | 32.72 | |||||||||||||||||||||
| vsseg8e64.v v8,(t0) | 32.00 | 32.00 | 32.00 | 32.00 | ||||||||||||||||||||||||
| vsseg8e64.v v8,(t0),v0.t | 32.00 | 32.00 | 32.00 | 32.00 | ||||||||||||||||||||||||
| vlseg2e8ff.v v8,(t0) | 4.87 | 4.87 | 4.59 | 7.41 | 12.60 | 28.47 | 4.86 | 4.87 | 4.59 | 4.75 | 12.94 | 4.87 | 4.87 | 2.80 | 4.78 | 4.87 | 2.23 | 2.79 | ||||||||||
| vlseg2e8ff.v v8,(t0),v0.t | 4.87 | 4.87 | 4.59 | 7.33 | 12.65 | 28.02 | 4.87 | 4.87 | 4.77 | 4.75 | 12.69 | 4.87 | 4.87 | 2.85 | 4.81 | 4.87 | 2.22 | 2.86 | ||||||||||
| vlseg2e16ff.v v8,(t0) | 4.87 | 4.68 | 7.33 | 4.87 | 4.62 | 7.38 | 12.37 | 28.29 | 4.87 | 4.56 | 4.75 | 12.64 | 4.87 | 2.77 | 4.84 | |||||||||||||
| vlseg2e16ff.v v8,(t0),v0.t | 4.87 | 4.77 | 7.40 | 4.87 | 4.62 | 7.34 | 12.43 | 28.02 | 4.87 | 4.68 | 4.75 | 12.74 | 4.87 | 2.90 | 4.87 | |||||||||||||
| vlseg2e32ff.v v8,(t0) | 4.65 | 7.33 | 4.56 | 7.31 | 4.62 | 7.37 | 12.14 | 28.38 | 4.53 | 4.93 | 12.82 | |||||||||||||||||
| vlseg2e32ff.v v8,(t0),v0.t | 4.68 | 7.34 | 4.59 | 7.38 | 4.68 | 7.40 | 12.43 | 28.05 | 4.56 | 4.72 | 12.77 | |||||||||||||||||
| vlseg2e64ff.v v8,(t0) | 7.47 | 7.38 | 7.42 | 7.35 | 12.03 | 28.47 | ||||||||||||||||||||||
| vlseg2e64ff.v v8,(t0),v0.t | 7.38 | 7.41 | 7.46 | 7.40 | 12.08 | 28.83 | ||||||||||||||||||||||
| vlseg3e8ff.v v8,(t0) | 5.04 | 4.90 | 5.44 | 9.36 | 19.50 | 5.06 | 4.95 | 5.72 | 8.62 | 5.05 | 4.93 | 5.35 | 5.06 | 5.11 | ||||||||||||||
| vlseg3e8ff.v v8,(t0),v0.t | 5.05 | 4.90 | 5.43 | 9.81 | 19.29 | 5.05 | 4.92 | 5.38 | 8.63 | 5.05 | 4.92 | 5.40 | 5.08 | 5.17 | ||||||||||||||
| vlseg3e16ff.v v8,(t0) | 5.05 | 5.15 | 9.63 | 4.99 | 5.43 | 9.23 | 19.39 | 4.86 | 5.25 | 8.63 | 5.18 | 5.34 | ||||||||||||||||
| vlseg3e16ff.v v8,(t0),v0.t | 4.98 | 5.30 | 9.73 | 4.81 | 5.47 | 8.67 | 19.45 | 5.07 | 5.20 | 8.63 | 4.92 | 5.39 | ||||||||||||||||
| vlseg3e32ff.v v8,(t0) | 5.70 | 9.21 | 5.53 | 8.93 | 5.41 | 9.16 | 19.58 | 5.59 | 8.63 | |||||||||||||||||||
| vlseg3e32ff.v v8,(t0),v0.t | 5.76 | 9.58 | 5.55 | 8.80 | 5.64 | 9.06 | 19.70 | 5.35 | 8.63 | |||||||||||||||||||
| vlseg3e64ff.v v8,(t0) | 10.16 | 10.13 | 10.15 | 10.14 | 19.50 | |||||||||||||||||||||||
| vlseg3e64ff.v v8,(t0),v0.t | 10.12 | 10.13 | 10.12 | 10.15 | 19.57 | |||||||||||||||||||||||
| vlseg4e8ff.v v8,(t0) | 5.46 | 5.34 | 7.43 | 11.14 | 28.31 | 5.53 | 5.35 | 7.10 | 11.09 | 5.52 | 5.35 | 6.97 | 5.39 | 5.91 | ||||||||||||||
| vlseg4e8ff.v v8,(t0),v0.t | 5.47 | 5.35 | 7.10 | 11.17 | 28.23 | 5.46 | 5.34 | 7.26 | 11.00 | 5.44 | 5.35 | 6.98 | 5.44 | 5.95 | ||||||||||||||
| vlseg4e16ff.v v8,(t0) | 5.35 | 6.86 | 11.19 | 5.34 | 7.18 | 11.19 | 28.40 | 5.36 | 7.18 | 10.90 | 5.35 | 7.00 | ||||||||||||||||
| vlseg4e16ff.v v8,(t0),v0.t | 5.36 | 6.94 | 11.11 | 5.34 | 7.18 | 11.14 | 28.11 | 5.34 | 7.10 | 10.84 | 5.36 | 7.02 | ||||||||||||||||
| vlseg4e32ff.v v8,(t0) | 7.02 | 11.18 | 6.70 | 11.17 | 7.10 | 11.16 | 27.72 | 6.94 | 10.87 | |||||||||||||||||||
| vlseg4e32ff.v v8,(t0),v0.t | 7.02 | 11.13 | 7.18 | 11.18 | 7.10 | 11.17 | 27.33 | 7.10 | 10.96 | |||||||||||||||||||
| vlseg4e64ff.v v8,(t0) | 12.40 | 11.72 | 11.73 | 11.27 | 26.25 | |||||||||||||||||||||||
| vlseg4e64ff.v v8,(t0),v0.t | 11.46 | 12.00 | 11.46 | 11.85 | 26.25 | |||||||||||||||||||||||
| vlseg5e8ff.v v8,(t0) | 20.00 | 40.00 | 80.00 | 159.35 | 20.00 | 40.00 | 80.00 | 20.00 | 40.00 | 20.00 | ||||||||||||||||||
| vlseg5e8ff.v v8,(t0),v0.t | 20.00 | 40.00 | 80.00 | 159.36 | 20.00 | 40.00 | 80.00 | 20.00 | 40.00 | 20.00 | ||||||||||||||||||
| vlseg5e16ff.v v8,(t0) | 20.00 | 40.00 | 79.23 | 20.00 | 40.00 | 79.21 | 20.00 | 40.00 | 20.00 | |||||||||||||||||||
| vlseg5e16ff.v v8,(t0),v0.t | 20.00 | 40.00 | 79.21 | 20.00 | 40.00 | 79.20 | 20.00 | 40.00 | 20.00 | |||||||||||||||||||
| vlseg5e32ff.v v8,(t0) | 20.00 | 39.38 | 20.00 | 39.36 | 20.00 | 39.38 | 20.00 | |||||||||||||||||||||
| vlseg5e32ff.v v8,(t0),v0.t | 20.00 | 39.40 | 20.00 | 39.33 | 20.00 | 39.38 | 20.00 | |||||||||||||||||||||
| vlseg5e64ff.v v8,(t0) | 19.58 | 19.58 | 19.56 | 19.61 | ||||||||||||||||||||||||
| vlseg5e64ff.v v8,(t0),v0.t | 19.58 | 19.56 | 19.57 | 19.58 | ||||||||||||||||||||||||
| vlseg6e8ff.v v8,(t0) | 24.37 | 48.37 | 96.37 | 191.36 | 24.37 | 48.37 | 96.37 | 24.37 | 48.37 | 24.37 | ||||||||||||||||||
| vlseg6e8ff.v v8,(t0),v0.t | 24.37 | 48.37 | 96.37 | 191.37 | 24.37 | 48.37 | 96.37 | 24.37 | 48.37 | 24.37 | ||||||||||||||||||
| vlseg6e16ff.v v8,(t0) | 24.37 | 48.37 | 95.18 | 24.37 | 48.37 | 95.16 | 24.37 | 48.37 | 24.37 | |||||||||||||||||||
| vlseg6e16ff.v v8,(t0),v0.t | 24.37 | 48.37 | 95.12 | 24.37 | 48.37 | 95.12 | 24.37 | 48.37 | 24.37 | |||||||||||||||||||
| vlseg6e32ff.v v8,(t0) | 24.37 | 47.35 | 24.37 | 47.36 | 24.37 | 47.33 | 24.37 | |||||||||||||||||||||
| vlseg6e32ff.v v8,(t0),v0.t | 24.37 | 47.32 | 24.37 | 47.25 | 24.37 | 47.31 | 24.37 | |||||||||||||||||||||
| vlseg6e64ff.v v8,(t0) | 23.27 | 23.20 | 23.30 | 23.23 | ||||||||||||||||||||||||
| vlseg6e64ff.v v8,(t0),v0.t | 23.23 | 23.30 | 23.30 | 23.18 | ||||||||||||||||||||||||
| vlseg7e8ff.v v8,(t0) | 28.25 | 56.25 | 112.25 | 223.29 | 28.25 | 56.25 | 112.25 | 28.25 | 56.25 | 28.25 | ||||||||||||||||||
| vlseg7e8ff.v v8,(t0),v0.t | 28.25 | 56.25 | 112.25 | 223.27 | 28.25 | 56.25 | 112.25 | 28.25 | 56.25 | 28.25 | ||||||||||||||||||
| vlseg7e16ff.v v8,(t0) | 28.25 | 56.25 | 111.12 | 28.25 | 56.25 | 111.12 | 28.25 | 56.25 | 28.25 | |||||||||||||||||||
| vlseg7e16ff.v v8,(t0),v0.t | 28.25 | 56.25 | 111.12 | 28.25 | 56.25 | 111.12 | 28.25 | 56.25 | 28.25 | |||||||||||||||||||
| vlseg7e32ff.v v8,(t0) | 28.25 | 55.08 | 28.25 | 55.06 | 28.25 | 55.08 | 28.25 | |||||||||||||||||||||
| vlseg7e32ff.v v8,(t0),v0.t | 28.25 | 55.03 | 28.25 | 55.00 | 28.25 | 54.97 | 28.25 | |||||||||||||||||||||
| vlseg7e64ff.v v8,(t0) | 27.21 | 27.19 | 27.20 | 27.23 | ||||||||||||||||||||||||
| vlseg7e64ff.v v8,(t0),v0.t | 27.20 | 27.16 | 27.13 | 27.17 | ||||||||||||||||||||||||
| vlseg8e8ff.v v8,(t0) | 32.15 | 64.12 | 128.12 | 255.18 | 32.15 | 64.12 | 128.12 | 32.15 | 64.12 | 32.15 | ||||||||||||||||||
| vlseg8e8ff.v v8,(t0),v0.t | 32.15 | 64.12 | 128.12 | 255.18 | 32.15 | 64.12 | 128.12 | 32.15 | 64.13 | 32.15 | ||||||||||||||||||
| vlseg8e16ff.v v8,(t0) | 32.14 | 64.14 | 127.12 | 32.13 | 64.13 | 127.13 | 32.13 | 64.13 | 32.14 | |||||||||||||||||||
| vlseg8e16ff.v v8,(t0),v0.t | 32.13 | 64.14 | 127.13 | 32.13 | 64.13 | 127.13 | 32.13 | 64.13 | 32.13 | |||||||||||||||||||
| vlseg8e32ff.v v8,(t0) | 32.16 | 63.15 | 32.18 | 63.16 | 32.17 | 63.15 | 32.19 | |||||||||||||||||||||
| vlseg8e32ff.v v8,(t0),v0.t | 32.18 | 63.16 | 32.17 | 63.16 | 32.19 | 63.16 | 32.19 | |||||||||||||||||||||
| vlseg8e64ff.v v8,(t0) | 31.12 | 31.12 | 31.12 | 31.12 | ||||||||||||||||||||||||
| vlseg8e64ff.v v8,(t0),v0.t | 31.12 | 31.12 | 31.12 | 31.12 | ||||||||||||||||||||||||
| vlsseg2e8.v v8,(t2),t3 | 5.17 | 6.12 | 11.73 | 25.00 | 59.01 | 137.01 | 5.18 | 6.01 | 11.11 | 25.00 | 59.01 | 5.31 | 5.97 | 9.50 | 25.00 | 5.15 | 5.45 | 9.50 | ||||||||||
| vlsseg2e8.v v8,(t2),t3,v0.t | 5.27 | 6.10 | 11.32 | 25.00 | 59.01 | 137.01 | 5.19 | 6.04 | 11.29 | 25.00 | 59.01 | 5.24 | 6.05 | 9.50 | 25.00 | 5.26 | 5.50 | 9.50 | ||||||||||
| vlsseg2e8.v v8,(t2),x0 | 5.26 | 5.62 | 9.00 | 19.50 | 55.50 | 130.00 | 5.36 | 5.62 | 9.00 | 19.50 | 55.50 | 5.40 | 5.62 | 9.00 | 19.50 | 5.42 | 5.00 | 9.00 | ||||||||||
| vlsseg2e8.v v8,(t2),x0,v0.t | 5.17 | 5.62 | 9.00 | 19.50 | 55.50 | 130.00 | 5.19 | 5.62 | 9.00 | 19.50 | 55.50 | 5.39 | 5.62 | 9.00 | 19.50 | 5.42 | 5.00 | 9.00 | ||||||||||
| vlsseg2e8.v v8,(t2),t1/*-1*/ | 5.18 | 5.99 | 9.50 | 25.17 | 60.00 | 137.01 | 5.17 | 5.95 | 9.50 | 25.57 | 60.00 | 4.93 | 5.92 | 9.50 | 25.62 | 5.10 | 5.45 | 9.50 | ||||||||||
| vlsseg2e8.v v8,(t2),t1/*-1*/,v0.t | 5.30 | 6.01 | 9.50 | 26.22 | 60.00 | 137.01 | 5.00 | 5.89 | 9.50 | 26.02 | 60.00 | 4.93 | 5.96 | 9.50 | 25.20 | 4.98 | 5.32 | 9.50 | ||||||||||
| vlsseg2e16.v v8,(t2),t3 | 5.20 | 6.43 | 14.00 | 5.15 | 6.48 | 14.00 | 35.15 | 81.45 | 5.12 | 6.69 | 14.00 | 35.50 | 5.12 | 5.50 | 14.00 | |||||||||||||
| vlsseg2e16.v v8,(t2),t3,v0.t | 5.17 | 6.33 | 14.00 | 5.10 | 6.43 | 14.00 | 35.30 | 81.20 | 5.12 | 6.17 | 14.00 | 35.20 | 5.09 | 5.50 | 14.00 | |||||||||||||
| vlsseg2e16.v v8,(t2),x0 | 5.17 | 5.62 | 11.50 | 5.22 | 5.62 | 11.50 | 32.00 | 75.50 | 5.25 | 5.62 | 11.50 | 32.00 | 5.25 | 5.00 | 11.50 | |||||||||||||
| vlsseg2e16.v v8,(t2),x0,v0.t | 5.28 | 5.62 | 11.50 | 5.10 | 5.62 | 11.50 | 32.00 | 75.50 | 5.47 | 5.62 | 11.50 | 32.00 | 5.37 | 5.00 | 11.50 | |||||||||||||
| vlsseg2e16.v v8,(t2),t1/*-1*/ | 5.15 | 6.12 | 13.50 | 5.05 | 6.12 | 13.71 | 35.77 | 80.00 | 4.97 | 6.12 | 13.61 | 36.00 | 4.84 | 5.50 | 13.70 | |||||||||||||
| vlsseg2e16.v v8,(t2),t1/*-1*/,v0.t | 4.90 | 6.12 | 13.73 | 4.99 | 6.12 | 13.79 | 35.92 | 80.10 | 5.01 | 6.12 | 13.74 | 35.87 | 4.95 | 5.50 | 13.62 | |||||||||||||
| vlsseg2e32.v v8,(t2),t3 | 4.94 | 9.85 | 4.94 | 9.90 | 4.94 | 9.68 | 22.00 | 51.95 | 4.86 | 9.93 | 21.94 | |||||||||||||||||
| vlsseg2e32.v v8,(t2),t3,v0.t | 5.03 | 9.74 | 4.81 | 9.85 | 4.98 | 9.82 | 21.95 | 52.00 | 5.17 | 9.84 | 21.96 | |||||||||||||||||
| vlsseg2e32.v v8,(t2),x0 | 5.29 | 9.00 | 5.21 | 9.00 | 5.10 | 9.00 | 20.51 | 46.01 | 5.28 | 9.04 | 22.24 | |||||||||||||||||
| vlsseg2e32.v v8,(t2),x0,v0.t | 5.09 | 9.00 | 5.31 | 9.12 | 5.32 | 9.00 | 20.50 | 46.01 | 5.28 | 9.08 | 20.51 | |||||||||||||||||
| vlsseg2e32.v v8,(t2),t1/*-1*/ | 4.78 | 8.92 | 4.75 | 8.90 | 4.79 | 9.00 | 22.96 | 52.60 | 4.78 | 9.00 | 23.55 | |||||||||||||||||
| vlsseg2e32.v v8,(t2),t1/*-1*/,v0.t | 4.85 | 8.97 | 4.82 | 8.90 | 4.80 | 8.92 | 23.11 | 52.62 | 4.85 | 8.92 | 23.30 | |||||||||||||||||
| vlsseg2e64.v v8,(t2),t3 | 5.92 | 5.99 | 5.90 | 5.82 | 15.00 | 32.07 | ||||||||||||||||||||||
| vlsseg2e64.v v8,(t2),t3,v0.t | 5.86 | 5.93 | 5.88 | 5.88 | 15.00 | 32.07 | ||||||||||||||||||||||
| vlsseg2e64.v v8,(t2),x0 | 6.64 | 6.77 | 6.77 | 6.93 | 15.90 | 31.61 | ||||||||||||||||||||||
| vlsseg2e64.v v8,(t2),x0,v0.t | 7.82 | 7.03 | 7.32 | 6.90 | 14.75 | 32.51 | ||||||||||||||||||||||
| vlsseg2e64.v v8,(t2),t1/*-1*/ | 5.80 | 5.90 | 5.95 | 5.93 | 15.00 | 32.07 | ||||||||||||||||||||||
| vlsseg2e64.v v8,(t2),t1/*-1*/,v0.t | 5.82 | 5.92 | 5.88 | 5.84 | 15.00 | 32.07 | ||||||||||||||||||||||
| vssseg2e8.v v8,(t2),t3 | 4.10 | 8.65 | 17.00 | 34.00 | 70.05 | 162.77 | 4.15 | 8.75 | 17.00 | 34.81 | 72.62 | 4.00 | 8.65 | 17.00 | 35.19 | 4.05 | 8.85 | 17.00 | ||||||||||
| vssseg2e8.v v8,(t2),t3,v0.t | 4.15 | 8.90 | 17.00 | 34.17 | 73.17 | 148.30 | 4.05 | 8.90 | 17.00 | 34.00 | 72.92 | 4.00 | 8.95 | 17.00 | 34.00 | 4.00 | 8.98 | 17.00 | ||||||||||
| vssseg2e8.v v8,(t2),x0 | 4.00 | 8.00 | 16.00 | 32.00 | 64.00 | 128.00 | 4.00 | 8.00 | 16.00 | 32.00 | 64.00 | 4.00 | 8.00 | 16.00 | 32.00 | 4.00 | 8.00 | 16.00 | ||||||||||
| vssseg2e8.v v8,(t2),x0,v0.t | 4.00 | 8.00 | 16.00 | 32.00 | 64.00 | 128.00 | 4.00 | 8.00 | 16.00 | 32.00 | 64.00 | 4.00 | 8.00 | 16.00 | 32.00 | 4.00 | 8.00 | 16.00 | ||||||||||
| vssseg2e8.v v8,(t2),t1/*-1*/ | 4.70 | 8.45 | 17.00 | 34.00 | 68.00 | 137.21 | 4.45 | 8.40 | 17.00 | 34.00 | 68.00 | 4.55 | 8.40 | 17.00 | 34.00 | 4.75 | 8.50 | 17.00 | ||||||||||
| vssseg2e8.v v8,(t2),t1/*-1*/,v0.t | 4.55 | 8.70 | 17.00 | 34.00 | 68.00 | 138.33 | 4.66 | 8.85 | 17.00 | 34.00 | 68.00 | 4.60 | 8.55 | 17.00 | 34.00 | 4.55 | 8.65 | 17.00 | ||||||||||
| vssseg2e16.v v8,(t2),t3 | 4.15 | 9.00 | 18.00 | 4.10 | 9.00 | 18.00 | 38.42 | 87.39 | 4.00 | 9.00 | 18.00 | 42.17 | 4.00 | 9.00 | 18.00 | |||||||||||||
| vssseg2e16.v v8,(t2),t3,v0.t | 4.15 | 9.00 | 18.00 | 4.00 | 9.00 | 18.00 | 42.94 | 86.90 | 4.15 | 9.00 | 18.00 | 42.53 | 4.00 | 9.00 | 18.00 | |||||||||||||
| vssseg2e16.v v8,(t2),x0 | 4.00 | 8.00 | 16.00 | 4.00 | 8.00 | 16.00 | 32.00 | 64.00 | 4.00 | 8.00 | 16.00 | 32.00 | 4.00 | 8.00 | 16.00 | |||||||||||||
| vssseg2e16.v v8,(t2),x0,v0.t | 4.00 | 8.00 | 16.00 | 4.00 | 8.00 | 16.00 | 32.00 | 64.00 | 4.00 | 8.00 | 16.00 | 32.00 | 4.00 | 8.00 | 16.00 | |||||||||||||
| vssseg2e16.v v8,(t2),t1/*-1*/ | 6.00 | 9.00 | 18.00 | 4.70 | 9.00 | 18.00 | 36.00 | 74.75 | 4.75 | 9.00 | 18.00 | 36.79 | 4.85 | 9.00 | 18.00 | |||||||||||||
| vssseg2e16.v v8,(t2),t1/*-1*/,v0.t | 6.32 | 9.00 | 18.00 | 6.35 | 9.00 | 18.00 | 36.00 | 76.00 | 4.60 | 9.00 | 18.00 | 36.00 | 4.70 | 9.00 | 18.00 | |||||||||||||
| vssseg2e32.v v8,(t2),t3 | 5.92 | 10.22 | 5.00 | 10.26 | 5.00 | 10.73 | 21.78 | 40.00 | 5.00 | 10.00 | 21.45 | |||||||||||||||||
| vssseg2e32.v v8,(t2),t3,v0.t | 6.78 | 10.00 | 5.00 | 10.00 | 5.00 | 10.00 | 21.67 | 40.00 | 5.00 | 10.00 | 21.75 | |||||||||||||||||
| vssseg2e32.v v8,(t2),x0 | 4.00 | 8.00 | 4.20 | 8.00 | 4.00 | 8.80 | 16.00 | 32.00 | 4.00 | 8.00 | 16.00 | |||||||||||||||||
| vssseg2e32.v v8,(t2),x0,v0.t | 4.00 | 8.00 | 4.00 | 8.00 | 4.00 | 8.00 | 16.00 | 32.00 | 4.00 | 8.00 | 16.00 | |||||||||||||||||
| vssseg2e32.v v8,(t2),t1/*-1*/ | 5.00 | 10.00 | 5.07 | 10.00 | 5.00 | 10.00 | 20.77 | 40.08 | 5.22 | 10.00 | 20.47 | |||||||||||||||||
| vssseg2e32.v v8,(t2),t1/*-1*/,v0.t | 5.19 | 10.00 | 5.00 | 10.00 | 6.74 | 10.00 | 20.00 | 43.54 | 7.03 | 10.00 | 20.00 | |||||||||||||||||
| vssseg2e64.v v8,(t2),t3 | 8.52 | 8.45 | 8.22 | 8.00 | 16.00 | 32.50 | ||||||||||||||||||||||
| vssseg2e64.v v8,(t2),t3,v0.t | 8.00 | 8.00 | 8.00 | 8.56 | 16.00 | 32.50 | ||||||||||||||||||||||
| vssseg2e64.v v8,(t2),x0 | 8.00 | 8.00 | 8.00 | 8.00 | 16.00 | 32.00 | ||||||||||||||||||||||
| vssseg2e64.v v8,(t2),x0,v0.t | 8.00 | 8.00 | 8.00 | 8.00 | 16.00 | 32.00 | ||||||||||||||||||||||
| vssseg2e64.v v8,(t2),t1/*-1*/ | 8.50 | 8.00 | 8.00 | 8.04 | 16.00 | 32.69 | ||||||||||||||||||||||
| vssseg2e64.v v8,(t2),t1/*-1*/,v0.t | 8.00 | 8.00 | 8.00 | 8.00 | 16.00 | 32.25 | ||||||||||||||||||||||
| vlsseg3e8.v v8,(t2),t3 | 5.39 | 6.33 | 12.63 | 27.50 | 68.01 | 5.49 | 6.33 | 12.66 | 29.00 | 5.60 | 6.33 | 12.52 | 5.52 | 6.75 | ||||||||||||||
| vlsseg3e8.v v8,(t2),t3,v0.t | 5.53 | 6.33 | 12.70 | 28.10 | 68.01 | 5.57 | 6.35 | 12.58 | 28.40 | 5.53 | 6.33 | 12.62 | 5.55 | 6.85 | ||||||||||||||
| vlsseg3e8.v v8,(t2),x0 | 5.03 | 6.25 | 9.83 | 22.00 | 60.57 | 4.91 | 6.25 | 9.83 | 22.00 | 5.03 | 6.25 | 9.83 | 4.95 | 6.25 | ||||||||||||||
| vlsseg3e8.v v8,(t2),x0,v0.t | 4.98 | 6.25 | 9.83 | 22.00 | 60.57 | 5.00 | 6.25 | 9.83 | 22.00 | 4.92 | 6.25 | 9.83 | 4.90 | 6.25 | ||||||||||||||
| vlsseg3e8.v v8,(t2),t1/*-1*/ | 5.20 | 6.68 | 10.83 | 29.70 | 68.01 | 5.21 | 6.54 | 10.83 | 28.75 | 5.20 | 6.74 | 10.83 | 5.19 | 6.95 | ||||||||||||||
| vlsseg3e8.v v8,(t2),t1/*-1*/,v0.t | 5.19 | 6.71 | 10.83 | 29.12 | 68.01 | 5.23 | 6.60 | 10.83 | 29.15 | 5.20 | 6.71 | 10.83 | 5.20 | 7.14 | ||||||||||||||
| vlsseg3e16.v v8,(t2),t3 | 5.06 | 7.25 | 17.62 | 5.06 | 7.25 | 18.00 | 42.36 | 5.06 | 7.36 | 17.72 | 5.05 | 7.36 | ||||||||||||||||
| vlsseg3e16.v v8,(t2),t3,v0.t | 5.06 | 7.28 | 18.02 | 5.06 | 7.25 | 17.95 | 43.27 | 5.06 | 7.32 | 17.82 | 5.06 | 7.25 | ||||||||||||||||
| vlsseg3e16.v v8,(t2),x0 | 5.00 | 6.25 | 11.50 | 5.03 | 6.25 | 11.50 | 37.00 | 4.92 | 6.25 | 11.50 | 4.97 | 6.25 | ||||||||||||||||
| vlsseg3e16.v v8,(t2),x0,v0.t | 4.89 | 6.25 | 11.50 | 4.98 | 6.25 | 11.50 | 37.00 | 4.93 | 6.25 | 11.50 | 4.95 | 6.25 | ||||||||||||||||
| vlsseg3e16.v v8,(t2),t1/*-1*/ | 5.21 | 6.83 | 14.12 | 5.20 | 6.83 | 14.19 | 42.22 | 5.22 | 6.83 | 14.27 | 5.20 | 7.25 | ||||||||||||||||
| vlsseg3e16.v v8,(t2),t1/*-1*/,v0.t | 5.20 | 6.83 | 14.30 | 5.22 | 6.83 | 14.35 | 42.22 | 5.23 | 6.83 | 14.22 | 5.20 | 7.25 | ||||||||||||||||
| vlsseg3e32.v v8,(t2),t3 | 5.25 | 11.00 | 5.25 | 11.00 | 5.25 | 11.00 | 32.40 | 5.25 | 11.00 | |||||||||||||||||||
| vlsseg3e32.v v8,(t2),t3,v0.t | 5.25 | 11.00 | 5.25 | 11.00 | 5.25 | 11.00 | 31.90 | 5.25 | 11.00 | |||||||||||||||||||
| vlsseg3e32.v v8,(t2),x0 | 5.17 | 9.50 | 5.10 | 9.87 | 5.54 | 9.75 | 30.69 | 5.45 | 9.75 | |||||||||||||||||||
| vlsseg3e32.v v8,(t2),x0,v0.t | 4.81 | 10.12 | 5.24 | 9.50 | 5.67 | 9.87 | 28.96 | 5.45 | 10.03 | |||||||||||||||||||
| vlsseg3e32.v v8,(t2),t1/*-1*/ | 5.25 | 10.38 | 5.25 | 10.52 | 5.25 | 10.45 | 31.00 | 5.25 | 10.45 | |||||||||||||||||||
| vlsseg3e32.v v8,(t2),t1/*-1*/,v0.t | 5.25 | 10.52 | 5.25 | 10.55 | 5.25 | 10.52 | 31.40 | 5.25 | 10.45 | |||||||||||||||||||
| vlsseg3e64.v v8,(t2),t3 | 10.29 | 10.52 | 10.43 | 10.24 | 24.00 | |||||||||||||||||||||||
| vlsseg3e64.v v8,(t2),t3,v0.t | 10.48 | 10.38 | 10.33 | 10.43 | 24.00 | |||||||||||||||||||||||
| vlsseg3e64.v v8,(t2),x0 | 11.42 | 10.65 | 10.88 | 11.19 | 23.45 | |||||||||||||||||||||||
| vlsseg3e64.v v8,(t2),x0,v0.t | 10.65 | 11.26 | 10.41 | 11.19 | 23.45 | |||||||||||||||||||||||
| vlsseg3e64.v v8,(t2),t1/*-1*/ | 9.37 | 9.35 | 9.38 | 9.38 | 22.00 | |||||||||||||||||||||||
| vlsseg3e64.v v8,(t2),t1/*-1*/,v0.t | 9.37 | 9.37 | 9.36 | 9.37 | 22.00 | |||||||||||||||||||||||
| vssseg3e8.v v8,(t2),t3 | 4.20 | 9.00 | 18.00 | 36.00 | 74.41 | 4.45 | 9.05 | 18.00 | 36.00 | 4.40 | 9.00 | 18.00 | 4.45 | 9.00 | ||||||||||||||
| vssseg3e8.v v8,(t2),t3,v0.t | 4.45 | 9.00 | 18.00 | 36.00 | 73.06 | 4.45 | 9.05 | 18.00 | 36.00 | 4.30 | 9.00 | 18.00 | 4.20 | 9.00 | ||||||||||||||
| vssseg3e8.v v8,(t2),x0 | 4.00 | 8.00 | 16.00 | 32.00 | 64.01 | 4.00 | 8.00 | 16.00 | 32.00 | 4.00 | 8.00 | 16.00 | 4.00 | 8.00 | ||||||||||||||
| vssseg3e8.v v8,(t2),x0,v0.t | 4.00 | 8.00 | 16.00 | 32.00 | 64.01 | 4.00 | 8.00 | 16.00 | 32.00 | 4.00 | 8.00 | 16.00 | 4.00 | 8.00 | ||||||||||||||
| vssseg3e8.v v8,(t2),t1/*-1*/ | 5.70 | 9.60 | 18.00 | 36.00 | 73.82 | 5.70 | 8.90 | 18.00 | 36.00 | 4.80 | 9.40 | 18.00 | 5.00 | 9.00 | ||||||||||||||
| vssseg3e8.v v8,(t2),t1/*-1*/,v0.t | 5.30 | 9.50 | 18.00 | 36.00 | 72.01 | 4.80 | 9.70 | 18.00 | 36.00 | 5.40 | 10.00 | 18.00 | 5.40 | 9.50 | ||||||||||||||
| vssseg3e16.v v8,(t2),t3 | 5.00 | 10.00 | 20.00 | 5.20 | 10.75 | 20.00 | 45.94 | 5.00 | 10.00 | 20.00 | 5.00 | 10.00 | ||||||||||||||||
| vssseg3e16.v v8,(t2),t3,v0.t | 5.00 | 10.00 | 20.00 | 5.00 | 10.00 | 20.52 | 41.20 | 5.00 | 10.00 | 20.00 | 5.00 | 10.00 | ||||||||||||||||
| vssseg3e16.v v8,(t2),x0 | 5.00 | 8.00 | 16.80 | 5.00 | 8.40 | 16.00 | 32.00 | 5.00 | 8.00 | 16.00 | 5.00 | 8.00 | ||||||||||||||||
| vssseg3e16.v v8,(t2),x0,v0.t | 5.00 | 8.00 | 16.00 | 5.00 | 8.00 | 16.00 | 32.00 | 5.00 | 8.00 | 16.00 | 5.00 | 8.00 | ||||||||||||||||
| vssseg3e16.v v8,(t2),t1/*-1*/ | 5.75 | 10.00 | 20.00 | 5.84 | 10.00 | 20.00 | 40.79 | 5.50 | 10.00 | 20.00 | 5.90 | 10.00 | ||||||||||||||||
| vssseg3e16.v v8,(t2),t1/*-1*/,v0.t | 6.10 | 10.00 | 20.00 | 5.55 | 10.00 | 20.00 | 40.00 | 5.60 | 10.00 | 20.00 | 5.65 | 10.00 | ||||||||||||||||
| vssseg3e32.v v8,(t2),t3 | 7.00 | 14.00 | 8.06 | 14.00 | 7.00 | 14.00 | 28.01 | 7.10 | 14.00 | |||||||||||||||||||
| vssseg3e32.v v8,(t2),t3,v0.t | 7.00 | 14.00 | 7.00 | 14.00 | 7.00 | 14.17 | 28.17 | 7.10 | 14.00 | |||||||||||||||||||
| vssseg3e32.v v8,(t2),x0 | 7.30 | 14.10 | 7.20 | 15.20 | 7.45 | 14.40 | 30.00 | 7.15 | 14.60 | |||||||||||||||||||
| vssseg3e32.v v8,(t2),x0,v0.t | 7.45 | 14.70 | 7.15 | 14.70 | 7.40 | 15.20 | 30.60 | 7.30 | 14.50 | |||||||||||||||||||
| vssseg3e32.v v8,(t2),t1/*-1*/ | 7.00 | 14.00 | 7.10 | 14.00 | 7.00 | 14.00 | 28.23 | 7.00 | 14.00 | |||||||||||||||||||
| vssseg3e32.v v8,(t2),t1/*-1*/,v0.t | 7.06 | 14.00 | 7.12 | 14.00 | 7.00 | 14.00 | 28.07 | 7.00 | 14.10 | |||||||||||||||||||
| vssseg3e64.v v8,(t2),t3 | 12.00 | 12.00 | 12.00 | 12.00 | 24.00 | |||||||||||||||||||||||
| vssseg3e64.v v8,(t2),t3,v0.t | 12.00 | 12.00 | 12.00 | 12.00 | 24.00 | |||||||||||||||||||||||
| vssseg3e64.v v8,(t2),x0 | 12.00 | 12.00 | 12.00 | 12.00 | 24.00 | |||||||||||||||||||||||
| vssseg3e64.v v8,(t2),x0,v0.t | 12.00 | 12.00 | 12.00 | 12.00 | 24.00 | |||||||||||||||||||||||
| vssseg3e64.v v8,(t2),t1/*-1*/ | 12.00 | 12.00 | 12.00 | 12.00 | 24.00 | |||||||||||||||||||||||
| vssseg3e64.v v8,(t2),t1/*-1*/,v0.t | 12.00 | 12.00 | 12.00 | 12.00 | 24.00 | |||||||||||||||||||||||
| vlsseg4e8.v v8,(t2),t3 | 5.88 | 6.97 | 13.18 | 29.40 | 72.01 | 5.99 | 6.77 | 13.17 | 28.50 | 5.96 | 6.90 | 13.21 | 5.84 | 6.82 | ||||||||||||||
| vlsseg4e8.v v8,(t2),t3,v0.t | 5.84 | 6.87 | 13.21 | 28.80 | 72.01 | 5.88 | 6.95 | 13.22 | 30.00 | 5.76 | 6.87 | 13.28 | 5.84 | 6.90 | ||||||||||||||
| vlsseg4e8.v v8,(t2),x0 | 5.78 | 6.25 | 10.25 | 22.00 | 63.00 | 5.56 | 6.25 | 10.25 | 25.30 | 5.59 | 6.25 | 10.25 | 5.74 | 6.74 | ||||||||||||||
| vlsseg4e8.v v8,(t2),x0,v0.t | 5.33 | 6.25 | 10.25 | 22.00 | 63.00 | 5.81 | 6.25 | 10.25 | 22.00 | 5.33 | 6.25 | 10.25 | 5.86 | 6.56 | ||||||||||||||
| vlsseg4e8.v v8,(t2),t1/*-1*/ | 6.07 | 7.50 | 11.75 | 29.60 | 72.01 | 6.08 | 7.40 | 11.75 | 29.22 | 6.09 | 7.50 | 11.75 | 6.08 | 7.22 | ||||||||||||||
| vlsseg4e8.v v8,(t2),t1/*-1*/,v0.t | 6.08 | 7.20 | 11.75 | 29.85 | 72.01 | 6.09 | 7.05 | 11.75 | 29.77 | 6.09 | 7.07 | 11.75 | 6.10 | 7.18 | ||||||||||||||
| vlsseg4e16.v v8,(t2),t3 | 5.41 | 7.98 | 19.22 | 5.43 | 7.88 | 19.20 | 48.04 | 5.46 | 7.91 | 18.97 | 5.45 | 8.03 | ||||||||||||||||
| vlsseg4e16.v v8,(t2),t3,v0.t | 5.43 | 7.87 | 19.00 | 5.46 | 7.90 | 19.35 | 47.64 | 5.41 | 7.95 | 19.22 | 5.44 | 8.05 | ||||||||||||||||
| vlsseg4e16.v v8,(t2),x0 | 6.00 | 6.25 | 14.94 | 6.03 | 7.05 | 13.16 | 43.02 | 5.59 | 7.45 | 13.20 | 5.49 | 6.74 | ||||||||||||||||
| vlsseg4e16.v v8,(t2),x0,v0.t | 5.81 | 6.45 | 14.05 | 5.71 | 6.25 | 13.16 | 41.85 | 5.76 | 7.45 | 14.93 | 5.78 | 6.93 | ||||||||||||||||
| vlsseg4e16.v v8,(t2),t1/*-1*/ | 5.91 | 7.75 | 16.80 | 5.98 | 7.75 | 16.82 | 49.95 | 5.97 | 7.75 | 16.85 | 5.96 | 7.77 | ||||||||||||||||
| vlsseg4e16.v v8,(t2),t1/*-1*/,v0.t | 6.03 | 7.75 | 16.89 | 5.83 | 7.75 | 16.90 | 49.80 | 6.03 | 7.75 | 16.99 | 6.04 | 7.75 | ||||||||||||||||
| vlsseg4e32.v v8,(t2),t3 | 6.09 | 12.00 | 6.07 | 12.00 | 6.08 | 12.00 | 37.55 | 6.05 | 12.00 | |||||||||||||||||||
| vlsseg4e32.v v8,(t2),t3,v0.t | 6.08 | 12.00 | 6.11 | 12.00 | 6.06 | 12.00 | 37.40 | 6.10 | 12.00 | |||||||||||||||||||
| vlsseg4e32.v v8,(t2),x0 | 5.35 | 11.95 | 5.86 | 11.75 | 5.61 | 12.46 | 31.81 | 5.52 | 12.25 | |||||||||||||||||||
| vlsseg4e32.v v8,(t2),x0,v0.t | 5.86 | 12.36 | 5.61 | 11.85 | 5.67 | 12.36 | 32.51 | 5.54 | 12.50 | |||||||||||||||||||
| vlsseg4e32.v v8,(t2),t1/*-1*/ | 6.09 | 12.11 | 6.06 | 12.08 | 6.06 | 12.11 | 36.62 | 6.06 | 12.02 | |||||||||||||||||||
| vlsseg4e32.v v8,(t2),t1/*-1*/,v0.t | 6.06 | 12.13 | 6.06 | 12.12 | 6.08 | 12.41 | 36.85 | 6.06 | 12.01 | |||||||||||||||||||
| vlsseg4e64.v v8,(t2),t3 | 10.75 | 10.50 | 10.54 | 10.54 | 31.50 | |||||||||||||||||||||||
| vlsseg4e64.v v8,(t2),t3,v0.t | 10.62 | 10.62 | 10.62 | 10.66 | 31.40 | |||||||||||||||||||||||
| vlsseg4e64.v v8,(t2),x0 | 11.43 | 11.39 | 11.34 | 11.36 | 28.70 | |||||||||||||||||||||||
| vlsseg4e64.v v8,(t2),x0,v0.t | 11.36 | 11.43 | 11.36 | 11.36 | 31.15 | |||||||||||||||||||||||
| vlsseg4e64.v v8,(t2),t1/*-1*/ | 13.00 | 13.00 | 13.00 | 13.00 | 32.25 | |||||||||||||||||||||||
| vlsseg4e64.v v8,(t2),t1/*-1*/,v0.t | 13.00 | 13.00 | 13.00 | 13.00 | 32.75 | |||||||||||||||||||||||
| vssseg4e8.v v8,(t2),t3 | 5.00 | 9.15 | 19.00 | 38.00 | 76.00 | 5.00 | 9.55 | 19.00 | 38.00 | 5.00 | 9.40 | 19.00 | 5.00 | 9.45 | ||||||||||||||
| vssseg4e8.v v8,(t2),t3,v0.t | 5.00 | 9.50 | 19.00 | 38.00 | 76.00 | 5.00 | 9.25 | 19.00 | 38.00 | 5.00 | 9.25 | 19.00 | 5.00 | 9.50 | ||||||||||||||
| vssseg4e8.v v8,(t2),x0 | 5.00 | 8.00 | 16.00 | 32.00 | 64.00 | 5.00 | 8.00 | 16.00 | 32.00 | 5.15 | 8.00 | 16.00 | 5.00 | 8.00 | ||||||||||||||
| vssseg4e8.v v8,(t2),x0,v0.t | 5.00 | 8.00 | 16.00 | 32.00 | 64.00 | 5.00 | 8.00 | 16.00 | 32.00 | 5.00 | 8.00 | 16.00 | 5.00 | 8.00 | ||||||||||||||
| vssseg4e8.v v8,(t2),t1/*-1*/ | 6.00 | 10.20 | 19.00 | 38.00 | 76.22 | 6.20 | 10.55 | 19.00 | 38.00 | 5.70 | 10.00 | 19.00 | 5.90 | 9.15 | ||||||||||||||
| vssseg4e8.v v8,(t2),t1/*-1*/,v0.t | 6.20 | 10.30 | 19.00 | 38.00 | 76.51 | 6.61 | 9.80 | 19.00 | 38.00 | 6.20 | 10.30 | 19.00 | 6.00 | 10.45 | ||||||||||||||
| vssseg4e16.v v8,(t2),t3 | 6.86 | 11.15 | 22.90 | 6.00 | 11.87 | 22.80 | 47.91 | 6.00 | 11.30 | 22.60 | 6.00 | 11.25 | ||||||||||||||||
| vssseg4e16.v v8,(t2),t3,v0.t | 6.31 | 11.35 | 22.70 | 6.00 | 11.45 | 22.70 | 48.47 | 6.00 | 11.15 | 23.10 | 6.00 | 11.30 | ||||||||||||||||
| vssseg4e16.v v8,(t2),x0 | 6.00 | 10.90 | 20.28 | 6.10 | 10.00 | 23.80 | 55.00 | 6.00 | 10.60 | 21.45 | 6.40 | 10.00 | ||||||||||||||||
| vssseg4e16.v v8,(t2),x0,v0.t | 6.00 | 10.00 | 20.28 | 6.40 | 10.00 | 21.45 | 52.00 | 6.00 | 10.30 | 20.87 | 6.00 | 10.90 | ||||||||||||||||
| vssseg4e16.v v8,(t2),t1/*-1*/ | 7.91 | 12.80 | 26.65 | 6.50 | 12.65 | 26.66 | 52.60 | 6.60 | 12.20 | 25.67 | 6.50 | 12.77 | ||||||||||||||||
| vssseg4e16.v v8,(t2),t1/*-1*/,v0.t | 6.65 | 12.75 | 25.12 | 6.70 | 12.15 | 27.14 | 51.45 | 6.40 | 12.85 | 25.86 | 8.57 | 13.81 | ||||||||||||||||
| vssseg4e32.v v8,(t2),t3 | 9.40 | 18.65 | 9.55 | 18.50 | 9.45 | 18.95 | 41.74 | 9.50 | 19.10 | |||||||||||||||||||
| vssseg4e32.v v8,(t2),t3,v0.t | 9.25 | 18.80 | 9.39 | 19.10 | 9.53 | 19.10 | 40.35 | 9.35 | 18.60 | |||||||||||||||||||
| vssseg4e32.v v8,(t2),x0 | 8.80 | 18.35 | 9.60 | 18.14 | 8.90 | 17.71 | 43.77 | 9.20 | 19.21 | |||||||||||||||||||
| vssseg4e32.v v8,(t2),x0,v0.t | 8.70 | 19.00 | 8.90 | 18.35 | 8.90 | 19.00 | 39.61 | 8.80 | 19.00 | |||||||||||||||||||
| vssseg4e32.v v8,(t2),t1/*-1*/ | 9.85 | 18.95 | 9.43 | 19.17 | 9.25 | 18.95 | 39.48 | 9.25 | 18.87 | |||||||||||||||||||
| vssseg4e32.v v8,(t2),t1/*-1*/,v0.t | 9.40 | 18.80 | 9.87 | 19.32 | 9.50 | 19.02 | 39.55 | 9.40 | 19.20 | |||||||||||||||||||
| vssseg4e64.v v8,(t2),t3 | 16.80 | 16.60 | 16.80 | 16.70 | 34.39 | |||||||||||||||||||||||
| vssseg4e64.v v8,(t2),t3,v0.t | 17.10 | 16.60 | 17.00 | 17.00 | 34.32 | |||||||||||||||||||||||
| vssseg4e64.v v8,(t2),x0 | 16.50 | 16.90 | 16.80 | 16.30 | 33.16 | |||||||||||||||||||||||
| vssseg4e64.v v8,(t2),x0,v0.t | 16.90 | 16.70 | 16.90 | 16.90 | 33.97 | |||||||||||||||||||||||
| vssseg4e64.v v8,(t2),t1/*-1*/ | 16.80 | 16.60 | 16.50 | 16.80 | 33.00 | |||||||||||||||||||||||
| vssseg4e64.v v8,(t2),t1/*-1*/,v0.t | 16.80 | 16.60 | 17.30 | 16.60 | 32.60 | |||||||||||||||||||||||
| vlsseg5e8.v v8,(t2),t3 | 20.00 | 40.00 | 80.00 | 159.27 | 20.00 | 40.00 | 80.00 | 20.00 | 40.00 | 20.00 | ||||||||||||||||||
| vlsseg5e8.v v8,(t2),t3,v0.t | 20.00 | 40.00 | 80.00 | 159.29 | 20.00 | 40.00 | 80.00 | 20.00 | 40.00 | 20.00 | ||||||||||||||||||
| vlsseg5e8.v v8,(t2),x0 | 20.00 | 40.00 | 80.00 | 159.20 | 20.00 | 40.00 | 80.00 | 20.00 | 40.00 | 20.00 | ||||||||||||||||||
| vlsseg5e8.v v8,(t2),x0,v0.t | 20.00 | 40.00 | 80.00 | 159.20 | 20.00 | 40.00 | 80.00 | 20.00 | 40.00 | 20.00 | ||||||||||||||||||
| vlsseg5e8.v v8,(t2),t1/*-1*/ | 20.00 | 40.00 | 80.00 | 159.20 | 20.00 | 40.00 | 80.00 | 20.00 | 40.00 | 20.00 | ||||||||||||||||||
| vlsseg5e8.v v8,(t2),t1/*-1*/,v0.t | 20.00 | 40.00 | 80.00 | 159.20 | 20.00 | 40.00 | 80.00 | 20.00 | 40.00 | 20.00 | ||||||||||||||||||
| vlsseg5e16.v v8,(t2),t3 | 20.00 | 40.00 | 79.26 | 20.00 | 40.00 | 79.23 | 20.00 | 40.00 | 20.00 | |||||||||||||||||||
| vlsseg5e16.v v8,(t2),t3,v0.t | 20.00 | 40.00 | 79.24 | 20.00 | 40.00 | 79.27 | 20.00 | 40.00 | 20.00 | |||||||||||||||||||
| vlsseg5e16.v v8,(t2),x0 | 20.00 | 40.00 | 79.20 | 20.00 | 40.00 | 79.20 | 20.00 | 40.00 | 20.00 | |||||||||||||||||||
| vlsseg5e16.v v8,(t2),x0,v0.t | 20.00 | 40.00 | 79.20 | 20.00 | 40.00 | 79.20 | 20.00 | 40.00 | 20.00 | |||||||||||||||||||
| vlsseg5e16.v v8,(t2),t1/*-1*/ | 20.00 | 40.00 | 79.21 | 20.00 | 40.00 | 79.20 | 20.00 | 40.00 | 20.00 | |||||||||||||||||||
| vlsseg5e16.v v8,(t2),t1/*-1*/,v0.t | 20.00 | 40.00 | 79.20 | 20.00 | 40.00 | 79.20 | 20.00 | 40.00 | 20.00 | |||||||||||||||||||
| vlsseg5e32.v v8,(t2),t3 | 20.00 | 39.46 | 20.00 | 39.61 | 20.00 | 39.44 | 20.00 | |||||||||||||||||||||
| vlsseg5e32.v v8,(t2),t3,v0.t | 20.00 | 39.36 | 20.00 | 39.47 | 20.00 | 39.45 | 20.00 | |||||||||||||||||||||
| vlsseg5e32.v v8,(t2),x0 | 20.00 | 39.20 | 20.00 | 39.20 | 20.00 | 39.20 | 20.00 | |||||||||||||||||||||
| vlsseg5e32.v v8,(t2),x0,v0.t | 20.00 | 39.20 | 20.00 | 39.20 | 20.00 | 39.20 | 20.00 | |||||||||||||||||||||
| vlsseg5e32.v v8,(t2),t1/*-1*/ | 20.00 | 39.47 | 20.00 | 39.47 | 20.00 | 39.55 | 20.00 | |||||||||||||||||||||
| vlsseg5e32.v v8,(t2),t1/*-1*/,v0.t | 20.00 | 39.58 | 20.00 | 39.43 | 20.00 | 39.44 | 20.00 | |||||||||||||||||||||
| vlsseg5e64.v v8,(t2),t3 | 19.37 | 19.37 | 19.37 | 19.37 | ||||||||||||||||||||||||
| vlsseg5e64.v v8,(t2),t3,v0.t | 19.37 | 19.37 | 19.37 | 19.37 | ||||||||||||||||||||||||
| vlsseg5e64.v v8,(t2),x0 | 19.48 | 19.48 | 19.50 | 19.46 | ||||||||||||||||||||||||
| vlsseg5e64.v v8,(t2),x0,v0.t | 19.48 | 19.48 | 19.49 | 19.49 | ||||||||||||||||||||||||
| vlsseg5e64.v v8,(t2),t1/*-1*/ | 19.37 | 19.37 | 19.37 | 19.37 | ||||||||||||||||||||||||
| vlsseg5e64.v v8,(t2),t1/*-1*/,v0.t | 19.37 | 19.37 | 19.37 | 19.37 | ||||||||||||||||||||||||
| vssseg5e8.v v8,(t2),t3 | 20.00 | 40.00 | 80.00 | 160.00 | 20.00 | 40.00 | 80.00 | 20.00 | 40.00 | 20.00 | ||||||||||||||||||
| vssseg5e8.v v8,(t2),t3,v0.t | 20.00 | 40.00 | 80.00 | 160.00 | 20.00 | 40.00 | 80.00 | 20.00 | 40.00 | 20.00 | ||||||||||||||||||
| vssseg5e8.v v8,(t2),x0 | 20.00 | 40.00 | 80.00 | 160.00 | 20.00 | 40.00 | 80.00 | 20.00 | 40.00 | 20.00 | ||||||||||||||||||
| vssseg5e8.v v8,(t2),x0,v0.t | 20.00 | 40.00 | 80.00 | 160.00 | 20.00 | 40.00 | 80.00 | 20.00 | 40.00 | 20.00 | ||||||||||||||||||
| vssseg5e8.v v8,(t2),t1/*-1*/ | 20.00 | 40.00 | 80.00 | 160.00 | 20.00 | 40.00 | 80.00 | 20.00 | 40.00 | 20.00 | ||||||||||||||||||
| vssseg5e8.v v8,(t2),t1/*-1*/,v0.t | 20.00 | 40.00 | 80.00 | 160.00 | 20.00 | 40.00 | 80.00 | 20.00 | 40.00 | 20.00 | ||||||||||||||||||
| vssseg5e16.v v8,(t2),t3 | 20.00 | 40.00 | 80.00 | 20.00 | 40.00 | 80.50 | 20.00 | 40.00 | 20.00 | |||||||||||||||||||
| vssseg5e16.v v8,(t2),t3,v0.t | 20.00 | 40.00 | 80.00 | 20.00 | 40.00 | 80.00 | 20.00 | 40.00 | 20.00 | |||||||||||||||||||
| vssseg5e16.v v8,(t2),x0 | 20.00 | 40.00 | 80.00 | 20.00 | 40.00 | 80.00 | 20.00 | 40.00 | 20.00 | |||||||||||||||||||
| vssseg5e16.v v8,(t2),x0,v0.t | 20.00 | 40.00 | 80.00 | 20.00 | 40.00 | 80.00 | 20.00 | 40.00 | 20.00 | |||||||||||||||||||
| vssseg5e16.v v8,(t2),t1/*-1*/ | 20.00 | 40.00 | 80.00 | 20.00 | 40.00 | 80.00 | 20.00 | 40.00 | 20.00 | |||||||||||||||||||
| vssseg5e16.v v8,(t2),t1/*-1*/,v0.t | 20.00 | 40.00 | 80.00 | 20.00 | 40.00 | 80.00 | 20.00 | 40.00 | 20.00 | |||||||||||||||||||
| vssseg5e32.v v8,(t2),t3 | 20.00 | 40.00 | 20.00 | 40.00 | 20.00 | 40.00 | 20.00 | |||||||||||||||||||||
| vssseg5e32.v v8,(t2),t3,v0.t | 20.00 | 40.00 | 20.00 | 40.37 | 20.00 | 40.00 | 20.00 | |||||||||||||||||||||
| vssseg5e32.v v8,(t2),x0 | 20.00 | 40.00 | 20.00 | 40.00 | 20.00 | 40.00 | 20.00 | |||||||||||||||||||||
| vssseg5e32.v v8,(t2),x0,v0.t | 20.00 | 40.00 | 20.00 | 40.00 | 20.00 | 40.00 | 20.00 | |||||||||||||||||||||
| vssseg5e32.v v8,(t2),t1/*-1*/ | 20.22 | 40.00 | 20.00 | 40.00 | 20.00 | 40.00 | 20.00 | |||||||||||||||||||||
| vssseg5e32.v v8,(t2),t1/*-1*/,v0.t | 20.04 | 40.00 | 20.06 | 40.00 | 20.00 | 40.00 | 20.00 | |||||||||||||||||||||
| vssseg5e64.v v8,(t2),t3 | 20.00 | 20.26 | 20.31 | 20.00 | ||||||||||||||||||||||||
| vssseg5e64.v v8,(t2),t3,v0.t | 20.00 | 20.00 | 20.00 | 20.00 | ||||||||||||||||||||||||
| vssseg5e64.v v8,(t2),x0 | 20.00 | 20.00 | 20.00 | 20.00 | ||||||||||||||||||||||||
| vssseg5e64.v v8,(t2),x0,v0.t | 20.00 | 20.00 | 20.00 | 20.00 | ||||||||||||||||||||||||
| vssseg5e64.v v8,(t2),t1/*-1*/ | 20.00 | 20.00 | 20.00 | 20.00 | ||||||||||||||||||||||||
| vssseg5e64.v v8,(t2),t1/*-1*/,v0.t | 20.00 | 20.00 | 20.00 | 20.00 | ||||||||||||||||||||||||
| vlsseg6e8.v v8,(t2),t3 | 24.37 | 48.37 | 96.37 | 191.13 | 24.37 | 48.37 | 96.37 | 24.37 | 48.37 | 24.37 | ||||||||||||||||||
| vlsseg6e8.v v8,(t2),t3,v0.t | 24.37 | 48.37 | 96.37 | 191.12 | 24.37 | 48.37 | 96.37 | 24.37 | 48.37 | 24.37 | ||||||||||||||||||
| vlsseg6e8.v v8,(t2),x0 | 24.37 | 48.37 | 96.37 | 191.37 | 24.37 | 48.37 | 96.37 | 24.37 | 48.37 | 24.37 | ||||||||||||||||||
| vlsseg6e8.v v8,(t2),x0,v0.t | 24.37 | 48.37 | 96.37 | 191.37 | 24.37 | 48.37 | 96.37 | 24.37 | 48.37 | 24.37 | ||||||||||||||||||
| vlsseg6e8.v v8,(t2),t1/*-1*/ | 24.37 | 48.37 | 96.37 | 191.12 | 24.37 | 48.37 | 96.37 | 24.37 | 48.37 | 24.37 | ||||||||||||||||||
| vlsseg6e8.v v8,(t2),t1/*-1*/,v0.t | 24.37 | 48.37 | 96.37 | 191.12 | 24.37 | 48.37 | 96.37 | 24.37 | 48.37 | 24.37 | ||||||||||||||||||
| vlsseg6e16.v v8,(t2),t3 | 24.37 | 48.37 | 95.16 | 24.37 | 48.37 | 95.18 | 24.37 | 48.37 | 24.37 | |||||||||||||||||||
| vlsseg6e16.v v8,(t2),t3,v0.t | 24.37 | 48.37 | 95.25 | 24.37 | 48.37 | 95.26 | 24.37 | 48.37 | 24.37 | |||||||||||||||||||
| vlsseg6e16.v v8,(t2),x0 | 24.37 | 48.37 | 95.25 | 24.37 | 48.37 | 95.25 | 24.37 | 48.37 | 24.37 | |||||||||||||||||||
| vlsseg6e16.v v8,(t2),x0,v0.t | 24.37 | 48.37 | 95.25 | 24.37 | 48.37 | 95.25 | 24.37 | 48.37 | 24.37 | |||||||||||||||||||
| vlsseg6e16.v v8,(t2),t1/*-1*/ | 24.37 | 48.37 | 95.15 | 24.37 | 48.37 | 95.20 | 24.37 | 48.37 | 24.37 | |||||||||||||||||||
| vlsseg6e16.v v8,(t2),t1/*-1*/,v0.t | 24.37 | 48.37 | 95.13 | 24.37 | 48.37 | 95.15 | 24.37 | 48.37 | 24.37 | |||||||||||||||||||
| vlsseg6e32.v v8,(t2),t3 | 24.37 | 47.26 | 24.37 | 47.28 | 24.37 | 47.23 | 24.37 | |||||||||||||||||||||
| vlsseg6e32.v v8,(t2),t3,v0.t | 24.37 | 47.25 | 24.37 | 47.25 | 24.37 | 47.26 | 24.37 | |||||||||||||||||||||
| vlsseg6e32.v v8,(t2),x0 | 24.37 | 47.48 | 24.37 | 47.50 | 24.37 | 47.50 | 24.37 | |||||||||||||||||||||
| vlsseg6e32.v v8,(t2),x0,v0.t | 24.37 | 47.50 | 24.37 | 47.50 | 24.37 | 47.50 | 24.37 | |||||||||||||||||||||
| vlsseg6e32.v v8,(t2),t1/*-1*/ | 24.37 | 47.27 | 24.37 | 47.28 | 24.37 | 47.28 | 24.37 | |||||||||||||||||||||
| vlsseg6e32.v v8,(t2),t1/*-1*/,v0.t | 24.37 | 47.29 | 24.37 | 47.28 | 24.37 | 47.30 | 24.37 | |||||||||||||||||||||
| vlsseg6e64.v v8,(t2),t3 | 23.17 | 23.20 | 23.24 | 23.20 | ||||||||||||||||||||||||
| vlsseg6e64.v v8,(t2),t3,v0.t | 23.18 | 23.17 | 23.21 | 23.18 | ||||||||||||||||||||||||
| vlsseg6e64.v v8,(t2),x0 | 23.50 | 23.50 | 23.50 | 23.50 | ||||||||||||||||||||||||
| vlsseg6e64.v v8,(t2),x0,v0.t | 23.50 | 23.50 | 23.50 | 23.50 | ||||||||||||||||||||||||
| vlsseg6e64.v v8,(t2),t1/*-1*/ | 23.22 | 23.17 | 23.18 | 23.20 | ||||||||||||||||||||||||
| vlsseg6e64.v v8,(t2),t1/*-1*/,v0.t | 23.19 | 23.19 | 23.16 | 23.20 | ||||||||||||||||||||||||
| vssseg6e8.v v8,(t2),t3 | 24.00 | 48.00 | 96.00 | 192.00 | 24.00 | 48.00 | 96.00 | 24.00 | 48.00 | 24.00 | ||||||||||||||||||
| vssseg6e8.v v8,(t2),t3,v0.t | 24.00 | 48.00 | 96.00 | 192.01 | 24.00 | 48.00 | 96.00 | 24.00 | 48.00 | 24.00 | ||||||||||||||||||
| vssseg6e8.v v8,(t2),x0 | 24.00 | 48.00 | 96.00 | 192.00 | 24.00 | 48.00 | 96.00 | 24.00 | 48.00 | 24.00 | ||||||||||||||||||
| vssseg6e8.v v8,(t2),x0,v0.t | 24.00 | 48.00 | 96.00 | 192.00 | 24.00 | 48.00 | 96.00 | 24.00 | 48.00 | 24.00 | ||||||||||||||||||
| vssseg6e8.v v8,(t2),t1/*-1*/ | 24.00 | 48.00 | 96.00 | 192.00 | 24.00 | 48.00 | 96.00 | 24.00 | 48.00 | 24.00 | ||||||||||||||||||
| vssseg6e8.v v8,(t2),t1/*-1*/,v0.t | 24.00 | 48.00 | 96.00 | 192.00 | 24.00 | 48.00 | 96.00 | 24.00 | 48.00 | 24.00 | ||||||||||||||||||
| vssseg6e16.v v8,(t2),t3 | 24.00 | 48.00 | 96.31 | 24.00 | 48.00 | 96.00 | 24.00 | 48.00 | 24.00 | |||||||||||||||||||
| vssseg6e16.v v8,(t2),t3,v0.t | 24.00 | 48.00 | 97.15 | 24.00 | 48.00 | 96.38 | 24.00 | 48.00 | 24.00 | |||||||||||||||||||
| vssseg6e16.v v8,(t2),x0 | 24.00 | 48.00 | 96.00 | 24.00 | 48.00 | 96.00 | 24.00 | 48.00 | 24.00 | |||||||||||||||||||
| vssseg6e16.v v8,(t2),x0,v0.t | 24.00 | 48.00 | 96.00 | 24.00 | 48.00 | 96.00 | 24.00 | 48.00 | 24.00 | |||||||||||||||||||
| vssseg6e16.v v8,(t2),t1/*-1*/ | 24.00 | 48.00 | 96.00 | 24.00 | 48.00 | 96.00 | 24.00 | 48.00 | 24.00 | |||||||||||||||||||
| vssseg6e16.v v8,(t2),t1/*-1*/,v0.t | 24.00 | 48.00 | 96.00 | 24.00 | 48.00 | 96.00 | 24.00 | 48.00 | 24.00 | |||||||||||||||||||
| vssseg6e32.v v8,(t2),t3 | 24.00 | 48.70 | 24.00 | 48.52 | 24.00 | 48.08 | 24.00 | |||||||||||||||||||||
| vssseg6e32.v v8,(t2),t3,v0.t | 24.00 | 48.62 | 24.00 | 48.54 | 24.00 | 48.26 | 24.00 | |||||||||||||||||||||
| vssseg6e32.v v8,(t2),x0 | 24.00 | 48.00 | 24.00 | 48.00 | 24.00 | 48.00 | 24.00 | |||||||||||||||||||||
| vssseg6e32.v v8,(t2),x0,v0.t | 24.00 | 48.00 | 24.00 | 48.00 | 24.00 | 48.00 | 24.00 | |||||||||||||||||||||
| vssseg6e32.v v8,(t2),t1/*-1*/ | 24.00 | 48.00 | 24.00 | 48.00 | 24.00 | 48.00 | 24.00 | |||||||||||||||||||||
| vssseg6e32.v v8,(t2),t1/*-1*/,v0.t | 24.00 | 48.00 | 24.00 | 48.00 | 24.00 | 48.00 | 24.00 | |||||||||||||||||||||
| vssseg6e64.v v8,(t2),t3 | 26.41 | 25.90 | 25.65 | 24.48 | ||||||||||||||||||||||||
| vssseg6e64.v v8,(t2),t3,v0.t | 24.91 | 24.97 | 24.70 | 24.14 | ||||||||||||||||||||||||
| vssseg6e64.v v8,(t2),x0 | 24.00 | 24.00 | 24.00 | 24.00 | ||||||||||||||||||||||||
| vssseg6e64.v v8,(t2),x0,v0.t | 24.00 | 24.00 | 24.00 | 24.00 | ||||||||||||||||||||||||
| vssseg6e64.v v8,(t2),t1/*-1*/ | 27.50 | 24.86 | 25.55 | 26.50 | ||||||||||||||||||||||||
| vssseg6e64.v v8,(t2),t1/*-1*/,v0.t | 24.00 | 24.00 | 24.00 | 24.00 | ||||||||||||||||||||||||
| vlsseg7e8.v v8,(t2),t3 | 28.25 | 56.25 | 112.25 | 223.12 | 28.25 | 56.25 | 112.25 | 28.25 | 56.25 | 28.25 | ||||||||||||||||||
| vlsseg7e8.v v8,(t2),t3,v0.t | 28.25 | 56.25 | 112.25 | 223.12 | 28.25 | 56.25 | 112.25 | 28.25 | 56.25 | 28.25 | ||||||||||||||||||
| vlsseg7e8.v v8,(t2),x0 | 28.25 | 56.25 | 112.25 | 223.00 | 28.25 | 56.25 | 112.25 | 28.25 | 56.25 | 28.25 | ||||||||||||||||||
| vlsseg7e8.v v8,(t2),x0,v0.t | 28.25 | 56.25 | 112.25 | 223.00 | 28.25 | 56.25 | 112.25 | 28.25 | 56.25 | 28.25 | ||||||||||||||||||
| vlsseg7e8.v v8,(t2),t1/*-1*/ | 28.25 | 56.25 | 112.25 | 223.13 | 28.25 | 56.25 | 112.25 | 28.25 | 56.25 | 28.25 | ||||||||||||||||||
| vlsseg7e8.v v8,(t2),t1/*-1*/,v0.t | 28.25 | 56.25 | 112.25 | 223.13 | 28.25 | 56.25 | 112.25 | 28.25 | 56.25 | 28.25 | ||||||||||||||||||
| vlsseg7e16.v v8,(t2),t3 | 28.25 | 56.25 | 111.12 | 28.25 | 56.25 | 111.12 | 28.25 | 56.25 | 28.25 | |||||||||||||||||||
| vlsseg7e16.v v8,(t2),t3,v0.t | 28.25 | 56.25 | 111.12 | 28.25 | 56.25 | 111.12 | 28.25 | 56.25 | 28.25 | |||||||||||||||||||
| vlsseg7e16.v v8,(t2),x0 | 28.25 | 56.25 | 111.37 | 28.25 | 56.25 | 111.37 | 28.25 | 56.25 | 28.25 | |||||||||||||||||||
| vlsseg7e16.v v8,(t2),x0,v0.t | 28.25 | 56.25 | 111.37 | 28.25 | 56.25 | 111.37 | 28.25 | 56.25 | 28.25 | |||||||||||||||||||
| vlsseg7e16.v v8,(t2),t1/*-1*/ | 28.25 | 56.25 | 111.12 | 28.25 | 56.25 | 111.12 | 28.25 | 56.25 | 28.25 | |||||||||||||||||||
| vlsseg7e16.v v8,(t2),t1/*-1*/,v0.t | 28.25 | 56.25 | 111.12 | 28.25 | 56.25 | 111.13 | 28.25 | 56.25 | 28.25 | |||||||||||||||||||
| vlsseg7e32.v v8,(t2),t3 | 28.25 | 55.21 | 28.25 | 55.24 | 28.25 | 55.21 | 28.25 | |||||||||||||||||||||
| vlsseg7e32.v v8,(t2),t3,v0.t | 28.25 | 55.20 | 28.25 | 55.20 | 28.25 | 55.21 | 28.25 | |||||||||||||||||||||
| vlsseg7e32.v v8,(t2),x0 | 28.25 | 55.26 | 28.25 | 55.25 | 28.25 | 55.26 | 28.25 | |||||||||||||||||||||
| vlsseg7e32.v v8,(t2),x0,v0.t | 28.25 | 55.26 | 28.25 | 55.26 | 28.25 | 55.26 | 28.25 | |||||||||||||||||||||
| vlsseg7e32.v v8,(t2),t1/*-1*/ | 28.25 | 55.06 | 28.25 | 55.06 | 28.25 | 55.09 | 28.25 | |||||||||||||||||||||
| vlsseg7e32.v v8,(t2),t1/*-1*/,v0.t | 28.25 | 55.04 | 28.25 | 55.08 | 28.25 | 55.16 | 28.25 | |||||||||||||||||||||
| vlsseg7e64.v v8,(t2),t3 | 27.16 | 27.20 | 27.17 | 27.21 | ||||||||||||||||||||||||
| vlsseg7e64.v v8,(t2),t3,v0.t | 27.20 | 27.20 | 27.12 | 27.15 | ||||||||||||||||||||||||
| vlsseg7e64.v v8,(t2),x0 | 27.21 | 27.21 | 27.20 | 27.21 | ||||||||||||||||||||||||
| vlsseg7e64.v v8,(t2),x0,v0.t | 27.23 | 27.21 | 27.17 | 27.21 | ||||||||||||||||||||||||
| vlsseg7e64.v v8,(t2),t1/*-1*/ | 27.07 | 27.05 | 27.12 | 27.02 | ||||||||||||||||||||||||
| vlsseg7e64.v v8,(t2),t1/*-1*/,v0.t | 27.11 | 27.03 | 27.03 | 27.08 | ||||||||||||||||||||||||
| vssseg7e8.v v8,(t2),t3 | 28.00 | 56.00 | 112.00 | 224.13 | 28.00 | 56.00 | 112.00 | 28.00 | 56.00 | 28.00 | ||||||||||||||||||
| vssseg7e8.v v8,(t2),t3,v0.t | 28.00 | 56.00 | 112.00 | 224.00 | 28.00 | 56.00 | 112.00 | 28.00 | 56.00 | 28.00 | ||||||||||||||||||
| vssseg7e8.v v8,(t2),x0 | 28.00 | 56.00 | 112.00 | 224.00 | 28.00 | 56.00 | 112.00 | 28.00 | 56.00 | 28.00 | ||||||||||||||||||
| vssseg7e8.v v8,(t2),x0,v0.t | 28.00 | 56.00 | 112.00 | 224.00 | 28.00 | 56.00 | 112.00 | 28.00 | 56.00 | 28.00 | ||||||||||||||||||
| vssseg7e8.v v8,(t2),t1/*-1*/ | 28.00 | 56.00 | 112.00 | 224.00 | 28.00 | 56.00 | 112.00 | 28.00 | 56.00 | 28.00 | ||||||||||||||||||
| vssseg7e8.v v8,(t2),t1/*-1*/,v0.t | 28.00 | 56.00 | 112.00 | 224.00 | 28.00 | 56.00 | 112.00 | 28.00 | 56.00 | 28.00 | ||||||||||||||||||
| vssseg7e16.v v8,(t2),t3 | 28.00 | 57.81 | 112.00 | 28.00 | 56.00 | 112.02 | 28.00 | 56.00 | 28.00 | |||||||||||||||||||
| vssseg7e16.v v8,(t2),t3,v0.t | 28.00 | 56.00 | 112.00 | 28.00 | 56.00 | 112.27 | 28.00 | 56.00 | 28.00 | |||||||||||||||||||
| vssseg7e16.v v8,(t2),x0 | 28.00 | 56.00 | 112.00 | 28.00 | 56.00 | 112.00 | 28.00 | 56.00 | 28.00 | |||||||||||||||||||
| vssseg7e16.v v8,(t2),x0,v0.t | 28.00 | 56.00 | 112.00 | 28.00 | 56.00 | 112.00 | 28.00 | 56.00 | 28.00 | |||||||||||||||||||
| vssseg7e16.v v8,(t2),t1/*-1*/ | 28.00 | 56.00 | 112.00 | 28.00 | 56.00 | 112.00 | 28.00 | 56.00 | 28.00 | |||||||||||||||||||
| vssseg7e16.v v8,(t2),t1/*-1*/,v0.t | 28.00 | 56.00 | 112.00 | 28.00 | 56.00 | 112.00 | 28.00 | 56.00 | 28.00 | |||||||||||||||||||
| vssseg7e32.v v8,(t2),t3 | 28.00 | 56.20 | 28.00 | 56.88 | 28.00 | 56.77 | 28.00 | |||||||||||||||||||||
| vssseg7e32.v v8,(t2),t3,v0.t | 28.00 | 56.00 | 28.00 | 56.23 | 28.00 | 56.00 | 28.00 | |||||||||||||||||||||
| vssseg7e32.v v8,(t2),x0 | 28.00 | 56.00 | 28.00 | 56.00 | 28.00 | 56.00 | 28.00 | |||||||||||||||||||||
| vssseg7e32.v v8,(t2),x0,v0.t | 28.00 | 56.00 | 28.00 | 56.00 | 28.00 | 56.00 | 28.00 | |||||||||||||||||||||
| vssseg7e32.v v8,(t2),t1/*-1*/ | 28.00 | 56.00 | 28.00 | 56.00 | 28.00 | 56.00 | 28.00 | |||||||||||||||||||||
| vssseg7e32.v v8,(t2),t1/*-1*/,v0.t | 28.00 | 56.00 | 28.00 | 56.00 | 28.00 | 56.00 | 28.00 | |||||||||||||||||||||
| vssseg7e64.v v8,(t2),t3 | 29.46 | 29.42 | 28.76 | 28.82 | ||||||||||||||||||||||||
| vssseg7e64.v v8,(t2),t3,v0.t | 29.53 | 29.01 | 29.43 | 29.03 | ||||||||||||||||||||||||
| vssseg7e64.v v8,(t2),x0 | 28.00 | 28.00 | 28.00 | 28.00 | ||||||||||||||||||||||||
| vssseg7e64.v v8,(t2),x0,v0.t | 28.00 | 28.00 | 28.00 | 28.00 | ||||||||||||||||||||||||
| vssseg7e64.v v8,(t2),t1/*-1*/ | 28.00 | 28.00 | 28.00 | 28.00 | ||||||||||||||||||||||||
| vssseg7e64.v v8,(t2),t1/*-1*/,v0.t | 31.11 | 28.00 | 28.08 | 28.00 | ||||||||||||||||||||||||
| vlsseg8e8.v v8,(t2),t3 | 32.15 | 64.22 | 128.13 | 255.12 | 32.15 | 64.22 | 128.15 | 32.15 | 64.19 | 32.15 | ||||||||||||||||||
| vlsseg8e8.v v8,(t2),t3,v0.t | 32.15 | 64.22 | 128.15 | 255.12 | 32.15 | 64.23 | 128.14 | 32.15 | 64.23 | 32.15 | ||||||||||||||||||
| vlsseg8e8.v v8,(t2),x0 | 32.15 | 64.25 | 128.12 | 255.25 | 32.15 | 64.25 | 128.12 | 32.15 | 64.25 | 32.15 | ||||||||||||||||||
| vlsseg8e8.v v8,(t2),x0,v0.t | 32.15 | 64.25 | 128.12 | 255.25 | 32.15 | 64.25 | 128.12 | 32.15 | 64.25 | 32.15 | ||||||||||||||||||
| vlsseg8e8.v v8,(t2),t1/*-1*/ | 32.15 | 64.25 | 128.12 | 255.12 | 32.15 | 64.25 | 128.12 | 32.15 | 64.25 | 32.15 | ||||||||||||||||||
| vlsseg8e8.v v8,(t2),t1/*-1*/,v0.t | 32.15 | 64.25 | 128.12 | 255.12 | 32.15 | 64.25 | 128.12 | 32.15 | 64.25 | 32.15 | ||||||||||||||||||
| vlsseg8e16.v v8,(t2),t3 | 32.14 | 64.12 | 127.12 | 32.14 | 64.12 | 127.12 | 32.14 | 64.14 | 32.14 | |||||||||||||||||||
| vlsseg8e16.v v8,(t2),t3,v0.t | 32.15 | 64.12 | 127.12 | 32.14 | 64.14 | 127.12 | 32.14 | 64.12 | 32.14 | |||||||||||||||||||
| vlsseg8e16.v v8,(t2),x0 | 32.15 | 64.25 | 127.18 | 32.15 | 64.25 | 127.18 | 32.15 | 64.25 | 32.15 | |||||||||||||||||||
| vlsseg8e16.v v8,(t2),x0,v0.t | 32.15 | 64.25 | 127.18 | 32.15 | 64.25 | 127.18 | 32.15 | 64.25 | 32.15 | |||||||||||||||||||
| vlsseg8e16.v v8,(t2),t1/*-1*/ | 32.15 | 64.24 | 127.18 | 32.15 | 64.24 | 127.17 | 32.15 | 64.23 | 32.15 | |||||||||||||||||||
| vlsseg8e16.v v8,(t2),t1/*-1*/,v0.t | 32.15 | 64.24 | 127.18 | 32.15 | 64.23 | 127.18 | 32.15 | 64.24 | 32.15 | |||||||||||||||||||
| vlsseg8e32.v v8,(t2),t3 | 32.12 | 63.12 | 32.14 | 63.12 | 32.14 | 63.12 | 32.15 | |||||||||||||||||||||
| vlsseg8e32.v v8,(t2),t3,v0.t | 32.14 | 63.12 | 32.14 | 63.12 | 32.15 | 63.12 | 32.13 | |||||||||||||||||||||
| vlsseg8e32.v v8,(t2),x0 | 32.14 | 63.19 | 32.14 | 63.19 | 32.15 | 63.19 | 32.15 | |||||||||||||||||||||
| vlsseg8e32.v v8,(t2),x0,v0.t | 32.14 | 63.17 | 32.14 | 63.19 | 32.14 | 63.19 | 32.14 | |||||||||||||||||||||
| vlsseg8e32.v v8,(t2),t1/*-1*/ | 32.13 | 63.14 | 32.12 | 63.14 | 32.12 | 63.14 | 32.13 | |||||||||||||||||||||
| vlsseg8e32.v v8,(t2),t1/*-1*/,v0.t | 32.13 | 63.13 | 32.12 | 63.13 | 32.12 | 63.14 | 32.13 | |||||||||||||||||||||
| vlsseg8e64.v v8,(t2),t3 | 31.14 | 31.14 | 31.14 | 31.14 | ||||||||||||||||||||||||
| vlsseg8e64.v v8,(t2),t3,v0.t | 31.15 | 31.14 | 31.15 | 31.14 | ||||||||||||||||||||||||
| vlsseg8e64.v v8,(t2),x0 | 31.13 | 31.13 | 31.13 | 31.13 | ||||||||||||||||||||||||
| vlsseg8e64.v v8,(t2),x0,v0.t | 31.13 | 31.13 | 31.13 | 31.14 | ||||||||||||||||||||||||
| vlsseg8e64.v v8,(t2),t1/*-1*/ | 31.16 | 31.18 | 31.18 | 31.17 | ||||||||||||||||||||||||
| vlsseg8e64.v v8,(t2),t1/*-1*/,v0.t | 31.17 | 31.18 | 31.19 | 31.19 | ||||||||||||||||||||||||
| vssseg8e8.v v8,(t2),t3 | 32.00 | 64.00 | 128.00 | 256.00 | 32.00 | 64.00 | 128.00 | 32.00 | 64.00 | 32.00 | ||||||||||||||||||
| vssseg8e8.v v8,(t2),t3,v0.t | 32.00 | 64.00 | 128.00 | 256.08 | 32.00 | 64.00 | 128.00 | 32.00 | 64.00 | 32.00 | ||||||||||||||||||
| vssseg8e8.v v8,(t2),x0 | 32.00 | 64.00 | 128.00 | 256.00 | 32.00 | 64.00 | 128.00 | 32.00 | 64.00 | 32.00 | ||||||||||||||||||
| vssseg8e8.v v8,(t2),x0,v0.t | 32.00 | 64.00 | 128.00 | 256.00 | 32.00 | 64.00 | 128.00 | 32.00 | 64.00 | 32.00 | ||||||||||||||||||
| vssseg8e8.v v8,(t2),t1/*-1*/ | 32.00 | 64.00 | 128.00 | 256.02 | 32.00 | 64.00 | 128.00 | 32.00 | 64.00 | 32.00 | ||||||||||||||||||
| vssseg8e8.v v8,(t2),t1/*-1*/,v0.t | 32.00 | 64.00 | 128.00 | 256.01 | 32.00 | 64.00 | 128.00 | 32.00 | 64.00 | 32.00 | ||||||||||||||||||
| vssseg8e16.v v8,(t2),t3 | 32.00 | 64.00 | 128.14 | 32.00 | 64.00 | 128.18 | 32.00 | 64.00 | 32.00 | |||||||||||||||||||
| vssseg8e16.v v8,(t2),t3,v0.t | 32.00 | 64.00 | 128.00 | 32.00 | 64.00 | 128.19 | 32.00 | 64.00 | 32.00 | |||||||||||||||||||
| vssseg8e16.v v8,(t2),x0 | 32.00 | 64.00 | 128.00 | 32.00 | 64.00 | 128.00 | 32.00 | 64.00 | 32.00 | |||||||||||||||||||
| vssseg8e16.v v8,(t2),x0,v0.t | 32.00 | 64.00 | 128.00 | 32.00 | 64.00 | 128.00 | 32.00 | 64.00 | 32.00 | |||||||||||||||||||
| vssseg8e16.v v8,(t2),t1/*-1*/ | 32.00 | 64.00 | 128.00 | 32.00 | 64.00 | 128.00 | 32.00 | 64.00 | 32.04 | |||||||||||||||||||
| vssseg8e16.v v8,(t2),t1/*-1*/,v0.t | 32.00 | 64.00 | 128.00 | 32.00 | 64.00 | 128.00 | 32.00 | 64.00 | 32.00 | |||||||||||||||||||
| vssseg8e32.v v8,(t2),t3 | 32.40 | 64.01 | 32.00 | 64.00 | 32.02 | 64.04 | 32.00 | |||||||||||||||||||||
| vssseg8e32.v v8,(t2),t3,v0.t | 32.00 | 64.00 | 32.00 | 64.37 | 32.00 | 64.00 | 32.00 | |||||||||||||||||||||
| vssseg8e32.v v8,(t2),x0 | 32.00 | 64.00 | 32.00 | 64.00 | 32.00 | 64.00 | 32.00 | |||||||||||||||||||||
| vssseg8e32.v v8,(t2),x0,v0.t | 32.00 | 64.00 | 32.00 | 64.00 | 32.00 | 64.00 | 32.00 | |||||||||||||||||||||
| vssseg8e32.v v8,(t2),t1/*-1*/ | 32.00 | 64.00 | 32.00 | 64.00 | 32.00 | 64.00 | 32.00 | |||||||||||||||||||||
| vssseg8e32.v v8,(t2),t1/*-1*/,v0.t | 32.00 | 64.00 | 32.00 | 64.00 | 32.00 | 64.00 | 32.00 | |||||||||||||||||||||
| vssseg8e64.v v8,(t2),t3 | 35.98 | 34.11 | 34.76 | 34.73 | ||||||||||||||||||||||||
| vssseg8e64.v v8,(t2),t3,v0.t | 34.83 | 34.29 | 34.21 | 34.12 | ||||||||||||||||||||||||
| vssseg8e64.v v8,(t2),x0 | 32.00 | 32.00 | 32.00 | 32.00 | ||||||||||||||||||||||||
| vssseg8e64.v v8,(t2),x0,v0.t | 32.00 | 32.00 | 32.00 | 32.00 | ||||||||||||||||||||||||
| vssseg8e64.v v8,(t2),t1/*-1*/ | 32.72 | 32.62 | 34.56 | 32.86 | ||||||||||||||||||||||||
| vssseg8e64.v v8,(t2),t1/*-1*/,v0.t | 32.31 | 32.00 | 32.00 | 32.00 | ||||||||||||||||||||||||
| vandn.vv v8,v16,v24 | 1.00 | 1.00 | 1.00 | 1.00 | 2.00 | 4.00 | 8.00 | 1.00 | 1.00 | 1.00 | 2.00 | 4.00 | 8.00 | 1.00 | 1.00 | 2.00 | 4.00 | 8.00 | 1.00 | 2.00 | 4.00 | 8.00 | ||||||
| vandn.vv v8,v16,v24,v0.t | 1.00 | 1.00 | 1.00 | 1.00 | 2.00 | 4.00 | 8.00 | 1.00 | 1.00 | 1.00 | 2.00 | 4.00 | 8.00 | 1.00 | 1.00 | 2.00 | 4.00 | 8.00 | 1.00 | 2.00 | 4.00 | 8.00 | ||||||
| vandn.vx v8,v16,t0 | 1.06 | 1.06 | 1.06 | 1.06 | 2.00 | 4.00 | 8.00 | 1.06 | 1.06 | 1.06 | 2.00 | 4.00 | 8.00 | 1.06 | 1.06 | 2.00 | 4.00 | 8.00 | 1.06 | 2.00 | 4.00 | 8.00 | ||||||
| vandn.vx v8,v16,t0,v0.t | 1.06 | 1.06 | 1.06 | 1.06 | 2.00 | 4.00 | 8.00 | 1.06 | 1.06 | 1.06 | 2.00 | 4.00 | 8.00 | 1.06 | 1.06 | 2.00 | 4.00 | 8.00 | 1.06 | 2.00 | 4.00 | 8.00 | ||||||
| vbrev.v v8,v16 | 1.00 | 1.00 | 1.00 | 2.00 | 4.00 | 8.00 | 16.00 | 1.00 | 1.00 | 2.00 | 4.00 | 8.00 | 16.00 | 1.00 | 2.00 | 4.00 | 8.00 | 16.00 | 2.00 | 4.00 | 8.00 | 16.00 | ||||||
| vbrev.v v8,v16,v0.t | 1.00 | 1.00 | 1.00 | 2.00 | 4.00 | 8.00 | 16.00 | 1.00 | 1.00 | 2.00 | 4.00 | 8.00 | 16.00 | 1.00 | 2.00 | 4.00 | 8.00 | 16.00 | 2.00 | 4.00 | 8.00 | 16.00 | ||||||
| vbrev8.v v8,v16 | 1.00 | 1.00 | 1.00 | 2.00 | 4.00 | 8.00 | 16.00 | 1.00 | 1.00 | 2.00 | 4.00 | 8.00 | 16.00 | 1.00 | 2.00 | 4.00 | 8.00 | 16.00 | 2.00 | 4.00 | 8.00 | 16.00 | ||||||
| vbrev8.v v8,v16,v0.t | 1.00 | 1.00 | 1.00 | 2.00 | 4.00 | 8.00 | 16.00 | 1.00 | 1.00 | 2.00 | 4.00 | 8.00 | 16.00 | 1.00 | 2.00 | 4.00 | 8.00 | 16.00 | 2.00 | 4.00 | 8.00 | 16.00 | ||||||
| vclz.v v8,v16 | 1.00 | 1.00 | 1.00 | 2.00 | 4.00 | 8.00 | 16.00 | 1.00 | 1.00 | 2.00 | 4.00 | 8.00 | 16.00 | 1.00 | 2.00 | 4.00 | 8.00 | 16.00 | 2.00 | 4.00 | 8.00 | 16.00 | ||||||
| vclz.v v8,v16,v0.t | 1.00 | 1.00 | 1.00 | 2.00 | 4.00 | 8.00 | 16.00 | 1.00 | 1.00 | 2.00 | 4.00 | 8.00 | 16.00 | 1.00 | 2.00 | 4.00 | 8.00 | 16.00 | 2.00 | 4.00 | 8.00 | 16.00 | ||||||
| vctz.v v8,v16 | 1.00 | 1.00 | 1.00 | 2.00 | 4.00 | 8.00 | 16.00 | 1.00 | 1.00 | 2.00 | 4.00 | 8.00 | 16.00 | 1.00 | 2.00 | 4.00 | 8.00 | 16.00 | 2.00 | 4.00 | 8.00 | 16.00 | ||||||
| vctz.v v8,v16,v0.t | 1.00 | 1.00 | 1.00 | 2.00 | 4.00 | 8.00 | 16.00 | 1.00 | 1.00 | 2.00 | 4.00 | 8.00 | 16.00 | 1.00 | 2.00 | 4.00 | 8.00 | 16.00 | 2.00 | 4.00 | 8.00 | 16.00 | ||||||
| vcpop.v v8,v16 | 1.00 | 1.00 | 1.00 | 2.00 | 4.00 | 8.00 | 16.00 | 1.00 | 1.00 | 2.00 | 4.00 | 8.00 | 16.00 | 1.00 | 2.00 | 4.00 | 8.00 | 16.00 | 2.00 | 4.00 | 8.00 | 16.00 | ||||||
| vcpop.v v8,v16,v0.t | 1.00 | 1.00 | 1.00 | 2.00 | 4.00 | 8.00 | 16.00 | 1.00 | 1.00 | 2.00 | 4.00 | 8.00 | 16.00 | 1.00 | 2.00 | 4.00 | 8.00 | 16.00 | 2.00 | 4.00 | 8.00 | 16.00 | ||||||
| vrol.vv v8,v16,v24 | 1.00 | 1.00 | 1.00 | 2.00 | 4.00 | 8.00 | 16.00 | 1.00 | 1.00 | 2.00 | 4.00 | 8.00 | 16.00 | 1.00 | 2.00 | 4.00 | 8.00 | 16.00 | 2.00 | 4.00 | 8.00 | 16.00 | ||||||
| vrol.vv v8,v16,v24,v0.t | 1.00 | 1.00 | 1.00 | 2.00 | 4.00 | 8.00 | 16.00 | 1.00 | 1.00 | 2.00 | 4.00 | 8.00 | 16.00 | 1.00 | 2.00 | 4.00 | 8.00 | 16.00 | 2.00 | 4.00 | 8.00 | 16.00 | ||||||
| vrol.vx v8,v16,t0 | 1.06 | 1.06 | 1.06 | 2.00 | 4.00 | 8.00 | 16.00 | 1.06 | 1.06 | 2.00 | 4.00 | 8.00 | 16.00 | 1.06 | 2.00 | 4.00 | 8.00 | 16.00 | 2.00 | 4.00 | 8.00 | 16.00 | ||||||
| vrol.vx v8,v16,t0,v0.t | 1.06 | 1.06 | 1.06 | 2.00 | 4.00 | 8.00 | 16.00 | 1.06 | 1.06 | 2.00 | 4.00 | 8.00 | 16.00 | 1.06 | 2.00 | 4.00 | 8.00 | 16.00 | 2.00 | 4.00 | 8.00 | 16.00 | ||||||
| vror.vv v8,v16,v24 | 1.00 | 1.00 | 1.00 | 2.00 | 4.00 | 8.00 | 16.00 | 1.00 | 1.00 | 2.00 | 4.00 | 8.00 | 16.00 | 1.00 | 2.00 | 4.00 | 8.00 | 16.00 | 2.00 | 4.00 | 8.00 | 16.00 | ||||||
| vror.vv v8,v16,v24,v0.t | 1.00 | 1.00 | 1.00 | 2.00 | 4.00 | 8.00 | 16.00 | 1.00 | 1.00 | 2.00 | 4.00 | 8.00 | 16.00 | 1.00 | 2.00 | 4.00 | 8.00 | 16.00 | 2.00 | 4.00 | 8.00 | 16.00 | ||||||
| vror.vx v8,v16,t0 | 1.06 | 1.06 | 1.06 | 2.00 | 4.00 | 8.00 | 16.00 | 1.06 | 1.06 | 2.00 | 4.00 | 8.00 | 16.00 | 1.06 | 2.00 | 4.00 | 8.00 | 16.00 | 2.00 | 4.00 | 8.00 | 16.00 | ||||||
| vror.vx v8,v16,t0,v0.t | 1.06 | 1.06 | 1.06 | 2.00 | 4.00 | 8.00 | 16.00 | 1.06 | 1.06 | 2.00 | 4.00 | 8.00 | 16.00 | 1.06 | 2.00 | 4.00 | 8.00 | 16.00 | 2.00 | 4.00 | 8.00 | 16.00 | ||||||
| vwsll.vv v8,v16,v24 | 1.00 | 1.00 | 2.00 | 4.00 | 8.00 | 16.00 | 1.00 | 2.00 | 4.00 | 8.00 | 16.00 | 2.00 | 4.00 | 8.00 | 16.00 | |||||||||||||
| vwsll.vv v8,v16,v24,v0.t | 1.00 | 1.00 | 2.00 | 4.00 | 8.00 | 16.00 | 1.00 | 2.00 | 4.00 | 8.00 | 16.00 | 2.00 | 4.00 | 8.00 | 16.00 | |||||||||||||
| vwsll.vx v8,v16,t0 | 1.06 | 1.06 | 2.00 | 4.00 | 8.00 | 16.00 | 1.06 | 2.00 | 4.00 | 8.00 | 16.00 | 2.00 | 4.00 | 8.00 | 16.00 | |||||||||||||
| vwsll.vx v8,v16,t0,v0.t | 1.06 | 1.06 | 2.00 | 4.00 | 8.00 | 16.00 | 1.06 | 2.00 | 4.00 | 8.00 | 16.00 | 2.00 | 4.00 | 8.00 | 16.00 | |||||||||||||
| vclmul.vv v8,v16,v24 | 2.00 | 4.00 | 8.00 | 16.00 | ||||||||||||||||||||||||
| vclmul.vv v8,v16,v24,v0.t | 2.00 | 4.00 | 8.00 | 16.00 | ||||||||||||||||||||||||
| vclmul.vx v8,v16,t0 | 2.00 | 4.00 | 8.00 | 16.00 | ||||||||||||||||||||||||
| vclmul.vx v8,v16,t0,v0.t | 2.00 | 4.00 | 8.00 | 16.00 | ||||||||||||||||||||||||
| vclmulh.vv v8,v16,v24 | 2.00 | 4.00 | 8.00 | 16.00 | ||||||||||||||||||||||||
| vclmulh.vv v8,v16,v24,v0.t | 2.00 | 4.00 | 8.00 | 16.00 | ||||||||||||||||||||||||
| vclmulh.vx v8,v16,t0 | 2.00 | 4.00 | 8.00 | 16.00 | ||||||||||||||||||||||||
| vclmulh.vx v8,v16,t0,v0.t | 2.00 | 4.00 | 8.00 | 16.00 | ||||||||||||||||||||||||
| vghsh.vv v8,v16,v24 | 2.00 | 4.00 | 8.00 | 16.00 | ||||||||||||||||||||||||
| vgmul.vv v8,v16 | 2.00 | 4.00 | 8.00 | 16.00 |
| instruction | e8mf8 | e8mf4 | e8mf2 | e8m1 | e8m2 | e8m4 | e8m8 | e16mf8 | e16mf4 | e16mf2 | e16m1 | e16m2 | e16m4 | e16m8 | e32mf8 | e32mf4 | e32mf2 | e32m1 | e32m2 | e32m4 | e32m8 | e64mf8 | e64mf4 | e64mf2 | e64m1 | e64m2 | e64m4 | e64m8 |
|---|---|---|---|---|---|---|---|---|---|---|---|---|---|---|---|---|---|---|---|---|---|---|---|---|---|---|---|---|
| add t0,t1,t2 | 0.47 | 0.47 | 0.47 | 0.47 | 0.40 | 0.34 | 0.34 | 0.47 | 0.47 | 0.47 | 0.40 | 0.34 | 0.34 | 0.47 | 0.47 | 0.40 | 0.34 | 0.34 | 0.47 | 0.40 | 0.34 | 0.34 | ||||||
| mul t0,t1,t2 | 1.50 | 1.50 | 1.50 | 1.50 | 1.50 | 1.00 | 1.00 | 1.50 | 1.50 | 1.50 | 1.50 | 1.00 | 1.00 | 1.50 | 1.50 | 1.50 | 1.00 | 1.00 | 1.50 | 1.50 | 1.00 | 1.00 | ||||||
| vadd.vv v8,v16,v24 | 1.00 | 1.00 | 1.00 | 1.00 | 2.00 | 4.00 | 8.00 | 1.00 | 1.00 | 1.00 | 2.00 | 4.00 | 8.00 | 1.00 | 1.00 | 2.00 | 4.00 | 8.00 | 1.00 | 2.00 | 4.00 | 8.00 | ||||||
| vadd.vv v8,v16,v24,v0.t | 1.00 | 1.00 | 1.00 | 1.00 | 2.00 | 4.00 | 8.00 | 1.00 | 1.00 | 1.00 | 2.00 | 4.00 | 8.00 | 1.00 | 1.00 | 2.00 | 4.00 | 8.00 | 1.00 | 2.00 | 4.00 | 8.00 | ||||||
| vadd.vx v8,v16,t0 | 1.06 | 1.06 | 1.06 | 1.06 | 2.00 | 4.00 | 8.00 | 1.06 | 1.06 | 1.06 | 2.00 | 4.00 | 8.00 | 1.06 | 1.06 | 2.00 | 4.00 | 8.00 | 1.06 | 2.00 | 4.00 | 8.00 | ||||||
| vadd.vx v8,v16,t0,v0.t | 1.06 | 1.06 | 1.06 | 1.06 | 2.00 | 4.00 | 8.00 | 1.06 | 1.06 | 1.06 | 2.00 | 4.00 | 8.00 | 1.06 | 1.06 | 2.00 | 4.00 | 8.00 | 1.06 | 2.00 | 4.00 | 8.00 | ||||||
| vadd.vi v8,v16,13 | 1.00 | 1.00 | 1.00 | 1.00 | 2.00 | 4.00 | 8.00 | 1.00 | 1.00 | 1.00 | 2.00 | 4.00 | 8.00 | 1.00 | 1.00 | 2.00 | 4.00 | 8.00 | 1.00 | 2.00 | 4.00 | 8.00 | ||||||
| vadd.vi v8,v16,13,v0.t | 1.00 | 1.00 | 1.00 | 1.00 | 2.00 | 4.00 | 8.00 | 1.00 | 1.00 | 1.00 | 2.00 | 4.00 | 8.00 | 1.00 | 1.00 | 2.00 | 4.00 | 8.00 | 1.00 | 2.00 | 4.00 | 8.00 | ||||||
| vsub.vv v8,v16,v24 | 1.00 | 1.00 | 1.00 | 1.00 | 2.00 | 4.00 | 8.00 | 1.00 | 1.00 | 1.00 | 2.00 | 4.00 | 8.00 | 1.00 | 1.00 | 2.00 | 4.00 | 8.00 | 1.00 | 2.00 | 4.00 | 8.00 | ||||||
| vsub.vv v8,v16,v24,v0.t | 1.00 | 1.00 | 1.00 | 1.00 | 2.00 | 4.00 | 8.00 | 1.00 | 1.00 | 1.00 | 2.00 | 4.00 | 8.00 | 1.00 | 1.00 | 2.00 | 4.00 | 8.00 | 1.00 | 2.00 | 4.00 | 8.00 | ||||||
| vsub.vx v8,v16,t0 | 1.06 | 1.06 | 1.06 | 1.06 | 2.00 | 4.00 | 8.00 | 1.06 | 1.06 | 1.06 | 2.00 | 4.00 | 8.00 | 1.06 | 1.06 | 2.00 | 4.00 | 8.00 | 1.06 | 2.00 | 4.00 | 8.00 | ||||||
| vsub.vx v8,v16,t0,v0.t | 1.06 | 1.06 | 1.06 | 1.06 | 2.00 | 4.00 | 8.00 | 1.06 | 1.06 | 1.06 | 2.00 | 4.00 | 8.00 | 1.06 | 1.06 | 2.00 | 4.00 | 8.00 | 1.06 | 2.00 | 4.00 | 8.00 | ||||||
| vrsub.vx v8,v16,t0 | 1.06 | 1.06 | 1.06 | 1.06 | 2.00 | 4.00 | 8.00 | 1.06 | 1.06 | 1.06 | 2.00 | 4.00 | 8.00 | 1.06 | 1.06 | 2.00 | 4.00 | 8.00 | 1.06 | 2.00 | 4.00 | 8.00 | ||||||
| vrsub.vx v8,v16,t0,v0.t | 1.06 | 1.06 | 1.06 | 1.06 | 2.00 | 4.00 | 8.00 | 1.06 | 1.06 | 1.06 | 2.00 | 4.00 | 8.00 | 1.06 | 1.06 | 2.00 | 4.00 | 8.00 | 1.06 | 2.00 | 4.00 | 8.00 | ||||||
| vrsub.vi v8,v16,13 | 1.00 | 1.00 | 1.00 | 1.00 | 2.00 | 4.00 | 8.00 | 1.00 | 1.00 | 1.00 | 2.00 | 4.00 | 8.00 | 1.00 | 1.00 | 2.00 | 4.00 | 8.00 | 1.00 | 2.00 | 4.00 | 8.00 | ||||||
| vrsub.vi v8,v16,13,v0.t | 1.00 | 1.00 | 1.00 | 1.00 | 2.00 | 4.00 | 8.00 | 1.00 | 1.00 | 1.00 | 2.00 | 4.00 | 8.00 | 1.00 | 1.00 | 2.00 | 4.00 | 8.00 | 1.00 | 2.00 | 4.00 | 8.00 | ||||||
| vminu.vv v8,v16,v24 | 1.00 | 1.00 | 1.00 | 1.00 | 2.00 | 4.00 | 8.00 | 1.00 | 1.00 | 1.00 | 2.00 | 4.00 | 8.00 | 1.00 | 1.00 | 2.00 | 4.00 | 8.00 | 1.00 | 2.00 | 4.00 | 8.00 | ||||||
| vminu.vv v8,v16,v24,v0.t | 1.00 | 1.00 | 1.00 | 1.00 | 2.00 | 4.00 | 8.00 | 1.00 | 1.00 | 1.00 | 2.00 | 4.00 | 8.00 | 1.00 | 1.00 | 2.00 | 4.00 | 8.00 | 1.00 | 2.00 | 4.00 | 8.00 | ||||||
| vminu.vx v8,v16,t0 | 1.06 | 1.06 | 1.06 | 1.06 | 2.00 | 4.00 | 8.00 | 1.06 | 1.06 | 1.06 | 2.00 | 4.00 | 8.00 | 1.06 | 1.06 | 2.00 | 4.00 | 8.00 | 1.06 | 2.00 | 4.00 | 8.00 | ||||||
| vminu.vx v8,v16,t0,v0.t | 1.06 | 1.06 | 1.06 | 1.06 | 2.00 | 4.00 | 8.00 | 1.06 | 1.06 | 1.06 | 2.00 | 4.00 | 8.00 | 1.06 | 1.06 | 2.00 | 4.00 | 8.00 | 1.06 | 2.00 | 4.00 | 8.00 | ||||||
| vmin.vv v8,v16,v24 | 1.00 | 1.00 | 1.00 | 1.00 | 2.00 | 4.00 | 8.00 | 1.00 | 1.00 | 1.00 | 2.00 | 4.00 | 8.00 | 1.00 | 1.00 | 2.00 | 4.00 | 8.00 | 1.00 | 2.00 | 4.00 | 8.00 | ||||||
| vmin.vv v8,v16,v24,v0.t | 1.00 | 1.00 | 1.00 | 1.00 | 2.00 | 4.00 | 8.00 | 1.00 | 1.00 | 1.00 | 2.00 | 4.00 | 8.00 | 1.00 | 1.00 | 2.00 | 4.00 | 8.00 | 1.00 | 2.00 | 4.00 | 8.00 | ||||||
| vmin.vx v8,v16,t0 | 1.06 | 1.06 | 1.06 | 1.06 | 2.00 | 4.00 | 8.00 | 1.06 | 1.06 | 1.06 | 2.00 | 4.00 | 8.00 | 1.06 | 1.06 | 2.00 | 4.00 | 8.00 | 1.06 | 2.00 | 4.00 | 8.00 | ||||||
| vmin.vx v8,v16,t0,v0.t | 1.06 | 1.06 | 1.06 | 1.06 | 2.00 | 4.00 | 8.00 | 1.06 | 1.06 | 1.06 | 2.00 | 4.00 | 8.00 | 1.06 | 1.06 | 2.00 | 4.00 | 8.00 | 1.06 | 2.00 | 4.00 | 8.00 | ||||||
| vmaxu.vv v8,v16,v24 | 1.00 | 1.00 | 1.00 | 1.00 | 2.00 | 4.00 | 8.00 | 1.00 | 1.00 | 1.00 | 2.00 | 4.00 | 8.00 | 1.00 | 1.00 | 2.00 | 4.00 | 8.00 | 1.00 | 2.00 | 4.00 | 8.00 | ||||||
| vmaxu.vv v8,v16,v24,v0.t | 1.00 | 1.00 | 1.00 | 1.00 | 2.00 | 4.00 | 8.00 | 1.00 | 1.00 | 1.00 | 2.00 | 4.00 | 8.00 | 1.00 | 1.00 | 2.00 | 4.00 | 8.00 | 1.00 | 2.00 | 4.00 | 8.00 | ||||||
| vmaxu.vx v8,v16,t0 | 1.06 | 1.06 | 1.06 | 1.06 | 2.00 | 4.00 | 8.00 | 1.06 | 1.06 | 1.06 | 2.00 | 4.00 | 8.00 | 1.06 | 1.06 | 2.00 | 4.00 | 8.00 | 1.06 | 2.00 | 4.00 | 8.00 | ||||||
| vmaxu.vx v8,v16,t0,v0.t | 1.06 | 1.06 | 1.06 | 1.06 | 2.00 | 4.00 | 8.00 | 1.06 | 1.06 | 1.06 | 2.00 | 4.00 | 8.00 | 1.06 | 1.06 | 2.00 | 4.00 | 8.00 | 1.06 | 2.00 | 4.00 | 8.00 | ||||||
| vmax.vv v8,v16,v24 | 1.00 | 1.00 | 1.00 | 1.00 | 2.00 | 4.00 | 8.00 | 1.00 | 1.00 | 1.00 | 2.00 | 4.00 | 8.00 | 1.00 | 1.00 | 2.00 | 4.00 | 8.00 | 1.00 | 2.00 | 4.00 | 8.00 | ||||||
| vmax.vv v8,v16,v24,v0.t | 1.00 | 1.00 | 1.00 | 1.00 | 2.00 | 4.00 | 8.00 | 1.00 | 1.00 | 1.00 | 2.00 | 4.00 | 8.00 | 1.00 | 1.00 | 2.00 | 4.00 | 8.00 | 1.00 | 2.00 | 4.00 | 8.00 | ||||||
| vmax.vx v8,v16,t0 | 1.06 | 1.06 | 1.06 | 1.06 | 2.00 | 4.00 | 8.00 | 1.06 | 1.06 | 1.06 | 2.00 | 4.00 | 8.00 | 1.06 | 1.06 | 2.00 | 4.00 | 8.00 | 1.06 | 2.00 | 4.00 | 8.00 | ||||||
| vmax.vx v8,v16,t0,v0.t | 1.06 | 1.06 | 1.06 | 1.06 | 2.00 | 4.00 | 8.00 | 1.06 | 1.06 | 1.06 | 2.00 | 4.00 | 8.00 | 1.06 | 1.06 | 2.00 | 4.00 | 8.00 | 1.06 | 2.00 | 4.00 | 8.00 | ||||||
| vand.vv v8,v16,v24 | 1.00 | 1.00 | 1.00 | 1.00 | 2.00 | 4.00 | 8.00 | 1.00 | 1.00 | 1.00 | 2.00 | 4.00 | 8.00 | 1.00 | 1.00 | 2.00 | 4.00 | 8.00 | 1.00 | 2.00 | 4.00 | 8.00 | ||||||
| vand.vv v8,v16,v24,v0.t | 1.00 | 1.00 | 1.00 | 1.00 | 2.00 | 4.00 | 8.00 | 1.00 | 1.00 | 1.00 | 2.00 | 4.00 | 8.00 | 1.00 | 1.00 | 2.00 | 4.00 | 8.00 | 1.00 | 2.00 | 4.00 | 8.00 | ||||||
| vand.vx v8,v16,t0 | 1.06 | 1.06 | 1.06 | 1.06 | 2.00 | 4.00 | 8.00 | 1.06 | 1.06 | 1.06 | 2.00 | 4.00 | 8.00 | 1.06 | 1.06 | 2.00 | 4.00 | 8.00 | 1.06 | 2.00 | 4.00 | 8.00 | ||||||
| vand.vx v8,v16,t0,v0.t | 1.06 | 1.06 | 1.06 | 1.06 | 2.00 | 4.00 | 8.00 | 1.06 | 1.06 | 1.06 | 2.00 | 4.00 | 8.00 | 1.06 | 1.06 | 2.00 | 4.00 | 8.00 | 1.06 | 2.00 | 4.00 | 8.00 | ||||||
| vand.vi v8,v16,13 | 1.00 | 1.00 | 1.00 | 1.00 | 2.00 | 4.00 | 8.00 | 1.00 | 1.00 | 1.00 | 2.00 | 4.00 | 8.00 | 1.00 | 1.00 | 2.00 | 4.00 | 8.00 | 1.00 | 2.00 | 4.00 | 8.00 | ||||||
| vand.vi v8,v16,13,v0.t | 1.00 | 1.00 | 1.00 | 1.00 | 2.00 | 4.00 | 8.00 | 1.00 | 1.00 | 1.00 | 2.00 | 4.00 | 8.00 | 1.00 | 1.00 | 2.00 | 4.00 | 8.00 | 1.00 | 2.00 | 4.00 | 8.00 | ||||||
| vor.vv v8,v16,v24 | 1.00 | 1.00 | 1.00 | 1.00 | 2.00 | 4.00 | 8.00 | 1.00 | 1.00 | 1.00 | 2.00 | 4.00 | 8.00 | 1.00 | 1.00 | 2.00 | 4.00 | 8.00 | 1.00 | 2.00 | 4.00 | 8.00 | ||||||
| vor.vv v8,v16,v24,v0.t | 1.00 | 1.00 | 1.00 | 1.00 | 2.00 | 4.00 | 8.00 | 1.00 | 1.00 | 1.00 | 2.00 | 4.00 | 8.00 | 1.00 | 1.00 | 2.00 | 4.00 | 8.00 | 1.00 | 2.00 | 4.00 | 8.00 | ||||||
| vor.vx v8,v16,t0 | 1.06 | 1.06 | 1.06 | 1.06 | 2.00 | 4.00 | 8.00 | 1.06 | 1.06 | 1.06 | 2.00 | 4.00 | 8.00 | 1.06 | 1.06 | 2.00 | 4.00 | 8.00 | 1.06 | 2.00 | 4.00 | 8.00 | ||||||
| vor.vx v8,v16,t0,v0.t | 1.06 | 1.06 | 1.06 | 1.06 | 2.00 | 4.00 | 8.00 | 1.06 | 1.06 | 1.06 | 2.00 | 4.00 | 8.00 | 1.06 | 1.06 | 2.00 | 4.00 | 8.00 | 1.06 | 2.00 | 4.00 | 8.00 | ||||||
| vor.vi v8,v16,13 | 1.00 | 1.00 | 1.00 | 1.00 | 2.00 | 4.00 | 8.00 | 1.00 | 1.00 | 1.00 | 2.00 | 4.00 | 8.00 | 1.00 | 1.00 | 2.00 | 4.00 | 8.00 | 1.00 | 2.00 | 4.00 | 8.00 | ||||||
| vor.vi v8,v16,13,v0.t | 1.00 | 1.00 | 1.00 | 1.00 | 2.00 | 4.00 | 8.00 | 1.00 | 1.00 | 1.00 | 2.00 | 4.00 | 8.00 | 1.00 | 1.00 | 2.00 | 4.00 | 8.00 | 1.00 | 2.00 | 4.00 | 8.00 | ||||||
| vxor.vv v8,v16,v24 | 1.00 | 1.00 | 1.00 | 1.00 | 2.00 | 4.00 | 8.00 | 1.00 | 1.00 | 1.00 | 2.00 | 4.00 | 8.00 | 1.00 | 1.00 | 2.00 | 4.00 | 8.00 | 1.00 | 2.00 | 4.00 | 8.00 | ||||||
| vxor.vv v8,v16,v24,v0.t | 1.00 | 1.00 | 1.00 | 1.00 | 2.00 | 4.00 | 8.00 | 1.00 | 1.00 | 1.00 | 2.00 | 4.00 | 8.00 | 1.00 | 1.00 | 2.00 | 4.00 | 8.00 | 1.00 | 2.00 | 4.00 | 8.00 | ||||||
| vxor.vx v8,v16,t0 | 1.06 | 1.06 | 1.06 | 1.06 | 2.00 | 4.00 | 8.00 | 1.06 | 1.06 | 1.06 | 2.00 | 4.00 | 8.00 | 1.06 | 1.06 | 2.00 | 4.00 | 8.00 | 1.06 | 2.00 | 4.00 | 8.00 | ||||||
| vxor.vx v8,v16,t0,v0.t | 1.06 | 1.06 | 1.06 | 1.06 | 2.00 | 4.00 | 8.00 | 1.06 | 1.06 | 1.06 | 2.00 | 4.00 | 8.00 | 1.06 | 1.06 | 2.00 | 4.00 | 8.00 | 1.06 | 2.00 | 4.00 | 8.00 | ||||||
| vxor.vi v8,v16,13 | 1.00 | 1.00 | 1.00 | 1.00 | 2.00 | 4.00 | 8.00 | 1.00 | 1.00 | 1.00 | 2.00 | 4.00 | 8.00 | 1.00 | 1.00 | 2.00 | 4.00 | 8.00 | 1.00 | 2.00 | 4.00 | 8.00 | ||||||
| vxor.vi v8,v16,13,v0.t | 1.00 | 1.00 | 1.00 | 1.00 | 2.00 | 4.00 | 8.00 | 1.00 | 1.00 | 1.00 | 2.00 | 4.00 | 8.00 | 1.00 | 1.00 | 2.00 | 4.00 | 8.00 | 1.00 | 2.00 | 4.00 | 8.00 | ||||||
| vrgather.vv v8,v16,v24 | 1.00 | 1.00 | 1.00 | 2.00 | 8.00 | 32.00 | 127.96 | 1.00 | 1.00 | 2.00 | 8.00 | 32.00 | 127.96 | 1.00 | 2.00 | 8.00 | 32.00 | 127.96 | 2.00 | 8.00 | 32.00 | 127.96 | ||||||
| vrgather.vv v8,v16,v24,v0.t | 1.00 | 1.00 | 1.00 | 2.00 | 8.00 | 32.00 | 127.96 | 1.00 | 1.00 | 2.00 | 8.00 | 32.00 | 127.96 | 1.00 | 2.00 | 8.00 | 32.00 | 127.96 | 2.00 | 8.00 | 32.00 | 127.96 | ||||||
| vrgather.vx v8,v16,t0 | 1.32 | 1.32 | 1.32 | 2.07 | 4.00 | 8.00 | 16.00 | 1.32 | 1.32 | 2.07 | 4.00 | 8.00 | 16.00 | 1.32 | 2.07 | 4.00 | 8.00 | 16.00 | 2.07 | 4.00 | 8.00 | 16.00 | ||||||
| vrgather.vx v8,v16,t0,v0.t | 1.32 | 1.32 | 1.32 | 2.07 | 4.00 | 8.00 | 16.00 | 1.32 | 1.32 | 2.07 | 4.00 | 8.00 | 16.00 | 1.32 | 2.07 | 4.00 | 8.00 | 16.00 | 2.07 | 4.00 | 8.00 | 16.00 | ||||||
| vrgather.vi v8,v16,3 | 1.00 | 1.00 | 1.00 | 2.00 | 4.00 | 8.00 | 16.00 | 1.00 | 1.00 | 2.00 | 4.00 | 8.00 | 16.00 | 1.00 | 2.00 | 4.00 | 8.00 | 16.00 | 2.00 | 4.00 | 8.00 | 16.00 | ||||||
| vrgather.vi v8,v16,3,v0.t | 1.00 | 1.00 | 1.00 | 2.00 | 4.00 | 8.00 | 16.00 | 1.00 | 1.00 | 2.00 | 4.00 | 8.00 | 16.00 | 1.00 | 2.00 | 4.00 | 8.00 | 16.00 | 2.00 | 4.00 | 8.00 | 16.00 | ||||||
| vslideup.vx v8,v16,t0 | 1.06 | 1.06 | 1.06 | 2.00 | 4.00 | 8.00 | 16.00 | 1.06 | 1.06 | 2.00 | 4.00 | 8.00 | 16.00 | 1.06 | 2.00 | 4.00 | 8.00 | 16.00 | 2.00 | 4.00 | 8.00 | 16.00 | ||||||
| vslideup.vx v8,v16,t0,v0.t | 1.06 | 1.06 | 1.06 | 2.00 | 4.00 | 8.00 | 16.00 | 1.06 | 1.06 | 2.00 | 4.00 | 8.00 | 16.00 | 1.06 | 2.00 | 4.00 | 8.00 | 16.00 | 2.00 | 4.00 | 8.00 | 16.00 | ||||||
| vslideup.vi v8,v16,3 | 1.00 | 1.00 | 1.00 | 2.00 | 4.00 | 8.00 | 16.00 | 1.00 | 1.00 | 2.00 | 4.00 | 8.00 | 16.00 | 1.00 | 2.00 | 4.00 | 8.00 | 16.00 | 2.00 | 4.00 | 8.00 | 16.00 | ||||||
| vslideup.vi v8,v16,3,v0.t | 1.00 | 1.00 | 1.00 | 2.00 | 4.00 | 8.00 | 16.00 | 1.00 | 1.00 | 2.00 | 4.00 | 8.00 | 16.00 | 1.00 | 2.00 | 4.00 | 8.00 | 16.00 | 2.00 | 4.00 | 8.00 | 16.00 | ||||||
| vrgatherei16.vv v8,v16,v24 | 1.00 | 1.00 | 2.00 | 4.00 | 16.00 | 63.99 | 1.00 | 1.00 | 2.00 | 8.00 | 32.00 | 127.96 | 1.00 | 2.00 | 8.00 | 32.00 | 127.96 | 2.00 | 8.00 | 32.00 | 127.96 | |||||||
| vrgatherei16.vv v8,v16,v24,v0.t | 1.00 | 1.00 | 2.00 | 4.00 | 16.00 | 63.99 | 1.00 | 1.00 | 2.00 | 8.00 | 32.00 | 127.96 | 1.00 | 2.00 | 8.00 | 32.00 | 127.96 | 2.00 | 8.00 | 32.00 | 127.96 | |||||||
| vslidedown.vx v8,v16,t0 | 1.32 | 1.32 | 1.32 | 3.00 | 5.00 | 9.00 | 17.00 | 1.32 | 1.32 | 3.00 | 5.00 | 9.00 | 17.00 | 1.32 | 3.00 | 5.00 | 9.00 | 17.00 | 3.00 | 5.00 | 9.00 | 17.00 | ||||||
| vslidedown.vx v8,v16,t0,v0.t | 1.32 | 1.32 | 1.32 | 3.00 | 5.00 | 9.00 | 17.00 | 1.32 | 1.32 | 3.00 | 5.00 | 9.00 | 17.00 | 1.32 | 3.00 | 5.00 | 9.00 | 17.00 | 3.00 | 5.00 | 9.00 | 17.00 | ||||||
| vslidedown.vi v8,v16,3 | 1.00 | 1.00 | 1.00 | 3.00 | 5.00 | 9.00 | 17.00 | 1.00 | 1.00 | 3.00 | 5.00 | 9.00 | 17.00 | 1.00 | 3.00 | 5.00 | 9.00 | 17.00 | 3.00 | 5.00 | 9.00 | 17.00 | ||||||
| vslidedown.vi v8,v16,3,v0.t | 1.00 | 1.00 | 1.00 | 3.00 | 5.00 | 9.00 | 17.00 | 1.00 | 1.00 | 3.00 | 5.00 | 9.00 | 17.00 | 1.00 | 3.00 | 5.00 | 9.00 | 17.00 | 3.00 | 5.00 | 9.00 | 17.00 | ||||||
| vredsum.vs v8,v16,v24 | 1.00 | 1.00 | 1.00 | 1.00 | 2.00 | 5.50 | 19.00 | 1.00 | 1.00 | 1.00 | 2.00 | 5.50 | 19.00 | 1.00 | 1.00 | 2.00 | 5.50 | 19.00 | 1.00 | 2.00 | 5.50 | 19.00 | ||||||
| vredsum.vs v8,v16,v24,v0.t | 1.00 | 1.00 | 1.00 | 1.00 | 2.00 | 5.50 | 19.00 | 1.00 | 1.00 | 1.00 | 2.00 | 5.50 | 19.00 | 1.00 | 1.00 | 2.00 | 5.50 | 19.00 | 1.00 | 2.00 | 5.50 | 19.00 | ||||||
| vredand.vs v8,v16,v24 | 1.00 | 1.00 | 1.00 | 1.00 | 2.00 | 5.00 | 18.00 | 1.00 | 1.00 | 1.00 | 2.00 | 5.00 | 18.00 | 1.00 | 1.00 | 2.00 | 5.00 | 18.00 | 1.00 | 2.00 | 5.00 | 18.00 | ||||||
| vredand.vs v8,v16,v24,v0.t | 1.00 | 1.00 | 1.00 | 1.00 | 2.00 | 5.00 | 18.00 | 1.00 | 1.00 | 1.00 | 2.00 | 5.00 | 18.00 | 1.00 | 1.00 | 2.00 | 5.00 | 18.00 | 1.00 | 2.00 | 5.00 | 18.00 | ||||||
| vredor.vs v8,v16,v24 | 1.00 | 1.00 | 1.00 | 1.00 | 2.00 | 5.00 | 18.00 | 1.00 | 1.00 | 1.00 | 2.00 | 5.00 | 18.00 | 1.00 | 1.00 | 2.00 | 5.00 | 18.00 | 1.00 | 2.00 | 5.00 | 18.00 | ||||||
| vredor.vs v8,v16,v24,v0.t | 1.00 | 1.00 | 1.00 | 1.00 | 2.00 | 5.00 | 18.00 | 1.00 | 1.00 | 1.00 | 2.00 | 5.00 | 18.00 | 1.00 | 1.00 | 2.00 | 5.00 | 18.00 | 1.00 | 2.00 | 5.00 | 18.00 | ||||||
| vredxor.vs v8,v16,v24 | 1.00 | 1.00 | 1.00 | 1.00 | 2.00 | 5.00 | 18.00 | 1.00 | 1.00 | 1.00 | 2.00 | 5.00 | 18.00 | 1.00 | 1.00 | 2.00 | 5.00 | 18.00 | 1.00 | 2.00 | 5.00 | 18.00 | ||||||
| vredxor.vs v8,v16,v24,v0.t | 1.00 | 1.00 | 1.00 | 1.00 | 2.00 | 5.00 | 18.00 | 1.00 | 1.00 | 1.00 | 2.00 | 5.00 | 18.00 | 1.00 | 1.00 | 2.00 | 5.00 | 18.00 | 1.00 | 2.00 | 5.00 | 18.00 | ||||||
| vredminu.vs v8,v16,v24 | 1.00 | 1.00 | 1.00 | 1.00 | 2.00 | 5.50 | 19.00 | 1.00 | 1.00 | 1.00 | 2.00 | 5.50 | 19.00 | 1.00 | 1.00 | 2.00 | 5.50 | 19.00 | 1.00 | 2.00 | 5.50 | 19.00 | ||||||
| vredminu.vs v8,v16,v24,v0.t | 1.00 | 1.00 | 1.00 | 1.00 | 2.00 | 5.50 | 19.00 | 1.00 | 1.00 | 1.00 | 2.00 | 5.50 | 19.00 | 1.00 | 1.00 | 2.00 | 5.50 | 19.00 | 1.00 | 2.00 | 5.50 | 19.00 | ||||||
| vredmin.vs v8,v16,v24 | 1.00 | 1.00 | 1.00 | 1.00 | 2.00 | 5.50 | 19.00 | 1.00 | 1.00 | 1.00 | 2.00 | 5.50 | 19.00 | 1.00 | 1.00 | 2.00 | 5.50 | 19.00 | 1.00 | 2.00 | 5.50 | 19.00 | ||||||
| vredmin.vs v8,v16,v24,v0.t | 1.00 | 1.00 | 1.00 | 1.00 | 2.00 | 5.50 | 19.00 | 1.00 | 1.00 | 1.00 | 2.00 | 5.50 | 19.00 | 1.00 | 1.00 | 2.00 | 5.50 | 19.00 | 1.00 | 2.00 | 5.50 | 19.00 | ||||||
| vredmaxu.vs v8,v16,v24 | 1.00 | 1.00 | 1.00 | 1.00 | 2.00 | 5.50 | 19.00 | 1.00 | 1.00 | 1.00 | 2.00 | 5.50 | 19.00 | 1.00 | 1.00 | 2.00 | 5.50 | 19.00 | 1.00 | 2.00 | 5.50 | 19.00 | ||||||
| vredmaxu.vs v8,v16,v24,v0.t | 1.00 | 1.00 | 1.00 | 1.00 | 2.00 | 5.50 | 19.00 | 1.00 | 1.00 | 1.00 | 2.00 | 5.50 | 19.00 | 1.00 | 1.00 | 2.00 | 5.50 | 19.00 | 1.00 | 2.00 | 5.50 | 19.00 | ||||||
| vredmax.vs v8,v16,v24 | 1.00 | 1.00 | 1.00 | 1.00 | 2.00 | 5.50 | 19.00 | 1.00 | 1.00 | 1.00 | 2.00 | 5.50 | 19.00 | 1.00 | 1.00 | 2.00 | 5.50 | 19.00 | 1.00 | 2.00 | 5.50 | 19.00 | ||||||
| vredmax.vs v8,v16,v24,v0.t | 1.00 | 1.00 | 1.00 | 1.00 | 2.00 | 5.50 | 19.00 | 1.00 | 1.00 | 1.00 | 2.00 | 5.50 | 19.00 | 1.00 | 1.00 | 2.00 | 5.50 | 19.00 | 1.00 | 2.00 | 5.50 | 19.00 | ||||||
| vaaddu.vv v8,v16,v24 | 1.00 | 1.00 | 1.00 | 1.00 | 2.00 | 4.00 | 8.00 | 1.00 | 1.00 | 1.00 | 2.00 | 4.00 | 8.00 | 1.00 | 1.00 | 2.00 | 4.00 | 8.00 | 1.00 | 2.00 | 4.00 | 8.00 | ||||||
| vaaddu.vv v8,v16,v24,v0.t | 1.00 | 1.00 | 1.00 | 1.00 | 2.00 | 4.00 | 8.00 | 1.00 | 1.00 | 1.00 | 2.00 | 4.00 | 8.00 | 1.00 | 1.00 | 2.00 | 4.00 | 8.00 | 1.00 | 2.00 | 4.00 | 8.00 | ||||||
| vaaddu.vx v8,v16,t0 | 1.06 | 1.06 | 1.06 | 1.06 | 2.00 | 4.00 | 8.00 | 1.06 | 1.06 | 1.06 | 2.00 | 4.00 | 8.00 | 1.06 | 1.06 | 2.00 | 4.00 | 8.00 | 1.06 | 2.00 | 4.00 | 8.00 | ||||||
| vaaddu.vx v8,v16,t0,v0.t | 1.06 | 1.06 | 1.06 | 1.06 | 2.00 | 4.00 | 8.00 | 1.06 | 1.06 | 1.06 | 2.00 | 4.00 | 8.00 | 1.06 | 1.06 | 2.00 | 4.00 | 8.00 | 1.06 | 2.00 | 4.00 | 8.00 | ||||||
| vaadd.vv v8,v16,v24 | 1.00 | 1.00 | 1.00 | 1.00 | 2.00 | 4.00 | 8.00 | 1.00 | 1.00 | 1.00 | 2.00 | 4.00 | 8.00 | 1.00 | 1.00 | 2.00 | 4.00 | 8.00 | 1.00 | 2.00 | 4.00 | 8.00 | ||||||
| vaadd.vv v8,v16,v24,v0.t | 1.00 | 1.00 | 1.00 | 1.00 | 2.00 | 4.00 | 8.00 | 1.00 | 1.00 | 1.00 | 2.00 | 4.00 | 8.00 | 1.00 | 1.00 | 2.00 | 4.00 | 8.00 | 1.00 | 2.00 | 4.00 | 8.00 | ||||||
| vaadd.vx v8,v16,t0 | 1.06 | 1.06 | 1.06 | 1.06 | 2.00 | 4.00 | 8.00 | 1.06 | 1.06 | 1.06 | 2.00 | 4.00 | 8.00 | 1.06 | 1.06 | 2.00 | 4.00 | 8.00 | 1.06 | 2.00 | 4.00 | 8.00 | ||||||
| vaadd.vx v8,v16,t0,v0.t | 1.06 | 1.06 | 1.06 | 1.06 | 2.00 | 4.00 | 8.00 | 1.06 | 1.06 | 1.06 | 2.00 | 4.00 | 8.00 | 1.06 | 1.06 | 2.00 | 4.00 | 8.00 | 1.06 | 2.00 | 4.00 | 8.00 | ||||||
| vasubu.vv v8,v16,v24 | 1.00 | 1.00 | 1.00 | 1.00 | 2.00 | 4.00 | 8.00 | 1.00 | 1.00 | 1.00 | 2.00 | 4.00 | 8.00 | 1.00 | 1.00 | 2.00 | 4.00 | 8.00 | 1.00 | 2.00 | 4.00 | 8.00 | ||||||
| vasubu.vv v8,v16,v24,v0.t | 1.00 | 1.00 | 1.00 | 1.00 | 2.00 | 4.00 | 8.00 | 1.00 | 1.00 | 1.00 | 2.00 | 4.00 | 8.00 | 1.00 | 1.00 | 2.00 | 4.00 | 8.00 | 1.00 | 2.00 | 4.00 | 8.00 | ||||||
| vasubu.vx v8,v16,t0 | 1.06 | 1.06 | 1.06 | 1.06 | 2.00 | 4.00 | 8.00 | 1.06 | 1.06 | 1.06 | 2.00 | 4.00 | 8.00 | 1.06 | 1.06 | 2.00 | 4.00 | 8.00 | 1.06 | 2.00 | 4.00 | 8.00 | ||||||
| vasubu.vx v8,v16,t0,v0.t | 1.06 | 1.06 | 1.06 | 1.06 | 2.00 | 4.00 | 8.00 | 1.06 | 1.06 | 1.06 | 2.00 | 4.00 | 8.00 | 1.06 | 1.06 | 2.00 | 4.00 | 8.00 | 1.06 | 2.00 | 4.00 | 8.00 | ||||||
| vasub.vv v8,v16,v24 | 1.00 | 1.00 | 1.00 | 1.00 | 2.00 | 4.00 | 8.00 | 1.00 | 1.00 | 1.00 | 2.00 | 4.00 | 8.00 | 1.00 | 1.00 | 2.00 | 4.00 | 8.00 | 1.00 | 2.00 | 4.00 | 8.00 | ||||||
| vasub.vv v8,v16,v24,v0.t | 1.00 | 1.00 | 1.00 | 1.00 | 2.00 | 4.00 | 8.00 | 1.00 | 1.00 | 1.00 | 2.00 | 4.00 | 8.00 | 1.00 | 1.00 | 2.00 | 4.00 | 8.00 | 1.00 | 2.00 | 4.00 | 8.00 | ||||||
| vasub.vx v8,v16,t0 | 1.06 | 1.06 | 1.06 | 1.06 | 2.00 | 4.00 | 8.00 | 1.06 | 1.06 | 1.06 | 2.00 | 4.00 | 8.00 | 1.06 | 1.06 | 2.00 | 4.00 | 8.00 | 1.06 | 2.00 | 4.00 | 8.00 | ||||||
| vasub.vx v8,v16,t0,v0.t | 1.06 | 1.06 | 1.06 | 1.06 | 2.00 | 4.00 | 8.00 | 1.06 | 1.06 | 1.06 | 2.00 | 4.00 | 8.00 | 1.06 | 1.06 | 2.00 | 4.00 | 8.00 | 1.06 | 2.00 | 4.00 | 8.00 | ||||||
| vslide1up.vx v8,v16,t0 | 1.06 | 1.06 | 1.06 | 2.00 | 4.00 | 8.00 | 16.00 | 1.06 | 1.06 | 2.00 | 4.00 | 8.00 | 16.00 | 1.06 | 2.00 | 4.00 | 8.00 | 16.00 | 2.00 | 4.00 | 8.00 | 16.00 | ||||||
| vslide1up.vx v8,v16,t0,v0.t | 1.06 | 1.06 | 1.06 | 2.00 | 4.00 | 8.00 | 16.00 | 1.06 | 1.06 | 2.00 | 4.00 | 8.00 | 16.00 | 1.06 | 2.00 | 4.00 | 8.00 | 16.00 | 2.00 | 4.00 | 8.00 | 16.00 | ||||||
| vslide1down.vx v8,v16,t0 | 1.06 | 1.06 | 1.06 | 3.00 | 5.00 | 9.00 | 17.00 | 1.06 | 1.06 | 3.00 | 5.00 | 9.00 | 17.00 | 1.06 | 3.00 | 5.00 | 9.00 | 17.00 | 3.00 | 5.00 | 9.00 | 17.00 | ||||||
| vslide1down.vx v8,v16,t0,v0.t | 1.06 | 1.06 | 1.06 | 3.00 | 5.00 | 9.00 | 17.00 | 1.06 | 1.06 | 3.00 | 5.00 | 9.00 | 17.00 | 1.06 | 3.00 | 5.00 | 9.00 | 17.00 | 3.00 | 5.00 | 9.00 | 17.00 | ||||||
| vadc.vvm v8,v16,v24,v0 | 1.00 | 1.00 | 1.00 | 1.00 | 2.00 | 4.00 | 8.00 | 1.00 | 1.00 | 1.00 | 2.00 | 4.00 | 8.00 | 1.00 | 1.00 | 2.00 | 4.00 | 8.00 | 1.00 | 2.00 | 4.00 | 8.00 | ||||||
| vadc.vxm v8,v16,t0,v0 | 1.06 | 1.06 | 1.06 | 1.06 | 2.00 | 4.00 | 8.00 | 1.06 | 1.06 | 1.06 | 2.00 | 4.00 | 8.00 | 1.06 | 1.06 | 2.00 | 4.00 | 8.00 | 1.06 | 2.00 | 4.00 | 8.00 | ||||||
| vadc.vim v8,v16,13,v0 | 1.00 | 1.00 | 1.00 | 1.00 | 2.00 | 4.00 | 8.00 | 1.00 | 1.00 | 1.00 | 2.00 | 4.00 | 8.00 | 1.00 | 1.00 | 2.00 | 4.00 | 8.00 | 1.00 | 2.00 | 4.00 | 8.00 | ||||||
| vmadc.vvm v8,v16,v24,v0 | 1.00 | 1.00 | 1.00 | 2.00 | 2.50 | 5.00 | 11.00 | 1.00 | 1.00 | 2.00 | 2.50 | 5.00 | 18.00 | 1.00 | 2.00 | 2.50 | 5.00 | 18.00 | 2.00 | 2.50 | 5.00 | 18.00 | ||||||
| vmadc.vxm v8,v16,t0,v0 | 1.06 | 1.06 | 1.06 | 2.00 | 2.50 | 5.00 | 11.00 | 1.06 | 1.06 | 2.00 | 2.50 | 5.00 | 18.00 | 1.06 | 2.00 | 2.50 | 5.00 | 18.00 | 2.00 | 2.50 | 5.00 | 18.00 | ||||||
| vmadc.vim v8,v16,13,v0 | 1.00 | 1.00 | 1.00 | 2.00 | 2.50 | 5.00 | 11.00 | 1.00 | 1.00 | 2.00 | 2.50 | 5.00 | 18.00 | 1.00 | 2.00 | 2.50 | 5.00 | 18.00 | 2.00 | 2.50 | 5.00 | 18.00 | ||||||
| vmadc.vv v8,v16,v24 | 1.00 | 1.00 | 1.00 | 2.00 | 2.50 | 5.00 | 11.00 | 1.00 | 1.00 | 2.00 | 2.50 | 5.00 | 18.00 | 1.00 | 2.00 | 2.50 | 5.00 | 18.00 | 2.00 | 2.50 | 5.00 | 18.00 | ||||||
| vmadc.vx v8,v16,t0 | 1.06 | 1.06 | 1.06 | 2.00 | 2.50 | 5.00 | 11.00 | 1.06 | 1.06 | 2.00 | 2.50 | 5.00 | 18.00 | 1.06 | 2.00 | 2.50 | 5.00 | 18.00 | 2.00 | 2.50 | 5.00 | 18.00 | ||||||
| vmadc.vi v8,v16,13 | 1.00 | 1.00 | 1.00 | 2.00 | 2.50 | 5.00 | 11.00 | 1.00 | 1.00 | 2.00 | 2.50 | 5.00 | 18.00 | 1.00 | 2.00 | 2.50 | 5.00 | 18.00 | 2.00 | 2.50 | 5.00 | 18.00 | ||||||
| vsbc.vvm v8,v16,v24,v0 | 1.00 | 1.00 | 1.00 | 1.00 | 2.00 | 4.00 | 8.00 | 1.00 | 1.00 | 1.00 | 2.00 | 4.00 | 8.00 | 1.00 | 1.00 | 2.00 | 4.00 | 8.00 | 1.00 | 2.00 | 4.00 | 8.00 | ||||||
| vsbc.vxm v8,v16,t0,v0 | 1.06 | 1.06 | 1.06 | 1.06 | 2.00 | 4.00 | 8.00 | 1.06 | 1.06 | 1.06 | 2.00 | 4.00 | 8.00 | 1.06 | 1.06 | 2.00 | 4.00 | 8.00 | 1.06 | 2.00 | 4.00 | 8.00 | ||||||
| vmsbc.vvm v8,v16,v24,v0 | 1.00 | 1.00 | 1.00 | 2.00 | 2.50 | 5.00 | 11.00 | 1.00 | 1.00 | 2.00 | 2.50 | 5.00 | 18.00 | 1.00 | 2.00 | 2.50 | 5.00 | 18.00 | 2.00 | 2.50 | 5.00 | 18.00 | ||||||
| vmsbc.vxm v8,v16,t0,v0 | 1.06 | 1.06 | 1.06 | 2.00 | 2.50 | 5.00 | 11.00 | 1.06 | 1.06 | 2.00 | 2.50 | 5.00 | 18.00 | 1.06 | 2.00 | 2.50 | 5.00 | 18.00 | 2.00 | 2.50 | 5.00 | 18.00 | ||||||
| vmsbc.vv v8,v16,v24 | 1.00 | 1.00 | 1.00 | 2.00 | 2.50 | 5.00 | 11.00 | 1.00 | 1.00 | 2.00 | 2.50 | 5.00 | 18.00 | 1.00 | 2.00 | 2.50 | 5.00 | 18.00 | 2.00 | 2.50 | 5.00 | 18.00 | ||||||
| vmsbc.vx v8,v16,t0 | 1.06 | 1.06 | 1.06 | 2.00 | 2.50 | 5.00 | 11.00 | 1.06 | 1.06 | 2.00 | 2.50 | 5.00 | 18.00 | 1.06 | 2.00 | 2.50 | 5.00 | 18.00 | 2.00 | 2.50 | 5.00 | 18.00 | ||||||
| vmerge.vvm v8,v16,v24,v0 | 1.00 | 1.00 | 1.00 | 1.00 | 2.00 | 4.00 | 8.00 | 1.00 | 1.00 | 1.00 | 2.00 | 4.00 | 8.00 | 1.00 | 1.00 | 2.00 | 4.00 | 8.00 | 1.00 | 2.00 | 4.00 | 8.00 | ||||||
| vmerge.vxm v8,v16,t0,v0 | 1.06 | 1.06 | 1.06 | 1.06 | 2.00 | 4.00 | 8.00 | 1.06 | 1.06 | 1.06 | 2.00 | 4.00 | 8.00 | 1.06 | 1.06 | 2.00 | 4.00 | 8.00 | 1.06 | 2.00 | 4.00 | 8.00 | ||||||
| vmerge.vim v8,v16,13,v0 | 1.00 | 1.00 | 1.00 | 1.00 | 2.00 | 4.00 | 8.00 | 1.00 | 1.00 | 1.00 | 2.00 | 4.00 | 8.00 | 1.00 | 1.00 | 2.00 | 4.00 | 8.00 | 1.00 | 2.00 | 4.00 | 8.00 | ||||||
| vmv.v.v v8,v16 | 1.00 | 1.00 | 1.00 | 1.00 | 2.00 | 4.00 | 8.00 | 1.00 | 1.00 | 1.00 | 2.00 | 4.00 | 8.00 | 1.00 | 1.00 | 2.00 | 4.00 | 8.00 | 1.00 | 2.00 | 4.00 | 8.00 | ||||||
| vmv.v.x v8,t0 | 1.06 | 1.06 | 1.06 | 1.06 | 2.00 | 4.00 | 8.00 | 1.06 | 1.06 | 1.06 | 2.00 | 4.00 | 8.00 | 1.06 | 1.06 | 2.00 | 4.00 | 8.00 | 1.06 | 2.00 | 4.00 | 8.00 | ||||||
| vmv.v.i v8,13 | 1.00 | 1.00 | 1.00 | 1.00 | 2.00 | 4.00 | 8.00 | 1.00 | 1.00 | 1.00 | 2.00 | 4.00 | 8.00 | 1.00 | 1.00 | 2.00 | 4.00 | 8.00 | 1.00 | 2.00 | 4.00 | 8.00 | ||||||
| vmseq.vv v8,v16,v24 | 1.00 | 1.00 | 1.00 | 2.00 | 2.50 | 5.00 | 11.00 | 1.00 | 1.00 | 2.00 | 2.50 | 5.00 | 18.00 | 1.00 | 2.00 | 2.50 | 5.00 | 18.00 | 2.00 | 2.50 | 5.00 | 18.00 | ||||||
| vmseq.vv v8,v16,v24,v0.t | 1.00 | 1.00 | 1.00 | 2.00 | 2.50 | 5.00 | 11.00 | 1.00 | 1.00 | 2.00 | 2.50 | 5.00 | 18.00 | 1.00 | 2.00 | 2.50 | 5.00 | 18.00 | 2.00 | 2.50 | 5.00 | 18.00 | ||||||
| vmseq.vx v8,v16,t0 | 1.06 | 1.06 | 1.06 | 2.00 | 2.50 | 5.00 | 11.00 | 1.06 | 1.06 | 2.00 | 2.50 | 5.00 | 18.00 | 1.06 | 2.00 | 2.50 | 5.00 | 18.00 | 2.00 | 2.50 | 5.00 | 18.00 | ||||||
| vmseq.vx v8,v16,t0,v0.t | 1.06 | 1.06 | 1.06 | 2.00 | 2.50 | 5.00 | 11.00 | 1.06 | 1.06 | 2.00 | 2.50 | 5.00 | 18.00 | 1.06 | 2.00 | 2.50 | 5.00 | 18.00 | 2.00 | 2.50 | 5.00 | 18.00 | ||||||
| vmseq.vi v8,v16,13 | 1.00 | 1.00 | 1.00 | 2.00 | 2.50 | 5.00 | 11.00 | 1.00 | 1.00 | 2.00 | 2.50 | 5.00 | 18.00 | 1.00 | 2.00 | 2.50 | 5.00 | 18.00 | 2.00 | 2.50 | 5.00 | 18.00 | ||||||
| vmseq.vi v8,v16,13,v0.t | 1.00 | 1.00 | 1.00 | 2.00 | 2.50 | 5.00 | 11.00 | 1.00 | 1.00 | 2.00 | 2.50 | 5.00 | 18.00 | 1.00 | 2.00 | 2.50 | 5.00 | 18.00 | 2.00 | 2.50 | 5.00 | 18.00 | ||||||
| vmsne.vv v8,v16,v24 | 1.00 | 1.00 | 1.00 | 2.00 | 2.50 | 5.00 | 11.00 | 1.00 | 1.00 | 2.00 | 2.50 | 5.00 | 18.00 | 1.00 | 2.00 | 2.50 | 5.00 | 18.00 | 2.00 | 2.50 | 5.00 | 18.00 | ||||||
| vmsne.vv v8,v16,v24,v0.t | 1.00 | 1.00 | 1.00 | 2.00 | 2.50 | 5.00 | 11.00 | 1.00 | 1.00 | 2.00 | 2.50 | 5.00 | 18.00 | 1.00 | 2.00 | 2.50 | 5.00 | 18.00 | 2.00 | 2.50 | 5.00 | 18.00 | ||||||
| vmsne.vx v8,v16,t0 | 1.06 | 1.06 | 1.06 | 2.00 | 2.50 | 5.00 | 11.00 | 1.06 | 1.06 | 2.00 | 2.50 | 5.00 | 18.00 | 1.06 | 2.00 | 2.50 | 5.00 | 18.00 | 2.00 | 2.50 | 5.00 | 18.00 | ||||||
| vmsne.vx v8,v16,t0,v0.t | 1.06 | 1.06 | 1.06 | 2.00 | 2.50 | 5.00 | 11.00 | 1.06 | 1.06 | 2.00 | 2.50 | 5.00 | 18.00 | 1.06 | 2.00 | 2.50 | 5.00 | 18.00 | 2.00 | 2.50 | 5.00 | 18.00 | ||||||
| vmsne.vi v8,v16,13 | 1.00 | 1.00 | 1.00 | 2.00 | 2.50 | 5.00 | 11.00 | 1.00 | 1.00 | 2.00 | 2.50 | 5.00 | 18.00 | 1.00 | 2.00 | 2.50 | 5.00 | 18.00 | 2.00 | 2.50 | 5.00 | 18.00 | ||||||
| vmsne.vi v8,v16,13,v0.t | 1.00 | 1.00 | 1.00 | 2.00 | 2.50 | 5.00 | 11.00 | 1.00 | 1.00 | 2.00 | 2.50 | 5.00 | 18.00 | 1.00 | 2.00 | 2.50 | 5.00 | 18.00 | 2.00 | 2.50 | 5.00 | 18.00 | ||||||
| vmsltu.vv v8,v16,v24 | 1.00 | 1.00 | 1.00 | 2.00 | 2.50 | 5.00 | 11.00 | 1.00 | 1.00 | 2.00 | 2.50 | 5.00 | 18.00 | 1.00 | 2.00 | 2.50 | 5.00 | 18.00 | 2.00 | 2.50 | 5.00 | 18.00 | ||||||
| vmsltu.vv v8,v16,v24,v0.t | 1.00 | 1.00 | 1.00 | 2.00 | 2.50 | 5.00 | 11.00 | 1.00 | 1.00 | 2.00 | 2.50 | 5.00 | 18.00 | 1.00 | 2.00 | 2.50 | 5.00 | 18.00 | 2.00 | 2.50 | 5.00 | 18.00 | ||||||
| vmsltu.vx v8,v16,t0 | 1.06 | 1.06 | 1.06 | 2.00 | 2.50 | 5.00 | 11.00 | 1.06 | 1.06 | 2.00 | 2.50 | 5.00 | 18.00 | 1.06 | 2.00 | 2.50 | 5.00 | 18.00 | 2.00 | 2.50 | 5.00 | 18.00 | ||||||
| vmsltu.vx v8,v16,t0,v0.t | 1.06 | 1.06 | 1.06 | 2.00 | 2.50 | 5.00 | 11.00 | 1.06 | 1.06 | 2.00 | 2.50 | 5.00 | 18.00 | 1.06 | 2.00 | 2.50 | 5.00 | 18.00 | 2.00 | 2.50 | 5.00 | 18.00 | ||||||
| vmslt.vv v8,v16,v24 | 1.00 | 1.00 | 1.00 | 2.00 | 2.50 | 5.00 | 11.00 | 1.00 | 1.00 | 2.00 | 2.50 | 5.00 | 18.00 | 1.00 | 2.00 | 2.50 | 5.00 | 18.00 | 2.00 | 2.50 | 5.00 | 18.00 | ||||||
| vmslt.vv v8,v16,v24,v0.t | 1.00 | 1.00 | 1.00 | 2.00 | 2.50 | 5.00 | 11.00 | 1.00 | 1.00 | 2.00 | 2.50 | 5.00 | 18.00 | 1.00 | 2.00 | 2.50 | 5.00 | 18.00 | 2.00 | 2.50 | 5.00 | 18.00 | ||||||
| vmslt.vx v8,v16,t0 | 1.06 | 1.06 | 1.06 | 2.00 | 2.50 | 5.00 | 11.00 | 1.06 | 1.06 | 2.00 | 2.50 | 5.00 | 18.00 | 1.06 | 2.00 | 2.50 | 5.00 | 18.00 | 2.00 | 2.50 | 5.00 | 18.00 | ||||||
| vmslt.vx v8,v16,t0,v0.t | 1.06 | 1.06 | 1.06 | 2.00 | 2.50 | 5.00 | 11.00 | 1.06 | 1.06 | 2.00 | 2.50 | 5.00 | 18.00 | 1.06 | 2.00 | 2.50 | 5.00 | 18.00 | 2.00 | 2.50 | 5.00 | 18.00 | ||||||
| vmsleu.vv v8,v16,v24 | 1.00 | 1.00 | 1.00 | 2.00 | 2.50 | 5.00 | 11.00 | 1.00 | 1.00 | 2.00 | 2.50 | 5.00 | 18.00 | 1.00 | 2.00 | 2.50 | 5.00 | 18.00 | 2.00 | 2.50 | 5.00 | 18.00 | ||||||
| vmsleu.vv v8,v16,v24,v0.t | 1.00 | 1.00 | 1.00 | 2.00 | 2.50 | 5.00 | 11.00 | 1.00 | 1.00 | 2.00 | 2.50 | 5.00 | 18.00 | 1.00 | 2.00 | 2.50 | 5.00 | 18.00 | 2.00 | 2.50 | 5.00 | 18.00 | ||||||
| vmsleu.vx v8,v16,t0 | 1.06 | 1.06 | 1.06 | 2.00 | 2.50 | 5.00 | 11.00 | 1.06 | 1.06 | 2.00 | 2.50 | 5.00 | 18.00 | 1.06 | 2.00 | 2.50 | 5.00 | 18.00 | 2.00 | 2.50 | 5.00 | 18.00 | ||||||
| vmsleu.vx v8,v16,t0,v0.t | 1.06 | 1.06 | 1.06 | 2.00 | 2.50 | 5.00 | 11.00 | 1.06 | 1.06 | 2.00 | 2.50 | 5.00 | 18.00 | 1.06 | 2.00 | 2.50 | 5.00 | 18.00 | 2.00 | 2.50 | 5.00 | 18.00 | ||||||
| vmsleu.vi v8,v16,13 | 1.00 | 1.00 | 1.00 | 2.00 | 2.50 | 5.00 | 11.00 | 1.00 | 1.00 | 2.00 | 2.50 | 5.00 | 18.00 | 1.00 | 2.00 | 2.50 | 5.00 | 18.00 | 2.00 | 2.50 | 5.00 | 18.00 | ||||||
| vmsleu.vi v8,v16,13,v0.t | 1.00 | 1.00 | 1.00 | 2.00 | 2.50 | 5.00 | 11.00 | 1.00 | 1.00 | 2.00 | 2.50 | 5.00 | 18.00 | 1.00 | 2.00 | 2.50 | 5.00 | 18.00 | 2.00 | 2.50 | 5.00 | 18.00 | ||||||
| vmsle.vv v8,v16,v24 | 1.00 | 1.00 | 1.00 | 2.00 | 2.50 | 5.00 | 11.00 | 1.00 | 1.00 | 2.00 | 2.50 | 5.00 | 18.00 | 1.00 | 2.00 | 2.50 | 5.00 | 18.00 | 2.00 | 2.50 | 5.00 | 18.00 | ||||||
| vmsle.vv v8,v16,v24,v0.t | 1.00 | 1.00 | 1.00 | 2.00 | 2.50 | 5.00 | 11.00 | 1.00 | 1.00 | 2.00 | 2.50 | 5.00 | 18.00 | 1.00 | 2.00 | 2.50 | 5.00 | 18.00 | 2.00 | 2.50 | 5.00 | 18.00 | ||||||
| vmsle.vx v8,v16,t0 | 1.06 | 1.06 | 1.06 | 2.00 | 2.50 | 5.00 | 11.00 | 1.06 | 1.06 | 2.00 | 2.50 | 5.00 | 18.00 | 1.06 | 2.00 | 2.50 | 5.00 | 18.00 | 2.00 | 2.50 | 5.00 | 18.00 | ||||||
| vmsle.vx v8,v16,t0,v0.t | 1.06 | 1.06 | 1.06 | 2.00 | 2.50 | 5.00 | 11.00 | 1.06 | 1.06 | 2.00 | 2.50 | 5.00 | 18.00 | 1.06 | 2.00 | 2.50 | 5.00 | 18.00 | 2.00 | 2.50 | 5.00 | 18.00 | ||||||
| vmsle.vi v8,v16,13 | 1.00 | 1.00 | 1.00 | 2.00 | 2.50 | 5.00 | 11.00 | 1.00 | 1.00 | 2.00 | 2.50 | 5.00 | 18.00 | 1.00 | 2.00 | 2.50 | 5.00 | 18.00 | 2.00 | 2.50 | 5.00 | 18.00 | ||||||
| vmsle.vi v8,v16,13,v0.t | 1.00 | 1.00 | 1.00 | 2.00 | 2.50 | 5.00 | 11.00 | 1.00 | 1.00 | 2.00 | 2.50 | 5.00 | 18.00 | 1.00 | 2.00 | 2.50 | 5.00 | 18.00 | 2.00 | 2.50 | 5.00 | 18.00 | ||||||
| vmsgtu.vx v8,v16,t0 | 1.06 | 1.06 | 1.06 | 2.00 | 2.50 | 5.00 | 11.00 | 1.06 | 1.06 | 2.00 | 2.50 | 5.00 | 18.00 | 1.06 | 2.00 | 2.50 | 5.00 | 18.00 | 2.00 | 2.50 | 5.00 | 18.00 | ||||||
| vmsgtu.vx v8,v16,t0,v0.t | 1.06 | 1.06 | 1.06 | 2.00 | 2.50 | 5.00 | 11.00 | 1.06 | 1.06 | 2.00 | 2.50 | 5.00 | 18.00 | 1.06 | 2.00 | 2.50 | 5.00 | 18.00 | 2.00 | 2.50 | 5.00 | 18.00 | ||||||
| vmsgtu.vi v8,v16,13 | 1.00 | 1.00 | 1.00 | 2.00 | 2.50 | 5.00 | 11.00 | 1.00 | 1.00 | 2.00 | 2.50 | 5.00 | 18.00 | 1.00 | 2.00 | 2.50 | 5.00 | 18.00 | 2.00 | 2.50 | 5.00 | 18.00 | ||||||
| vmsgtu.vi v8,v16,13,v0.t | 1.00 | 1.00 | 1.00 | 2.00 | 2.50 | 5.00 | 11.00 | 1.00 | 1.00 | 2.00 | 2.50 | 5.00 | 18.00 | 1.00 | 2.00 | 2.50 | 5.00 | 18.00 | 2.00 | 2.50 | 5.00 | 18.00 | ||||||
| vmsgt.vx v8,v16,t0 | 1.06 | 1.06 | 1.06 | 2.00 | 2.50 | 5.00 | 11.00 | 1.06 | 1.06 | 2.00 | 2.50 | 5.00 | 18.00 | 1.06 | 2.00 | 2.50 | 5.00 | 18.00 | 2.00 | 2.50 | 5.00 | 18.00 | ||||||
| vmsgt.vx v8,v16,t0,v0.t | 1.06 | 1.06 | 1.06 | 2.00 | 2.50 | 5.00 | 11.00 | 1.06 | 1.06 | 2.00 | 2.50 | 5.00 | 18.00 | 1.06 | 2.00 | 2.50 | 5.00 | 18.00 | 2.00 | 2.50 | 5.00 | 18.00 | ||||||
| vmsgt.vi v8,v16,13 | 1.00 | 1.00 | 1.00 | 2.00 | 2.50 | 5.00 | 11.00 | 1.00 | 1.00 | 2.00 | 2.50 | 5.00 | 18.00 | 1.00 | 2.00 | 2.50 | 5.00 | 18.00 | 2.00 | 2.50 | 5.00 | 18.00 | ||||||
| vmsgt.vi v8,v16,13,v0.t | 1.00 | 1.00 | 1.00 | 2.00 | 2.50 | 5.00 | 11.00 | 1.00 | 1.00 | 2.00 | 2.50 | 5.00 | 18.00 | 1.00 | 2.00 | 2.50 | 5.00 | 18.00 | 2.00 | 2.50 | 5.00 | 18.00 | ||||||
| vcompress.vm v8,v16,v24 | 1.00 | 1.00 | 1.00 | 3.00 | 10.00 | 36.00 | 135.95 | 1.00 | 1.00 | 3.00 | 10.00 | 36.00 | 135.95 | 1.00 | 3.00 | 10.00 | 36.00 | 135.96 | 3.00 | 10.00 | 36.00 | 135.95 | ||||||
| vmandn.mm v8,v16,v24 | 1.00 | 1.00 | 1.00 | 1.00 | 1.00 | 1.00 | 1.00 | 1.00 | 1.00 | 1.00 | 1.00 | 1.00 | 1.00 | 1.00 | 1.00 | 1.00 | 1.00 | 1.00 | 1.00 | 1.00 | 1.00 | 1.00 | ||||||
| vmand.mm v8,v16,v24 | 1.00 | 1.00 | 1.00 | 1.00 | 1.00 | 1.00 | 1.00 | 1.00 | 1.00 | 1.00 | 1.00 | 1.00 | 1.00 | 1.00 | 1.00 | 1.00 | 1.00 | 1.00 | 1.00 | 1.00 | 1.00 | 1.00 | ||||||
| vmor.mm v8,v16,v24 | 1.00 | 1.00 | 1.00 | 1.00 | 1.00 | 1.00 | 1.00 | 1.00 | 1.00 | 1.00 | 1.00 | 1.00 | 1.00 | 1.00 | 1.00 | 1.00 | 1.00 | 1.00 | 1.00 | 1.00 | 1.00 | 1.00 | ||||||
| vmxor.mm v8,v16,v24 | 1.00 | 1.00 | 1.00 | 1.00 | 1.00 | 1.00 | 1.00 | 1.00 | 1.00 | 1.00 | 1.00 | 1.00 | 1.00 | 1.00 | 1.00 | 1.00 | 1.00 | 1.00 | 1.00 | 1.00 | 1.00 | 1.00 | ||||||
| vmorn.mm v8,v16,v24 | 1.00 | 1.00 | 1.00 | 1.00 | 1.00 | 1.00 | 1.00 | 1.00 | 1.00 | 1.00 | 1.00 | 1.00 | 1.00 | 1.00 | 1.00 | 1.00 | 1.00 | 1.00 | 1.00 | 1.00 | 1.00 | 1.00 | ||||||
| vmnand.mm v8,v16,v24 | 1.00 | 1.00 | 1.00 | 1.00 | 1.00 | 1.00 | 1.00 | 1.00 | 1.00 | 1.00 | 1.00 | 1.00 | 1.00 | 1.00 | 1.00 | 1.00 | 1.00 | 1.00 | 1.00 | 1.00 | 1.00 | 1.00 | ||||||
| vmnor.mm v8,v16,v24 | 1.00 | 1.00 | 1.00 | 1.00 | 1.00 | 1.00 | 1.00 | 1.00 | 1.00 | 1.00 | 1.00 | 1.00 | 1.00 | 1.00 | 1.00 | 1.00 | 1.00 | 1.00 | 1.00 | 1.00 | 1.00 | 1.00 | ||||||
| vmxnor.mm v8,v16,v24 | 1.00 | 1.00 | 1.00 | 1.00 | 1.00 | 1.00 | 1.00 | 1.00 | 1.00 | 1.00 | 1.00 | 1.00 | 1.00 | 1.00 | 1.00 | 1.00 | 1.00 | 1.00 | 1.00 | 1.00 | 1.00 | 1.00 | ||||||
| vsaddu.vv v8,v16,v24 | 1.00 | 1.00 | 1.00 | 1.00 | 2.00 | 4.00 | 8.00 | 1.00 | 1.00 | 1.00 | 2.00 | 4.00 | 8.00 | 1.00 | 1.00 | 2.00 | 4.00 | 8.00 | 1.00 | 2.00 | 4.00 | 8.00 | ||||||
| vsaddu.vv v8,v16,v24,v0.t | 1.00 | 1.00 | 1.00 | 1.00 | 2.00 | 4.00 | 8.00 | 1.00 | 1.00 | 1.00 | 2.00 | 4.00 | 8.00 | 1.00 | 1.00 | 2.00 | 4.00 | 8.00 | 1.00 | 2.00 | 4.00 | 8.00 | ||||||
| vsaddu.vx v8,v16,t0 | 1.06 | 1.06 | 1.06 | 1.06 | 2.00 | 4.00 | 8.00 | 1.06 | 1.06 | 1.06 | 2.00 | 4.00 | 8.00 | 1.06 | 1.06 | 2.00 | 4.00 | 8.00 | 1.06 | 2.00 | 4.00 | 8.00 | ||||||
| vsaddu.vx v8,v16,t0,v0.t | 1.06 | 1.06 | 1.06 | 1.06 | 2.00 | 4.00 | 8.00 | 1.06 | 1.06 | 1.06 | 2.00 | 4.00 | 8.00 | 1.06 | 1.06 | 2.00 | 4.00 | 8.00 | 1.06 | 2.00 | 4.00 | 8.00 | ||||||
| vsaddu.vi v8,v16,13 | 1.00 | 1.00 | 1.00 | 1.00 | 2.00 | 4.00 | 8.00 | 1.00 | 1.00 | 1.00 | 2.00 | 4.00 | 8.00 | 1.00 | 1.00 | 2.00 | 4.00 | 8.00 | 1.00 | 2.00 | 4.00 | 8.00 | ||||||
| vsaddu.vi v8,v16,13,v0.t | 1.00 | 1.00 | 1.00 | 1.00 | 2.00 | 4.00 | 8.00 | 1.00 | 1.00 | 1.00 | 2.00 | 4.00 | 8.00 | 1.00 | 1.00 | 2.00 | 4.00 | 8.00 | 1.00 | 2.00 | 4.00 | 8.00 | ||||||
| vsadd.vv v8,v16,v24 | 1.00 | 1.00 | 1.00 | 1.00 | 2.00 | 4.00 | 8.00 | 1.00 | 1.00 | 1.00 | 2.00 | 4.00 | 8.00 | 1.00 | 1.00 | 2.00 | 4.00 | 8.00 | 1.00 | 2.00 | 4.00 | 8.00 | ||||||
| vsadd.vv v8,v16,v24,v0.t | 1.00 | 1.00 | 1.00 | 1.00 | 2.00 | 4.00 | 8.00 | 1.00 | 1.00 | 1.00 | 2.00 | 4.00 | 8.00 | 1.00 | 1.00 | 2.00 | 4.00 | 8.00 | 1.00 | 2.00 | 4.00 | 8.00 | ||||||
| vsadd.vx v8,v16,t0 | 1.06 | 1.06 | 1.06 | 1.06 | 2.00 | 4.00 | 8.00 | 1.06 | 1.06 | 1.06 | 2.00 | 4.00 | 8.00 | 1.06 | 1.06 | 2.00 | 4.00 | 8.00 | 1.06 | 2.00 | 4.00 | 8.00 | ||||||
| vsadd.vx v8,v16,t0,v0.t | 1.06 | 1.06 | 1.06 | 1.06 | 2.00 | 4.00 | 8.00 | 1.06 | 1.06 | 1.06 | 2.00 | 4.00 | 8.00 | 1.06 | 1.06 | 2.00 | 4.00 | 8.00 | 1.06 | 2.00 | 4.00 | 8.00 | ||||||
| vsadd.vi v8,v16,13 | 1.00 | 1.00 | 1.00 | 1.00 | 2.00 | 4.00 | 8.00 | 1.00 | 1.00 | 1.00 | 2.00 | 4.00 | 8.00 | 1.00 | 1.00 | 2.00 | 4.00 | 8.00 | 1.00 | 2.00 | 4.00 | 8.00 | ||||||
| vsadd.vi v8,v16,13,v0.t | 1.00 | 1.00 | 1.00 | 1.00 | 2.00 | 4.00 | 8.00 | 1.00 | 1.00 | 1.00 | 2.00 | 4.00 | 8.00 | 1.00 | 1.00 | 2.00 | 4.00 | 8.00 | 1.00 | 2.00 | 4.00 | 8.00 | ||||||
| vssubu.vv v8,v16,v24 | 1.00 | 1.00 | 1.00 | 1.00 | 2.00 | 4.00 | 8.00 | 1.00 | 1.00 | 1.00 | 2.00 | 4.00 | 8.00 | 1.00 | 1.00 | 2.00 | 4.00 | 8.00 | 1.00 | 2.00 | 4.00 | 8.00 | ||||||
| vssubu.vv v8,v16,v24,v0.t | 1.00 | 1.00 | 1.00 | 1.00 | 2.00 | 4.00 | 8.00 | 1.00 | 1.00 | 1.00 | 2.00 | 4.00 | 8.00 | 1.00 | 1.00 | 2.00 | 4.00 | 8.00 | 1.00 | 2.00 | 4.00 | 8.00 | ||||||
| vssubu.vx v8,v16,t0 | 1.06 | 1.06 | 1.06 | 1.06 | 2.00 | 4.00 | 8.00 | 1.06 | 1.06 | 1.06 | 2.00 | 4.00 | 8.00 | 1.06 | 1.06 | 2.00 | 4.00 | 8.00 | 1.06 | 2.00 | 4.00 | 8.00 | ||||||
| vssubu.vx v8,v16,t0,v0.t | 1.06 | 1.06 | 1.06 | 1.06 | 2.00 | 4.00 | 8.00 | 1.06 | 1.06 | 1.06 | 2.00 | 4.00 | 8.00 | 1.06 | 1.06 | 2.00 | 4.00 | 8.00 | 1.06 | 2.00 | 4.00 | 8.00 | ||||||
| vssub.vv v8,v16,v24 | 1.00 | 1.00 | 1.00 | 1.00 | 2.00 | 4.00 | 8.00 | 1.00 | 1.00 | 1.00 | 2.00 | 4.00 | 8.00 | 1.00 | 1.00 | 2.00 | 4.00 | 8.00 | 1.00 | 2.00 | 4.00 | 8.00 | ||||||
| vssub.vv v8,v16,v24,v0.t | 1.00 | 1.00 | 1.00 | 1.00 | 2.00 | 4.00 | 8.00 | 1.00 | 1.00 | 1.00 | 2.00 | 4.00 | 8.00 | 1.00 | 1.00 | 2.00 | 4.00 | 8.00 | 1.00 | 2.00 | 4.00 | 8.00 | ||||||
| vssub.vx v8,v16,t0 | 1.06 | 1.06 | 1.06 | 1.06 | 2.00 | 4.00 | 8.00 | 1.06 | 1.06 | 1.06 | 2.00 | 4.00 | 8.00 | 1.06 | 1.06 | 2.00 | 4.00 | 8.00 | 1.06 | 2.00 | 4.00 | 8.00 | ||||||
| vssub.vx v8,v16,t0,v0.t | 1.06 | 1.06 | 1.06 | 1.06 | 2.00 | 4.00 | 8.00 | 1.06 | 1.06 | 1.06 | 2.00 | 4.00 | 8.00 | 1.06 | 1.06 | 2.00 | 4.00 | 8.00 | 1.06 | 2.00 | 4.00 | 8.00 | ||||||
| vsll.vv v8,v16,v24 | 1.00 | 1.00 | 1.00 | 2.00 | 4.00 | 8.00 | 16.00 | 1.00 | 1.00 | 2.00 | 4.00 | 8.00 | 16.00 | 1.00 | 2.00 | 4.00 | 8.00 | 16.00 | 2.00 | 4.00 | 8.00 | 16.00 | ||||||
| vsll.vv v8,v16,v24,v0.t | 1.00 | 1.00 | 1.00 | 2.00 | 4.00 | 8.00 | 16.00 | 1.00 | 1.00 | 2.00 | 4.00 | 8.00 | 16.00 | 1.00 | 2.00 | 4.00 | 8.00 | 16.00 | 2.00 | 4.00 | 8.00 | 16.00 | ||||||
| vsll.vx v8,v16,t0 | 1.06 | 1.06 | 1.06 | 2.00 | 4.00 | 8.00 | 16.00 | 1.06 | 1.06 | 2.00 | 4.00 | 8.00 | 16.00 | 1.06 | 2.00 | 4.00 | 8.00 | 16.00 | 2.00 | 4.00 | 8.00 | 16.00 | ||||||
| vsll.vx v8,v16,t0,v0.t | 1.06 | 1.06 | 1.06 | 2.00 | 4.00 | 8.00 | 16.00 | 1.06 | 1.06 | 2.00 | 4.00 | 8.00 | 16.00 | 1.06 | 2.00 | 4.00 | 8.00 | 16.00 | 2.00 | 4.00 | 8.00 | 16.00 | ||||||
| vsll.vi v8,v16,13 | 1.00 | 1.00 | 1.00 | 2.00 | 4.00 | 8.00 | 16.00 | 1.00 | 1.00 | 2.00 | 4.00 | 8.00 | 16.00 | 1.00 | 2.00 | 4.00 | 8.00 | 16.00 | 2.00 | 4.00 | 8.00 | 16.00 | ||||||
| vsll.vi v8,v16,13,v0.t | 1.00 | 1.00 | 1.00 | 2.00 | 4.00 | 8.00 | 16.00 | 1.00 | 1.00 | 2.00 | 4.00 | 8.00 | 16.00 | 1.00 | 2.00 | 4.00 | 8.00 | 16.00 | 2.00 | 4.00 | 8.00 | 16.00 | ||||||
| vsmul.vv v8,v16,v24 | 1.00 | 1.00 | 1.00 | 1.00 | 2.00 | 4.00 | 8.00 | 1.00 | 1.00 | 1.00 | 2.00 | 4.00 | 8.00 | 1.00 | 1.00 | 2.00 | 4.00 | 8.00 | 4.00 | 8.00 | 16.00 | 32.00 | ||||||
| vsmul.vv v8,v16,v24,v0.t | 1.00 | 1.00 | 1.00 | 1.00 | 2.00 | 4.00 | 8.00 | 1.00 | 1.00 | 1.00 | 2.00 | 4.00 | 8.00 | 1.00 | 1.00 | 2.00 | 4.00 | 8.00 | 4.00 | 8.00 | 16.00 | 32.00 | ||||||
| vsmul.vx v8,v16,t0 | 1.06 | 1.06 | 1.06 | 1.06 | 2.00 | 4.00 | 8.00 | 1.06 | 1.06 | 1.06 | 2.00 | 4.00 | 8.00 | 1.06 | 1.06 | 2.00 | 4.00 | 8.00 | 4.00 | 8.00 | 16.00 | 32.00 | ||||||
| vsmul.vx v8,v16,t0,v0.t | 1.06 | 1.06 | 1.06 | 1.06 | 2.00 | 4.00 | 8.00 | 1.06 | 1.06 | 1.06 | 2.00 | 4.00 | 8.00 | 1.06 | 1.06 | 2.00 | 4.00 | 8.00 | 4.00 | 8.00 | 16.00 | 32.00 | ||||||
| vmv1r.v v8,v16 | 1.00 | 1.00 | 1.00 | 1.00 | 1.00 | 1.00 | 2.00 | 1.00 | 1.00 | 1.00 | 1.00 | 1.00 | 2.00 | 1.00 | 1.00 | 1.00 | 1.00 | 2.00 | 1.00 | 1.00 | 1.00 | 2.00 | ||||||
| vmv2r.v v8,v16 | 2.00 | 2.00 | 3.00 | 2.00 | 2.00 | 3.00 | 2.00 | 2.00 | 3.00 | 2.00 | 2.00 | 3.00 | ||||||||||||||||
| vmv4r.v v8,v16 | 4.00 | 4.00 | 4.00 | 4.00 | 4.00 | 4.00 | 4.00 | 4.00 | ||||||||||||||||||||
| vmv8r.v v8,v16 | 8.00 | 8.00 | 8.00 | 8.00 | ||||||||||||||||||||||||
| vsrl.vv v8,v16,v24 | 1.00 | 1.00 | 1.00 | 2.00 | 4.00 | 8.00 | 16.00 | 1.00 | 1.00 | 2.00 | 4.00 | 8.00 | 16.00 | 1.00 | 2.00 | 4.00 | 8.00 | 16.00 | 2.00 | 4.00 | 8.00 | 16.00 | ||||||
| vsrl.vv v8,v16,v24,v0.t | 1.00 | 1.00 | 1.00 | 2.00 | 4.00 | 8.00 | 16.00 | 1.00 | 1.00 | 2.00 | 4.00 | 8.00 | 16.00 | 1.00 | 2.00 | 4.00 | 8.00 | 16.00 | 2.00 | 4.00 | 8.00 | 16.00 | ||||||
| vsrl.vx v8,v16,t0 | 1.06 | 1.06 | 1.06 | 2.00 | 4.00 | 8.00 | 16.00 | 1.06 | 1.06 | 2.00 | 4.00 | 8.00 | 16.00 | 1.06 | 2.00 | 4.00 | 8.00 | 16.00 | 2.00 | 4.00 | 8.00 | 16.00 | ||||||
| vsrl.vx v8,v16,t0,v0.t | 1.06 | 1.06 | 1.06 | 2.00 | 4.00 | 8.00 | 16.00 | 1.06 | 1.06 | 2.00 | 4.00 | 8.00 | 16.00 | 1.06 | 2.00 | 4.00 | 8.00 | 16.00 | 2.00 | 4.00 | 8.00 | 16.00 | ||||||
| vsrl.vi v8,v16,13 | 1.00 | 1.00 | 1.00 | 2.00 | 4.00 | 8.00 | 16.00 | 1.00 | 1.00 | 2.00 | 4.00 | 8.00 | 16.00 | 1.00 | 2.00 | 4.00 | 8.00 | 16.00 | 2.00 | 4.00 | 8.00 | 16.00 | ||||||
| vsrl.vi v8,v16,13,v0.t | 1.00 | 1.00 | 1.00 | 2.00 | 4.00 | 8.00 | 16.00 | 1.00 | 1.00 | 2.00 | 4.00 | 8.00 | 16.00 | 1.00 | 2.00 | 4.00 | 8.00 | 16.00 | 2.00 | 4.00 | 8.00 | 16.00 | ||||||
| vsra.vv v8,v16,v24 | 1.00 | 1.00 | 1.00 | 2.00 | 4.00 | 8.00 | 16.00 | 1.00 | 1.00 | 2.00 | 4.00 | 8.00 | 16.00 | 1.00 | 2.00 | 4.00 | 8.00 | 16.00 | 2.00 | 4.00 | 8.00 | 16.00 | ||||||
| vsra.vv v8,v16,v24,v0.t | 1.00 | 1.00 | 1.00 | 2.00 | 4.00 | 8.00 | 16.00 | 1.00 | 1.00 | 2.00 | 4.00 | 8.00 | 16.00 | 1.00 | 2.00 | 4.00 | 8.00 | 16.00 | 2.00 | 4.00 | 8.00 | 16.00 | ||||||
| vsra.vx v8,v16,t0 | 1.06 | 1.06 | 1.06 | 2.00 | 4.00 | 8.00 | 16.00 | 1.06 | 1.06 | 2.00 | 4.00 | 8.00 | 16.00 | 1.06 | 2.00 | 4.00 | 8.00 | 16.00 | 2.00 | 4.00 | 8.00 | 16.00 | ||||||
| vsra.vx v8,v16,t0,v0.t | 1.06 | 1.06 | 1.06 | 2.00 | 4.00 | 8.00 | 16.00 | 1.06 | 1.06 | 2.00 | 4.00 | 8.00 | 16.00 | 1.06 | 2.00 | 4.00 | 8.00 | 16.00 | 2.00 | 4.00 | 8.00 | 16.00 | ||||||
| vsra.vi v8,v16,13 | 1.00 | 1.00 | 1.00 | 2.00 | 4.00 | 8.00 | 16.00 | 1.00 | 1.00 | 2.00 | 4.00 | 8.00 | 16.00 | 1.00 | 2.00 | 4.00 | 8.00 | 16.00 | 2.00 | 4.00 | 8.00 | 16.00 | ||||||
| vsra.vi v8,v16,13,v0.t | 1.00 | 1.00 | 1.00 | 2.00 | 4.00 | 8.00 | 16.00 | 1.00 | 1.00 | 2.00 | 4.00 | 8.00 | 16.00 | 1.00 | 2.00 | 4.00 | 8.00 | 16.00 | 2.00 | 4.00 | 8.00 | 16.00 | ||||||
| vssrl.vv v8,v16,v24 | 1.00 | 1.00 | 1.00 | 2.00 | 4.00 | 8.00 | 16.00 | 1.00 | 1.00 | 2.00 | 4.00 | 8.00 | 16.00 | 1.00 | 2.00 | 4.00 | 8.00 | 16.00 | 2.00 | 4.00 | 8.00 | 16.00 | ||||||
| vssrl.vv v8,v16,v24,v0.t | 1.00 | 1.00 | 1.00 | 2.00 | 4.00 | 8.00 | 16.00 | 1.00 | 1.00 | 2.00 | 4.00 | 8.00 | 16.00 | 1.00 | 2.00 | 4.00 | 8.00 | 16.00 | 2.00 | 4.00 | 8.00 | 16.00 | ||||||
| vssrl.vx v8,v16,t0 | 1.06 | 1.06 | 1.06 | 2.00 | 4.00 | 8.00 | 16.00 | 1.06 | 1.06 | 2.00 | 4.00 | 8.00 | 16.00 | 1.06 | 2.00 | 4.00 | 8.00 | 16.00 | 2.00 | 4.00 | 8.00 | 16.00 | ||||||
| vssrl.vx v8,v16,t0,v0.t | 1.06 | 1.06 | 1.06 | 2.00 | 4.00 | 8.00 | 16.00 | 1.06 | 1.06 | 2.00 | 4.00 | 8.00 | 16.00 | 1.06 | 2.00 | 4.00 | 8.00 | 16.00 | 2.00 | 4.00 | 8.00 | 16.00 | ||||||
| vssrl.vi v8,v16,13 | 1.00 | 1.00 | 1.00 | 2.00 | 4.00 | 8.00 | 16.00 | 1.00 | 1.00 | 2.00 | 4.00 | 8.00 | 16.00 | 1.00 | 2.00 | 4.00 | 8.00 | 16.00 | 2.00 | 4.00 | 8.00 | 16.00 | ||||||
| vssrl.vi v8,v16,13,v0.t | 1.00 | 1.00 | 1.00 | 2.00 | 4.00 | 8.00 | 16.00 | 1.00 | 1.00 | 2.00 | 4.00 | 8.00 | 16.00 | 1.00 | 2.00 | 4.00 | 8.00 | 16.00 | 2.00 | 4.00 | 8.00 | 16.00 | ||||||
| vdivu.vv v8,v16,v24 | 9.56 | 9.60 | 9.56 | 18.59 | 36.47 | 72.45 | 143.97 | 9.49 | 9.56 | 18.45 | 36.39 | 72.49 | 144.03 | 9.51 | 18.47 | 36.49 | 72.31 | 144.42 | 18.58 | 36.43 | 72.34 | 144.31 | ||||||
| vdivu.vv v8,v16,v24,v0.t | 9.13 | 9.13 | 9.13 | 18.13 | 36.08 | 72.09 | 143.94 | 9.20 | 9.20 | 18.19 | 36.13 | 72.10 | 143.94 | 9.15 | 18.16 | 36.10 | 72.16 | 143.97 | 18.16 | 36.07 | 72.12 | 144.01 | ||||||
| vdivu.vx v8,v16,t0 | 9.13 | 9.20 | 9.17 | 18.23 | 36.08 | 72.07 | 143.98 | 9.16 | 9.13 | 18.14 | 36.08 | 72.02 | 143.98 | 9.33 | 18.32 | 36.31 | 72.20 | 144.09 | 18.20 | 36.00 | 71.99 | 143.98 | ||||||
| vdivu.vx v8,v16,t0,v0.t | 9.05 | 9.05 | 9.06 | 18.06 | 36.00 | 72.05 | 143.99 | 9.02 | 9.01 | 18.02 | 36.02 | 71.99 | 143.98 | 9.08 | 18.08 | 36.07 | 72.09 | 143.99 | 18.06 | 36.00 | 71.99 | 143.98 | ||||||
| vdiv.vv v8,v16,v24 | 10.60 | 10.53 | 10.60 | 20.53 | 40.59 | 80.48 | 160.26 | 10.51 | 10.39 | 20.47 | 40.33 | 80.28 | 160.05 | 10.41 | 20.49 | 40.58 | 80.29 | 160.08 | 20.40 | 40.39 | 80.18 | 160.19 | ||||||
| vdiv.vv v8,v16,v24,v0.t | 10.21 | 10.11 | 10.21 | 20.11 | 40.18 | 80.09 | 159.93 | 10.19 | 10.10 | 20.09 | 40.07 | 80.06 | 159.95 | 10.10 | 20.18 | 40.08 | 80.04 | 159.93 | 20.14 | 40.14 | 80.19 | 159.92 | ||||||
| vdiv.vx v8,v16,t0 | 10.25 | 10.20 | 10.20 | 20.21 | 40.09 | 80.02 | 159.98 | 10.21 | 10.18 | 20.19 | 40.06 | 80.04 | 159.98 | 10.31 | 20.26 | 40.31 | 80.27 | 159.98 | 20.19 | 40.00 | 79.99 | 159.98 | ||||||
| vdiv.vx v8,v16,t0,v0.t | 10.05 | 10.03 | 10.08 | 20.07 | 40.01 | 80.00 | 159.99 | 10.06 | 10.05 | 20.06 | 40.05 | 79.99 | 159.98 | 10.16 | 20.11 | 40.03 | 80.14 | 159.98 | 20.04 | 40.00 | 79.99 | 159.98 | ||||||
| vremu.vv v8,v16,v24 | 10.56 | 10.60 | 10.56 | 20.59 | 40.47 | 80.46 | 159.94 | 10.54 | 10.46 | 20.44 | 40.39 | 80.21 | 160.29 | 10.51 | 20.54 | 40.44 | 80.48 | 160.05 | 20.65 | 40.35 | 80.34 | 160.24 | ||||||
| vremu.vv v8,v16,v24,v0.t | 10.13 | 10.13 | 10.13 | 20.13 | 40.08 | 80.09 | 159.94 | 10.16 | 10.21 | 20.12 | 40.17 | 80.09 | 159.94 | 10.16 | 20.15 | 40.19 | 80.04 | 159.95 | 20.13 | 40.17 | 80.02 | 160.14 | ||||||
| vremu.vx v8,v16,t0 | 10.16 | 10.26 | 10.16 | 20.16 | 40.11 | 80.07 | 159.98 | 10.15 | 10.15 | 20.15 | 40.09 | 80.02 | 159.98 | 10.30 | 20.28 | 40.27 | 80.32 | 160.13 | 20.19 | 40.00 | 79.99 | 159.98 | ||||||
| vremu.vx v8,v16,t0,v0.t | 10.04 | 10.06 | 10.04 | 20.06 | 40.06 | 79.99 | 159.98 | 10.03 | 10.03 | 20.01 | 40.06 | 79.99 | 159.99 | 10.05 | 20.13 | 40.12 | 80.04 | 159.98 | 20.05 | 40.00 | 79.99 | 159.98 | ||||||
| vrem.vv v8,v16,v24 | 11.60 | 11.53 | 11.60 | 22.53 | 44.59 | 88.48 | 176.23 | 11.38 | 11.48 | 22.48 | 44.33 | 88.25 | 176.13 | 11.50 | 22.49 | 44.48 | 88.25 | 175.92 | 22.44 | 44.48 | 88.31 | 176.18 | ||||||
| vrem.vv v8,v16,v24,v0.t | 11.21 | 11.11 | 11.21 | 22.11 | 44.18 | 88.09 | 175.92 | 11.13 | 11.15 | 22.15 | 44.04 | 88.03 | 176.04 | 11.10 | 22.10 | 44.12 | 88.09 | 175.92 | 22.11 | 44.06 | 88.06 | 175.93 | ||||||
| vrem.vx v8,v16,t0 | 11.18 | 11.21 | 11.16 | 22.25 | 44.13 | 88.14 | 175.98 | 11.19 | 11.23 | 22.21 | 44.22 | 88.02 | 175.98 | 11.28 | 22.40 | 44.24 | 88.22 | 176.38 | 22.18 | 44.00 | 87.99 | 175.98 | ||||||
| vrem.vx v8,v16,t0,v0.t | 11.04 | 11.05 | 11.02 | 22.06 | 44.00 | 87.99 | 175.98 | 11.07 | 11.03 | 22.10 | 44.03 | 87.99 | 175.98 | 11.13 | 22.09 | 44.03 | 88.02 | 175.98 | 22.09 | 44.00 | 87.99 | 175.98 | ||||||
| vmulhu.vv v8,v16,v24 | 1.00 | 1.00 | 1.00 | 1.00 | 2.00 | 4.00 | 8.00 | 1.00 | 1.00 | 1.00 | 2.00 | 4.00 | 8.00 | 1.00 | 1.00 | 2.00 | 4.00 | 8.00 | 4.00 | 8.00 | 16.00 | 32.00 | ||||||
| vmulhu.vv v8,v16,v24,v0.t | 1.00 | 1.00 | 1.00 | 1.00 | 2.00 | 4.00 | 8.00 | 1.00 | 1.00 | 1.00 | 2.00 | 4.00 | 8.00 | 1.00 | 1.00 | 2.00 | 4.00 | 8.00 | 4.00 | 8.00 | 16.00 | 32.00 | ||||||
| vmulhu.vx v8,v16,t0 | 1.06 | 1.06 | 1.06 | 1.06 | 2.00 | 4.00 | 8.00 | 1.06 | 1.06 | 1.06 | 2.00 | 4.00 | 8.00 | 1.06 | 1.06 | 2.00 | 4.00 | 8.00 | 4.00 | 8.00 | 16.00 | 32.00 | ||||||
| vmulhu.vx v8,v16,t0,v0.t | 1.06 | 1.06 | 1.06 | 1.06 | 2.00 | 4.00 | 8.00 | 1.06 | 1.06 | 1.06 | 2.00 | 4.00 | 8.00 | 1.06 | 1.06 | 2.00 | 4.00 | 8.00 | 4.00 | 8.00 | 16.00 | 32.00 | ||||||
| vmul.vv v8,v16,v24 | 1.00 | 1.00 | 1.00 | 1.00 | 2.00 | 4.00 | 8.00 | 1.00 | 1.00 | 1.00 | 2.00 | 4.00 | 8.00 | 1.00 | 1.00 | 2.00 | 4.00 | 8.00 | 4.00 | 8.00 | 16.00 | 32.00 | ||||||
| vmul.vv v8,v16,v24,v0.t | 1.00 | 1.00 | 1.00 | 1.00 | 2.00 | 4.00 | 8.00 | 1.00 | 1.00 | 1.00 | 2.00 | 4.00 | 8.00 | 1.00 | 1.00 | 2.00 | 4.00 | 8.00 | 4.00 | 8.00 | 16.00 | 32.00 | ||||||
| vmul.vx v8,v16,t0 | 1.06 | 1.06 | 1.06 | 1.06 | 2.00 | 4.00 | 8.00 | 1.06 | 1.06 | 1.06 | 2.00 | 4.00 | 8.00 | 1.06 | 1.06 | 2.00 | 4.00 | 8.00 | 4.00 | 8.00 | 16.00 | 32.00 | ||||||
| vmul.vx v8,v16,t0,v0.t | 1.06 | 1.06 | 1.06 | 1.06 | 2.00 | 4.00 | 8.00 | 1.06 | 1.06 | 1.06 | 2.00 | 4.00 | 8.00 | 1.06 | 1.06 | 2.00 | 4.00 | 8.00 | 4.00 | 8.00 | 16.00 | 32.00 | ||||||
| vmulhsu.vv v8,v16,v24 | 1.00 | 1.00 | 1.00 | 1.00 | 2.00 | 4.00 | 8.00 | 1.00 | 1.00 | 1.00 | 2.00 | 4.00 | 8.00 | 1.00 | 1.00 | 2.00 | 4.00 | 8.00 | 4.00 | 8.00 | 16.00 | 32.00 | ||||||
| vmulhsu.vv v8,v16,v24,v0.t | 1.00 | 1.00 | 1.00 | 1.00 | 2.00 | 4.00 | 8.00 | 1.00 | 1.00 | 1.00 | 2.00 | 4.00 | 8.00 | 1.00 | 1.00 | 2.00 | 4.00 | 8.00 | 4.00 | 8.00 | 16.00 | 32.00 | ||||||
| vmulhsu.vx v8,v16,t0 | 1.06 | 1.06 | 1.06 | 1.06 | 2.00 | 4.00 | 8.00 | 1.06 | 1.06 | 1.06 | 2.00 | 4.00 | 8.00 | 1.06 | 1.06 | 2.00 | 4.00 | 8.00 | 4.00 | 8.00 | 16.00 | 32.00 | ||||||
| vmulhsu.vx v8,v16,t0,v0.t | 1.06 | 1.06 | 1.06 | 1.06 | 2.00 | 4.00 | 8.00 | 1.06 | 1.06 | 1.06 | 2.00 | 4.00 | 8.00 | 1.06 | 1.06 | 2.00 | 4.00 | 8.00 | 4.00 | 8.00 | 16.00 | 32.00 | ||||||
| vmulh.vv v8,v16,v24 | 1.00 | 1.00 | 1.00 | 1.00 | 2.00 | 4.00 | 8.00 | 1.00 | 1.00 | 1.00 | 2.00 | 4.00 | 8.00 | 1.00 | 1.00 | 2.00 | 4.00 | 8.00 | 4.00 | 8.00 | 16.00 | 32.00 | ||||||
| vmulh.vv v8,v16,v24,v0.t | 1.00 | 1.00 | 1.00 | 1.00 | 2.00 | 4.00 | 8.00 | 1.00 | 1.00 | 1.00 | 2.00 | 4.00 | 8.00 | 1.00 | 1.00 | 2.00 | 4.00 | 8.00 | 4.00 | 8.00 | 16.00 | 32.00 | ||||||
| vmulh.vx v8,v16,t0 | 1.06 | 1.06 | 1.06 | 1.06 | 2.00 | 4.00 | 8.00 | 1.06 | 1.06 | 1.06 | 2.00 | 4.00 | 8.00 | 1.06 | 1.06 | 2.00 | 4.00 | 8.00 | 4.00 | 8.00 | 16.00 | 32.00 | ||||||
| vmulh.vx v8,v16,t0,v0.t | 1.06 | 1.06 | 1.06 | 1.06 | 2.00 | 4.00 | 8.00 | 1.06 | 1.06 | 1.06 | 2.00 | 4.00 | 8.00 | 1.06 | 1.06 | 2.00 | 4.00 | 8.00 | 4.00 | 8.00 | 16.00 | 32.00 | ||||||
| vmadd.vv v8,v16,v24 | 1.00 | 1.00 | 1.00 | 1.00 | 2.00 | 4.00 | 8.00 | 1.00 | 1.00 | 1.00 | 2.00 | 4.00 | 8.00 | 1.00 | 1.00 | 2.00 | 4.00 | 8.00 | 4.00 | 8.00 | 16.00 | 32.00 | ||||||
| vmadd.vv v8,v16,v24,v0.t | 1.00 | 1.00 | 1.00 | 1.00 | 2.00 | 4.00 | 8.00 | 1.00 | 1.00 | 1.00 | 2.00 | 4.00 | 8.00 | 1.00 | 1.00 | 2.00 | 4.00 | 8.00 | 4.00 | 8.00 | 16.00 | 32.00 | ||||||
| vmadd.vx v8,t0,v16 | 1.06 | 1.06 | 1.06 | 1.06 | 2.00 | 4.00 | 8.00 | 1.06 | 1.06 | 1.06 | 2.00 | 4.00 | 8.00 | 1.06 | 1.06 | 2.00 | 4.00 | 8.00 | 4.00 | 8.00 | 16.00 | 32.00 | ||||||
| vmadd.vx v8,t0,v16,v0.t | 1.06 | 1.06 | 1.06 | 1.06 | 2.00 | 4.00 | 8.00 | 1.06 | 1.06 | 1.06 | 2.00 | 4.00 | 8.00 | 1.06 | 1.06 | 2.00 | 4.00 | 8.00 | 4.00 | 8.00 | 16.00 | 32.00 | ||||||
| vmacc.vv v8,v16,v24 | 1.00 | 1.00 | 1.00 | 1.00 | 2.00 | 4.00 | 8.00 | 1.00 | 1.00 | 1.00 | 2.00 | 4.00 | 8.00 | 1.00 | 1.00 | 2.00 | 4.00 | 8.00 | 4.00 | 8.00 | 16.00 | 32.00 | ||||||
| vmacc.vv v8,v16,v24,v0.t | 1.00 | 1.00 | 1.00 | 1.00 | 2.00 | 4.00 | 8.00 | 1.00 | 1.00 | 1.00 | 2.00 | 4.00 | 8.00 | 1.00 | 1.00 | 2.00 | 4.00 | 8.00 | 4.00 | 8.00 | 16.00 | 32.00 | ||||||
| vmacc.vx v8,t0,v16 | 1.06 | 1.06 | 1.06 | 1.06 | 2.00 | 4.00 | 8.00 | 1.06 | 1.06 | 1.06 | 2.00 | 4.00 | 8.00 | 1.06 | 1.06 | 2.00 | 4.00 | 8.00 | 4.00 | 8.00 | 16.00 | 32.00 | ||||||
| vmacc.vx v8,t0,v16,v0.t | 1.06 | 1.06 | 1.06 | 1.06 | 2.00 | 4.00 | 8.00 | 1.06 | 1.06 | 1.06 | 2.00 | 4.00 | 8.00 | 1.06 | 1.06 | 2.00 | 4.00 | 8.00 | 4.00 | 8.00 | 16.00 | 32.00 | ||||||
| vnsrl.wv v8,v16,v24 | 1.00 | 1.00 | 2.00 | 4.00 | 8.00 | 16.00 | 1.00 | 2.00 | 4.00 | 8.00 | 16.00 | 2.00 | 4.00 | 8.00 | 16.00 | |||||||||||||
| vnsrl.wv v8,v16,v24,v0.t | 1.00 | 1.00 | 2.00 | 4.00 | 8.00 | 16.00 | 1.00 | 2.00 | 4.00 | 8.00 | 16.00 | 2.00 | 4.00 | 8.00 | 16.00 | |||||||||||||
| vnsrl.wx v8,v16,t0 | 1.06 | 1.06 | 2.00 | 4.00 | 8.00 | 16.00 | 1.06 | 2.00 | 4.00 | 8.00 | 16.00 | 2.00 | 4.00 | 8.00 | 16.00 | |||||||||||||
| vnsrl.wx v8,v16,t0,v0.t | 1.06 | 1.06 | 2.00 | 4.00 | 8.00 | 16.00 | 1.06 | 2.00 | 4.00 | 8.00 | 16.00 | 2.00 | 4.00 | 8.00 | 16.00 | |||||||||||||
| vnsrl.wi v8,v16,13 | 1.00 | 1.00 | 2.00 | 4.00 | 8.00 | 16.00 | 1.00 | 2.00 | 4.00 | 8.00 | 16.00 | 2.00 | 4.00 | 8.00 | 16.00 | |||||||||||||
| vnsrl.wi v8,v16,13,v0.t | 1.00 | 1.00 | 2.00 | 4.00 | 8.00 | 16.00 | 1.00 | 2.00 | 4.00 | 8.00 | 16.00 | 2.00 | 4.00 | 8.00 | 16.00 | |||||||||||||
| vnsra.wv v8,v16,v24 | 1.00 | 1.00 | 2.00 | 4.00 | 8.00 | 16.00 | 1.00 | 2.00 | 4.00 | 8.00 | 16.00 | 2.00 | 4.00 | 8.00 | 16.00 | |||||||||||||
| vnsra.wv v8,v16,v24,v0.t | 1.00 | 1.00 | 2.00 | 4.00 | 8.00 | 16.00 | 1.00 | 2.00 | 4.00 | 8.00 | 16.00 | 2.00 | 4.00 | 8.00 | 16.00 | |||||||||||||
| vnsra.wx v8,v16,t0 | 1.06 | 1.06 | 2.00 | 4.00 | 8.00 | 16.00 | 1.06 | 2.00 | 4.00 | 8.00 | 16.00 | 2.00 | 4.00 | 8.00 | 16.00 | |||||||||||||
| vnsra.wx v8,v16,t0,v0.t | 1.06 | 1.06 | 2.00 | 4.00 | 8.00 | 16.00 | 1.06 | 2.00 | 4.00 | 8.00 | 16.00 | 2.00 | 4.00 | 8.00 | 16.00 | |||||||||||||
| vnsra.wi v8,v16,13 | 1.00 | 1.00 | 2.00 | 4.00 | 8.00 | 16.00 | 1.00 | 2.00 | 4.00 | 8.00 | 16.00 | 2.00 | 4.00 | 8.00 | 16.00 | |||||||||||||
| vnsra.wi v8,v16,13,v0.t | 1.00 | 1.00 | 2.00 | 4.00 | 8.00 | 16.00 | 1.00 | 2.00 | 4.00 | 8.00 | 16.00 | 2.00 | 4.00 | 8.00 | 16.00 | |||||||||||||
| vnclipu.wv v8,v16,v24 | 1.00 | 1.00 | 2.00 | 4.00 | 8.00 | 16.00 | 1.00 | 2.00 | 4.00 | 8.00 | 16.00 | 2.00 | 4.00 | 8.00 | 16.00 | |||||||||||||
| vnclipu.wv v8,v16,v24,v0.t | 1.00 | 1.00 | 2.00 | 4.00 | 8.00 | 16.00 | 1.00 | 2.00 | 4.00 | 8.00 | 16.00 | 2.00 | 4.00 | 8.00 | 16.00 | |||||||||||||
| vnclipu.wx v8,v16,t0 | 1.06 | 1.06 | 2.00 | 4.00 | 8.00 | 16.00 | 1.06 | 2.00 | 4.00 | 8.00 | 16.00 | 2.00 | 4.00 | 8.00 | 16.00 | |||||||||||||
| vnclipu.wx v8,v16,t0,v0.t | 1.06 | 1.06 | 2.00 | 4.00 | 8.00 | 16.00 | 1.06 | 2.00 | 4.00 | 8.00 | 16.00 | 2.00 | 4.00 | 8.00 | 16.00 | |||||||||||||
| vnclipu.wi v8,v16,13 | 1.00 | 1.00 | 2.00 | 4.00 | 8.00 | 16.00 | 1.00 | 2.00 | 4.00 | 8.00 | 16.00 | 2.00 | 4.00 | 8.00 | 16.00 | |||||||||||||
| vnclipu.wi v8,v16,13,v0.t | 1.00 | 1.00 | 2.00 | 4.00 | 8.00 | 16.00 | 1.00 | 2.00 | 4.00 | 8.00 | 16.00 | 2.00 | 4.00 | 8.00 | 16.00 | |||||||||||||
| vnclip.wv v8,v16,v24 | 1.00 | 1.00 | 2.00 | 4.00 | 8.00 | 16.00 | 1.00 | 2.00 | 4.00 | 8.00 | 16.00 | 2.00 | 4.00 | 8.00 | 16.00 | |||||||||||||
| vnclip.wv v8,v16,v24,v0.t | 1.00 | 1.00 | 2.00 | 4.00 | 8.00 | 16.00 | 1.00 | 2.00 | 4.00 | 8.00 | 16.00 | 2.00 | 4.00 | 8.00 | 16.00 | |||||||||||||
| vnclip.wx v8,v16,t0 | 1.06 | 1.06 | 2.00 | 4.00 | 8.00 | 16.00 | 1.06 | 2.00 | 4.00 | 8.00 | 16.00 | 2.00 | 4.00 | 8.00 | 16.00 | |||||||||||||
| vnclip.wx v8,v16,t0,v0.t | 1.06 | 1.06 | 2.00 | 4.00 | 8.00 | 16.00 | 1.06 | 2.00 | 4.00 | 8.00 | 16.00 | 2.00 | 4.00 | 8.00 | 16.00 | |||||||||||||
| vnclip.wi v8,v16,13 | 1.00 | 1.00 | 2.00 | 4.00 | 8.00 | 16.00 | 1.00 | 2.00 | 4.00 | 8.00 | 16.00 | 2.00 | 4.00 | 8.00 | 16.00 | |||||||||||||
| vnclip.wi v8,v16,13,v0.t | 1.00 | 1.00 | 2.00 | 4.00 | 8.00 | 16.00 | 1.00 | 2.00 | 4.00 | 8.00 | 16.00 | 2.00 | 4.00 | 8.00 | 16.00 | |||||||||||||
| vnmsub.vv v8,v16,v24 | 1.00 | 1.00 | 1.00 | 1.00 | 2.00 | 4.00 | 1.00 | 1.00 | 1.00 | 2.00 | 4.00 | 1.00 | 1.00 | 2.00 | 5.00 | |||||||||||||
| vnmsub.vv v8,v16,v24,v0.t | 1.00 | 1.00 | 1.00 | 1.00 | 2.00 | 4.00 | 1.00 | 1.00 | 1.00 | 2.00 | 4.00 | 1.00 | 1.00 | 2.00 | 5.00 | |||||||||||||
| vnmsub.vx v8,t0,v16 | 1.06 | 1.06 | 1.06 | 1.06 | 2.00 | 4.00 | 1.06 | 1.06 | 1.06 | 2.00 | 4.00 | 1.06 | 1.06 | 2.00 | 5.00 | |||||||||||||
| vnmsub.vx v8,t0,v16,v0.t | 1.06 | 1.06 | 1.06 | 1.06 | 2.00 | 4.00 | 1.06 | 1.06 | 1.06 | 2.00 | 4.00 | 1.06 | 1.06 | 2.00 | 5.00 | |||||||||||||
| vnmsac.vv v8,v16,v24 | 1.00 | 1.00 | 1.00 | 1.00 | 2.00 | 4.00 | 1.00 | 1.00 | 1.00 | 2.00 | 4.00 | 1.00 | 1.00 | 2.00 | 5.00 | |||||||||||||
| vnmsac.vv v8,v16,v24,v0.t | 1.00 | 1.00 | 1.00 | 1.00 | 2.00 | 4.00 | 1.00 | 1.00 | 1.00 | 2.00 | 4.00 | 1.00 | 1.00 | 2.00 | 5.00 | |||||||||||||
| vnmsac.vx v8,t0,v16 | 1.06 | 1.06 | 1.06 | 1.06 | 2.00 | 4.00 | 1.06 | 1.06 | 1.06 | 2.00 | 4.00 | 1.06 | 1.06 | 2.00 | 5.00 | |||||||||||||
| vnmsac.vx v8,t0,v16,v0.t | 1.06 | 1.06 | 1.06 | 1.06 | 2.00 | 4.00 | 1.06 | 1.06 | 1.06 | 2.00 | 4.00 | 1.06 | 1.06 | 2.00 | 5.00 | |||||||||||||
| vwaddu.vv v8,v16,v24 | 1.00 | 1.00 | 2.00 | 2.00 | 4.00 | 8.00 | 1.00 | 2.00 | 2.00 | 4.00 | 8.00 | 2.00 | 2.00 | 4.00 | 8.00 | |||||||||||||
| vwaddu.vv v8,v16,v24,v0.t | 1.00 | 1.00 | 2.00 | 2.00 | 4.00 | 8.00 | 1.00 | 2.00 | 2.00 | 4.00 | 8.00 | 2.00 | 2.00 | 4.00 | 8.00 | |||||||||||||
| vwaddu.vx v8,v16,t0 | 1.06 | 1.06 | 2.00 | 2.00 | 4.00 | 8.00 | 1.06 | 2.00 | 2.00 | 4.00 | 8.00 | 2.00 | 2.00 | 4.00 | 8.00 | |||||||||||||
| vwaddu.vx v8,v16,t0,v0.t | 1.06 | 1.06 | 2.00 | 2.00 | 4.00 | 8.00 | 1.06 | 2.00 | 2.00 | 4.00 | 8.00 | 2.00 | 2.00 | 4.00 | 8.00 | |||||||||||||
| vwadd.vv v8,v16,v24 | 1.00 | 1.00 | 2.00 | 2.00 | 4.00 | 8.00 | 1.00 | 2.00 | 2.00 | 4.00 | 8.00 | 2.00 | 2.00 | 4.00 | 8.00 | |||||||||||||
| vwadd.vv v8,v16,v24,v0.t | 1.00 | 1.00 | 2.00 | 2.00 | 4.00 | 8.00 | 1.00 | 2.00 | 2.00 | 4.00 | 8.00 | 2.00 | 2.00 | 4.00 | 8.00 | |||||||||||||
| vwadd.vx v8,v16,t0 | 1.06 | 1.06 | 2.00 | 2.00 | 4.00 | 8.00 | 1.06 | 2.00 | 2.00 | 4.00 | 8.00 | 2.00 | 2.00 | 4.00 | 8.00 | |||||||||||||
| vwadd.vx v8,v16,t0,v0.t | 1.06 | 1.06 | 2.00 | 2.00 | 4.00 | 8.00 | 1.06 | 2.00 | 2.00 | 4.00 | 8.00 | 2.00 | 2.00 | 4.00 | 8.00 | |||||||||||||
| vwsubu.vv v8,v16,v24 | 1.00 | 1.00 | 2.00 | 2.00 | 4.00 | 8.00 | 1.00 | 2.00 | 2.00 | 4.00 | 8.00 | 2.00 | 2.00 | 4.00 | 8.00 | |||||||||||||
| vwsubu.vv v8,v16,v24,v0.t | 1.00 | 1.00 | 2.00 | 2.00 | 4.00 | 8.00 | 1.00 | 2.00 | 2.00 | 4.00 | 8.00 | 2.00 | 2.00 | 4.00 | 8.00 | |||||||||||||
| vwsubu.vx v8,v16,t0 | 1.06 | 1.06 | 2.00 | 2.00 | 4.00 | 8.00 | 1.06 | 2.00 | 2.00 | 4.00 | 8.00 | 2.00 | 2.00 | 4.00 | 8.00 | |||||||||||||
| vwsubu.vx v8,v16,t0,v0.t | 1.06 | 1.06 | 2.00 | 2.00 | 4.00 | 8.00 | 1.06 | 2.00 | 2.00 | 4.00 | 8.00 | 2.00 | 2.00 | 4.00 | 8.00 | |||||||||||||
| vwsub.vv v8,v16,v24 | 1.00 | 1.00 | 2.00 | 2.00 | 4.00 | 8.00 | 1.00 | 2.00 | 2.00 | 4.00 | 8.00 | 2.00 | 2.00 | 4.00 | 8.00 | |||||||||||||
| vwsub.vv v8,v16,v24,v0.t | 1.00 | 1.00 | 2.00 | 2.00 | 4.00 | 8.00 | 1.00 | 2.00 | 2.00 | 4.00 | 8.00 | 2.00 | 2.00 | 4.00 | 8.00 | |||||||||||||
| vwsub.vx v8,v16,t0 | 1.06 | 1.06 | 2.00 | 2.00 | 4.00 | 8.00 | 1.06 | 2.00 | 2.00 | 4.00 | 8.00 | 2.00 | 2.00 | 4.00 | 8.00 | |||||||||||||
| vwsub.vx v8,v16,t0,v0.t | 1.06 | 1.06 | 2.00 | 2.00 | 4.00 | 8.00 | 1.06 | 2.00 | 2.00 | 4.00 | 8.00 | 2.00 | 2.00 | 4.00 | 8.00 | |||||||||||||
| vwaddu.wv v8,v16,v24 | 1.00 | 1.00 | 2.00 | 2.00 | 4.00 | 8.00 | 1.00 | 2.00 | 2.00 | 4.00 | 8.00 | 2.00 | 2.00 | 4.00 | 8.00 | |||||||||||||
| vwaddu.wv v8,v16,v24,v0.t | 1.00 | 1.00 | 2.00 | 2.00 | 4.00 | 8.00 | 1.00 | 2.00 | 2.00 | 4.00 | 8.00 | 2.00 | 2.00 | 4.00 | 8.00 | |||||||||||||
| vwaddu.wx v8,v16,t0 | 1.06 | 1.06 | 2.00 | 2.00 | 4.00 | 8.00 | 1.06 | 2.00 | 2.00 | 4.00 | 8.00 | 2.00 | 2.00 | 4.00 | 8.00 | |||||||||||||
| vwaddu.wx v8,v16,t0,v0.t | 1.06 | 1.06 | 2.00 | 2.00 | 4.00 | 8.00 | 1.06 | 2.00 | 2.00 | 4.00 | 8.00 | 2.00 | 2.00 | 4.00 | 8.00 | |||||||||||||
| vwadd.wv v8,v16,v24 | 1.00 | 1.00 | 2.00 | 2.00 | 4.00 | 8.00 | 1.00 | 2.00 | 2.00 | 4.00 | 8.00 | 2.00 | 2.00 | 4.00 | 8.00 | |||||||||||||
| vwadd.wv v8,v16,v24,v0.t | 1.00 | 1.00 | 2.00 | 2.00 | 4.00 | 8.00 | 1.00 | 2.00 | 2.00 | 4.00 | 8.00 | 2.00 | 2.00 | 4.00 | 8.00 | |||||||||||||
| vwadd.wx v8,v16,t0 | 1.06 | 1.06 | 2.00 | 2.00 | 4.00 | 8.00 | 1.06 | 2.00 | 2.00 | 4.00 | 8.00 | 2.00 | 2.00 | 4.00 | 8.00 | |||||||||||||
| vwadd.wx v8,v16,t0,v0.t | 1.06 | 1.06 | 2.00 | 2.00 | 4.00 | 8.00 | 1.06 | 2.00 | 2.00 | 4.00 | 8.00 | 2.00 | 2.00 | 4.00 | 8.00 | |||||||||||||
| vwsubu.wv v8,v16,v24 | 1.00 | 1.00 | 2.00 | 2.00 | 4.00 | 8.00 | 1.00 | 2.00 | 2.00 | 4.00 | 8.00 | 2.00 | 2.00 | 4.00 | 8.00 | |||||||||||||
| vwsubu.wv v8,v16,v24,v0.t | 1.00 | 1.00 | 2.00 | 2.00 | 4.00 | 8.00 | 1.00 | 2.00 | 2.00 | 4.00 | 8.00 | 2.00 | 2.00 | 4.00 | 8.00 | |||||||||||||
| vwsubu.wx v8,v16,t0 | 1.06 | 1.06 | 2.00 | 2.00 | 4.00 | 8.00 | 1.06 | 2.00 | 2.00 | 4.00 | 8.00 | 2.00 | 2.00 | 4.00 | 8.00 | |||||||||||||
| vwsubu.wx v8,v16,t0,v0.t | 1.06 | 1.06 | 2.00 | 2.00 | 4.00 | 8.00 | 1.06 | 2.00 | 2.00 | 4.00 | 8.00 | 2.00 | 2.00 | 4.00 | 8.00 | |||||||||||||
| vwsub.wv v8,v16,v24 | 1.00 | 1.00 | 2.00 | 2.00 | 4.00 | 8.00 | 1.00 | 2.00 | 2.00 | 4.00 | 8.00 | 2.00 | 2.00 | 4.00 | 8.00 | |||||||||||||
| vwsub.wv v8,v16,v24,v0.t | 1.00 | 1.00 | 2.00 | 2.00 | 4.00 | 8.00 | 1.00 | 2.00 | 2.00 | 4.00 | 8.00 | 2.00 | 2.00 | 4.00 | 8.00 | |||||||||||||
| vwsub.wx v8,v16,t0 | 1.06 | 1.06 | 2.00 | 2.00 | 4.00 | 8.00 | 1.06 | 2.00 | 2.00 | 4.00 | 8.00 | 2.00 | 2.00 | 4.00 | 8.00 | |||||||||||||
| vwsub.wx v8,v16,t0,v0.t | 1.06 | 1.06 | 2.00 | 2.00 | 4.00 | 8.00 | 1.06 | 2.00 | 2.00 | 4.00 | 8.00 | 2.00 | 2.00 | 4.00 | 8.00 | |||||||||||||
| vwmulu.vv v8,v16,v24 | 1.00 | 1.00 | 2.00 | 2.00 | 4.00 | 8.00 | 1.00 | 2.00 | 2.00 | 4.00 | 8.00 | 2.00 | 2.00 | 4.00 | 8.00 | |||||||||||||
| vwmulu.vv v8,v16,v24,v0.t | 1.00 | 1.00 | 2.00 | 2.00 | 4.00 | 8.00 | 1.00 | 2.00 | 2.00 | 4.00 | 8.00 | 2.00 | 2.00 | 4.00 | 8.00 | |||||||||||||
| vwmulu.vx v8,v16,t0 | 1.06 | 1.06 | 2.00 | 2.00 | 4.00 | 8.00 | 1.06 | 2.00 | 2.00 | 4.00 | 8.00 | 2.00 | 2.00 | 4.00 | 8.00 | |||||||||||||
| vwmulu.vx v8,v16,t0,v0.t | 1.06 | 1.06 | 2.00 | 2.00 | 4.00 | 8.00 | 1.06 | 2.00 | 2.00 | 4.00 | 8.00 | 2.00 | 2.00 | 4.00 | 8.00 | |||||||||||||
| vwmulsu.vv v8,v16,v24 | 1.00 | 1.00 | 2.00 | 2.00 | 4.00 | 8.00 | 1.00 | 2.00 | 2.00 | 4.00 | 8.00 | 2.00 | 2.00 | 4.00 | 8.00 | |||||||||||||
| vwmulsu.vv v8,v16,v24,v0.t | 1.00 | 1.00 | 2.00 | 2.00 | 4.00 | 8.00 | 1.00 | 2.00 | 2.00 | 4.00 | 8.00 | 2.00 | 2.00 | 4.00 | 8.00 | |||||||||||||
| vwmulsu.vx v8,v16,t0 | 1.06 | 1.06 | 2.00 | 2.00 | 4.00 | 8.00 | 1.06 | 2.00 | 2.00 | 4.00 | 8.00 | 2.00 | 2.00 | 4.00 | 8.00 | |||||||||||||
| vwmulsu.vx v8,v16,t0,v0.t | 1.06 | 1.06 | 2.00 | 2.00 | 4.00 | 8.00 | 1.06 | 2.00 | 2.00 | 4.00 | 8.00 | 2.00 | 2.00 | 4.00 | 8.00 | |||||||||||||
| vwmul.vv v8,v16,v24 | 1.00 | 1.00 | 2.00 | 2.00 | 4.00 | 8.00 | 1.00 | 2.00 | 2.00 | 4.00 | 8.00 | 2.00 | 2.00 | 4.00 | 8.00 | |||||||||||||
| vwmul.vv v8,v16,v24,v0.t | 1.00 | 1.00 | 2.00 | 2.00 | 4.00 | 8.00 | 1.00 | 2.00 | 2.00 | 4.00 | 8.00 | 2.00 | 2.00 | 4.00 | 8.00 | |||||||||||||
| vwmul.vx v8,v16,t0 | 1.06 | 1.06 | 2.00 | 2.00 | 4.00 | 8.00 | 1.06 | 2.00 | 2.00 | 4.00 | 8.00 | 2.00 | 2.00 | 4.00 | 8.00 | |||||||||||||
| vwmul.vx v8,v16,t0,v0.t | 1.06 | 1.06 | 2.00 | 2.00 | 4.00 | 8.00 | 1.06 | 2.00 | 2.00 | 4.00 | 8.00 | 2.00 | 2.00 | 4.00 | 8.00 | |||||||||||||
| vwmaccu.vv v8,v16,v24 | 1.00 | 1.00 | 2.00 | 2.00 | 4.00 | 8.00 | 1.00 | 2.00 | 2.00 | 4.00 | 8.00 | 2.00 | 2.00 | 4.00 | 8.00 | |||||||||||||
| vwmaccu.vv v8,v16,v24,v0.t | 1.00 | 1.00 | 2.00 | 2.00 | 4.00 | 8.00 | 1.00 | 2.00 | 2.00 | 4.00 | 8.00 | 2.00 | 2.00 | 4.00 | 8.00 | |||||||||||||
| vwmaccu.vx v8,t0,v16 | 1.06 | 1.06 | 2.00 | 2.00 | 4.00 | 8.00 | 1.06 | 2.00 | 2.00 | 4.00 | 8.00 | 2.00 | 2.00 | 4.00 | 8.00 | |||||||||||||
| vwmaccu.vx v8,t0,v16,v0.t | 1.06 | 1.06 | 2.00 | 2.00 | 4.00 | 8.00 | 1.06 | 2.00 | 2.00 | 4.00 | 8.00 | 2.00 | 2.00 | 4.00 | 8.00 | |||||||||||||
| vwmacc.vv v8,v16,v24 | 1.00 | 1.00 | 2.00 | 2.00 | 4.00 | 8.00 | 1.00 | 2.00 | 2.00 | 4.00 | 8.00 | 2.00 | 2.00 | 4.00 | 8.00 | |||||||||||||
| vwmacc.vv v8,v16,v24,v0.t | 1.00 | 1.00 | 2.00 | 2.00 | 4.00 | 8.00 | 1.00 | 2.00 | 2.00 | 4.00 | 8.00 | 2.00 | 2.00 | 4.00 | 8.00 | |||||||||||||
| vwmacc.vx v8,t0,v16 | 1.06 | 1.06 | 2.00 | 2.00 | 4.00 | 8.00 | 1.06 | 2.00 | 2.00 | 4.00 | 8.00 | 2.00 | 2.00 | 4.00 | 8.00 | |||||||||||||
| vwmacc.vx v8,t0,v16,v0.t | 1.06 | 1.06 | 2.00 | 2.00 | 4.00 | 8.00 | 1.06 | 2.00 | 2.00 | 4.00 | 8.00 | 2.00 | 2.00 | 4.00 | 8.00 | |||||||||||||
| vwmaccsu.vv v8,v16,v24 | 1.00 | 1.00 | 2.00 | 2.00 | 4.00 | 8.00 | 1.00 | 2.00 | 2.00 | 4.00 | 8.00 | 2.00 | 2.00 | 4.00 | 8.00 | |||||||||||||
| vwmaccsu.vv v8,v16,v24,v0.t | 1.00 | 1.00 | 2.00 | 2.00 | 4.00 | 8.00 | 1.00 | 2.00 | 2.00 | 4.00 | 8.00 | 2.00 | 2.00 | 4.00 | 8.00 | |||||||||||||
| vwmaccsu.vx v8,t0,v16 | 1.06 | 1.06 | 2.00 | 2.00 | 4.00 | 8.00 | 1.06 | 2.00 | 2.00 | 4.00 | 8.00 | 2.00 | 2.00 | 4.00 | 8.00 | |||||||||||||
| vwmaccsu.vx v8,t0,v16,v0.t | 1.06 | 1.06 | 2.00 | 2.00 | 4.00 | 8.00 | 1.06 | 2.00 | 2.00 | 4.00 | 8.00 | 2.00 | 2.00 | 4.00 | 8.00 | |||||||||||||
| vwmaccus.vx v8,t0,v16 | 1.06 | 1.06 | 2.00 | 2.00 | 4.00 | 8.00 | 1.06 | 2.00 | 2.00 | 4.00 | 8.00 | 2.00 | 2.00 | 4.00 | 8.00 | |||||||||||||
| vwmaccus.vx v8,t0,v16,v0.t | 1.06 | 1.06 | 2.00 | 2.00 | 4.00 | 8.00 | 1.06 | 2.00 | 2.00 | 4.00 | 8.00 | 2.00 | 2.00 | 4.00 | 8.00 | |||||||||||||
| vfadd.vv v8,v16,v24 | 1.00 | 1.00 | 1.00 | 2.00 | 4.00 | 8.00 | 1.00 | 1.00 | 2.00 | 4.00 | 8.00 | 1.00 | 2.00 | 4.00 | 8.00 | |||||||||||||
| vfadd.vv v8,v16,v24,v0.t | 1.00 | 1.00 | 1.00 | 2.00 | 4.00 | 8.00 | 1.00 | 1.00 | 2.00 | 4.00 | 8.00 | 1.00 | 2.00 | 4.00 | 8.00 | |||||||||||||
| vfadd.vf v8,v16,ft0 | 1.00 | 1.00 | 1.00 | 2.00 | 4.00 | 8.00 | 1.00 | 1.00 | 2.00 | 4.00 | 8.00 | 1.00 | 2.00 | 4.00 | 8.00 | |||||||||||||
| vfadd.vf v8,v16,ft0,v0.t | 1.00 | 1.00 | 1.00 | 2.00 | 4.00 | 8.00 | 1.00 | 1.00 | 2.00 | 4.00 | 8.00 | 1.00 | 2.00 | 4.00 | 8.00 | |||||||||||||
| vfsub.vv v8,v16,v24 | 1.00 | 1.00 | 1.00 | 2.00 | 4.00 | 8.00 | 1.00 | 1.00 | 2.00 | 4.00 | 8.00 | 1.00 | 2.00 | 4.00 | 8.00 | |||||||||||||
| vfsub.vv v8,v16,v24,v0.t | 1.00 | 1.00 | 1.00 | 2.00 | 4.00 | 8.00 | 1.00 | 1.00 | 2.00 | 4.00 | 8.00 | 1.00 | 2.00 | 4.00 | 8.00 | |||||||||||||
| vfsub.vf v8,v16,ft0 | 1.00 | 1.00 | 1.00 | 2.00 | 4.00 | 8.00 | 1.00 | 1.00 | 2.00 | 4.00 | 8.00 | 1.00 | 2.00 | 4.00 | 8.00 | |||||||||||||
| vfsub.vf v8,v16,ft0,v0.t | 1.00 | 1.00 | 1.00 | 2.00 | 4.00 | 8.00 | 1.00 | 1.00 | 2.00 | 4.00 | 8.00 | 1.00 | 2.00 | 4.00 | 8.00 | |||||||||||||
| vfmin.vv v8,v16,v24 | 1.00 | 1.00 | 1.00 | 2.00 | 4.00 | 8.00 | 1.00 | 1.00 | 2.00 | 4.00 | 8.00 | 1.00 | 2.00 | 4.00 | 8.00 | |||||||||||||
| vfmin.vv v8,v16,v24,v0.t | 1.00 | 1.00 | 1.00 | 2.00 | 4.00 | 8.00 | 1.00 | 1.00 | 2.00 | 4.00 | 8.00 | 1.00 | 2.00 | 4.00 | 8.00 | |||||||||||||
| vfmin.vf v8,v16,ft0 | 1.00 | 1.00 | 1.00 | 2.00 | 4.00 | 8.00 | 1.00 | 1.00 | 2.00 | 4.00 | 8.00 | 1.00 | 2.00 | 4.00 | 8.00 | |||||||||||||
| vfmin.vf v8,v16,ft0,v0.t | 1.00 | 1.00 | 1.00 | 2.00 | 4.00 | 8.00 | 1.00 | 1.00 | 2.00 | 4.00 | 8.00 | 1.00 | 2.00 | 4.00 | 8.00 | |||||||||||||
| vfmax.vv v8,v16,v24 | 1.00 | 1.00 | 1.00 | 2.00 | 4.00 | 8.00 | 1.00 | 1.00 | 2.00 | 4.00 | 8.00 | 1.00 | 2.00 | 4.00 | 8.00 | |||||||||||||
| vfmax.vv v8,v16,v24,v0.t | 1.00 | 1.00 | 1.00 | 2.00 | 4.00 | 8.00 | 1.00 | 1.00 | 2.00 | 4.00 | 8.00 | 1.00 | 2.00 | 4.00 | 8.00 | |||||||||||||
| vfmax.vf v8,v16,ft0 | 1.00 | 1.00 | 1.00 | 2.00 | 4.00 | 8.00 | 1.00 | 1.00 | 2.00 | 4.00 | 8.00 | 1.00 | 2.00 | 4.00 | 8.00 | |||||||||||||
| vfmax.vf v8,v16,ft0,v0.t | 1.00 | 1.00 | 1.00 | 2.00 | 4.00 | 8.00 | 1.00 | 1.00 | 2.00 | 4.00 | 8.00 | 1.00 | 2.00 | 4.00 | 8.00 | |||||||||||||
| vfsgnj.vv v8,v16,v24 | 1.00 | 1.00 | 2.00 | 4.00 | 8.00 | 16.00 | 1.00 | 2.00 | 4.00 | 8.00 | 16.00 | 2.00 | 4.00 | 8.00 | 16.00 | |||||||||||||
| vfsgnj.vv v8,v16,v24,v0.t | 1.00 | 1.00 | 2.00 | 4.00 | 8.00 | 16.00 | 1.00 | 2.00 | 4.00 | 8.00 | 16.00 | 2.00 | 4.00 | 8.00 | 16.00 | |||||||||||||
| vfsgnj.vf v8,v16,ft0 | 1.00 | 1.00 | 2.00 | 4.00 | 8.00 | 16.00 | 1.00 | 2.00 | 4.00 | 8.00 | 16.00 | 2.00 | 4.00 | 8.00 | 16.00 | |||||||||||||
| vfsgnj.vf v8,v16,ft0,v0.t | 1.00 | 1.00 | 2.00 | 4.00 | 8.00 | 16.00 | 1.00 | 2.00 | 4.00 | 8.00 | 16.00 | 2.00 | 4.00 | 8.00 | 16.00 | |||||||||||||
| vfsgnjn.vv v8,v16,v24 | 1.00 | 1.00 | 2.00 | 4.00 | 8.00 | 16.00 | 1.00 | 2.00 | 4.00 | 8.00 | 16.00 | 2.00 | 4.00 | 8.00 | 16.00 | |||||||||||||
| vfsgnjn.vv v8,v16,v24,v0.t | 1.00 | 1.00 | 2.00 | 4.00 | 8.00 | 16.00 | 1.00 | 2.00 | 4.00 | 8.00 | 16.00 | 2.00 | 4.00 | 8.00 | 16.00 | |||||||||||||
| vfsgnjn.vf v8,v16,ft0 | 1.00 | 1.00 | 2.00 | 4.00 | 8.00 | 16.00 | 1.00 | 2.00 | 4.00 | 8.00 | 16.00 | 2.00 | 4.00 | 8.00 | 16.00 | |||||||||||||
| vfsgnjn.vf v8,v16,ft0,v0.t | 1.00 | 1.00 | 2.00 | 4.00 | 8.00 | 16.00 | 1.00 | 2.00 | 4.00 | 8.00 | 16.00 | 2.00 | 4.00 | 8.00 | 16.00 | |||||||||||||
| vfsgnjx.vv v8,v16,v24 | 1.00 | 1.00 | 2.00 | 4.00 | 8.00 | 16.00 | 1.00 | 2.00 | 4.00 | 8.00 | 16.00 | 2.00 | 4.00 | 8.00 | 16.00 | |||||||||||||
| vfsgnjx.vv v8,v16,v24,v0.t | 1.00 | 1.00 | 2.00 | 4.00 | 8.00 | 16.00 | 1.00 | 2.00 | 4.00 | 8.00 | 16.00 | 2.00 | 4.00 | 8.00 | 16.00 | |||||||||||||
| vfsgnjx.vf v8,v16,ft0 | 1.00 | 1.00 | 2.00 | 4.00 | 8.00 | 16.00 | 1.00 | 2.00 | 4.00 | 8.00 | 16.00 | 2.00 | 4.00 | 8.00 | 16.00 | |||||||||||||
| vfsgnjx.vf v8,v16,ft0,v0.t | 1.00 | 1.00 | 2.00 | 4.00 | 8.00 | 16.00 | 1.00 | 2.00 | 4.00 | 8.00 | 16.00 | 2.00 | 4.00 | 8.00 | 16.00 | |||||||||||||
| vfslide1up.vf v8,v16,ft0 | 1.00 | 1.00 | 2.00 | 4.00 | 8.00 | 16.00 | 1.00 | 2.00 | 4.00 | 8.00 | 16.00 | 2.00 | 4.00 | 8.00 | 16.00 | |||||||||||||
| vfslide1up.vf v8,v16,ft0,v0.t | 1.00 | 1.00 | 2.00 | 4.00 | 8.00 | 16.00 | 1.00 | 2.00 | 4.00 | 8.00 | 16.00 | 2.00 | 4.00 | 8.00 | 16.00 | |||||||||||||
| vfslide1down.vf v8,v16,ft0 | 1.00 | 1.00 | 3.00 | 5.00 | 9.00 | 17.00 | 1.00 | 3.00 | 5.00 | 9.00 | 17.00 | 3.00 | 5.00 | 9.00 | 17.00 | |||||||||||||
| vfslide1down.vf v8,v16,ft0,v0.t | 1.00 | 1.00 | 3.00 | 5.00 | 9.00 | 17.00 | 1.00 | 3.00 | 5.00 | 9.00 | 17.00 | 3.00 | 5.00 | 9.00 | 17.00 | |||||||||||||
| vfredusum.vs v8,v16,v24 | 8.00 | 8.00 | 8.00 | 14.00 | 20.00 | 56.99 | 5.00 | 6.50 | 11.00 | 17.00 | 53.99 | 4.00 | 7.00 | 15.50 | 52.00 | |||||||||||||
| vfredusum.vs v8,v16,v24,v0.t | 8.00 | 8.00 | 8.00 | 14.00 | 20.00 | 56.99 | 5.00 | 6.50 | 11.00 | 17.00 | 53.99 | 4.00 | 7.00 | 15.50 | 51.99 | |||||||||||||
| vfredosum.vs v8,v16,v24 | 8.00 | 20.00 | 23.00 | 47.00 | 95.98 | 383.65 | 8.00 | 11.00 | 23.00 | 47.99 | 191.89 | 5.50 | 11.50 | 24.50 | 96.98 | |||||||||||||
| vfredosum.vs v8,v16,v24,v0.t | 8.00 | 20.00 | 23.00 | 47.00 | 95.98 | 383.64 | 8.00 | 11.00 | 23.00 | 48.00 | 191.87 | 5.50 | 11.50 | 24.50 | 96.98 | |||||||||||||
| vfredmin.vs v8,v16,v24 | 8.00 | 8.00 | 8.00 | 14.00 | 20.00 | 56.99 | 5.00 | 6.50 | 11.00 | 17.00 | 53.99 | 4.00 | 7.00 | 14.00 | 51.00 | |||||||||||||
| vfredmin.vs v8,v16,v24,v0.t | 8.00 | 8.00 | 8.00 | 14.00 | 20.00 | 56.99 | 5.00 | 6.50 | 11.00 | 17.00 | 53.99 | 4.00 | 7.00 | 14.00 | 50.99 | |||||||||||||
| vfredmax.vs v8,v16,v24 | 8.00 | 8.00 | 8.00 | 14.00 | 20.00 | 57.00 | 5.00 | 6.50 | 11.00 | 17.00 | 53.99 | 4.00 | 7.00 | 14.00 | 50.99 | |||||||||||||
| vfredmax.vs v8,v16,v24,v0.t | 8.00 | 8.00 | 8.00 | 14.00 | 20.00 | 56.99 | 5.00 | 6.50 | 11.00 | 17.00 | 54.00 | 4.00 | 7.00 | 14.00 | 51.00 | |||||||||||||
| vfmerge.vfm v8,v16,ft0,v0 | 1.00 | 1.00 | 2.00 | 4.00 | 8.00 | 16.00 | 1.00 | 2.00 | 4.00 | 8.00 | 16.00 | 2.00 | 4.00 | 8.00 | 16.00 | |||||||||||||
| vfmv.v.f v8,ft0 | 1.00 | 1.00 | 2.00 | 4.00 | 8.00 | 16.00 | 1.00 | 2.00 | 4.00 | 8.00 | 16.00 | 2.00 | 4.00 | 8.00 | 16.00 | |||||||||||||
| vmfeq.vv v8,v16,v24 | 1.00 | 1.00 | 2.00 | 2.50 | 5.00 | 18.00 | 1.00 | 2.00 | 2.50 | 5.00 | 18.00 | 2.00 | 2.50 | 5.00 | 18.00 | |||||||||||||
| vmfeq.vv v8,v16,v24,v0.t | 1.00 | 1.00 | 2.00 | 2.50 | 5.00 | 18.00 | 1.00 | 2.00 | 2.50 | 5.00 | 18.00 | 2.00 | 2.50 | 5.00 | 18.00 | |||||||||||||
| vmfeq.vf v8,v16,ft0 | 1.00 | 1.00 | 2.00 | 2.50 | 5.00 | 18.00 | 1.00 | 2.00 | 2.50 | 5.00 | 18.00 | 2.00 | 2.50 | 5.00 | 18.00 | |||||||||||||
| vmfeq.vf v8,v16,ft0,v0.t | 1.00 | 1.00 | 2.00 | 2.50 | 5.00 | 18.00 | 1.00 | 2.00 | 2.50 | 5.00 | 18.00 | 2.00 | 2.50 | 5.00 | 18.00 | |||||||||||||
| vmfle.vv v8,v16,v24 | 1.00 | 1.00 | 2.00 | 2.50 | 5.00 | 18.00 | 1.00 | 2.00 | 2.50 | 5.00 | 18.00 | 2.00 | 2.50 | 5.00 | 18.00 | |||||||||||||
| vmfle.vv v8,v16,v24,v0.t | 1.00 | 1.00 | 2.00 | 2.50 | 5.00 | 18.00 | 1.00 | 2.00 | 2.50 | 5.00 | 18.00 | 2.00 | 2.50 | 5.00 | 18.00 | |||||||||||||
| vmfle.vf v8,v16,ft0 | 1.00 | 1.00 | 2.00 | 2.50 | 5.00 | 18.00 | 1.00 | 2.00 | 2.50 | 5.00 | 18.00 | 2.00 | 2.50 | 5.00 | 18.00 | |||||||||||||
| vmfle.vf v8,v16,ft0,v0.t | 1.00 | 1.00 | 2.00 | 2.50 | 5.00 | 18.00 | 1.00 | 2.00 | 2.50 | 5.00 | 18.00 | 2.00 | 2.50 | 5.00 | 18.00 | |||||||||||||
| vmflt.vv v8,v16,v24 | 1.00 | 1.00 | 2.00 | 2.50 | 5.00 | 18.00 | 1.00 | 2.00 | 2.50 | 5.00 | 18.00 | 2.00 | 2.50 | 5.00 | 18.00 | |||||||||||||
| vmflt.vv v8,v16,v24,v0.t | 1.00 | 1.00 | 2.00 | 2.50 | 5.00 | 18.00 | 1.00 | 2.00 | 2.50 | 5.00 | 18.00 | 2.00 | 2.50 | 5.00 | 18.00 | |||||||||||||
| vmflt.vf v8,v16,ft0 | 1.00 | 1.00 | 2.00 | 2.50 | 5.00 | 18.00 | 1.00 | 2.00 | 2.50 | 5.00 | 18.00 | 2.00 | 2.50 | 5.00 | 18.00 | |||||||||||||
| vmflt.vf v8,v16,ft0,v0.t | 1.00 | 1.00 | 2.00 | 2.50 | 5.00 | 18.00 | 1.00 | 2.00 | 2.50 | 5.00 | 18.00 | 2.00 | 2.50 | 5.00 | 18.00 | |||||||||||||
| vmfne.vv v8,v16,v24 | 1.00 | 1.00 | 2.00 | 2.50 | 5.00 | 18.00 | 1.00 | 2.00 | 2.50 | 5.00 | 18.00 | 2.00 | 2.50 | 5.00 | 18.00 | |||||||||||||
| vmfne.vv v8,v16,v24,v0.t | 1.00 | 1.00 | 2.00 | 2.50 | 5.00 | 18.00 | 1.00 | 2.00 | 2.50 | 5.00 | 18.00 | 2.00 | 2.50 | 5.00 | 18.00 | |||||||||||||
| vmfne.vf v8,v16,ft0 | 1.00 | 1.00 | 2.00 | 2.50 | 5.00 | 18.00 | 1.00 | 2.00 | 2.50 | 5.00 | 18.00 | 2.00 | 2.50 | 5.00 | 18.00 | |||||||||||||
| vmfne.vf v8,v16,ft0,v0.t | 1.00 | 1.00 | 2.00 | 2.50 | 5.00 | 18.00 | 1.00 | 2.00 | 2.50 | 5.00 | 18.00 | 2.00 | 2.50 | 5.00 | 18.00 | |||||||||||||
| vmfgt.vv v8,v16,v24 | 1.00 | 1.00 | 2.00 | 2.50 | 5.00 | 18.00 | 1.00 | 2.00 | 2.50 | 5.00 | 18.00 | 2.00 | 2.50 | 5.00 | 18.00 | |||||||||||||
| vmfgt.vv v8,v16,v24,v0.t | 1.00 | 1.00 | 2.00 | 2.50 | 5.00 | 18.00 | 1.00 | 2.00 | 2.50 | 5.00 | 18.00 | 2.00 | 2.50 | 5.00 | 18.00 | |||||||||||||
| vmfgt.vf v8,v16,ft0 | 1.00 | 1.00 | 2.00 | 2.50 | 5.00 | 18.00 | 1.00 | 2.00 | 2.50 | 5.00 | 18.00 | 2.00 | 2.50 | 5.00 | 18.00 | |||||||||||||
| vmfgt.vf v8,v16,ft0,v0.t | 1.00 | 1.00 | 2.00 | 2.50 | 5.00 | 18.00 | 1.00 | 2.00 | 2.50 | 5.00 | 18.00 | 2.00 | 2.50 | 5.00 | 18.00 | |||||||||||||
| vmfge.vv v8,v16,v24 | 1.00 | 1.00 | 2.00 | 2.50 | 5.00 | 18.00 | 1.00 | 2.00 | 2.50 | 5.00 | 18.00 | 2.00 | 2.50 | 5.00 | 18.00 | |||||||||||||
| vmfge.vv v8,v16,v24,v0.t | 1.00 | 1.00 | 2.00 | 2.50 | 5.00 | 18.00 | 1.00 | 2.00 | 2.50 | 5.00 | 18.00 | 2.00 | 2.50 | 5.00 | 18.00 | |||||||||||||
| vmfge.vf v8,v16,ft0 | 1.00 | 1.00 | 2.00 | 2.50 | 5.00 | 18.00 | 1.00 | 2.00 | 2.50 | 5.00 | 18.00 | 2.00 | 2.50 | 5.00 | 18.00 | |||||||||||||
| vmfge.vf v8,v16,ft0,v0.t | 1.00 | 1.00 | 2.00 | 2.50 | 5.00 | 18.00 | 1.00 | 2.00 | 2.50 | 5.00 | 18.00 | 2.00 | 2.50 | 5.00 | 18.00 | |||||||||||||
| vfdiv.vv v8,v16,v24 | 13.82 | 13.67 | 21.62 | 37.69 | 68.54 | 130.30 | 18.07 | 24.29 | 36.63 | 61.18 | 110.22 | 39.00 | 51.00 | 74.99 | 122.96 | |||||||||||||
| vfdiv.vv v8,v16,v24,v0.t | 10.65 | 10.81 | 18.52 | 33.82 | 65.31 | 127.02 | 12.07 | 18.26 | 30.63 | 55.72 | 104.37 | 25.53 | 37.57 | 61.48 | 109.61 | |||||||||||||
| vfdiv.vf v8,v16,ft0 | 7.01 | 6.99 | 13.96 | 27.90 | 56.24 | 113.69 | 11.34 | 17.32 | 30.37 | 54.52 | 104.09 | 15.37 | 24.00 | 48.00 | 95.99 | |||||||||||||
| vfdiv.vf v8,v16,ft0,v0.t | 6.95 | 7.06 | 13.91 | 28.38 | 55.79 | 114.14 | 8.85 | 14.60 | 27.03 | 51.97 | 100.79 | 13.70 | 24.00 | 48.00 | 95.99 | |||||||||||||
| vfrdiv.vf v8,v16,ft0 | 7.01 | 7.06 | 13.95 | 28.12 | 56.62 | 113.24 | 11.40 | 17.10 | 30.30 | 54.67 | 105.44 | 15.37 | 24.00 | 48.00 | 95.99 | |||||||||||||
| vfrdiv.vf v8,v16,ft0,v0.t | 7.10 | 7.21 | 14.02 | 28.20 | 56.39 | 113.99 | 8.40 | 14.81 | 27.18 | 51.89 | 97.64 | 13.68 | 24.00 | 48.00 | 95.99 | |||||||||||||
| vfmul.vv v8,v16,v24 | 1.00 | 1.00 | 1.00 | 2.00 | 4.00 | 8.00 | 1.00 | 1.00 | 2.00 | 4.00 | 8.00 | 1.00 | 2.00 | 4.00 | 8.00 | |||||||||||||
| vfmul.vv v8,v16,v24,v0.t | 1.00 | 1.00 | 1.00 | 2.00 | 4.00 | 8.00 | 1.00 | 1.00 | 2.00 | 4.00 | 8.00 | 1.00 | 2.00 | 4.00 | 8.00 | |||||||||||||
| vfmul.vf v8,v16,ft0 | 1.00 | 1.00 | 1.00 | 2.00 | 4.00 | 8.00 | 1.00 | 1.00 | 2.00 | 4.00 | 8.00 | 1.00 | 2.00 | 4.00 | 8.00 | |||||||||||||
| vfmul.vf v8,v16,ft0,v0.t | 1.00 | 1.00 | 1.00 | 2.00 | 4.00 | 8.00 | 1.00 | 1.00 | 2.00 | 4.00 | 8.00 | 1.00 | 2.00 | 4.00 | 8.00 | |||||||||||||
| vfrsub.vf v8,v16,ft0 | 1.00 | 1.00 | 1.00 | 2.00 | 4.00 | 8.00 | 1.00 | 1.00 | 2.00 | 4.00 | 8.00 | 1.00 | 2.00 | 4.00 | 8.00 | |||||||||||||
| vfrsub.vf v8,v16,ft0,v0.t | 1.00 | 1.00 | 1.00 | 2.00 | 4.00 | 8.00 | 1.00 | 1.00 | 2.00 | 4.00 | 8.00 | 1.00 | 2.00 | 4.00 | 8.00 | |||||||||||||
| vfmadd.vv v8,v16,v24 | 1.00 | 1.00 | 1.00 | 2.00 | 4.00 | 8.00 | 1.00 | 1.00 | 2.00 | 4.00 | 8.00 | 1.00 | 2.00 | 4.00 | 8.00 | |||||||||||||
| vfmadd.vv v8,v16,v24,v0.t | 1.00 | 1.00 | 1.00 | 2.00 | 4.00 | 8.00 | 1.00 | 1.00 | 2.00 | 4.00 | 8.00 | 1.00 | 2.00 | 4.00 | 8.00 | |||||||||||||
| vfmadd.vf v8,ft0,v16 | 1.00 | 1.00 | 1.00 | 2.00 | 4.00 | 8.00 | 1.00 | 1.00 | 2.00 | 4.00 | 8.00 | 1.00 | 2.00 | 4.00 | 8.00 | |||||||||||||
| vfmadd.vf v8,ft0,v16,v0.t | 1.00 | 1.00 | 1.00 | 2.00 | 4.00 | 8.00 | 1.00 | 1.00 | 2.00 | 4.00 | 8.00 | 1.00 | 2.00 | 4.00 | 8.00 | |||||||||||||
| vfmsub.vv v8,v16,v24 | 1.00 | 1.00 | 1.00 | 2.00 | 4.00 | 8.00 | 1.00 | 1.00 | 2.00 | 4.00 | 8.00 | 1.00 | 2.00 | 4.00 | 8.00 | |||||||||||||
| vfmsub.vv v8,v16,v24,v0.t | 1.00 | 1.00 | 1.00 | 2.00 | 4.00 | 8.00 | 1.00 | 1.00 | 2.00 | 4.00 | 8.00 | 1.00 | 2.00 | 4.00 | 8.00 | |||||||||||||
| vfmsub.vf v8,ft0,v16 | 1.00 | 1.00 | 1.00 | 2.00 | 4.00 | 8.00 | 1.00 | 1.00 | 2.00 | 4.00 | 8.00 | 1.00 | 2.00 | 4.00 | 8.00 | |||||||||||||
| vfmsub.vf v8,ft0,v16,v0.t | 1.00 | 1.00 | 1.00 | 2.00 | 4.00 | 8.00 | 1.00 | 1.00 | 2.00 | 4.00 | 8.00 | 1.00 | 2.00 | 4.00 | 8.00 | |||||||||||||
| vfmacc.vv v8,v16,v24 | 1.00 | 1.00 | 1.00 | 2.00 | 4.00 | 8.00 | 1.00 | 1.00 | 2.00 | 4.00 | 8.00 | 1.00 | 2.00 | 4.00 | 8.00 | |||||||||||||
| vfmacc.vv v8,v16,v24,v0.t | 1.00 | 1.00 | 1.00 | 2.00 | 4.00 | 8.00 | 1.00 | 1.00 | 2.00 | 4.00 | 8.00 | 1.00 | 2.00 | 4.00 | 8.00 | |||||||||||||
| vfmacc.vf v8,ft0,v16 | 1.00 | 1.00 | 1.00 | 2.00 | 4.00 | 8.00 | 1.00 | 1.00 | 2.00 | 4.00 | 8.00 | 1.00 | 2.00 | 4.00 | 8.00 | |||||||||||||
| vfmacc.vf v8,ft0,v16,v0.t | 1.00 | 1.00 | 1.00 | 2.00 | 4.00 | 8.00 | 1.00 | 1.00 | 2.00 | 4.00 | 8.00 | 1.00 | 2.00 | 4.00 | 8.00 | |||||||||||||
| vfmsac.vv v8,v16,v24 | 1.00 | 1.00 | 1.00 | 2.00 | 4.00 | 8.00 | 1.00 | 1.00 | 2.00 | 4.00 | 8.00 | 1.00 | 2.00 | 4.00 | 8.00 | |||||||||||||
| vfmsac.vv v8,v16,v24,v0.t | 1.00 | 1.00 | 1.00 | 2.00 | 4.00 | 8.00 | 1.00 | 1.00 | 2.00 | 4.00 | 8.00 | 1.00 | 2.00 | 4.00 | 8.00 | |||||||||||||
| vfmsac.vf v8,ft0,v16 | 1.00 | 1.00 | 1.00 | 2.00 | 4.00 | 8.00 | 1.00 | 1.00 | 2.00 | 4.00 | 8.00 | 1.00 | 2.00 | 4.00 | 8.00 | |||||||||||||
| vfmsac.vf v8,ft0,v16,v0.t | 1.00 | 1.00 | 1.00 | 2.00 | 4.00 | 8.00 | 1.00 | 1.00 | 2.00 | 4.00 | 8.00 | 1.00 | 2.00 | 4.00 | 8.00 | |||||||||||||
| vfnmsac.vv v8,v16,v24 | 1.00 | 1.00 | 1.00 | 2.00 | 5.00 | 1.00 | 1.00 | 2.00 | 5.00 | |||||||||||||||||||
| vfnmsac.vv v8,v16,v24,v0.t | 1.00 | 1.00 | 1.00 | 2.00 | 5.00 | 1.00 | 1.00 | 2.00 | 5.00 | |||||||||||||||||||
| vfnmsac.vf v8,ft0,v16 | 1.00 | 1.00 | 1.00 | 2.00 | 5.00 | 1.00 | 1.00 | 2.00 | 5.00 | |||||||||||||||||||
| vfnmsac.vf v8,ft0,v16,v0.t | 1.00 | 1.00 | 1.00 | 2.00 | 5.00 | 1.00 | 1.00 | 2.00 | 5.00 | |||||||||||||||||||
| vfnmacc.vv v8,v16,v24 | 1.00 | 1.00 | 1.00 | 2.00 | 5.00 | 1.00 | 1.00 | 2.00 | 5.00 | |||||||||||||||||||
| vfnmacc.vv v8,v16,v24,v0.t | 1.00 | 1.00 | 1.00 | 2.00 | 5.00 | 1.00 | 1.00 | 2.00 | 5.00 | |||||||||||||||||||
| vfnmacc.vf v8,ft0,v16 | 1.00 | 1.00 | 1.00 | 2.00 | 5.00 | 1.00 | 1.00 | 2.00 | 5.00 | |||||||||||||||||||
| vfnmacc.vf v8,ft0,v16,v0.t | 1.00 | 1.00 | 1.00 | 2.00 | 5.00 | 1.00 | 1.00 | 2.00 | 5.00 | |||||||||||||||||||
| vfnmsub.vv v8,v16,v24 | 1.00 | 1.00 | 1.00 | 2.00 | 5.00 | 1.00 | 1.00 | 2.00 | 5.00 | |||||||||||||||||||
| vfnmsub.vv v8,v16,v24,v0.t | 1.00 | 1.00 | 1.00 | 2.00 | 5.00 | 1.00 | 1.00 | 2.00 | 5.00 | |||||||||||||||||||
| vfnmsub.vf v8,ft0,v16 | 1.00 | 1.00 | 1.00 | 2.00 | 5.00 | 1.00 | 1.00 | 2.00 | 5.00 | |||||||||||||||||||
| vfnmsub.vf v8,ft0,v16,v0.t | 1.00 | 1.00 | 1.00 | 2.00 | 5.00 | 1.00 | 1.00 | 2.00 | 5.00 | |||||||||||||||||||
| vfnmadd.vv v8,v16,v24 | 1.00 | 1.00 | 1.00 | 2.00 | 5.00 | 1.00 | 1.00 | 2.00 | 5.00 | |||||||||||||||||||
| vfnmadd.vv v8,v16,v24,v0.t | 1.00 | 1.00 | 1.00 | 2.00 | 5.00 | 1.00 | 1.00 | 2.00 | 5.00 | |||||||||||||||||||
| vfnmadd.vf v8,ft0,v16 | 1.00 | 1.00 | 1.00 | 2.00 | 5.00 | 1.00 | 1.00 | 2.00 | 5.00 | |||||||||||||||||||
| vfnmadd.vf v8,ft0,v16,v0.t | 1.00 | 1.00 | 1.00 | 2.00 | 5.00 | 1.00 | 1.00 | 2.00 | 5.00 | |||||||||||||||||||
| vwredsumu.vs v8,v16,v24 | 1.00 | 1.00 | 1.00 | 1.00 | 2.00 | 5.50 | 19.00 | 1.00 | 1.00 | 1.00 | 2.00 | 5.50 | 19.00 | 1.00 | 1.00 | 2.00 | 5.50 | 19.00 | ||||||||||
| vwredsumu.vs v8,v16,v24,v0.t | 1.00 | 1.00 | 1.00 | 1.00 | 2.00 | 5.50 | 19.00 | 1.00 | 1.00 | 1.00 | 2.00 | 5.50 | 19.00 | 1.00 | 1.00 | 2.00 | 5.50 | 19.00 | ||||||||||
| vwredsum.vs v8,v16,v24 | 1.00 | 1.00 | 1.00 | 1.00 | 2.00 | 5.50 | 19.00 | 1.00 | 1.00 | 1.00 | 2.00 | 5.50 | 19.00 | 1.00 | 1.00 | 2.00 | 5.50 | 19.00 | ||||||||||
| vwredsum.vs v8,v16,v24,v0.t | 1.00 | 1.00 | 1.00 | 1.00 | 2.00 | 5.50 | 19.00 | 1.00 | 1.00 | 1.00 | 2.00 | 5.50 | 19.00 | 1.00 | 1.00 | 2.00 | 5.50 | 19.00 | ||||||||||
| vfwadd.vv v8,v16,v24 | 1.00 | 2.00 | 2.00 | 4.00 | 8.00 | 2.00 | 2.00 | 4.00 | 8.00 | |||||||||||||||||||
| vfwadd.vv v8,v16,v24,v0.t | 1.00 | 2.00 | 2.00 | 4.00 | 8.00 | 2.00 | 2.00 | 4.00 | 8.00 | |||||||||||||||||||
| vfwadd.vf v8,v16,ft0 | 1.00 | 2.00 | 2.00 | 4.00 | 8.00 | 2.00 | 2.00 | 4.00 | 8.00 | |||||||||||||||||||
| vfwadd.vf v8,v16,ft0,v0.t | 1.00 | 2.00 | 2.00 | 4.00 | 8.00 | 2.00 | 2.00 | 4.00 | 8.00 | |||||||||||||||||||
| vfwsub.vv v8,v16,v24 | 1.00 | 2.00 | 2.00 | 4.00 | 8.00 | 2.00 | 2.00 | 4.00 | 8.00 | |||||||||||||||||||
| vfwsub.vv v8,v16,v24,v0.t | 1.00 | 2.00 | 2.00 | 4.00 | 8.00 | 2.00 | 2.00 | 4.00 | 8.00 | |||||||||||||||||||
| vfwsub.vf v8,v16,ft0 | 1.00 | 2.00 | 2.00 | 4.00 | 8.00 | 2.00 | 2.00 | 4.00 | 8.00 | |||||||||||||||||||
| vfwsub.vf v8,v16,ft0,v0.t | 1.00 | 2.00 | 2.00 | 4.00 | 8.00 | 2.00 | 2.00 | 4.00 | 8.00 | |||||||||||||||||||
| vfwadd.wv v8,v16,v24 | 2.00 | 2.00 | 4.00 | 8.00 | 16.00 | 2.00 | 4.00 | 8.00 | 16.00 | |||||||||||||||||||
| vfwadd.wv v8,v16,v24,v0.t | 2.00 | 2.00 | 4.00 | 8.00 | 16.00 | 2.00 | 4.00 | 8.00 | 16.00 | |||||||||||||||||||
| vfwadd.wf v8,v16,ft0 | 2.00 | 2.00 | 4.00 | 8.00 | 16.00 | 2.00 | 4.00 | 8.00 | 16.00 | |||||||||||||||||||
| vfwadd.wf v8,v16,ft0,v0.t | 2.00 | 2.00 | 4.00 | 8.00 | 16.00 | 2.00 | 4.00 | 8.00 | 16.00 | |||||||||||||||||||
| vfwsub.wv v8,v16,v24 | 2.00 | 2.00 | 4.00 | 8.00 | 16.00 | 2.00 | 4.00 | 8.00 | 16.00 | |||||||||||||||||||
| vfwsub.wv v8,v16,v24,v0.t | 2.00 | 2.00 | 4.00 | 8.00 | 16.00 | 2.00 | 4.00 | 8.00 | 16.00 | |||||||||||||||||||
| vfwsub.wf v8,v16,ft0 | 2.00 | 2.00 | 4.00 | 8.00 | 16.00 | 2.00 | 4.00 | 8.00 | 16.00 | |||||||||||||||||||
| vfwsub.wf v8,v16,ft0,v0.t | 2.00 | 2.00 | 4.00 | 8.00 | 16.00 | 2.00 | 4.00 | 8.00 | 16.00 | |||||||||||||||||||
| vfwmul.vv v8,v16,v24 | 1.00 | 2.00 | 2.00 | 4.00 | 8.00 | 2.00 | 2.00 | 4.00 | 8.00 | |||||||||||||||||||
| vfwmul.vv v8,v16,v24,v0.t | 1.00 | 2.00 | 2.00 | 4.00 | 8.00 | 2.00 | 2.00 | 4.00 | 8.00 | |||||||||||||||||||
| vfwmul.vf v8,v16,ft0 | 1.00 | 2.00 | 2.00 | 4.00 | 8.00 | 2.00 | 2.00 | 4.00 | 8.00 | |||||||||||||||||||
| vfwmul.vf v8,v16,ft0,v0.t | 1.00 | 2.00 | 2.00 | 4.00 | 8.00 | 2.00 | 2.00 | 4.00 | 8.00 | |||||||||||||||||||
| vfwmacc.vv v8,v16,v24 | 1.00 | 2.00 | 2.00 | 4.00 | 8.00 | 2.00 | 2.00 | 4.00 | 8.00 | |||||||||||||||||||
| vfwmacc.vv v8,v16,v24,v0.t | 1.00 | 2.00 | 2.00 | 4.00 | 8.00 | 2.00 | 2.00 | 4.00 | 8.00 | |||||||||||||||||||
| vfwmacc.vf v8,ft0,v16 | 1.00 | 2.00 | 2.00 | 4.00 | 8.00 | 2.00 | 2.00 | 4.00 | 8.00 | |||||||||||||||||||
| vfwmacc.vf v8,ft0,v16,v0.t | 1.00 | 2.00 | 2.00 | 4.00 | 8.00 | 2.00 | 2.00 | 4.00 | 8.00 | |||||||||||||||||||
| vfwnmacc.vv v8,v16,v24 | 1.00 | 2.00 | 2.00 | 4.00 | 8.00 | 2.00 | 2.00 | 4.00 | 8.00 | |||||||||||||||||||
| vfwnmacc.vv v8,v16,v24,v0.t | 1.00 | 2.00 | 2.00 | 4.00 | 8.00 | 2.00 | 2.00 | 4.00 | 8.00 | |||||||||||||||||||
| vfwnmacc.vf v8,ft0,v16 | 1.00 | 2.00 | 2.00 | 4.00 | 8.00 | 2.00 | 2.00 | 4.00 | 8.00 | |||||||||||||||||||
| vfwnmacc.vf v8,ft0,v16,v0.t | 1.00 | 2.00 | 2.00 | 4.00 | 8.00 | 2.00 | 2.00 | 4.00 | 8.00 | |||||||||||||||||||
| vfwmsac.vv v8,v16,v24 | 1.00 | 2.00 | 2.00 | 4.00 | 8.00 | 2.00 | 2.00 | 4.00 | 8.00 | |||||||||||||||||||
| vfwmsac.vv v8,v16,v24,v0.t | 1.00 | 2.00 | 2.00 | 4.00 | 8.00 | 2.00 | 2.00 | 4.00 | 8.00 | |||||||||||||||||||
| vfwmsac.vf v8,ft0,v16 | 1.00 | 2.00 | 2.00 | 4.00 | 8.00 | 2.00 | 2.00 | 4.00 | 8.00 | |||||||||||||||||||
| vfwmsac.vf v8,ft0,v16,v0.t | 1.00 | 2.00 | 2.00 | 4.00 | 8.00 | 2.00 | 2.00 | 4.00 | 8.00 | |||||||||||||||||||
| vfwnmsac.vv v8,v16,v24 | 1.00 | 2.00 | 2.00 | 4.00 | 8.00 | 2.00 | 2.00 | 4.00 | 8.00 | |||||||||||||||||||
| vfwnmsac.vv v8,v16,v24,v0.t | 1.00 | 2.00 | 2.00 | 4.00 | 8.00 | 2.00 | 2.00 | 4.00 | 8.00 | |||||||||||||||||||
| vfwnmsac.vf v8,ft0,v16 | 1.00 | 2.00 | 2.00 | 4.00 | 8.00 | 2.00 | 2.00 | 4.00 | 8.00 | |||||||||||||||||||
| vfwnmsac.vf v8,ft0,v16,v0.t | 1.00 | 2.00 | 2.00 | 4.00 | 8.00 | 2.00 | 2.00 | 4.00 | 8.00 | |||||||||||||||||||
| vfwredosum.vs v8,v16,v24 | 10.00 | 26.00 | 31.00 | 62.99 | 127.96 | 511.34 | 10.00 | 15.00 | 31.00 | 65.99 | 256.83 | |||||||||||||||||
| vfwredosum.vs v8,v16,v24,v0.t | 10.00 | 26.00 | 31.00 | 62.99 | 127.96 | 511.34 | 10.00 | 15.00 | 31.00 | 65.99 | 256.83 | |||||||||||||||||
| vfwredusum.vs v8,v16,v24 | 10.00 | 26.00 | 31.00 | 62.99 | 127.96 | 511.34 | 10.00 | 15.00 | 31.00 | 65.99 | 256.83 | |||||||||||||||||
| vfwredusum.vs v8,v16,v24,v0.t | 10.00 | 26.00 | 31.00 | 62.99 | 127.96 | 511.34 | 10.00 | 15.00 | 31.00 | 65.99 | 256.83 | |||||||||||||||||
| vmv.s.x v8,t0 | 1.06 | 1.06 | 1.06 | 1.06 | 1.06 | 1.54 | 3.00 | 1.06 | 1.06 | 1.06 | 1.06 | 1.54 | 3.00 | 1.06 | 1.06 | 1.06 | 1.54 | 3.00 | 1.06 | 1.06 | 1.54 | 3.00 | ||||||
| vmv.x.s t0,v8 | 6.00 | 6.00 | 6.00 | 6.00 | 6.00 | 6.00 | 6.00 | 6.00 | 6.00 | 6.00 | 6.00 | 6.00 | 6.00 | 6.00 | 6.00 | 6.00 | 6.00 | 6.00 | 6.00 | 6.00 | 6.00 | 6.00 | ||||||
| vcpop.m t0,v8 | 6.00 | 6.00 | 6.00 | 6.00 | 6.00 | 6.00 | 7.00 | 6.00 | 6.00 | 6.00 | 6.00 | 6.00 | 6.00 | 6.00 | 6.00 | 6.00 | 6.00 | 6.00 | 6.00 | 6.00 | 6.00 | 6.00 | ||||||
| vcpop.m t0,v8,v0.t | 6.00 | 6.00 | 6.00 | 6.00 | 6.00 | 6.00 | 7.00 | 6.00 | 6.00 | 6.00 | 6.00 | 6.00 | 6.00 | 6.00 | 6.00 | 6.00 | 6.00 | 6.00 | 6.00 | 6.00 | 6.00 | 6.00 | ||||||
| vfirst.m t0,v8 | 6.00 | 6.00 | 6.00 | 6.00 | 6.00 | 6.00 | 7.00 | 6.00 | 6.00 | 6.00 | 6.00 | 6.00 | 6.00 | 6.00 | 6.00 | 6.00 | 6.00 | 6.00 | 6.00 | 6.00 | 6.00 | 6.00 | ||||||
| vfirst.m t0,v8,v0.t | 6.00 | 6.00 | 6.00 | 6.00 | 6.00 | 6.00 | 7.00 | 6.00 | 6.00 | 6.00 | 6.00 | 6.00 | 6.00 | 6.00 | 6.00 | 6.00 | 6.00 | 6.00 | 6.00 | 6.00 | 6.00 | 6.00 | ||||||
| vzext.vf2 v8,v16 | 1.00 | 1.00 | 2.00 | 4.00 | 8.00 | 16.00 | 1.00 | 2.00 | 4.00 | 8.00 | 16.00 | 2.00 | 4.00 | 8.00 | 16.00 | |||||||||||||
| vzext.vf2 v8,v16,v0.t | 1.00 | 1.00 | 2.00 | 4.00 | 8.00 | 16.00 | 1.00 | 2.00 | 4.00 | 8.00 | 16.00 | 2.00 | 4.00 | 8.00 | 16.00 | |||||||||||||
| vsext.vf2 v8,v16 | 1.00 | 1.00 | 2.00 | 4.00 | 8.00 | 16.00 | 1.00 | 2.00 | 4.00 | 8.00 | 16.00 | 2.00 | 4.00 | 8.00 | 16.00 | |||||||||||||
| vsext.vf2 v8,v16,v0.t | 1.00 | 1.00 | 2.00 | 4.00 | 8.00 | 16.00 | 1.00 | 2.00 | 4.00 | 8.00 | 16.00 | 2.00 | 4.00 | 8.00 | 16.00 | |||||||||||||
| vzext.vf4 v8,v16 | 1.00 | 2.00 | 4.00 | 8.00 | 16.00 | 2.00 | 4.00 | 8.00 | 16.00 | |||||||||||||||||||
| vzext.vf4 v8,v16,v0.t | 1.00 | 2.00 | 4.00 | 8.00 | 16.00 | 2.00 | 4.00 | 8.00 | 16.00 | |||||||||||||||||||
| vsext.vf4 v8,v16 | 1.00 | 2.00 | 4.00 | 8.00 | 16.00 | 2.00 | 4.00 | 8.00 | 16.00 | |||||||||||||||||||
| vsext.vf4 v8,v16,v0.t | 1.00 | 2.00 | 4.00 | 8.00 | 16.00 | 2.00 | 4.00 | 8.00 | 16.00 | |||||||||||||||||||
| vzext.vf8 v8,v16 | 2.00 | 4.00 | 8.00 | 16.00 | ||||||||||||||||||||||||
| vzext.vf8 v8,v16,v0.t | 2.00 | 4.00 | 8.00 | 16.00 | ||||||||||||||||||||||||
| vsext.vf8 v8,v16 | 2.00 | 4.00 | 8.00 | 16.00 | ||||||||||||||||||||||||
| vsext.vf8 v8,v16,v0.t | 2.00 | 4.00 | 8.00 | 16.00 | ||||||||||||||||||||||||
| vfmv.f.s ft0,v8 | 6.00 | 6.00 | 6.00 | 6.00 | 6.00 | 6.00 | 6.00 | 6.00 | 6.00 | 6.00 | 6.00 | 6.00 | 6.00 | 6.00 | 6.00 | |||||||||||||
| vfmv.s.f v8,ft0 | 1.00 | 1.00 | 1.00 | 1.00 | 1.50 | 3.00 | 1.00 | 1.00 | 1.00 | 1.50 | 3.00 | 1.00 | 1.00 | 1.50 | 3.00 | |||||||||||||
| vfcvt.xu.f.v v8,v16 | 1.00 | 1.00 | 2.00 | 4.00 | 8.00 | 16.00 | 1.00 | 2.00 | 4.00 | 8.00 | 16.00 | 2.00 | 4.00 | 8.00 | 16.00 | |||||||||||||
| vfcvt.xu.f.v v8,v16,v0.t | 1.00 | 1.00 | 2.00 | 4.00 | 8.00 | 16.00 | 1.00 | 2.00 | 4.00 | 8.00 | 16.00 | 2.00 | 4.00 | 8.00 | 16.00 | |||||||||||||
| vfcvt.x.f.v v8,v16 | 1.00 | 1.00 | 2.00 | 4.00 | 8.00 | 16.00 | 1.00 | 2.00 | 4.00 | 8.00 | 16.00 | 2.00 | 4.00 | 8.00 | 16.00 | |||||||||||||
| vfcvt.x.f.v v8,v16,v0.t | 1.00 | 1.00 | 2.00 | 4.00 | 8.00 | 16.00 | 1.00 | 2.00 | 4.00 | 8.00 | 16.00 | 2.00 | 4.00 | 8.00 | 16.00 | |||||||||||||
| vfcvt.f.xu.v v8,v16 | 1.00 | 1.00 | 2.00 | 4.00 | 8.00 | 16.00 | 1.00 | 2.00 | 4.00 | 8.00 | 16.00 | 2.00 | 4.00 | 8.00 | 16.00 | |||||||||||||
| vfcvt.f.xu.v v8,v16,v0.t | 1.00 | 1.00 | 2.00 | 4.00 | 8.00 | 16.00 | 1.00 | 2.00 | 4.00 | 8.00 | 16.00 | 2.00 | 4.00 | 8.00 | 16.00 | |||||||||||||
| vfcvt.f.x.v v8,v16 | 1.00 | 1.00 | 2.00 | 4.00 | 8.00 | 16.00 | 1.00 | 2.00 | 4.00 | 8.00 | 16.00 | 2.00 | 4.00 | 8.00 | 16.00 | |||||||||||||
| vfcvt.f.x.v v8,v16,v0.t | 1.00 | 1.00 | 2.00 | 4.00 | 8.00 | 16.00 | 1.00 | 2.00 | 4.00 | 8.00 | 16.00 | 2.00 | 4.00 | 8.00 | 16.00 | |||||||||||||
| vfcvt.rtz.x.f.v v8,v16 | 1.00 | 1.00 | 2.00 | 4.00 | 8.00 | 16.00 | 1.00 | 2.00 | 4.00 | 8.00 | 16.00 | 2.00 | 4.00 | 8.00 | 16.00 | |||||||||||||
| vfcvt.rtz.x.f.v v8,v16,v0.t | 1.00 | 1.00 | 2.00 | 4.00 | 8.00 | 16.00 | 1.00 | 2.00 | 4.00 | 8.00 | 16.00 | 2.00 | 4.00 | 8.00 | 16.00 | |||||||||||||
| vfcvt.rtz.xu.f.v v8,v16 | 1.00 | 1.00 | 2.00 | 4.00 | 8.00 | 16.00 | 1.00 | 2.00 | 4.00 | 8.00 | 16.00 | 2.00 | 4.00 | 8.00 | 16.00 | |||||||||||||
| vfcvt.rtz.xu.f.v v8,v16,v0.t | 1.00 | 1.00 | 2.00 | 4.00 | 8.00 | 16.00 | 1.00 | 2.00 | 4.00 | 8.00 | 16.00 | 2.00 | 4.00 | 8.00 | 16.00 | |||||||||||||
| vfwcvt.xu.f.v v8,v16 | 1.00 | 2.00 | 4.00 | 8.00 | 16.00 | 2.00 | 4.00 | 8.00 | 16.00 | |||||||||||||||||||
| vfwcvt.xu.f.v v8,v16,v0.t | 1.00 | 2.00 | 4.00 | 8.00 | 16.00 | 2.00 | 4.00 | 8.00 | 16.00 | |||||||||||||||||||
| vfwcvt.x.f.v v8,v16 | 1.00 | 2.00 | 4.00 | 8.00 | 16.00 | 2.00 | 4.00 | 8.00 | 16.00 | |||||||||||||||||||
| vfwcvt.x.f.v v8,v16,v0.t | 1.00 | 2.00 | 4.00 | 8.00 | 16.00 | 2.00 | 4.00 | 8.00 | 16.00 | |||||||||||||||||||
| vfwcvt.f.xu.v v8,v16 | 1.00 | 2.00 | 4.00 | 8.00 | 16.00 | 2.00 | 4.00 | 8.00 | 16.00 | |||||||||||||||||||
| vfwcvt.f.xu.v v8,v16,v0.t | 1.00 | 2.00 | 4.00 | 8.00 | 16.00 | 2.00 | 4.00 | 8.00 | 16.00 | |||||||||||||||||||
| vfwcvt.f.x.v v8,v16 | 1.00 | 2.00 | 4.00 | 8.00 | 16.00 | 2.00 | 4.00 | 8.00 | 16.00 | |||||||||||||||||||
| vfwcvt.f.x.v v8,v16,v0.t | 1.00 | 2.00 | 4.00 | 8.00 | 16.00 | 2.00 | 4.00 | 8.00 | 16.00 | |||||||||||||||||||
| vfwcvt.f.f.v v8,v16 | 1.00 | 2.00 | 4.00 | 8.00 | 16.00 | 2.00 | 4.00 | 8.00 | 16.00 | |||||||||||||||||||
| vfwcvt.f.f.v v8,v16,v0.t | 1.00 | 2.00 | 4.00 | 8.00 | 16.00 | 2.00 | 4.00 | 8.00 | 16.00 | |||||||||||||||||||
| vfwcvt.rtz.xu.f.v v8,v16 | 1.00 | 2.00 | 4.00 | 8.00 | 16.00 | 2.00 | 4.00 | 8.00 | 16.00 | |||||||||||||||||||
| vfwcvt.rtz.xu.f.v v8,v16,v0.t | 1.00 | 2.00 | 4.00 | 8.00 | 16.00 | 2.00 | 4.00 | 8.00 | 16.00 | |||||||||||||||||||
| vfwcvt.rtz.x.f.v v8,v16 | 1.00 | 2.00 | 4.00 | 8.00 | 16.00 | 2.00 | 4.00 | 8.00 | 16.00 | |||||||||||||||||||
| vfwcvt.rtz.x.f.v v8,v16,v0.t | 1.00 | 2.00 | 4.00 | 8.00 | 16.00 | 2.00 | 4.00 | 8.00 | 16.00 | |||||||||||||||||||
| vfncvt.xu.f.w v8,v16 | 1.00 | 2.00 | 4.00 | 8.00 | 16.00 | 2.00 | 4.00 | 8.00 | 16.00 | |||||||||||||||||||
| vfncvt.xu.f.w v8,v16,v0.t | 1.00 | 2.00 | 4.00 | 8.00 | 16.00 | 2.00 | 4.00 | 8.00 | 16.00 | |||||||||||||||||||
| vfncvt.x.f.w v8,v16 | 1.00 | 2.00 | 4.00 | 8.00 | 16.00 | 2.00 | 4.00 | 8.00 | 16.00 | |||||||||||||||||||
| vfncvt.x.f.w v8,v16,v0.t | 1.00 | 2.00 | 4.00 | 8.00 | 16.00 | 2.00 | 4.00 | 8.00 | 16.00 | |||||||||||||||||||
| vfncvt.f.xu.w v8,v16 | 1.00 | 2.00 | 4.00 | 8.00 | 16.00 | 2.00 | 4.00 | 8.00 | 16.00 | |||||||||||||||||||
| vfncvt.f.xu.w v8,v16,v0.t | 1.00 | 2.00 | 4.00 | 8.00 | 16.00 | 2.00 | 4.00 | 8.00 | 16.00 | |||||||||||||||||||
| vfncvt.f.x.w v8,v16 | 1.00 | 2.00 | 4.00 | 8.00 | 16.00 | 2.00 | 4.00 | 8.00 | 16.00 | |||||||||||||||||||
| vfncvt.f.x.w v8,v16,v0.t | 1.00 | 2.00 | 4.00 | 8.00 | 16.00 | 2.00 | 4.00 | 8.00 | 16.00 | |||||||||||||||||||
| vfncvt.f.f.w v8,v16 | 1.00 | 2.00 | 4.00 | 8.00 | 16.00 | 2.00 | 4.00 | 8.00 | 16.00 | |||||||||||||||||||
| vfncvt.f.f.w v8,v16,v0.t | 1.00 | 2.00 | 4.00 | 8.00 | 16.00 | 2.00 | 4.00 | 8.00 | 16.00 | |||||||||||||||||||
| vfncvt.rtz.x.f.w v8,v16 | 1.00 | 2.00 | 4.00 | 8.00 | 16.00 | 2.00 | 4.00 | 8.00 | 16.00 | |||||||||||||||||||
| vfncvt.rtz.x.f.w v8,v16,v0.t | 1.00 | 2.00 | 4.00 | 8.00 | 16.00 | 2.00 | 4.00 | 8.00 | 16.00 | |||||||||||||||||||
| vfncvt.rtz.xu.f.w v8,v16 | 1.00 | 2.00 | 4.00 | 8.00 | 16.00 | 2.00 | 4.00 | 8.00 | 16.00 | |||||||||||||||||||
| vfncvt.rtz.xu.f.w v8,v16,v0.t | 1.00 | 2.00 | 4.00 | 8.00 | 16.00 | 2.00 | 4.00 | 8.00 | 16.00 | |||||||||||||||||||
| vfncvt.rod.f.f.w v8,v16 | 1.00 | 2.00 | 4.00 | 8.00 | 16.00 | 2.00 | 4.00 | 8.00 | 16.00 | |||||||||||||||||||
| vfncvt.rod.f.f.w v8,v16,v0.t | 1.00 | 2.00 | 4.00 | 8.00 | 16.00 | 2.00 | 4.00 | 8.00 | 16.00 | |||||||||||||||||||
| vfsqrt.v v8,v16 | 9.89 | 9.73 | 16.76 | 31.27 | 59.61 | 117.71 | 12.48 | 18.22 | 30.78 | 55.19 | 102.57 | 25.33 | 38.84 | 61.48 | 109.62 | |||||||||||||
| vfsqrt.v v8,v16,v0.t | 8.40 | 8.66 | 15.41 | 29.54 | 57.74 | 113.97 | 9.01 | 14.34 | 26.32 | 51.37 | 100.17 | 16.46 | 30.40 | 50.77 | 97.63 | |||||||||||||
| vfrsqrt7.v v8,v16 | 1.00 | 1.00 | 2.00 | 4.00 | 8.00 | 16.00 | 1.00 | 2.00 | 4.00 | 8.00 | 16.00 | 2.00 | 4.00 | 8.00 | 16.00 | |||||||||||||
| vfrsqrt7.v v8,v16,v0.t | 1.00 | 1.00 | 2.00 | 4.00 | 8.00 | 16.00 | 1.00 | 2.00 | 4.00 | 8.00 | 16.00 | 2.00 | 4.00 | 8.00 | 16.00 | |||||||||||||
| vfrec7.v v8,v16 | 1.00 | 1.00 | 2.00 | 4.00 | 8.00 | 16.00 | 1.00 | 2.00 | 4.00 | 8.00 | 16.00 | 2.00 | 4.00 | 8.00 | 16.00 | |||||||||||||
| vfrec7.v v8,v16,v0.t | 1.00 | 1.00 | 2.00 | 4.00 | 8.00 | 16.00 | 1.00 | 2.00 | 4.00 | 8.00 | 16.00 | 2.00 | 4.00 | 8.00 | 16.00 | |||||||||||||
| vfclass.v v8,v16 | 1.00 | 1.00 | 2.00 | 4.00 | 8.00 | 16.00 | 1.00 | 2.00 | 4.00 | 8.00 | 16.00 | 2.00 | 4.00 | 8.00 | 16.00 | |||||||||||||
| vfclass.v v8,v16,v0.t | 1.00 | 1.00 | 2.00 | 4.00 | 8.00 | 16.00 | 1.00 | 2.00 | 4.00 | 8.00 | 16.00 | 2.00 | 4.00 | 8.00 | 16.00 | |||||||||||||
| vmsbf.m v8,v16 | 1.00 | 1.00 | 1.00 | 1.00 | 1.00 | 1.50 | 3.00 | 1.00 | 1.00 | 1.00 | 1.00 | 1.50 | 3.00 | 1.00 | 1.00 | 1.00 | 1.50 | 3.00 | 1.00 | 1.00 | 1.50 | 3.00 | ||||||
| vmsbf.m v8,v16,v0.t | 1.00 | 1.00 | 1.00 | 1.00 | 1.00 | 1.50 | 3.00 | 1.00 | 1.00 | 1.00 | 1.00 | 1.50 | 3.00 | 1.00 | 1.00 | 1.00 | 1.50 | 3.00 | 1.00 | 1.00 | 1.50 | 3.00 | ||||||
| vmsof.m v8,v16 | 1.00 | 1.00 | 1.00 | 1.00 | 1.00 | 1.50 | 3.00 | 1.00 | 1.00 | 1.00 | 1.00 | 1.50 | 3.00 | 1.00 | 1.00 | 1.00 | 1.50 | 3.00 | 1.00 | 1.00 | 1.50 | 3.00 | ||||||
| vmsof.m v8,v16,v0.t | 1.00 | 1.00 | 1.00 | 1.00 | 1.00 | 1.50 | 3.00 | 1.00 | 1.00 | 1.00 | 1.00 | 1.50 | 3.00 | 1.00 | 1.00 | 1.00 | 1.50 | 3.00 | 1.00 | 1.00 | 1.50 | 3.00 | ||||||
| vmsif.m v8,v16 | 1.00 | 1.00 | 1.00 | 1.00 | 1.00 | 1.50 | 3.00 | 1.00 | 1.00 | 1.00 | 1.00 | 1.50 | 3.00 | 1.00 | 1.00 | 1.00 | 1.50 | 3.00 | 1.00 | 1.00 | 1.50 | 3.00 | ||||||
| vmsif.m v8,v16,v0.t | 1.00 | 1.00 | 1.00 | 1.00 | 1.00 | 1.50 | 3.00 | 1.00 | 1.00 | 1.00 | 1.00 | 1.50 | 3.00 | 1.00 | 1.00 | 1.00 | 1.50 | 3.00 | 1.00 | 1.00 | 1.50 | 3.00 | ||||||
| viota.m v8,v16 | 1.00 | 1.00 | 1.00 | 2.00 | 4.00 | 8.00 | 16.00 | 1.00 | 1.00 | 2.00 | 4.00 | 8.00 | 16.00 | 1.00 | 2.00 | 4.00 | 8.00 | 16.00 | 2.00 | 4.00 | 8.00 | 16.00 | ||||||
| viota.m v8,v16,v0.t | 1.00 | 1.00 | 1.00 | 2.00 | 4.00 | 8.00 | 16.00 | 1.00 | 1.00 | 2.00 | 4.00 | 8.00 | 16.00 | 1.00 | 2.00 | 4.00 | 8.00 | 16.00 | 2.00 | 4.00 | 8.00 | 16.00 | ||||||
| vid.v v8 | 1.00 | 1.00 | 1.00 | 2.00 | 4.00 | 8.00 | 16.00 | 1.00 | 1.00 | 2.00 | 4.00 | 8.00 | 16.00 | 1.00 | 2.00 | 4.00 | 8.00 | 16.00 | 2.00 | 4.00 | 8.00 | 16.00 | ||||||
| vid.v v8,v0.t | 1.00 | 1.00 | 1.00 | 2.00 | 4.00 | 8.00 | 16.00 | 1.00 | 1.00 | 2.00 | 4.00 | 8.00 | 16.00 | 1.00 | 2.00 | 4.00 | 8.00 | 16.00 | 2.00 | 4.00 | 8.00 | 16.00 | ||||||
| vle8.v v8,(t0) | 1.22 | 1.27 | 1.25 | 1.22 | 2.55 | 5.92 | 12.30 | 1.30 | 1.27 | 1.17 | 1.52 | 2.70 | 6.14 | 1.17 | 1.27 | 1.27 | 2.00 | 4.00 | 1.25 | 1.27 | 2.00 | 4.00 | ||||||
| vle8.v v8,(t0),v0.t | 1.30 | 1.32 | 1.30 | 1.41 | 2.66 | 5.94 | 12.30 | 1.32 | 1.32 | 1.32 | 1.45 | 2.58 | 6.09 | 1.10 | 1.37 | 1.20 | 2.00 | 4.00 | 1.20 | 1.07 | 2.00 | 4.00 | ||||||
| vle16.v v8,(t0) | 1.15 | 1.20 | 1.52 | 1.37 | 1.30 | 1.37 | 2.70 | 5.89 | 12.60 | 1.22 | 1.25 | 1.52 | 2.58 | 5.97 | 1.35 | 1.27 | 2.00 | 4.00 | ||||||||||
| vle16.v v8,(t0),v0.t | 1.25 | 1.15 | 1.52 | 1.17 | 1.20 | 1.18 | 2.66 | 5.90 | 12.45 | 1.20 | 1.32 | 1.45 | 2.62 | 5.95 | 1.22 | 1.25 | 2.00 | 4.00 | ||||||||||
| vle32.v v8,(t0) | 1.27 | 1.56 | 1.32 | 1.37 | 1.35 | 1.22 | 2.81 | 5.87 | 12.45 | 1.22 | 1.41 | 2.66 | 6.07 | |||||||||||||||
| vle32.v v8,(t0),v0.t | 1.25 | 1.41 | 1.25 | 1.56 | 1.27 | 1.45 | 2.62 | 5.92 | 12.70 | 1.22 | 1.48 | 2.58 | 6.07 | |||||||||||||||
| vle64.v v8,(t0) | 1.11 | 1.30 | 1.00 | 1.07 | 2.22 | 5.87 | 12.20 | |||||||||||||||||||||
| vle64.v v8,(t0),v0.t | 1.22 | 1.18 | 1.30 | 1.03 | 2.18 | 5.95 | 12.20 | |||||||||||||||||||||
| vse8.v v8,(t0) | 1.25 | 1.57 | 1.45 | 2.75 | 4.45 | 9.28 | 16.60 | 1.12 | 1.32 | 1.45 | 2.45 | 4.40 | 9.70 | 1.30 | 1.42 | 1.55 | 2.50 | 4.55 | 1.35 | 1.50 | 1.30 | 2.70 | ||||||
| vse8.v v8,(t0),v0.t | 1.27 | 1.25 | 1.35 | 2.55 | 4.55 | 9.77 | 17.08 | 1.27 | 1.47 | 1.45 | 2.50 | 4.60 | 10.72 | 1.15 | 1.57 | 1.60 | 2.35 | 5.52 | 1.32 | 1.15 | 1.45 | 2.45 | ||||||
| vse16.v v8,(t0) | 1.22 | 1.30 | 2.30 | 1.45 | 1.45 | 2.45 | 4.40 | 10.94 | 16.70 | 1.17 | 1.40 | 2.65 | 6.32 | 11.77 | 1.30 | 1.35 | 2.55 | 6.76 | ||||||||||
| vse16.v v8,(t0),v0.t | 1.32 | 1.60 | 3.37 | 1.70 | 1.70 | 2.50 | 4.64 | 9.73 | 17.22 | 1.42 | 1.70 | 2.65 | 4.65 | 8.92 | 1.40 | 1.50 | 2.50 | 4.20 | ||||||||||
| vse32.v v8,(t0) | 1.10 | 2.45 | 1.55 | 2.30 | 1.65 | 2.65 | 4.60 | 9.80 | 17.52 | 1.60 | 2.55 | 4.65 | 10.59 | |||||||||||||||
| vse32.v v8,(t0),v0.t | 1.60 | 2.40 | 1.30 | 2.45 | 1.50 | 2.60 | 4.60 | 9.70 | 17.85 | 1.60 | 2.60 | 4.30 | 9.40 | |||||||||||||||
| vse64.v v8,(t0) | 2.35 | 2.50 | 2.35 | 2.20 | 4.20 | 9.61 | 16.50 | |||||||||||||||||||||
| vse64.v v8,(t0),v0.t | 2.10 | 2.30 | 2.45 | 2.35 | 4.45 | 9.60 | 17.45 | |||||||||||||||||||||
| vle8ff.v v8,(t0) | 1.27 | 1.32 | 1.12 | 1.30 | 2.70 | 5.92 | 12.35 | 1.30 | 1.22 | 1.25 | 1.41 | 2.62 | 6.03 | 1.25 | 1.22 | 1.27 | 2.00 | 4.00 | 1.17 | 1.37 | 2.00 | 4.00 | ||||||
| vle8ff.v v8,(t0),v0.t | 1.15 | 1.25 | 1.25 | 1.26 | 2.51 | 5.92 | 12.60 | 1.27 | 1.20 | 1.17 | 1.33 | 2.62 | 6.01 | 1.25 | 1.30 | 1.22 | 2.00 | 4.00 | 1.22 | 1.22 | 2.00 | 4.00 | ||||||
| vle16ff.v v8,(t0) | 1.32 | 1.15 | 1.30 | 1.12 | 1.17 | 1.18 | 2.58 | 5.89 | 12.35 | 1.20 | 1.40 | 1.15 | 2.66 | 5.95 | 1.22 | 1.27 | 2.00 | 4.00 | ||||||||||
| vle16ff.v v8,(t0),v0.t | 1.32 | 1.35 | 1.52 | 1.27 | 1.30 | 1.48 | 2.70 | 5.95 | 12.30 | 1.25 | 1.30 | 1.41 | 2.81 | 5.99 | 1.20 | 1.27 | 2.00 | 4.00 | ||||||||||
| vle32ff.v v8,(t0) | 1.20 | 1.48 | 1.32 | 1.33 | 1.27 | 1.37 | 2.70 | 5.88 | 12.50 | 1.22 | 1.33 | 2.58 | 5.88 | |||||||||||||||
| vle32ff.v v8,(t0),v0.t | 1.20 | 1.07 | 1.22 | 1.45 | 1.27 | 1.48 | 2.92 | 5.87 | 12.60 | 1.35 | 1.41 | 2.70 | 6.05 | |||||||||||||||
| vle64ff.v v8,(t0) | 1.18 | 1.22 | 1.30 | 1.22 | 2.11 | 5.94 | 12.45 | |||||||||||||||||||||
| vle64ff.v v8,(t0),v0.t | 1.03 | 1.26 | 1.30 | 1.33 | 2.07 | 5.97 | 12.10 | |||||||||||||||||||||
| vlm.v v8,(t0) | 1.30 | 1.12 | 1.30 | 1.12 | 1.37 | 2.00 | 4.00 | 1.22 | 1.22 | 1.20 | 1.22 | 2.00 | 4.00 | 1.32 | 1.25 | 1.20 | 2.00 | 4.00 | 1.27 | 1.22 | 2.00 | 4.00 | ||||||
| vsm.v v8,(t0) | 1.37 | 1.22 | 1.30 | 1.30 | 1.10 | 1.55 | 2.70 | 1.17 | 1.25 | 1.22 | 1.22 | 1.40 | 1.45 | 1.30 | 1.32 | 1.27 | 1.12 | 1.47 | 1.32 | 1.42 | 1.25 | 1.15 | ||||||
| vlse8.v v8,(t2),t3 | 3.00 | 5.00 | 9.00 | 21.10 | 50.01 | 114.01 | 242.01 | 3.00 | 5.00 | 9.00 | 21.10 | 50.01 | 114.01 | 3.00 | 5.00 | 9.00 | 21.15 | 50.01 | 3.00 | 5.00 | 9.00 | 21.15 | ||||||
| vlse8.v v8,(t2),t3,v0.t | 3.00 | 5.00 | 9.00 | 21.05 | 50.01 | 114.01 | 242.01 | 3.00 | 5.00 | 9.00 | 21.12 | 50.01 | 114.01 | 3.00 | 5.00 | 9.00 | 21.05 | 50.01 | 3.00 | 5.00 | 9.00 | 21.12 | ||||||
| vlse8.v v8,(t2),x0 | 3.00 | 5.00 | 9.00 | 17.07 | 50.01 | 114.01 | 242.01 | 3.00 | 5.00 | 9.00 | 17.07 | 50.01 | 114.01 | 3.00 | 5.00 | 9.00 | 17.07 | 50.01 | 3.00 | 5.00 | 9.00 | 17.07 | ||||||
| vlse8.v v8,(t2),x0,v0.t | 3.00 | 5.00 | 9.00 | 17.07 | 50.01 | 114.01 | 242.01 | 3.00 | 5.00 | 9.00 | 17.07 | 50.01 | 114.01 | 3.00 | 5.00 | 9.00 | 17.07 | 50.01 | 3.00 | 5.00 | 9.00 | 17.07 | ||||||
| vlse8.v v8,(t2),t1/*-1*/ | 3.00 | 5.00 | 9.00 | 22.89 | 48.04 | 114.01 | 242.01 | 3.00 | 5.00 | 9.00 | 23.06 | 48.03 | 114.01 | 3.00 | 5.00 | 9.00 | 22.80 | 48.04 | 3.00 | 5.00 | 9.00 | 22.31 | ||||||
| vlse8.v v8,(t2),t1/*-1*/,v0.t | 3.00 | 5.00 | 9.00 | 22.93 | 48.04 | 114.01 | 242.01 | 3.00 | 5.00 | 9.00 | 22.48 | 48.04 | 114.01 | 3.00 | 5.00 | 9.00 | 23.39 | 48.05 | 3.00 | 5.00 | 9.00 | 22.70 | ||||||
| vlse16.v v8,(t2),t3 | 3.00 | 5.00 | 9.00 | 3.00 | 5.00 | 9.00 | 21.60 | 50.01 | 114.01 | 3.00 | 5.00 | 9.00 | 22.17 | 50.01 | 3.00 | 5.00 | 9.00 | 22.10 | ||||||||||
| vlse16.v v8,(t2),t3,v0.t | 3.00 | 5.00 | 9.00 | 3.00 | 5.00 | 9.00 | 22.50 | 50.01 | 114.01 | 3.00 | 5.00 | 9.00 | 21.62 | 50.01 | 3.00 | 5.00 | 9.00 | 21.72 | ||||||||||
| vlse16.v v8,(t2),x0 | 3.00 | 5.00 | 9.00 | 3.00 | 5.00 | 9.00 | 17.07 | 50.01 | 114.01 | 3.00 | 5.00 | 9.00 | 17.07 | 50.01 | 3.00 | 5.00 | 9.00 | 17.07 | ||||||||||
| vlse16.v v8,(t2),x0,v0.t | 3.00 | 5.00 | 9.00 | 3.00 | 5.00 | 9.00 | 17.07 | 50.01 | 114.01 | 3.00 | 5.00 | 9.00 | 17.07 | 50.01 | 3.00 | 5.00 | 9.00 | 17.07 | ||||||||||
| vlse16.v v8,(t2),t1/*-1*/ | 3.00 | 5.00 | 9.00 | 3.00 | 5.00 | 9.00 | 24.00 | 50.01 | 114.01 | 3.00 | 5.00 | 9.00 | 24.00 | 50.01 | 3.00 | 5.00 | 9.00 | 24.00 | ||||||||||
| vlse16.v v8,(t2),t1/*-1*/,v0.t | 3.00 | 5.00 | 9.00 | 3.00 | 5.00 | 9.00 | 24.00 | 50.01 | 114.01 | 3.00 | 5.00 | 9.00 | 24.00 | 50.01 | 3.00 | 5.00 | 9.00 | 24.00 | ||||||||||
| vlse32.v v8,(t2),t3 | 3.00 | 5.00 | 3.00 | 5.00 | 3.00 | 5.00 | 9.00 | 20.00 | 50.01 | 3.00 | 5.00 | 9.00 | 20.00 | |||||||||||||||
| vlse32.v v8,(t2),t3,v0.t | 3.00 | 5.00 | 3.00 | 5.00 | 3.00 | 5.00 | 9.00 | 20.00 | 50.01 | 3.00 | 5.00 | 9.00 | 20.00 | |||||||||||||||
| vlse32.v v8,(t2),x0 | 3.00 | 5.00 | 3.00 | 5.00 | 3.00 | 5.00 | 9.00 | 17.07 | 50.01 | 3.00 | 5.00 | 9.00 | 17.07 | |||||||||||||||
| vlse32.v v8,(t2),x0,v0.t | 3.00 | 5.00 | 3.00 | 5.00 | 3.00 | 5.00 | 9.00 | 17.07 | 50.01 | 3.00 | 5.00 | 9.00 | 17.07 | |||||||||||||||
| vlse32.v v8,(t2),t1/*-1*/ | 3.00 | 5.00 | 3.00 | 5.00 | 3.00 | 5.00 | 9.00 | 20.00 | 50.01 | 3.00 | 5.00 | 9.00 | 20.00 | |||||||||||||||
| vlse32.v v8,(t2),t1/*-1*/,v0.t | 3.00 | 5.00 | 3.00 | 5.00 | 3.00 | 5.00 | 9.00 | 20.00 | 50.01 | 3.00 | 5.00 | 9.00 | 20.00 | |||||||||||||||
| vlse64.v v8,(t2),t3 | 3.00 | 3.00 | 3.00 | 3.00 | 5.00 | 10.19 | 24.00 | |||||||||||||||||||||
| vlse64.v v8,(t2),t3,v0.t | 3.00 | 3.00 | 3.00 | 3.00 | 5.00 | 10.17 | 24.00 | |||||||||||||||||||||
| vlse64.v v8,(t2),x0 | 3.00 | 3.00 | 3.00 | 3.00 | 5.00 | 9.00 | 22.00 | |||||||||||||||||||||
| vlse64.v v8,(t2),x0,v0.t | 3.00 | 3.00 | 3.00 | 3.00 | 5.00 | 9.00 | 22.00 | |||||||||||||||||||||
| vlse64.v v8,(t2),t1/*-1*/ | 3.00 | 3.00 | 3.00 | 3.00 | 5.00 | 10.32 | 24.00 | |||||||||||||||||||||
| vlse64.v v8,(t2),t1/*-1*/,v0.t | 3.00 | 3.00 | 3.00 | 3.00 | 5.00 | 10.32 | 24.00 | |||||||||||||||||||||
| vsse8.v v8,(t2),t3 | 4.00 | 8.00 | 16.00 | 32.03 | 71.57 | 140.87 | 297.52 | 4.00 | 8.00 | 16.00 | 32.00 | 71.00 | 138.50 | 4.00 | 8.00 | 16.00 | 32.00 | 69.80 | 4.00 | 8.00 | 16.00 | 32.00 | ||||||
| vsse8.v v8,(t2),t3,v0.t | 4.00 | 8.00 | 16.00 | 32.00 | 68.25 | 138.15 | 309.19 | 4.00 | 8.00 | 16.00 | 32.00 | 70.47 | 141.28 | 4.00 | 8.00 | 16.00 | 32.00 | 68.67 | 4.00 | 8.00 | 16.00 | 32.00 | ||||||
| vsse8.v v8,(t2),x0 | 4.00 | 8.00 | 16.00 | 32.00 | 64.00 | 128.00 | 256.00 | 4.00 | 8.00 | 16.00 | 32.00 | 64.00 | 128.00 | 4.00 | 8.00 | 16.00 | 32.00 | 64.00 | 4.00 | 8.00 | 16.00 | 32.00 | ||||||
| vsse8.v v8,(t2),x0,v0.t | 4.00 | 8.00 | 16.00 | 32.00 | 64.00 | 128.00 | 256.00 | 4.00 | 8.00 | 16.00 | 32.00 | 64.00 | 128.00 | 4.00 | 8.00 | 16.00 | 32.00 | 64.00 | 4.00 | 8.00 | 16.00 | 32.00 | ||||||
| vsse8.v v8,(t2),t1/*-1*/ | 4.00 | 8.00 | 16.00 | 32.00 | 64.00 | 131.52 | 262.60 | 4.00 | 8.00 | 16.00 | 32.00 | 64.00 | 128.11 | 4.55 | 8.45 | 16.00 | 32.00 | 64.00 | 4.45 | 8.30 | 16.00 | 32.04 | ||||||
| vsse8.v v8,(t2),t1/*-1*/,v0.t | 4.15 | 8.00 | 16.00 | 32.00 | 64.00 | 128.00 | 260.97 | 4.00 | 8.18 | 16.00 | 32.00 | 64.00 | 128.87 | 4.00 | 8.00 | 16.00 | 32.00 | 64.00 | 4.00 | 8.00 | 16.00 | 32.00 | ||||||
| vsse16.v v8,(t2),t3 | 4.00 | 8.00 | 16.00 | 4.00 | 8.00 | 16.00 | 32.29 | 74.41 | 141.62 | 4.00 | 8.00 | 16.00 | 33.51 | 74.01 | 4.00 | 8.00 | 16.00 | 34.24 | ||||||||||
| vsse16.v v8,(t2),t3,v0.t | 4.15 | 8.00 | 16.00 | 4.00 | 8.00 | 16.00 | 34.44 | 87.82 | 128.00 | 4.00 | 8.00 | 16.23 | 34.36 | 72.84 | 4.07 | 8.00 | 16.00 | 34.75 | ||||||||||
| vsse16.v v8,(t2),x0 | 4.00 | 8.00 | 16.00 | 4.00 | 8.00 | 16.00 | 32.00 | 64.00 | 128.00 | 4.00 | 8.00 | 16.00 | 32.00 | 64.00 | 4.00 | 8.00 | 16.00 | 32.00 | ||||||||||
| vsse16.v v8,(t2),x0,v0.t | 4.00 | 8.00 | 16.00 | 4.00 | 8.00 | 16.00 | 32.00 | 64.00 | 128.00 | 4.00 | 8.00 | 16.00 | 32.00 | 64.00 | 4.00 | 8.00 | 16.00 | 32.00 | ||||||||||
| vsse16.v v8,(t2),t1/*-1*/ | 4.00 | 8.00 | 16.00 | 4.00 | 8.00 | 16.00 | 32.00 | 69.53 | 139.74 | 4.00 | 8.00 | 16.00 | 32.00 | 64.00 | 5.56 | 8.00 | 16.00 | 32.00 | ||||||||||
| vsse16.v v8,(t2),t1/*-1*/,v0.t | 4.00 | 8.00 | 16.00 | 4.00 | 8.00 | 16.00 | 32.00 | 64.04 | 139.35 | 4.00 | 8.00 | 16.00 | 32.00 | 66.45 | 4.00 | 8.00 | 16.00 | 32.00 | ||||||||||
| vsse32.v v8,(t2),t3 | 4.00 | 8.61 | 4.00 | 8.71 | 4.00 | 8.53 | 16.01 | 32.00 | 64.00 | 4.00 | 8.00 | 16.23 | 32.00 | |||||||||||||||
| vsse32.v v8,(t2),t3,v0.t | 4.00 | 8.00 | 4.00 | 8.89 | 4.00 | 8.00 | 16.16 | 32.00 | 64.00 | 5.62 | 8.00 | 16.12 | 32.00 | |||||||||||||||
| vsse32.v v8,(t2),x0 | 4.00 | 8.00 | 4.00 | 8.00 | 4.00 | 8.00 | 16.00 | 32.00 | 64.00 | 4.00 | 8.00 | 16.00 | 32.00 | |||||||||||||||
| vsse32.v v8,(t2),x0,v0.t | 4.00 | 8.00 | 4.00 | 8.00 | 4.00 | 8.00 | 16.00 | 32.00 | 64.00 | 4.00 | 8.00 | 16.00 | 32.00 | |||||||||||||||
| vsse32.v v8,(t2),t1/*-1*/ | 4.00 | 8.00 | 4.00 | 8.00 | 4.00 | 8.00 | 16.00 | 32.00 | 74.09 | 4.00 | 8.00 | 16.00 | 33.57 | |||||||||||||||
| vsse32.v v8,(t2),t1/*-1*/,v0.t | 4.00 | 8.00 | 4.15 | 8.00 | 4.00 | 8.00 | 16.00 | 32.70 | 76.00 | 4.00 | 8.00 | 16.00 | 32.26 | |||||||||||||||
| vsse64.v v8,(t2),t3 | 6.58 | 6.58 | 6.75 | 5.08 | 8.57 | 16.00 | 32.00 | |||||||||||||||||||||
| vsse64.v v8,(t2),t3,v0.t | 5.45 | 4.00 | 4.00 | 4.00 | 9.15 | 16.00 | 32.00 | |||||||||||||||||||||
| vsse64.v v8,(t2),x0 | 4.00 | 4.00 | 4.00 | 4.00 | 8.00 | 16.00 | 32.00 | |||||||||||||||||||||
| vsse64.v v8,(t2),x0,v0.t | 4.00 | 4.00 | 4.00 | 4.00 | 8.00 | 16.00 | 32.00 | |||||||||||||||||||||
| vsse64.v v8,(t2),t1/*-1*/ | 4.00 | 4.05 | 4.00 | 4.00 | 8.00 | 16.99 | 32.00 | |||||||||||||||||||||
| vsse64.v v8,(t2),t1/*-1*/,v0.t | 4.22 | 4.00 | 4.00 | 4.00 | 9.00 | 17.28 | 32.00 | |||||||||||||||||||||
| vlseg2e8.v v8,(t0) | 4.87 | 4.87 | 4.62 | 7.37 | 12.38 | 28.17 | 4.87 | 4.87 | 4.68 | 4.97 | 12.72 | 4.87 | 4.87 | 2.75 | 4.81 | 4.87 | 2.22 | 3.04 | ||||||||||
| vlseg2e8.v v8,(t0),v0.t | 4.87 | 4.87 | 4.80 | 7.40 | 12.09 | 27.95 | 4.87 | 4.87 | 4.68 | 5.06 | 12.72 | 4.87 | 4.87 | 2.82 | 4.81 | 4.87 | 2.22 | 3.00 | ||||||||||
| vlseg2e16.v v8,(t0) | 4.87 | 4.53 | 7.37 | 4.87 | 4.65 | 7.37 | 12.37 | 28.44 | 4.87 | 4.56 | 4.84 | 12.74 | 4.87 | 2.72 | 4.78 | |||||||||||||
| vlseg2e16.v v8,(t0),v0.t | 4.87 | 4.80 | 7.33 | 4.87 | 4.74 | 7.35 | 12.43 | 28.17 | 4.87 | 4.62 | 4.65 | 12.79 | 4.87 | 2.75 | 4.97 | |||||||||||||
| vlseg2e32.v v8,(t0) | 4.56 | 7.33 | 4.74 | 7.40 | 4.65 | 7.38 | 12.49 | 28.47 | 4.77 | 4.87 | 12.79 | |||||||||||||||||
| vlseg2e32.v v8,(t0),v0.t | 4.48 | 7.34 | 4.59 | 7.42 | 4.74 | 7.34 | 12.54 | 28.58 | 4.53 | 4.87 | 12.67 | |||||||||||||||||
| vlseg2e64.v v8,(t0) | 7.40 | 7.45 | 7.37 | 7.38 | 12.31 | 28.62 | ||||||||||||||||||||||
| vlseg2e64.v v8,(t0),v0.t | 7.38 | 7.41 | 7.37 | 7.41 | 12.25 | 28.47 | ||||||||||||||||||||||
| vsseg2e8.v v8,(t0) | 3.00 | 3.00 | 4.00 | 8.00 | 16.00 | 32.00 | 3.00 | 3.00 | 4.00 | 8.00 | 16.00 | 3.00 | 3.00 | 4.00 | 8.00 | 3.00 | 3.00 | 4.00 | ||||||||||
| vsseg2e8.v v8,(t0),v0.t | 3.00 | 3.00 | 4.00 | 8.00 | 16.00 | 32.00 | 3.00 | 3.00 | 4.00 | 8.00 | 16.00 | 3.00 | 3.00 | 4.00 | 8.00 | 3.00 | 3.00 | 4.00 | ||||||||||
| vsseg2e16.v v8,(t0) | 3.00 | 4.00 | 8.00 | 3.00 | 4.00 | 8.00 | 16.00 | 32.00 | 3.00 | 4.00 | 8.00 | 16.00 | 3.00 | 4.00 | 8.00 | |||||||||||||
| vsseg2e16.v v8,(t0),v0.t | 3.00 | 4.00 | 8.00 | 3.00 | 4.00 | 8.00 | 16.00 | 32.00 | 3.00 | 4.00 | 8.00 | 16.00 | 3.00 | 4.00 | 8.00 | |||||||||||||
| vsseg2e32.v v8,(t0) | 4.15 | 8.00 | 4.00 | 8.00 | 4.00 | 8.00 | 16.00 | 32.00 | 4.00 | 8.00 | 16.00 | |||||||||||||||||
| vsseg2e32.v v8,(t0),v0.t | 4.27 | 8.00 | 4.00 | 8.00 | 4.00 | 8.00 | 16.00 | 32.00 | 4.00 | 8.00 | 16.00 | |||||||||||||||||
| vsseg2e64.v v8,(t0) | 8.00 | 8.00 | 8.00 | 8.00 | 16.00 | 32.00 | ||||||||||||||||||||||
| vsseg2e64.v v8,(t0),v0.t | 8.00 | 8.00 | 8.00 | 8.00 | 16.00 | 32.00 | ||||||||||||||||||||||
| vlseg3e8.v v8,(t0) | 5.09 | 4.95 | 5.49 | 9.69 | 19.33 | 5.05 | 4.93 | 5.71 | 9.05 | 5.05 | 4.92 | 5.34 | 5.03 | 5.18 | ||||||||||||||
| vlseg3e8.v v8,(t0),v0.t | 5.06 | 4.90 | 5.49 | 8.98 | 19.51 | 5.04 | 4.87 | 5.67 | 8.63 | 5.03 | 4.86 | 5.46 | 5.10 | 5.12 | ||||||||||||||
| vlseg3e16.v v8,(t0) | 5.20 | 5.43 | 8.81 | 5.11 | 5.27 | 9.55 | 19.19 | 4.87 | 5.54 | 8.61 | 4.84 | 5.34 | ||||||||||||||||
| vlseg3e16.v v8,(t0),v0.t | 5.03 | 5.65 | 9.60 | 5.06 | 5.48 | 9.14 | 19.40 | 4.92 | 5.54 | 8.61 | 4.97 | 5.32 | ||||||||||||||||
| vlseg3e32.v v8,(t0) | 5.53 | 9.29 | 5.36 | 8.60 | 5.53 | 9.07 | 19.47 | 5.65 | 8.63 | |||||||||||||||||||
| vlseg3e32.v v8,(t0),v0.t | 5.30 | 9.30 | 5.59 | 9.34 | 5.37 | 8.43 | 19.61 | 5.13 | 8.63 | |||||||||||||||||||
| vlseg3e64.v v8,(t0) | 10.15 | 10.16 | 10.15 | 10.13 | 19.57 | |||||||||||||||||||||||
| vlseg3e64.v v8,(t0),v0.t | 10.14 | 10.17 | 10.13 | 10.14 | 19.44 | |||||||||||||||||||||||
| vsseg3e8.v v8,(t0) | 4.00 | 5.00 | 7.00 | 14.00 | 28.00 | 4.00 | 5.00 | 7.00 | 14.00 | 4.00 | 5.00 | 7.00 | 4.00 | 5.00 | ||||||||||||||
| vsseg3e8.v v8,(t0),v0.t | 4.00 | 5.00 | 7.00 | 14.00 | 28.00 | 4.00 | 5.00 | 7.00 | 14.00 | 4.00 | 5.00 | 7.00 | 4.00 | 5.00 | ||||||||||||||
| vsseg3e16.v v8,(t0) | 5.00 | 7.00 | 14.00 | 5.00 | 7.00 | 14.00 | 28.00 | 5.00 | 7.00 | 14.00 | 5.00 | 7.00 | ||||||||||||||||
| vsseg3e16.v v8,(t0),v0.t | 5.00 | 7.00 | 14.00 | 5.00 | 7.00 | 14.00 | 28.00 | 5.00 | 7.00 | 14.00 | 5.00 | 7.00 | ||||||||||||||||
| vsseg3e32.v v8,(t0) | 7.00 | 14.00 | 7.00 | 14.00 | 7.00 | 14.00 | 28.00 | 7.00 | 14.00 | |||||||||||||||||||
| vsseg3e32.v v8,(t0),v0.t | 7.00 | 14.00 | 7.00 | 14.00 | 7.00 | 14.00 | 28.00 | 7.00 | 14.00 | |||||||||||||||||||
| vsseg3e64.v v8,(t0) | 12.00 | 12.00 | 12.00 | 12.00 | 24.00 | |||||||||||||||||||||||
| vsseg3e64.v v8,(t0),v0.t | 12.00 | 12.00 | 12.00 | 12.00 | 24.00 | |||||||||||||||||||||||
| vlseg4e8.v v8,(t0) | 5.48 | 5.34 | 7.75 | 11.12 | 28.11 | 5.37 | 5.34 | 7.59 | 11.00 | 5.40 | 5.35 | 6.94 | 5.37 | 6.14 | ||||||||||||||
| vlseg4e8.v v8,(t0),v0.t | 5.39 | 5.35 | 7.18 | 11.15 | 28.01 | 5.49 | 5.36 | 7.26 | 11.03 | 5.44 | 5.36 | 7.02 | 5.35 | 6.14 | ||||||||||||||
| vlseg4e16.v v8,(t0) | 5.34 | 7.43 | 11.16 | 5.34 | 7.02 | 11.15 | 27.77 | 5.34 | 7.10 | 10.94 | 5.35 | 6.93 | ||||||||||||||||
| vlseg4e16.v v8,(t0),v0.t | 5.35 | 6.70 | 11.13 | 5.35 | 7.43 | 11.17 | 27.91 | 5.35 | 7.42 | 10.90 | 5.33 | 6.96 | ||||||||||||||||
| vlseg4e32.v v8,(t0) | 7.43 | 11.14 | 7.02 | 11.14 | 7.02 | 11.17 | 28.30 | 7.34 | 11.03 | |||||||||||||||||||
| vlseg4e32.v v8,(t0),v0.t | 6.94 | 11.17 | 7.26 | 11.22 | 7.18 | 11.17 | 27.82 | 7.34 | 10.93 | |||||||||||||||||||
| vlseg4e64.v v8,(t0) | 11.98 | 11.94 | 11.33 | 11.86 | 26.47 | |||||||||||||||||||||||
| vlseg4e64.v v8,(t0),v0.t | 11.73 | 11.60 | 12.42 | 11.91 | 26.25 | |||||||||||||||||||||||
| vsseg4e8.v v8,(t0) | 5.00 | 6.00 | 8.00 | 16.00 | 32.00 | 5.00 | 6.00 | 8.00 | 16.00 | 5.00 | 6.00 | 8.00 | 5.00 | 6.00 | ||||||||||||||
| vsseg4e8.v v8,(t0),v0.t | 5.00 | 6.00 | 8.00 | 16.00 | 32.00 | 5.00 | 6.00 | 8.00 | 16.00 | 5.00 | 6.00 | 8.00 | 5.00 | 6.00 | ||||||||||||||
| vsseg4e16.v v8,(t0) | 6.00 | 8.00 | 16.00 | 6.00 | 8.00 | 16.00 | 32.00 | 6.00 | 8.00 | 16.00 | 6.00 | 8.00 | ||||||||||||||||
| vsseg4e16.v v8,(t0),v0.t | 6.00 | 8.00 | 16.00 | 6.00 | 8.00 | 16.00 | 32.00 | 6.00 | 8.00 | 16.00 | 6.00 | 8.00 | ||||||||||||||||
| vsseg4e32.v v8,(t0) | 8.00 | 16.00 | 8.00 | 16.00 | 8.00 | 16.00 | 32.00 | 8.00 | 16.00 | |||||||||||||||||||
| vsseg4e32.v v8,(t0),v0.t | 8.00 | 16.00 | 8.00 | 16.00 | 8.00 | 16.00 | 32.00 | 8.00 | 16.00 | |||||||||||||||||||
| vsseg4e64.v v8,(t0) | 16.00 | 16.00 | 16.00 | 16.00 | 32.00 | |||||||||||||||||||||||
| vsseg4e64.v v8,(t0),v0.t | 16.00 | 16.00 | 16.00 | 16.00 | 32.00 | |||||||||||||||||||||||
| vlseg5e8.v v8,(t0) | 20.00 | 40.00 | 80.00 | 159.37 | 20.00 | 40.00 | 80.00 | 20.00 | 40.00 | 20.00 | ||||||||||||||||||
| vlseg5e8.v v8,(t0),v0.t | 20.00 | 40.00 | 80.00 | 159.35 | 20.00 | 40.00 | 80.00 | 20.00 | 40.00 | 20.00 | ||||||||||||||||||
| vlseg5e16.v v8,(t0) | 20.00 | 40.00 | 79.24 | 20.00 | 40.00 | 79.21 | 20.00 | 40.00 | 20.00 | |||||||||||||||||||
| vlseg5e16.v v8,(t0),v0.t | 20.00 | 40.00 | 79.20 | 20.00 | 40.00 | 79.24 | 20.00 | 40.00 | 20.00 | |||||||||||||||||||
| vlseg5e32.v v8,(t0) | 20.00 | 39.37 | 20.00 | 39.30 | 20.00 | 39.27 | 20.00 | |||||||||||||||||||||
| vlseg5e32.v v8,(t0),v0.t | 20.00 | 39.34 | 20.00 | 39.44 | 20.00 | 39.37 | 20.00 | |||||||||||||||||||||
| vlseg5e64.v v8,(t0) | 19.58 | 19.58 | 19.58 | 19.56 | ||||||||||||||||||||||||
| vlseg5e64.v v8,(t0),v0.t | 19.58 | 19.58 | 19.56 | 19.57 | ||||||||||||||||||||||||
| vsseg5e8.v v8,(t0) | 20.00 | 40.00 | 80.00 | 160.98 | 20.00 | 40.00 | 80.00 | 20.00 | 40.00 | 20.00 | ||||||||||||||||||
| vsseg5e8.v v8,(t0),v0.t | 20.00 | 40.00 | 80.00 | 162.06 | 20.00 | 40.00 | 80.00 | 20.00 | 40.00 | 20.00 | ||||||||||||||||||
| vsseg5e16.v v8,(t0) | 20.00 | 40.00 | 81.24 | 20.00 | 40.00 | 82.81 | 20.00 | 40.00 | 20.00 | |||||||||||||||||||
| vsseg5e16.v v8,(t0),v0.t | 20.00 | 40.00 | 81.19 | 20.00 | 40.00 | 84.17 | 20.00 | 40.00 | 20.00 | |||||||||||||||||||
| vsseg5e32.v v8,(t0) | 20.75 | 44.93 | 20.32 | 44.12 | 20.00 | 43.77 | 20.80 | |||||||||||||||||||||
| vsseg5e32.v v8,(t0),v0.t | 20.00 | 44.54 | 20.15 | 43.80 | 20.00 | 44.38 | 20.00 | |||||||||||||||||||||
| vsseg5e64.v v8,(t0) | 20.03 | 20.00 | 20.00 | 20.00 | ||||||||||||||||||||||||
| vsseg5e64.v v8,(t0),v0.t | 20.00 | 20.00 | 20.00 | 20.00 | ||||||||||||||||||||||||
| vlseg6e8.v v8,(t0) | 24.37 | 48.37 | 96.37 | 191.35 | 24.37 | 48.37 | 96.37 | 24.37 | 48.37 | 24.37 | ||||||||||||||||||
| vlseg6e8.v v8,(t0),v0.t | 24.37 | 48.37 | 96.37 | 191.35 | 24.37 | 48.37 | 96.37 | 24.37 | 48.37 | 24.37 | ||||||||||||||||||
| vlseg6e16.v v8,(t0) | 24.37 | 48.37 | 95.13 | 24.37 | 48.37 | 95.12 | 24.37 | 48.37 | 24.37 | |||||||||||||||||||
| vlseg6e16.v v8,(t0),v0.t | 24.37 | 48.37 | 95.15 | 24.37 | 48.37 | 95.13 | 24.37 | 48.37 | 24.37 | |||||||||||||||||||
| vlseg6e32.v v8,(t0) | 24.37 | 47.34 | 24.37 | 47.31 | 24.37 | 47.31 | 24.37 | |||||||||||||||||||||
| vlseg6e32.v v8,(t0),v0.t | 24.37 | 47.27 | 24.37 | 47.25 | 24.37 | 47.36 | 24.37 | |||||||||||||||||||||
| vlseg6e64.v v8,(t0) | 23.27 | 23.23 | 23.28 | 23.21 | ||||||||||||||||||||||||
| vlseg6e64.v v8,(t0),v0.t | 23.35 | 23.21 | 23.25 | 23.20 | ||||||||||||||||||||||||
| vsseg6e8.v v8,(t0) | 24.00 | 48.00 | 96.00 | 195.98 | 24.00 | 48.00 | 96.00 | 24.00 | 48.00 | 24.00 | ||||||||||||||||||
| vsseg6e8.v v8,(t0),v0.t | 24.00 | 48.00 | 96.00 | 196.14 | 24.00 | 48.00 | 96.00 | 24.00 | 48.00 | 24.00 | ||||||||||||||||||
| vsseg6e16.v v8,(t0) | 24.00 | 48.05 | 104.06 | 24.00 | 48.00 | 105.34 | 24.00 | 48.00 | 24.00 | |||||||||||||||||||
| vsseg6e16.v v8,(t0),v0.t | 24.00 | 48.00 | 103.75 | 24.00 | 48.00 | 103.78 | 24.00 | 48.00 | 24.00 | |||||||||||||||||||
| vsseg6e32.v v8,(t0) | 24.00 | 55.66 | 24.00 | 54.33 | 24.00 | 59.47 | 24.00 | |||||||||||||||||||||
| vsseg6e32.v v8,(t0),v0.t | 24.00 | 56.42 | 24.00 | 56.50 | 24.00 | 54.33 | 24.00 | |||||||||||||||||||||
| vsseg6e64.v v8,(t0) | 24.00 | 24.00 | 24.30 | 24.00 | ||||||||||||||||||||||||
| vsseg6e64.v v8,(t0),v0.t | 24.00 | 24.00 | 24.00 | 24.00 | ||||||||||||||||||||||||
| vlseg7e8.v v8,(t0) | 28.25 | 56.25 | 112.25 | 223.30 | 28.25 | 56.25 | 112.25 | 28.25 | 56.25 | 28.25 | ||||||||||||||||||
| vlseg7e8.v v8,(t0),v0.t | 28.25 | 56.25 | 112.25 | 223.31 | 28.25 | 56.25 | 112.25 | 28.25 | 56.25 | 28.25 | ||||||||||||||||||
| vlseg7e16.v v8,(t0) | 28.25 | 56.25 | 111.12 | 28.25 | 56.25 | 111.12 | 28.25 | 56.25 | 28.25 | |||||||||||||||||||
| vlseg7e16.v v8,(t0),v0.t | 28.25 | 56.25 | 111.11 | 28.25 | 56.25 | 111.12 | 28.25 | 56.25 | 28.25 | |||||||||||||||||||
| vlseg7e32.v v8,(t0) | 28.25 | 55.03 | 28.25 | 55.05 | 28.25 | 54.98 | 28.25 | |||||||||||||||||||||
| vlseg7e32.v v8,(t0),v0.t | 28.25 | 55.04 | 28.25 | 55.03 | 28.25 | 55.05 | 28.25 | |||||||||||||||||||||
| vlseg7e64.v v8,(t0) | 27.24 | 27.17 | 27.20 | 27.20 | ||||||||||||||||||||||||
| vlseg7e64.v v8,(t0),v0.t | 27.17 | 27.27 | 27.24 | 27.17 | ||||||||||||||||||||||||
| vsseg7e8.v v8,(t0) | 28.00 | 56.00 | 112.00 | 226.20 | 28.00 | 56.00 | 112.24 | 28.00 | 56.00 | 28.00 | ||||||||||||||||||
| vsseg7e8.v v8,(t0),v0.t | 28.00 | 56.00 | 112.08 | 225.97 | 28.00 | 56.00 | 112.00 | 28.00 | 56.00 | 28.00 | ||||||||||||||||||
| vsseg7e16.v v8,(t0) | 28.00 | 56.00 | 113.90 | 28.00 | 56.00 | 112.80 | 28.00 | 56.00 | 28.00 | |||||||||||||||||||
| vsseg7e16.v v8,(t0),v0.t | 28.00 | 56.00 | 112.18 | 28.00 | 56.66 | 112.12 | 28.00 | 56.00 | 28.00 | |||||||||||||||||||
| vsseg7e32.v v8,(t0) | 28.00 | 62.77 | 29.08 | 60.83 | 28.01 | 60.52 | 28.00 | |||||||||||||||||||||
| vsseg7e32.v v8,(t0),v0.t | 28.42 | 56.73 | 28.00 | 61.09 | 28.47 | 56.33 | 28.33 | |||||||||||||||||||||
| vsseg7e64.v v8,(t0) | 28.00 | 28.00 | 28.00 | 28.00 | ||||||||||||||||||||||||
| vsseg7e64.v v8,(t0),v0.t | 28.00 | 28.00 | 28.00 | 28.00 | ||||||||||||||||||||||||
| vlseg8e8.v v8,(t0) | 32.15 | 64.12 | 128.12 | 255.18 | 32.15 | 64.12 | 128.12 | 32.15 | 64.12 | 32.15 | ||||||||||||||||||
| vlseg8e8.v v8,(t0),v0.t | 32.15 | 64.12 | 128.12 | 255.17 | 32.15 | 64.12 | 128.13 | 32.15 | 64.12 | 32.15 | ||||||||||||||||||
| vlseg8e16.v v8,(t0) | 32.13 | 64.14 | 127.13 | 32.13 | 64.14 | 127.13 | 32.14 | 64.13 | 32.13 | |||||||||||||||||||
| vlseg8e16.v v8,(t0),v0.t | 32.13 | 64.14 | 127.13 | 32.13 | 64.14 | 127.13 | 32.13 | 64.13 | 32.13 | |||||||||||||||||||
| vlseg8e32.v v8,(t0) | 32.20 | 63.16 | 32.16 | 63.18 | 32.19 | 63.16 | 32.19 | |||||||||||||||||||||
| vlseg8e32.v v8,(t0),v0.t | 32.18 | 63.18 | 32.18 | 63.15 | 32.16 | 63.16 | 32.18 | |||||||||||||||||||||
| vlseg8e64.v v8,(t0) | 31.12 | 31.12 | 31.12 | 31.12 | ||||||||||||||||||||||||
| vlseg8e64.v v8,(t0),v0.t | 31.12 | 31.12 | 31.12 | 31.12 | ||||||||||||||||||||||||
| vsseg8e8.v v8,(t0) | 32.00 | 64.00 | 128.00 | 265.60 | 32.00 | 64.00 | 128.00 | 32.00 | 64.00 | 32.00 | ||||||||||||||||||
| vsseg8e8.v v8,(t0),v0.t | 32.00 | 64.00 | 128.32 | 266.85 | 32.00 | 64.00 | 128.25 | 32.00 | 64.00 | 32.00 | ||||||||||||||||||
| vsseg8e16.v v8,(t0) | 32.00 | 64.00 | 131.18 | 32.00 | 65.84 | 140.45 | 32.00 | 66.21 | 32.00 | |||||||||||||||||||
| vsseg8e16.v v8,(t0),v0.t | 32.00 | 64.96 | 133.17 | 32.00 | 67.28 | 135.83 | 32.00 | 65.94 | 32.00 | |||||||||||||||||||
| vsseg8e32.v v8,(t0) | 37.29 | 76.28 | 32.76 | 75.77 | 32.65 | 77.66 | 33.85 | |||||||||||||||||||||
| vsseg8e32.v v8,(t0),v0.t | 32.61 | 76.00 | 32.53 | 80.01 | 33.29 | 73.80 | 33.09 | |||||||||||||||||||||
| vsseg8e64.v v8,(t0) | 32.00 | 32.00 | 32.00 | 32.00 | ||||||||||||||||||||||||
| vsseg8e64.v v8,(t0),v0.t | 32.00 | 32.00 | 32.00 | 32.00 | ||||||||||||||||||||||||
| vlseg2e8ff.v v8,(t0) | 4.87 | 4.87 | 4.50 | 7.40 | 12.43 | 28.10 | 4.87 | 4.87 | 4.65 | 4.84 | 12.67 | 4.87 | 4.87 | 2.70 | 4.84 | 4.87 | 2.23 | 2.75 | ||||||||||
| vlseg2e8ff.v v8,(t0),v0.t | 4.87 | 4.87 | 4.65 | 7.34 | 12.43 | 28.55 | 4.87 | 4.87 | 4.56 | 4.84 | 12.69 | 4.87 | 4.87 | 2.67 | 4.86 | 4.87 | 2.22 | 2.90 | ||||||||||
| vlseg2e16ff.v v8,(t0) | 4.87 | 4.77 | 7.31 | 4.87 | 4.50 | 7.31 | 12.03 | 28.47 | 4.87 | 4.53 | 4.81 | 12.77 | 4.87 | 2.75 | 4.75 | |||||||||||||
| vlseg2e16ff.v v8,(t0),v0.t | 4.87 | 4.65 | 7.30 | 4.87 | 4.44 | 7.34 | 12.31 | 28.02 | 4.87 | 4.65 | 4.65 | 12.74 | 4.87 | 2.67 | 4.86 | |||||||||||||
| vlseg2e32ff.v v8,(t0) | 4.69 | 7.35 | 4.44 | 7.40 | 4.47 | 7.33 | 12.43 | 28.46 | 4.56 | 4.81 | 12.77 | |||||||||||||||||
| vlseg2e32ff.v v8,(t0),v0.t | 4.62 | 7.31 | 4.77 | 7.40 | 4.47 | 7.33 | 12.60 | 28.22 | 4.62 | 4.68 | 12.69 | |||||||||||||||||
| vlseg2e64ff.v v8,(t0) | 7.44 | 7.45 | 7.44 | 7.42 | 12.22 | 28.49 | ||||||||||||||||||||||
| vlseg2e64ff.v v8,(t0),v0.t | 7.33 | 7.41 | 7.42 | 7.45 | 12.26 | 28.63 | ||||||||||||||||||||||
| vlseg3e8ff.v v8,(t0) | 5.03 | 4.95 | 5.48 | 9.85 | 19.36 | 5.06 | 4.81 | 5.66 | 9.33 | 5.08 | 5.01 | 5.42 | 5.03 | 5.10 | ||||||||||||||
| vlseg3e8ff.v v8,(t0),v0.t | 5.06 | 4.92 | 5.71 | 9.30 | 19.41 | 5.07 | 4.93 | 5.60 | 8.84 | 5.01 | 4.92 | 5.41 | 5.06 | 5.18 | ||||||||||||||
| vlseg3e16ff.v v8,(t0) | 4.80 | 5.43 | 8.53 | 4.87 | 5.65 | 9.24 | 19.40 | 5.07 | 5.38 | 8.62 | 4.92 | 5.34 | ||||||||||||||||
| vlseg3e16ff.v v8,(t0),v0.t | 5.07 | 5.53 | 9.60 | 4.96 | 5.65 | 9.21 | 19.49 | 4.99 | 5.43 | 8.62 | 4.91 | 5.34 | ||||||||||||||||
| vlseg3e32ff.v v8,(t0) | 5.24 | 9.45 | 5.70 | 8.97 | 5.53 | 9.07 | 19.45 | 5.36 | 8.63 | |||||||||||||||||||
| vlseg3e32ff.v v8,(t0),v0.t | 5.59 | 8.96 | 5.48 | 8.80 | 5.42 | 8.86 | 19.56 | 5.41 | 8.63 | |||||||||||||||||||
| vlseg3e64ff.v v8,(t0) | 10.14 | 10.13 | 10.16 | 10.12 | 19.50 | |||||||||||||||||||||||
| vlseg3e64ff.v v8,(t0),v0.t | 10.15 | 10.13 | 10.11 | 10.15 | 19.47 | |||||||||||||||||||||||
| vlseg4e8ff.v v8,(t0) | 5.44 | 5.35 | 7.34 | 11.17 | 28.01 | 5.47 | 5.35 | 6.94 | 10.96 | 5.53 | 5.34 | 6.93 | 5.39 | 5.95 | ||||||||||||||
| vlseg4e8ff.v v8,(t0),v0.t | 5.49 | 5.35 | 7.26 | 11.16 | 27.72 | 5.35 | 5.35 | 7.34 | 11.11 | 5.39 | 5.35 | 7.00 | 5.39 | 5.98 | ||||||||||||||
| vlseg4e16ff.v v8,(t0) | 5.35 | 7.51 | 11.18 | 5.34 | 7.51 | 11.16 | 27.91 | 5.35 | 7.59 | 11.06 | 5.35 | 6.98 | ||||||||||||||||
| vlseg4e16ff.v v8,(t0),v0.t | 5.35 | 7.18 | 11.19 | 5.35 | 7.02 | 11.11 | 27.82 | 5.36 | 7.43 | 10.90 | 5.34 | 6.98 | ||||||||||||||||
| vlseg4e32ff.v v8,(t0) | 7.34 | 11.11 | 7.26 | 11.15 | 7.34 | 11.12 | 27.62 | 7.51 | 11.06 | |||||||||||||||||||
| vlseg4e32ff.v v8,(t0),v0.t | 7.51 | 11.15 | 6.86 | 11.13 | 7.02 | 11.16 | 28.01 | 7.10 | 10.87 | |||||||||||||||||||
| vlseg4e64ff.v v8,(t0) | 12.00 | 11.33 | 11.86 | 11.33 | 26.14 | |||||||||||||||||||||||
| vlseg4e64ff.v v8,(t0),v0.t | 12.00 | 11.87 | 11.46 | 11.83 | 26.36 | |||||||||||||||||||||||
| vlseg5e8ff.v v8,(t0) | 20.00 | 40.00 | 80.00 | 159.37 | 20.00 | 40.00 | 80.00 | 20.00 | 40.00 | 20.00 | ||||||||||||||||||
| vlseg5e8ff.v v8,(t0),v0.t | 20.00 | 40.00 | 80.00 | 159.37 | 20.00 | 40.00 | 80.00 | 20.00 | 40.00 | 20.00 | ||||||||||||||||||
| vlseg5e16ff.v v8,(t0) | 20.00 | 40.00 | 79.25 | 20.00 | 40.00 | 79.20 | 20.00 | 40.00 | 20.00 | |||||||||||||||||||
| vlseg5e16ff.v v8,(t0),v0.t | 20.00 | 40.00 | 79.21 | 20.00 | 40.00 | 79.20 | 20.00 | 40.00 | 20.00 | |||||||||||||||||||
| vlseg5e32ff.v v8,(t0) | 20.00 | 39.44 | 20.00 | 39.34 | 20.00 | 39.38 | 20.00 | |||||||||||||||||||||
| vlseg5e32ff.v v8,(t0),v0.t | 20.00 | 39.40 | 20.00 | 39.39 | 20.00 | 39.29 | 20.00 | |||||||||||||||||||||
| vlseg5e64ff.v v8,(t0) | 19.57 | 19.58 | 19.58 | 19.58 | ||||||||||||||||||||||||
| vlseg5e64ff.v v8,(t0),v0.t | 19.60 | 19.59 | 19.56 | 19.56 | ||||||||||||||||||||||||
| vlseg6e8ff.v v8,(t0) | 24.37 | 48.37 | 96.37 | 191.36 | 24.37 | 48.37 | 96.37 | 24.37 | 48.37 | 24.37 | ||||||||||||||||||
| vlseg6e8ff.v v8,(t0),v0.t | 24.37 | 48.37 | 96.37 | 191.37 | 24.37 | 48.37 | 96.37 | 24.37 | 48.37 | 24.37 | ||||||||||||||||||
| vlseg6e16ff.v v8,(t0) | 24.37 | 48.37 | 95.15 | 24.37 | 48.37 | 95.12 | 24.37 | 48.37 | 24.37 | |||||||||||||||||||
| vlseg6e16ff.v v8,(t0),v0.t | 24.37 | 48.37 | 95.13 | 24.37 | 48.37 | 95.13 | 24.37 | 48.37 | 24.37 | |||||||||||||||||||
| vlseg6e32ff.v v8,(t0) | 24.37 | 47.37 | 24.37 | 47.28 | 24.37 | 47.40 | 24.37 | |||||||||||||||||||||
| vlseg6e32ff.v v8,(t0),v0.t | 24.37 | 47.33 | 24.37 | 47.33 | 24.37 | 47.30 | 24.37 | |||||||||||||||||||||
| vlseg6e64ff.v v8,(t0) | 23.30 | 23.23 | 23.23 | 23.20 | ||||||||||||||||||||||||
| vlseg6e64ff.v v8,(t0),v0.t | 23.25 | 23.34 | 23.32 | 23.27 | ||||||||||||||||||||||||
| vlseg7e8ff.v v8,(t0) | 28.25 | 56.25 | 112.25 | 223.30 | 28.25 | 56.25 | 112.25 | 28.25 | 56.25 | 28.25 | ||||||||||||||||||
| vlseg7e8ff.v v8,(t0),v0.t | 28.25 | 56.25 | 112.25 | 223.34 | 28.25 | 56.25 | 112.25 | 28.25 | 56.25 | 28.25 | ||||||||||||||||||
| vlseg7e16ff.v v8,(t0) | 28.25 | 56.25 | 111.13 | 28.25 | 56.25 | 111.10 | 28.25 | 56.25 | 28.25 | |||||||||||||||||||
| vlseg7e16ff.v v8,(t0),v0.t | 28.25 | 56.25 | 111.11 | 28.25 | 56.25 | 111.12 | 28.25 | 56.25 | 28.25 | |||||||||||||||||||
| vlseg7e32ff.v v8,(t0) | 28.25 | 55.03 | 28.25 | 55.03 | 28.25 | 55.04 | 28.25 | |||||||||||||||||||||
| vlseg7e32ff.v v8,(t0),v0.t | 28.25 | 55.02 | 28.25 | 54.99 | 28.25 | 55.04 | 28.25 | |||||||||||||||||||||
| vlseg7e64ff.v v8,(t0) | 27.20 | 27.16 | 27.20 | 27.20 | ||||||||||||||||||||||||
| vlseg7e64ff.v v8,(t0),v0.t | 27.13 | 27.23 | 27.19 | 27.20 | ||||||||||||||||||||||||
| vlseg8e8ff.v v8,(t0) | 32.15 | 64.12 | 128.12 | 255.18 | 32.15 | 64.12 | 128.13 | 32.15 | 64.12 | 32.15 | ||||||||||||||||||
| vlseg8e8ff.v v8,(t0),v0.t | 32.15 | 64.12 | 128.12 | 255.18 | 32.15 | 64.12 | 128.13 | 32.15 | 64.12 | 32.15 | ||||||||||||||||||
| vlseg8e16ff.v v8,(t0) | 32.14 | 64.13 | 127.12 | 32.13 | 64.13 | 127.13 | 32.14 | 64.13 | 32.13 | |||||||||||||||||||
| vlseg8e16ff.v v8,(t0),v0.t | 32.13 | 64.13 | 127.14 | 32.13 | 64.13 | 127.14 | 32.13 | 64.13 | 32.14 | |||||||||||||||||||
| vlseg8e32ff.v v8,(t0) | 32.17 | 63.17 | 32.17 | 63.16 | 32.19 | 63.16 | 32.14 | |||||||||||||||||||||
| vlseg8e32ff.v v8,(t0),v0.t | 32.18 | 63.17 | 32.19 | 63.17 | 32.18 | 63.18 | 32.19 | |||||||||||||||||||||
| vlseg8e64ff.v v8,(t0) | 31.12 | 31.12 | 31.12 | 31.12 | ||||||||||||||||||||||||
| vlseg8e64ff.v v8,(t0),v0.t | 31.12 | 31.12 | 31.12 | 31.12 | ||||||||||||||||||||||||
| vlsseg2e8.v v8,(t2),t3 | 5.23 | 6.02 | 11.54 | 25.00 | 59.01 | 137.01 | 5.23 | 6.12 | 11.27 | 25.00 | 59.01 | 5.24 | 6.10 | 9.50 | 25.00 | 5.29 | 5.50 | 9.50 | ||||||||||
| vlsseg2e8.v v8,(t2),t3,v0.t | 5.21 | 6.10 | 11.27 | 25.00 | 59.01 | 137.01 | 5.33 | 6.01 | 11.44 | 25.05 | 59.01 | 5.25 | 6.11 | 9.50 | 25.00 | 5.15 | 5.47 | 9.50 | ||||||||||
| vlsseg2e8.v v8,(t2),x0 | 5.33 | 5.62 | 9.40 | 19.50 | 55.50 | 130.00 | 5.32 | 5.62 | 9.00 | 19.50 | 55.59 | 5.33 | 5.62 | 9.00 | 19.50 | 5.47 | 5.00 | 9.00 | ||||||||||
| vlsseg2e8.v v8,(t2),x0,v0.t | 5.35 | 5.62 | 9.00 | 19.50 | 55.50 | 130.00 | 5.18 | 5.62 | 9.00 | 19.50 | 55.50 | 5.29 | 5.62 | 9.00 | 19.50 | 5.33 | 5.00 | 9.00 | ||||||||||
| vlsseg2e8.v v8,(t2),t1/*-1*/ | 5.11 | 6.00 | 9.50 | 24.80 | 60.00 | 137.01 | 5.16 | 6.02 | 9.50 | 24.87 | 60.00 | 5.30 | 6.10 | 9.50 | 23.86 | 4.84 | 5.30 | 9.50 | ||||||||||
| vlsseg2e8.v v8,(t2),t1/*-1*/,v0.t | 5.16 | 6.10 | 9.50 | 25.27 | 60.00 | 137.01 | 5.02 | 6.00 | 9.50 | 24.55 | 60.00 | 5.02 | 5.97 | 9.50 | 25.10 | 5.11 | 5.40 | 9.50 | ||||||||||
| vlsseg2e16.v v8,(t2),t3 | 5.12 | 6.58 | 14.00 | 5.14 | 6.74 | 14.00 | 35.15 | 81.45 | 5.17 | 6.48 | 14.00 | 35.10 | 5.08 | 5.50 | 14.00 | |||||||||||||
| vlsseg2e16.v v8,(t2),t3,v0.t | 5.16 | 6.74 | 14.00 | 5.13 | 6.84 | 14.00 | 35.40 | 81.20 | 5.13 | 6.43 | 14.00 | 35.70 | 5.17 | 5.50 | 14.00 | |||||||||||||
| vlsseg2e16.v v8,(t2),x0 | 5.20 | 5.62 | 11.50 | 5.59 | 5.62 | 11.50 | 32.00 | 75.49 | 5.36 | 5.62 | 11.50 | 32.00 | 5.28 | 5.00 | 11.50 | |||||||||||||
| vlsseg2e16.v v8,(t2),x0,v0.t | 5.17 | 5.62 | 11.50 | 5.29 | 5.62 | 11.50 | 32.00 | 75.50 | 5.41 | 5.62 | 11.50 | 32.00 | 5.28 | 5.00 | 11.50 | |||||||||||||
| vlsseg2e16.v v8,(t2),t1/*-1*/ | 5.12 | 6.12 | 13.62 | 5.09 | 6.12 | 13.62 | 35.85 | 80.15 | 5.14 | 6.12 | 13.60 | 35.90 | 4.78 | 5.50 | 13.55 | |||||||||||||
| vlsseg2e16.v v8,(t2),t1/*-1*/,v0.t | 5.07 | 6.12 | 13.61 | 4.99 | 6.12 | 13.62 | 36.00 | 80.45 | 5.02 | 6.12 | 13.63 | 35.82 | 5.10 | 5.50 | 13.83 | |||||||||||||
| vlsseg2e32.v v8,(t2),t3 | 4.79 | 9.67 | 5.04 | 9.92 | 4.98 | 9.92 | 21.97 | 52.00 | 4.90 | 9.94 | 21.95 | |||||||||||||||||
| vlsseg2e32.v v8,(t2),t3,v0.t | 4.86 | 9.91 | 4.87 | 9.88 | 4.86 | 9.94 | 21.93 | 52.00 | 4.82 | 9.97 | 22.00 | |||||||||||||||||
| vlsseg2e32.v v8,(t2),x0 | 5.28 | 9.00 | 5.36 | 9.25 | 5.21 | 9.00 | 20.51 | 46.01 | 5.21 | 9.03 | 20.50 | |||||||||||||||||
| vlsseg2e32.v v8,(t2),x0,v0.t | 5.43 | 9.00 | 5.36 | 9.00 | 5.22 | 9.00 | 20.51 | 46.01 | 5.39 | 9.06 | 20.51 | |||||||||||||||||
| vlsseg2e32.v v8,(t2),t1/*-1*/ | 4.83 | 8.82 | 4.81 | 8.85 | 4.82 | 9.00 | 23.40 | 52.60 | 4.82 | 8.95 | 23.45 | |||||||||||||||||
| vlsseg2e32.v v8,(t2),t1/*-1*/,v0.t | 4.77 | 9.00 | 4.81 | 8.90 | 4.83 | 9.00 | 23.70 | 52.58 | 4.82 | 8.87 | 23.60 | |||||||||||||||||
| vlsseg2e64.v v8,(t2),t3 | 5.94 | 5.75 | 5.90 | 5.88 | 15.00 | 32.07 | ||||||||||||||||||||||
| vlsseg2e64.v v8,(t2),t3,v0.t | 5.78 | 5.90 | 5.95 | 5.88 | 15.00 | 32.07 | ||||||||||||||||||||||
| vlsseg2e64.v v8,(t2),x0 | 7.30 | 7.43 | 7.16 | 7.43 | 14.75 | 36.11 | ||||||||||||||||||||||
| vlsseg2e64.v v8,(t2),x0,v0.t | 7.18 | 7.03 | 7.43 | 7.43 | 14.37 | 33.41 | ||||||||||||||||||||||
| vlsseg2e64.v v8,(t2),t1/*-1*/ | 5.88 | 5.93 | 5.86 | 5.95 | 15.00 | 32.07 | ||||||||||||||||||||||
| vlsseg2e64.v v8,(t2),t1/*-1*/,v0.t | 5.82 | 5.86 | 6.01 | 5.88 | 15.00 | 32.07 | ||||||||||||||||||||||
| vssseg2e8.v v8,(t2),t3 | 4.05 | 8.90 | 17.00 | 34.00 | 73.60 | 145.48 | 4.05 | 8.85 | 17.00 | 34.00 | 76.50 | 4.00 | 8.95 | 17.00 | 35.37 | 4.20 | 8.85 | 17.00 | ||||||||||
| vssseg2e8.v v8,(t2),t3,v0.t | 4.12 | 8.95 | 17.00 | 34.00 | 72.07 | 151.86 | 4.20 | 8.75 | 17.00 | 34.00 | 72.85 | 4.10 | 8.90 | 17.00 | 34.00 | 4.05 | 8.75 | 17.00 | ||||||||||
| vssseg2e8.v v8,(t2),x0 | 4.00 | 8.00 | 16.00 | 32.00 | 64.00 | 128.00 | 4.00 | 8.00 | 16.00 | 32.00 | 64.00 | 4.00 | 8.00 | 16.00 | 32.00 | 4.00 | 8.00 | 16.00 | ||||||||||
| vssseg2e8.v v8,(t2),x0,v0.t | 4.00 | 8.00 | 16.00 | 32.00 | 64.00 | 128.00 | 4.00 | 8.00 | 16.00 | 32.00 | 64.00 | 4.00 | 8.00 | 16.00 | 32.00 | 4.00 | 8.00 | 16.00 | ||||||||||
| vssseg2e8.v v8,(t2),t1/*-1*/ | 4.50 | 8.55 | 17.00 | 34.00 | 68.00 | 137.70 | 4.45 | 8.70 | 17.37 | 34.00 | 68.00 | 4.60 | 8.85 | 17.00 | 34.00 | 5.97 | 8.55 | 17.00 | ||||||||||
| vssseg2e8.v v8,(t2),t1/*-1*/,v0.t | 6.41 | 8.80 | 17.00 | 34.00 | 68.00 | 139.03 | 4.65 | 8.80 | 17.00 | 34.00 | 68.00 | 4.60 | 8.50 | 17.00 | 34.00 | 4.45 | 8.50 | 17.00 | ||||||||||
| vssseg2e16.v v8,(t2),t3 | 4.99 | 9.00 | 18.00 | 4.25 | 9.00 | 18.00 | 38.21 | 88.75 | 4.00 | 9.00 | 18.00 | 43.42 | 4.00 | 9.00 | 18.00 | |||||||||||||
| vssseg2e16.v v8,(t2),t3,v0.t | 4.00 | 9.00 | 18.00 | 4.40 | 9.00 | 18.30 | 43.79 | 87.66 | 4.00 | 9.00 | 18.00 | 40.24 | 4.00 | 9.00 | 18.00 | |||||||||||||
| vssseg2e16.v v8,(t2),x0 | 4.00 | 8.00 | 16.00 | 4.00 | 8.00 | 16.00 | 32.00 | 64.00 | 4.00 | 8.00 | 16.00 | 32.00 | 4.00 | 8.00 | 16.00 | |||||||||||||
| vssseg2e16.v v8,(t2),x0,v0.t | 4.00 | 8.00 | 16.00 | 4.00 | 8.00 | 16.00 | 32.00 | 64.00 | 4.00 | 8.00 | 16.00 | 32.00 | 4.00 | 8.00 | 16.00 | |||||||||||||
| vssseg2e16.v v8,(t2),t1/*-1*/ | 5.65 | 9.00 | 18.00 | 4.80 | 9.00 | 18.00 | 36.00 | 74.68 | 4.65 | 9.00 | 18.00 | 36.00 | 4.55 | 9.00 | 18.00 | |||||||||||||
| vssseg2e16.v v8,(t2),t1/*-1*/,v0.t | 4.50 | 9.00 | 18.00 | 4.75 | 9.00 | 18.00 | 36.00 | 76.19 | 4.90 | 9.00 | 18.00 | 36.00 | 4.55 | 9.00 | 18.00 | |||||||||||||
| vssseg2e32.v v8,(t2),t3 | 5.21 | 10.37 | 5.00 | 10.00 | 5.77 | 10.05 | 20.53 | 40.07 | 5.00 | 10.00 | 20.78 | |||||||||||||||||
| vssseg2e32.v v8,(t2),t3,v0.t | 5.00 | 10.00 | 5.00 | 10.15 | 5.00 | 10.00 | 21.07 | 40.99 | 5.00 | 10.30 | 21.62 | |||||||||||||||||
| vssseg2e32.v v8,(t2),x0 | 4.00 | 8.00 | 4.00 | 8.00 | 4.00 | 8.00 | 16.00 | 32.00 | 4.00 | 8.40 | 16.00 | |||||||||||||||||
| vssseg2e32.v v8,(t2),x0,v0.t | 4.00 | 8.00 | 4.20 | 8.00 | 4.00 | 8.00 | 16.00 | 32.00 | 4.00 | 8.00 | 16.00 | |||||||||||||||||
| vssseg2e32.v v8,(t2),t1/*-1*/ | 5.00 | 10.00 | 5.50 | 10.00 | 5.00 | 10.00 | 20.00 | 43.81 | 5.00 | 10.00 | 20.00 | |||||||||||||||||
| vssseg2e32.v v8,(t2),t1/*-1*/,v0.t | 5.00 | 10.00 | 5.00 | 10.00 | 5.00 | 10.07 | 20.00 | 44.42 | 5.00 | 10.00 | 20.00 | |||||||||||||||||
| vssseg2e64.v v8,(t2),t3 | 8.00 | 8.45 | 8.00 | 8.00 | 16.00 | 32.50 | ||||||||||||||||||||||
| vssseg2e64.v v8,(t2),t3,v0.t | 8.75 | 8.00 | 8.00 | 8.00 | 16.00 | 32.50 | ||||||||||||||||||||||
| vssseg2e64.v v8,(t2),x0 | 8.00 | 8.00 | 8.00 | 8.00 | 16.00 | 32.00 | ||||||||||||||||||||||
| vssseg2e64.v v8,(t2),x0,v0.t | 8.00 | 8.00 | 8.00 | 8.00 | 16.00 | 32.00 | ||||||||||||||||||||||
| vssseg2e64.v v8,(t2),t1/*-1*/ | 8.00 | 8.00 | 8.00 | 8.15 | 16.00 | 36.91 | ||||||||||||||||||||||
| vssseg2e64.v v8,(t2),t1/*-1*/,v0.t | 8.00 | 8.00 | 8.00 | 8.00 | 16.00 | 35.71 | ||||||||||||||||||||||
| vlsseg3e8.v v8,(t2),t3 | 5.54 | 6.33 | 12.70 | 28.40 | 68.01 | 5.50 | 6.33 | 12.67 | 27.50 | 5.44 | 6.38 | 12.66 | 5.24 | 6.75 | ||||||||||||||
| vlsseg3e8.v v8,(t2),t3,v0.t | 5.27 | 6.33 | 12.67 | 28.40 | 68.01 | 5.54 | 6.33 | 12.76 | 27.20 | 5.57 | 6.33 | 12.73 | 5.55 | 6.75 | ||||||||||||||
| vlsseg3e8.v v8,(t2),x0 | 4.96 | 6.25 | 9.83 | 22.00 | 60.65 | 4.96 | 6.25 | 9.83 | 22.00 | 4.93 | 6.25 | 9.83 | 4.87 | 6.25 | ||||||||||||||
| vlsseg3e8.v v8,(t2),x0,v0.t | 4.96 | 6.42 | 9.83 | 22.00 | 60.57 | 4.89 | 6.25 | 9.83 | 22.00 | 4.96 | 6.25 | 9.83 | 4.98 | 6.25 | ||||||||||||||
| vlsseg3e8.v v8,(t2),t1/*-1*/ | 5.20 | 6.74 | 10.83 | 29.30 | 68.01 | 5.20 | 6.80 | 10.83 | 29.57 | 5.18 | 6.62 | 10.83 | 5.20 | 7.15 | ||||||||||||||
| vlsseg3e8.v v8,(t2),t1/*-1*/,v0.t | 5.18 | 6.48 | 10.83 | 29.45 | 68.01 | 5.22 | 6.80 | 10.83 | 29.55 | 5.23 | 6.71 | 10.83 | 5.20 | 6.84 | ||||||||||||||
| vlsseg3e16.v v8,(t2),t3 | 5.05 | 7.32 | 17.60 | 5.06 | 7.25 | 17.92 | 42.98 | 5.06 | 7.32 | 18.17 | 5.05 | 7.25 | ||||||||||||||||
| vlsseg3e16.v v8,(t2),t3,v0.t | 5.06 | 7.25 | 18.05 | 5.06 | 7.25 | 17.95 | 43.30 | 5.06 | 7.32 | 17.52 | 5.06 | 7.31 | ||||||||||||||||
| vlsseg3e16.v v8,(t2),x0 | 4.92 | 6.25 | 11.50 | 4.96 | 6.60 | 11.50 | 37.20 | 5.03 | 6.25 | 11.50 | 5.00 | 6.25 | ||||||||||||||||
| vlsseg3e16.v v8,(t2),x0,v0.t | 5.25 | 6.25 | 11.50 | 4.89 | 6.25 | 11.50 | 37.06 | 5.06 | 6.25 | 11.50 | 5.01 | 6.25 | ||||||||||||||||
| vlsseg3e16.v v8,(t2),t1/*-1*/ | 5.23 | 6.83 | 14.30 | 5.23 | 6.83 | 14.49 | 42.17 | 5.18 | 6.83 | 14.22 | 5.18 | 7.25 | ||||||||||||||||
| vlsseg3e16.v v8,(t2),t1/*-1*/,v0.t | 5.25 | 6.83 | 14.21 | 5.23 | 6.83 | 14.31 | 42.36 | 5.20 | 6.83 | 14.17 | 5.18 | 7.25 | ||||||||||||||||
| vlsseg3e32.v v8,(t2),t3 | 5.25 | 11.00 | 5.25 | 11.00 | 5.25 | 11.00 | 31.90 | 5.25 | 11.00 | |||||||||||||||||||
| vlsseg3e32.v v8,(t2),t3,v0.t | 5.25 | 11.00 | 5.25 | 11.00 | 5.25 | 11.00 | 31.30 | 5.25 | 11.00 | |||||||||||||||||||
| vlsseg3e32.v v8,(t2),x0 | 5.38 | 9.87 | 5.10 | 9.75 | 5.24 | 9.50 | 28.38 | 5.60 | 9.75 | |||||||||||||||||||
| vlsseg3e32.v v8,(t2),x0,v0.t | 5.23 | 9.75 | 5.17 | 9.25 | 4.94 | 9.75 | 28.37 | 5.10 | 9.75 | |||||||||||||||||||
| vlsseg3e32.v v8,(t2),t1/*-1*/ | 5.25 | 10.49 | 5.25 | 10.59 | 5.25 | 10.38 | 31.40 | 5.25 | 10.56 | |||||||||||||||||||
| vlsseg3e32.v v8,(t2),t1/*-1*/,v0.t | 5.25 | 10.56 | 5.25 | 10.49 | 5.25 | 10.59 | 31.00 | 5.25 | 10.71 | |||||||||||||||||||
| vlsseg3e64.v v8,(t2),t3 | 10.24 | 10.43 | 10.48 | 10.38 | 24.00 | |||||||||||||||||||||||
| vlsseg3e64.v v8,(t2),t3,v0.t | 10.43 | 10.38 | 10.28 | 10.38 | 24.00 | |||||||||||||||||||||||
| vlsseg3e64.v v8,(t2),x0 | 10.95 | 10.72 | 11.18 | 10.80 | 23.45 | |||||||||||||||||||||||
| vlsseg3e64.v v8,(t2),x0,v0.t | 11.26 | 11.19 | 11.19 | 11.11 | 23.46 | |||||||||||||||||||||||
| vlsseg3e64.v v8,(t2),t1/*-1*/ | 9.38 | 9.40 | 9.36 | 9.38 | 22.00 | |||||||||||||||||||||||
| vlsseg3e64.v v8,(t2),t1/*-1*/,v0.t | 9.39 | 9.37 | 9.37 | 9.39 | 22.00 | |||||||||||||||||||||||
| vssseg3e8.v v8,(t2),t3 | 4.35 | 9.25 | 18.00 | 36.00 | 74.97 | 4.10 | 9.05 | 18.00 | 36.00 | 4.25 | 9.00 | 18.00 | 4.30 | 9.00 | ||||||||||||||
| vssseg3e8.v v8,(t2),t3,v0.t | 4.35 | 9.15 | 18.00 | 36.00 | 75.13 | 4.55 | 9.05 | 18.00 | 36.00 | 4.25 | 9.00 | 18.00 | 4.20 | 9.05 | ||||||||||||||
| vssseg3e8.v v8,(t2),x0 | 4.00 | 8.00 | 16.00 | 32.00 | 64.00 | 4.00 | 8.00 | 16.00 | 32.00 | 4.00 | 8.00 | 16.00 | 4.00 | 8.00 | ||||||||||||||
| vssseg3e8.v v8,(t2),x0,v0.t | 4.00 | 8.00 | 16.00 | 32.00 | 64.00 | 4.00 | 8.00 | 16.00 | 32.00 | 4.00 | 8.00 | 16.00 | 4.00 | 8.00 | ||||||||||||||
| vssseg3e8.v v8,(t2),t1/*-1*/ | 5.00 | 9.70 | 18.00 | 36.00 | 72.01 | 5.30 | 9.20 | 18.00 | 36.00 | 5.30 | 9.20 | 18.00 | 5.10 | 9.10 | ||||||||||||||
| vssseg3e8.v v8,(t2),t1/*-1*/,v0.t | 4.80 | 10.00 | 18.00 | 36.00 | 72.59 | 5.10 | 9.40 | 18.00 | 36.00 | 5.80 | 9.00 | 18.10 | 5.10 | 9.50 | ||||||||||||||
| vssseg3e16.v v8,(t2),t3 | 5.00 | 10.00 | 20.00 | 5.00 | 10.00 | 20.00 | 43.22 | 5.00 | 10.00 | 20.00 | 5.00 | 10.00 | ||||||||||||||||
| vssseg3e16.v v8,(t2),t3,v0.t | 5.00 | 10.00 | 20.00 | 5.00 | 10.00 | 20.00 | 41.33 | 5.00 | 10.00 | 20.17 | 5.00 | 10.00 | ||||||||||||||||
| vssseg3e16.v v8,(t2),x0 | 5.00 | 8.00 | 16.00 | 5.00 | 8.00 | 16.00 | 32.00 | 5.00 | 8.00 | 16.00 | 5.00 | 8.00 | ||||||||||||||||
| vssseg3e16.v v8,(t2),x0,v0.t | 5.00 | 8.00 | 16.80 | 5.00 | 8.00 | 16.00 | 32.00 | 5.00 | 8.00 | 16.00 | 5.15 | 8.40 | ||||||||||||||||
| vssseg3e16.v v8,(t2),t1/*-1*/ | 5.75 | 10.00 | 20.00 | 5.31 | 10.00 | 20.00 | 41.74 | 5.70 | 10.00 | 20.00 | 5.55 | 10.00 | ||||||||||||||||
| vssseg3e16.v v8,(t2),t1/*-1*/,v0.t | 6.00 | 10.00 | 20.00 | 5.50 | 10.00 | 20.00 | 40.92 | 5.55 | 10.00 | 20.00 | 5.75 | 10.00 | ||||||||||||||||
| vssseg3e32.v v8,(t2),t3 | 8.44 | 14.00 | 8.04 | 14.00 | 8.15 | 14.00 | 28.13 | 7.00 | 14.00 | |||||||||||||||||||
| vssseg3e32.v v8,(t2),t3,v0.t | 7.00 | 14.00 | 7.00 | 14.00 | 7.00 | 14.00 | 28.21 | 7.12 | 14.04 | |||||||||||||||||||
| vssseg3e32.v v8,(t2),x0 | 7.30 | 14.70 | 7.30 | 14.80 | 7.25 | 14.70 | 28.80 | 7.40 | 14.50 | |||||||||||||||||||
| vssseg3e32.v v8,(t2),x0,v0.t | 7.10 | 14.90 | 7.55 | 15.10 | 7.45 | 14.70 | 28.80 | 7.20 | 14.30 | |||||||||||||||||||
| vssseg3e32.v v8,(t2),t1/*-1*/ | 7.00 | 14.00 | 7.05 | 14.00 | 7.22 | 14.00 | 28.01 | 7.00 | 14.00 | |||||||||||||||||||
| vssseg3e32.v v8,(t2),t1/*-1*/,v0.t | 7.00 | 14.00 | 7.05 | 14.00 | 7.11 | 14.00 | 28.00 | 7.00 | 14.00 | |||||||||||||||||||
| vssseg3e64.v v8,(t2),t3 | 12.00 | 12.00 | 12.00 | 12.00 | 24.00 | |||||||||||||||||||||||
| vssseg3e64.v v8,(t2),t3,v0.t | 12.00 | 12.00 | 12.00 | 12.00 | 24.00 | |||||||||||||||||||||||
| vssseg3e64.v v8,(t2),x0 | 12.00 | 12.00 | 12.00 | 12.00 | 24.00 | |||||||||||||||||||||||
| vssseg3e64.v v8,(t2),x0,v0.t | 12.00 | 12.00 | 12.00 | 12.00 | 24.00 | |||||||||||||||||||||||
| vssseg3e64.v v8,(t2),t1/*-1*/ | 12.00 | 12.00 | 12.00 | 12.00 | 24.00 | |||||||||||||||||||||||
| vssseg3e64.v v8,(t2),t1/*-1*/,v0.t | 12.00 | 12.00 | 12.00 | 12.00 | 24.00 | |||||||||||||||||||||||
| vlsseg4e8.v v8,(t2),t3 | 5.77 | 6.92 | 13.13 | 29.70 | 72.01 | 5.83 | 6.80 | 13.31 | 29.10 | 5.75 | 6.87 | 13.08 | 6.00 | 6.90 | ||||||||||||||
| vlsseg4e8.v v8,(t2),t3,v0.t | 5.86 | 6.90 | 13.22 | 30.00 | 72.01 | 5.85 | 7.00 | 13.09 | 28.50 | 5.77 | 7.00 | 13.23 | 5.71 | 6.92 | ||||||||||||||
| vlsseg4e8.v v8,(t2),x0 | 5.46 | 6.25 | 10.25 | 22.00 | 63.00 | 5.66 | 6.25 | 10.25 | 22.00 | 5.56 | 6.25 | 10.25 | 5.54 | 6.56 | ||||||||||||||
| vlsseg4e8.v v8,(t2),x0,v0.t | 5.64 | 6.25 | 10.25 | 22.00 | 63.00 | 5.89 | 6.25 | 10.25 | 22.00 | 5.59 | 6.25 | 10.65 | 5.69 | 6.56 | ||||||||||||||
| vlsseg4e8.v v8,(t2),t1/*-1*/ | 6.09 | 7.05 | 11.75 | 29.75 | 72.01 | 6.10 | 7.20 | 11.75 | 29.65 | 6.07 | 7.42 | 11.75 | 6.09 | 7.42 | ||||||||||||||
| vlsseg4e8.v v8,(t2),t1/*-1*/,v0.t | 6.09 | 7.22 | 11.75 | 29.27 | 72.01 | 6.06 | 7.37 | 11.75 | 30.10 | 6.10 | 7.52 | 11.75 | 6.11 | 7.52 | ||||||||||||||
| vlsseg4e16.v v8,(t2),t3 | 5.43 | 7.91 | 19.02 | 5.37 | 7.91 | 19.25 | 47.84 | 5.46 | 7.91 | 19.20 | 5.40 | 8.05 | ||||||||||||||||
| vlsseg4e16.v v8,(t2),t3,v0.t | 5.45 | 7.91 | 19.22 | 5.44 | 7.97 | 19.10 | 47.84 | 5.45 | 7.98 | 19.22 | 5.44 | 8.02 | ||||||||||||||||
| vlsseg4e16.v v8,(t2),x0 | 5.58 | 7.05 | 13.16 | 5.80 | 7.05 | 14.94 | 43.02 | 5.71 | 6.25 | 14.49 | 5.50 | 6.56 | ||||||||||||||||
| vlsseg4e16.v v8,(t2),x0,v0.t | 5.54 | 7.05 | 13.16 | 5.65 | 6.45 | 13.60 | 40.67 | 5.75 | 6.25 | 15.37 | 5.87 | 7.48 | ||||||||||||||||
| vlsseg4e16.v v8,(t2),t1/*-1*/ | 5.98 | 7.75 | 16.90 | 5.93 | 7.75 | 16.87 | 49.60 | 6.06 | 7.75 | 16.92 | 6.01 | 7.75 | ||||||||||||||||
| vlsseg4e16.v v8,(t2),t1/*-1*/,v0.t | 6.03 | 7.75 | 16.92 | 5.98 | 7.77 | 16.99 | 49.85 | 6.07 | 7.75 | 16.94 | 6.07 | 7.75 | ||||||||||||||||
| vlsseg4e32.v v8,(t2),t3 | 6.08 | 12.00 | 6.11 | 12.00 | 6.08 | 12.00 | 37.35 | 6.08 | 12.00 | |||||||||||||||||||
| vlsseg4e32.v v8,(t2),t3,v0.t | 6.10 | 12.00 | 6.07 | 12.00 | 6.06 | 12.00 | 37.55 | 6.06 | 12.00 | |||||||||||||||||||
| vlsseg4e32.v v8,(t2),x0 | 5.42 | 12.15 | 5.73 | 12.36 | 5.83 | 12.25 | 31.95 | 5.48 | 12.25 | |||||||||||||||||||
| vlsseg4e32.v v8,(t2),x0,v0.t | 5.78 | 11.85 | 5.20 | 12.25 | 5.73 | 11.75 | 32.52 | 5.61 | 12.66 | |||||||||||||||||||
| vlsseg4e32.v v8,(t2),t1/*-1*/ | 6.06 | 12.13 | 6.06 | 12.32 | 6.06 | 12.33 | 36.70 | 6.06 | 12.01 | |||||||||||||||||||
| vlsseg4e32.v v8,(t2),t1/*-1*/,v0.t | 6.06 | 12.10 | 6.06 | 12.16 | 6.06 | 12.10 | 36.70 | 6.06 | 12.00 | |||||||||||||||||||
| vlsseg4e64.v v8,(t2),t3 | 10.46 | 10.62 | 10.50 | 10.54 | 31.00 | |||||||||||||||||||||||
| vlsseg4e64.v v8,(t2),t3,v0.t | 10.50 | 10.50 | 10.62 | 10.50 | 31.55 | |||||||||||||||||||||||
| vlsseg4e64.v v8,(t2),x0 | 11.34 | 11.43 | 11.39 | 11.32 | 29.75 | |||||||||||||||||||||||
| vlsseg4e64.v v8,(t2),x0,v0.t | 11.34 | 11.43 | 11.32 | 11.45 | 29.05 | |||||||||||||||||||||||
| vlsseg4e64.v v8,(t2),t1/*-1*/ | 13.00 | 13.00 | 13.00 | 13.00 | 32.25 | |||||||||||||||||||||||
| vlsseg4e64.v v8,(t2),t1/*-1*/,v0.t | 13.00 | 13.00 | 13.00 | 13.00 | 32.51 | |||||||||||||||||||||||
| vssseg4e8.v v8,(t2),t3 | 5.00 | 9.55 | 19.00 | 38.00 | 78.26 | 5.00 | 9.25 | 19.00 | 38.00 | 5.00 | 9.20 | 19.00 | 5.00 | 9.35 | ||||||||||||||
| vssseg4e8.v v8,(t2),t3,v0.t | 5.00 | 9.20 | 19.00 | 38.00 | 76.00 | 5.00 | 9.65 | 19.00 | 38.00 | 5.00 | 9.20 | 19.00 | 5.00 | 9.05 | ||||||||||||||
| vssseg4e8.v v8,(t2),x0 | 5.00 | 8.00 | 17.60 | 32.00 | 64.00 | 5.00 | 8.00 | 16.00 | 32.00 | 5.00 | 8.40 | 16.00 | 5.00 | 8.00 | ||||||||||||||
| vssseg4e8.v v8,(t2),x0,v0.t | 5.00 | 8.00 | 16.00 | 32.00 | 67.20 | 5.00 | 8.00 | 16.00 | 32.00 | 5.00 | 8.00 | 18.40 | 5.00 | 8.00 | ||||||||||||||
| vssseg4e8.v v8,(t2),t1/*-1*/ | 6.32 | 9.35 | 19.00 | 38.00 | 76.75 | 6.30 | 9.65 | 19.00 | 38.00 | 6.30 | 9.75 | 19.00 | 6.03 | 10.40 | ||||||||||||||
| vssseg4e8.v v8,(t2),t1/*-1*/,v0.t | 6.30 | 9.75 | 19.00 | 38.00 | 76.54 | 6.30 | 10.55 | 19.00 | 38.00 | 6.70 | 10.75 | 19.00 | 6.20 | 10.25 | ||||||||||||||
| vssseg4e16.v v8,(t2),t3 | 6.00 | 12.33 | 22.40 | 6.37 | 11.45 | 22.60 | 44.73 | 6.00 | 11.25 | 22.60 | 6.00 | 11.20 | ||||||||||||||||
| vssseg4e16.v v8,(t2),t3,v0.t | 6.00 | 11.40 | 22.50 | 6.00 | 11.55 | 22.60 | 45.78 | 6.00 | 11.30 | 22.60 | 6.00 | 11.35 | ||||||||||||||||
| vssseg4e16.v v8,(t2),x0 | 6.00 | 10.00 | 20.87 | 6.10 | 10.60 | 20.87 | 53.20 | 6.30 | 10.30 | 24.97 | 6.20 | 10.30 | ||||||||||||||||
| vssseg4e16.v v8,(t2),x0,v0.t | 6.40 | 10.00 | 20.87 | 6.00 | 11.80 | 22.04 | 52.00 | 6.20 | 10.00 | 22.04 | 6.00 | 10.00 | ||||||||||||||||
| vssseg4e16.v v8,(t2),t1/*-1*/ | 6.50 | 12.10 | 25.52 | 6.58 | 12.25 | 25.48 | 54.68 | 7.40 | 12.60 | 24.89 | 6.80 | 12.05 | ||||||||||||||||
| vssseg4e16.v v8,(t2),t1/*-1*/,v0.t | 6.72 | 12.20 | 25.73 | 6.45 | 12.65 | 27.04 | 51.36 | 6.70 | 12.25 | 25.34 | 6.45 | 11.85 | ||||||||||||||||
| vssseg4e32.v v8,(t2),t3 | 9.26 | 18.80 | 9.24 | 18.70 | 9.65 | 18.70 | 39.63 | 9.30 | 18.80 | |||||||||||||||||||
| vssseg4e32.v v8,(t2),t3,v0.t | 9.40 | 19.10 | 9.25 | 18.87 | 9.46 | 19.02 | 40.55 | 9.25 | 18.80 | |||||||||||||||||||
| vssseg4e32.v v8,(t2),x0 | 8.80 | 18.57 | 9.20 | 17.92 | 9.30 | 18.78 | 42.00 | 8.70 | 18.78 | |||||||||||||||||||
| vssseg4e32.v v8,(t2),x0,v0.t | 9.10 | 17.71 | 9.20 | 17.28 | 8.90 | 16.85 | 45.58 | 9.10 | 17.92 | |||||||||||||||||||
| vssseg4e32.v v8,(t2),t1/*-1*/ | 9.20 | 19.17 | 9.47 | 18.80 | 9.50 | 19.40 | 39.40 | 9.35 | 19.32 | |||||||||||||||||||
| vssseg4e32.v v8,(t2),t1/*-1*/,v0.t | 9.55 | 18.80 | 9.65 | 18.95 | 9.40 | 18.57 | 39.52 | 9.58 | 18.87 | |||||||||||||||||||
| vssseg4e64.v v8,(t2),t3 | 16.40 | 17.10 | 16.50 | 16.60 | 35.27 | |||||||||||||||||||||||
| vssseg4e64.v v8,(t2),t3,v0.t | 17.00 | 17.10 | 16.30 | 16.40 | 34.41 | |||||||||||||||||||||||
| vssseg4e64.v v8,(t2),x0 | 16.40 | 16.40 | 16.70 | 16.10 | 32.98 | |||||||||||||||||||||||
| vssseg4e64.v v8,(t2),x0,v0.t | 16.60 | 16.20 | 16.60 | 16.90 | 35.56 | |||||||||||||||||||||||
| vssseg4e64.v v8,(t2),t1/*-1*/ | 16.90 | 16.40 | 16.40 | 16.20 | 33.00 | |||||||||||||||||||||||
| vssseg4e64.v v8,(t2),t1/*-1*/,v0.t | 16.90 | 16.20 | 16.70 | 16.70 | 33.80 | |||||||||||||||||||||||
| vlsseg5e8.v v8,(t2),t3 | 20.00 | 40.00 | 80.00 | 159.27 | 20.00 | 40.00 | 80.00 | 20.00 | 40.00 | 20.00 | ||||||||||||||||||
| vlsseg5e8.v v8,(t2),t3,v0.t | 20.00 | 40.00 | 80.00 | 159.35 | 20.00 | 40.00 | 80.00 | 20.00 | 40.00 | 20.00 | ||||||||||||||||||
| vlsseg5e8.v v8,(t2),x0 | 20.00 | 40.00 | 80.00 | 159.20 | 20.00 | 40.00 | 80.00 | 20.00 | 40.00 | 20.00 | ||||||||||||||||||
| vlsseg5e8.v v8,(t2),x0,v0.t | 20.00 | 40.00 | 80.00 | 159.20 | 20.00 | 40.00 | 80.00 | 20.00 | 40.00 | 20.00 | ||||||||||||||||||
| vlsseg5e8.v v8,(t2),t1/*-1*/ | 20.00 | 40.00 | 80.00 | 159.20 | 20.00 | 40.00 | 80.00 | 20.00 | 40.00 | 20.00 | ||||||||||||||||||
| vlsseg5e8.v v8,(t2),t1/*-1*/,v0.t | 20.00 | 40.00 | 80.00 | 159.20 | 20.00 | 40.00 | 80.00 | 20.00 | 40.00 | 20.00 | ||||||||||||||||||
| vlsseg5e16.v v8,(t2),t3 | 20.00 | 40.00 | 79.25 | 20.00 | 40.00 | 79.25 | 20.00 | 40.00 | 20.00 | |||||||||||||||||||
| vlsseg5e16.v v8,(t2),t3,v0.t | 20.00 | 40.00 | 79.25 | 20.00 | 40.00 | 79.21 | 20.00 | 40.00 | 20.00 | |||||||||||||||||||
| vlsseg5e16.v v8,(t2),x0 | 20.00 | 40.00 | 79.20 | 20.00 | 40.00 | 79.20 | 20.00 | 40.00 | 20.00 | |||||||||||||||||||
| vlsseg5e16.v v8,(t2),x0,v0.t | 20.00 | 40.00 | 79.20 | 20.00 | 40.00 | 79.20 | 20.00 | 40.00 | 20.00 | |||||||||||||||||||
| vlsseg5e16.v v8,(t2),t1/*-1*/ | 20.00 | 40.00 | 79.20 | 20.00 | 40.00 | 79.22 | 20.00 | 40.00 | 20.00 | |||||||||||||||||||
| vlsseg5e16.v v8,(t2),t1/*-1*/,v0.t | 20.00 | 40.00 | 79.20 | 20.00 | 40.00 | 79.20 | 20.00 | 40.00 | 20.00 | |||||||||||||||||||
| vlsseg5e32.v v8,(t2),t3 | 20.00 | 39.30 | 20.00 | 39.42 | 20.00 | 39.47 | 20.00 | |||||||||||||||||||||
| vlsseg5e32.v v8,(t2),t3,v0.t | 20.00 | 39.41 | 20.00 | 39.46 | 20.00 | 39.50 | 20.00 | |||||||||||||||||||||
| vlsseg5e32.v v8,(t2),x0 | 20.00 | 39.20 | 20.00 | 39.20 | 20.00 | 39.20 | 20.00 | |||||||||||||||||||||
| vlsseg5e32.v v8,(t2),x0,v0.t | 20.00 | 39.20 | 20.00 | 39.20 | 20.00 | 39.20 | 20.00 | |||||||||||||||||||||
| vlsseg5e32.v v8,(t2),t1/*-1*/ | 20.00 | 39.47 | 20.00 | 39.39 | 20.00 | 39.44 | 20.00 | |||||||||||||||||||||
| vlsseg5e32.v v8,(t2),t1/*-1*/,v0.t | 20.00 | 39.47 | 20.00 | 39.37 | 20.00 | 39.38 | 20.00 | |||||||||||||||||||||
| vlsseg5e64.v v8,(t2),t3 | 19.37 | 19.37 | 19.37 | 19.37 | ||||||||||||||||||||||||
| vlsseg5e64.v v8,(t2),t3,v0.t | 19.37 | 19.37 | 19.37 | 19.37 | ||||||||||||||||||||||||
| vlsseg5e64.v v8,(t2),x0 | 19.48 | 19.47 | 19.47 | 19.48 | ||||||||||||||||||||||||
| vlsseg5e64.v v8,(t2),x0,v0.t | 19.48 | 19.47 | 19.48 | 19.48 | ||||||||||||||||||||||||
| vlsseg5e64.v v8,(t2),t1/*-1*/ | 19.37 | 19.37 | 19.37 | 19.37 | ||||||||||||||||||||||||
| vlsseg5e64.v v8,(t2),t1/*-1*/,v0.t | 19.37 | 19.37 | 19.37 | 19.37 | ||||||||||||||||||||||||
| vssseg5e8.v v8,(t2),t3 | 20.00 | 40.00 | 80.00 | 160.00 | 20.00 | 40.00 | 80.00 | 20.00 | 40.00 | 20.00 | ||||||||||||||||||
| vssseg5e8.v v8,(t2),t3,v0.t | 20.00 | 40.00 | 80.00 | 160.00 | 20.00 | 40.00 | 80.00 | 20.00 | 40.00 | 20.00 | ||||||||||||||||||
| vssseg5e8.v v8,(t2),x0 | 20.00 | 40.00 | 80.00 | 160.00 | 20.00 | 40.00 | 80.00 | 20.00 | 40.00 | 20.00 | ||||||||||||||||||
| vssseg5e8.v v8,(t2),x0,v0.t | 20.00 | 40.00 | 80.00 | 160.00 | 20.00 | 40.00 | 80.00 | 20.00 | 40.00 | 20.00 | ||||||||||||||||||
| vssseg5e8.v v8,(t2),t1/*-1*/ | 20.00 | 40.00 | 80.00 | 160.00 | 20.00 | 40.00 | 80.00 | 20.00 | 40.00 | 20.00 | ||||||||||||||||||
| vssseg5e8.v v8,(t2),t1/*-1*/,v0.t | 20.00 | 40.00 | 80.00 | 160.00 | 20.00 | 40.00 | 80.00 | 20.00 | 40.00 | 20.27 | ||||||||||||||||||
| vssseg5e16.v v8,(t2),t3 | 20.00 | 40.00 | 80.00 | 20.00 | 40.00 | 80.00 | 20.00 | 40.00 | 20.00 | |||||||||||||||||||
| vssseg5e16.v v8,(t2),t3,v0.t | 20.00 | 40.00 | 80.00 | 20.00 | 40.00 | 80.14 | 20.00 | 40.00 | 20.00 | |||||||||||||||||||
| vssseg5e16.v v8,(t2),x0 | 20.00 | 40.00 | 80.00 | 20.00 | 40.00 | 80.00 | 20.00 | 40.00 | 20.00 | |||||||||||||||||||
| vssseg5e16.v v8,(t2),x0,v0.t | 20.00 | 40.00 | 80.00 | 20.00 | 40.00 | 80.00 | 20.00 | 40.00 | 20.00 | |||||||||||||||||||
| vssseg5e16.v v8,(t2),t1/*-1*/ | 20.00 | 40.00 | 80.00 | 20.94 | 40.00 | 80.00 | 20.00 | 40.00 | 20.00 | |||||||||||||||||||
| vssseg5e16.v v8,(t2),t1/*-1*/,v0.t | 20.00 | 40.00 | 80.00 | 20.00 | 40.00 | 80.00 | 20.00 | 40.00 | 20.00 | |||||||||||||||||||
| vssseg5e32.v v8,(t2),t3 | 20.00 | 40.00 | 20.00 | 40.07 | 20.00 | 40.53 | 20.00 | |||||||||||||||||||||
| vssseg5e32.v v8,(t2),t3,v0.t | 20.00 | 40.00 | 20.00 | 40.00 | 20.00 | 40.10 | 20.00 | |||||||||||||||||||||
| vssseg5e32.v v8,(t2),x0 | 20.00 | 40.00 | 20.00 | 40.00 | 20.00 | 40.00 | 20.00 | |||||||||||||||||||||
| vssseg5e32.v v8,(t2),x0,v0.t | 20.00 | 40.00 | 20.00 | 40.00 | 20.00 | 40.00 | 20.00 | |||||||||||||||||||||
| vssseg5e32.v v8,(t2),t1/*-1*/ | 20.15 | 40.00 | 20.05 | 40.00 | 20.08 | 40.00 | 20.00 | |||||||||||||||||||||
| vssseg5e32.v v8,(t2),t1/*-1*/,v0.t | 20.18 | 40.00 | 20.00 | 40.00 | 20.00 | 40.00 | 20.00 | |||||||||||||||||||||
| vssseg5e64.v v8,(t2),t3 | 20.30 | 20.89 | 20.33 | 20.00 | ||||||||||||||||||||||||
| vssseg5e64.v v8,(t2),t3,v0.t | 20.22 | 20.00 | 20.00 | 20.00 | ||||||||||||||||||||||||
| vssseg5e64.v v8,(t2),x0 | 20.00 | 20.00 | 20.00 | 20.00 | ||||||||||||||||||||||||
| vssseg5e64.v v8,(t2),x0,v0.t | 20.00 | 20.00 | 20.00 | 20.00 | ||||||||||||||||||||||||
| vssseg5e64.v v8,(t2),t1/*-1*/ | 20.00 | 20.00 | 20.00 | 20.80 | ||||||||||||||||||||||||
| vssseg5e64.v v8,(t2),t1/*-1*/,v0.t | 20.36 | 20.00 | 20.72 | 22.60 | ||||||||||||||||||||||||
| vlsseg6e8.v v8,(t2),t3 | 24.37 | 48.37 | 96.37 | 191.13 | 24.37 | 48.37 | 96.37 | 24.37 | 48.37 | 24.37 | ||||||||||||||||||
| vlsseg6e8.v v8,(t2),t3,v0.t | 24.37 | 48.37 | 96.37 | 191.12 | 24.37 | 48.37 | 96.37 | 24.37 | 48.37 | 24.37 | ||||||||||||||||||
| vlsseg6e8.v v8,(t2),x0 | 24.37 | 48.37 | 96.37 | 191.37 | 24.37 | 48.37 | 96.37 | 24.37 | 48.37 | 24.37 | ||||||||||||||||||
| vlsseg6e8.v v8,(t2),x0,v0.t | 24.37 | 48.37 | 96.37 | 191.37 | 24.37 | 48.37 | 96.37 | 24.37 | 48.37 | 24.37 | ||||||||||||||||||
| vlsseg6e8.v v8,(t2),t1/*-1*/ | 24.37 | 48.37 | 96.37 | 191.11 | 24.37 | 48.37 | 96.37 | 24.37 | 48.37 | 24.37 | ||||||||||||||||||
| vlsseg6e8.v v8,(t2),t1/*-1*/,v0.t | 24.37 | 48.37 | 96.37 | 191.12 | 24.37 | 48.37 | 96.37 | 24.37 | 48.37 | 24.37 | ||||||||||||||||||
| vlsseg6e16.v v8,(t2),t3 | 24.37 | 48.37 | 95.15 | 24.37 | 48.37 | 95.24 | 24.37 | 48.37 | 24.37 | |||||||||||||||||||
| vlsseg6e16.v v8,(t2),t3,v0.t | 24.37 | 48.37 | 95.15 | 24.37 | 48.37 | 95.25 | 24.37 | 48.37 | 24.37 | |||||||||||||||||||
| vlsseg6e16.v v8,(t2),x0 | 24.37 | 48.37 | 95.25 | 24.37 | 48.37 | 95.25 | 24.37 | 48.37 | 24.37 | |||||||||||||||||||
| vlsseg6e16.v v8,(t2),x0,v0.t | 24.37 | 48.37 | 95.25 | 24.37 | 48.37 | 95.25 | 24.37 | 48.37 | 24.37 | |||||||||||||||||||
| vlsseg6e16.v v8,(t2),t1/*-1*/ | 24.37 | 48.37 | 95.18 | 24.37 | 48.37 | 95.16 | 24.37 | 48.37 | 24.37 | |||||||||||||||||||
| vlsseg6e16.v v8,(t2),t1/*-1*/,v0.t | 24.37 | 48.37 | 95.16 | 24.37 | 48.37 | 95.13 | 24.37 | 48.37 | 24.37 | |||||||||||||||||||
| vlsseg6e32.v v8,(t2),t3 | 24.37 | 47.27 | 24.37 | 47.26 | 24.37 | 47.21 | 24.37 | |||||||||||||||||||||
| vlsseg6e32.v v8,(t2),t3,v0.t | 24.37 | 47.22 | 24.37 | 47.26 | 24.37 | 47.24 | 24.37 | |||||||||||||||||||||
| vlsseg6e32.v v8,(t2),x0 | 24.37 | 47.50 | 24.37 | 47.50 | 24.37 | 47.50 | 24.37 | |||||||||||||||||||||
| vlsseg6e32.v v8,(t2),x0,v0.t | 24.37 | 47.49 | 24.37 | 47.50 | 24.37 | 47.50 | 24.37 | |||||||||||||||||||||
| vlsseg6e32.v v8,(t2),t1/*-1*/ | 24.37 | 47.27 | 24.37 | 47.32 | 24.37 | 47.28 | 24.37 | |||||||||||||||||||||
| vlsseg6e32.v v8,(t2),t1/*-1*/,v0.t | 24.37 | 47.30 | 24.37 | 47.28 | 24.37 | 47.25 | 24.37 | |||||||||||||||||||||
| vlsseg6e64.v v8,(t2),t3 | 23.18 | 23.22 | 23.19 | 23.21 | ||||||||||||||||||||||||
| vlsseg6e64.v v8,(t2),t3,v0.t | 23.23 | 23.21 | 23.21 | 23.18 | ||||||||||||||||||||||||
| vlsseg6e64.v v8,(t2),x0 | 23.50 | 23.50 | 23.50 | 23.50 | ||||||||||||||||||||||||
| vlsseg6e64.v v8,(t2),x0,v0.t | 23.50 | 23.50 | 23.50 | 23.50 | ||||||||||||||||||||||||
| vlsseg6e64.v v8,(t2),t1/*-1*/ | 23.20 | 23.23 | 23.17 | 23.17 | ||||||||||||||||||||||||
| vlsseg6e64.v v8,(t2),t1/*-1*/,v0.t | 23.24 | 23.15 | 23.23 | 23.21 | ||||||||||||||||||||||||
| vssseg6e8.v v8,(t2),t3 | 24.00 | 48.00 | 96.00 | 192.19 | 24.00 | 48.00 | 96.00 | 24.00 | 48.00 | 24.00 | ||||||||||||||||||
| vssseg6e8.v v8,(t2),t3,v0.t | 24.00 | 48.00 | 96.00 | 192.23 | 24.00 | 48.00 | 96.00 | 24.00 | 48.00 | 24.00 | ||||||||||||||||||
| vssseg6e8.v v8,(t2),x0 | 24.00 | 48.00 | 96.00 | 192.00 | 24.00 | 48.00 | 96.00 | 24.00 | 48.00 | 24.00 | ||||||||||||||||||
| vssseg6e8.v v8,(t2),x0,v0.t | 24.00 | 48.00 | 96.00 | 192.00 | 24.00 | 48.00 | 96.00 | 24.00 | 48.00 | 24.00 | ||||||||||||||||||
| vssseg6e8.v v8,(t2),t1/*-1*/ | 24.00 | 48.00 | 96.00 | 192.00 | 24.00 | 48.00 | 96.00 | 24.00 | 48.00 | 24.00 | ||||||||||||||||||
| vssseg6e8.v v8,(t2),t1/*-1*/,v0.t | 24.00 | 48.00 | 96.00 | 192.00 | 24.00 | 48.00 | 96.00 | 24.00 | 48.00 | 24.00 | ||||||||||||||||||
| vssseg6e16.v v8,(t2),t3 | 24.00 | 48.00 | 96.15 | 24.00 | 48.00 | 96.41 | 24.00 | 48.00 | 24.00 | |||||||||||||||||||
| vssseg6e16.v v8,(t2),t3,v0.t | 24.00 | 48.00 | 96.00 | 24.00 | 48.00 | 96.07 | 24.00 | 48.00 | 24.00 | |||||||||||||||||||
| vssseg6e16.v v8,(t2),x0 | 24.00 | 48.00 | 96.00 | 24.00 | 48.00 | 96.00 | 24.00 | 48.00 | 24.00 | |||||||||||||||||||
| vssseg6e16.v v8,(t2),x0,v0.t | 24.00 | 48.00 | 96.00 | 24.00 | 48.00 | 96.00 | 24.00 | 48.00 | 24.00 | |||||||||||||||||||
| vssseg6e16.v v8,(t2),t1/*-1*/ | 24.22 | 48.00 | 96.00 | 24.00 | 48.00 | 96.00 | 24.00 | 48.00 | 24.00 | |||||||||||||||||||
| vssseg6e16.v v8,(t2),t1/*-1*/,v0.t | 24.00 | 48.00 | 96.00 | 24.00 | 48.00 | 96.00 | 24.00 | 48.00 | 24.00 | |||||||||||||||||||
| vssseg6e32.v v8,(t2),t3 | 24.00 | 50.82 | 24.00 | 48.96 | 24.00 | 50.23 | 24.00 | |||||||||||||||||||||
| vssseg6e32.v v8,(t2),t3,v0.t | 24.00 | 49.84 | 24.00 | 48.00 | 24.00 | 48.32 | 24.00 | |||||||||||||||||||||
| vssseg6e32.v v8,(t2),x0 | 24.00 | 48.00 | 24.00 | 48.00 | 24.00 | 48.00 | 24.00 | |||||||||||||||||||||
| vssseg6e32.v v8,(t2),x0,v0.t | 24.00 | 48.00 | 24.00 | 48.00 | 24.00 | 48.00 | 24.00 | |||||||||||||||||||||
| vssseg6e32.v v8,(t2),t1/*-1*/ | 24.07 | 48.00 | 24.52 | 48.00 | 24.00 | 48.59 | 24.00 | |||||||||||||||||||||
| vssseg6e32.v v8,(t2),t1/*-1*/,v0.t | 24.14 | 48.00 | 24.00 | 48.00 | 24.13 | 48.23 | 24.46 | |||||||||||||||||||||
| vssseg6e64.v v8,(t2),t3 | 24.34 | 24.63 | 26.48 | 25.86 | ||||||||||||||||||||||||
| vssseg6e64.v v8,(t2),t3,v0.t | 25.64 | 24.25 | 24.75 | 24.60 | ||||||||||||||||||||||||
| vssseg6e64.v v8,(t2),x0 | 24.00 | 24.00 | 25.43 | 24.00 | ||||||||||||||||||||||||
| vssseg6e64.v v8,(t2),x0,v0.t | 24.00 | 24.00 | 24.00 | 24.00 | ||||||||||||||||||||||||
| vssseg6e64.v v8,(t2),t1/*-1*/ | 24.17 | 25.88 | 24.16 | 24.55 | ||||||||||||||||||||||||
| vssseg6e64.v v8,(t2),t1/*-1*/,v0.t | 24.92 | 26.10 | 25.46 | 25.31 | ||||||||||||||||||||||||
| vlsseg7e8.v v8,(t2),t3 | 28.25 | 56.25 | 112.25 | 223.12 | 28.25 | 56.25 | 112.25 | 28.25 | 56.25 | 28.25 | ||||||||||||||||||
| vlsseg7e8.v v8,(t2),t3,v0.t | 28.25 | 56.25 | 112.25 | 223.12 | 28.25 | 56.25 | 112.25 | 28.25 | 56.25 | 28.25 | ||||||||||||||||||
| vlsseg7e8.v v8,(t2),x0 | 28.25 | 56.25 | 112.25 | 223.00 | 28.25 | 56.25 | 112.25 | 28.25 | 56.25 | 28.25 | ||||||||||||||||||
| vlsseg7e8.v v8,(t2),x0,v0.t | 28.25 | 56.25 | 112.25 | 223.00 | 28.25 | 56.25 | 112.25 | 28.25 | 56.25 | 28.25 | ||||||||||||||||||
| vlsseg7e8.v v8,(t2),t1/*-1*/ | 28.25 | 56.25 | 112.25 | 223.12 | 28.25 | 56.25 | 112.25 | 28.25 | 56.25 | 28.25 | ||||||||||||||||||
| vlsseg7e8.v v8,(t2),t1/*-1*/,v0.t | 28.25 | 56.25 | 112.25 | 223.13 | 28.25 | 56.25 | 112.25 | 28.25 | 56.25 | 28.25 | ||||||||||||||||||
| vlsseg7e16.v v8,(t2),t3 | 28.25 | 56.25 | 111.12 | 28.25 | 56.25 | 111.11 | 28.25 | 56.25 | 28.25 | |||||||||||||||||||
| vlsseg7e16.v v8,(t2),t3,v0.t | 28.25 | 56.25 | 111.12 | 28.25 | 56.25 | 111.12 | 28.25 | 56.25 | 28.25 | |||||||||||||||||||
| vlsseg7e16.v v8,(t2),x0 | 28.25 | 56.25 | 111.37 | 28.25 | 56.25 | 111.37 | 28.25 | 56.25 | 28.25 | |||||||||||||||||||
| vlsseg7e16.v v8,(t2),x0,v0.t | 28.25 | 56.25 | 111.37 | 28.25 | 56.25 | 111.37 | 28.25 | 56.25 | 28.25 | |||||||||||||||||||
| vlsseg7e16.v v8,(t2),t1/*-1*/ | 28.25 | 56.25 | 111.12 | 28.25 | 56.25 | 111.11 | 28.25 | 56.25 | 28.25 | |||||||||||||||||||
| vlsseg7e16.v v8,(t2),t1/*-1*/,v0.t | 28.25 | 56.25 | 111.12 | 28.25 | 56.25 | 111.12 | 28.25 | 56.25 | 28.25 | |||||||||||||||||||
| vlsseg7e32.v v8,(t2),t3 | 28.25 | 55.24 | 28.25 | 55.19 | 28.25 | 55.20 | 28.25 | |||||||||||||||||||||
| vlsseg7e32.v v8,(t2),t3,v0.t | 28.25 | 55.23 | 28.25 | 55.20 | 28.25 | 55.23 | 28.25 | |||||||||||||||||||||
| vlsseg7e32.v v8,(t2),x0 | 28.25 | 55.25 | 28.25 | 55.25 | 28.25 | 55.27 | 28.25 | |||||||||||||||||||||
| vlsseg7e32.v v8,(t2),x0,v0.t | 28.25 | 55.28 | 28.25 | 55.26 | 28.25 | 55.28 | 28.25 | |||||||||||||||||||||
| vlsseg7e32.v v8,(t2),t1/*-1*/ | 28.25 | 55.14 | 28.25 | 55.08 | 28.25 | 55.05 | 28.25 | |||||||||||||||||||||
| vlsseg7e32.v v8,(t2),t1/*-1*/,v0.t | 28.25 | 55.07 | 28.25 | 55.06 | 28.25 | 55.10 | 28.25 | |||||||||||||||||||||
| vlsseg7e64.v v8,(t2),t3 | 27.13 | 27.11 | 27.18 | 27.15 | ||||||||||||||||||||||||
| vlsseg7e64.v v8,(t2),t3,v0.t | 27.18 | 27.15 | 27.13 | 27.18 | ||||||||||||||||||||||||
| vlsseg7e64.v v8,(t2),x0 | 27.19 | 27.24 | 27.23 | 27.20 | ||||||||||||||||||||||||
| vlsseg7e64.v v8,(t2),x0,v0.t | 27.20 | 27.21 | 27.20 | 27.21 | ||||||||||||||||||||||||
| vlsseg7e64.v v8,(t2),t1/*-1*/ | 27.05 | 27.06 | 27.05 | 27.08 | ||||||||||||||||||||||||
| vlsseg7e64.v v8,(t2),t1/*-1*/,v0.t | 27.08 | 27.11 | 27.03 | 27.06 | ||||||||||||||||||||||||
| vssseg7e8.v v8,(t2),t3 | 28.00 | 56.00 | 112.00 | 224.00 | 28.00 | 56.00 | 112.00 | 28.00 | 56.00 | 28.00 | ||||||||||||||||||
| vssseg7e8.v v8,(t2),t3,v0.t | 28.00 | 56.00 | 112.00 | 224.03 | 28.00 | 56.00 | 112.00 | 28.00 | 56.00 | 28.00 | ||||||||||||||||||
| vssseg7e8.v v8,(t2),x0 | 28.00 | 56.00 | 112.00 | 224.00 | 28.00 | 56.00 | 112.00 | 28.00 | 56.00 | 28.00 | ||||||||||||||||||
| vssseg7e8.v v8,(t2),x0,v0.t | 28.00 | 56.00 | 112.00 | 224.00 | 28.00 | 56.00 | 112.00 | 28.00 | 56.00 | 28.00 | ||||||||||||||||||
| vssseg7e8.v v8,(t2),t1/*-1*/ | 28.00 | 56.00 | 112.00 | 224.00 | 28.00 | 56.00 | 112.00 | 28.00 | 56.00 | 28.00 | ||||||||||||||||||
| vssseg7e8.v v8,(t2),t1/*-1*/,v0.t | 28.00 | 56.00 | 112.00 | 224.00 | 28.00 | 56.00 | 112.00 | 28.00 | 56.00 | 28.00 | ||||||||||||||||||
| vssseg7e16.v v8,(t2),t3 | 28.00 | 56.00 | 112.00 | 28.00 | 56.00 | 112.00 | 28.00 | 56.00 | 28.00 | |||||||||||||||||||
| vssseg7e16.v v8,(t2),t3,v0.t | 28.00 | 56.00 | 112.22 | 28.00 | 56.00 | 112.37 | 28.00 | 56.00 | 28.00 | |||||||||||||||||||
| vssseg7e16.v v8,(t2),x0 | 28.00 | 56.00 | 112.00 | 28.00 | 56.00 | 112.00 | 28.00 | 56.00 | 28.00 | |||||||||||||||||||
| vssseg7e16.v v8,(t2),x0,v0.t | 28.00 | 56.00 | 112.00 | 28.00 | 56.00 | 112.00 | 28.00 | 56.00 | 28.00 | |||||||||||||||||||
| vssseg7e16.v v8,(t2),t1/*-1*/ | 28.00 | 56.00 | 112.00 | 28.00 | 56.00 | 112.00 | 28.00 | 56.00 | 28.00 | |||||||||||||||||||
| vssseg7e16.v v8,(t2),t1/*-1*/,v0.t | 28.00 | 56.00 | 112.00 | 28.00 | 56.00 | 112.00 | 28.00 | 56.00 | 28.22 | |||||||||||||||||||
| vssseg7e32.v v8,(t2),t3 | 28.00 | 56.00 | 28.00 | 56.02 | 28.00 | 56.17 | 28.00 | |||||||||||||||||||||
| vssseg7e32.v v8,(t2),t3,v0.t | 28.00 | 57.49 | 28.00 | 58.07 | 28.00 | 56.58 | 28.00 | |||||||||||||||||||||
| vssseg7e32.v v8,(t2),x0 | 28.00 | 56.00 | 28.00 | 56.00 | 28.00 | 56.00 | 28.00 | |||||||||||||||||||||
| vssseg7e32.v v8,(t2),x0,v0.t | 28.00 | 56.00 | 28.00 | 56.00 | 28.00 | 56.00 | 28.00 | |||||||||||||||||||||
| vssseg7e32.v v8,(t2),t1/*-1*/ | 28.08 | 56.46 | 28.43 | 57.32 | 28.95 | 56.21 | 28.34 | |||||||||||||||||||||
| vssseg7e32.v v8,(t2),t1/*-1*/,v0.t | 28.30 | 56.00 | 28.00 | 56.00 | 28.00 | 56.00 | 28.00 | |||||||||||||||||||||
| vssseg7e64.v v8,(t2),t3 | 29.53 | 30.24 | 29.19 | 30.20 | ||||||||||||||||||||||||
| vssseg7e64.v v8,(t2),t3,v0.t | 29.39 | 30.63 | 30.29 | 29.87 | ||||||||||||||||||||||||
| vssseg7e64.v v8,(t2),x0 | 28.00 | 28.00 | 28.00 | 28.00 | ||||||||||||||||||||||||
| vssseg7e64.v v8,(t2),x0,v0.t | 28.00 | 28.00 | 28.00 | 28.00 | ||||||||||||||||||||||||
| vssseg7e64.v v8,(t2),t1/*-1*/ | 28.10 | 28.00 | 28.00 | 28.00 | ||||||||||||||||||||||||
| vssseg7e64.v v8,(t2),t1/*-1*/,v0.t | 28.00 | 28.00 | 28.00 | 28.00 | ||||||||||||||||||||||||
| vlsseg8e8.v v8,(t2),t3 | 32.15 | 64.20 | 128.14 | 255.12 | 32.15 | 64.22 | 128.14 | 32.15 | 64.21 | 32.15 | ||||||||||||||||||
| vlsseg8e8.v v8,(t2),t3,v0.t | 32.15 | 64.20 | 128.16 | 255.12 | 32.15 | 64.24 | 128.14 | 32.15 | 64.21 | 32.15 | ||||||||||||||||||
| vlsseg8e8.v v8,(t2),x0 | 32.15 | 64.25 | 128.12 | 255.25 | 32.15 | 64.25 | 128.12 | 32.15 | 64.25 | 32.15 | ||||||||||||||||||
| vlsseg8e8.v v8,(t2),x0,v0.t | 32.15 | 64.25 | 128.12 | 255.25 | 32.15 | 64.25 | 128.12 | 32.15 | 64.25 | 32.15 | ||||||||||||||||||
| vlsseg8e8.v v8,(t2),t1/*-1*/ | 32.15 | 64.25 | 128.12 | 255.13 | 32.15 | 64.25 | 128.12 | 32.15 | 64.25 | 32.15 | ||||||||||||||||||
| vlsseg8e8.v v8,(t2),t1/*-1*/,v0.t | 32.15 | 64.25 | 128.12 | 255.13 | 32.15 | 64.25 | 128.12 | 32.15 | 64.25 | 32.15 | ||||||||||||||||||
| vlsseg8e16.v v8,(t2),t3 | 32.14 | 64.12 | 127.12 | 32.13 | 64.12 | 127.12 | 32.14 | 64.14 | 32.14 | |||||||||||||||||||
| vlsseg8e16.v v8,(t2),t3,v0.t | 32.14 | 64.12 | 127.12 | 32.14 | 64.14 | 127.12 | 32.14 | 64.13 | 32.14 | |||||||||||||||||||
| vlsseg8e16.v v8,(t2),x0 | 32.15 | 64.25 | 127.18 | 32.15 | 64.25 | 127.18 | 32.15 | 64.25 | 32.15 | |||||||||||||||||||
| vlsseg8e16.v v8,(t2),x0,v0.t | 32.15 | 64.25 | 127.18 | 32.15 | 64.25 | 127.18 | 32.15 | 64.25 | 32.15 | |||||||||||||||||||
| vlsseg8e16.v v8,(t2),t1/*-1*/ | 32.15 | 64.22 | 127.18 | 32.15 | 64.23 | 127.18 | 32.15 | 64.20 | 32.15 | |||||||||||||||||||
| vlsseg8e16.v v8,(t2),t1/*-1*/,v0.t | 32.15 | 64.23 | 127.18 | 32.15 | 64.24 | 127.18 | 32.15 | 64.23 | 32.15 | |||||||||||||||||||
| vlsseg8e32.v v8,(t2),t3 | 32.12 | 63.12 | 32.13 | 63.12 | 32.15 | 63.12 | 32.13 | |||||||||||||||||||||
| vlsseg8e32.v v8,(t2),t3,v0.t | 32.13 | 63.12 | 32.12 | 63.12 | 32.15 | 63.12 | 32.15 | |||||||||||||||||||||
| vlsseg8e32.v v8,(t2),x0 | 32.14 | 63.17 | 32.14 | 63.19 | 32.14 | 63.18 | 32.13 | |||||||||||||||||||||
| vlsseg8e32.v v8,(t2),x0,v0.t | 32.15 | 63.19 | 32.14 | 63.16 | 32.14 | 63.18 | 32.14 | |||||||||||||||||||||
| vlsseg8e32.v v8,(t2),t1/*-1*/ | 32.12 | 63.13 | 32.12 | 63.14 | 32.13 | 63.14 | 32.12 | |||||||||||||||||||||
| vlsseg8e32.v v8,(t2),t1/*-1*/,v0.t | 32.13 | 63.13 | 32.12 | 63.13 | 32.12 | 63.14 | 32.12 | |||||||||||||||||||||
| vlsseg8e64.v v8,(t2),t3 | 31.14 | 31.14 | 31.15 | 31.14 | ||||||||||||||||||||||||
| vlsseg8e64.v v8,(t2),t3,v0.t | 31.14 | 31.14 | 31.14 | 31.14 | ||||||||||||||||||||||||
| vlsseg8e64.v v8,(t2),x0 | 31.13 | 31.13 | 31.13 | 31.13 | ||||||||||||||||||||||||
| vlsseg8e64.v v8,(t2),x0,v0.t | 31.13 | 31.13 | 31.13 | 31.13 | ||||||||||||||||||||||||
| vlsseg8e64.v v8,(t2),t1/*-1*/ | 31.18 | 31.18 | 31.17 | 31.18 | ||||||||||||||||||||||||
| vlsseg8e64.v v8,(t2),t1/*-1*/,v0.t | 31.19 | 31.18 | 31.18 | 31.19 | ||||||||||||||||||||||||
| vssseg8e8.v v8,(t2),t3 | 32.00 | 64.00 | 128.00 | 256.00 | 32.00 | 64.00 | 128.00 | 32.00 | 64.00 | 32.00 | ||||||||||||||||||
| vssseg8e8.v v8,(t2),t3,v0.t | 32.00 | 64.00 | 128.00 | 256.00 | 32.00 | 64.00 | 128.00 | 32.00 | 64.00 | 32.00 | ||||||||||||||||||
| vssseg8e8.v v8,(t2),x0 | 32.00 | 64.00 | 128.00 | 256.00 | 32.00 | 64.00 | 128.00 | 32.00 | 64.00 | 32.00 | ||||||||||||||||||
| vssseg8e8.v v8,(t2),x0,v0.t | 32.00 | 64.00 | 128.00 | 256.00 | 32.00 | 64.00 | 128.00 | 32.00 | 64.00 | 32.00 | ||||||||||||||||||
| vssseg8e8.v v8,(t2),t1/*-1*/ | 32.00 | 64.00 | 128.00 | 256.00 | 32.00 | 64.00 | 128.00 | 32.00 | 64.00 | 32.00 | ||||||||||||||||||
| vssseg8e8.v v8,(t2),t1/*-1*/,v0.t | 32.00 | 64.00 | 128.00 | 256.01 | 32.00 | 64.00 | 128.00 | 32.00 | 64.00 | 32.00 | ||||||||||||||||||
| vssseg8e16.v v8,(t2),t3 | 32.00 | 64.00 | 128.27 | 32.00 | 64.00 | 128.00 | 32.00 | 64.00 | 32.00 | |||||||||||||||||||
| vssseg8e16.v v8,(t2),t3,v0.t | 32.00 | 64.00 | 128.10 | 32.31 | 64.00 | 128.29 | 32.00 | 64.00 | 32.00 | |||||||||||||||||||
| vssseg8e16.v v8,(t2),x0 | 32.00 | 64.00 | 128.00 | 32.00 | 64.00 | 128.00 | 32.00 | 64.00 | 32.00 | |||||||||||||||||||
| vssseg8e16.v v8,(t2),x0,v0.t | 32.00 | 64.00 | 128.00 | 32.00 | 64.00 | 128.00 | 32.00 | 64.00 | 32.00 | |||||||||||||||||||
| vssseg8e16.v v8,(t2),t1/*-1*/ | 32.00 | 64.00 | 128.00 | 32.00 | 64.00 | 128.00 | 32.00 | 64.00 | 32.00 | |||||||||||||||||||
| vssseg8e16.v v8,(t2),t1/*-1*/,v0.t | 32.00 | 64.00 | 128.00 | 32.00 | 64.00 | 128.00 | 32.00 | 64.00 | 32.00 | |||||||||||||||||||
| vssseg8e32.v v8,(t2),t3 | 32.32 | 65.91 | 32.79 | 64.15 | 32.00 | 64.85 | 32.06 | |||||||||||||||||||||
| vssseg8e32.v v8,(t2),t3,v0.t | 32.00 | 64.21 | 32.00 | 64.31 | 32.00 | 64.27 | 32.00 | |||||||||||||||||||||
| vssseg8e32.v v8,(t2),x0 | 32.00 | 64.00 | 32.00 | 64.00 | 32.00 | 64.00 | 32.00 | |||||||||||||||||||||
| vssseg8e32.v v8,(t2),x0,v0.t | 32.00 | 64.00 | 32.00 | 64.00 | 32.00 | 64.00 | 32.00 | |||||||||||||||||||||
| vssseg8e32.v v8,(t2),t1/*-1*/ | 32.00 | 64.00 | 32.00 | 64.00 | 32.00 | 64.00 | 32.00 | |||||||||||||||||||||
| vssseg8e32.v v8,(t2),t1/*-1*/,v0.t | 32.00 | 64.00 | 32.00 | 64.00 | 32.00 | 64.00 | 32.00 | |||||||||||||||||||||
| vssseg8e64.v v8,(t2),t3 | 33.82 | 34.71 | 35.10 | 35.85 | ||||||||||||||||||||||||
| vssseg8e64.v v8,(t2),t3,v0.t | 35.24 | 34.63 | 35.36 | 34.32 | ||||||||||||||||||||||||
| vssseg8e64.v v8,(t2),x0 | 32.00 | 32.00 | 32.00 | 32.96 | ||||||||||||||||||||||||
| vssseg8e64.v v8,(t2),x0,v0.t | 36.37 | 32.00 | 32.00 | 32.00 | ||||||||||||||||||||||||
| vssseg8e64.v v8,(t2),t1/*-1*/ | 32.51 | 32.85 | 32.00 | 32.00 | ||||||||||||||||||||||||
| vssseg8e64.v v8,(t2),t1/*-1*/,v0.t | 32.00 | 32.00 | 32.00 | 32.00 | ||||||||||||||||||||||||
| vandn.vv v8,v16,v24 | 1.00 | 1.00 | 1.00 | 1.00 | 2.00 | 4.00 | 8.00 | 1.00 | 1.00 | 1.00 | 2.00 | 4.00 | 8.00 | 1.00 | 1.00 | 2.00 | 4.00 | 8.00 | 1.00 | 2.00 | 4.00 | 8.00 | ||||||
| vandn.vv v8,v16,v24,v0.t | 1.00 | 1.00 | 1.00 | 1.00 | 2.00 | 4.00 | 8.00 | 1.00 | 1.00 | 1.00 | 2.00 | 4.00 | 8.00 | 1.00 | 1.00 | 2.00 | 4.00 | 8.00 | 1.00 | 2.00 | 4.00 | 8.00 | ||||||
| vandn.vx v8,v16,t0 | 1.06 | 1.06 | 1.06 | 1.06 | 2.00 | 4.00 | 8.00 | 1.06 | 1.06 | 1.06 | 2.00 | 4.00 | 8.00 | 1.06 | 1.06 | 2.00 | 4.00 | 8.00 | 1.06 | 2.00 | 4.00 | 8.00 | ||||||
| vandn.vx v8,v16,t0,v0.t | 1.06 | 1.06 | 1.06 | 1.06 | 2.00 | 4.00 | 8.00 | 1.06 | 1.06 | 1.06 | 2.00 | 4.00 | 8.00 | 1.06 | 1.06 | 2.00 | 4.00 | 8.00 | 1.06 | 2.00 | 4.00 | 8.00 | ||||||
| vbrev.v v8,v16 | 1.00 | 1.00 | 1.00 | 2.00 | 4.00 | 8.00 | 16.00 | 1.00 | 1.00 | 2.00 | 4.00 | 8.00 | 16.00 | 1.00 | 2.00 | 4.00 | 8.00 | 16.00 | 2.00 | 4.00 | 8.00 | 16.00 | ||||||
| vbrev.v v8,v16,v0.t | 1.00 | 1.00 | 1.00 | 2.00 | 4.00 | 8.00 | 16.00 | 1.00 | 1.00 | 2.00 | 4.00 | 8.00 | 16.00 | 1.00 | 2.00 | 4.00 | 8.00 | 16.00 | 2.00 | 4.00 | 8.00 | 16.00 | ||||||
| vbrev8.v v8,v16 | 1.00 | 1.00 | 1.00 | 2.00 | 4.00 | 8.00 | 16.00 | 1.00 | 1.00 | 2.00 | 4.00 | 8.00 | 16.00 | 1.00 | 2.00 | 4.00 | 8.00 | 16.00 | 2.00 | 4.00 | 8.00 | 16.00 | ||||||
| vbrev8.v v8,v16,v0.t | 1.00 | 1.00 | 1.00 | 2.00 | 4.00 | 8.00 | 16.00 | 1.00 | 1.00 | 2.00 | 4.00 | 8.00 | 16.00 | 1.00 | 2.00 | 4.00 | 8.00 | 16.00 | 2.00 | 4.00 | 8.00 | 16.00 | ||||||
| vclz.v v8,v16 | 1.00 | 1.00 | 1.00 | 2.00 | 4.00 | 8.00 | 16.00 | 1.00 | 1.00 | 2.00 | 4.00 | 8.00 | 16.00 | 1.00 | 2.00 | 4.00 | 8.00 | 16.00 | 2.00 | 4.00 | 8.00 | 16.00 | ||||||
| vclz.v v8,v16,v0.t | 1.00 | 1.00 | 1.00 | 2.00 | 4.00 | 8.00 | 16.00 | 1.00 | 1.00 | 2.00 | 4.00 | 8.00 | 16.00 | 1.00 | 2.00 | 4.00 | 8.00 | 16.00 | 2.00 | 4.00 | 8.00 | 16.00 | ||||||
| vctz.v v8,v16 | 1.00 | 1.00 | 1.00 | 2.00 | 4.00 | 8.00 | 16.00 | 1.00 | 1.00 | 2.00 | 4.00 | 8.00 | 16.00 | 1.00 | 2.00 | 4.00 | 8.00 | 16.00 | 2.00 | 4.00 | 8.00 | 16.00 | ||||||
| vctz.v v8,v16,v0.t | 1.00 | 1.00 | 1.00 | 2.00 | 4.00 | 8.00 | 16.00 | 1.00 | 1.00 | 2.00 | 4.00 | 8.00 | 16.00 | 1.00 | 2.00 | 4.00 | 8.00 | 16.00 | 2.00 | 4.00 | 8.00 | 16.00 | ||||||
| vcpop.v v8,v16 | 1.00 | 1.00 | 1.00 | 2.00 | 4.00 | 8.00 | 16.00 | 1.00 | 1.00 | 2.00 | 4.00 | 8.00 | 16.00 | 1.00 | 2.00 | 4.00 | 8.00 | 16.00 | 2.00 | 4.00 | 8.00 | 16.00 | ||||||
| vcpop.v v8,v16,v0.t | 1.00 | 1.00 | 1.00 | 2.00 | 4.00 | 8.00 | 16.00 | 1.00 | 1.00 | 2.00 | 4.00 | 8.00 | 16.00 | 1.00 | 2.00 | 4.00 | 8.00 | 16.00 | 2.00 | 4.00 | 8.00 | 16.00 | ||||||
| vrol.vv v8,v16,v24 | 1.00 | 1.00 | 1.00 | 2.00 | 4.00 | 8.00 | 16.00 | 1.00 | 1.00 | 2.00 | 4.00 | 8.00 | 16.00 | 1.00 | 2.00 | 4.00 | 8.00 | 16.00 | 2.00 | 4.00 | 8.00 | 16.00 | ||||||
| vrol.vv v8,v16,v24,v0.t | 1.00 | 1.00 | 1.00 | 2.00 | 4.00 | 8.00 | 16.00 | 1.00 | 1.00 | 2.00 | 4.00 | 8.00 | 16.00 | 1.00 | 2.00 | 4.00 | 8.00 | 16.00 | 2.00 | 4.00 | 8.00 | 16.00 | ||||||
| vrol.vx v8,v16,t0 | 1.06 | 1.06 | 1.06 | 2.00 | 4.00 | 8.00 | 16.00 | 1.06 | 1.06 | 2.00 | 4.00 | 8.00 | 16.00 | 1.06 | 2.00 | 4.00 | 8.00 | 16.00 | 2.00 | 4.00 | 8.00 | 16.00 | ||||||
| vrol.vx v8,v16,t0,v0.t | 1.06 | 1.06 | 1.06 | 2.00 | 4.00 | 8.00 | 16.00 | 1.06 | 1.06 | 2.00 | 4.00 | 8.00 | 16.00 | 1.06 | 2.00 | 4.00 | 8.00 | 16.00 | 2.00 | 4.00 | 8.00 | 16.00 | ||||||
| vror.vv v8,v16,v24 | 1.00 | 1.00 | 1.00 | 2.00 | 4.00 | 8.00 | 16.00 | 1.00 | 1.00 | 2.00 | 4.00 | 8.00 | 16.00 | 1.00 | 2.00 | 4.00 | 8.00 | 16.00 | 2.00 | 4.00 | 8.00 | 16.00 | ||||||
| vror.vv v8,v16,v24,v0.t | 1.00 | 1.00 | 1.00 | 2.00 | 4.00 | 8.00 | 16.00 | 1.00 | 1.00 | 2.00 | 4.00 | 8.00 | 16.00 | 1.00 | 2.00 | 4.00 | 8.00 | 16.00 | 2.00 | 4.00 | 8.00 | 16.00 | ||||||
| vror.vx v8,v16,t0 | 1.06 | 1.06 | 1.06 | 2.00 | 4.00 | 8.00 | 16.00 | 1.06 | 1.06 | 2.00 | 4.00 | 8.00 | 16.00 | 1.06 | 2.00 | 4.00 | 8.00 | 16.00 | 2.00 | 4.00 | 8.00 | 16.00 | ||||||
| vror.vx v8,v16,t0,v0.t | 1.06 | 1.06 | 1.06 | 2.00 | 4.00 | 8.00 | 16.00 | 1.06 | 1.06 | 2.00 | 4.00 | 8.00 | 16.00 | 1.06 | 2.00 | 4.00 | 8.00 | 16.00 | 2.00 | 4.00 | 8.00 | 16.00 | ||||||
| vwsll.vv v8,v16,v24 | 1.00 | 1.00 | 2.00 | 4.00 | 8.00 | 16.00 | 1.00 | 2.00 | 4.00 | 8.00 | 16.00 | 2.00 | 4.00 | 8.00 | 16.00 | |||||||||||||
| vwsll.vv v8,v16,v24,v0.t | 1.00 | 1.00 | 2.00 | 4.00 | 8.00 | 16.00 | 1.00 | 2.00 | 4.00 | 8.00 | 16.00 | 2.00 | 4.00 | 8.00 | 16.00 | |||||||||||||
| vwsll.vx v8,v16,t0 | 1.06 | 1.06 | 2.00 | 4.00 | 8.00 | 16.00 | 1.06 | 2.00 | 4.00 | 8.00 | 16.00 | 2.00 | 4.00 | 8.00 | 16.00 | |||||||||||||
| vwsll.vx v8,v16,t0,v0.t | 1.06 | 1.06 | 2.00 | 4.00 | 8.00 | 16.00 | 1.06 | 2.00 | 4.00 | 8.00 | 16.00 | 2.00 | 4.00 | 8.00 | 16.00 | |||||||||||||
| vclmul.vv v8,v16,v24 | 2.00 | 4.00 | 8.00 | 16.00 | ||||||||||||||||||||||||
| vclmul.vv v8,v16,v24,v0.t | 2.00 | 4.00 | 8.00 | 16.00 | ||||||||||||||||||||||||
| vclmul.vx v8,v16,t0 | 2.00 | 4.00 | 8.00 | 16.00 | ||||||||||||||||||||||||
| vclmul.vx v8,v16,t0,v0.t | 2.00 | 4.00 | 8.00 | 16.00 | ||||||||||||||||||||||||
| vclmulh.vv v8,v16,v24 | 2.00 | 4.00 | 8.00 | 16.00 | ||||||||||||||||||||||||
| vclmulh.vv v8,v16,v24,v0.t | 2.00 | 4.00 | 8.00 | 16.00 | ||||||||||||||||||||||||
| vclmulh.vx v8,v16,t0 | 2.00 | 4.00 | 8.00 | 16.00 | ||||||||||||||||||||||||
| vclmulh.vx v8,v16,t0,v0.t | 2.00 | 4.00 | 8.00 | 16.00 | ||||||||||||||||||||||||
| vghsh.vv v8,v16,v24 | 2.00 | 4.00 | 8.00 | 16.00 | ||||||||||||||||||||||||
| vgmul.vv v8,v16 | 2.00 | 4.00 | 8.00 | 16.00 |
| instruction | e8mf8 | e8mf4 | e8mf2 | e8m1 | e8m2 | e8m4 | e8m8 | e16mf8 | e16mf4 | e16mf2 | e16m1 | e16m2 | e16m4 | e16m8 | e32mf8 | e32mf4 | e32mf2 | e32m1 | e32m2 | e32m4 | e32m8 | e64mf8 | e64mf4 | e64mf2 | e64m1 | e64m2 | e64m4 | e64m8 |
|---|---|---|---|---|---|---|---|---|---|---|---|---|---|---|---|---|---|---|---|---|---|---|---|---|---|---|---|---|
| add t0,t1,t2 | 0.47 | 0.47 | 0.47 | 0.47 | 0.40 | 0.34 | 0.34 | 0.47 | 0.47 | 0.47 | 0.40 | 0.34 | 0.34 | 0.47 | 0.47 | 0.40 | 0.34 | 0.34 | 0.47 | 0.40 | 0.34 | 0.34 | ||||||
| mul t0,t1,t2 | 1.50 | 1.50 | 1.50 | 1.50 | 1.50 | 1.00 | 1.00 | 1.50 | 1.50 | 1.50 | 1.50 | 1.00 | 1.00 | 1.50 | 1.50 | 1.50 | 1.00 | 1.00 | 1.50 | 1.50 | 1.00 | 1.00 | ||||||
| vadd.vv v8,v16,v24 | 1.00 | 1.00 | 1.00 | 1.00 | 2.00 | 4.00 | 8.00 | 1.00 | 1.00 | 1.00 | 2.00 | 4.00 | 8.00 | 1.00 | 1.00 | 2.00 | 4.00 | 8.00 | 1.00 | 2.00 | 4.00 | 8.00 | ||||||
| vadd.vv v8,v16,v24,v0.t | 1.00 | 1.00 | 1.00 | 1.00 | 2.00 | 4.00 | 8.00 | 1.00 | 1.00 | 1.00 | 2.00 | 4.00 | 8.00 | 1.00 | 1.00 | 2.00 | 4.00 | 8.00 | 1.00 | 2.00 | 4.00 | 8.00 | ||||||
| vadd.vx v8,v16,t0 | 1.06 | 1.06 | 1.06 | 1.06 | 2.00 | 4.00 | 8.00 | 1.06 | 1.06 | 1.06 | 2.00 | 4.00 | 8.00 | 1.06 | 1.06 | 2.00 | 4.00 | 8.00 | 1.06 | 2.00 | 4.00 | 8.00 | ||||||
| vadd.vx v8,v16,t0,v0.t | 1.06 | 1.06 | 1.06 | 1.06 | 2.00 | 4.00 | 8.00 | 1.06 | 1.06 | 1.06 | 2.00 | 4.00 | 8.00 | 1.06 | 1.06 | 2.00 | 4.00 | 8.00 | 1.06 | 2.00 | 4.00 | 8.00 | ||||||
| vadd.vi v8,v16,13 | 1.00 | 1.00 | 1.00 | 1.00 | 2.00 | 4.00 | 8.00 | 1.00 | 1.00 | 1.00 | 2.00 | 4.00 | 8.00 | 1.00 | 1.00 | 2.00 | 4.00 | 8.00 | 1.00 | 2.00 | 4.00 | 8.00 | ||||||
| vadd.vi v8,v16,13,v0.t | 1.00 | 1.00 | 1.00 | 1.00 | 2.00 | 4.00 | 8.00 | 1.00 | 1.00 | 1.00 | 2.00 | 4.00 | 8.00 | 1.00 | 1.00 | 2.00 | 4.00 | 8.00 | 1.00 | 2.00 | 4.00 | 8.00 | ||||||
| vsub.vv v8,v16,v24 | 1.00 | 1.00 | 1.00 | 1.00 | 2.00 | 4.00 | 8.00 | 1.00 | 1.00 | 1.00 | 2.00 | 4.00 | 8.00 | 1.00 | 1.00 | 2.00 | 4.00 | 8.00 | 1.00 | 2.00 | 4.00 | 8.00 | ||||||
| vsub.vv v8,v16,v24,v0.t | 1.00 | 1.00 | 1.00 | 1.00 | 2.00 | 4.00 | 8.00 | 1.00 | 1.00 | 1.00 | 2.00 | 4.00 | 8.00 | 1.00 | 1.00 | 2.00 | 4.00 | 8.00 | 1.00 | 2.00 | 4.00 | 8.00 | ||||||
| vsub.vx v8,v16,t0 | 1.06 | 1.06 | 1.06 | 1.06 | 2.00 | 4.00 | 8.00 | 1.06 | 1.06 | 1.06 | 2.00 | 4.00 | 8.00 | 1.06 | 1.06 | 2.00 | 4.00 | 8.00 | 1.06 | 2.00 | 4.00 | 8.00 | ||||||
| vsub.vx v8,v16,t0,v0.t | 1.06 | 1.06 | 1.06 | 1.06 | 2.00 | 4.00 | 8.00 | 1.06 | 1.06 | 1.06 | 2.00 | 4.00 | 8.00 | 1.06 | 1.06 | 2.00 | 4.00 | 8.00 | 1.06 | 2.00 | 4.00 | 8.00 | ||||||
| vrsub.vx v8,v16,t0 | 1.06 | 1.06 | 1.06 | 1.06 | 2.00 | 4.00 | 8.00 | 1.06 | 1.06 | 1.06 | 2.00 | 4.00 | 8.00 | 1.06 | 1.06 | 2.00 | 4.00 | 8.00 | 1.06 | 2.00 | 4.00 | 8.00 | ||||||
| vrsub.vx v8,v16,t0,v0.t | 1.06 | 1.06 | 1.06 | 1.06 | 2.00 | 4.00 | 8.00 | 1.06 | 1.06 | 1.06 | 2.00 | 4.00 | 8.00 | 1.06 | 1.06 | 2.00 | 4.00 | 8.00 | 1.06 | 2.00 | 4.00 | 8.00 | ||||||
| vrsub.vi v8,v16,13 | 1.00 | 1.00 | 1.00 | 1.00 | 2.00 | 4.00 | 8.00 | 1.00 | 1.00 | 1.00 | 2.00 | 4.00 | 8.00 | 1.00 | 1.00 | 2.00 | 4.00 | 8.00 | 1.00 | 2.00 | 4.00 | 8.00 | ||||||
| vrsub.vi v8,v16,13,v0.t | 1.00 | 1.00 | 1.00 | 1.00 | 2.00 | 4.00 | 8.00 | 1.00 | 1.00 | 1.00 | 2.00 | 4.00 | 8.00 | 1.00 | 1.00 | 2.00 | 4.00 | 8.00 | 1.00 | 2.00 | 4.00 | 8.00 | ||||||
| vminu.vv v8,v16,v24 | 1.00 | 1.00 | 1.00 | 1.00 | 2.00 | 4.00 | 8.00 | 1.00 | 1.00 | 1.00 | 2.00 | 4.00 | 8.00 | 1.00 | 1.00 | 2.00 | 4.00 | 8.00 | 1.00 | 2.00 | 4.00 | 8.00 | ||||||
| vminu.vv v8,v16,v24,v0.t | 1.00 | 1.00 | 1.00 | 1.00 | 2.00 | 4.00 | 8.00 | 1.00 | 1.00 | 1.00 | 2.00 | 4.00 | 8.00 | 1.00 | 1.00 | 2.00 | 4.00 | 8.00 | 1.00 | 2.00 | 4.00 | 8.00 | ||||||
| vminu.vx v8,v16,t0 | 1.06 | 1.06 | 1.06 | 1.06 | 2.00 | 4.00 | 8.00 | 1.06 | 1.06 | 1.06 | 2.00 | 4.00 | 8.00 | 1.06 | 1.06 | 2.00 | 4.00 | 8.00 | 1.06 | 2.00 | 4.00 | 8.00 | ||||||
| vminu.vx v8,v16,t0,v0.t | 1.06 | 1.06 | 1.06 | 1.06 | 2.00 | 4.00 | 8.00 | 1.06 | 1.06 | 1.06 | 2.00 | 4.00 | 8.00 | 1.06 | 1.06 | 2.00 | 4.00 | 8.00 | 1.06 | 2.00 | 4.00 | 8.00 | ||||||
| vmin.vv v8,v16,v24 | 1.00 | 1.00 | 1.00 | 1.00 | 2.00 | 4.00 | 8.00 | 1.00 | 1.00 | 1.00 | 2.00 | 4.00 | 8.00 | 1.00 | 1.00 | 2.00 | 4.00 | 8.00 | 1.00 | 2.00 | 4.00 | 8.00 | ||||||
| vmin.vv v8,v16,v24,v0.t | 1.00 | 1.00 | 1.00 | 1.00 | 2.00 | 4.00 | 8.00 | 1.00 | 1.00 | 1.00 | 2.00 | 4.00 | 8.00 | 1.00 | 1.00 | 2.00 | 4.00 | 8.00 | 1.00 | 2.00 | 4.00 | 8.00 | ||||||
| vmin.vx v8,v16,t0 | 1.06 | 1.06 | 1.06 | 1.06 | 2.00 | 4.00 | 8.00 | 1.06 | 1.06 | 1.06 | 2.00 | 4.00 | 8.00 | 1.06 | 1.06 | 2.00 | 4.00 | 8.00 | 1.06 | 2.00 | 4.00 | 8.00 | ||||||
| vmin.vx v8,v16,t0,v0.t | 1.06 | 1.06 | 1.06 | 1.06 | 2.00 | 4.00 | 8.00 | 1.06 | 1.06 | 1.06 | 2.00 | 4.00 | 8.00 | 1.06 | 1.06 | 2.00 | 4.00 | 8.00 | 1.06 | 2.00 | 4.00 | 8.00 | ||||||
| vmaxu.vv v8,v16,v24 | 1.00 | 1.00 | 1.00 | 1.00 | 2.00 | 4.00 | 8.00 | 1.00 | 1.00 | 1.00 | 2.00 | 4.00 | 8.00 | 1.00 | 1.00 | 2.00 | 4.00 | 8.00 | 1.00 | 2.00 | 4.00 | 8.00 | ||||||
| vmaxu.vv v8,v16,v24,v0.t | 1.00 | 1.00 | 1.00 | 1.00 | 2.00 | 4.00 | 8.00 | 1.00 | 1.00 | 1.00 | 2.00 | 4.00 | 8.00 | 1.00 | 1.00 | 2.00 | 4.00 | 8.00 | 1.00 | 2.00 | 4.00 | 8.00 | ||||||
| vmaxu.vx v8,v16,t0 | 1.06 | 1.06 | 1.06 | 1.06 | 2.00 | 4.00 | 8.00 | 1.06 | 1.06 | 1.06 | 2.00 | 4.00 | 8.00 | 1.06 | 1.06 | 2.00 | 4.00 | 8.00 | 1.06 | 2.00 | 4.00 | 8.00 | ||||||
| vmaxu.vx v8,v16,t0,v0.t | 1.06 | 1.06 | 1.06 | 1.06 | 2.00 | 4.00 | 8.00 | 1.06 | 1.06 | 1.06 | 2.00 | 4.00 | 8.00 | 1.06 | 1.06 | 2.00 | 4.00 | 8.00 | 1.06 | 2.00 | 4.00 | 8.00 | ||||||
| vmax.vv v8,v16,v24 | 1.00 | 1.00 | 1.00 | 1.00 | 2.00 | 4.00 | 8.00 | 1.00 | 1.00 | 1.00 | 2.00 | 4.00 | 8.00 | 1.00 | 1.00 | 2.00 | 4.00 | 8.00 | 1.00 | 2.00 | 4.00 | 8.00 | ||||||
| vmax.vv v8,v16,v24,v0.t | 1.00 | 1.00 | 1.00 | 1.00 | 2.00 | 4.00 | 8.00 | 1.00 | 1.00 | 1.00 | 2.00 | 4.00 | 8.00 | 1.00 | 1.00 | 2.00 | 4.00 | 8.00 | 1.00 | 2.00 | 4.00 | 8.00 | ||||||
| vmax.vx v8,v16,t0 | 1.06 | 1.06 | 1.06 | 1.06 | 2.00 | 4.00 | 8.00 | 1.06 | 1.06 | 1.06 | 2.00 | 4.00 | 8.00 | 1.06 | 1.06 | 2.00 | 4.00 | 8.00 | 1.06 | 2.00 | 4.00 | 8.00 | ||||||
| vmax.vx v8,v16,t0,v0.t | 1.06 | 1.06 | 1.06 | 1.06 | 2.00 | 4.00 | 8.00 | 1.06 | 1.06 | 1.06 | 2.00 | 4.00 | 8.00 | 1.06 | 1.06 | 2.00 | 4.00 | 8.00 | 1.06 | 2.00 | 4.00 | 8.00 | ||||||
| vand.vv v8,v16,v24 | 1.00 | 1.00 | 1.00 | 1.00 | 2.00 | 4.00 | 8.00 | 1.00 | 1.00 | 1.00 | 2.00 | 4.00 | 8.00 | 1.00 | 1.00 | 2.00 | 4.00 | 8.00 | 1.00 | 2.00 | 4.00 | 8.00 | ||||||
| vand.vv v8,v16,v24,v0.t | 1.00 | 1.00 | 1.00 | 1.00 | 2.00 | 4.00 | 8.00 | 1.00 | 1.00 | 1.00 | 2.00 | 4.00 | 8.00 | 1.00 | 1.00 | 2.00 | 4.00 | 8.00 | 1.00 | 2.00 | 4.00 | 8.00 | ||||||
| vand.vx v8,v16,t0 | 1.06 | 1.06 | 1.06 | 1.06 | 2.00 | 4.00 | 8.00 | 1.06 | 1.06 | 1.06 | 2.00 | 4.00 | 8.00 | 1.06 | 1.06 | 2.00 | 4.00 | 8.00 | 1.06 | 2.00 | 4.00 | 8.00 | ||||||
| vand.vx v8,v16,t0,v0.t | 1.06 | 1.06 | 1.06 | 1.06 | 2.00 | 4.00 | 8.00 | 1.06 | 1.06 | 1.06 | 2.00 | 4.00 | 8.00 | 1.06 | 1.06 | 2.00 | 4.00 | 8.00 | 1.06 | 2.00 | 4.00 | 8.00 | ||||||
| vand.vi v8,v16,13 | 1.00 | 1.00 | 1.00 | 1.00 | 2.00 | 4.00 | 8.00 | 1.00 | 1.00 | 1.00 | 2.00 | 4.00 | 8.00 | 1.00 | 1.00 | 2.00 | 4.00 | 8.00 | 1.00 | 2.00 | 4.00 | 8.00 | ||||||
| vand.vi v8,v16,13,v0.t | 1.00 | 1.00 | 1.00 | 1.00 | 2.00 | 4.00 | 8.00 | 1.00 | 1.00 | 1.00 | 2.00 | 4.00 | 8.00 | 1.00 | 1.00 | 2.00 | 4.00 | 8.00 | 1.00 | 2.00 | 4.00 | 8.00 | ||||||
| vor.vv v8,v16,v24 | 1.00 | 1.00 | 1.00 | 1.00 | 2.00 | 4.00 | 8.00 | 1.00 | 1.00 | 1.00 | 2.00 | 4.00 | 8.00 | 1.00 | 1.00 | 2.00 | 4.00 | 8.00 | 1.00 | 2.00 | 4.00 | 8.00 | ||||||
| vor.vv v8,v16,v24,v0.t | 1.00 | 1.00 | 1.00 | 1.00 | 2.00 | 4.00 | 8.00 | 1.00 | 1.00 | 1.00 | 2.00 | 4.00 | 8.00 | 1.00 | 1.00 | 2.00 | 4.00 | 8.00 | 1.00 | 2.00 | 4.00 | 8.00 | ||||||
| vor.vx v8,v16,t0 | 1.06 | 1.06 | 1.06 | 1.06 | 2.00 | 4.00 | 8.00 | 1.06 | 1.06 | 1.06 | 2.00 | 4.00 | 8.00 | 1.06 | 1.06 | 2.00 | 4.00 | 8.00 | 1.06 | 2.00 | 4.00 | 8.00 | ||||||
| vor.vx v8,v16,t0,v0.t | 1.05 | 1.06 | 1.06 | 1.06 | 2.00 | 4.00 | 8.00 | 1.06 | 1.06 | 1.06 | 2.00 | 4.00 | 8.00 | 1.06 | 1.06 | 2.00 | 4.00 | 8.00 | 1.06 | 2.00 | 4.00 | 8.00 | ||||||
| vor.vi v8,v16,13 | 1.00 | 1.00 | 1.00 | 1.00 | 2.00 | 4.00 | 8.00 | 1.00 | 1.00 | 1.00 | 2.00 | 4.00 | 8.00 | 1.00 | 1.00 | 2.00 | 4.00 | 8.00 | 1.00 | 2.00 | 4.00 | 8.00 | ||||||
| vor.vi v8,v16,13,v0.t | 1.00 | 1.00 | 1.00 | 1.00 | 2.00 | 4.00 | 8.00 | 1.00 | 1.00 | 1.00 | 2.00 | 4.00 | 8.00 | 1.00 | 1.00 | 2.00 | 4.00 | 8.00 | 1.00 | 2.00 | 4.00 | 8.00 | ||||||
| vxor.vv v8,v16,v24 | 1.00 | 1.00 | 1.00 | 1.00 | 2.00 | 4.00 | 8.00 | 1.00 | 1.00 | 1.00 | 2.00 | 4.00 | 8.00 | 1.00 | 1.00 | 2.00 | 4.00 | 8.00 | 1.00 | 2.00 | 4.00 | 8.00 | ||||||
| vxor.vv v8,v16,v24,v0.t | 1.00 | 1.00 | 1.00 | 1.00 | 2.00 | 4.00 | 8.00 | 1.00 | 1.00 | 1.00 | 2.00 | 4.00 | 8.00 | 1.00 | 1.00 | 2.00 | 4.00 | 8.00 | 1.00 | 2.00 | 4.00 | 8.00 | ||||||
| vxor.vx v8,v16,t0 | 1.06 | 1.06 | 1.06 | 1.06 | 2.00 | 4.00 | 8.00 | 1.06 | 1.06 | 1.06 | 2.00 | 4.00 | 8.00 | 1.06 | 1.06 | 2.00 | 4.00 | 8.00 | 1.06 | 2.00 | 4.00 | 8.00 | ||||||
| vxor.vx v8,v16,t0,v0.t | 1.06 | 1.06 | 1.06 | 1.06 | 2.00 | 4.00 | 8.00 | 1.06 | 1.06 | 1.06 | 2.00 | 4.00 | 8.00 | 1.06 | 1.06 | 2.00 | 4.00 | 8.00 | 1.06 | 2.00 | 4.00 | 8.00 | ||||||
| vxor.vi v8,v16,13 | 1.00 | 1.00 | 1.00 | 1.00 | 2.00 | 4.00 | 8.00 | 1.00 | 1.00 | 1.00 | 2.00 | 4.00 | 8.00 | 1.00 | 1.00 | 2.00 | 4.00 | 8.00 | 1.00 | 2.00 | 4.00 | 8.00 | ||||||
| vxor.vi v8,v16,13,v0.t | 1.00 | 1.00 | 1.00 | 1.00 | 2.00 | 4.00 | 8.00 | 1.00 | 1.00 | 1.00 | 2.00 | 4.00 | 8.00 | 1.00 | 1.00 | 2.00 | 4.00 | 8.00 | 1.00 | 2.00 | 4.00 | 8.00 | ||||||
| vrgather.vv v8,v16,v24 | 1.00 | 1.00 | 1.00 | 2.00 | 8.00 | 32.00 | 127.96 | 1.00 | 1.00 | 2.00 | 8.00 | 32.00 | 127.96 | 1.00 | 2.00 | 8.00 | 32.00 | 127.96 | 2.00 | 8.00 | 32.00 | 127.96 | ||||||
| vrgather.vv v8,v16,v24,v0.t | 1.00 | 1.00 | 1.00 | 2.00 | 8.00 | 32.00 | 127.95 | 1.00 | 1.00 | 2.00 | 8.00 | 32.00 | 127.96 | 1.00 | 2.00 | 8.00 | 32.00 | 127.95 | 2.00 | 8.00 | 32.00 | 127.95 | ||||||
| vrgather.vx v8,v16,t0 | 1.32 | 1.32 | 1.32 | 2.07 | 4.00 | 8.00 | 16.00 | 1.32 | 1.32 | 2.07 | 4.00 | 8.00 | 16.00 | 1.32 | 2.07 | 4.00 | 8.00 | 16.00 | 2.07 | 4.00 | 8.00 | 16.00 | ||||||
| vrgather.vx v8,v16,t0,v0.t | 1.32 | 1.32 | 1.32 | 2.07 | 4.00 | 8.00 | 16.00 | 1.32 | 1.32 | 2.07 | 4.00 | 8.00 | 16.00 | 1.32 | 2.07 | 4.00 | 8.00 | 16.00 | 2.07 | 4.00 | 8.00 | 16.00 | ||||||
| vrgather.vi v8,v16,3 | 1.00 | 1.00 | 1.00 | 2.00 | 4.00 | 8.00 | 16.00 | 1.00 | 1.00 | 2.00 | 4.00 | 8.00 | 16.00 | 1.00 | 2.00 | 4.00 | 8.00 | 16.00 | 2.00 | 4.00 | 8.00 | 16.00 | ||||||
| vrgather.vi v8,v16,3,v0.t | 1.00 | 1.00 | 1.00 | 2.00 | 4.00 | 8.00 | 16.00 | 1.00 | 1.00 | 2.00 | 4.00 | 8.00 | 16.00 | 1.00 | 2.00 | 4.00 | 8.00 | 16.00 | 2.00 | 4.00 | 8.00 | 16.00 | ||||||
| vslideup.vx v8,v16,t0 | 1.06 | 1.06 | 1.06 | 2.00 | 4.00 | 8.00 | 16.00 | 1.06 | 1.06 | 2.00 | 4.00 | 8.00 | 16.00 | 1.06 | 2.00 | 4.00 | 8.00 | 16.00 | 2.00 | 4.00 | 8.00 | 16.00 | ||||||
| vslideup.vx v8,v16,t0,v0.t | 1.06 | 1.06 | 1.06 | 2.00 | 4.00 | 8.00 | 16.00 | 1.06 | 1.06 | 2.00 | 4.00 | 8.00 | 16.00 | 1.06 | 2.00 | 4.00 | 8.00 | 16.00 | 2.00 | 4.00 | 8.00 | 16.00 | ||||||
| vslideup.vi v8,v16,3 | 1.00 | 1.00 | 1.00 | 2.00 | 4.00 | 8.00 | 16.00 | 1.00 | 1.00 | 2.00 | 4.00 | 8.00 | 16.00 | 1.00 | 2.00 | 4.00 | 8.00 | 16.00 | 2.00 | 4.00 | 8.00 | 16.00 | ||||||
| vslideup.vi v8,v16,3,v0.t | 1.00 | 1.00 | 1.00 | 2.00 | 4.00 | 8.00 | 16.00 | 1.00 | 1.00 | 2.00 | 4.00 | 8.00 | 16.00 | 1.00 | 2.00 | 4.00 | 8.00 | 16.00 | 2.00 | 4.00 | 8.00 | 16.00 | ||||||
| vrgatherei16.vv v8,v16,v24 | 1.00 | 1.00 | 2.00 | 4.00 | 16.00 | 63.99 | 1.00 | 1.00 | 2.00 | 8.00 | 32.00 | 127.96 | 1.00 | 2.00 | 8.00 | 32.00 | 127.96 | 2.00 | 8.00 | 32.00 | 127.96 | |||||||
| vrgatherei16.vv v8,v16,v24,v0.t | 1.00 | 1.00 | 2.00 | 4.00 | 16.00 | 63.99 | 1.00 | 1.00 | 2.00 | 8.00 | 32.00 | 127.96 | 1.00 | 2.00 | 8.00 | 32.00 | 127.96 | 2.00 | 8.00 | 32.00 | 127.96 | |||||||
| vslidedown.vx v8,v16,t0 | 1.32 | 1.32 | 1.32 | 3.00 | 5.00 | 9.00 | 17.00 | 1.32 | 1.32 | 3.00 | 5.00 | 9.00 | 17.00 | 1.32 | 3.00 | 5.00 | 9.00 | 17.00 | 3.00 | 5.00 | 9.00 | 17.00 | ||||||
| vslidedown.vx v8,v16,t0,v0.t | 1.32 | 1.32 | 1.32 | 3.00 | 5.00 | 9.00 | 17.00 | 1.32 | 1.32 | 3.00 | 5.00 | 9.00 | 17.00 | 1.32 | 3.00 | 5.00 | 9.00 | 17.00 | 3.00 | 5.00 | 9.00 | 17.00 | ||||||
| vslidedown.vi v8,v16,3 | 1.00 | 1.00 | 1.00 | 3.00 | 5.00 | 9.00 | 17.00 | 1.00 | 1.00 | 3.00 | 5.00 | 9.00 | 17.00 | 1.00 | 3.00 | 5.00 | 9.00 | 17.00 | 3.00 | 5.00 | 9.00 | 17.00 | ||||||
| vslidedown.vi v8,v16,3,v0.t | 1.00 | 1.00 | 1.00 | 3.00 | 5.00 | 9.00 | 17.00 | 1.00 | 1.00 | 3.00 | 5.00 | 9.00 | 17.00 | 1.00 | 3.00 | 5.00 | 9.00 | 17.00 | 3.00 | 5.00 | 9.00 | 17.00 | ||||||
| vredsum.vs v8,v16,v24 | 1.00 | 1.00 | 1.00 | 1.00 | 2.00 | 5.50 | 19.00 | 1.00 | 1.00 | 1.00 | 2.00 | 5.50 | 19.00 | 1.00 | 1.00 | 2.00 | 5.50 | 19.00 | 1.00 | 2.00 | 5.50 | 19.00 | ||||||
| vredsum.vs v8,v16,v24,v0.t | 1.00 | 1.00 | 1.00 | 1.00 | 2.00 | 5.50 | 19.00 | 1.00 | 1.00 | 1.00 | 2.00 | 5.50 | 19.00 | 1.00 | 1.00 | 2.00 | 5.50 | 19.00 | 1.00 | 2.00 | 5.50 | 19.00 | ||||||
| vredand.vs v8,v16,v24 | 1.00 | 1.00 | 1.00 | 1.00 | 2.00 | 5.00 | 18.00 | 1.00 | 1.00 | 1.00 | 2.00 | 5.00 | 18.00 | 1.00 | 1.00 | 2.00 | 5.00 | 18.00 | 1.00 | 2.00 | 5.00 | 18.00 | ||||||
| vredand.vs v8,v16,v24,v0.t | 1.00 | 1.00 | 1.00 | 1.00 | 2.00 | 5.00 | 18.00 | 1.00 | 1.00 | 1.00 | 2.00 | 5.00 | 18.00 | 1.00 | 1.00 | 2.00 | 5.00 | 18.00 | 1.00 | 2.00 | 5.00 | 18.00 | ||||||
| vredor.vs v8,v16,v24 | 1.00 | 1.00 | 1.00 | 1.00 | 2.00 | 5.00 | 18.00 | 1.00 | 1.00 | 1.00 | 2.00 | 5.00 | 18.00 | 1.00 | 1.00 | 2.00 | 5.00 | 18.00 | 1.00 | 2.00 | 5.00 | 18.00 | ||||||
| vredor.vs v8,v16,v24,v0.t | 1.00 | 1.00 | 1.00 | 1.00 | 2.00 | 5.00 | 18.00 | 1.00 | 1.00 | 1.00 | 2.00 | 5.00 | 18.00 | 1.00 | 1.00 | 2.00 | 5.00 | 18.00 | 1.00 | 2.00 | 5.00 | 18.00 | ||||||
| vredxor.vs v8,v16,v24 | 1.00 | 1.00 | 1.00 | 1.00 | 2.00 | 5.00 | 18.00 | 1.00 | 1.00 | 1.00 | 2.00 | 5.00 | 18.00 | 1.00 | 1.00 | 2.00 | 5.00 | 18.00 | 1.00 | 2.00 | 5.00 | 18.00 | ||||||
| vredxor.vs v8,v16,v24,v0.t | 1.00 | 1.00 | 1.00 | 1.00 | 2.00 | 5.00 | 18.00 | 1.00 | 1.00 | 1.00 | 2.00 | 5.00 | 18.00 | 1.00 | 1.00 | 2.00 | 5.00 | 18.00 | 1.00 | 2.00 | 5.00 | 18.00 | ||||||
| vredminu.vs v8,v16,v24 | 1.00 | 1.00 | 1.00 | 1.00 | 2.00 | 5.50 | 19.00 | 1.00 | 1.00 | 1.00 | 2.00 | 5.50 | 19.00 | 1.00 | 1.00 | 2.00 | 5.50 | 19.00 | 1.00 | 2.00 | 5.50 | 19.00 | ||||||
| vredminu.vs v8,v16,v24,v0.t | 1.00 | 1.00 | 1.00 | 1.00 | 2.00 | 5.50 | 19.00 | 1.00 | 1.00 | 1.00 | 2.00 | 5.50 | 19.00 | 1.00 | 1.00 | 2.00 | 5.50 | 19.00 | 1.00 | 2.00 | 5.50 | 19.00 | ||||||
| vredmin.vs v8,v16,v24 | 1.00 | 1.00 | 1.00 | 1.00 | 2.00 | 5.50 | 19.00 | 1.00 | 1.00 | 1.00 | 2.00 | 5.50 | 19.00 | 1.00 | 1.00 | 2.00 | 5.50 | 19.00 | 1.00 | 2.00 | 5.50 | 19.00 | ||||||
| vredmin.vs v8,v16,v24,v0.t | 1.00 | 1.00 | 1.00 | 1.00 | 2.00 | 5.50 | 19.00 | 1.00 | 1.00 | 1.00 | 2.00 | 5.50 | 19.00 | 1.00 | 1.00 | 2.00 | 5.50 | 19.00 | 1.00 | 2.00 | 5.50 | 19.00 | ||||||
| vredmaxu.vs v8,v16,v24 | 1.00 | 1.00 | 1.00 | 1.00 | 2.00 | 5.50 | 19.00 | 1.00 | 1.00 | 1.00 | 2.00 | 5.50 | 19.00 | 1.00 | 1.00 | 2.00 | 5.50 | 19.00 | 1.00 | 2.00 | 5.50 | 19.00 | ||||||
| vredmaxu.vs v8,v16,v24,v0.t | 1.00 | 1.00 | 1.00 | 1.00 | 2.00 | 5.50 | 19.00 | 1.00 | 1.00 | 1.00 | 2.00 | 5.50 | 19.00 | 1.00 | 1.00 | 2.00 | 5.50 | 19.00 | 1.00 | 2.00 | 5.50 | 19.00 | ||||||
| vredmax.vs v8,v16,v24 | 1.00 | 1.00 | 1.00 | 1.00 | 2.00 | 5.50 | 19.00 | 1.00 | 1.00 | 1.00 | 2.00 | 5.50 | 19.00 | 1.00 | 1.00 | 2.00 | 5.50 | 19.00 | 1.00 | 2.00 | 5.50 | 19.00 | ||||||
| vredmax.vs v8,v16,v24,v0.t | 1.00 | 1.00 | 1.00 | 1.00 | 2.00 | 5.50 | 19.00 | 1.00 | 1.00 | 1.00 | 2.00 | 5.50 | 19.00 | 1.00 | 1.00 | 2.00 | 5.50 | 19.00 | 1.00 | 2.00 | 5.50 | 19.00 | ||||||
| vaaddu.vv v8,v16,v24 | 1.00 | 1.00 | 1.00 | 1.00 | 2.00 | 4.00 | 8.00 | 1.00 | 1.00 | 1.00 | 2.00 | 4.00 | 8.00 | 1.00 | 1.00 | 2.00 | 4.00 | 8.00 | 1.00 | 2.00 | 4.00 | 8.00 | ||||||
| vaaddu.vv v8,v16,v24,v0.t | 1.00 | 1.00 | 1.00 | 1.00 | 2.00 | 4.00 | 8.00 | 1.00 | 1.00 | 1.00 | 2.00 | 4.00 | 8.00 | 1.00 | 1.00 | 2.00 | 4.00 | 8.00 | 1.00 | 2.00 | 4.00 | 8.00 | ||||||
| vaaddu.vx v8,v16,t0 | 1.06 | 1.06 | 1.06 | 1.06 | 2.00 | 4.00 | 8.00 | 1.06 | 1.06 | 1.06 | 2.00 | 4.00 | 8.00 | 1.06 | 1.06 | 2.00 | 4.00 | 8.00 | 1.06 | 2.00 | 4.00 | 8.00 | ||||||
| vaaddu.vx v8,v16,t0,v0.t | 1.06 | 1.06 | 1.06 | 1.06 | 2.00 | 4.00 | 8.00 | 1.06 | 1.06 | 1.06 | 2.00 | 4.00 | 8.00 | 1.06 | 1.06 | 2.00 | 4.00 | 8.00 | 1.06 | 2.00 | 4.00 | 8.00 | ||||||
| vaadd.vv v8,v16,v24 | 1.00 | 1.00 | 1.00 | 1.00 | 2.00 | 4.00 | 8.00 | 1.00 | 1.00 | 1.00 | 2.00 | 4.00 | 8.00 | 1.00 | 1.00 | 2.00 | 4.00 | 8.00 | 1.00 | 2.00 | 4.00 | 8.00 | ||||||
| vaadd.vv v8,v16,v24,v0.t | 1.00 | 1.00 | 1.00 | 1.00 | 2.00 | 4.00 | 8.00 | 1.00 | 1.00 | 1.00 | 2.00 | 4.00 | 8.00 | 1.00 | 1.00 | 2.00 | 4.00 | 8.00 | 1.00 | 2.00 | 4.00 | 8.00 | ||||||
| vaadd.vx v8,v16,t0 | 1.06 | 1.06 | 1.06 | 1.06 | 2.00 | 4.00 | 8.00 | 1.06 | 1.06 | 1.06 | 2.00 | 4.00 | 8.00 | 1.06 | 1.06 | 2.00 | 4.00 | 8.00 | 1.06 | 2.00 | 4.00 | 8.00 | ||||||
| vaadd.vx v8,v16,t0,v0.t | 1.06 | 1.06 | 1.06 | 1.06 | 2.00 | 4.00 | 8.00 | 1.06 | 1.06 | 1.06 | 2.00 | 4.00 | 8.00 | 1.06 | 1.06 | 2.00 | 4.00 | 8.00 | 1.06 | 2.00 | 4.00 | 8.00 | ||||||
| vasubu.vv v8,v16,v24 | 1.00 | 1.00 | 1.00 | 1.00 | 2.00 | 4.00 | 8.00 | 1.00 | 1.00 | 1.00 | 2.00 | 4.00 | 8.00 | 1.00 | 1.00 | 2.00 | 4.00 | 8.00 | 1.00 | 2.00 | 4.00 | 8.00 | ||||||
| vasubu.vv v8,v16,v24,v0.t | 1.00 | 1.00 | 1.00 | 1.00 | 2.00 | 4.00 | 8.00 | 1.00 | 1.00 | 1.00 | 2.00 | 4.00 | 8.00 | 1.00 | 1.00 | 2.00 | 4.00 | 8.00 | 1.00 | 2.00 | 4.00 | 8.00 | ||||||
| vasubu.vx v8,v16,t0 | 1.06 | 1.06 | 1.06 | 1.06 | 2.00 | 4.00 | 8.00 | 1.06 | 1.06 | 1.06 | 2.00 | 4.00 | 8.00 | 1.06 | 1.06 | 2.00 | 4.00 | 8.00 | 1.06 | 2.00 | 4.00 | 8.00 | ||||||
| vasubu.vx v8,v16,t0,v0.t | 1.06 | 1.06 | 1.06 | 1.06 | 2.00 | 4.00 | 8.00 | 1.06 | 1.06 | 1.06 | 2.00 | 4.00 | 8.00 | 1.06 | 1.06 | 2.00 | 4.00 | 8.00 | 1.06 | 2.00 | 4.00 | 8.00 | ||||||
| vasub.vv v8,v16,v24 | 1.00 | 1.00 | 1.00 | 1.00 | 2.00 | 4.00 | 8.00 | 1.00 | 1.00 | 1.00 | 2.00 | 4.00 | 8.00 | 1.00 | 1.00 | 2.00 | 4.00 | 8.00 | 1.00 | 2.00 | 4.00 | 8.00 | ||||||
| vasub.vv v8,v16,v24,v0.t | 1.00 | 1.00 | 1.00 | 1.00 | 2.00 | 4.00 | 8.00 | 1.00 | 1.00 | 1.00 | 2.00 | 4.00 | 8.00 | 1.00 | 1.00 | 2.00 | 4.00 | 8.00 | 1.00 | 2.00 | 4.00 | 8.00 | ||||||
| vasub.vx v8,v16,t0 | 1.06 | 1.06 | 1.06 | 1.06 | 2.00 | 4.00 | 8.00 | 1.06 | 1.06 | 1.06 | 2.00 | 4.00 | 8.00 | 1.06 | 1.06 | 2.00 | 4.00 | 8.00 | 1.06 | 2.00 | 4.00 | 8.00 | ||||||
| vasub.vx v8,v16,t0,v0.t | 1.06 | 1.06 | 1.06 | 1.06 | 2.00 | 4.00 | 8.00 | 1.06 | 1.06 | 1.06 | 2.00 | 4.00 | 8.00 | 1.06 | 1.06 | 2.00 | 4.00 | 8.00 | 1.06 | 2.00 | 4.00 | 8.00 | ||||||
| vslide1up.vx v8,v16,t0 | 1.06 | 1.06 | 1.06 | 2.00 | 4.00 | 8.00 | 16.00 | 1.06 | 1.06 | 2.00 | 4.00 | 8.00 | 16.00 | 1.06 | 2.00 | 4.00 | 8.00 | 16.00 | 2.00 | 4.00 | 8.00 | 16.00 | ||||||
| vslide1up.vx v8,v16,t0,v0.t | 1.06 | 1.06 | 1.06 | 2.00 | 4.00 | 8.00 | 16.00 | 1.06 | 1.06 | 2.00 | 4.00 | 8.00 | 16.00 | 1.06 | 2.00 | 4.00 | 8.00 | 16.00 | 2.00 | 4.00 | 8.00 | 16.00 | ||||||
| vslide1down.vx v8,v16,t0 | 1.06 | 1.06 | 1.06 | 3.00 | 5.00 | 9.00 | 17.00 | 1.06 | 1.06 | 3.00 | 5.00 | 9.00 | 17.00 | 1.06 | 3.00 | 5.00 | 9.00 | 17.00 | 3.00 | 5.00 | 9.00 | 17.00 | ||||||
| vslide1down.vx v8,v16,t0,v0.t | 1.06 | 1.06 | 1.06 | 3.00 | 5.00 | 9.00 | 17.00 | 1.06 | 1.06 | 3.00 | 5.00 | 9.00 | 17.00 | 1.06 | 3.00 | 5.00 | 9.00 | 17.00 | 3.00 | 5.00 | 9.00 | 17.00 | ||||||
| vadc.vvm v8,v16,v24,v0 | 1.00 | 1.00 | 1.00 | 1.00 | 2.00 | 4.00 | 8.00 | 1.00 | 1.00 | 1.00 | 2.00 | 4.00 | 8.00 | 1.00 | 1.00 | 2.00 | 4.00 | 8.00 | 1.00 | 2.00 | 4.00 | 8.00 | ||||||
| vadc.vxm v8,v16,t0,v0 | 1.06 | 1.06 | 1.06 | 1.06 | 2.00 | 4.00 | 8.00 | 1.06 | 1.06 | 1.06 | 2.00 | 4.00 | 8.00 | 1.06 | 1.06 | 2.00 | 4.00 | 8.00 | 1.06 | 2.00 | 4.00 | 8.00 | ||||||
| vadc.vim v8,v16,13,v0 | 1.00 | 1.00 | 1.00 | 1.00 | 2.00 | 4.00 | 8.00 | 1.00 | 1.00 | 1.00 | 2.00 | 4.00 | 8.00 | 1.00 | 1.00 | 2.00 | 4.00 | 8.00 | 1.00 | 2.00 | 4.00 | 8.00 | ||||||
| vmadc.vvm v8,v16,v24,v0 | 1.00 | 1.00 | 1.00 | 2.00 | 2.50 | 5.00 | 11.00 | 1.00 | 1.00 | 2.00 | 2.50 | 5.00 | 18.00 | 1.00 | 2.00 | 2.50 | 5.00 | 18.00 | 2.00 | 2.50 | 5.00 | 18.00 | ||||||
| vmadc.vxm v8,v16,t0,v0 | 1.06 | 1.06 | 1.06 | 2.00 | 2.50 | 5.00 | 11.00 | 1.06 | 1.06 | 2.00 | 2.50 | 5.00 | 18.00 | 1.06 | 2.00 | 2.50 | 5.00 | 18.00 | 2.00 | 2.50 | 5.00 | 18.00 | ||||||
| vmadc.vim v8,v16,13,v0 | 1.00 | 1.00 | 1.00 | 2.00 | 2.50 | 5.00 | 11.00 | 1.00 | 1.00 | 2.00 | 2.50 | 5.00 | 18.00 | 1.00 | 2.00 | 2.50 | 5.00 | 18.00 | 2.00 | 2.50 | 5.00 | 18.00 | ||||||
| vmadc.vv v8,v16,v24 | 1.00 | 1.00 | 1.00 | 2.00 | 2.50 | 5.00 | 11.00 | 1.00 | 1.00 | 2.00 | 2.50 | 5.00 | 18.00 | 1.00 | 2.00 | 2.50 | 5.00 | 18.00 | 2.00 | 2.50 | 5.00 | 18.00 | ||||||
| vmadc.vx v8,v16,t0 | 1.06 | 1.06 | 1.06 | 2.00 | 2.50 | 5.00 | 11.00 | 1.06 | 1.06 | 2.00 | 2.50 | 5.00 | 18.00 | 1.06 | 2.00 | 2.50 | 5.00 | 18.00 | 2.00 | 2.50 | 5.00 | 18.00 | ||||||
| vmadc.vi v8,v16,13 | 1.00 | 1.00 | 1.00 | 2.00 | 2.50 | 5.00 | 11.00 | 1.00 | 1.00 | 2.00 | 2.50 | 5.00 | 18.00 | 1.00 | 2.00 | 2.50 | 5.00 | 18.00 | 2.00 | 2.50 | 5.00 | 18.00 | ||||||
| vsbc.vvm v8,v16,v24,v0 | 1.00 | 1.00 | 1.00 | 1.00 | 2.00 | 4.00 | 8.00 | 1.00 | 1.00 | 1.00 | 2.00 | 4.00 | 8.00 | 1.00 | 1.00 | 2.00 | 4.00 | 8.00 | 1.00 | 2.00 | 4.00 | 8.00 | ||||||
| vsbc.vxm v8,v16,t0,v0 | 1.06 | 1.06 | 1.06 | 1.06 | 2.00 | 4.00 | 8.00 | 1.06 | 1.06 | 1.06 | 2.00 | 4.00 | 8.00 | 1.06 | 1.06 | 2.00 | 4.00 | 8.00 | 1.06 | 2.00 | 4.00 | 8.00 | ||||||
| vmsbc.vvm v8,v16,v24,v0 | 1.00 | 1.00 | 1.00 | 2.00 | 2.50 | 5.00 | 11.00 | 1.00 | 1.00 | 2.00 | 2.50 | 5.00 | 18.00 | 1.00 | 2.00 | 2.50 | 5.00 | 18.00 | 2.00 | 2.50 | 5.00 | 18.00 | ||||||
| vmsbc.vxm v8,v16,t0,v0 | 1.06 | 1.06 | 1.06 | 2.00 | 2.50 | 5.00 | 11.00 | 1.06 | 1.06 | 2.00 | 2.50 | 5.00 | 18.00 | 1.06 | 2.00 | 2.50 | 5.00 | 18.00 | 2.00 | 2.50 | 5.00 | 18.00 | ||||||
| vmsbc.vv v8,v16,v24 | 1.00 | 1.00 | 1.00 | 2.00 | 2.50 | 5.00 | 11.00 | 1.00 | 1.00 | 2.00 | 2.50 | 5.00 | 18.00 | 1.00 | 2.00 | 2.50 | 5.00 | 18.00 | 2.00 | 2.50 | 5.00 | 18.00 | ||||||
| vmsbc.vx v8,v16,t0 | 1.06 | 1.06 | 1.06 | 2.00 | 2.50 | 5.00 | 11.00 | 1.06 | 1.06 | 2.00 | 2.50 | 5.00 | 18.00 | 1.06 | 2.00 | 2.50 | 5.00 | 18.00 | 2.00 | 2.50 | 5.00 | 18.00 | ||||||
| vmerge.vvm v8,v16,v24,v0 | 1.00 | 1.00 | 1.00 | 1.00 | 2.00 | 4.00 | 8.00 | 1.00 | 1.00 | 1.00 | 2.00 | 4.00 | 8.00 | 1.00 | 1.00 | 2.00 | 4.00 | 8.00 | 1.00 | 2.00 | 4.00 | 8.00 | ||||||
| vmerge.vxm v8,v16,t0,v0 | 1.06 | 1.06 | 1.06 | 1.06 | 2.00 | 4.00 | 8.00 | 1.06 | 1.06 | 1.06 | 2.00 | 4.00 | 8.00 | 1.06 | 1.06 | 2.00 | 4.00 | 8.00 | 1.06 | 2.00 | 4.00 | 8.00 | ||||||
| vmerge.vim v8,v16,13,v0 | 1.00 | 1.00 | 1.00 | 1.00 | 2.00 | 4.00 | 8.00 | 1.00 | 1.00 | 1.00 | 2.00 | 4.00 | 8.00 | 1.00 | 1.00 | 2.00 | 4.00 | 8.00 | 1.00 | 2.00 | 4.00 | 8.00 | ||||||
| vmv.v.v v8,v16 | 1.00 | 1.00 | 1.00 | 1.00 | 2.00 | 4.00 | 8.00 | 1.00 | 1.00 | 1.00 | 2.00 | 4.00 | 8.00 | 1.00 | 1.00 | 2.00 | 4.00 | 8.00 | 1.00 | 2.00 | 4.00 | 8.00 | ||||||
| vmv.v.x v8,t0 | 1.06 | 1.06 | 1.06 | 1.06 | 2.00 | 4.00 | 8.00 | 1.06 | 1.06 | 1.06 | 2.00 | 4.00 | 8.00 | 1.06 | 1.06 | 2.00 | 4.00 | 8.00 | 1.06 | 2.00 | 4.00 | 8.00 | ||||||
| vmv.v.i v8,13 | 1.00 | 1.00 | 1.00 | 1.00 | 2.00 | 4.00 | 8.00 | 1.00 | 1.00 | 1.00 | 2.00 | 4.00 | 8.00 | 1.00 | 1.00 | 2.00 | 4.00 | 8.00 | 1.00 | 2.00 | 4.00 | 8.00 | ||||||
| vmseq.vv v8,v16,v24 | 1.00 | 1.00 | 1.00 | 2.00 | 2.50 | 5.00 | 11.00 | 1.00 | 1.00 | 2.00 | 2.50 | 5.00 | 18.00 | 1.00 | 2.00 | 2.50 | 5.00 | 18.00 | 2.00 | 2.50 | 5.00 | 18.00 | ||||||
| vmseq.vv v8,v16,v24,v0.t | 1.00 | 1.00 | 1.00 | 2.00 | 2.50 | 5.00 | 11.00 | 1.00 | 1.00 | 2.00 | 2.50 | 5.00 | 18.00 | 1.00 | 2.00 | 2.50 | 5.00 | 18.00 | 2.00 | 2.50 | 5.00 | 18.00 | ||||||
| vmseq.vx v8,v16,t0 | 1.06 | 1.06 | 1.06 | 2.00 | 2.50 | 5.00 | 11.00 | 1.06 | 1.06 | 2.00 | 2.50 | 5.00 | 18.00 | 1.06 | 2.00 | 2.50 | 5.00 | 18.00 | 2.00 | 2.50 | 5.00 | 18.00 | ||||||
| vmseq.vx v8,v16,t0,v0.t | 1.06 | 1.06 | 1.06 | 2.00 | 2.50 | 5.00 | 11.00 | 1.06 | 1.06 | 2.00 | 2.50 | 5.00 | 18.00 | 1.06 | 2.00 | 2.50 | 5.00 | 18.00 | 2.00 | 2.50 | 5.00 | 18.00 | ||||||
| vmseq.vi v8,v16,13 | 1.00 | 1.00 | 1.00 | 2.00 | 2.50 | 5.00 | 11.00 | 1.00 | 1.00 | 2.00 | 2.50 | 5.00 | 18.00 | 1.00 | 2.00 | 2.50 | 5.00 | 18.00 | 2.00 | 2.50 | 5.00 | 18.00 | ||||||
| vmseq.vi v8,v16,13,v0.t | 1.00 | 1.00 | 1.00 | 2.00 | 2.50 | 5.00 | 11.00 | 1.00 | 1.00 | 2.00 | 2.50 | 5.00 | 18.00 | 1.00 | 2.00 | 2.50 | 5.00 | 18.00 | 2.00 | 2.50 | 5.00 | 18.00 | ||||||
| vmsne.vv v8,v16,v24 | 1.00 | 1.00 | 1.00 | 2.00 | 2.50 | 5.00 | 11.00 | 1.00 | 1.00 | 2.00 | 2.50 | 5.00 | 18.00 | 1.00 | 2.00 | 2.50 | 5.00 | 18.00 | 2.00 | 2.50 | 5.00 | 18.00 | ||||||
| vmsne.vv v8,v16,v24,v0.t | 1.00 | 1.00 | 1.00 | 2.00 | 2.50 | 5.00 | 11.00 | 1.00 | 1.00 | 2.00 | 2.50 | 5.00 | 18.00 | 1.00 | 2.00 | 2.50 | 5.00 | 18.00 | 2.00 | 2.50 | 5.00 | 18.00 | ||||||
| vmsne.vx v8,v16,t0 | 1.06 | 1.06 | 1.06 | 2.00 | 2.50 | 5.00 | 11.00 | 1.06 | 1.06 | 2.00 | 2.50 | 5.00 | 18.00 | 1.06 | 2.00 | 2.50 | 5.00 | 18.00 | 2.00 | 2.50 | 5.00 | 18.00 | ||||||
| vmsne.vx v8,v16,t0,v0.t | 1.06 | 1.06 | 1.06 | 2.00 | 2.50 | 5.00 | 11.00 | 1.06 | 1.06 | 2.00 | 2.50 | 5.00 | 18.00 | 1.06 | 2.00 | 2.50 | 5.00 | 18.00 | 2.00 | 2.50 | 5.00 | 18.00 | ||||||
| vmsne.vi v8,v16,13 | 1.00 | 1.00 | 1.00 | 2.00 | 2.50 | 5.00 | 11.00 | 1.00 | 1.00 | 2.00 | 2.50 | 5.00 | 18.00 | 1.00 | 2.00 | 2.50 | 5.00 | 18.00 | 2.00 | 2.50 | 5.00 | 18.00 | ||||||
| vmsne.vi v8,v16,13,v0.t | 1.00 | 1.00 | 1.00 | 2.00 | 2.50 | 5.00 | 11.00 | 1.00 | 1.00 | 2.00 | 2.50 | 5.00 | 18.00 | 1.00 | 2.00 | 2.50 | 5.00 | 18.00 | 2.00 | 2.50 | 5.00 | 18.00 | ||||||
| vmsltu.vv v8,v16,v24 | 1.00 | 1.00 | 1.00 | 2.00 | 2.50 | 5.00 | 11.00 | 1.00 | 1.00 | 2.00 | 2.50 | 5.00 | 18.00 | 1.00 | 2.00 | 2.50 | 5.00 | 18.00 | 2.00 | 2.50 | 5.00 | 18.00 | ||||||
| vmsltu.vv v8,v16,v24,v0.t | 1.00 | 1.00 | 1.00 | 2.00 | 2.50 | 5.00 | 11.00 | 1.00 | 1.00 | 2.00 | 2.50 | 5.00 | 18.00 | 1.00 | 2.00 | 2.50 | 5.00 | 18.00 | 2.00 | 2.50 | 5.00 | 18.00 | ||||||
| vmsltu.vx v8,v16,t0 | 1.06 | 1.06 | 1.06 | 2.00 | 2.50 | 5.00 | 11.00 | 1.06 | 1.06 | 2.00 | 2.50 | 5.00 | 18.00 | 1.06 | 2.00 | 2.50 | 5.00 | 18.00 | 2.00 | 2.50 | 5.00 | 18.00 | ||||||
| vmsltu.vx v8,v16,t0,v0.t | 1.06 | 1.06 | 1.06 | 2.00 | 2.50 | 5.00 | 11.00 | 1.06 | 1.06 | 2.00 | 2.50 | 5.00 | 18.00 | 1.06 | 2.00 | 2.50 | 5.00 | 18.00 | 2.00 | 2.50 | 5.00 | 18.00 | ||||||
| vmslt.vv v8,v16,v24 | 1.00 | 1.00 | 1.00 | 2.00 | 2.50 | 5.00 | 11.00 | 1.00 | 1.00 | 2.00 | 2.50 | 5.00 | 18.00 | 1.00 | 2.00 | 2.50 | 5.00 | 18.00 | 2.00 | 2.50 | 5.00 | 18.00 | ||||||
| vmslt.vv v8,v16,v24,v0.t | 1.00 | 1.00 | 1.00 | 2.00 | 2.50 | 5.00 | 11.00 | 1.00 | 1.00 | 2.00 | 2.50 | 5.00 | 18.00 | 1.00 | 2.00 | 2.50 | 5.00 | 18.00 | 2.00 | 2.50 | 5.00 | 18.00 | ||||||
| vmslt.vx v8,v16,t0 | 1.06 | 1.06 | 1.06 | 2.00 | 2.50 | 5.00 | 11.00 | 1.06 | 1.06 | 2.00 | 2.50 | 5.00 | 18.00 | 1.06 | 2.00 | 2.50 | 5.00 | 18.00 | 2.00 | 2.50 | 5.00 | 18.00 | ||||||
| vmslt.vx v8,v16,t0,v0.t | 1.06 | 1.06 | 1.06 | 2.00 | 2.50 | 5.00 | 11.00 | 1.06 | 1.06 | 2.00 | 2.50 | 5.00 | 18.00 | 1.06 | 2.00 | 2.50 | 5.00 | 18.00 | 2.00 | 2.50 | 5.00 | 18.00 | ||||||
| vmsleu.vv v8,v16,v24 | 1.00 | 1.00 | 1.00 | 2.00 | 2.50 | 5.00 | 11.00 | 1.00 | 1.00 | 2.00 | 2.50 | 5.00 | 18.00 | 1.00 | 2.00 | 2.50 | 5.00 | 18.00 | 2.00 | 2.50 | 5.00 | 18.00 | ||||||
| vmsleu.vv v8,v16,v24,v0.t | 1.00 | 1.00 | 1.00 | 2.00 | 2.50 | 5.00 | 11.00 | 1.00 | 1.00 | 2.00 | 2.50 | 5.00 | 18.00 | 1.00 | 2.00 | 2.50 | 5.00 | 18.00 | 2.00 | 2.50 | 5.00 | 18.00 | ||||||
| vmsleu.vx v8,v16,t0 | 1.06 | 1.06 | 1.06 | 2.00 | 2.50 | 5.00 | 11.00 | 1.06 | 1.06 | 2.00 | 2.50 | 5.00 | 18.00 | 1.06 | 2.00 | 2.50 | 5.00 | 18.00 | 2.00 | 2.50 | 5.00 | 18.00 | ||||||
| vmsleu.vx v8,v16,t0,v0.t | 1.06 | 1.06 | 1.06 | 2.00 | 2.50 | 5.00 | 11.00 | 1.06 | 1.06 | 2.00 | 2.50 | 5.00 | 18.00 | 1.06 | 2.00 | 2.50 | 5.00 | 18.00 | 2.00 | 2.50 | 5.00 | 18.00 | ||||||
| vmsleu.vi v8,v16,13 | 1.00 | 1.00 | 1.00 | 2.00 | 2.50 | 5.00 | 11.00 | 1.00 | 1.00 | 2.00 | 2.50 | 5.00 | 18.00 | 1.00 | 2.00 | 2.50 | 5.00 | 18.00 | 2.00 | 2.50 | 5.00 | 18.00 | ||||||
| vmsleu.vi v8,v16,13,v0.t | 1.00 | 1.00 | 1.00 | 2.00 | 2.50 | 5.00 | 11.00 | 1.00 | 1.00 | 2.00 | 2.50 | 5.00 | 18.00 | 1.00 | 2.00 | 2.50 | 5.00 | 18.00 | 2.00 | 2.50 | 5.00 | 18.00 | ||||||
| vmsle.vv v8,v16,v24 | 1.00 | 1.00 | 1.00 | 2.00 | 2.50 | 5.00 | 11.00 | 1.00 | 1.00 | 2.00 | 2.50 | 5.00 | 18.00 | 1.00 | 2.00 | 2.50 | 5.00 | 18.00 | 2.00 | 2.50 | 5.00 | 18.00 | ||||||
| vmsle.vv v8,v16,v24,v0.t | 1.00 | 1.00 | 1.00 | 2.00 | 2.50 | 5.00 | 11.00 | 1.00 | 1.00 | 2.00 | 2.50 | 5.00 | 18.00 | 1.00 | 2.00 | 2.50 | 5.00 | 18.00 | 2.00 | 2.50 | 5.00 | 18.00 | ||||||
| vmsle.vx v8,v16,t0 | 1.06 | 1.06 | 1.06 | 2.00 | 2.50 | 5.00 | 11.00 | 1.06 | 1.06 | 2.00 | 2.50 | 5.00 | 18.00 | 1.06 | 2.00 | 2.50 | 5.00 | 18.00 | 2.00 | 2.50 | 5.00 | 18.00 | ||||||
| vmsle.vx v8,v16,t0,v0.t | 1.06 | 1.06 | 1.06 | 2.00 | 2.50 | 5.00 | 11.00 | 1.06 | 1.06 | 2.00 | 2.50 | 5.00 | 18.00 | 1.06 | 2.00 | 2.50 | 5.00 | 18.00 | 2.00 | 2.50 | 5.00 | 18.00 | ||||||
| vmsle.vi v8,v16,13 | 1.00 | 1.00 | 1.00 | 2.00 | 2.50 | 5.00 | 11.00 | 1.00 | 1.00 | 2.00 | 2.50 | 5.00 | 18.00 | 1.00 | 2.00 | 2.50 | 5.00 | 18.00 | 2.00 | 2.50 | 5.00 | 18.00 | ||||||
| vmsle.vi v8,v16,13,v0.t | 1.00 | 1.00 | 1.00 | 2.00 | 2.50 | 5.00 | 11.00 | 1.00 | 1.00 | 2.00 | 2.50 | 5.00 | 18.00 | 1.00 | 2.00 | 2.50 | 5.00 | 18.00 | 2.00 | 2.50 | 5.00 | 18.00 | ||||||
| vmsgtu.vx v8,v16,t0 | 1.06 | 1.06 | 1.06 | 2.00 | 2.50 | 5.00 | 11.00 | 1.06 | 1.06 | 2.00 | 2.50 | 5.00 | 18.00 | 1.06 | 2.00 | 2.50 | 5.00 | 18.00 | 2.00 | 2.50 | 5.00 | 18.00 | ||||||
| vmsgtu.vx v8,v16,t0,v0.t | 1.06 | 1.06 | 1.06 | 2.00 | 2.50 | 5.00 | 11.00 | 1.06 | 1.06 | 2.00 | 2.50 | 5.00 | 18.00 | 1.06 | 2.00 | 2.50 | 5.00 | 18.00 | 2.00 | 2.50 | 5.00 | 18.00 | ||||||
| vmsgtu.vi v8,v16,13 | 1.00 | 1.00 | 1.00 | 2.00 | 2.50 | 5.00 | 11.00 | 1.00 | 1.00 | 2.00 | 2.50 | 5.00 | 18.00 | 1.00 | 2.00 | 2.50 | 5.00 | 18.00 | 2.00 | 2.50 | 5.00 | 18.00 | ||||||
| vmsgtu.vi v8,v16,13,v0.t | 1.00 | 1.00 | 1.00 | 2.00 | 2.50 | 5.00 | 11.00 | 1.00 | 1.00 | 2.00 | 2.50 | 5.00 | 18.00 | 1.00 | 2.00 | 2.50 | 5.00 | 18.00 | 2.00 | 2.50 | 5.00 | 18.00 | ||||||
| vmsgt.vx v8,v16,t0 | 1.06 | 1.06 | 1.06 | 2.00 | 2.50 | 5.00 | 11.00 | 1.06 | 1.06 | 2.00 | 2.50 | 5.00 | 18.00 | 1.06 | 2.00 | 2.50 | 5.00 | 18.00 | 2.00 | 2.50 | 5.00 | 18.00 | ||||||
| vmsgt.vx v8,v16,t0,v0.t | 1.06 | 1.06 | 1.06 | 2.00 | 2.50 | 5.00 | 11.00 | 1.06 | 1.06 | 2.00 | 2.50 | 5.00 | 18.00 | 1.06 | 2.00 | 2.50 | 5.00 | 18.00 | 2.00 | 2.50 | 5.00 | 18.00 | ||||||
| vmsgt.vi v8,v16,13 | 1.00 | 1.00 | 1.00 | 2.00 | 2.50 | 5.00 | 11.00 | 1.00 | 1.00 | 2.00 | 2.50 | 5.00 | 18.00 | 1.00 | 2.00 | 2.50 | 5.00 | 18.00 | 2.00 | 2.50 | 5.00 | 18.00 | ||||||
| vmsgt.vi v8,v16,13,v0.t | 1.00 | 1.00 | 1.00 | 2.00 | 2.50 | 5.00 | 11.00 | 1.00 | 1.00 | 2.00 | 2.50 | 5.00 | 18.00 | 1.00 | 2.00 | 2.50 | 5.00 | 18.00 | 2.00 | 2.50 | 5.00 | 18.00 | ||||||
| vcompress.vm v8,v16,v24 | 1.00 | 1.00 | 1.00 | 3.00 | 10.00 | 36.00 | 135.95 | 1.00 | 1.00 | 3.00 | 10.00 | 36.00 | 135.96 | 1.00 | 3.00 | 10.00 | 36.00 | 135.95 | 3.00 | 10.00 | 36.00 | 135.95 | ||||||
| vmandn.mm v8,v16,v24 | 1.00 | 1.00 | 1.00 | 1.00 | 1.00 | 1.00 | 1.00 | 1.00 | 1.00 | 1.00 | 1.00 | 1.00 | 1.00 | 1.00 | 1.00 | 1.00 | 1.00 | 1.00 | 1.00 | 1.00 | 1.00 | 1.00 | ||||||
| vmand.mm v8,v16,v24 | 1.00 | 1.00 | 1.00 | 1.00 | 1.00 | 1.00 | 1.00 | 1.00 | 1.00 | 1.00 | 1.00 | 1.00 | 1.00 | 1.00 | 1.00 | 1.00 | 1.00 | 1.00 | 1.00 | 1.00 | 1.00 | 1.00 | ||||||
| vmor.mm v8,v16,v24 | 1.00 | 1.00 | 1.00 | 1.00 | 1.00 | 1.00 | 1.00 | 1.00 | 1.00 | 1.00 | 1.00 | 1.00 | 1.00 | 1.00 | 1.00 | 1.00 | 1.00 | 1.00 | 1.00 | 1.00 | 1.00 | 1.00 | ||||||
| vmxor.mm v8,v16,v24 | 1.00 | 1.00 | 1.00 | 1.00 | 1.00 | 1.00 | 1.00 | 1.00 | 1.00 | 1.00 | 1.00 | 1.00 | 1.00 | 1.00 | 1.00 | 1.00 | 1.00 | 1.00 | 1.00 | 1.00 | 1.00 | 1.00 | ||||||
| vmorn.mm v8,v16,v24 | 1.00 | 1.00 | 1.00 | 1.00 | 1.00 | 1.00 | 1.00 | 1.00 | 1.00 | 1.00 | 1.00 | 1.00 | 1.00 | 1.00 | 1.00 | 1.00 | 1.00 | 1.00 | 1.00 | 1.00 | 1.00 | 1.00 | ||||||
| vmnand.mm v8,v16,v24 | 1.00 | 1.00 | 1.00 | 1.00 | 1.00 | 1.00 | 1.00 | 1.00 | 1.00 | 1.00 | 1.00 | 1.00 | 1.00 | 1.00 | 1.00 | 1.00 | 1.00 | 1.00 | 1.00 | 1.00 | 1.00 | 1.00 | ||||||
| vmnor.mm v8,v16,v24 | 1.00 | 1.00 | 1.00 | 1.00 | 1.00 | 1.00 | 1.00 | 1.00 | 1.00 | 1.00 | 1.00 | 1.00 | 1.00 | 1.00 | 1.00 | 1.00 | 1.00 | 1.00 | 1.00 | 1.00 | 1.00 | 1.00 | ||||||
| vmxnor.mm v8,v16,v24 | 1.00 | 1.00 | 1.00 | 1.00 | 1.00 | 1.00 | 1.00 | 1.00 | 1.00 | 1.00 | 1.00 | 1.00 | 1.00 | 1.00 | 1.00 | 1.00 | 1.00 | 1.00 | 1.00 | 1.00 | 1.00 | 1.00 | ||||||
| vsaddu.vv v8,v16,v24 | 1.00 | 1.00 | 1.00 | 1.00 | 2.00 | 4.00 | 8.00 | 1.00 | 1.00 | 1.00 | 2.00 | 4.00 | 8.00 | 1.00 | 1.00 | 2.00 | 4.00 | 8.00 | 1.00 | 2.00 | 4.00 | 8.00 | ||||||
| vsaddu.vv v8,v16,v24,v0.t | 1.00 | 1.00 | 1.00 | 1.00 | 2.00 | 4.00 | 8.00 | 1.00 | 1.00 | 1.00 | 2.00 | 4.00 | 8.00 | 1.00 | 1.00 | 2.00 | 4.00 | 8.00 | 1.00 | 2.00 | 4.00 | 8.00 | ||||||
| vsaddu.vx v8,v16,t0 | 1.06 | 1.06 | 1.06 | 1.06 | 2.00 | 4.00 | 8.00 | 1.06 | 1.06 | 1.06 | 2.00 | 4.00 | 8.00 | 1.06 | 1.06 | 2.00 | 4.00 | 8.00 | 1.06 | 2.00 | 4.00 | 8.00 | ||||||
| vsaddu.vx v8,v16,t0,v0.t | 1.06 | 1.06 | 1.06 | 1.06 | 2.00 | 4.00 | 8.00 | 1.06 | 1.06 | 1.06 | 2.00 | 4.00 | 8.00 | 1.06 | 1.06 | 2.00 | 4.00 | 8.00 | 1.06 | 2.00 | 4.00 | 8.00 | ||||||
| vsaddu.vi v8,v16,13 | 1.00 | 1.00 | 1.00 | 1.00 | 2.00 | 4.00 | 8.00 | 1.00 | 1.00 | 1.00 | 2.00 | 4.00 | 8.00 | 1.00 | 1.00 | 2.00 | 4.00 | 8.00 | 1.00 | 2.00 | 4.00 | 8.00 | ||||||
| vsaddu.vi v8,v16,13,v0.t | 1.00 | 1.00 | 1.00 | 1.00 | 2.00 | 4.00 | 8.00 | 1.00 | 1.00 | 1.00 | 2.00 | 4.00 | 8.00 | 1.00 | 1.00 | 2.00 | 4.00 | 8.00 | 1.00 | 2.00 | 4.00 | 8.00 | ||||||
| vsadd.vv v8,v16,v24 | 1.00 | 1.00 | 1.00 | 1.00 | 2.00 | 4.00 | 8.00 | 1.00 | 1.00 | 1.00 | 2.00 | 4.00 | 8.00 | 1.00 | 1.00 | 2.00 | 4.00 | 8.00 | 1.00 | 2.00 | 4.00 | 8.00 | ||||||
| vsadd.vv v8,v16,v24,v0.t | 1.00 | 1.00 | 1.00 | 1.00 | 2.00 | 4.00 | 8.00 | 1.00 | 1.00 | 1.00 | 2.00 | 4.00 | 8.00 | 1.00 | 1.00 | 2.00 | 4.00 | 8.00 | 1.00 | 2.00 | 4.00 | 8.00 | ||||||
| vsadd.vx v8,v16,t0 | 1.06 | 1.06 | 1.06 | 1.06 | 2.00 | 4.00 | 8.00 | 1.06 | 1.06 | 1.06 | 2.00 | 4.00 | 8.00 | 1.06 | 1.06 | 2.00 | 4.00 | 8.00 | 1.06 | 2.00 | 4.00 | 8.00 | ||||||
| vsadd.vx v8,v16,t0,v0.t | 1.06 | 1.06 | 1.06 | 1.06 | 2.00 | 4.00 | 8.00 | 1.06 | 1.06 | 1.06 | 2.00 | 4.00 | 8.00 | 1.06 | 1.06 | 2.00 | 4.00 | 8.00 | 1.06 | 2.00 | 4.00 | 8.00 | ||||||
| vsadd.vi v8,v16,13 | 1.00 | 1.00 | 1.00 | 1.00 | 2.00 | 4.00 | 8.00 | 1.00 | 1.00 | 1.00 | 2.00 | 4.00 | 8.00 | 1.00 | 1.00 | 2.00 | 4.00 | 8.00 | 1.00 | 2.00 | 4.00 | 8.00 | ||||||
| vsadd.vi v8,v16,13,v0.t | 1.00 | 1.00 | 1.00 | 1.00 | 2.00 | 4.00 | 8.00 | 1.00 | 1.00 | 1.00 | 2.00 | 4.00 | 8.00 | 1.00 | 1.00 | 2.00 | 4.00 | 8.00 | 1.00 | 2.00 | 4.00 | 8.00 | ||||||
| vssubu.vv v8,v16,v24 | 1.00 | 1.00 | 1.00 | 1.00 | 2.00 | 4.00 | 8.00 | 1.00 | 1.00 | 1.00 | 2.00 | 4.00 | 8.00 | 1.00 | 1.00 | 2.00 | 4.00 | 8.00 | 1.00 | 2.00 | 4.00 | 8.00 | ||||||
| vssubu.vv v8,v16,v24,v0.t | 1.00 | 1.00 | 1.00 | 1.00 | 2.00 | 4.00 | 8.00 | 1.00 | 1.00 | 1.00 | 2.00 | 4.00 | 8.00 | 1.00 | 1.00 | 2.00 | 4.00 | 8.00 | 1.00 | 2.00 | 4.00 | 8.00 | ||||||
| vssubu.vx v8,v16,t0 | 1.06 | 1.06 | 1.06 | 1.06 | 2.00 | 4.00 | 8.00 | 1.06 | 1.06 | 1.06 | 2.00 | 4.00 | 8.00 | 1.06 | 1.06 | 2.00 | 4.00 | 8.00 | 1.06 | 2.00 | 4.00 | 8.00 | ||||||
| vssubu.vx v8,v16,t0,v0.t | 1.06 | 1.06 | 1.06 | 1.06 | 2.00 | 4.00 | 8.00 | 1.06 | 1.06 | 1.06 | 2.00 | 4.00 | 8.00 | 1.06 | 1.06 | 2.00 | 4.00 | 8.00 | 1.06 | 2.00 | 4.00 | 8.00 | ||||||
| vssub.vv v8,v16,v24 | 1.00 | 1.00 | 1.00 | 1.00 | 2.00 | 4.00 | 8.00 | 1.00 | 1.00 | 1.00 | 2.00 | 4.00 | 8.00 | 1.00 | 1.00 | 2.00 | 4.00 | 8.00 | 1.00 | 2.00 | 4.00 | 8.00 | ||||||
| vssub.vv v8,v16,v24,v0.t | 1.00 | 1.00 | 1.00 | 1.00 | 2.00 | 4.00 | 8.00 | 1.00 | 1.00 | 1.00 | 2.00 | 4.00 | 8.00 | 1.00 | 1.00 | 2.00 | 4.00 | 8.00 | 1.00 | 2.00 | 4.00 | 8.00 | ||||||
| vssub.vx v8,v16,t0 | 1.06 | 1.06 | 1.06 | 1.06 | 2.00 | 4.00 | 8.00 | 1.06 | 1.06 | 1.06 | 2.00 | 4.00 | 8.00 | 1.06 | 1.06 | 2.00 | 4.00 | 8.00 | 1.06 | 2.00 | 4.00 | 8.00 | ||||||
| vssub.vx v8,v16,t0,v0.t | 1.06 | 1.06 | 1.06 | 1.06 | 2.00 | 4.00 | 8.00 | 1.06 | 1.06 | 1.06 | 2.00 | 4.00 | 8.00 | 1.06 | 1.06 | 2.00 | 4.00 | 8.00 | 1.06 | 2.00 | 4.00 | 8.00 | ||||||
| vsll.vv v8,v16,v24 | 1.00 | 1.00 | 1.00 | 2.00 | 4.00 | 8.00 | 16.00 | 1.00 | 1.00 | 2.00 | 4.00 | 8.00 | 16.00 | 1.00 | 2.00 | 4.00 | 8.00 | 16.00 | 2.00 | 4.00 | 8.00 | 16.00 | ||||||
| vsll.vv v8,v16,v24,v0.t | 1.00 | 1.00 | 1.00 | 2.00 | 4.00 | 8.00 | 16.00 | 1.00 | 1.00 | 2.00 | 4.00 | 8.00 | 16.00 | 1.00 | 2.00 | 4.00 | 8.00 | 16.00 | 2.00 | 4.00 | 8.00 | 16.00 | ||||||
| vsll.vx v8,v16,t0 | 1.06 | 1.06 | 1.06 | 2.00 | 4.00 | 8.00 | 16.00 | 1.06 | 1.06 | 2.00 | 4.00 | 8.00 | 16.00 | 1.06 | 2.00 | 4.00 | 8.00 | 16.00 | 2.00 | 4.00 | 8.00 | 16.00 | ||||||
| vsll.vx v8,v16,t0,v0.t | 1.06 | 1.06 | 1.06 | 2.00 | 4.00 | 8.00 | 16.00 | 1.06 | 1.06 | 2.00 | 4.00 | 8.00 | 16.00 | 1.06 | 2.00 | 4.00 | 8.00 | 16.00 | 2.00 | 4.00 | 8.00 | 16.00 | ||||||
| vsll.vi v8,v16,13 | 1.00 | 1.00 | 1.00 | 2.00 | 4.00 | 8.00 | 16.00 | 1.00 | 1.00 | 2.00 | 4.00 | 8.00 | 16.00 | 1.00 | 2.00 | 4.00 | 8.00 | 16.00 | 2.00 | 4.00 | 8.00 | 16.00 | ||||||
| vsll.vi v8,v16,13,v0.t | 1.00 | 1.00 | 1.00 | 2.00 | 4.00 | 8.00 | 16.00 | 1.00 | 1.00 | 2.00 | 4.00 | 8.00 | 16.00 | 1.00 | 2.00 | 4.00 | 8.00 | 16.00 | 2.00 | 4.00 | 8.00 | 16.00 | ||||||
| vsmul.vv v8,v16,v24 | 1.00 | 1.00 | 1.00 | 1.00 | 2.00 | 4.00 | 8.00 | 1.00 | 1.00 | 1.00 | 2.00 | 4.00 | 8.00 | 1.00 | 1.00 | 2.00 | 4.00 | 8.00 | 4.00 | 8.00 | 16.00 | 32.00 | ||||||
| vsmul.vv v8,v16,v24,v0.t | 1.00 | 1.00 | 1.00 | 1.00 | 2.00 | 4.00 | 8.00 | 1.00 | 1.00 | 1.00 | 2.00 | 4.00 | 8.00 | 1.00 | 1.00 | 2.00 | 4.00 | 8.00 | 4.00 | 8.00 | 16.00 | 32.00 | ||||||
| vsmul.vx v8,v16,t0 | 1.06 | 1.06 | 1.06 | 1.06 | 2.00 | 4.00 | 8.00 | 1.06 | 1.06 | 1.06 | 2.00 | 4.00 | 8.00 | 1.06 | 1.06 | 2.00 | 4.00 | 8.00 | 4.00 | 8.00 | 16.00 | 32.00 | ||||||
| vsmul.vx v8,v16,t0,v0.t | 1.06 | 1.06 | 1.06 | 1.06 | 2.00 | 4.00 | 8.00 | 1.06 | 1.06 | 1.06 | 2.00 | 4.00 | 8.00 | 1.06 | 1.06 | 2.00 | 4.00 | 8.00 | 4.00 | 8.00 | 16.00 | 32.00 | ||||||
| vmv1r.v v8,v16 | 1.00 | 1.00 | 1.00 | 1.00 | 1.00 | 1.00 | 2.00 | 1.00 | 1.00 | 1.00 | 1.00 | 1.00 | 2.00 | 1.00 | 1.00 | 1.00 | 1.00 | 2.00 | 1.00 | 1.00 | 1.00 | 2.00 | ||||||
| vmv2r.v v8,v16 | 2.00 | 2.00 | 3.00 | 2.00 | 2.00 | 3.00 | 2.00 | 2.00 | 3.00 | 2.00 | 2.00 | 3.00 | ||||||||||||||||
| vmv4r.v v8,v16 | 4.00 | 4.00 | 4.00 | 4.00 | 4.00 | 4.00 | 4.00 | 4.00 | ||||||||||||||||||||
| vmv8r.v v8,v16 | 8.00 | 8.00 | 8.00 | 8.00 | ||||||||||||||||||||||||
| vsrl.vv v8,v16,v24 | 1.00 | 1.00 | 1.00 | 2.00 | 4.00 | 8.00 | 16.00 | 1.00 | 1.00 | 2.00 | 4.00 | 8.00 | 16.00 | 1.00 | 2.00 | 4.00 | 8.00 | 16.00 | 2.00 | 4.00 | 8.00 | 16.00 | ||||||
| vsrl.vv v8,v16,v24,v0.t | 1.00 | 1.00 | 1.00 | 2.00 | 4.00 | 8.00 | 16.00 | 1.00 | 1.00 | 2.00 | 4.00 | 8.00 | 16.00 | 1.00 | 2.00 | 4.00 | 8.00 | 16.00 | 2.00 | 4.00 | 8.00 | 16.00 | ||||||
| vsrl.vx v8,v16,t0 | 1.06 | 1.06 | 1.06 | 2.00 | 4.00 | 8.00 | 16.00 | 1.06 | 1.06 | 2.00 | 4.00 | 8.00 | 16.00 | 1.06 | 2.00 | 4.00 | 8.00 | 16.00 | 2.00 | 4.00 | 8.00 | 16.00 | ||||||
| vsrl.vx v8,v16,t0,v0.t | 1.06 | 1.06 | 1.06 | 2.00 | 4.00 | 8.00 | 16.00 | 1.06 | 1.06 | 2.00 | 4.00 | 8.00 | 16.00 | 1.06 | 2.00 | 4.00 | 8.00 | 16.00 | 2.00 | 4.00 | 8.00 | 16.00 | ||||||
| vsrl.vi v8,v16,13 | 1.00 | 1.00 | 1.00 | 2.00 | 4.00 | 8.00 | 16.00 | 1.00 | 1.00 | 2.00 | 4.00 | 8.00 | 16.00 | 1.00 | 2.00 | 4.00 | 8.00 | 16.00 | 2.00 | 4.00 | 8.00 | 16.00 | ||||||
| vsrl.vi v8,v16,13,v0.t | 1.00 | 1.00 | 1.00 | 2.00 | 4.00 | 8.00 | 16.00 | 1.00 | 1.00 | 2.00 | 4.00 | 8.00 | 16.00 | 1.00 | 2.00 | 4.00 | 8.00 | 16.00 | 2.00 | 4.00 | 8.00 | 16.00 | ||||||
| vsra.vv v8,v16,v24 | 1.00 | 1.00 | 1.00 | 2.00 | 4.00 | 8.00 | 16.00 | 1.00 | 1.00 | 2.00 | 4.00 | 8.00 | 16.00 | 1.00 | 2.00 | 4.00 | 8.00 | 16.00 | 2.00 | 4.00 | 8.00 | 16.00 | ||||||
| vsra.vv v8,v16,v24,v0.t | 1.00 | 1.00 | 1.00 | 2.00 | 4.00 | 8.00 | 16.00 | 1.00 | 1.00 | 2.00 | 4.00 | 8.00 | 16.00 | 1.00 | 2.00 | 4.00 | 8.00 | 16.00 | 2.00 | 4.00 | 8.00 | 16.00 | ||||||
| vsra.vx v8,v16,t0 | 1.06 | 1.06 | 1.06 | 2.00 | 4.00 | 8.00 | 16.00 | 1.06 | 1.06 | 2.00 | 4.00 | 8.00 | 16.00 | 1.06 | 2.00 | 4.00 | 8.00 | 16.00 | 2.00 | 4.00 | 8.00 | 16.00 | ||||||
| vsra.vx v8,v16,t0,v0.t | 1.06 | 1.06 | 1.06 | 2.00 | 4.00 | 8.00 | 16.00 | 1.06 | 1.06 | 2.00 | 4.00 | 8.00 | 16.00 | 1.06 | 2.00 | 4.00 | 8.00 | 16.00 | 2.00 | 4.00 | 8.00 | 16.00 | ||||||
| vsra.vi v8,v16,13 | 1.00 | 1.00 | 1.00 | 2.00 | 4.00 | 8.00 | 16.00 | 1.00 | 1.00 | 2.00 | 4.00 | 8.00 | 16.00 | 1.00 | 2.00 | 4.00 | 8.00 | 16.00 | 2.00 | 4.00 | 8.00 | 16.00 | ||||||
| vsra.vi v8,v16,13,v0.t | 1.00 | 1.00 | 1.00 | 2.00 | 4.00 | 8.00 | 16.00 | 1.00 | 1.00 | 2.00 | 4.00 | 8.00 | 16.00 | 1.00 | 2.00 | 4.00 | 8.00 | 16.00 | 2.00 | 4.00 | 8.00 | 16.00 | ||||||
| vssrl.vv v8,v16,v24 | 1.00 | 1.00 | 1.00 | 2.00 | 4.00 | 8.00 | 16.00 | 1.00 | 1.00 | 2.00 | 4.00 | 8.00 | 16.00 | 1.00 | 2.00 | 4.00 | 8.00 | 16.00 | 2.00 | 4.00 | 8.00 | 16.00 | ||||||
| vssrl.vv v8,v16,v24,v0.t | 1.00 | 1.00 | 1.00 | 2.00 | 4.00 | 8.00 | 16.00 | 1.00 | 1.00 | 2.00 | 4.00 | 8.00 | 16.00 | 1.00 | 2.00 | 4.00 | 8.00 | 16.00 | 2.00 | 4.00 | 8.00 | 16.00 | ||||||
| vssrl.vx v8,v16,t0 | 1.06 | 1.06 | 1.06 | 2.00 | 4.00 | 8.00 | 16.00 | 1.06 | 1.06 | 2.00 | 4.00 | 8.00 | 16.00 | 1.06 | 2.00 | 4.00 | 8.00 | 16.00 | 2.00 | 4.00 | 8.00 | 16.00 | ||||||
| vssrl.vx v8,v16,t0,v0.t | 1.06 | 1.06 | 1.06 | 2.00 | 4.00 | 8.00 | 16.00 | 1.06 | 1.06 | 2.00 | 4.00 | 8.00 | 16.00 | 1.06 | 2.00 | 4.00 | 8.00 | 16.00 | 2.00 | 4.00 | 8.00 | 16.00 | ||||||
| vssrl.vi v8,v16,13 | 1.00 | 1.00 | 1.00 | 2.00 | 4.00 | 8.00 | 16.00 | 1.00 | 1.00 | 2.00 | 4.00 | 8.00 | 16.00 | 1.00 | 2.00 | 4.00 | 8.00 | 16.00 | 2.00 | 4.00 | 8.00 | 16.00 | ||||||
| vssrl.vi v8,v16,13,v0.t | 1.00 | 1.00 | 1.00 | 2.00 | 4.00 | 8.00 | 16.00 | 1.00 | 1.00 | 2.00 | 4.00 | 8.00 | 16.00 | 1.00 | 2.00 | 4.00 | 8.00 | 16.00 | 2.00 | 4.00 | 8.00 | 16.00 | ||||||
| vdivu.vv v8,v16,v24 | 9.56 | 9.60 | 9.56 | 18.59 | 36.47 | 72.46 | 143.99 | 9.55 | 9.49 | 18.49 | 36.52 | 72.24 | 144.09 | 9.47 | 18.56 | 36.49 | 72.33 | 144.31 | 18.50 | 36.59 | 72.34 | 144.50 | ||||||
| vdivu.vv v8,v16,v24,v0.t | 9.13 | 9.13 | 9.13 | 18.13 | 36.08 | 72.09 | 143.94 | 9.08 | 9.21 | 18.22 | 36.12 | 72.07 | 144.04 | 9.21 | 18.13 | 36.13 | 72.00 | 143.95 | 18.14 | 36.08 | 72.19 | 143.98 | ||||||
| vdivu.vx v8,v16,t0 | 9.13 | 9.12 | 9.15 | 18.22 | 36.13 | 72.07 | 143.98 | 9.15 | 9.11 | 18.20 | 36.08 | 72.00 | 143.99 | 9.29 | 18.23 | 36.26 | 72.14 | 144.09 | 18.24 | 36.00 | 71.99 | 143.98 | ||||||
| vdivu.vx v8,v16,t0,v0.t | 9.03 | 9.06 | 9.01 | 18.06 | 36.02 | 71.99 | 143.99 | 9.04 | 9.05 | 18.10 | 36.00 | 72.00 | 143.98 | 9.08 | 18.14 | 36.07 | 72.09 | 143.99 | 18.08 | 36.00 | 72.00 | 143.99 | ||||||
| vdiv.vv v8,v16,v24 | 10.60 | 10.53 | 10.60 | 20.53 | 40.59 | 80.49 | 160.24 | 10.46 | 10.43 | 20.34 | 40.28 | 80.39 | 160.28 | 10.40 | 20.39 | 40.38 | 80.47 | 160.29 | 20.42 | 40.40 | 80.48 | 160.39 | ||||||
| vdiv.vv v8,v16,v24,v0.t | 10.21 | 10.11 | 10.21 | 20.11 | 40.18 | 80.09 | 159.95 | 10.12 | 10.12 | 20.14 | 40.16 | 80.06 | 159.94 | 10.18 | 20.09 | 40.14 | 80.04 | 159.94 | 20.14 | 40.11 | 80.04 | 159.95 | ||||||
| vdiv.vx v8,v16,t0 | 10.19 | 10.18 | 10.14 | 20.21 | 40.13 | 80.00 | 159.98 | 10.17 | 10.16 | 20.15 | 40.15 | 80.02 | 159.99 | 10.31 | 20.30 | 40.27 | 80.34 | 160.14 | 20.20 | 40.00 | 79.99 | 159.98 | ||||||
| vdiv.vx v8,v16,t0,v0.t | 10.05 | 10.08 | 10.05 | 20.04 | 40.00 | 79.99 | 159.98 | 10.04 | 10.06 | 20.11 | 40.01 | 79.99 | 159.98 | 10.05 | 20.12 | 40.11 | 80.02 | 159.98 | 20.08 | 40.00 | 79.99 | 159.98 | ||||||
| vremu.vv v8,v16,v24 | 10.56 | 10.60 | 10.56 | 20.59 | 40.47 | 80.46 | 159.95 | 10.56 | 10.50 | 20.61 | 40.43 | 80.56 | 160.15 | 10.50 | 20.50 | 40.53 | 80.36 | 160.09 | 20.46 | 40.37 | 80.26 | 160.18 | ||||||
| vremu.vv v8,v16,v24,v0.t | 10.13 | 10.13 | 10.13 | 20.13 | 40.08 | 80.09 | 159.93 | 10.11 | 10.16 | 20.14 | 40.16 | 80.01 | 159.94 | 10.17 | 20.19 | 40.16 | 80.07 | 159.98 | 20.18 | 40.04 | 80.06 | 159.94 | ||||||
| vremu.vx v8,v16,t0 | 10.11 | 10.14 | 10.12 | 20.15 | 40.12 | 80.07 | 159.98 | 10.21 | 10.16 | 20.13 | 40.16 | 80.07 | 159.99 | 10.35 | 20.35 | 40.32 | 80.29 | 159.98 | 20.21 | 40.00 | 79.99 | 159.98 | ||||||
| vremu.vx v8,v16,t0,v0.t | 10.08 | 10.05 | 10.04 | 20.07 | 40.01 | 79.99 | 159.98 | 10.03 | 10.02 | 20.05 | 40.00 | 79.99 | 159.98 | 10.11 | 20.11 | 40.08 | 80.04 | 159.98 | 20.09 | 40.00 | 79.99 | 159.98 | ||||||
| vrem.vv v8,v16,v24 | 11.60 | 11.53 | 11.60 | 22.53 | 44.59 | 88.48 | 176.23 | 11.49 | 11.39 | 22.44 | 44.37 | 88.16 | 176.27 | 11.40 | 22.36 | 44.29 | 88.28 | 176.27 | 22.44 | 44.41 | 88.08 | 176.33 | ||||||
| vrem.vv v8,v16,v24,v0.t | 11.21 | 11.11 | 11.21 | 22.11 | 44.18 | 88.08 | 175.93 | 11.12 | 11.13 | 22.09 | 44.12 | 88.01 | 175.93 | 11.16 | 22.15 | 44.07 | 88.06 | 175.93 | 22.14 | 44.13 | 88.01 | 175.92 | ||||||
| vrem.vx v8,v16,t0 | 11.26 | 11.18 | 11.21 | 22.25 | 44.11 | 88.04 | 175.98 | 11.18 | 11.16 | 22.20 | 44.12 | 88.04 | 175.98 | 11.32 | 22.25 | 44.36 | 88.32 | 176.08 | 22.22 | 44.00 | 87.99 | 175.98 | ||||||
| vrem.vx v8,v16,t0,v0.t | 11.04 | 11.02 | 11.08 | 22.05 | 44.05 | 87.99 | 175.98 | 11.08 | 11.05 | 22.05 | 44.03 | 87.99 | 175.98 | 11.12 | 22.16 | 44.06 | 88.09 | 175.98 | 22.08 | 44.00 | 87.99 | 175.98 | ||||||
| vmulhu.vv v8,v16,v24 | 1.00 | 1.00 | 1.00 | 1.00 | 2.00 | 4.00 | 8.00 | 1.00 | 1.00 | 1.00 | 2.00 | 4.00 | 8.00 | 1.00 | 1.00 | 2.00 | 4.00 | 8.00 | 4.00 | 8.00 | 16.00 | 32.00 | ||||||
| vmulhu.vv v8,v16,v24,v0.t | 1.00 | 1.00 | 1.00 | 1.00 | 2.00 | 4.00 | 8.00 | 1.00 | 1.00 | 1.00 | 2.00 | 4.00 | 8.00 | 1.00 | 1.00 | 2.00 | 4.00 | 8.00 | 4.00 | 8.00 | 16.00 | 32.00 | ||||||
| vmulhu.vx v8,v16,t0 | 1.06 | 1.06 | 1.06 | 1.06 | 2.00 | 4.00 | 8.00 | 1.06 | 1.06 | 1.06 | 2.00 | 4.00 | 8.00 | 1.06 | 1.06 | 2.00 | 4.00 | 8.00 | 4.00 | 8.00 | 16.00 | 32.00 | ||||||
| vmulhu.vx v8,v16,t0,v0.t | 1.06 | 1.06 | 1.06 | 1.06 | 2.00 | 4.00 | 8.00 | 1.06 | 1.06 | 1.06 | 2.00 | 4.00 | 8.00 | 1.06 | 1.06 | 2.00 | 4.00 | 8.00 | 4.00 | 8.00 | 16.00 | 32.00 | ||||||
| vmul.vv v8,v16,v24 | 1.00 | 1.00 | 1.00 | 1.00 | 2.00 | 4.00 | 8.00 | 1.00 | 1.00 | 1.00 | 2.00 | 4.00 | 8.00 | 1.00 | 1.00 | 2.00 | 4.00 | 8.00 | 4.00 | 8.00 | 16.00 | 32.00 | ||||||
| vmul.vv v8,v16,v24,v0.t | 1.00 | 1.00 | 1.00 | 1.00 | 2.00 | 4.00 | 8.00 | 1.00 | 1.00 | 1.00 | 2.00 | 4.00 | 8.00 | 1.00 | 1.00 | 2.00 | 4.00 | 8.00 | 4.00 | 8.00 | 16.00 | 32.00 | ||||||
| vmul.vx v8,v16,t0 | 1.06 | 1.06 | 1.06 | 1.06 | 2.00 | 4.00 | 8.00 | 1.06 | 1.06 | 1.06 | 2.00 | 4.00 | 8.00 | 1.06 | 1.06 | 2.00 | 4.00 | 8.00 | 4.00 | 8.00 | 16.00 | 32.00 | ||||||
| vmul.vx v8,v16,t0,v0.t | 1.06 | 1.06 | 1.06 | 1.06 | 2.00 | 4.00 | 8.00 | 1.06 | 1.06 | 1.06 | 2.00 | 4.00 | 8.00 | 1.06 | 1.06 | 2.00 | 4.00 | 8.00 | 4.00 | 8.00 | 16.00 | 32.00 | ||||||
| vmulhsu.vv v8,v16,v24 | 1.00 | 1.00 | 1.00 | 1.00 | 2.00 | 4.00 | 8.00 | 1.00 | 1.00 | 1.00 | 2.00 | 4.00 | 8.00 | 1.00 | 1.00 | 2.00 | 4.00 | 8.00 | 4.00 | 8.00 | 16.00 | 32.00 | ||||||
| vmulhsu.vv v8,v16,v24,v0.t | 1.00 | 1.00 | 1.00 | 1.00 | 2.00 | 4.00 | 8.00 | 1.00 | 1.00 | 1.00 | 2.00 | 4.00 | 8.00 | 1.00 | 1.00 | 2.00 | 4.00 | 8.00 | 4.00 | 8.00 | 16.00 | 32.00 | ||||||
| vmulhsu.vx v8,v16,t0 | 1.06 | 1.06 | 1.06 | 1.06 | 2.00 | 4.00 | 8.00 | 1.06 | 1.06 | 1.06 | 2.00 | 4.00 | 8.00 | 1.06 | 1.06 | 2.00 | 4.00 | 8.00 | 4.00 | 8.00 | 16.00 | 32.00 | ||||||
| vmulhsu.vx v8,v16,t0,v0.t | 1.06 | 1.06 | 1.06 | 1.06 | 2.00 | 4.00 | 8.00 | 1.06 | 1.06 | 1.06 | 2.00 | 4.00 | 8.00 | 1.06 | 1.06 | 2.00 | 4.00 | 8.00 | 4.00 | 8.00 | 16.00 | 32.00 | ||||||
| vmulh.vv v8,v16,v24 | 1.00 | 1.00 | 1.00 | 1.00 | 2.00 | 4.00 | 8.00 | 1.00 | 1.00 | 1.00 | 2.00 | 4.00 | 8.00 | 1.00 | 1.00 | 2.00 | 4.00 | 8.00 | 4.00 | 8.00 | 16.00 | 32.00 | ||||||
| vmulh.vv v8,v16,v24,v0.t | 1.00 | 1.00 | 1.00 | 1.00 | 2.00 | 4.00 | 8.00 | 1.00 | 1.00 | 1.00 | 2.00 | 4.00 | 8.00 | 1.00 | 1.00 | 2.00 | 4.00 | 8.00 | 4.00 | 8.00 | 16.00 | 32.00 | ||||||
| vmulh.vx v8,v16,t0 | 1.06 | 1.06 | 1.06 | 1.06 | 2.00 | 4.00 | 8.00 | 1.06 | 1.06 | 1.06 | 2.00 | 4.00 | 8.00 | 1.06 | 1.06 | 2.00 | 4.00 | 8.00 | 4.00 | 8.00 | 16.00 | 32.00 | ||||||
| vmulh.vx v8,v16,t0,v0.t | 1.06 | 1.06 | 1.06 | 1.06 | 2.00 | 4.00 | 8.00 | 1.06 | 1.06 | 1.06 | 2.00 | 4.00 | 8.00 | 1.06 | 1.06 | 2.00 | 4.00 | 8.00 | 4.00 | 8.00 | 16.00 | 32.00 | ||||||
| vmadd.vv v8,v16,v24 | 1.00 | 1.00 | 1.00 | 1.00 | 2.00 | 4.00 | 8.00 | 1.00 | 1.00 | 1.00 | 2.00 | 4.00 | 8.00 | 1.00 | 1.00 | 2.00 | 4.00 | 8.00 | 4.00 | 8.00 | 16.00 | 32.00 | ||||||
| vmadd.vv v8,v16,v24,v0.t | 1.00 | 1.00 | 1.00 | 1.00 | 2.00 | 4.00 | 8.00 | 1.00 | 1.00 | 1.00 | 2.00 | 4.00 | 8.00 | 1.00 | 1.00 | 2.00 | 4.00 | 8.00 | 4.00 | 8.00 | 16.00 | 32.00 | ||||||
| vmadd.vx v8,t0,v16 | 1.06 | 1.06 | 1.06 | 1.06 | 2.00 | 4.00 | 8.00 | 1.06 | 1.06 | 1.06 | 2.00 | 4.00 | 8.00 | 1.06 | 1.06 | 2.00 | 4.00 | 8.00 | 4.00 | 8.00 | 16.00 | 32.00 | ||||||
| vmadd.vx v8,t0,v16,v0.t | 1.06 | 1.06 | 1.06 | 1.06 | 2.00 | 4.00 | 8.00 | 1.06 | 1.06 | 1.06 | 2.00 | 4.00 | 8.00 | 1.06 | 1.06 | 2.00 | 4.00 | 8.00 | 4.00 | 8.00 | 16.00 | 32.00 | ||||||
| vmacc.vv v8,v16,v24 | 1.00 | 1.00 | 1.00 | 1.00 | 2.00 | 4.00 | 8.00 | 1.00 | 1.00 | 1.00 | 2.00 | 4.00 | 8.00 | 1.00 | 1.00 | 2.00 | 4.00 | 8.00 | 4.00 | 8.00 | 16.00 | 32.00 | ||||||
| vmacc.vv v8,v16,v24,v0.t | 1.00 | 1.00 | 1.00 | 1.00 | 2.00 | 4.00 | 8.00 | 1.00 | 1.00 | 1.00 | 2.00 | 4.00 | 8.00 | 1.00 | 1.00 | 2.00 | 4.00 | 8.00 | 4.00 | 8.00 | 16.00 | 32.00 | ||||||
| vmacc.vx v8,t0,v16 | 1.06 | 1.06 | 1.06 | 1.06 | 2.00 | 4.00 | 8.00 | 1.06 | 1.06 | 1.06 | 2.00 | 4.00 | 8.00 | 1.06 | 1.06 | 2.00 | 4.00 | 8.00 | 4.00 | 8.00 | 16.00 | 32.00 | ||||||
| vmacc.vx v8,t0,v16,v0.t | 1.06 | 1.06 | 1.06 | 1.06 | 2.00 | 4.00 | 8.00 | 1.06 | 1.06 | 1.06 | 2.00 | 4.00 | 8.00 | 1.06 | 1.06 | 2.00 | 4.00 | 8.00 | 4.00 | 8.00 | 16.00 | 32.00 | ||||||
| vnsrl.wv v8,v16,v24 | 1.00 | 1.00 | 2.00 | 4.00 | 8.00 | 16.00 | 1.00 | 2.00 | 4.00 | 8.00 | 16.00 | 2.00 | 4.00 | 8.00 | 16.00 | |||||||||||||
| vnsrl.wv v8,v16,v24,v0.t | 1.00 | 1.00 | 2.00 | 4.00 | 8.00 | 16.00 | 1.00 | 2.00 | 4.00 | 8.00 | 16.00 | 2.00 | 4.00 | 8.00 | 16.00 | |||||||||||||
| vnsrl.wx v8,v16,t0 | 1.06 | 1.06 | 2.00 | 4.00 | 8.00 | 16.00 | 1.06 | 2.00 | 4.00 | 8.00 | 16.00 | 2.00 | 4.00 | 8.00 | 16.00 | |||||||||||||
| vnsrl.wx v8,v16,t0,v0.t | 1.06 | 1.06 | 2.00 | 4.00 | 8.00 | 16.00 | 1.06 | 2.00 | 4.00 | 8.00 | 16.00 | 2.00 | 4.00 | 8.00 | 16.00 | |||||||||||||
| vnsrl.wi v8,v16,13 | 1.00 | 1.00 | 2.00 | 4.00 | 8.00 | 16.00 | 1.00 | 2.00 | 4.00 | 8.00 | 16.00 | 2.00 | 4.00 | 8.00 | 16.00 | |||||||||||||
| vnsrl.wi v8,v16,13,v0.t | 1.00 | 1.00 | 2.00 | 4.00 | 8.00 | 16.00 | 1.00 | 2.00 | 4.00 | 8.00 | 16.00 | 2.00 | 4.00 | 8.00 | 16.00 | |||||||||||||
| vnsra.wv v8,v16,v24 | 1.00 | 1.00 | 2.00 | 4.00 | 8.00 | 16.00 | 1.00 | 2.00 | 4.00 | 8.00 | 16.00 | 2.00 | 4.00 | 8.00 | 16.00 | |||||||||||||
| vnsra.wv v8,v16,v24,v0.t | 1.00 | 1.00 | 2.00 | 4.00 | 8.00 | 16.00 | 1.00 | 2.00 | 4.00 | 8.00 | 16.00 | 2.00 | 4.00 | 8.00 | 16.00 | |||||||||||||
| vnsra.wx v8,v16,t0 | 1.06 | 1.06 | 2.00 | 4.00 | 8.00 | 16.00 | 1.06 | 2.00 | 4.00 | 8.00 | 16.00 | 2.00 | 4.00 | 8.00 | 16.00 | |||||||||||||
| vnsra.wx v8,v16,t0,v0.t | 1.06 | 1.06 | 2.00 | 4.00 | 8.00 | 16.00 | 1.06 | 2.00 | 4.00 | 8.00 | 16.00 | 2.00 | 4.00 | 8.00 | 16.00 | |||||||||||||
| vnsra.wi v8,v16,13 | 1.00 | 1.00 | 2.00 | 4.00 | 8.00 | 16.00 | 1.00 | 2.00 | 4.00 | 8.00 | 16.00 | 2.00 | 4.00 | 8.00 | 16.00 | |||||||||||||
| vnsra.wi v8,v16,13,v0.t | 1.00 | 1.00 | 2.00 | 4.00 | 8.00 | 16.00 | 1.00 | 2.00 | 4.00 | 8.00 | 16.00 | 2.00 | 4.00 | 8.00 | 16.00 | |||||||||||||
| vnclipu.wv v8,v16,v24 | 1.00 | 1.00 | 2.00 | 4.00 | 8.00 | 16.00 | 1.00 | 2.00 | 4.00 | 8.00 | 16.00 | 2.00 | 4.00 | 8.00 | 16.00 | |||||||||||||
| vnclipu.wv v8,v16,v24,v0.t | 1.00 | 1.00 | 2.00 | 4.00 | 8.00 | 16.00 | 1.00 | 2.00 | 4.00 | 8.00 | 16.00 | 2.00 | 4.00 | 8.00 | 16.00 | |||||||||||||
| vnclipu.wx v8,v16,t0 | 1.06 | 1.06 | 2.00 | 4.00 | 8.00 | 16.00 | 1.06 | 2.00 | 4.00 | 8.00 | 16.00 | 2.00 | 4.00 | 8.00 | 16.00 | |||||||||||||
| vnclipu.wx v8,v16,t0,v0.t | 1.06 | 1.06 | 2.00 | 4.00 | 8.00 | 16.00 | 1.06 | 2.00 | 4.00 | 8.00 | 16.00 | 2.00 | 4.00 | 8.00 | 16.00 | |||||||||||||
| vnclipu.wi v8,v16,13 | 1.00 | 1.00 | 2.00 | 4.00 | 8.00 | 16.00 | 1.00 | 2.00 | 4.00 | 8.00 | 16.00 | 2.00 | 4.00 | 8.00 | 16.00 | |||||||||||||
| vnclipu.wi v8,v16,13,v0.t | 1.00 | 1.00 | 2.00 | 4.00 | 8.00 | 16.00 | 1.00 | 2.00 | 4.00 | 8.00 | 16.00 | 2.00 | 4.00 | 8.00 | 16.00 | |||||||||||||
| vnclip.wv v8,v16,v24 | 1.00 | 1.00 | 2.00 | 4.00 | 8.00 | 16.00 | 1.00 | 2.00 | 4.00 | 8.00 | 16.00 | 2.00 | 4.00 | 8.00 | 16.00 | |||||||||||||
| vnclip.wv v8,v16,v24,v0.t | 1.00 | 1.00 | 2.00 | 4.00 | 8.00 | 16.00 | 1.00 | 2.00 | 4.00 | 8.00 | 16.00 | 2.00 | 4.00 | 8.00 | 16.00 | |||||||||||||
| vnclip.wx v8,v16,t0 | 1.06 | 1.06 | 2.00 | 4.00 | 8.00 | 16.00 | 1.06 | 2.00 | 4.00 | 8.00 | 16.00 | 2.00 | 4.00 | 8.00 | 16.00 | |||||||||||||
| vnclip.wx v8,v16,t0,v0.t | 1.06 | 1.06 | 2.00 | 4.00 | 8.00 | 16.00 | 1.06 | 2.00 | 4.00 | 8.00 | 16.00 | 2.00 | 4.00 | 8.00 | 16.00 | |||||||||||||
| vnclip.wi v8,v16,13 | 1.00 | 1.00 | 2.00 | 4.00 | 8.00 | 16.00 | 1.00 | 2.00 | 4.00 | 8.00 | 16.00 | 2.00 | 4.00 | 8.00 | 16.00 | |||||||||||||
| vnclip.wi v8,v16,13,v0.t | 1.00 | 1.00 | 2.00 | 4.00 | 8.00 | 16.00 | 1.00 | 2.00 | 4.00 | 8.00 | 16.00 | 2.00 | 4.00 | 8.00 | 16.00 | |||||||||||||
| vnmsub.vv v8,v16,v24 | 1.00 | 1.00 | 1.00 | 1.00 | 2.00 | 4.00 | 1.00 | 1.00 | 1.00 | 2.00 | 4.00 | 1.00 | 1.00 | 2.00 | 5.00 | |||||||||||||
| vnmsub.vv v8,v16,v24,v0.t | 1.00 | 1.00 | 1.00 | 1.00 | 2.00 | 4.00 | 1.00 | 1.00 | 1.00 | 2.00 | 4.00 | 1.00 | 1.00 | 2.00 | 5.00 | |||||||||||||
| vnmsub.vx v8,t0,v16 | 1.06 | 1.06 | 1.06 | 1.06 | 2.00 | 4.00 | 1.06 | 1.06 | 1.06 | 2.00 | 4.00 | 1.06 | 1.06 | 2.00 | 5.00 | |||||||||||||
| vnmsub.vx v8,t0,v16,v0.t | 1.06 | 1.06 | 1.06 | 1.06 | 2.00 | 4.00 | 1.06 | 1.06 | 1.06 | 2.00 | 4.00 | 1.06 | 1.06 | 2.00 | 5.00 | |||||||||||||
| vnmsac.vv v8,v16,v24 | 1.00 | 1.00 | 1.00 | 1.00 | 2.00 | 4.00 | 1.00 | 1.00 | 1.00 | 2.00 | 4.00 | 1.00 | 1.00 | 2.00 | 5.00 | |||||||||||||
| vnmsac.vv v8,v16,v24,v0.t | 1.00 | 1.00 | 1.00 | 1.00 | 2.00 | 4.00 | 1.00 | 1.00 | 1.00 | 2.00 | 4.00 | 1.00 | 1.00 | 2.00 | 5.00 | |||||||||||||
| vnmsac.vx v8,t0,v16 | 1.06 | 1.06 | 1.06 | 1.06 | 2.00 | 4.00 | 1.06 | 1.06 | 1.06 | 2.00 | 4.00 | 1.06 | 1.06 | 2.00 | 5.00 | |||||||||||||
| vnmsac.vx v8,t0,v16,v0.t | 1.06 | 1.06 | 1.06 | 1.06 | 2.00 | 4.00 | 1.06 | 1.06 | 1.06 | 2.00 | 4.00 | 1.06 | 1.06 | 2.00 | 5.00 | |||||||||||||
| vwaddu.vv v8,v16,v24 | 1.00 | 1.00 | 2.00 | 2.00 | 4.00 | 8.00 | 1.00 | 2.00 | 2.00 | 4.00 | 8.00 | 2.00 | 2.00 | 4.00 | 8.00 | |||||||||||||
| vwaddu.vv v8,v16,v24,v0.t | 1.00 | 1.00 | 2.00 | 2.00 | 4.00 | 8.00 | 1.00 | 2.00 | 2.00 | 4.00 | 8.00 | 2.00 | 2.00 | 4.00 | 8.00 | |||||||||||||
| vwaddu.vx v8,v16,t0 | 1.06 | 1.06 | 2.00 | 2.00 | 4.00 | 8.00 | 1.06 | 2.00 | 2.00 | 4.00 | 8.00 | 2.00 | 2.00 | 4.00 | 8.00 | |||||||||||||
| vwaddu.vx v8,v16,t0,v0.t | 1.06 | 1.06 | 2.00 | 2.00 | 4.00 | 8.00 | 1.06 | 2.00 | 2.00 | 4.00 | 8.00 | 2.00 | 2.00 | 4.00 | 8.00 | |||||||||||||
| vwadd.vv v8,v16,v24 | 1.00 | 1.00 | 2.00 | 2.00 | 4.00 | 8.00 | 1.00 | 2.00 | 2.00 | 4.00 | 8.00 | 2.00 | 2.00 | 4.00 | 8.00 | |||||||||||||
| vwadd.vv v8,v16,v24,v0.t | 1.00 | 1.00 | 2.00 | 2.00 | 4.00 | 8.00 | 1.00 | 2.00 | 2.00 | 4.00 | 8.00 | 2.00 | 2.00 | 4.00 | 8.00 | |||||||||||||
| vwadd.vx v8,v16,t0 | 1.06 | 1.06 | 2.00 | 2.00 | 4.00 | 8.00 | 1.06 | 2.00 | 2.00 | 4.00 | 8.00 | 2.00 | 2.00 | 4.00 | 8.00 | |||||||||||||
| vwadd.vx v8,v16,t0,v0.t | 1.06 | 1.06 | 2.00 | 2.00 | 4.00 | 8.00 | 1.06 | 2.00 | 2.00 | 4.00 | 8.00 | 2.00 | 2.00 | 4.00 | 8.00 | |||||||||||||
| vwsubu.vv v8,v16,v24 | 1.00 | 1.00 | 2.00 | 2.00 | 4.00 | 8.00 | 1.00 | 2.00 | 2.00 | 4.00 | 8.00 | 2.00 | 2.00 | 4.00 | 8.00 | |||||||||||||
| vwsubu.vv v8,v16,v24,v0.t | 1.00 | 1.00 | 2.00 | 2.00 | 4.00 | 8.00 | 1.00 | 2.00 | 2.00 | 4.00 | 8.00 | 2.00 | 2.00 | 4.00 | 8.00 | |||||||||||||
| vwsubu.vx v8,v16,t0 | 1.06 | 1.06 | 2.00 | 2.00 | 4.00 | 8.00 | 1.06 | 2.00 | 2.00 | 4.00 | 8.00 | 2.00 | 2.00 | 4.00 | 8.00 | |||||||||||||
| vwsubu.vx v8,v16,t0,v0.t | 1.06 | 1.06 | 2.00 | 2.00 | 4.00 | 8.00 | 1.06 | 2.00 | 2.00 | 4.00 | 8.00 | 2.00 | 2.00 | 4.00 | 8.00 | |||||||||||||
| vwsub.vv v8,v16,v24 | 1.00 | 1.00 | 2.00 | 2.00 | 4.00 | 8.00 | 1.00 | 2.00 | 2.00 | 4.00 | 8.00 | 2.00 | 2.00 | 4.00 | 8.00 | |||||||||||||
| vwsub.vv v8,v16,v24,v0.t | 1.00 | 1.00 | 2.00 | 2.00 | 4.00 | 8.00 | 1.00 | 2.00 | 2.00 | 4.00 | 8.00 | 2.00 | 2.00 | 4.00 | 8.00 | |||||||||||||
| vwsub.vx v8,v16,t0 | 1.06 | 1.06 | 2.00 | 2.00 | 4.00 | 8.00 | 1.06 | 2.00 | 2.00 | 4.00 | 8.00 | 2.00 | 2.00 | 4.00 | 8.00 | |||||||||||||
| vwsub.vx v8,v16,t0,v0.t | 1.06 | 1.06 | 2.00 | 2.00 | 4.00 | 8.00 | 1.06 | 2.00 | 2.00 | 4.00 | 8.00 | 2.00 | 2.00 | 4.00 | 8.00 | |||||||||||||
| vwaddu.wv v8,v16,v24 | 1.00 | 1.00 | 2.00 | 2.00 | 4.00 | 8.00 | 1.00 | 2.00 | 2.00 | 4.00 | 8.00 | 2.00 | 2.00 | 4.00 | 8.00 | |||||||||||||
| vwaddu.wv v8,v16,v24,v0.t | 1.00 | 1.00 | 2.00 | 2.00 | 4.00 | 8.00 | 1.00 | 2.00 | 2.00 | 4.00 | 8.00 | 2.00 | 2.00 | 4.00 | 8.00 | |||||||||||||
| vwaddu.wx v8,v16,t0 | 1.06 | 1.06 | 2.00 | 2.00 | 4.00 | 8.00 | 1.06 | 2.00 | 2.00 | 4.00 | 8.00 | 2.00 | 2.00 | 4.00 | 8.00 | |||||||||||||
| vwaddu.wx v8,v16,t0,v0.t | 1.06 | 1.06 | 2.00 | 2.00 | 4.00 | 8.00 | 1.06 | 2.00 | 2.00 | 4.00 | 8.00 | 2.00 | 2.00 | 4.00 | 8.00 | |||||||||||||
| vwadd.wv v8,v16,v24 | 1.00 | 1.00 | 2.00 | 2.00 | 4.00 | 8.00 | 1.00 | 2.00 | 2.00 | 4.00 | 8.00 | 2.00 | 2.00 | 4.00 | 8.00 | |||||||||||||
| vwadd.wv v8,v16,v24,v0.t | 1.00 | 1.00 | 2.00 | 2.00 | 4.00 | 8.00 | 1.00 | 2.00 | 2.00 | 4.00 | 8.00 | 2.00 | 2.00 | 4.00 | 8.00 | |||||||||||||
| vwadd.wx v8,v16,t0 | 1.06 | 1.06 | 2.00 | 2.00 | 4.00 | 8.00 | 1.06 | 2.00 | 2.00 | 4.00 | 8.00 | 2.00 | 2.00 | 4.00 | 8.00 | |||||||||||||
| vwadd.wx v8,v16,t0,v0.t | 1.06 | 1.06 | 2.00 | 2.00 | 4.00 | 8.00 | 1.06 | 2.00 | 2.00 | 4.00 | 8.00 | 2.00 | 2.00 | 4.00 | 8.00 | |||||||||||||
| vwsubu.wv v8,v16,v24 | 1.00 | 1.00 | 2.00 | 2.00 | 4.00 | 8.00 | 1.00 | 2.00 | 2.00 | 4.00 | 8.00 | 2.00 | 2.00 | 4.00 | 8.00 | |||||||||||||
| vwsubu.wv v8,v16,v24,v0.t | 1.00 | 1.00 | 2.00 | 2.00 | 4.00 | 8.00 | 1.00 | 2.00 | 2.00 | 4.00 | 8.00 | 2.00 | 2.00 | 4.00 | 8.00 | |||||||||||||
| vwsubu.wx v8,v16,t0 | 1.06 | 1.06 | 2.00 | 2.00 | 4.00 | 8.00 | 1.06 | 2.00 | 2.00 | 4.00 | 8.00 | 2.00 | 2.00 | 4.00 | 8.00 | |||||||||||||
| vwsubu.wx v8,v16,t0,v0.t | 1.06 | 1.06 | 2.00 | 2.00 | 4.00 | 8.00 | 1.06 | 2.00 | 2.00 | 4.00 | 8.00 | 2.00 | 2.00 | 4.00 | 8.00 | |||||||||||||
| vwsub.wv v8,v16,v24 | 1.00 | 1.00 | 2.00 | 2.00 | 4.00 | 8.00 | 1.00 | 2.00 | 2.00 | 4.00 | 8.00 | 2.00 | 2.00 | 4.00 | 8.00 | |||||||||||||
| vwsub.wv v8,v16,v24,v0.t | 1.00 | 1.00 | 2.00 | 2.00 | 4.00 | 8.00 | 1.00 | 2.00 | 2.00 | 4.00 | 8.00 | 2.00 | 2.00 | 4.00 | 8.00 | |||||||||||||
| vwsub.wx v8,v16,t0 | 1.06 | 1.06 | 2.00 | 2.00 | 4.00 | 8.00 | 1.06 | 2.00 | 2.00 | 4.00 | 8.00 | 2.00 | 2.00 | 4.00 | 8.00 | |||||||||||||
| vwsub.wx v8,v16,t0,v0.t | 1.06 | 1.06 | 2.00 | 2.00 | 4.00 | 8.00 | 1.06 | 2.00 | 2.00 | 4.00 | 8.00 | 2.00 | 2.00 | 4.00 | 8.00 | |||||||||||||
| vwmulu.vv v8,v16,v24 | 1.00 | 1.00 | 2.00 | 2.00 | 4.00 | 8.00 | 1.00 | 2.00 | 2.00 | 4.00 | 8.00 | 2.00 | 2.00 | 4.00 | 8.00 | |||||||||||||
| vwmulu.vv v8,v16,v24,v0.t | 1.00 | 1.00 | 2.00 | 2.00 | 4.00 | 8.00 | 1.00 | 2.00 | 2.00 | 4.00 | 8.00 | 2.00 | 2.00 | 4.00 | 8.00 | |||||||||||||
| vwmulu.vx v8,v16,t0 | 1.06 | 1.06 | 2.00 | 2.00 | 4.00 | 8.00 | 1.06 | 2.00 | 2.00 | 4.00 | 8.00 | 2.00 | 2.00 | 4.00 | 8.00 | |||||||||||||
| vwmulu.vx v8,v16,t0,v0.t | 1.06 | 1.06 | 2.00 | 2.00 | 4.00 | 8.00 | 1.06 | 2.00 | 2.00 | 4.00 | 8.00 | 2.00 | 2.00 | 4.00 | 8.00 | |||||||||||||
| vwmulsu.vv v8,v16,v24 | 1.00 | 1.00 | 2.00 | 2.00 | 4.00 | 8.00 | 1.00 | 2.00 | 2.00 | 4.00 | 8.00 | 2.00 | 2.00 | 4.00 | 8.00 | |||||||||||||
| vwmulsu.vv v8,v16,v24,v0.t | 1.00 | 1.00 | 2.00 | 2.00 | 4.00 | 8.00 | 1.00 | 2.00 | 2.00 | 4.00 | 8.00 | 2.00 | 2.00 | 4.00 | 8.00 | |||||||||||||
| vwmulsu.vx v8,v16,t0 | 1.06 | 1.06 | 2.00 | 2.00 | 4.00 | 8.00 | 1.06 | 2.00 | 2.00 | 4.00 | 8.00 | 2.00 | 2.00 | 4.00 | 8.00 | |||||||||||||
| vwmulsu.vx v8,v16,t0,v0.t | 1.06 | 1.06 | 2.00 | 2.00 | 4.00 | 8.00 | 1.06 | 2.00 | 2.00 | 4.00 | 8.00 | 2.00 | 2.00 | 4.00 | 8.00 | |||||||||||||
| vwmul.vv v8,v16,v24 | 1.00 | 1.00 | 2.00 | 2.00 | 4.00 | 8.00 | 1.00 | 2.00 | 2.00 | 4.00 | 8.00 | 2.00 | 2.00 | 4.00 | 8.00 | |||||||||||||
| vwmul.vv v8,v16,v24,v0.t | 1.00 | 1.00 | 2.00 | 2.00 | 4.00 | 8.00 | 1.00 | 2.00 | 2.00 | 4.00 | 8.00 | 2.00 | 2.00 | 4.00 | 8.00 | |||||||||||||
| vwmul.vx v8,v16,t0 | 1.06 | 1.06 | 2.00 | 2.00 | 4.00 | 8.00 | 1.06 | 2.00 | 2.00 | 4.00 | 8.00 | 2.00 | 2.00 | 4.00 | 8.00 | |||||||||||||
| vwmul.vx v8,v16,t0,v0.t | 1.06 | 1.06 | 2.00 | 2.00 | 4.00 | 8.00 | 1.06 | 2.00 | 2.00 | 4.00 | 8.00 | 2.00 | 2.00 | 4.00 | 8.00 | |||||||||||||
| vwmaccu.vv v8,v16,v24 | 1.00 | 1.00 | 2.00 | 2.00 | 4.00 | 8.00 | 1.00 | 2.00 | 2.00 | 4.00 | 8.00 | 2.00 | 2.00 | 4.00 | 8.00 | |||||||||||||
| vwmaccu.vv v8,v16,v24,v0.t | 1.00 | 1.00 | 2.00 | 2.00 | 4.00 | 8.00 | 1.00 | 2.00 | 2.00 | 4.00 | 8.00 | 2.00 | 2.00 | 4.00 | 8.00 | |||||||||||||
| vwmaccu.vx v8,t0,v16 | 1.06 | 1.06 | 2.00 | 2.00 | 4.00 | 8.00 | 1.06 | 2.00 | 2.00 | 4.00 | 8.00 | 2.00 | 2.00 | 4.00 | 8.00 | |||||||||||||
| vwmaccu.vx v8,t0,v16,v0.t | 1.06 | 1.06 | 2.00 | 2.00 | 4.00 | 8.00 | 1.06 | 2.00 | 2.00 | 4.00 | 8.00 | 2.00 | 2.00 | 4.00 | 8.00 | |||||||||||||
| vwmacc.vv v8,v16,v24 | 1.00 | 1.00 | 2.00 | 2.00 | 4.00 | 8.00 | 1.00 | 2.00 | 2.00 | 4.00 | 8.00 | 2.00 | 2.00 | 4.00 | 8.00 | |||||||||||||
| vwmacc.vv v8,v16,v24,v0.t | 1.00 | 1.00 | 2.00 | 2.00 | 4.00 | 8.00 | 1.00 | 2.00 | 2.00 | 4.00 | 8.00 | 2.00 | 2.00 | 4.00 | 8.00 | |||||||||||||
| vwmacc.vx v8,t0,v16 | 1.06 | 1.06 | 2.00 | 2.00 | 4.00 | 8.00 | 1.06 | 2.00 | 2.00 | 4.00 | 8.00 | 2.00 | 2.00 | 4.00 | 8.00 | |||||||||||||
| vwmacc.vx v8,t0,v16,v0.t | 1.06 | 1.06 | 2.00 | 2.00 | 4.00 | 8.00 | 1.06 | 2.00 | 2.00 | 4.00 | 8.00 | 2.00 | 2.00 | 4.00 | 8.00 | |||||||||||||
| vwmaccsu.vv v8,v16,v24 | 1.00 | 1.00 | 2.00 | 2.00 | 4.00 | 8.00 | 1.00 | 2.00 | 2.00 | 4.00 | 8.00 | 2.00 | 2.00 | 4.00 | 8.00 | |||||||||||||
| vwmaccsu.vv v8,v16,v24,v0.t | 1.00 | 1.00 | 2.00 | 2.00 | 4.00 | 8.00 | 1.00 | 2.00 | 2.00 | 4.00 | 8.00 | 2.00 | 2.00 | 4.00 | 8.00 | |||||||||||||
| vwmaccsu.vx v8,t0,v16 | 1.06 | 1.06 | 2.00 | 2.00 | 4.00 | 8.00 | 1.06 | 2.00 | 2.00 | 4.00 | 8.00 | 2.00 | 2.00 | 4.00 | 8.00 | |||||||||||||
| vwmaccsu.vx v8,t0,v16,v0.t | 1.06 | 1.06 | 2.00 | 2.00 | 4.00 | 8.00 | 1.06 | 2.00 | 2.00 | 4.00 | 8.00 | 2.00 | 2.00 | 4.00 | 8.00 | |||||||||||||
| vwmaccus.vx v8,t0,v16 | 1.06 | 1.06 | 2.00 | 2.00 | 4.00 | 8.00 | 1.06 | 2.00 | 2.00 | 4.00 | 8.00 | 2.00 | 2.00 | 4.00 | 8.00 | |||||||||||||
| vwmaccus.vx v8,t0,v16,v0.t | 1.06 | 1.06 | 2.00 | 2.00 | 4.00 | 8.00 | 1.06 | 2.00 | 2.00 | 4.00 | 8.00 | 2.00 | 2.00 | 4.00 | 8.00 | |||||||||||||
| vfadd.vv v8,v16,v24 | 1.00 | 1.00 | 1.00 | 2.00 | 4.00 | 8.00 | 1.00 | 1.00 | 2.00 | 4.00 | 8.00 | 1.00 | 2.00 | 4.00 | 8.00 | |||||||||||||
| vfadd.vv v8,v16,v24,v0.t | 1.00 | 1.00 | 1.00 | 2.00 | 4.00 | 8.00 | 1.00 | 1.00 | 2.00 | 4.00 | 8.00 | 1.00 | 2.00 | 4.00 | 8.00 | |||||||||||||
| vfadd.vf v8,v16,ft0 | 1.00 | 1.00 | 1.00 | 2.00 | 4.00 | 8.00 | 1.00 | 1.00 | 2.00 | 4.00 | 8.00 | 1.00 | 2.00 | 4.00 | 8.00 | |||||||||||||
| vfadd.vf v8,v16,ft0,v0.t | 1.00 | 1.00 | 1.00 | 2.00 | 4.00 | 8.00 | 1.00 | 1.00 | 2.00 | 4.00 | 8.00 | 1.00 | 2.00 | 4.00 | 8.00 | |||||||||||||
| vfsub.vv v8,v16,v24 | 1.00 | 1.00 | 1.00 | 2.00 | 4.00 | 8.00 | 1.00 | 1.00 | 2.00 | 4.00 | 8.00 | 1.00 | 2.00 | 4.00 | 8.00 | |||||||||||||
| vfsub.vv v8,v16,v24,v0.t | 1.00 | 1.00 | 1.00 | 2.00 | 4.00 | 8.00 | 1.00 | 1.00 | 2.00 | 4.00 | 8.00 | 1.00 | 2.00 | 4.00 | 8.00 | |||||||||||||
| vfsub.vf v8,v16,ft0 | 1.00 | 1.00 | 1.00 | 2.00 | 4.00 | 8.00 | 1.00 | 1.00 | 2.00 | 4.00 | 8.00 | 1.00 | 2.00 | 4.00 | 8.00 | |||||||||||||
| vfsub.vf v8,v16,ft0,v0.t | 1.00 | 1.00 | 1.00 | 2.00 | 4.00 | 8.00 | 1.00 | 1.00 | 2.00 | 4.00 | 8.00 | 1.00 | 2.00 | 4.00 | 8.00 | |||||||||||||
| vfmin.vv v8,v16,v24 | 1.00 | 1.00 | 1.00 | 2.00 | 4.00 | 8.00 | 1.00 | 1.00 | 2.00 | 4.00 | 8.00 | 1.00 | 2.00 | 4.00 | 8.00 | |||||||||||||
| vfmin.vv v8,v16,v24,v0.t | 1.00 | 1.00 | 1.00 | 2.00 | 4.00 | 8.00 | 1.00 | 1.00 | 2.00 | 4.00 | 8.00 | 1.00 | 2.00 | 4.00 | 8.00 | |||||||||||||
| vfmin.vf v8,v16,ft0 | 1.00 | 1.00 | 1.00 | 2.00 | 4.00 | 8.00 | 1.00 | 1.00 | 2.00 | 4.00 | 8.00 | 1.00 | 2.00 | 4.00 | 8.00 | |||||||||||||
| vfmin.vf v8,v16,ft0,v0.t | 1.00 | 1.00 | 1.00 | 2.00 | 4.00 | 8.00 | 1.00 | 1.00 | 2.00 | 4.00 | 8.00 | 1.00 | 2.00 | 4.00 | 8.00 | |||||||||||||
| vfmax.vv v8,v16,v24 | 1.00 | 1.00 | 1.00 | 2.00 | 4.00 | 8.00 | 1.00 | 1.00 | 2.00 | 4.00 | 8.00 | 1.00 | 2.00 | 4.00 | 8.00 | |||||||||||||
| vfmax.vv v8,v16,v24,v0.t | 1.00 | 1.00 | 1.00 | 2.00 | 4.00 | 8.00 | 1.00 | 1.00 | 2.00 | 4.00 | 8.00 | 1.00 | 2.00 | 4.00 | 8.00 | |||||||||||||
| vfmax.vf v8,v16,ft0 | 1.00 | 1.00 | 1.00 | 2.00 | 4.00 | 8.00 | 1.00 | 1.00 | 2.00 | 4.00 | 8.00 | 1.00 | 2.00 | 4.00 | 8.00 | |||||||||||||
| vfmax.vf v8,v16,ft0,v0.t | 1.00 | 1.00 | 1.00 | 2.00 | 4.00 | 8.00 | 1.00 | 1.00 | 2.00 | 4.00 | 8.00 | 1.00 | 2.00 | 4.00 | 8.00 | |||||||||||||
| vfsgnj.vv v8,v16,v24 | 1.00 | 1.00 | 2.00 | 4.00 | 8.00 | 16.00 | 1.00 | 2.00 | 4.00 | 8.00 | 16.00 | 2.00 | 4.00 | 8.00 | 16.00 | |||||||||||||
| vfsgnj.vv v8,v16,v24,v0.t | 1.00 | 1.00 | 2.00 | 4.00 | 8.00 | 16.00 | 1.00 | 2.00 | 4.00 | 8.00 | 16.00 | 2.00 | 4.00 | 8.00 | 16.00 | |||||||||||||
| vfsgnj.vf v8,v16,ft0 | 1.00 | 1.00 | 2.00 | 4.00 | 8.00 | 16.00 | 1.00 | 2.00 | 4.00 | 8.00 | 16.00 | 2.00 | 4.00 | 8.00 | 16.00 | |||||||||||||
| vfsgnj.vf v8,v16,ft0,v0.t | 1.00 | 1.00 | 2.00 | 4.00 | 8.00 | 16.00 | 1.00 | 2.00 | 4.00 | 8.00 | 16.00 | 2.00 | 4.00 | 8.00 | 16.00 | |||||||||||||
| vfsgnjn.vv v8,v16,v24 | 1.00 | 1.00 | 2.00 | 4.00 | 8.00 | 16.00 | 1.00 | 2.00 | 4.00 | 8.00 | 16.00 | 2.00 | 4.00 | 8.00 | 16.00 | |||||||||||||
| vfsgnjn.vv v8,v16,v24,v0.t | 1.00 | 1.00 | 2.00 | 4.00 | 8.00 | 16.00 | 1.00 | 2.00 | 4.00 | 8.00 | 16.00 | 2.00 | 4.00 | 8.00 | 16.00 | |||||||||||||
| vfsgnjn.vf v8,v16,ft0 | 1.00 | 1.00 | 2.00 | 4.00 | 8.00 | 16.00 | 1.00 | 2.00 | 4.00 | 8.00 | 16.00 | 2.00 | 4.00 | 8.00 | 16.00 | |||||||||||||
| vfsgnjn.vf v8,v16,ft0,v0.t | 1.00 | 1.00 | 2.00 | 4.00 | 8.00 | 16.00 | 1.00 | 2.00 | 4.00 | 8.00 | 16.00 | 2.00 | 4.00 | 8.00 | 16.00 | |||||||||||||
| vfsgnjx.vv v8,v16,v24 | 1.00 | 1.00 | 2.00 | 4.00 | 8.00 | 16.00 | 1.00 | 2.00 | 4.00 | 8.00 | 16.00 | 2.00 | 4.00 | 8.00 | 16.00 | |||||||||||||
| vfsgnjx.vv v8,v16,v24,v0.t | 1.00 | 1.00 | 2.00 | 4.00 | 8.00 | 16.00 | 1.00 | 2.00 | 4.00 | 8.00 | 16.00 | 2.00 | 4.00 | 8.00 | 16.00 | |||||||||||||
| vfsgnjx.vf v8,v16,ft0 | 1.00 | 1.00 | 2.00 | 4.00 | 8.00 | 16.00 | 1.00 | 2.00 | 4.00 | 8.00 | 16.00 | 2.00 | 4.00 | 8.00 | 16.00 | |||||||||||||
| vfsgnjx.vf v8,v16,ft0,v0.t | 1.00 | 1.00 | 2.00 | 4.00 | 8.00 | 16.00 | 1.00 | 2.00 | 4.00 | 8.00 | 16.00 | 2.00 | 4.00 | 8.00 | 16.00 | |||||||||||||
| vfslide1up.vf v8,v16,ft0 | 1.00 | 1.00 | 2.00 | 4.00 | 8.00 | 16.00 | 1.00 | 2.00 | 4.00 | 8.00 | 16.00 | 2.00 | 4.00 | 8.00 | 16.00 | |||||||||||||
| vfslide1up.vf v8,v16,ft0,v0.t | 1.00 | 1.00 | 2.00 | 4.00 | 8.00 | 16.00 | 1.00 | 2.00 | 4.00 | 8.00 | 16.00 | 2.00 | 4.00 | 8.00 | 16.00 | |||||||||||||
| vfslide1down.vf v8,v16,ft0 | 1.00 | 1.00 | 3.00 | 5.00 | 9.00 | 17.00 | 1.00 | 3.00 | 5.00 | 9.00 | 17.00 | 3.00 | 5.00 | 9.00 | 17.00 | |||||||||||||
| vfslide1down.vf v8,v16,ft0,v0.t | 1.00 | 1.00 | 3.00 | 5.00 | 9.00 | 17.00 | 1.00 | 3.00 | 5.00 | 9.00 | 17.00 | 3.00 | 5.00 | 9.00 | 17.00 | |||||||||||||
| vfredusum.vs v8,v16,v24 | 8.00 | 8.00 | 8.00 | 14.00 | 20.00 | 56.99 | 5.00 | 6.50 | 11.00 | 17.00 | 53.99 | 4.00 | 7.00 | 15.50 | 52.00 | |||||||||||||
| vfredusum.vs v8,v16,v24,v0.t | 8.00 | 8.00 | 8.00 | 14.00 | 20.00 | 56.99 | 5.00 | 6.50 | 11.00 | 17.00 | 53.99 | 4.00 | 7.00 | 15.50 | 52.00 | |||||||||||||
| vfredosum.vs v8,v16,v24 | 8.00 | 20.00 | 23.00 | 47.00 | 95.98 | 383.65 | 8.00 | 11.00 | 23.00 | 47.99 | 191.90 | 5.50 | 11.50 | 24.50 | 96.98 | |||||||||||||
| vfredosum.vs v8,v16,v24,v0.t | 8.00 | 20.00 | 23.00 | 47.00 | 95.98 | 383.67 | 8.00 | 11.00 | 23.00 | 47.99 | 191.90 | 5.50 | 11.50 | 24.50 | 96.98 | |||||||||||||
| vfredmin.vs v8,v16,v24 | 8.00 | 8.00 | 8.00 | 14.00 | 20.00 | 57.00 | 5.00 | 6.50 | 11.00 | 17.00 | 53.99 | 4.00 | 7.00 | 14.00 | 51.00 | |||||||||||||
| vfredmin.vs v8,v16,v24,v0.t | 8.00 | 8.00 | 8.00 | 14.00 | 20.00 | 57.00 | 5.00 | 6.50 | 11.00 | 17.00 | 53.99 | 4.00 | 7.00 | 14.00 | 51.00 | |||||||||||||
| vfredmax.vs v8,v16,v24 | 8.00 | 8.00 | 8.00 | 14.00 | 20.00 | 56.99 | 5.00 | 6.50 | 11.00 | 17.00 | 53.99 | 4.00 | 7.00 | 14.00 | 51.00 | |||||||||||||
| vfredmax.vs v8,v16,v24,v0.t | 8.00 | 8.00 | 8.00 | 14.00 | 20.00 | 57.00 | 5.00 | 6.50 | 11.00 | 17.00 | 53.99 | 4.00 | 7.00 | 14.00 | 51.00 | |||||||||||||
| vfmerge.vfm v8,v16,ft0,v0 | 1.00 | 1.00 | 2.00 | 4.00 | 8.00 | 16.00 | 1.00 | 2.00 | 4.00 | 8.00 | 16.00 | 2.00 | 4.00 | 8.00 | 16.00 | |||||||||||||
| vfmv.v.f v8,ft0 | 1.00 | 1.00 | 2.00 | 4.00 | 8.00 | 16.00 | 1.00 | 2.00 | 4.00 | 8.00 | 16.00 | 2.00 | 4.00 | 8.00 | 16.00 | |||||||||||||
| vmfeq.vv v8,v16,v24 | 1.00 | 1.00 | 2.00 | 2.50 | 5.00 | 18.00 | 1.00 | 2.00 | 2.50 | 5.00 | 18.00 | 2.00 | 2.50 | 5.00 | 18.00 | |||||||||||||
| vmfeq.vv v8,v16,v24,v0.t | 1.00 | 1.00 | 2.00 | 2.50 | 5.00 | 18.00 | 1.00 | 2.00 | 2.50 | 5.00 | 18.00 | 2.00 | 2.50 | 5.00 | 18.00 | |||||||||||||
| vmfeq.vf v8,v16,ft0 | 1.00 | 1.00 | 2.00 | 2.50 | 5.00 | 18.00 | 1.00 | 2.00 | 2.50 | 5.00 | 18.00 | 2.00 | 2.50 | 5.00 | 18.00 | |||||||||||||
| vmfeq.vf v8,v16,ft0,v0.t | 1.00 | 1.00 | 2.00 | 2.50 | 5.00 | 18.00 | 1.00 | 2.00 | 2.50 | 5.00 | 18.00 | 2.00 | 2.50 | 5.00 | 18.00 | |||||||||||||
| vmfle.vv v8,v16,v24 | 1.00 | 1.00 | 2.00 | 2.50 | 5.00 | 18.00 | 1.00 | 2.00 | 2.50 | 5.00 | 18.00 | 2.00 | 2.50 | 5.00 | 18.00 | |||||||||||||
| vmfle.vv v8,v16,v24,v0.t | 1.00 | 1.00 | 2.00 | 2.50 | 5.00 | 18.00 | 1.00 | 2.00 | 2.50 | 5.00 | 18.00 | 2.00 | 2.50 | 5.00 | 18.00 | |||||||||||||
| vmfle.vf v8,v16,ft0 | 1.00 | 1.00 | 2.00 | 2.50 | 5.00 | 18.00 | 1.00 | 2.00 | 2.50 | 5.00 | 18.00 | 2.00 | 2.50 | 5.00 | 18.00 | |||||||||||||
| vmfle.vf v8,v16,ft0,v0.t | 1.00 | 1.00 | 2.00 | 2.50 | 5.00 | 18.00 | 1.00 | 2.00 | 2.50 | 5.00 | 18.00 | 2.00 | 2.50 | 5.00 | 18.00 | |||||||||||||
| vmflt.vv v8,v16,v24 | 1.00 | 1.00 | 2.00 | 2.50 | 5.00 | 18.00 | 1.00 | 2.00 | 2.50 | 5.00 | 18.00 | 2.00 | 2.50 | 5.00 | 18.00 | |||||||||||||
| vmflt.vv v8,v16,v24,v0.t | 1.00 | 1.00 | 2.00 | 2.50 | 5.00 | 18.00 | 1.00 | 2.00 | 2.50 | 5.00 | 18.00 | 2.00 | 2.50 | 5.00 | 18.00 | |||||||||||||
| vmflt.vf v8,v16,ft0 | 1.00 | 1.00 | 2.00 | 2.50 | 5.00 | 18.00 | 1.00 | 2.00 | 2.50 | 5.00 | 18.00 | 2.00 | 2.50 | 5.00 | 18.00 | |||||||||||||
| vmflt.vf v8,v16,ft0,v0.t | 1.00 | 1.00 | 2.00 | 2.50 | 5.00 | 18.00 | 1.00 | 2.00 | 2.50 | 5.00 | 18.00 | 2.00 | 2.50 | 5.00 | 18.00 | |||||||||||||
| vmfne.vv v8,v16,v24 | 1.00 | 1.00 | 2.00 | 2.50 | 5.00 | 18.00 | 1.00 | 2.00 | 2.50 | 5.00 | 18.00 | 2.00 | 2.50 | 5.00 | 18.00 | |||||||||||||
| vmfne.vv v8,v16,v24,v0.t | 1.00 | 1.00 | 2.00 | 2.50 | 5.00 | 18.00 | 1.00 | 2.00 | 2.50 | 5.00 | 18.00 | 2.00 | 2.50 | 5.00 | 18.00 | |||||||||||||
| vmfne.vf v8,v16,ft0 | 1.00 | 1.00 | 2.00 | 2.50 | 5.00 | 18.00 | 1.00 | 2.00 | 2.50 | 5.00 | 18.00 | 2.00 | 2.50 | 5.00 | 18.00 | |||||||||||||
| vmfne.vf v8,v16,ft0,v0.t | 1.00 | 1.00 | 2.00 | 2.50 | 5.00 | 18.00 | 1.00 | 2.00 | 2.50 | 5.00 | 18.00 | 2.00 | 2.50 | 5.00 | 18.00 | |||||||||||||
| vmfgt.vv v8,v16,v24 | 1.00 | 1.00 | 2.00 | 2.50 | 5.00 | 18.00 | 1.00 | 2.00 | 2.50 | 5.00 | 18.00 | 2.00 | 2.50 | 5.00 | 18.00 | |||||||||||||
| vmfgt.vv v8,v16,v24,v0.t | 1.00 | 1.00 | 2.00 | 2.50 | 5.00 | 18.00 | 1.00 | 2.00 | 2.50 | 5.00 | 18.00 | 2.00 | 2.50 | 5.00 | 18.00 | |||||||||||||
| vmfgt.vf v8,v16,ft0 | 1.00 | 1.00 | 2.00 | 2.50 | 5.00 | 18.00 | 1.00 | 2.00 | 2.50 | 5.00 | 18.00 | 2.00 | 2.50 | 5.00 | 18.00 | |||||||||||||
| vmfgt.vf v8,v16,ft0,v0.t | 1.00 | 1.00 | 2.00 | 2.50 | 5.00 | 18.00 | 1.00 | 2.00 | 2.50 | 5.00 | 18.00 | 2.00 | 2.50 | 5.00 | 18.00 | |||||||||||||
| vmfge.vv v8,v16,v24 | 1.00 | 1.00 | 2.00 | 2.50 | 5.00 | 18.00 | 1.00 | 2.00 | 2.50 | 5.00 | 18.00 | 2.00 | 2.50 | 5.00 | 18.00 | |||||||||||||
| vmfge.vv v8,v16,v24,v0.t | 1.00 | 1.00 | 2.00 | 2.50 | 5.00 | 18.00 | 1.00 | 2.00 | 2.50 | 5.00 | 18.00 | 2.00 | 2.50 | 5.00 | 18.00 | |||||||||||||
| vmfge.vf v8,v16,ft0 | 1.00 | 1.00 | 2.00 | 2.50 | 5.00 | 18.00 | 1.00 | 2.00 | 2.50 | 5.00 | 18.00 | 2.00 | 2.50 | 5.00 | 18.00 | |||||||||||||
| vmfge.vf v8,v16,ft0,v0.t | 1.00 | 1.00 | 2.00 | 2.50 | 5.00 | 18.00 | 1.00 | 2.00 | 2.50 | 5.00 | 18.00 | 2.00 | 2.50 | 5.00 | 18.00 | |||||||||||||
| vfdiv.vv v8,v16,v24 | 13.88 | 13.78 | 21.29 | 37.39 | 68.63 | 130.15 | 18.09 | 24.48 | 36.59 | 61.34 | 109.78 | 39.00 | 51.00 | 74.99 | 122.97 | |||||||||||||
| vfdiv.vv v8,v16,v24,v0.t | 10.80 | 10.81 | 18.55 | 34.23 | 65.01 | 128.35 | 12.15 | 18.35 | 31.04 | 55.64 | 103.62 | 25.51 | 37.49 | 61.63 | 109.64 | |||||||||||||
| vfdiv.vf v8,v16,ft0 | 7.03 | 7.21 | 14.17 | 28.61 | 56.24 | 110.99 | 11.15 | 17.47 | 30.26 | 54.45 | 100.94 | 15.37 | 24.00 | 48.00 | 95.99 | |||||||||||||
| vfdiv.vf v8,v16,ft0,v0.t | 7.10 | 7.06 | 14.23 | 28.64 | 56.17 | 112.79 | 8.62 | 14.56 | 27.22 | 52.04 | 98.24 | 13.68 | 24.00 | 48.00 | 95.99 | |||||||||||||
| vfrdiv.vf v8,v16,ft0 | 7.14 | 7.25 | 14.19 | 28.05 | 56.24 | 115.33 | 11.40 | 17.08 | 30.26 | 54.37 | 105.74 | 15.37 | 24.00 | 48.00 | 95.99 | |||||||||||||
| vfrdiv.vf v8,v16,ft0,v0.t | 7.03 | 7.18 | 14.19 | 28.12 | 57.14 | 114.89 | 8.56 | 14.60 | 27.30 | 51.74 | 99.14 | 13.70 | 24.00 | 48.00 | 95.99 | |||||||||||||
| vfmul.vv v8,v16,v24 | 1.00 | 1.00 | 1.00 | 2.00 | 4.00 | 8.00 | 1.00 | 1.00 | 2.00 | 4.00 | 8.00 | 1.00 | 2.00 | 4.00 | 8.00 | |||||||||||||
| vfmul.vv v8,v16,v24,v0.t | 1.00 | 1.00 | 1.00 | 2.00 | 4.00 | 8.00 | 1.00 | 1.00 | 2.00 | 4.00 | 8.00 | 1.00 | 2.00 | 4.00 | 8.00 | |||||||||||||
| vfmul.vf v8,v16,ft0 | 1.00 | 1.00 | 1.00 | 2.00 | 4.00 | 8.00 | 1.00 | 1.00 | 2.00 | 4.00 | 8.00 | 1.00 | 2.00 | 4.00 | 8.00 | |||||||||||||
| vfmul.vf v8,v16,ft0,v0.t | 1.00 | 1.00 | 1.00 | 2.00 | 4.00 | 8.00 | 1.00 | 1.00 | 2.00 | 4.00 | 8.00 | 1.00 | 2.00 | 4.00 | 8.00 | |||||||||||||
| vfrsub.vf v8,v16,ft0 | 1.00 | 1.00 | 1.00 | 2.00 | 4.00 | 8.00 | 1.00 | 1.00 | 2.00 | 4.00 | 8.00 | 1.00 | 2.00 | 4.00 | 8.00 | |||||||||||||
| vfrsub.vf v8,v16,ft0,v0.t | 1.00 | 1.00 | 1.00 | 2.00 | 4.00 | 8.00 | 1.00 | 1.00 | 2.00 | 4.00 | 8.00 | 1.00 | 2.00 | 4.00 | 8.00 | |||||||||||||
| vfmadd.vv v8,v16,v24 | 1.00 | 1.00 | 1.00 | 2.00 | 4.00 | 8.00 | 1.00 | 1.00 | 2.00 | 4.00 | 8.00 | 1.00 | 2.00 | 4.00 | 8.00 | |||||||||||||
| vfmadd.vv v8,v16,v24,v0.t | 1.00 | 1.00 | 1.00 | 2.00 | 4.00 | 8.00 | 1.00 | 1.00 | 2.00 | 4.00 | 8.00 | 1.00 | 2.00 | 4.00 | 8.00 | |||||||||||||
| vfmadd.vf v8,ft0,v16 | 1.00 | 1.00 | 1.00 | 2.00 | 4.00 | 8.00 | 1.00 | 1.00 | 2.00 | 4.00 | 8.00 | 1.00 | 2.00 | 4.00 | 8.00 | |||||||||||||
| vfmadd.vf v8,ft0,v16,v0.t | 1.00 | 1.00 | 1.00 | 2.00 | 4.00 | 8.00 | 1.00 | 1.00 | 2.00 | 4.00 | 8.00 | 1.00 | 2.00 | 4.00 | 8.00 | |||||||||||||
| vfmsub.vv v8,v16,v24 | 1.00 | 1.00 | 1.00 | 2.00 | 4.00 | 8.00 | 1.00 | 1.00 | 2.00 | 4.00 | 8.00 | 1.00 | 2.00 | 4.00 | 8.00 | |||||||||||||
| vfmsub.vv v8,v16,v24,v0.t | 1.00 | 1.00 | 1.00 | 2.00 | 4.00 | 8.00 | 1.00 | 1.00 | 2.00 | 4.00 | 8.00 | 1.00 | 2.00 | 4.00 | 8.00 | |||||||||||||
| vfmsub.vf v8,ft0,v16 | 1.00 | 1.00 | 1.00 | 2.00 | 4.00 | 8.00 | 1.00 | 1.00 | 2.00 | 4.00 | 8.00 | 1.00 | 2.00 | 4.00 | 8.00 | |||||||||||||
| vfmsub.vf v8,ft0,v16,v0.t | 1.00 | 1.00 | 1.00 | 2.00 | 4.00 | 8.00 | 1.00 | 1.00 | 2.00 | 4.00 | 8.00 | 1.00 | 2.00 | 4.00 | 8.00 | |||||||||||||
| vfmacc.vv v8,v16,v24 | 1.00 | 1.00 | 1.00 | 2.00 | 4.00 | 8.00 | 1.00 | 1.00 | 2.00 | 4.00 | 8.00 | 1.00 | 2.00 | 4.00 | 8.00 | |||||||||||||
| vfmacc.vv v8,v16,v24,v0.t | 1.00 | 1.00 | 1.00 | 2.00 | 4.00 | 8.00 | 1.00 | 1.00 | 2.00 | 4.00 | 8.00 | 1.00 | 2.00 | 4.00 | 8.00 | |||||||||||||
| vfmacc.vf v8,ft0,v16 | 1.00 | 1.00 | 1.00 | 2.00 | 4.00 | 8.00 | 1.00 | 1.00 | 2.00 | 4.00 | 8.00 | 1.00 | 2.00 | 4.00 | 8.00 | |||||||||||||
| vfmacc.vf v8,ft0,v16,v0.t | 1.00 | 1.00 | 1.00 | 2.00 | 4.00 | 8.00 | 1.00 | 1.00 | 2.00 | 4.00 | 8.00 | 1.00 | 2.00 | 4.00 | 8.00 | |||||||||||||
| vfmsac.vv v8,v16,v24 | 1.00 | 1.00 | 1.00 | 2.00 | 4.00 | 8.00 | 1.00 | 1.00 | 2.00 | 4.00 | 8.00 | 1.00 | 2.00 | 4.00 | 8.00 | |||||||||||||
| vfmsac.vv v8,v16,v24,v0.t | 1.00 | 1.00 | 1.00 | 2.00 | 4.00 | 8.00 | 1.00 | 1.00 | 2.00 | 4.00 | 8.00 | 1.00 | 2.00 | 4.00 | 8.00 | |||||||||||||
| vfmsac.vf v8,ft0,v16 | 1.00 | 1.00 | 1.00 | 2.00 | 4.00 | 8.00 | 1.00 | 1.00 | 2.00 | 4.00 | 8.00 | 1.00 | 2.00 | 4.00 | 8.00 | |||||||||||||
| vfmsac.vf v8,ft0,v16,v0.t | 1.00 | 1.00 | 1.00 | 2.00 | 4.00 | 8.00 | 1.00 | 1.00 | 2.00 | 4.00 | 8.00 | 1.00 | 2.00 | 4.00 | 8.00 | |||||||||||||
| vfnmsac.vv v8,v16,v24 | 1.00 | 1.00 | 1.00 | 2.00 | 5.00 | 1.00 | 1.00 | 2.00 | 5.00 | |||||||||||||||||||
| vfnmsac.vv v8,v16,v24,v0.t | 1.00 | 1.00 | 1.00 | 2.00 | 5.00 | 1.00 | 1.00 | 2.00 | 5.00 | |||||||||||||||||||
| vfnmsac.vf v8,ft0,v16 | 1.00 | 1.00 | 1.00 | 2.00 | 5.00 | 1.00 | 1.00 | 2.00 | 5.00 | |||||||||||||||||||
| vfnmsac.vf v8,ft0,v16,v0.t | 1.00 | 1.00 | 1.00 | 2.00 | 5.00 | 1.00 | 1.00 | 2.00 | 5.00 | |||||||||||||||||||
| vfnmacc.vv v8,v16,v24 | 1.00 | 1.00 | 1.00 | 2.00 | 5.00 | 1.00 | 1.00 | 2.00 | 5.00 | |||||||||||||||||||
| vfnmacc.vv v8,v16,v24,v0.t | 1.00 | 1.00 | 1.00 | 2.00 | 5.00 | 1.00 | 1.00 | 2.00 | 5.00 | |||||||||||||||||||
| vfnmacc.vf v8,ft0,v16 | 1.00 | 1.00 | 1.00 | 2.00 | 5.00 | 1.00 | 1.00 | 2.00 | 5.00 | |||||||||||||||||||
| vfnmacc.vf v8,ft0,v16,v0.t | 1.00 | 1.00 | 1.00 | 2.00 | 5.00 | 1.00 | 1.00 | 2.00 | 5.00 | |||||||||||||||||||
| vfnmsub.vv v8,v16,v24 | 1.00 | 1.00 | 1.00 | 2.00 | 5.00 | 1.00 | 1.00 | 2.00 | 5.00 | |||||||||||||||||||
| vfnmsub.vv v8,v16,v24,v0.t | 1.00 | 1.00 | 1.00 | 2.00 | 5.00 | 1.00 | 1.00 | 2.00 | 5.00 | |||||||||||||||||||
| vfnmsub.vf v8,ft0,v16 | 1.00 | 1.00 | 1.00 | 2.00 | 5.00 | 1.00 | 1.00 | 2.00 | 5.00 | |||||||||||||||||||
| vfnmsub.vf v8,ft0,v16,v0.t | 1.00 | 1.00 | 1.00 | 2.00 | 5.00 | 1.00 | 1.00 | 2.00 | 5.00 | |||||||||||||||||||
| vfnmadd.vv v8,v16,v24 | 1.00 | 1.00 | 1.00 | 2.00 | 5.00 | 1.00 | 1.00 | 2.00 | 5.00 | |||||||||||||||||||
| vfnmadd.vv v8,v16,v24,v0.t | 1.00 | 1.00 | 1.00 | 2.00 | 5.00 | 1.00 | 1.00 | 2.00 | 5.00 | |||||||||||||||||||
| vfnmadd.vf v8,ft0,v16 | 1.00 | 1.00 | 1.00 | 2.00 | 5.00 | 1.00 | 1.00 | 2.00 | 5.00 | |||||||||||||||||||
| vfnmadd.vf v8,ft0,v16,v0.t | 1.00 | 1.00 | 1.00 | 2.00 | 5.00 | 1.00 | 1.00 | 2.00 | 5.00 | |||||||||||||||||||
| vwredsumu.vs v8,v16,v24 | 1.00 | 1.00 | 1.00 | 1.00 | 2.00 | 5.50 | 19.00 | 1.00 | 1.00 | 1.00 | 2.00 | 5.50 | 19.00 | 1.00 | 1.00 | 2.00 | 5.50 | 19.00 | ||||||||||
| vwredsumu.vs v8,v16,v24,v0.t | 1.00 | 1.00 | 1.00 | 1.00 | 2.00 | 5.50 | 19.00 | 1.00 | 1.00 | 1.00 | 2.00 | 5.50 | 19.00 | 1.00 | 1.00 | 2.00 | 5.50 | 19.00 | ||||||||||
| vwredsum.vs v8,v16,v24 | 1.00 | 1.00 | 1.00 | 1.00 | 2.00 | 5.50 | 19.00 | 1.00 | 1.00 | 1.00 | 2.00 | 5.50 | 19.00 | 1.00 | 1.00 | 2.00 | 5.50 | 19.00 | ||||||||||
| vwredsum.vs v8,v16,v24,v0.t | 1.00 | 1.00 | 1.00 | 1.00 | 2.00 | 5.50 | 19.00 | 1.00 | 1.00 | 1.00 | 2.00 | 5.50 | 19.00 | 1.00 | 1.00 | 2.00 | 5.50 | 19.00 | ||||||||||
| vfwadd.vv v8,v16,v24 | 1.00 | 2.00 | 2.00 | 4.00 | 8.00 | 2.00 | 2.00 | 4.00 | 8.00 | |||||||||||||||||||
| vfwadd.vv v8,v16,v24,v0.t | 1.00 | 2.00 | 2.00 | 4.00 | 8.00 | 2.00 | 2.00 | 4.00 | 8.00 | |||||||||||||||||||
| vfwadd.vf v8,v16,ft0 | 1.00 | 2.00 | 2.00 | 4.00 | 8.00 | 2.00 | 2.00 | 4.00 | 8.00 | |||||||||||||||||||
| vfwadd.vf v8,v16,ft0,v0.t | 1.00 | 2.00 | 2.00 | 4.00 | 8.00 | 2.00 | 2.00 | 4.00 | 8.00 | |||||||||||||||||||
| vfwsub.vv v8,v16,v24 | 1.00 | 2.00 | 2.00 | 4.00 | 8.00 | 2.00 | 2.00 | 4.00 | 8.00 | |||||||||||||||||||
| vfwsub.vv v8,v16,v24,v0.t | 1.00 | 2.00 | 2.00 | 4.00 | 8.00 | 2.00 | 2.00 | 4.00 | 8.00 | |||||||||||||||||||
| vfwsub.vf v8,v16,ft0 | 1.00 | 2.00 | 2.00 | 4.00 | 8.00 | 2.00 | 2.00 | 4.00 | 8.00 | |||||||||||||||||||
| vfwsub.vf v8,v16,ft0,v0.t | 1.00 | 2.00 | 2.00 | 4.00 | 8.00 | 2.00 | 2.00 | 4.00 | 8.00 | |||||||||||||||||||
| vfwadd.wv v8,v16,v24 | 2.00 | 2.00 | 4.00 | 8.00 | 16.00 | 2.00 | 4.00 | 8.00 | 16.00 | |||||||||||||||||||
| vfwadd.wv v8,v16,v24,v0.t | 2.00 | 2.00 | 4.00 | 8.00 | 16.00 | 2.00 | 4.00 | 8.00 | 16.00 | |||||||||||||||||||
| vfwadd.wf v8,v16,ft0 | 2.00 | 2.00 | 4.00 | 8.00 | 16.00 | 2.00 | 4.00 | 8.00 | 16.00 | |||||||||||||||||||
| vfwadd.wf v8,v16,ft0,v0.t | 2.00 | 2.00 | 4.00 | 8.00 | 16.00 | 2.00 | 4.00 | 8.00 | 16.00 | |||||||||||||||||||
| vfwsub.wv v8,v16,v24 | 2.00 | 2.00 | 4.00 | 8.00 | 16.00 | 2.00 | 4.00 | 8.00 | 16.00 | |||||||||||||||||||
| vfwsub.wv v8,v16,v24,v0.t | 2.00 | 2.00 | 4.00 | 8.00 | 16.00 | 2.00 | 4.00 | 8.00 | 16.00 | |||||||||||||||||||
| vfwsub.wf v8,v16,ft0 | 2.00 | 2.00 | 4.00 | 8.00 | 16.00 | 2.00 | 4.00 | 8.00 | 16.00 | |||||||||||||||||||
| vfwsub.wf v8,v16,ft0,v0.t | 2.00 | 2.00 | 4.00 | 8.00 | 16.00 | 2.00 | 4.00 | 8.00 | 16.00 | |||||||||||||||||||
| vfwmul.vv v8,v16,v24 | 1.00 | 2.00 | 2.00 | 4.00 | 8.00 | 2.00 | 2.00 | 4.00 | 8.00 | |||||||||||||||||||
| vfwmul.vv v8,v16,v24,v0.t | 1.00 | 2.00 | 2.00 | 4.00 | 8.00 | 2.00 | 2.00 | 4.00 | 8.00 | |||||||||||||||||||
| vfwmul.vf v8,v16,ft0 | 1.00 | 2.00 | 2.00 | 4.00 | 8.00 | 2.00 | 2.00 | 4.00 | 8.00 | |||||||||||||||||||
| vfwmul.vf v8,v16,ft0,v0.t | 1.00 | 2.00 | 2.00 | 4.00 | 8.00 | 2.00 | 2.00 | 4.00 | 8.00 | |||||||||||||||||||
| vfwmacc.vv v8,v16,v24 | 1.00 | 2.00 | 2.00 | 4.00 | 8.00 | 2.00 | 2.00 | 4.00 | 8.00 | |||||||||||||||||||
| vfwmacc.vv v8,v16,v24,v0.t | 1.00 | 2.00 | 2.00 | 4.00 | 8.00 | 2.00 | 2.00 | 4.00 | 8.00 | |||||||||||||||||||
| vfwmacc.vf v8,ft0,v16 | 1.00 | 2.00 | 2.00 | 4.00 | 8.00 | 2.00 | 2.00 | 4.00 | 8.00 | |||||||||||||||||||
| vfwmacc.vf v8,ft0,v16,v0.t | 1.00 | 2.00 | 2.00 | 4.00 | 8.00 | 2.00 | 2.00 | 4.00 | 8.00 | |||||||||||||||||||
| vfwnmacc.vv v8,v16,v24 | 1.00 | 2.00 | 2.00 | 4.00 | 8.00 | 2.00 | 2.00 | 4.00 | 8.00 | |||||||||||||||||||
| vfwnmacc.vv v8,v16,v24,v0.t | 1.00 | 2.00 | 2.00 | 4.00 | 8.00 | 2.00 | 2.00 | 4.00 | 8.00 | |||||||||||||||||||
| vfwnmacc.vf v8,ft0,v16 | 1.00 | 2.00 | 2.00 | 4.00 | 8.00 | 2.00 | 2.00 | 4.00 | 8.00 | |||||||||||||||||||
| vfwnmacc.vf v8,ft0,v16,v0.t | 1.00 | 2.00 | 2.00 | 4.00 | 8.00 | 2.00 | 2.00 | 4.00 | 8.00 | |||||||||||||||||||
| vfwmsac.vv v8,v16,v24 | 1.00 | 2.00 | 2.00 | 4.00 | 8.00 | 2.00 | 2.00 | 4.00 | 8.00 | |||||||||||||||||||
| vfwmsac.vv v8,v16,v24,v0.t | 1.00 | 2.00 | 2.00 | 4.00 | 8.00 | 2.00 | 2.00 | 4.00 | 8.00 | |||||||||||||||||||
| vfwmsac.vf v8,ft0,v16 | 1.00 | 2.00 | 2.00 | 4.00 | 8.00 | 2.00 | 2.00 | 4.00 | 8.00 | |||||||||||||||||||
| vfwmsac.vf v8,ft0,v16,v0.t | 1.00 | 2.00 | 2.00 | 4.00 | 8.00 | 2.00 | 2.00 | 4.00 | 8.00 | |||||||||||||||||||
| vfwnmsac.vv v8,v16,v24 | 1.00 | 2.00 | 2.00 | 4.00 | 8.00 | 2.00 | 2.00 | 4.00 | 8.00 | |||||||||||||||||||
| vfwnmsac.vv v8,v16,v24,v0.t | 1.00 | 2.00 | 2.00 | 4.00 | 8.00 | 2.00 | 2.00 | 4.00 | 8.00 | |||||||||||||||||||
| vfwnmsac.vf v8,ft0,v16 | 1.00 | 2.00 | 2.00 | 4.00 | 8.00 | 2.00 | 2.00 | 4.00 | 8.00 | |||||||||||||||||||
| vfwnmsac.vf v8,ft0,v16,v0.t | 1.00 | 2.00 | 2.00 | 4.00 | 8.00 | 2.00 | 2.00 | 4.00 | 8.00 | |||||||||||||||||||
| vfwredosum.vs v8,v16,v24 | 10.00 | 26.00 | 31.00 | 62.99 | 127.96 | 511.34 | 10.00 | 15.00 | 31.00 | 65.99 | 256.83 | |||||||||||||||||
| vfwredosum.vs v8,v16,v24,v0.t | 10.00 | 26.00 | 31.00 | 63.00 | 127.96 | 511.34 | 10.00 | 15.00 | 31.00 | 65.99 | 256.83 | |||||||||||||||||
| vfwredusum.vs v8,v16,v24 | 10.00 | 26.00 | 31.00 | 62.99 | 127.96 | 511.34 | 10.00 | 15.00 | 31.00 | 65.99 | 256.83 | |||||||||||||||||
| vfwredusum.vs v8,v16,v24,v0.t | 10.00 | 26.00 | 31.00 | 63.00 | 127.96 | 511.34 | 10.00 | 15.00 | 31.00 | 65.99 | 256.83 | |||||||||||||||||
| vmv.s.x v8,t0 | 1.06 | 1.06 | 1.06 | 1.06 | 1.06 | 1.54 | 3.00 | 1.06 | 1.06 | 1.06 | 1.06 | 1.54 | 3.00 | 1.06 | 1.06 | 1.06 | 1.54 | 3.00 | 1.06 | 1.06 | 1.54 | 3.00 | ||||||
| vmv.x.s t0,v8 | 6.00 | 6.00 | 6.00 | 6.00 | 6.00 | 6.00 | 6.00 | 6.00 | 6.00 | 6.00 | 6.00 | 6.00 | 6.00 | 6.00 | 6.00 | 6.00 | 6.00 | 6.00 | 6.00 | 6.00 | 6.00 | 6.00 | ||||||
| vcpop.m t0,v8 | 6.00 | 6.00 | 6.00 | 6.00 | 6.00 | 6.00 | 7.00 | 6.00 | 6.00 | 6.00 | 6.00 | 6.00 | 6.00 | 6.00 | 6.00 | 6.00 | 6.00 | 6.00 | 6.00 | 6.00 | 6.00 | 6.00 | ||||||
| vcpop.m t0,v8,v0.t | 6.00 | 6.00 | 6.00 | 6.00 | 6.00 | 6.00 | 7.00 | 6.00 | 6.00 | 6.00 | 6.00 | 6.00 | 6.00 | 6.00 | 6.00 | 6.00 | 6.00 | 6.00 | 6.00 | 6.00 | 6.00 | 6.00 | ||||||
| vfirst.m t0,v8 | 6.00 | 6.00 | 6.00 | 6.00 | 6.00 | 6.00 | 7.00 | 6.00 | 6.00 | 6.00 | 6.00 | 6.00 | 6.00 | 6.00 | 6.00 | 6.00 | 6.00 | 6.00 | 6.00 | 6.00 | 6.00 | 6.00 | ||||||
| vfirst.m t0,v8,v0.t | 6.00 | 6.00 | 6.00 | 6.00 | 6.00 | 6.00 | 7.00 | 6.00 | 6.00 | 6.00 | 6.00 | 6.00 | 6.00 | 6.00 | 6.00 | 6.00 | 6.00 | 6.00 | 6.00 | 6.00 | 6.00 | 6.00 | ||||||
| vzext.vf2 v8,v16 | 1.00 | 1.00 | 2.00 | 4.00 | 8.00 | 16.00 | 1.00 | 2.00 | 4.00 | 8.00 | 16.00 | 2.00 | 4.00 | 8.00 | 16.00 | |||||||||||||
| vzext.vf2 v8,v16,v0.t | 1.00 | 1.00 | 2.00 | 4.00 | 8.00 | 16.00 | 1.00 | 2.00 | 4.00 | 8.00 | 16.00 | 2.00 | 4.00 | 8.00 | 16.00 | |||||||||||||
| vsext.vf2 v8,v16 | 1.00 | 1.00 | 2.00 | 4.00 | 8.00 | 16.00 | 1.00 | 2.00 | 4.00 | 8.00 | 16.00 | 2.00 | 4.00 | 8.00 | 16.00 | |||||||||||||
| vsext.vf2 v8,v16,v0.t | 1.00 | 1.00 | 2.00 | 4.00 | 8.00 | 16.00 | 1.00 | 2.00 | 4.00 | 8.00 | 16.00 | 2.00 | 4.00 | 8.00 | 16.00 | |||||||||||||
| vzext.vf4 v8,v16 | 1.00 | 2.00 | 4.00 | 8.00 | 16.00 | 2.00 | 4.00 | 8.00 | 16.00 | |||||||||||||||||||
| vzext.vf4 v8,v16,v0.t | 1.00 | 2.00 | 4.00 | 8.00 | 16.00 | 2.00 | 4.00 | 8.00 | 16.00 | |||||||||||||||||||
| vsext.vf4 v8,v16 | 1.00 | 2.00 | 4.00 | 8.00 | 16.00 | 2.00 | 4.00 | 8.00 | 16.00 | |||||||||||||||||||
| vsext.vf4 v8,v16,v0.t | 1.00 | 2.00 | 4.00 | 8.00 | 16.00 | 2.00 | 4.00 | 8.00 | 16.00 | |||||||||||||||||||
| vzext.vf8 v8,v16 | 2.00 | 4.00 | 8.00 | 16.00 | ||||||||||||||||||||||||
| vzext.vf8 v8,v16,v0.t | 2.00 | 4.00 | 8.00 | 16.00 | ||||||||||||||||||||||||
| vsext.vf8 v8,v16 | 2.00 | 4.00 | 8.00 | 16.00 | ||||||||||||||||||||||||
| vsext.vf8 v8,v16,v0.t | 2.00 | 4.00 | 8.00 | 16.00 | ||||||||||||||||||||||||
| vfmv.f.s ft0,v8 | 6.00 | 6.00 | 6.00 | 6.00 | 6.00 | 6.00 | 6.00 | 6.00 | 6.00 | 6.00 | 6.00 | 6.00 | 6.00 | 6.00 | 6.00 | |||||||||||||
| vfmv.s.f v8,ft0 | 1.00 | 1.00 | 1.00 | 1.00 | 1.50 | 3.00 | 1.00 | 1.00 | 1.00 | 1.50 | 3.00 | 1.00 | 1.00 | 1.50 | 3.00 | |||||||||||||
| vfcvt.xu.f.v v8,v16 | 1.00 | 1.00 | 2.00 | 4.00 | 8.00 | 16.00 | 1.00 | 2.00 | 4.00 | 8.00 | 16.00 | 2.00 | 4.00 | 8.00 | 16.00 | |||||||||||||
| vfcvt.xu.f.v v8,v16,v0.t | 1.00 | 1.00 | 2.00 | 4.00 | 8.00 | 16.00 | 1.00 | 2.00 | 4.00 | 8.00 | 16.00 | 2.00 | 4.00 | 8.00 | 16.00 | |||||||||||||
| vfcvt.x.f.v v8,v16 | 1.00 | 1.00 | 2.00 | 4.00 | 8.00 | 16.00 | 1.00 | 2.00 | 4.00 | 8.00 | 16.00 | 2.00 | 4.00 | 8.00 | 16.00 | |||||||||||||
| vfcvt.x.f.v v8,v16,v0.t | 1.00 | 1.00 | 2.00 | 4.00 | 8.00 | 16.00 | 1.00 | 2.00 | 4.00 | 8.00 | 16.00 | 2.00 | 4.00 | 8.00 | 16.00 | |||||||||||||
| vfcvt.f.xu.v v8,v16 | 1.00 | 1.00 | 2.00 | 4.00 | 8.00 | 16.00 | 1.00 | 2.00 | 4.00 | 8.00 | 16.00 | 2.00 | 4.00 | 8.00 | 16.00 | |||||||||||||
| vfcvt.f.xu.v v8,v16,v0.t | 1.00 | 1.00 | 2.00 | 4.00 | 8.00 | 16.00 | 1.00 | 2.00 | 4.00 | 8.00 | 16.00 | 2.00 | 4.00 | 8.00 | 16.00 | |||||||||||||
| vfcvt.f.x.v v8,v16 | 1.00 | 1.00 | 2.00 | 4.00 | 8.00 | 16.00 | 1.00 | 2.00 | 4.00 | 8.00 | 16.00 | 2.00 | 4.00 | 8.00 | 16.00 | |||||||||||||
| vfcvt.f.x.v v8,v16,v0.t | 1.00 | 1.00 | 2.00 | 4.00 | 8.00 | 16.00 | 1.00 | 2.00 | 4.00 | 8.00 | 16.00 | 2.00 | 4.00 | 8.00 | 16.00 | |||||||||||||
| vfcvt.rtz.x.f.v v8,v16 | 1.00 | 1.00 | 2.00 | 4.00 | 8.00 | 16.00 | 1.00 | 2.00 | 4.00 | 8.00 | 16.00 | 2.00 | 4.00 | 8.00 | 16.00 | |||||||||||||
| vfcvt.rtz.x.f.v v8,v16,v0.t | 1.00 | 1.00 | 2.00 | 4.00 | 8.00 | 16.00 | 1.00 | 2.00 | 4.00 | 8.00 | 16.00 | 2.00 | 4.00 | 8.00 | 16.00 | |||||||||||||
| vfcvt.rtz.xu.f.v v8,v16 | 1.00 | 1.00 | 2.00 | 4.00 | 8.00 | 16.00 | 1.00 | 2.00 | 4.00 | 8.00 | 16.00 | 2.00 | 4.00 | 8.00 | 16.00 | |||||||||||||
| vfcvt.rtz.xu.f.v v8,v16,v0.t | 1.00 | 1.00 | 2.00 | 4.00 | 8.00 | 16.00 | 1.00 | 2.00 | 4.00 | 8.00 | 16.00 | 2.00 | 4.00 | 8.00 | 16.00 | |||||||||||||
| vfwcvt.xu.f.v v8,v16 | 1.00 | 2.00 | 4.00 | 8.00 | 16.00 | 2.00 | 4.00 | 8.00 | 16.00 | |||||||||||||||||||
| vfwcvt.xu.f.v v8,v16,v0.t | 1.00 | 2.00 | 4.00 | 8.00 | 16.00 | 2.00 | 4.00 | 8.00 | 16.00 | |||||||||||||||||||
| vfwcvt.x.f.v v8,v16 | 1.00 | 2.00 | 4.00 | 8.00 | 16.00 | 2.00 | 4.00 | 8.00 | 16.00 | |||||||||||||||||||
| vfwcvt.x.f.v v8,v16,v0.t | 1.00 | 2.00 | 4.00 | 8.00 | 16.00 | 2.00 | 4.00 | 8.00 | 16.00 | |||||||||||||||||||
| vfwcvt.f.xu.v v8,v16 | 1.00 | 2.00 | 4.00 | 8.00 | 16.00 | 2.00 | 4.00 | 8.00 | 16.00 | |||||||||||||||||||
| vfwcvt.f.xu.v v8,v16,v0.t | 1.00 | 2.00 | 4.00 | 8.00 | 16.00 | 2.00 | 4.00 | 8.00 | 16.00 | |||||||||||||||||||
| vfwcvt.f.x.v v8,v16 | 1.00 | 2.00 | 4.00 | 8.00 | 16.00 | 2.00 | 4.00 | 8.00 | 16.00 | |||||||||||||||||||
| vfwcvt.f.x.v v8,v16,v0.t | 1.00 | 2.00 | 4.00 | 8.00 | 16.00 | 2.00 | 4.00 | 8.00 | 16.00 | |||||||||||||||||||
| vfwcvt.f.f.v v8,v16 | 1.00 | 2.00 | 4.00 | 8.00 | 16.00 | 2.00 | 4.00 | 8.00 | 16.00 | |||||||||||||||||||
| vfwcvt.f.f.v v8,v16,v0.t | 1.00 | 2.00 | 4.00 | 8.00 | 16.00 | 2.00 | 4.00 | 8.00 | 16.00 | |||||||||||||||||||
| vfwcvt.rtz.xu.f.v v8,v16 | 1.00 | 2.00 | 4.00 | 8.00 | 16.00 | 2.00 | 4.00 | 8.00 | 16.00 | |||||||||||||||||||
| vfwcvt.rtz.xu.f.v v8,v16,v0.t | 1.00 | 2.00 | 4.00 | 8.00 | 16.00 | 2.00 | 4.00 | 8.00 | 16.00 | |||||||||||||||||||
| vfwcvt.rtz.x.f.v v8,v16 | 1.00 | 2.00 | 4.00 | 8.00 | 16.00 | 2.00 | 4.00 | 8.00 | 16.00 | |||||||||||||||||||
| vfwcvt.rtz.x.f.v v8,v16,v0.t | 1.00 | 2.00 | 4.00 | 8.00 | 16.00 | 2.00 | 4.00 | 8.00 | 16.00 | |||||||||||||||||||
| vfncvt.xu.f.w v8,v16 | 1.00 | 2.00 | 4.00 | 8.00 | 16.00 | 2.00 | 4.00 | 8.00 | 16.00 | |||||||||||||||||||
| vfncvt.xu.f.w v8,v16,v0.t | 1.00 | 2.00 | 4.00 | 8.00 | 16.00 | 2.00 | 4.00 | 8.00 | 16.00 | |||||||||||||||||||
| vfncvt.x.f.w v8,v16 | 1.00 | 2.00 | 4.00 | 8.00 | 16.00 | 2.00 | 4.00 | 8.00 | 16.00 | |||||||||||||||||||
| vfncvt.x.f.w v8,v16,v0.t | 1.00 | 2.00 | 4.00 | 8.00 | 16.00 | 2.00 | 4.00 | 8.00 | 16.00 | |||||||||||||||||||
| vfncvt.f.xu.w v8,v16 | 1.00 | 2.00 | 4.00 | 8.00 | 16.00 | 2.00 | 4.00 | 8.00 | 16.00 | |||||||||||||||||||
| vfncvt.f.xu.w v8,v16,v0.t | 1.00 | 2.00 | 4.00 | 8.00 | 16.00 | 2.00 | 4.00 | 8.00 | 16.00 | |||||||||||||||||||
| vfncvt.f.x.w v8,v16 | 1.00 | 2.00 | 4.00 | 8.00 | 16.00 | 2.00 | 4.00 | 8.00 | 16.00 | |||||||||||||||||||
| vfncvt.f.x.w v8,v16,v0.t | 1.00 | 2.00 | 4.00 | 8.00 | 16.00 | 2.00 | 4.00 | 8.00 | 16.00 | |||||||||||||||||||
| vfncvt.f.f.w v8,v16 | 1.00 | 2.00 | 4.00 | 8.00 | 16.00 | 2.00 | 4.00 | 8.00 | 16.00 | |||||||||||||||||||
| vfncvt.f.f.w v8,v16,v0.t | 1.00 | 2.00 | 4.00 | 8.00 | 16.00 | 2.00 | 4.00 | 8.00 | 16.00 | |||||||||||||||||||
| vfncvt.rtz.x.f.w v8,v16 | 1.00 | 2.00 | 4.00 | 8.00 | 16.00 | 2.00 | 4.00 | 8.00 | 16.00 | |||||||||||||||||||
| vfncvt.rtz.x.f.w v8,v16,v0.t | 1.00 | 2.00 | 4.00 | 8.00 | 16.00 | 2.00 | 4.00 | 8.00 | 16.00 | |||||||||||||||||||
| vfncvt.rtz.xu.f.w v8,v16 | 1.00 | 2.00 | 4.00 | 8.00 | 16.00 | 2.00 | 4.00 | 8.00 | 16.00 | |||||||||||||||||||
| vfncvt.rtz.xu.f.w v8,v16,v0.t | 1.00 | 2.00 | 4.00 | 8.00 | 16.00 | 2.00 | 4.00 | 8.00 | 16.00 | |||||||||||||||||||
| vfncvt.rod.f.f.w v8,v16 | 1.00 | 2.00 | 4.00 | 8.00 | 16.00 | 2.00 | 4.00 | 8.00 | 16.00 | |||||||||||||||||||
| vfncvt.rod.f.f.w v8,v16,v0.t | 1.00 | 2.00 | 4.00 | 8.00 | 16.00 | 2.00 | 4.00 | 8.00 | 16.00 | |||||||||||||||||||
| vfsqrt.v v8,v16 | 10.06 | 10.29 | 17.24 | 31.42 | 59.46 | 116.06 | 12.31 | 17.90 | 30.67 | 56.16 | 103.77 | 26.17 | 36.82 | 61.49 | 112.15 | |||||||||||||
| vfsqrt.v v8,v16,v0.t | 8.32 | 8.34 | 15.65 | 29.69 | 57.59 | 115.62 | 8.11 | 14.66 | 26.81 | 50.09 | 98.82 | 16.21 | 27.41 | 48.74 | 101.83 | |||||||||||||
| vfrsqrt7.v v8,v16 | 1.00 | 1.00 | 2.00 | 4.00 | 8.00 | 16.00 | 1.00 | 2.00 | 4.00 | 8.00 | 16.00 | 2.00 | 4.00 | 8.00 | 16.00 | |||||||||||||
| vfrsqrt7.v v8,v16,v0.t | 1.00 | 1.00 | 2.00 | 4.00 | 8.00 | 16.00 | 1.00 | 2.00 | 4.00 | 8.00 | 16.00 | 2.00 | 4.00 | 8.00 | 16.00 | |||||||||||||
| vfrec7.v v8,v16 | 1.00 | 1.00 | 2.00 | 4.00 | 8.00 | 16.00 | 1.00 | 2.00 | 4.00 | 8.00 | 16.00 | 2.00 | 4.00 | 8.00 | 16.00 | |||||||||||||
| vfrec7.v v8,v16,v0.t | 1.00 | 1.00 | 2.00 | 4.00 | 8.00 | 16.00 | 1.00 | 2.00 | 4.00 | 8.00 | 16.00 | 2.00 | 4.00 | 8.00 | 16.00 | |||||||||||||
| vfclass.v v8,v16 | 1.00 | 1.00 | 2.00 | 4.00 | 8.00 | 16.00 | 1.00 | 2.00 | 4.00 | 8.00 | 16.00 | 2.00 | 4.00 | 8.00 | 16.00 | |||||||||||||
| vfclass.v v8,v16,v0.t | 1.00 | 1.00 | 2.00 | 4.00 | 8.00 | 16.00 | 1.00 | 2.00 | 4.00 | 8.00 | 16.00 | 2.00 | 4.00 | 8.00 | 16.00 | |||||||||||||
| vmsbf.m v8,v16 | 1.00 | 1.00 | 1.00 | 1.00 | 1.00 | 1.50 | 3.00 | 1.00 | 1.00 | 1.00 | 1.00 | 1.50 | 3.00 | 1.00 | 1.00 | 1.00 | 1.50 | 3.00 | 1.00 | 1.00 | 1.50 | 3.00 | ||||||
| vmsbf.m v8,v16,v0.t | 1.00 | 1.00 | 1.00 | 1.00 | 1.00 | 1.50 | 3.00 | 1.00 | 1.00 | 1.00 | 1.00 | 1.50 | 3.00 | 1.00 | 1.00 | 1.00 | 1.50 | 3.00 | 1.00 | 1.00 | 1.50 | 3.00 | ||||||
| vmsof.m v8,v16 | 1.00 | 1.00 | 1.00 | 1.00 | 1.00 | 1.50 | 3.00 | 1.00 | 1.00 | 1.00 | 1.00 | 1.50 | 3.00 | 1.00 | 1.00 | 1.00 | 1.50 | 3.00 | 1.00 | 1.00 | 1.50 | 3.00 | ||||||
| vmsof.m v8,v16,v0.t | 1.00 | 1.00 | 1.00 | 1.00 | 1.00 | 1.50 | 3.00 | 1.00 | 1.00 | 1.00 | 1.00 | 1.50 | 3.00 | 1.00 | 1.00 | 1.00 | 1.50 | 3.00 | 1.00 | 1.00 | 1.50 | 3.00 | ||||||
| vmsif.m v8,v16 | 1.00 | 1.00 | 1.00 | 1.00 | 1.00 | 1.50 | 3.00 | 1.00 | 1.00 | 1.00 | 1.00 | 1.50 | 3.00 | 1.00 | 1.00 | 1.00 | 1.50 | 3.00 | 1.00 | 1.00 | 1.50 | 3.00 | ||||||
| vmsif.m v8,v16,v0.t | 1.00 | 1.00 | 1.00 | 1.00 | 1.00 | 1.50 | 3.00 | 1.00 | 1.00 | 1.00 | 1.00 | 1.50 | 3.00 | 1.00 | 1.00 | 1.00 | 1.50 | 3.00 | 1.00 | 1.00 | 1.50 | 3.00 | ||||||
| viota.m v8,v16 | 1.00 | 1.00 | 1.00 | 2.00 | 4.00 | 8.00 | 16.00 | 1.00 | 1.00 | 2.00 | 4.00 | 8.00 | 16.00 | 1.00 | 2.00 | 4.00 | 8.00 | 16.00 | 2.00 | 4.00 | 8.00 | 16.00 | ||||||
| viota.m v8,v16,v0.t | 1.00 | 1.00 | 1.00 | 2.00 | 4.00 | 8.00 | 16.00 | 1.00 | 1.00 | 2.00 | 4.00 | 8.00 | 16.00 | 1.00 | 2.00 | 4.00 | 8.00 | 16.00 | 2.00 | 4.00 | 8.00 | 16.00 | ||||||
| vid.v v8 | 1.00 | 1.00 | 1.00 | 2.00 | 4.00 | 8.00 | 16.00 | 1.00 | 1.00 | 2.00 | 4.00 | 8.00 | 16.00 | 1.00 | 2.00 | 4.00 | 8.00 | 16.00 | 2.00 | 4.00 | 8.00 | 16.00 | ||||||
| vid.v v8,v0.t | 1.00 | 1.00 | 1.00 | 2.00 | 4.00 | 8.00 | 16.00 | 1.00 | 1.00 | 2.00 | 4.00 | 8.00 | 16.00 | 1.00 | 2.00 | 4.00 | 8.00 | 16.00 | 2.00 | 4.00 | 8.00 | 16.00 | ||||||
| vle8.v v8,(t0) | 1.22 | 1.30 | 1.30 | 1.41 | 2.43 | 5.91 | 12.45 | 1.42 | 1.37 | 1.22 | 1.37 | 2.55 | 6.03 | 1.37 | 1.17 | 1.05 | 2.00 | 4.00 | 1.25 | 1.30 | 2.00 | 4.00 | ||||||
| vle8.v v8,(t0),v0.t | 1.25 | 1.20 | 1.35 | 1.22 | 2.32 | 5.89 | 12.45 | 1.25 | 1.20 | 1.17 | 1.41 | 2.70 | 6.12 | 1.32 | 1.12 | 1.37 | 2.00 | 4.00 | 1.20 | 1.20 | 2.00 | 4.00 | ||||||
| vle16.v v8,(t0) | 1.30 | 1.12 | 1.45 | 1.22 | 1.27 | 1.37 | 2.62 | 5.86 | 12.70 | 1.27 | 1.20 | 1.37 | 2.51 | 5.88 | 1.32 | 1.32 | 2.00 | 4.00 | ||||||||||
| vle16.v v8,(t0),v0.t | 1.22 | 1.25 | 1.30 | 1.35 | 1.30 | 1.41 | 2.62 | 5.88 | 12.35 | 1.20 | 1.22 | 1.45 | 2.58 | 5.97 | 1.25 | 1.20 | 2.00 | 4.00 | ||||||||||
| vle32.v v8,(t0) | 1.22 | 1.30 | 1.22 | 1.56 | 1.30 | 1.45 | 2.77 | 5.92 | 12.50 | 1.20 | 1.22 | 2.47 | 5.90 | |||||||||||||||
| vle32.v v8,(t0),v0.t | 1.30 | 1.48 | 1.15 | 1.33 | 1.25 | 1.45 | 2.58 | 5.92 | 12.55 | 1.17 | 1.22 | 2.77 | 6.07 | |||||||||||||||
| vle64.v v8,(t0) | 1.26 | 1.26 | 1.37 | 1.00 | 2.22 | 5.97 | 12.30 | |||||||||||||||||||||
| vle64.v v8,(t0),v0.t | 1.30 | 1.22 | 1.22 | 1.15 | 2.07 | 5.90 | 12.15 | |||||||||||||||||||||
| vse8.v v8,(t0) | 1.27 | 1.40 | 1.40 | 2.55 | 4.40 | 9.65 | 16.87 | 1.25 | 1.17 | 1.60 | 2.50 | 4.40 | 10.17 | 1.35 | 1.45 | 1.50 | 2.55 | 4.45 | 1.12 | 1.32 | 1.50 | 2.15 | ||||||
| vse8.v v8,(t0),v0.t | 1.22 | 1.17 | 1.50 | 2.45 | 4.50 | 9.18 | 17.05 | 1.40 | 1.17 | 1.70 | 2.45 | 4.40 | 10.77 | 1.27 | 1.40 | 1.70 | 2.65 | 4.55 | 1.30 | 1.12 | 1.30 | 2.35 | ||||||
| vse16.v v8,(t0) | 1.32 | 1.65 | 2.85 | 1.45 | 1.40 | 2.85 | 4.45 | 9.75 | 16.80 | 1.35 | 1.55 | 2.55 | 4.50 | 9.25 | 1.35 | 1.35 | 2.55 | 4.60 | ||||||||||
| vse16.v v8,(t0),v0.t | 1.40 | 1.45 | 2.75 | 1.17 | 1.65 | 2.35 | 4.50 | 10.05 | 16.96 | 1.27 | 1.45 | 2.25 | 4.80 | 9.90 | 1.25 | 1.60 | 2.50 | 4.45 | ||||||||||
| vse32.v v8,(t0) | 1.65 | 2.65 | 1.50 | 2.35 | 1.25 | 2.75 | 4.10 | 10.20 | 17.27 | 1.45 | 2.35 | 4.45 | 9.19 | |||||||||||||||
| vse32.v v8,(t0),v0.t | 1.65 | 2.25 | 1.35 | 2.20 | 1.70 | 2.55 | 4.75 | 9.50 | 18.15 | 1.65 | 2.50 | 4.50 | 9.60 | |||||||||||||||
| vse64.v v8,(t0) | 2.30 | 2.60 | 2.45 | 2.20 | 4.15 | 9.20 | 17.10 | |||||||||||||||||||||
| vse64.v v8,(t0),v0.t | 2.85 | 2.61 | 2.25 | 2.35 | 4.25 | 8.55 | 17.55 | |||||||||||||||||||||
| vle8ff.v v8,(t0) | 1.27 | 1.12 | 1.35 | 1.18 | 2.62 | 5.88 | 12.55 | 1.20 | 1.27 | 1.30 | 1.37 | 2.66 | 6.07 | 1.15 | 1.35 | 1.20 | 2.00 | 4.00 | 1.37 | 1.10 | 2.00 | 4.00 | ||||||
| vle8ff.v v8,(t0),v0.t | 1.12 | 1.22 | 1.20 | 1.33 | 2.77 | 5.93 | 12.55 | 1.32 | 1.22 | 1.17 | 1.30 | 2.62 | 5.99 | 1.30 | 1.25 | 1.30 | 2.00 | 4.00 | 1.35 | 1.30 | 2.00 | 4.00 | ||||||
| vle16ff.v v8,(t0) | 1.25 | 1.22 | 1.33 | 1.32 | 1.22 | 1.30 | 2.51 | 5.94 | 12.40 | 1.15 | 1.22 | 1.26 | 2.47 | 5.86 | 1.22 | 1.30 | 2.00 | 4.00 | ||||||||||
| vle16ff.v v8,(t0),v0.t | 1.32 | 1.22 | 1.41 | 1.15 | 1.32 | 1.37 | 2.55 | 5.91 | 12.45 | 1.17 | 1.15 | 1.56 | 2.58 | 5.97 | 1.25 | 1.40 | 2.00 | 4.00 | ||||||||||
| vle32ff.v v8,(t0) | 1.15 | 1.37 | 1.27 | 1.37 | 1.12 | 1.45 | 2.36 | 5.91 | 12.45 | 1.30 | 1.63 | 2.66 | 6.07 | |||||||||||||||
| vle32ff.v v8,(t0),v0.t | 1.32 | 1.30 | 1.27 | 1.45 | 1.27 | 1.52 | 2.70 | 5.93 | 12.55 | 1.22 | 1.45 | 2.77 | 6.01 | |||||||||||||||
| vle64ff.v v8,(t0) | 1.15 | 1.30 | 1.33 | 1.18 | 2.30 | 5.93 | 12.40 | |||||||||||||||||||||
| vle64ff.v v8,(t0),v0.t | 1.22 | 1.22 | 1.26 | 1.15 | 2.22 | 5.93 | 12.30 | |||||||||||||||||||||
| vlm.v v8,(t0) | 1.17 | 1.32 | 1.20 | 1.25 | 1.22 | 2.00 | 4.00 | 1.20 | 1.20 | 1.25 | 1.15 | 2.00 | 4.00 | 1.22 | 1.32 | 1.32 | 2.00 | 4.00 | 1.22 | 1.32 | 2.00 | 4.00 | ||||||
| vsm.v v8,(t0) | 1.10 | 1.30 | 1.30 | 1.30 | 1.22 | 1.35 | 2.35 | 1.22 | 1.27 | 1.20 | 1.12 | 1.42 | 1.60 | 1.30 | 1.20 | 1.15 | 1.17 | 1.20 | 1.32 | 1.27 | 1.20 | 1.40 | ||||||
| vlse8.v v8,(t2),t3 | 3.00 | 5.00 | 9.00 | 21.17 | 50.01 | 114.01 | 242.01 | 3.00 | 5.00 | 9.00 | 21.07 | 50.01 | 114.01 | 3.00 | 5.00 | 9.00 | 21.15 | 50.01 | 3.00 | 5.00 | 9.00 | 21.12 | ||||||
| vlse8.v v8,(t2),t3,v0.t | 3.00 | 5.00 | 9.00 | 21.12 | 50.01 | 114.01 | 242.01 | 3.00 | 5.00 | 9.00 | 21.10 | 50.01 | 114.01 | 3.00 | 5.00 | 9.00 | 21.10 | 50.01 | 3.00 | 5.00 | 9.00 | 21.02 | ||||||
| vlse8.v v8,(t2),x0 | 3.00 | 5.00 | 9.00 | 17.07 | 50.01 | 114.01 | 242.01 | 3.00 | 5.00 | 9.00 | 17.07 | 50.01 | 114.01 | 3.00 | 5.00 | 9.00 | 17.07 | 50.01 | 3.00 | 5.00 | 9.00 | 17.07 | ||||||
| vlse8.v v8,(t2),x0,v0.t | 3.00 | 5.00 | 9.00 | 17.07 | 50.01 | 114.01 | 242.01 | 3.00 | 5.00 | 9.00 | 17.07 | 50.01 | 114.01 | 3.00 | 5.00 | 9.00 | 17.07 | 50.01 | 3.00 | 5.00 | 9.00 | 17.07 | ||||||
| vlse8.v v8,(t2),t1/*-1*/ | 3.00 | 5.00 | 9.00 | 22.28 | 48.02 | 114.01 | 242.01 | 3.00 | 5.00 | 9.00 | 22.75 | 48.04 | 114.01 | 3.00 | 5.00 | 9.00 | 22.73 | 48.05 | 3.00 | 5.00 | 9.00 | 22.18 | ||||||
| vlse8.v v8,(t2),t1/*-1*/,v0.t | 3.00 | 5.00 | 9.00 | 23.30 | 48.02 | 114.01 | 242.01 | 3.00 | 5.00 | 9.00 | 22.82 | 48.04 | 114.01 | 3.00 | 5.00 | 9.00 | 22.81 | 48.05 | 3.00 | 5.00 | 9.00 | 22.86 | ||||||
| vlse16.v v8,(t2),t3 | 3.00 | 5.00 | 9.00 | 3.00 | 5.00 | 9.00 | 22.20 | 50.01 | 114.01 | 3.00 | 5.00 | 9.00 | 22.45 | 50.01 | 3.00 | 5.00 | 9.00 | 21.92 | ||||||||||
| vlse16.v v8,(t2),t3,v0.t | 3.00 | 5.00 | 9.00 | 3.00 | 5.00 | 9.00 | 21.65 | 50.01 | 114.01 | 3.00 | 5.00 | 9.00 | 21.60 | 50.01 | 3.00 | 5.00 | 9.00 | 21.75 | ||||||||||
| vlse16.v v8,(t2),x0 | 3.00 | 5.00 | 9.00 | 3.00 | 5.00 | 9.00 | 17.07 | 50.01 | 114.01 | 3.00 | 5.00 | 9.00 | 17.07 | 50.01 | 3.00 | 5.00 | 9.00 | 17.07 | ||||||||||
| vlse16.v v8,(t2),x0,v0.t | 3.00 | 5.00 | 9.00 | 3.00 | 5.00 | 9.00 | 17.07 | 50.01 | 114.01 | 3.00 | 5.00 | 9.00 | 17.07 | 50.01 | 3.00 | 5.00 | 9.00 | 17.07 | ||||||||||
| vlse16.v v8,(t2),t1/*-1*/ | 3.00 | 5.00 | 9.00 | 3.00 | 5.00 | 9.00 | 24.00 | 50.01 | 114.01 | 3.00 | 5.00 | 9.00 | 24.00 | 50.01 | 3.00 | 5.00 | 9.00 | 24.00 | ||||||||||
| vlse16.v v8,(t2),t1/*-1*/,v0.t | 3.00 | 5.00 | 9.00 | 3.00 | 5.00 | 9.00 | 24.00 | 50.01 | 114.01 | 3.00 | 5.00 | 9.00 | 24.00 | 50.01 | 3.00 | 5.00 | 9.00 | 24.00 | ||||||||||
| vlse32.v v8,(t2),t3 | 3.00 | 5.00 | 3.00 | 5.00 | 3.00 | 5.00 | 9.00 | 20.00 | 50.01 | 3.00 | 5.00 | 9.00 | 20.00 | |||||||||||||||
| vlse32.v v8,(t2),t3,v0.t | 3.00 | 5.00 | 3.00 | 5.00 | 3.00 | 5.00 | 9.00 | 20.00 | 50.01 | 3.00 | 5.00 | 9.00 | 20.00 | |||||||||||||||
| vlse32.v v8,(t2),x0 | 3.00 | 5.00 | 3.00 | 5.00 | 3.00 | 5.00 | 9.00 | 17.07 | 50.01 | 3.00 | 5.00 | 9.00 | 17.07 | |||||||||||||||
| vlse32.v v8,(t2),x0,v0.t | 3.00 | 5.00 | 3.00 | 5.00 | 3.00 | 5.00 | 9.00 | 17.07 | 50.01 | 3.00 | 5.00 | 9.00 | 17.07 | |||||||||||||||
| vlse32.v v8,(t2),t1/*-1*/ | 3.00 | 5.00 | 3.00 | 5.00 | 3.00 | 5.00 | 9.00 | 20.00 | 50.01 | 3.00 | 5.00 | 9.00 | 20.00 | |||||||||||||||
| vlse32.v v8,(t2),t1/*-1*/,v0.t | 3.00 | 5.00 | 3.00 | 5.00 | 3.00 | 5.00 | 9.00 | 20.00 | 50.01 | 3.00 | 5.00 | 9.00 | 20.00 | |||||||||||||||
| vlse64.v v8,(t2),t3 | 3.00 | 3.00 | 3.00 | 3.00 | 5.00 | 10.18 | 24.00 | |||||||||||||||||||||
| vlse64.v v8,(t2),t3,v0.t | 3.00 | 3.00 | 3.00 | 3.00 | 5.00 | 10.21 | 24.00 | |||||||||||||||||||||
| vlse64.v v8,(t2),x0 | 3.00 | 3.00 | 3.00 | 3.00 | 5.00 | 9.00 | 22.00 | |||||||||||||||||||||
| vlse64.v v8,(t2),x0,v0.t | 3.00 | 3.00 | 3.00 | 3.00 | 5.00 | 9.00 | 22.00 | |||||||||||||||||||||
| vlse64.v v8,(t2),t1/*-1*/ | 3.00 | 3.00 | 3.00 | 3.00 | 5.00 | 10.27 | 24.00 | |||||||||||||||||||||
| vlse64.v v8,(t2),t1/*-1*/,v0.t | 3.00 | 3.00 | 3.00 | 3.00 | 5.00 | 10.32 | 24.00 | |||||||||||||||||||||
| vsse8.v v8,(t2),t3 | 4.00 | 8.00 | 16.00 | 33.35 | 70.29 | 135.65 | 344.59 | 4.00 | 8.00 | 16.00 | 32.00 | 69.47 | 138.71 | 4.00 | 8.00 | 16.00 | 32.00 | 69.25 | 4.00 | 8.00 | 16.00 | 32.00 | ||||||
| vsse8.v v8,(t2),t3,v0.t | 4.00 | 8.00 | 16.00 | 32.00 | 70.58 | 166.36 | 405.64 | 4.00 | 8.00 | 16.00 | 32.00 | 68.65 | 139.36 | 4.00 | 8.00 | 16.00 | 32.00 | 69.47 | 4.00 | 8.00 | 16.00 | 32.00 | ||||||
| vsse8.v v8,(t2),x0 | 4.00 | 8.00 | 16.00 | 32.00 | 64.00 | 128.00 | 256.00 | 4.00 | 8.00 | 16.00 | 32.00 | 64.00 | 128.00 | 4.00 | 8.00 | 16.00 | 32.00 | 64.00 | 4.00 | 8.00 | 16.00 | 32.00 | ||||||
| vsse8.v v8,(t2),x0,v0.t | 4.00 | 8.00 | 16.00 | 32.00 | 64.00 | 128.00 | 256.00 | 4.00 | 8.00 | 16.00 | 32.00 | 64.00 | 128.00 | 4.00 | 8.00 | 16.00 | 32.00 | 64.00 | 4.00 | 8.00 | 16.00 | 32.00 | ||||||
| vsse8.v v8,(t2),t1/*-1*/ | 4.19 | 8.00 | 16.00 | 32.00 | 64.00 | 128.00 | 264.64 | 4.00 | 8.00 | 16.00 | 32.00 | 64.00 | 129.19 | 4.00 | 8.00 | 16.00 | 32.00 | 64.00 | 4.60 | 8.00 | 16.00 | 32.00 | ||||||
| vsse8.v v8,(t2),t1/*-1*/,v0.t | 4.68 | 8.00 | 16.00 | 32.00 | 64.00 | 129.49 | 265.49 | 4.00 | 8.00 | 16.00 | 32.00 | 64.00 | 130.02 | 4.00 | 8.00 | 16.00 | 32.00 | 64.00 | 4.00 | 8.00 | 16.00 | 32.00 | ||||||
| vsse16.v v8,(t2),t3 | 4.00 | 8.00 | 16.23 | 4.15 | 8.00 | 16.00 | 32.58 | 72.47 | 144.32 | 4.00 | 8.00 | 16.00 | 33.83 | 71.70 | 4.00 | 8.00 | 16.00 | 33.66 | ||||||||||
| vsse16.v v8,(t2),t3,v0.t | 4.00 | 8.00 | 16.00 | 4.00 | 8.00 | 16.00 | 34.70 | 70.15 | 170.04 | 4.00 | 8.00 | 16.00 | 35.21 | 72.40 | 4.07 | 8.00 | 17.54 | 37.13 | ||||||||||
| vsse16.v v8,(t2),x0 | 4.00 | 8.00 | 16.00 | 4.00 | 8.00 | 16.00 | 32.00 | 64.00 | 128.00 | 4.00 | 8.00 | 16.00 | 32.00 | 64.00 | 4.00 | 8.00 | 16.00 | 32.00 | ||||||||||
| vsse16.v v8,(t2),x0,v0.t | 4.00 | 8.00 | 16.00 | 4.00 | 8.00 | 16.00 | 32.00 | 64.00 | 128.00 | 4.00 | 8.00 | 16.00 | 32.00 | 64.00 | 4.00 | 8.00 | 16.00 | 32.00 | ||||||||||
| vsse16.v v8,(t2),t1/*-1*/ | 4.00 | 8.00 | 16.00 | 4.80 | 8.00 | 16.00 | 32.00 | 65.87 | 140.00 | 4.00 | 8.00 | 16.00 | 32.00 | 70.00 | 4.00 | 8.00 | 16.00 | 32.00 | ||||||||||
| vsse16.v v8,(t2),t1/*-1*/,v0.t | 5.22 | 8.00 | 16.00 | 4.00 | 8.00 | 16.00 | 32.00 | 65.78 | 135.99 | 4.00 | 8.00 | 16.00 | 32.00 | 68.30 | 4.00 | 8.00 | 16.00 | 32.00 | ||||||||||
| vsse32.v v8,(t2),t3 | 5.27 | 8.07 | 4.00 | 9.17 | 4.00 | 8.00 | 16.05 | 32.00 | 64.00 | 4.00 | 8.00 | 16.25 | 32.00 | |||||||||||||||
| vsse32.v v8,(t2),t3,v0.t | 4.04 | 8.00 | 4.00 | 8.85 | 4.00 | 8.00 | 16.25 | 32.00 | 64.00 | 4.00 | 8.00 | 16.66 | 32.00 | |||||||||||||||
| vsse32.v v8,(t2),x0 | 4.00 | 8.00 | 4.00 | 8.00 | 4.00 | 8.00 | 16.00 | 32.00 | 64.00 | 4.00 | 8.00 | 16.00 | 32.00 | |||||||||||||||
| vsse32.v v8,(t2),x0,v0.t | 4.00 | 8.00 | 4.00 | 8.00 | 4.00 | 8.00 | 16.00 | 32.00 | 64.00 | 4.00 | 8.00 | 16.00 | 32.00 | |||||||||||||||
| vsse32.v v8,(t2),t1/*-1*/ | 4.00 | 8.00 | 4.00 | 8.00 | 4.00 | 8.00 | 16.00 | 33.26 | 64.30 | 4.00 | 8.00 | 16.00 | 32.70 | |||||||||||||||
| vsse32.v v8,(t2),t1/*-1*/,v0.t | 4.33 | 8.00 | 4.00 | 8.00 | 4.00 | 8.00 | 16.00 | 32.00 | 74.58 | 4.00 | 8.00 | 16.00 | 32.47 | |||||||||||||||
| vsse64.v v8,(t2),t3 | 4.63 | 5.25 | 5.40 | 4.00 | 8.94 | 16.00 | 32.00 | |||||||||||||||||||||
| vsse64.v v8,(t2),t3,v0.t | 4.00 | 4.00 | 4.00 | 4.16 | 9.04 | 16.00 | 32.00 | |||||||||||||||||||||
| vsse64.v v8,(t2),x0 | 4.00 | 4.00 | 4.00 | 4.00 | 8.00 | 16.00 | 32.00 | |||||||||||||||||||||
| vsse64.v v8,(t2),x0,v0.t | 4.00 | 4.00 | 4.00 | 4.00 | 8.00 | 16.00 | 32.00 | |||||||||||||||||||||
| vsse64.v v8,(t2),t1/*-1*/ | 4.00 | 4.00 | 4.00 | 4.00 | 8.00 | 17.01 | 32.00 | |||||||||||||||||||||
| vsse64.v v8,(t2),t1/*-1*/,v0.t | 5.45 | 4.00 | 4.00 | 4.00 | 8.00 | 17.10 | 32.00 | |||||||||||||||||||||
| vlseg2e8.v v8,(t0) | 4.87 | 4.87 | 4.65 | 7.31 | 12.25 | 27.95 | 4.87 | 4.87 | 4.62 | 4.68 | 12.77 | 4.87 | 4.87 | 2.70 | 4.87 | 4.85 | 2.23 | 2.90 | ||||||||||
| vlseg2e8.v v8,(t0),v0.t | 4.87 | 4.87 | 4.62 | 7.42 | 12.26 | 28.31 | 4.87 | 4.87 | 4.68 | 4.81 | 12.82 | 4.87 | 4.87 | 2.79 | 4.72 | 4.87 | 2.22 | 2.68 | ||||||||||
| vlseg2e16.v v8,(t0) | 4.87 | 4.71 | 7.42 | 4.87 | 4.65 | 7.37 | 12.43 | 28.17 | 4.87 | 4.59 | 4.81 | 12.74 | 4.87 | 2.77 | 4.78 | |||||||||||||
| vlseg2e16.v v8,(t0),v0.t | 4.87 | 4.65 | 7.41 | 4.87 | 4.62 | 7.38 | 12.20 | 27.80 | 4.87 | 4.47 | 4.93 | 12.74 | 4.87 | 2.75 | 4.75 | |||||||||||||
| vlseg2e32.v v8,(t0) | 4.56 | 7.32 | 4.78 | 7.37 | 4.62 | 7.35 | 12.48 | 28.40 | 4.71 | 4.75 | 12.74 | |||||||||||||||||
| vlseg2e32.v v8,(t0),v0.t | 4.68 | 7.41 | 4.50 | 7.27 | 4.62 | 7.34 | 12.60 | 27.94 | 4.56 | 4.81 | 12.72 | |||||||||||||||||
| vlseg2e64.v v8,(t0) | 7.44 | 7.40 | 7.48 | 7.40 | 11.92 | 28.39 | ||||||||||||||||||||||
| vlseg2e64.v v8,(t0),v0.t | 7.33 | 7.37 | 7.42 | 7.37 | 12.14 | 28.40 | ||||||||||||||||||||||
| vsseg2e8.v v8,(t0) | 3.00 | 3.00 | 4.00 | 8.00 | 16.00 | 32.00 | 3.00 | 3.00 | 4.00 | 8.00 | 16.00 | 3.00 | 3.00 | 4.00 | 8.00 | 3.00 | 3.00 | 4.00 | ||||||||||
| vsseg2e8.v v8,(t0),v0.t | 3.00 | 3.00 | 4.00 | 8.00 | 16.00 | 32.00 | 3.00 | 3.00 | 4.00 | 8.00 | 16.00 | 3.00 | 3.00 | 4.00 | 8.00 | 3.00 | 3.00 | 4.00 | ||||||||||
| vsseg2e16.v v8,(t0) | 3.00 | 4.05 | 8.00 | 3.00 | 4.17 | 8.05 | 16.00 | 32.00 | 3.00 | 4.00 | 8.00 | 16.00 | 3.00 | 4.00 | 8.00 | |||||||||||||
| vsseg2e16.v v8,(t0),v0.t | 3.00 | 4.00 | 8.00 | 3.00 | 4.00 | 8.00 | 16.00 | 32.00 | 3.00 | 4.00 | 8.00 | 16.00 | 3.00 | 4.00 | 8.00 | |||||||||||||
| vsseg2e32.v v8,(t0) | 4.10 | 8.00 | 4.00 | 8.00 | 4.00 | 8.00 | 16.00 | 32.00 | 4.00 | 8.00 | 16.00 | |||||||||||||||||
| vsseg2e32.v v8,(t0),v0.t | 4.00 | 8.00 | 4.00 | 8.00 | 4.00 | 8.00 | 16.00 | 32.00 | 4.00 | 8.00 | 16.00 | |||||||||||||||||
| vsseg2e64.v v8,(t0) | 8.00 | 8.00 | 8.00 | 8.00 | 16.00 | 32.00 | ||||||||||||||||||||||
| vsseg2e64.v v8,(t0),v0.t | 8.00 | 8.00 | 8.00 | 8.00 | 16.00 | 32.00 | ||||||||||||||||||||||
| vlseg3e8.v v8,(t0) | 5.07 | 5.02 | 5.67 | 9.45 | 19.53 | 5.07 | 4.89 | 5.76 | 8.95 | 5.08 | 4.90 | 5.32 | 5.07 | 5.16 | ||||||||||||||
| vlseg3e8.v v8,(t0),v0.t | 5.04 | 4.92 | 5.48 | 8.96 | 19.45 | 5.05 | 4.91 | 5.55 | 8.85 | 5.08 | 4.98 | 5.33 | 5.05 | 5.12 | ||||||||||||||
| vlseg3e16.v v8,(t0) | 5.06 | 5.45 | 8.91 | 4.89 | 5.17 | 9.74 | 19.27 | 4.89 | 5.71 | 8.63 | 4.96 | 5.31 | ||||||||||||||||
| vlseg3e16.v v8,(t0),v0.t | 4.99 | 5.59 | 9.24 | 4.92 | 5.76 | 9.15 | 19.28 | 4.97 | 5.42 | 8.73 | 4.86 | 5.38 | ||||||||||||||||
| vlseg3e32.v v8,(t0) | 5.53 | 9.40 | 5.48 | 9.85 | 5.76 | 8.95 | 19.63 | 5.59 | 8.63 | |||||||||||||||||||
| vlseg3e32.v v8,(t0),v0.t | 5.35 | 9.34 | 5.58 | 8.86 | 5.47 | 9.90 | 19.48 | 5.47 | 8.63 | |||||||||||||||||||
| vlseg3e64.v v8,(t0) | 10.15 | 10.15 | 10.11 | 10.15 | 19.50 | |||||||||||||||||||||||
| vlseg3e64.v v8,(t0),v0.t | 10.15 | 10.15 | 10.14 | 10.16 | 19.47 | |||||||||||||||||||||||
| vsseg3e8.v v8,(t0) | 4.00 | 5.00 | 7.00 | 14.00 | 28.00 | 4.00 | 5.00 | 7.00 | 14.00 | 4.00 | 5.00 | 7.00 | 4.00 | 5.00 | ||||||||||||||
| vsseg3e8.v v8,(t0),v0.t | 4.00 | 5.00 | 7.00 | 14.00 | 28.00 | 4.00 | 5.00 | 7.00 | 14.00 | 4.00 | 5.00 | 7.00 | 4.00 | 5.00 | ||||||||||||||
| vsseg3e16.v v8,(t0) | 5.00 | 7.00 | 14.00 | 5.00 | 7.00 | 14.00 | 28.00 | 5.00 | 7.00 | 14.00 | 5.00 | 7.00 | ||||||||||||||||
| vsseg3e16.v v8,(t0),v0.t | 5.00 | 7.00 | 14.00 | 5.00 | 7.00 | 14.00 | 28.00 | 5.00 | 7.00 | 14.00 | 5.00 | 7.00 | ||||||||||||||||
| vsseg3e32.v v8,(t0) | 7.00 | 14.00 | 7.00 | 14.00 | 7.00 | 14.00 | 28.00 | 7.00 | 14.00 | |||||||||||||||||||
| vsseg3e32.v v8,(t0),v0.t | 7.00 | 14.00 | 7.00 | 14.00 | 7.00 | 14.00 | 28.00 | 7.00 | 14.00 | |||||||||||||||||||
| vsseg3e64.v v8,(t0) | 12.00 | 12.00 | 12.00 | 12.00 | 24.00 | |||||||||||||||||||||||
| vsseg3e64.v v8,(t0),v0.t | 12.00 | 12.00 | 12.00 | 12.00 | 24.00 | |||||||||||||||||||||||
| vlseg4e8.v v8,(t0) | 5.44 | 5.34 | 7.12 | 11.13 | 28.38 | 5.35 | 5.34 | 7.59 | 10.87 | 5.35 | 5.34 | 7.03 | 5.57 | 5.95 | ||||||||||||||
| vlseg4e8.v v8,(t0),v0.t | 5.50 | 5.35 | 6.86 | 11.13 | 27.62 | 5.35 | 5.34 | 7.20 | 11.06 | 5.42 | 5.34 | 6.99 | 5.32 | 5.92 | ||||||||||||||
| vlseg4e16.v v8,(t0) | 5.35 | 6.86 | 11.14 | 5.33 | 6.94 | 11.13 | 27.91 | 5.34 | 6.86 | 10.96 | 5.35 | 6.94 | ||||||||||||||||
| vlseg4e16.v v8,(t0),v0.t | 5.35 | 7.51 | 11.12 | 5.34 | 7.34 | 11.11 | 28.01 | 5.35 | 7.02 | 10.93 | 5.35 | 6.98 | ||||||||||||||||
| vlseg4e32.v v8,(t0) | 6.94 | 11.22 | 7.26 | 11.16 | 7.43 | 11.16 | 28.21 | 7.26 | 10.96 | |||||||||||||||||||
| vlseg4e32.v v8,(t0),v0.t | 7.18 | 11.15 | 7.43 | 11.15 | 7.34 | 11.18 | 28.30 | 7.59 | 10.92 | |||||||||||||||||||
| vlseg4e64.v v8,(t0) | 12.00 | 11.75 | 11.33 | 11.86 | 26.30 | |||||||||||||||||||||||
| vlseg4e64.v v8,(t0),v0.t | 12.13 | 11.47 | 11.27 | 11.68 | 26.30 | |||||||||||||||||||||||
| vsseg4e8.v v8,(t0) | 5.00 | 6.00 | 8.00 | 16.00 | 32.00 | 5.00 | 6.00 | 8.00 | 16.00 | 5.00 | 6.00 | 8.00 | 5.00 | 6.00 | ||||||||||||||
| vsseg4e8.v v8,(t0),v0.t | 5.00 | 6.00 | 8.00 | 16.00 | 32.00 | 5.00 | 6.00 | 8.00 | 16.00 | 5.00 | 6.00 | 8.00 | 5.00 | 6.00 | ||||||||||||||
| vsseg4e16.v v8,(t0) | 6.00 | 8.00 | 16.00 | 6.00 | 8.00 | 16.00 | 32.00 | 6.00 | 8.00 | 16.00 | 6.00 | 8.00 | ||||||||||||||||
| vsseg4e16.v v8,(t0),v0.t | 6.00 | 8.00 | 16.00 | 6.00 | 8.00 | 16.00 | 32.00 | 6.00 | 8.00 | 16.00 | 6.00 | 8.00 | ||||||||||||||||
| vsseg4e32.v v8,(t0) | 8.00 | 16.00 | 8.00 | 16.00 | 8.00 | 16.00 | 32.00 | 8.00 | 16.00 | |||||||||||||||||||
| vsseg4e32.v v8,(t0),v0.t | 8.00 | 16.00 | 8.00 | 16.00 | 8.00 | 16.00 | 32.00 | 8.00 | 16.00 | |||||||||||||||||||
| vsseg4e64.v v8,(t0) | 16.00 | 16.00 | 16.00 | 16.00 | 32.00 | |||||||||||||||||||||||
| vsseg4e64.v v8,(t0),v0.t | 16.00 | 16.00 | 16.00 | 16.00 | 32.00 | |||||||||||||||||||||||
| vlseg5e8.v v8,(t0) | 20.00 | 40.00 | 80.00 | 159.35 | 20.00 | 40.00 | 80.00 | 20.00 | 40.00 | 20.00 | ||||||||||||||||||
| vlseg5e8.v v8,(t0),v0.t | 20.00 | 40.00 | 80.00 | 159.37 | 20.00 | 40.00 | 80.00 | 20.00 | 40.00 | 20.00 | ||||||||||||||||||
| vlseg5e16.v v8,(t0) | 20.00 | 40.00 | 79.23 | 20.00 | 40.00 | 79.26 | 20.00 | 40.00 | 20.00 | |||||||||||||||||||
| vlseg5e16.v v8,(t0),v0.t | 20.00 | 40.00 | 79.22 | 20.00 | 40.00 | 79.26 | 20.00 | 40.00 | 20.00 | |||||||||||||||||||
| vlseg5e32.v v8,(t0) | 20.00 | 39.35 | 20.00 | 39.40 | 20.00 | 39.36 | 20.00 | |||||||||||||||||||||
| vlseg5e32.v v8,(t0),v0.t | 20.00 | 39.33 | 20.00 | 39.34 | 20.00 | 39.30 | 20.00 | |||||||||||||||||||||
| vlseg5e64.v v8,(t0) | 19.60 | 19.56 | 19.57 | 19.62 | ||||||||||||||||||||||||
| vlseg5e64.v v8,(t0),v0.t | 19.56 | 19.59 | 19.62 | 19.58 | ||||||||||||||||||||||||
| vsseg5e8.v v8,(t0) | 20.00 | 40.00 | 80.00 | 162.67 | 20.00 | 40.00 | 80.00 | 20.00 | 40.00 | 20.00 | ||||||||||||||||||
| vsseg5e8.v v8,(t0),v0.t | 20.00 | 40.00 | 80.00 | 162.49 | 20.00 | 40.00 | 80.00 | 20.00 | 40.00 | 20.00 | ||||||||||||||||||
| vsseg5e16.v v8,(t0) | 20.13 | 40.00 | 81.86 | 20.00 | 40.00 | 82.75 | 20.00 | 40.00 | 20.00 | |||||||||||||||||||
| vsseg5e16.v v8,(t0),v0.t | 20.00 | 40.00 | 82.71 | 20.00 | 40.00 | 82.82 | 20.00 | 40.00 | 20.00 | |||||||||||||||||||
| vsseg5e32.v v8,(t0) | 20.00 | 42.24 | 20.00 | 43.61 | 20.00 | 44.60 | 20.30 | |||||||||||||||||||||
| vsseg5e32.v v8,(t0),v0.t | 20.00 | 45.71 | 20.00 | 44.07 | 21.00 | 45.48 | 20.00 | |||||||||||||||||||||
| vsseg5e64.v v8,(t0) | 20.00 | 20.00 | 20.00 | 20.00 | ||||||||||||||||||||||||
| vsseg5e64.v v8,(t0),v0.t | 20.00 | 20.00 | 20.13 | 20.05 | ||||||||||||||||||||||||
| vlseg6e8.v v8,(t0) | 24.37 | 48.37 | 96.37 | 191.36 | 24.37 | 48.37 | 96.37 | 24.37 | 48.37 | 24.37 | ||||||||||||||||||
| vlseg6e8.v v8,(t0),v0.t | 24.37 | 48.37 | 96.37 | 191.37 | 24.37 | 48.37 | 96.37 | 24.37 | 48.37 | 24.37 | ||||||||||||||||||
| vlseg6e16.v v8,(t0) | 24.37 | 48.37 | 95.12 | 24.37 | 48.37 | 95.18 | 24.37 | 48.37 | 24.37 | |||||||||||||||||||
| vlseg6e16.v v8,(t0),v0.t | 24.37 | 48.37 | 95.13 | 24.37 | 48.37 | 95.12 | 24.37 | 48.37 | 24.37 | |||||||||||||||||||
| vlseg6e32.v v8,(t0) | 24.37 | 47.35 | 24.37 | 47.29 | 24.37 | 47.31 | 24.37 | |||||||||||||||||||||
| vlseg6e32.v v8,(t0),v0.t | 24.37 | 47.31 | 24.37 | 47.34 | 24.37 | 47.36 | 24.37 | |||||||||||||||||||||
| vlseg6e64.v v8,(t0) | 23.23 | 23.23 | 23.25 | 23.14 | ||||||||||||||||||||||||
| vlseg6e64.v v8,(t0),v0.t | 23.20 | 23.23 | 23.23 | 23.27 | ||||||||||||||||||||||||
| vsseg6e8.v v8,(t0) | 24.00 | 48.00 | 96.00 | 192.98 | 24.00 | 48.00 | 96.00 | 24.00 | 48.00 | 24.00 | ||||||||||||||||||
| vsseg6e8.v v8,(t0),v0.t | 24.00 | 48.00 | 96.00 | 194.10 | 24.00 | 48.00 | 96.00 | 24.00 | 48.00 | 24.00 | ||||||||||||||||||
| vsseg6e16.v v8,(t0) | 24.00 | 48.00 | 101.14 | 24.00 | 48.00 | 101.09 | 24.00 | 48.00 | 24.00 | |||||||||||||||||||
| vsseg6e16.v v8,(t0),v0.t | 24.00 | 48.00 | 103.54 | 24.00 | 48.00 | 102.56 | 24.00 | 48.00 | 24.00 | |||||||||||||||||||
| vsseg6e32.v v8,(t0) | 24.00 | 54.39 | 24.00 | 55.46 | 24.00 | 54.36 | 24.00 | |||||||||||||||||||||
| vsseg6e32.v v8,(t0),v0.t | 24.00 | 53.97 | 24.00 | 52.52 | 24.00 | 55.58 | 24.00 | |||||||||||||||||||||
| vsseg6e64.v v8,(t0) | 24.03 | 24.21 | 24.15 | 24.00 | ||||||||||||||||||||||||
| vsseg6e64.v v8,(t0),v0.t | 24.00 | 24.00 | 24.00 | 24.00 | ||||||||||||||||||||||||
| vlseg7e8.v v8,(t0) | 28.25 | 56.25 | 112.25 | 223.33 | 28.25 | 56.25 | 112.25 | 28.25 | 56.25 | 28.25 | ||||||||||||||||||
| vlseg7e8.v v8,(t0),v0.t | 28.25 | 56.25 | 112.25 | 223.28 | 28.25 | 56.25 | 112.25 | 28.25 | 56.25 | 28.25 | ||||||||||||||||||
| vlseg7e16.v v8,(t0) | 28.25 | 56.25 | 111.11 | 28.25 | 56.25 | 111.12 | 28.25 | 56.25 | 28.25 | |||||||||||||||||||
| vlseg7e16.v v8,(t0),v0.t | 28.25 | 56.25 | 111.12 | 28.25 | 56.25 | 111.12 | 28.25 | 56.25 | 28.25 | |||||||||||||||||||
| vlseg7e32.v v8,(t0) | 28.25 | 55.04 | 28.25 | 55.00 | 28.25 | 55.08 | 28.25 | |||||||||||||||||||||
| vlseg7e32.v v8,(t0),v0.t | 28.25 | 55.06 | 28.25 | 55.01 | 28.25 | 55.02 | 28.25 | |||||||||||||||||||||
| vlseg7e64.v v8,(t0) | 27.23 | 27.21 | 27.21 | 27.13 | ||||||||||||||||||||||||
| vlseg7e64.v v8,(t0),v0.t | 27.19 | 27.20 | 27.21 | 27.23 | ||||||||||||||||||||||||
| vsseg7e8.v v8,(t0) | 28.00 | 56.00 | 112.00 | 224.73 | 28.00 | 56.00 | 112.00 | 28.00 | 56.00 | 28.00 | ||||||||||||||||||
| vsseg7e8.v v8,(t0),v0.t | 28.00 | 56.00 | 112.00 | 227.05 | 28.00 | 56.00 | 112.39 | 28.00 | 56.00 | 28.00 | ||||||||||||||||||
| vsseg7e16.v v8,(t0) | 28.00 | 56.04 | 118.04 | 28.00 | 56.09 | 114.29 | 28.00 | 56.00 | 28.00 | |||||||||||||||||||
| vsseg7e16.v v8,(t0),v0.t | 28.00 | 56.00 | 116.91 | 28.00 | 56.00 | 114.75 | 28.00 | 56.00 | 28.00 | |||||||||||||||||||
| vsseg7e32.v v8,(t0) | 28.05 | 59.17 | 28.86 | 57.99 | 28.05 | 58.98 | 28.51 | |||||||||||||||||||||
| vsseg7e32.v v8,(t0),v0.t | 28.92 | 58.82 | 28.95 | 60.90 | 28.15 | 62.63 | 28.02 | |||||||||||||||||||||
| vsseg7e64.v v8,(t0) | 28.00 | 28.00 | 28.00 | 28.00 | ||||||||||||||||||||||||
| vsseg7e64.v v8,(t0),v0.t | 28.00 | 28.00 | 28.00 | 28.00 | ||||||||||||||||||||||||
| vlseg8e8.v v8,(t0) | 32.15 | 64.12 | 128.12 | 255.17 | 32.15 | 64.12 | 128.12 | 32.15 | 64.13 | 32.15 | ||||||||||||||||||
| vlseg8e8.v v8,(t0),v0.t | 32.15 | 64.13 | 128.13 | 255.18 | 32.15 | 64.13 | 128.12 | 32.15 | 64.13 | 32.15 | ||||||||||||||||||
| vlseg8e16.v v8,(t0) | 32.14 | 64.13 | 127.13 | 32.13 | 64.13 | 127.15 | 32.13 | 64.13 | 32.13 | |||||||||||||||||||
| vlseg8e16.v v8,(t0),v0.t | 32.13 | 64.13 | 127.13 | 32.13 | 64.14 | 127.13 | 32.13 | 64.13 | 32.13 | |||||||||||||||||||
| vlseg8e32.v v8,(t0) | 32.19 | 63.15 | 32.19 | 63.17 | 32.18 | 63.17 | 32.17 | |||||||||||||||||||||
| vlseg8e32.v v8,(t0),v0.t | 32.18 | 63.16 | 32.21 | 63.16 | 32.18 | 63.18 | 32.21 | |||||||||||||||||||||
| vlseg8e64.v v8,(t0) | 31.12 | 31.12 | 31.12 | 31.12 | ||||||||||||||||||||||||
| vlseg8e64.v v8,(t0),v0.t | 31.12 | 31.12 | 31.12 | 31.12 | ||||||||||||||||||||||||
| vsseg8e8.v v8,(t0) | 32.00 | 64.00 | 128.00 | 264.15 | 32.00 | 64.00 | 128.29 | 32.00 | 64.00 | 32.00 | ||||||||||||||||||
| vsseg8e8.v v8,(t0),v0.t | 32.00 | 64.00 | 129.53 | 266.01 | 32.00 | 64.00 | 128.00 | 32.00 | 64.00 | 32.00 | ||||||||||||||||||
| vsseg8e16.v v8,(t0) | 32.00 | 65.06 | 134.42 | 32.00 | 65.01 | 136.17 | 32.00 | 64.27 | 32.00 | |||||||||||||||||||
| vsseg8e16.v v8,(t0),v0.t | 32.00 | 65.96 | 142.62 | 32.00 | 66.12 | 141.31 | 32.00 | 65.18 | 32.00 | |||||||||||||||||||
| vsseg8e32.v v8,(t0) | 32.10 | 76.35 | 32.47 | 76.00 | 33.39 | 73.71 | 32.60 | |||||||||||||||||||||
| vsseg8e32.v v8,(t0),v0.t | 33.05 | 77.07 | 33.07 | 76.69 | 32.37 | 76.13 | 32.62 | |||||||||||||||||||||
| vsseg8e64.v v8,(t0) | 32.00 | 32.00 | 32.00 | 32.00 | ||||||||||||||||||||||||
| vsseg8e64.v v8,(t0),v0.t | 32.00 | 32.00 | 32.00 | 32.00 | ||||||||||||||||||||||||
| vlseg2e8ff.v v8,(t0) | 4.87 | 4.87 | 4.65 | 7.28 | 12.25 | 28.10 | 4.87 | 4.87 | 4.59 | 4.78 | 12.72 | 4.87 | 4.87 | 2.58 | 4.81 | 4.87 | 2.22 | 3.11 | ||||||||||
| vlseg2e8ff.v v8,(t0),v0.t | 4.87 | 4.87 | 4.56 | 7.42 | 12.71 | 28.55 | 4.87 | 4.87 | 4.68 | 4.87 | 12.77 | 4.87 | 4.87 | 2.82 | 4.78 | 4.87 | 2.23 | 3.04 | ||||||||||
| vlseg2e16ff.v v8,(t0) | 4.87 | 4.56 | 7.37 | 4.87 | 4.68 | 7.34 | 12.14 | 28.40 | 4.87 | 4.50 | 4.81 | 12.77 | 4.87 | 2.77 | 4.83 | |||||||||||||
| vlseg2e16ff.v v8,(t0),v0.t | 4.87 | 4.65 | 7.41 | 4.87 | 4.87 | 7.37 | 12.60 | 28.32 | 4.87 | 4.65 | 4.90 | 12.59 | 4.87 | 2.62 | 4.81 | |||||||||||||
| vlseg2e32ff.v v8,(t0) | 4.60 | 7.33 | 4.74 | 7.29 | 4.65 | 7.38 | 12.03 | 27.67 | 4.65 | 4.90 | 12.74 | |||||||||||||||||
| vlseg2e32ff.v v8,(t0),v0.t | 4.77 | 7.41 | 4.59 | 7.42 | 4.62 | 7.35 | 12.43 | 28.02 | 4.59 | 4.92 | 12.72 | |||||||||||||||||
| vlseg2e64ff.v v8,(t0) | 7.38 | 7.48 | 7.41 | 7.35 | 12.21 | 28.60 | ||||||||||||||||||||||
| vlseg2e64ff.v v8,(t0),v0.t | 7.41 | 7.44 | 7.42 | 7.48 | 12.14 | 28.62 | ||||||||||||||||||||||
| vlseg3e8ff.v v8,(t0) | 5.07 | 4.89 | 5.49 | 9.15 | 19.46 | 5.03 | 4.90 | 5.43 | 8.83 | 5.10 | 4.98 | 5.34 | 5.07 | 5.08 | ||||||||||||||
| vlseg3e8ff.v v8,(t0),v0.t | 5.05 | 4.93 | 5.37 | 8.91 | 19.17 | 5.05 | 4.86 | 5.49 | 8.84 | 5.06 | 4.90 | 5.31 | 5.05 | 5.15 | ||||||||||||||
| vlseg3e16ff.v v8,(t0) | 4.91 | 5.31 | 9.73 | 4.94 | 5.59 | 9.60 | 19.50 | 5.03 | 5.53 | 8.62 | 4.90 | 5.34 | ||||||||||||||||
| vlseg3e16ff.v v8,(t0),v0.t | 4.89 | 5.59 | 9.50 | 4.90 | 5.43 | 9.58 | 19.45 | 5.05 | 5.60 | 8.95 | 5.00 | 5.33 | ||||||||||||||||
| vlseg3e32ff.v v8,(t0) | 5.41 | 9.56 | 5.47 | 9.37 | 5.55 | 9.14 | 19.45 | 5.36 | 8.73 | |||||||||||||||||||
| vlseg3e32ff.v v8,(t0),v0.t | 5.36 | 9.45 | 5.76 | 9.21 | 5.30 | 9.47 | 19.37 | 5.36 | 8.61 | |||||||||||||||||||
| vlseg3e64ff.v v8,(t0) | 10.13 | 10.15 | 10.16 | 10.13 | 19.44 | |||||||||||||||||||||||
| vlseg3e64ff.v v8,(t0),v0.t | 10.14 | 10.13 | 10.16 | 10.15 | 19.67 | |||||||||||||||||||||||
| vlseg4e8ff.v v8,(t0) | 5.49 | 5.36 | 7.42 | 11.18 | 28.21 | 5.37 | 5.35 | 6.70 | 11.09 | 5.42 | 5.35 | 6.98 | 5.29 | 6.06 | ||||||||||||||
| vlseg4e8ff.v v8,(t0),v0.t | 5.39 | 5.35 | 7.18 | 11.16 | 28.13 | 5.56 | 5.34 | 7.02 | 10.96 | 5.51 | 5.35 | 6.99 | 5.44 | 6.07 | ||||||||||||||
| vlseg4e16ff.v v8,(t0) | 5.35 | 7.75 | 11.12 | 5.34 | 7.18 | 11.13 | 28.38 | 5.34 | 7.26 | 11.06 | 5.35 | 6.94 | ||||||||||||||||
| vlseg4e16ff.v v8,(t0),v0.t | 5.35 | 7.10 | 11.15 | 5.35 | 7.18 | 11.18 | 27.82 | 5.35 | 7.34 | 11.06 | 5.34 | 6.99 | ||||||||||||||||
| vlseg4e32ff.v v8,(t0) | 7.59 | 11.20 | 7.18 | 11.20 | 7.02 | 11.18 | 28.11 | 7.18 | 10.93 | |||||||||||||||||||
| vlseg4e32ff.v v8,(t0),v0.t | 7.27 | 11.22 | 7.43 | 11.20 | 7.51 | 11.16 | 28.01 | 7.18 | 10.96 | |||||||||||||||||||
| vlseg4e64ff.v v8,(t0) | 11.86 | 11.06 | 12.40 | 11.73 | 26.14 | |||||||||||||||||||||||
| vlseg4e64ff.v v8,(t0),v0.t | 11.73 | 11.73 | 12.00 | 11.86 | 26.41 | |||||||||||||||||||||||
| vlseg5e8ff.v v8,(t0) | 20.00 | 40.00 | 80.00 | 159.38 | 20.00 | 40.00 | 80.00 | 20.00 | 40.00 | 20.00 | ||||||||||||||||||
| vlseg5e8ff.v v8,(t0),v0.t | 20.00 | 40.00 | 80.00 | 159.37 | 20.00 | 40.00 | 80.00 | 20.00 | 40.00 | 20.00 | ||||||||||||||||||
| vlseg5e16ff.v v8,(t0) | 20.00 | 40.00 | 79.24 | 20.00 | 40.00 | 79.21 | 20.00 | 40.00 | 20.00 | |||||||||||||||||||
| vlseg5e16ff.v v8,(t0),v0.t | 20.00 | 40.00 | 79.23 | 20.00 | 40.00 | 79.20 | 20.00 | 40.00 | 20.00 | |||||||||||||||||||
| vlseg5e32ff.v v8,(t0) | 20.00 | 39.34 | 20.00 | 39.35 | 20.00 | 39.40 | 20.00 | |||||||||||||||||||||
| vlseg5e32ff.v v8,(t0),v0.t | 20.00 | 39.30 | 20.00 | 39.35 | 20.00 | 39.34 | 20.00 | |||||||||||||||||||||
| vlseg5e64ff.v v8,(t0) | 19.60 | 19.59 | 19.56 | 19.60 | ||||||||||||||||||||||||
| vlseg5e64ff.v v8,(t0),v0.t | 19.62 | 19.58 | 19.57 | 19.56 | ||||||||||||||||||||||||
| vlseg6e8ff.v v8,(t0) | 24.37 | 48.37 | 96.37 | 191.36 | 24.37 | 48.37 | 96.37 | 24.37 | 48.37 | 24.37 | ||||||||||||||||||
| vlseg6e8ff.v v8,(t0),v0.t | 24.37 | 48.37 | 96.37 | 191.36 | 24.37 | 48.37 | 96.37 | 24.37 | 48.37 | 24.37 | ||||||||||||||||||
| vlseg6e16ff.v v8,(t0) | 24.37 | 48.37 | 95.12 | 24.37 | 48.37 | 95.13 | 24.37 | 48.37 | 24.37 | |||||||||||||||||||
| vlseg6e16ff.v v8,(t0),v0.t | 24.37 | 48.37 | 95.16 | 24.37 | 48.37 | 95.16 | 24.37 | 48.37 | 24.37 | |||||||||||||||||||
| vlseg6e32ff.v v8,(t0) | 24.37 | 47.38 | 24.37 | 47.33 | 24.37 | 47.34 | 24.37 | |||||||||||||||||||||
| vlseg6e32ff.v v8,(t0),v0.t | 24.37 | 47.29 | 24.37 | 47.32 | 24.37 | 47.17 | 24.37 | |||||||||||||||||||||
| vlseg6e64ff.v v8,(t0) | 23.25 | 23.20 | 23.27 | 23.27 | ||||||||||||||||||||||||
| vlseg6e64ff.v v8,(t0),v0.t | 23.28 | 23.28 | 23.16 | 23.25 | ||||||||||||||||||||||||
| vlseg7e8ff.v v8,(t0) | 28.25 | 56.25 | 112.25 | 223.28 | 28.25 | 56.25 | 112.25 | 28.25 | 56.25 | 28.25 | ||||||||||||||||||
| vlseg7e8ff.v v8,(t0),v0.t | 28.25 | 56.25 | 112.25 | 223.27 | 28.25 | 56.25 | 112.25 | 28.25 | 56.25 | 28.25 | ||||||||||||||||||
| vlseg7e16ff.v v8,(t0) | 28.25 | 56.25 | 111.12 | 28.25 | 56.25 | 111.12 | 28.25 | 56.25 | 28.25 | |||||||||||||||||||
| vlseg7e16ff.v v8,(t0),v0.t | 28.25 | 56.25 | 111.12 | 28.25 | 56.25 | 111.12 | 28.25 | 56.25 | 28.25 | |||||||||||||||||||
| vlseg7e32ff.v v8,(t0) | 28.25 | 55.02 | 28.25 | 55.04 | 28.25 | 55.01 | 28.25 | |||||||||||||||||||||
| vlseg7e32ff.v v8,(t0),v0.t | 28.25 | 55.04 | 28.25 | 55.04 | 28.25 | 55.04 | 28.25 | |||||||||||||||||||||
| vlseg7e64ff.v v8,(t0) | 27.19 | 27.23 | 27.20 | 27.17 | ||||||||||||||||||||||||
| vlseg7e64ff.v v8,(t0),v0.t | 27.24 | 27.20 | 27.17 | 27.23 | ||||||||||||||||||||||||
| vlseg8e8ff.v v8,(t0) | 32.15 | 64.12 | 128.12 | 255.18 | 32.15 | 64.12 | 128.12 | 32.15 | 64.12 | 32.15 | ||||||||||||||||||
| vlseg8e8ff.v v8,(t0),v0.t | 32.15 | 64.12 | 128.13 | 255.17 | 32.15 | 64.12 | 128.12 | 32.15 | 64.12 | 32.15 | ||||||||||||||||||
| vlseg8e16ff.v v8,(t0) | 32.14 | 64.14 | 127.12 | 32.14 | 64.13 | 127.13 | 32.13 | 64.13 | 32.13 | |||||||||||||||||||
| vlseg8e16ff.v v8,(t0),v0.t | 32.13 | 64.13 | 127.14 | 32.13 | 64.13 | 127.13 | 32.13 | 64.13 | 32.14 | |||||||||||||||||||
| vlseg8e32ff.v v8,(t0) | 32.19 | 63.17 | 32.16 | 63.16 | 32.17 | 63.17 | 32.19 | |||||||||||||||||||||
| vlseg8e32ff.v v8,(t0),v0.t | 32.17 | 63.17 | 32.21 | 63.17 | 32.17 | 63.16 | 32.18 | |||||||||||||||||||||
| vlseg8e64ff.v v8,(t0) | 31.12 | 31.12 | 31.12 | 31.12 | ||||||||||||||||||||||||
| vlseg8e64ff.v v8,(t0),v0.t | 31.12 | 31.12 | 31.12 | 31.12 | ||||||||||||||||||||||||
| vlsseg2e8.v v8,(t2),t3 | 5.30 | 6.12 | 10.91 | 25.00 | 59.01 | 137.01 | 5.16 | 5.96 | 11.72 | 25.00 | 59.01 | 5.24 | 6.07 | 9.50 | 25.00 | 5.22 | 5.50 | 9.50 | ||||||||||
| vlsseg2e8.v v8,(t2),t3,v0.t | 5.23 | 6.05 | 11.44 | 25.00 | 59.01 | 137.01 | 5.20 | 6.02 | 10.90 | 25.00 | 59.01 | 5.27 | 6.07 | 9.50 | 25.00 | 5.25 | 5.45 | 9.50 | ||||||||||
| vlsseg2e8.v v8,(t2),x0 | 5.14 | 5.62 | 9.00 | 19.50 | 55.50 | 130.00 | 5.33 | 5.62 | 9.00 | 19.50 | 55.50 | 5.24 | 5.62 | 9.00 | 19.50 | 5.23 | 5.00 | 9.00 | ||||||||||
| vlsseg2e8.v v8,(t2),x0,v0.t | 5.23 | 5.62 | 9.00 | 19.50 | 55.50 | 130.00 | 5.30 | 5.62 | 9.00 | 19.50 | 55.50 | 5.36 | 5.62 | 9.00 | 19.50 | 5.21 | 5.00 | 9.00 | ||||||||||
| vlsseg2e8.v v8,(t2),t1/*-1*/ | 5.02 | 5.97 | 9.50 | 24.52 | 60.00 | 137.01 | 5.25 | 5.97 | 9.50 | 25.65 | 60.00 | 5.21 | 5.91 | 9.50 | 23.97 | 4.97 | 5.45 | 9.50 | ||||||||||
| vlsseg2e8.v v8,(t2),t1/*-1*/,v0.t | 5.16 | 5.90 | 9.50 | 25.87 | 60.00 | 137.01 | 5.28 | 5.92 | 9.50 | 24.70 | 60.00 | 5.37 | 5.97 | 9.50 | 24.95 | 4.86 | 5.37 | 9.50 | ||||||||||
| vlsseg2e16.v v8,(t2),t3 | 5.17 | 6.48 | 14.00 | 5.17 | 6.53 | 14.00 | 35.70 | 81.05 | 5.18 | 6.53 | 14.00 | 35.35 | 5.19 | 5.50 | 14.00 | |||||||||||||
| vlsseg2e16.v v8,(t2),t3,v0.t | 5.17 | 6.43 | 14.00 | 5.13 | 6.48 | 14.00 | 35.35 | 81.15 | 5.19 | 6.38 | 14.00 | 35.65 | 5.12 | 5.50 | 14.00 | |||||||||||||
| vlsseg2e16.v v8,(t2),x0 | 5.03 | 5.62 | 11.50 | 5.10 | 5.62 | 11.50 | 32.00 | 75.50 | 5.29 | 5.62 | 11.50 | 32.00 | 5.32 | 5.00 | 11.50 | |||||||||||||
| vlsseg2e16.v v8,(t2),x0,v0.t | 5.21 | 5.62 | 11.50 | 5.43 | 5.62 | 11.50 | 32.00 | 75.50 | 5.30 | 5.62 | 11.50 | 32.00 | 5.18 | 5.00 | 11.50 | |||||||||||||
| vlsseg2e16.v v8,(t2),t1/*-1*/ | 4.94 | 6.12 | 13.93 | 5.14 | 6.12 | 13.81 | 36.00 | 80.55 | 5.07 | 6.12 | 13.68 | 35.62 | 5.08 | 5.50 | 13.52 | |||||||||||||
| vlsseg2e16.v v8,(t2),t1/*-1*/,v0.t | 4.91 | 6.12 | 13.26 | 5.23 | 6.12 | 13.68 | 35.70 | 80.35 | 4.99 | 6.12 | 13.83 | 35.50 | 5.07 | 5.50 | 13.85 | |||||||||||||
| vlsseg2e32.v v8,(t2),t3 | 5.07 | 9.87 | 4.81 | 9.90 | 5.04 | 9.89 | 21.72 | 51.77 | 4.75 | 9.81 | 21.95 | |||||||||||||||||
| vlsseg2e32.v v8,(t2),t3,v0.t | 5.01 | 9.79 | 5.07 | 9.91 | 5.04 | 9.75 | 22.00 | 51.95 | 4.82 | 9.72 | 21.86 | |||||||||||||||||
| vlsseg2e32.v v8,(t2),x0 | 5.12 | 9.00 | 5.36 | 9.00 | 5.28 | 9.00 | 20.51 | 46.00 | 5.28 | 9.03 | 20.51 | |||||||||||||||||
| vlsseg2e32.v v8,(t2),x0,v0.t | 5.35 | 9.00 | 5.32 | 9.00 | 5.43 | 9.25 | 20.51 | 46.00 | 5.28 | 9.05 | 20.51 | |||||||||||||||||
| vlsseg2e32.v v8,(t2),t1/*-1*/ | 4.86 | 8.92 | 4.78 | 9.00 | 4.82 | 8.97 | 23.16 | 52.77 | 4.81 | 8.87 | 23.50 | |||||||||||||||||
| vlsseg2e32.v v8,(t2),t1/*-1*/,v0.t | 4.80 | 8.92 | 4.85 | 8.97 | 4.81 | 8.87 | 22.66 | 52.62 | 4.80 | 9.00 | 22.91 | |||||||||||||||||
| vlsseg2e64.v v8,(t2),t3 | 5.88 | 5.84 | 5.90 | 5.94 | 15.00 | 32.07 | ||||||||||||||||||||||
| vlsseg2e64.v v8,(t2),t3,v0.t | 5.99 | 5.92 | 5.80 | 5.80 | 15.00 | 32.07 | ||||||||||||||||||||||
| vlsseg2e64.v v8,(t2),x0 | 7.43 | 7.03 | 7.43 | 7.16 | 17.05 | 28.01 | ||||||||||||||||||||||
| vlsseg2e64.v v8,(t2),x0,v0.t | 6.77 | 7.82 | 7.16 | 6.90 | 13.60 | 34.30 | ||||||||||||||||||||||
| vlsseg2e64.v v8,(t2),t1/*-1*/ | 5.88 | 5.93 | 5.99 | 5.93 | 15.00 | 32.07 | ||||||||||||||||||||||
| vlsseg2e64.v v8,(t2),t1/*-1*/,v0.t | 5.95 | 5.84 | 5.93 | 5.86 | 15.00 | 32.07 | ||||||||||||||||||||||
| vssseg2e8.v v8,(t2),t3 | 4.00 | 9.00 | 17.00 | 34.00 | 73.41 | 141.10 | 4.05 | 9.00 | 17.00 | 34.00 | 74.95 | 4.00 | 8.75 | 17.00 | 34.00 | 4.00 | 8.80 | 17.00 | ||||||||||
| vssseg2e8.v v8,(t2),t3,v0.t | 4.25 | 8.95 | 17.00 | 34.00 | 75.24 | 142.63 | 4.10 | 8.90 | 17.00 | 34.00 | 72.95 | 4.00 | 9.00 | 17.00 | 34.00 | 4.05 | 9.00 | 17.00 | ||||||||||
| vssseg2e8.v v8,(t2),x0 | 4.00 | 8.00 | 16.00 | 32.00 | 64.00 | 128.00 | 4.00 | 8.00 | 16.00 | 32.00 | 64.00 | 4.00 | 8.00 | 16.00 | 32.00 | 4.00 | 8.00 | 16.00 | ||||||||||
| vssseg2e8.v v8,(t2),x0,v0.t | 4.00 | 8.00 | 16.00 | 32.00 | 64.00 | 128.00 | 4.00 | 8.00 | 16.00 | 32.00 | 64.00 | 4.00 | 8.00 | 16.00 | 32.00 | 4.00 | 8.00 | 16.00 | ||||||||||
| vssseg2e8.v v8,(t2),t1/*-1*/ | 4.50 | 9.00 | 17.00 | 34.00 | 68.00 | 137.47 | 4.80 | 8.80 | 17.00 | 34.00 | 68.00 | 4.80 | 8.80 | 17.00 | 34.00 | 5.22 | 8.65 | 17.00 | ||||||||||
| vssseg2e8.v v8,(t2),t1/*-1*/,v0.t | 4.50 | 8.75 | 17.00 | 34.00 | 68.00 | 139.28 | 4.55 | 8.85 | 17.00 | 34.00 | 68.00 | 4.70 | 8.80 | 17.00 | 34.00 | 4.55 | 8.45 | 17.00 | ||||||||||
| vssseg2e16.v v8,(t2),t3 | 4.20 | 9.00 | 18.00 | 4.05 | 9.00 | 18.00 | 40.63 | 87.13 | 4.20 | 9.00 | 18.00 | 44.10 | 4.00 | 9.00 | 18.00 | |||||||||||||
| vssseg2e16.v v8,(t2),t3,v0.t | 4.42 | 9.00 | 18.00 | 4.00 | 9.00 | 18.16 | 42.06 | 81.66 | 4.20 | 9.00 | 18.00 | 42.31 | 4.20 | 9.00 | 18.00 | |||||||||||||
| vssseg2e16.v v8,(t2),x0 | 4.00 | 8.00 | 16.00 | 4.00 | 8.00 | 16.00 | 32.00 | 64.00 | 4.00 | 8.00 | 16.00 | 32.00 | 4.00 | 8.00 | 16.00 | |||||||||||||
| vssseg2e16.v v8,(t2),x0,v0.t | 4.00 | 8.00 | 16.00 | 4.00 | 8.00 | 16.00 | 32.00 | 64.00 | 4.20 | 8.00 | 16.00 | 32.00 | 4.00 | 8.00 | 16.00 | |||||||||||||
| vssseg2e16.v v8,(t2),t1/*-1*/ | 5.12 | 9.22 | 18.37 | 5.15 | 9.41 | 18.60 | 36.00 | 74.18 | 4.75 | 9.38 | 18.00 | 36.00 | 5.60 | 9.89 | 18.83 | |||||||||||||
| vssseg2e16.v v8,(t2),t1/*-1*/,v0.t | 4.80 | 9.00 | 18.00 | 5.67 | 9.00 | 18.00 | 36.00 | 75.76 | 4.50 | 9.00 | 18.00 | 36.00 | 4.85 | 9.00 | 18.00 | |||||||||||||
| vssseg2e32.v v8,(t2),t3 | 5.10 | 10.50 | 5.00 | 10.99 | 5.00 | 10.01 | 20.00 | 42.40 | 5.33 | 10.00 | 21.12 | |||||||||||||||||
| vssseg2e32.v v8,(t2),t3,v0.t | 5.89 | 10.00 | 5.00 | 10.00 | 5.00 | 10.00 | 21.14 | 42.15 | 5.00 | 10.00 | 21.01 | |||||||||||||||||
| vssseg2e32.v v8,(t2),x0 | 4.00 | 8.00 | 4.00 | 8.00 | 4.00 | 8.00 | 16.00 | 32.00 | 4.00 | 8.00 | 16.00 | |||||||||||||||||
| vssseg2e32.v v8,(t2),x0,v0.t | 4.00 | 8.00 | 4.00 | 8.00 | 4.00 | 9.20 | 16.00 | 33.60 | 4.00 | 8.00 | 16.00 | |||||||||||||||||
| vssseg2e32.v v8,(t2),t1/*-1*/ | 6.09 | 10.00 | 5.00 | 10.00 | 5.00 | 10.00 | 20.30 | 40.00 | 5.00 | 10.00 | 21.22 | |||||||||||||||||
| vssseg2e32.v v8,(t2),t1/*-1*/,v0.t | 5.00 | 10.00 | 5.00 | 10.00 | 5.00 | 10.00 | 20.00 | 43.56 | 5.00 | 10.00 | 20.00 | |||||||||||||||||
| vssseg2e64.v v8,(t2),t3 | 8.00 | 8.00 | 8.60 | 8.06 | 16.00 | 32.50 | ||||||||||||||||||||||
| vssseg2e64.v v8,(t2),t3,v0.t | 8.00 | 8.00 | 8.00 | 8.00 | 16.00 | 32.50 | ||||||||||||||||||||||
| vssseg2e64.v v8,(t2),x0 | 8.00 | 8.00 | 8.00 | 8.00 | 16.00 | 32.00 | ||||||||||||||||||||||
| vssseg2e64.v v8,(t2),x0,v0.t | 8.00 | 8.00 | 8.00 | 8.00 | 16.00 | 32.00 | ||||||||||||||||||||||
| vssseg2e64.v v8,(t2),t1/*-1*/ | 8.00 | 8.00 | 8.00 | 8.00 | 16.00 | 37.35 | ||||||||||||||||||||||
| vssseg2e64.v v8,(t2),t1/*-1*/,v0.t | 8.00 | 8.00 | 8.00 | 8.00 | 16.00 | 39.50 | ||||||||||||||||||||||
| vlsseg3e8.v v8,(t2),t3 | 5.63 | 6.33 | 12.33 | 27.80 | 68.01 | 5.53 | 6.33 | 12.67 | 27.80 | 5.57 | 6.40 | 12.67 | 5.53 | 6.75 | ||||||||||||||
| vlsseg3e8.v v8,(t2),t3,v0.t | 5.45 | 6.33 | 12.83 | 29.00 | 68.01 | 5.43 | 6.33 | 12.46 | 29.00 | 5.44 | 6.33 | 12.76 | 5.42 | 6.75 | ||||||||||||||
| vlsseg3e8.v v8,(t2),x0 | 4.89 | 6.25 | 9.83 | 22.00 | 60.57 | 4.95 | 6.25 | 9.83 | 23.65 | 5.04 | 6.25 | 9.83 | 4.95 | 6.25 | ||||||||||||||
| vlsseg3e8.v v8,(t2),x0,v0.t | 5.03 | 6.25 | 9.83 | 22.00 | 60.60 | 4.96 | 6.25 | 9.83 | 22.00 | 4.87 | 6.25 | 9.83 | 5.00 | 6.25 | ||||||||||||||
| vlsseg3e8.v v8,(t2),t1/*-1*/ | 5.24 | 6.68 | 10.83 | 28.95 | 68.01 | 5.18 | 6.62 | 10.83 | 29.20 | 5.20 | 6.74 | 10.83 | 5.20 | 7.15 | ||||||||||||||
| vlsseg3e8.v v8,(t2),t1/*-1*/,v0.t | 5.18 | 6.65 | 10.83 | 29.42 | 68.01 | 5.18 | 6.65 | 10.83 | 29.60 | 5.17 | 6.65 | 10.83 | 5.18 | 6.85 | ||||||||||||||
| vlsseg3e16.v v8,(t2),t3 | 5.06 | 7.25 | 18.00 | 5.05 | 7.32 | 17.72 | 42.94 | 5.06 | 7.25 | 17.72 | 5.07 | 7.36 | ||||||||||||||||
| vlsseg3e16.v v8,(t2),t3,v0.t | 5.06 | 7.25 | 18.20 | 5.06 | 7.36 | 17.52 | 43.46 | 5.06 | 7.32 | 17.35 | 5.04 | 7.25 | ||||||||||||||||
| vlsseg3e16.v v8,(t2),x0 | 4.95 | 6.42 | 11.50 | 4.92 | 6.25 | 11.55 | 37.00 | 4.98 | 6.25 | 11.50 | 5.01 | 6.25 | ||||||||||||||||
| vlsseg3e16.v v8,(t2),x0,v0.t | 4.93 | 6.25 | 11.50 | 5.00 | 6.25 | 12.59 | 37.00 | 4.93 | 6.25 | 11.50 | 4.95 | 6.25 | ||||||||||||||||
| vlsseg3e16.v v8,(t2),t1/*-1*/ | 5.20 | 6.83 | 14.21 | 5.19 | 6.83 | 14.19 | 42.26 | 5.22 | 6.83 | 14.35 | 5.25 | 7.25 | ||||||||||||||||
| vlsseg3e16.v v8,(t2),t1/*-1*/,v0.t | 5.21 | 6.83 | 14.19 | 5.19 | 6.83 | 14.11 | 42.31 | 5.22 | 6.83 | 14.09 | 5.21 | 7.25 | ||||||||||||||||
| vlsseg3e32.v v8,(t2),t3 | 5.25 | 11.00 | 5.25 | 11.00 | 5.25 | 11.00 | 31.80 | 5.25 | 11.00 | |||||||||||||||||||
| vlsseg3e32.v v8,(t2),t3,v0.t | 5.25 | 11.00 | 5.25 | 11.00 | 5.25 | 11.00 | 31.70 | 5.25 | 11.00 | |||||||||||||||||||
| vlsseg3e32.v v8,(t2),x0 | 5.44 | 9.62 | 5.24 | 9.50 | 5.10 | 10.33 | 25.50 | 5.13 | 9.87 | |||||||||||||||||||
| vlsseg3e32.v v8,(t2),x0,v0.t | 5.48 | 9.50 | 5.02 | 9.12 | 5.08 | 9.75 | 31.82 | 5.17 | 9.62 | |||||||||||||||||||
| vlsseg3e32.v v8,(t2),t1/*-1*/ | 5.25 | 10.56 | 5.25 | 10.45 | 5.25 | 10.42 | 31.40 | 5.25 | 10.64 | |||||||||||||||||||
| vlsseg3e32.v v8,(t2),t1/*-1*/,v0.t | 5.25 | 10.63 | 5.25 | 10.56 | 5.25 | 10.52 | 31.20 | 5.25 | 10.49 | |||||||||||||||||||
| vlsseg3e64.v v8,(t2),t3 | 10.19 | 10.19 | 10.38 | 10.38 | 24.00 | |||||||||||||||||||||||
| vlsseg3e64.v v8,(t2),t3,v0.t | 10.29 | 10.33 | 10.33 | 10.43 | 24.00 | |||||||||||||||||||||||
| vlsseg3e64.v v8,(t2),x0 | 11.26 | 10.95 | 10.57 | 10.95 | 23.46 | |||||||||||||||||||||||
| vlsseg3e64.v v8,(t2),x0,v0.t | 11.11 | 11.03 | 11.03 | 11.50 | 23.45 | |||||||||||||||||||||||
| vlsseg3e64.v v8,(t2),t1/*-1*/ | 9.37 | 9.38 | 9.37 | 9.37 | 22.00 | |||||||||||||||||||||||
| vlsseg3e64.v v8,(t2),t1/*-1*/,v0.t | 9.37 | 9.37 | 9.35 | 9.38 | 22.00 | |||||||||||||||||||||||
| vssseg3e8.v v8,(t2),t3 | 4.25 | 9.05 | 18.00 | 36.00 | 75.24 | 4.05 | 9.05 | 18.00 | 36.00 | 4.35 | 9.05 | 18.00 | 4.45 | 9.05 | ||||||||||||||
| vssseg3e8.v v8,(t2),t3,v0.t | 4.40 | 9.00 | 18.00 | 36.00 | 73.73 | 4.25 | 9.00 | 18.00 | 36.00 | 4.45 | 9.00 | 18.00 | 4.40 | 9.00 | ||||||||||||||
| vssseg3e8.v v8,(t2),x0 | 4.00 | 8.00 | 16.00 | 33.60 | 64.00 | 4.00 | 8.00 | 16.00 | 32.00 | 4.00 | 8.00 | 16.00 | 4.00 | 8.00 | ||||||||||||||
| vssseg3e8.v v8,(t2),x0,v0.t | 4.00 | 8.00 | 16.00 | 32.00 | 64.00 | 4.00 | 8.00 | 16.00 | 32.00 | 4.00 | 8.00 | 16.00 | 4.00 | 8.00 | ||||||||||||||
| vssseg3e8.v v8,(t2),t1/*-1*/ | 5.20 | 9.50 | 18.00 | 36.00 | 72.99 | 6.38 | 9.50 | 18.00 | 36.00 | 5.00 | 9.10 | 18.00 | 5.60 | 8.70 | ||||||||||||||
| vssseg3e8.v v8,(t2),t1/*-1*/,v0.t | 6.00 | 9.40 | 18.00 | 36.00 | 72.47 | 5.00 | 9.10 | 18.00 | 36.00 | 5.40 | 9.50 | 18.00 | 5.50 | 9.80 | ||||||||||||||
| vssseg3e16.v v8,(t2),t3 | 5.00 | 10.77 | 20.14 | 5.00 | 10.62 | 20.00 | 41.21 | 5.00 | 10.00 | 20.45 | 5.00 | 10.00 | ||||||||||||||||
| vssseg3e16.v v8,(t2),t3,v0.t | 5.00 | 10.00 | 20.00 | 5.35 | 13.42 | 20.00 | 41.22 | 5.00 | 10.00 | 20.00 | 5.00 | 10.00 | ||||||||||||||||
| vssseg3e16.v v8,(t2),x0 | 5.00 | 8.40 | 16.00 | 5.00 | 8.00 | 16.00 | 32.00 | 5.00 | 8.00 | 16.00 | 5.00 | 8.00 | ||||||||||||||||
| vssseg3e16.v v8,(t2),x0,v0.t | 5.00 | 8.00 | 16.00 | 5.45 | 8.00 | 16.00 | 32.00 | 5.00 | 8.40 | 16.00 | 5.00 | 8.00 | ||||||||||||||||
| vssseg3e16.v v8,(t2),t1/*-1*/ | 5.45 | 10.00 | 20.00 | 5.55 | 10.00 | 20.00 | 40.00 | 5.55 | 10.00 | 20.00 | 5.60 | 10.00 | ||||||||||||||||
| vssseg3e16.v v8,(t2),t1/*-1*/,v0.t | 5.65 | 10.00 | 20.00 | 5.85 | 10.00 | 20.00 | 40.00 | 5.35 | 10.00 | 20.00 | 5.80 | 10.00 | ||||||||||||||||
| vssseg3e32.v v8,(t2),t3 | 7.51 | 14.00 | 7.65 | 14.00 | 7.00 | 14.00 | 28.16 | 7.00 | 14.00 | |||||||||||||||||||
| vssseg3e32.v v8,(t2),t3,v0.t | 8.98 | 14.00 | 7.00 | 14.00 | 7.00 | 14.00 | 28.18 | 7.00 | 14.00 | |||||||||||||||||||
| vssseg3e32.v v8,(t2),x0 | 7.35 | 14.30 | 7.25 | 14.70 | 7.45 | 14.10 | 29.00 | 7.45 | 14.80 | |||||||||||||||||||
| vssseg3e32.v v8,(t2),x0,v0.t | 7.40 | 14.60 | 7.40 | 14.60 | 7.30 | 14.60 | 29.00 | 7.35 | 14.20 | |||||||||||||||||||
| vssseg3e32.v v8,(t2),t1/*-1*/ | 7.37 | 14.66 | 7.00 | 14.00 | 8.00 | 14.15 | 28.54 | 7.02 | 14.22 | |||||||||||||||||||
| vssseg3e32.v v8,(t2),t1/*-1*/,v0.t | 8.30 | 14.52 | 8.86 | 14.60 | 7.80 | 14.00 | 28.15 | 7.16 | 14.21 | |||||||||||||||||||
| vssseg3e64.v v8,(t2),t3 | 12.00 | 12.00 | 12.00 | 12.00 | 24.00 | |||||||||||||||||||||||
| vssseg3e64.v v8,(t2),t3,v0.t | 12.00 | 12.00 | 12.00 | 12.00 | 24.00 | |||||||||||||||||||||||
| vssseg3e64.v v8,(t2),x0 | 12.00 | 12.00 | 12.00 | 12.00 | 24.00 | |||||||||||||||||||||||
| vssseg3e64.v v8,(t2),x0,v0.t | 12.00 | 12.00 | 12.00 | 12.00 | 24.00 | |||||||||||||||||||||||
| vssseg3e64.v v8,(t2),t1/*-1*/ | 12.00 | 12.00 | 12.00 | 12.00 | 24.00 | |||||||||||||||||||||||
| vssseg3e64.v v8,(t2),t1/*-1*/,v0.t | 12.00 | 12.00 | 12.00 | 12.00 | 24.00 | |||||||||||||||||||||||
| vlsseg4e8.v v8,(t2),t3 | 6.01 | 6.87 | 13.27 | 27.90 | 72.01 | 5.60 | 6.82 | 13.38 | 28.80 | 5.90 | 6.97 | 13.10 | 5.84 | 6.87 | ||||||||||||||
| vlsseg4e8.v v8,(t2),t3,v0.t | 5.80 | 6.85 | 13.26 | 29.10 | 72.01 | 5.87 | 6.92 | 13.32 | 29.40 | 5.72 | 6.87 | 13.20 | 5.92 | 6.77 | ||||||||||||||
| vlsseg4e8.v v8,(t2),x0 | 5.52 | 6.25 | 10.25 | 22.00 | 63.00 | 5.54 | 6.25 | 10.25 | 22.00 | 5.65 | 6.25 | 10.65 | 5.54 | 6.56 | ||||||||||||||
| vlsseg4e8.v v8,(t2),x0,v0.t | 5.50 | 6.25 | 10.25 | 22.00 | 63.00 | 5.33 | 6.25 | 10.25 | 22.00 | 5.95 | 6.25 | 10.25 | 5.92 | 6.56 | ||||||||||||||
| vlsseg4e8.v v8,(t2),t1/*-1*/ | 6.10 | 7.31 | 11.75 | 29.07 | 72.01 | 6.07 | 7.12 | 11.75 | 29.67 | 6.09 | 7.17 | 11.75 | 6.06 | 7.36 | ||||||||||||||
| vlsseg4e8.v v8,(t2),t1/*-1*/,v0.t | 6.07 | 7.45 | 11.75 | 29.52 | 72.01 | 6.09 | 7.40 | 11.75 | 30.05 | 6.10 | 7.37 | 11.75 | 6.07 | 7.12 | ||||||||||||||
| vlsseg4e16.v v8,(t2),t3 | 5.42 | 7.86 | 19.12 | 5.40 | 7.93 | 19.17 | 48.04 | 5.44 | 7.95 | 19.10 | 5.43 | 8.09 | ||||||||||||||||
| vlsseg4e16.v v8,(t2),t3,v0.t | 5.46 | 7.93 | 19.12 | 5.43 | 7.93 | 19.15 | 47.45 | 5.41 | 7.92 | 19.42 | 5.42 | 8.03 | ||||||||||||||||
| vlsseg4e16.v v8,(t2),x0 | 5.72 | 7.25 | 13.16 | 5.75 | 6.65 | 13.17 | 44.20 | 5.80 | 7.65 | 14.05 | 5.66 | 7.66 | ||||||||||||||||
| vlsseg4e16.v v8,(t2),x0,v0.t | 5.59 | 6.85 | 13.63 | 5.76 | 6.25 | 13.16 | 40.67 | 5.65 | 6.65 | 18.03 | 5.76 | 7.11 | ||||||||||||||||
| vlsseg4e16.v v8,(t2),t1/*-1*/ | 5.81 | 7.75 | 16.87 | 6.01 | 7.75 | 16.87 | 49.83 | 5.95 | 7.75 | 16.90 | 6.03 | 7.75 | ||||||||||||||||
| vlsseg4e16.v v8,(t2),t1/*-1*/,v0.t | 6.01 | 7.75 | 17.00 | 5.91 | 7.75 | 16.97 | 50.00 | 5.92 | 7.75 | 17.00 | 6.06 | 7.75 | ||||||||||||||||
| vlsseg4e32.v v8,(t2),t3 | 6.06 | 12.00 | 6.08 | 12.00 | 6.10 | 12.00 | 37.60 | 6.12 | 12.00 | |||||||||||||||||||
| vlsseg4e32.v v8,(t2),t3,v0.t | 6.08 | 12.00 | 6.09 | 12.00 | 6.08 | 12.00 | 37.40 | 6.08 | 12.00 | |||||||||||||||||||
| vlsseg4e32.v v8,(t2),x0 | 5.42 | 12.66 | 5.69 | 12.66 | 5.54 | 12.15 | 34.64 | 5.61 | 12.08 | |||||||||||||||||||
| vlsseg4e32.v v8,(t2),x0,v0.t | 5.81 | 11.75 | 5.67 | 12.15 | 5.35 | 12.15 | 31.85 | 5.61 | 12.16 | |||||||||||||||||||
| vlsseg4e32.v v8,(t2),t1/*-1*/ | 6.06 | 12.13 | 6.06 | 12.12 | 6.06 | 12.11 | 36.55 | 6.06 | 12.00 | |||||||||||||||||||
| vlsseg4e32.v v8,(t2),t1/*-1*/,v0.t | 6.06 | 12.16 | 6.06 | 12.15 | 6.06 | 12.08 | 36.72 | 6.06 | 12.00 | |||||||||||||||||||
| vlsseg4e64.v v8,(t2),t3 | 10.71 | 10.66 | 10.58 | 10.42 | 31.35 | |||||||||||||||||||||||
| vlsseg4e64.v v8,(t2),t3,v0.t | 10.58 | 10.66 | 10.75 | 10.50 | 31.60 | |||||||||||||||||||||||
| vlsseg4e64.v v8,(t2),x0 | 11.41 | 11.36 | 11.39 | 11.43 | 31.85 | |||||||||||||||||||||||
| vlsseg4e64.v v8,(t2),x0,v0.t | 11.43 | 11.39 | 11.34 | 11.45 | 30.10 | |||||||||||||||||||||||
| vlsseg4e64.v v8,(t2),t1/*-1*/ | 13.00 | 13.00 | 13.00 | 13.00 | 31.88 | |||||||||||||||||||||||
| vlsseg4e64.v v8,(t2),t1/*-1*/,v0.t | 13.00 | 13.00 | 13.00 | 13.00 | 32.62 | |||||||||||||||||||||||
| vssseg4e8.v v8,(t2),t3 | 5.00 | 9.10 | 19.00 | 38.00 | 76.01 | 5.00 | 9.15 | 19.00 | 38.00 | 5.00 | 9.45 | 19.00 | 5.00 | 9.25 | ||||||||||||||
| vssseg4e8.v v8,(t2),t3,v0.t | 5.00 | 9.15 | 19.00 | 38.00 | 76.00 | 5.00 | 9.45 | 19.00 | 38.00 | 5.00 | 9.25 | 19.00 | 5.00 | 9.20 | ||||||||||||||
| vssseg4e8.v v8,(t2),x0 | 5.00 | 8.00 | 16.00 | 32.00 | 64.00 | 5.00 | 8.00 | 16.00 | 32.00 | 5.00 | 8.00 | 16.00 | 5.00 | 8.00 | ||||||||||||||
| vssseg4e8.v v8,(t2),x0,v0.t | 5.00 | 8.00 | 16.00 | 32.00 | 67.20 | 5.00 | 8.00 | 16.00 | 36.80 | 5.00 | 8.00 | 16.00 | 5.00 | 8.00 | ||||||||||||||
| vssseg4e8.v v8,(t2),t1/*-1*/ | 7.11 | 10.10 | 19.00 | 38.00 | 77.54 | 6.60 | 10.30 | 19.00 | 38.00 | 6.00 | 10.25 | 19.00 | 6.51 | 9.45 | ||||||||||||||
| vssseg4e8.v v8,(t2),t1/*-1*/,v0.t | 6.28 | 9.80 | 19.00 | 38.00 | 76.56 | 6.40 | 9.65 | 19.00 | 38.00 | 5.80 | 9.55 | 19.00 | 6.20 | 10.05 | ||||||||||||||
| vssseg4e16.v v8,(t2),t3 | 6.58 | 11.30 | 23.00 | 6.00 | 11.35 | 22.50 | 46.35 | 6.00 | 11.05 | 23.00 | 6.00 | 11.25 | ||||||||||||||||
| vssseg4e16.v v8,(t2),t3,v0.t | 6.00 | 11.30 | 23.00 | 6.00 | 11.25 | 22.50 | 48.61 | 6.00 | 11.25 | 22.40 | 6.00 | 11.55 | ||||||||||||||||
| vssseg4e16.v v8,(t2),x0 | 6.40 | 11.80 | 20.28 | 6.10 | 10.00 | 20.28 | 52.00 | 6.50 | 10.00 | 20.28 | 6.00 | 10.00 | ||||||||||||||||
| vssseg4e16.v v8,(t2),x0,v0.t | 6.30 | 10.00 | 22.63 | 6.20 | 10.30 | 22.63 | 53.20 | 6.00 | 11.20 | 20.87 | 6.00 | 10.00 | ||||||||||||||||
| vssseg4e16.v v8,(t2),t1/*-1*/ | 6.85 | 12.45 | 25.02 | 6.45 | 11.95 | 25.88 | 54.94 | 6.80 | 12.30 | 25.46 | 6.60 | 12.65 | ||||||||||||||||
| vssseg4e16.v v8,(t2),t1/*-1*/,v0.t | 6.67 | 12.65 | 27.29 | 6.65 | 12.35 | 27.26 | 54.82 | 6.40 | 12.50 | 28.00 | 6.65 | 12.55 | ||||||||||||||||
| vssseg4e32.v v8,(t2),t3 | 9.45 | 18.87 | 9.22 | 19.10 | 9.50 | 18.95 | 41.29 | 9.00 | 18.70 | |||||||||||||||||||
| vssseg4e32.v v8,(t2),t3,v0.t | 9.35 | 18.95 | 9.25 | 18.87 | 9.25 | 18.80 | 40.96 | 9.35 | 18.47 | |||||||||||||||||||
| vssseg4e32.v v8,(t2),x0 | 9.55 | 18.14 | 8.70 | 18.57 | 9.10 | 17.50 | 37.65 | 9.00 | 19.00 | |||||||||||||||||||
| vssseg4e32.v v8,(t2),x0,v0.t | 8.60 | 19.64 | 8.90 | 18.35 | 9.20 | 18.14 | 35.92 | 8.80 | 18.35 | |||||||||||||||||||
| vssseg4e32.v v8,(t2),t1/*-1*/ | 9.50 | 18.65 | 10.17 | 18.72 | 9.40 | 18.87 | 39.76 | 9.20 | 19.02 | |||||||||||||||||||
| vssseg4e32.v v8,(t2),t1/*-1*/,v0.t | 10.43 | 18.87 | 9.20 | 18.87 | 9.15 | 19.32 | 39.29 | 9.55 | 18.72 | |||||||||||||||||||
| vssseg4e64.v v8,(t2),t3 | 16.50 | 17.20 | 16.50 | 16.40 | 34.43 | |||||||||||||||||||||||
| vssseg4e64.v v8,(t2),t3,v0.t | 16.30 | 16.70 | 16.80 | 16.40 | 33.31 | |||||||||||||||||||||||
| vssseg4e64.v v8,(t2),x0 | 16.60 | 16.90 | 17.30 | 16.30 | 33.57 | |||||||||||||||||||||||
| vssseg4e64.v v8,(t2),x0,v0.t | 16.70 | 16.60 | 16.80 | 16.60 | 34.52 | |||||||||||||||||||||||
| vssseg4e64.v v8,(t2),t1/*-1*/ | 16.40 | 16.30 | 16.80 | 16.70 | 32.40 | |||||||||||||||||||||||
| vssseg4e64.v v8,(t2),t1/*-1*/,v0.t | 17.20 | 16.00 | 16.60 | 16.60 | 32.80 | |||||||||||||||||||||||
| vlsseg5e8.v v8,(t2),t3 | 20.00 | 40.00 | 80.00 | 159.27 | 20.00 | 40.00 | 80.00 | 20.00 | 40.00 | 20.00 | ||||||||||||||||||
| vlsseg5e8.v v8,(t2),t3,v0.t | 20.00 | 40.00 | 80.00 | 159.26 | 20.00 | 40.00 | 80.00 | 20.00 | 40.00 | 20.00 | ||||||||||||||||||
| vlsseg5e8.v v8,(t2),x0 | 20.00 | 40.00 | 80.00 | 159.20 | 20.00 | 40.00 | 80.00 | 20.00 | 40.00 | 20.00 | ||||||||||||||||||
| vlsseg5e8.v v8,(t2),x0,v0.t | 20.00 | 40.00 | 80.00 | 159.20 | 20.00 | 40.00 | 80.00 | 20.00 | 40.00 | 20.00 | ||||||||||||||||||
| vlsseg5e8.v v8,(t2),t1/*-1*/ | 20.00 | 40.00 | 80.00 | 159.20 | 20.00 | 40.00 | 80.00 | 20.00 | 40.00 | 20.00 | ||||||||||||||||||
| vlsseg5e8.v v8,(t2),t1/*-1*/,v0.t | 20.00 | 40.00 | 80.00 | 159.20 | 20.00 | 40.00 | 80.00 | 20.00 | 40.00 | 20.00 | ||||||||||||||||||
| vlsseg5e16.v v8,(t2),t3 | 20.00 | 40.00 | 79.25 | 20.00 | 40.00 | 79.25 | 20.00 | 40.00 | 20.00 | |||||||||||||||||||
| vlsseg5e16.v v8,(t2),t3,v0.t | 20.00 | 40.00 | 79.25 | 20.00 | 40.00 | 79.24 | 20.00 | 40.00 | 20.00 | |||||||||||||||||||
| vlsseg5e16.v v8,(t2),x0 | 20.00 | 40.00 | 79.20 | 20.00 | 40.00 | 79.20 | 20.00 | 40.00 | 20.00 | |||||||||||||||||||
| vlsseg5e16.v v8,(t2),x0,v0.t | 20.00 | 40.00 | 79.20 | 20.00 | 40.00 | 79.20 | 20.00 | 40.00 | 20.00 | |||||||||||||||||||
| vlsseg5e16.v v8,(t2),t1/*-1*/ | 20.00 | 40.00 | 79.20 | 20.00 | 40.00 | 79.20 | 20.00 | 40.00 | 20.00 | |||||||||||||||||||
| vlsseg5e16.v v8,(t2),t1/*-1*/,v0.t | 20.00 | 40.00 | 79.20 | 20.00 | 40.00 | 79.25 | 20.00 | 40.00 | 20.00 | |||||||||||||||||||
| vlsseg5e32.v v8,(t2),t3 | 20.00 | 39.54 | 20.00 | 39.42 | 20.00 | 39.40 | 20.00 | |||||||||||||||||||||
| vlsseg5e32.v v8,(t2),t3,v0.t | 20.00 | 39.54 | 20.00 | 39.42 | 20.00 | 39.41 | 20.00 | |||||||||||||||||||||
| vlsseg5e32.v v8,(t2),x0 | 20.00 | 39.20 | 20.00 | 39.20 | 20.00 | 39.20 | 20.00 | |||||||||||||||||||||
| vlsseg5e32.v v8,(t2),x0,v0.t | 20.00 | 39.20 | 20.00 | 39.20 | 20.00 | 39.20 | 20.00 | |||||||||||||||||||||
| vlsseg5e32.v v8,(t2),t1/*-1*/ | 20.00 | 39.48 | 20.00 | 39.43 | 20.00 | 39.46 | 20.00 | |||||||||||||||||||||
| vlsseg5e32.v v8,(t2),t1/*-1*/,v0.t | 20.00 | 39.46 | 20.00 | 39.47 | 20.00 | 39.49 | 20.00 | |||||||||||||||||||||
| vlsseg5e64.v v8,(t2),t3 | 19.37 | 19.37 | 19.37 | 19.37 | ||||||||||||||||||||||||
| vlsseg5e64.v v8,(t2),t3,v0.t | 19.37 | 19.37 | 19.37 | 19.37 | ||||||||||||||||||||||||
| vlsseg5e64.v v8,(t2),x0 | 19.48 | 19.49 | 19.47 | 19.46 | ||||||||||||||||||||||||
| vlsseg5e64.v v8,(t2),x0,v0.t | 19.47 | 19.47 | 19.49 | 19.48 | ||||||||||||||||||||||||
| vlsseg5e64.v v8,(t2),t1/*-1*/ | 19.37 | 19.37 | 19.37 | 19.37 | ||||||||||||||||||||||||
| vlsseg5e64.v v8,(t2),t1/*-1*/,v0.t | 19.37 | 19.37 | 19.37 | 19.37 | ||||||||||||||||||||||||
| vssseg5e8.v v8,(t2),t3 | 20.00 | 40.00 | 80.00 | 160.00 | 20.00 | 40.00 | 80.00 | 20.00 | 40.00 | 20.00 | ||||||||||||||||||
| vssseg5e8.v v8,(t2),t3,v0.t | 20.00 | 40.00 | 80.00 | 160.00 | 20.00 | 40.00 | 80.00 | 20.00 | 40.00 | 20.00 | ||||||||||||||||||
| vssseg5e8.v v8,(t2),x0 | 20.00 | 40.00 | 80.00 | 160.00 | 20.00 | 40.00 | 80.00 | 20.00 | 40.00 | 20.00 | ||||||||||||||||||
| vssseg5e8.v v8,(t2),x0,v0.t | 20.00 | 40.00 | 80.00 | 160.00 | 20.00 | 40.00 | 80.00 | 20.00 | 40.00 | 20.00 | ||||||||||||||||||
| vssseg5e8.v v8,(t2),t1/*-1*/ | 20.00 | 40.00 | 80.00 | 160.00 | 20.00 | 40.00 | 80.00 | 20.00 | 40.00 | 20.00 | ||||||||||||||||||
| vssseg5e8.v v8,(t2),t1/*-1*/,v0.t | 20.00 | 40.00 | 80.00 | 160.00 | 20.00 | 40.00 | 80.00 | 20.00 | 40.00 | 20.00 | ||||||||||||||||||
| vssseg5e16.v v8,(t2),t3 | 20.00 | 40.00 | 80.96 | 20.00 | 40.00 | 80.81 | 20.00 | 40.00 | 20.00 | |||||||||||||||||||
| vssseg5e16.v v8,(t2),t3,v0.t | 20.00 | 40.00 | 80.00 | 20.00 | 40.00 | 80.17 | 20.00 | 40.00 | 20.00 | |||||||||||||||||||
| vssseg5e16.v v8,(t2),x0 | 20.00 | 40.00 | 80.00 | 20.00 | 40.00 | 80.00 | 20.00 | 40.00 | 20.00 | |||||||||||||||||||
| vssseg5e16.v v8,(t2),x0,v0.t | 20.00 | 40.00 | 80.00 | 20.00 | 40.00 | 80.00 | 20.00 | 40.00 | 20.00 | |||||||||||||||||||
| vssseg5e16.v v8,(t2),t1/*-1*/ | 20.00 | 40.00 | 80.00 | 20.00 | 40.00 | 80.00 | 20.00 | 40.00 | 20.00 | |||||||||||||||||||
| vssseg5e16.v v8,(t2),t1/*-1*/,v0.t | 20.00 | 40.00 | 80.00 | 20.00 | 40.00 | 80.00 | 20.00 | 40.00 | 20.00 | |||||||||||||||||||
| vssseg5e32.v v8,(t2),t3 | 20.00 | 40.00 | 20.00 | 40.00 | 20.00 | 40.00 | 20.00 | |||||||||||||||||||||
| vssseg5e32.v v8,(t2),t3,v0.t | 20.00 | 40.00 | 20.00 | 40.00 | 20.00 | 40.00 | 20.00 | |||||||||||||||||||||
| vssseg5e32.v v8,(t2),x0 | 20.00 | 40.00 | 20.00 | 40.00 | 20.00 | 40.00 | 20.00 | |||||||||||||||||||||
| vssseg5e32.v v8,(t2),x0,v0.t | 20.00 | 40.00 | 20.00 | 40.00 | 20.00 | 40.00 | 20.00 | |||||||||||||||||||||
| vssseg5e32.v v8,(t2),t1/*-1*/ | 20.00 | 40.00 | 20.08 | 40.00 | 20.00 | 40.00 | 20.00 | |||||||||||||||||||||
| vssseg5e32.v v8,(t2),t1/*-1*/,v0.t | 20.00 | 40.00 | 20.13 | 40.00 | 20.00 | 40.00 | 20.06 | |||||||||||||||||||||
| vssseg5e64.v v8,(t2),t3 | 20.15 | 20.07 | 20.52 | 20.00 | ||||||||||||||||||||||||
| vssseg5e64.v v8,(t2),t3,v0.t | 20.00 | 20.30 | 20.10 | 20.00 | ||||||||||||||||||||||||
| vssseg5e64.v v8,(t2),x0 | 20.00 | 20.00 | 20.00 | 20.00 | ||||||||||||||||||||||||
| vssseg5e64.v v8,(t2),x0,v0.t | 20.00 | 20.00 | 20.00 | 20.00 | ||||||||||||||||||||||||
| vssseg5e64.v v8,(t2),t1/*-1*/ | 20.00 | 20.00 | 20.00 | 20.00 | ||||||||||||||||||||||||
| vssseg5e64.v v8,(t2),t1/*-1*/,v0.t | 20.00 | 20.00 | 20.00 | 20.00 | ||||||||||||||||||||||||
| vlsseg6e8.v v8,(t2),t3 | 24.37 | 48.37 | 96.37 | 191.15 | 24.37 | 48.37 | 96.37 | 24.37 | 48.37 | 24.37 | ||||||||||||||||||
| vlsseg6e8.v v8,(t2),t3,v0.t | 24.37 | 48.37 | 96.37 | 191.14 | 24.37 | 48.37 | 96.37 | 24.37 | 48.37 | 24.37 | ||||||||||||||||||
| vlsseg6e8.v v8,(t2),x0 | 24.37 | 48.37 | 96.37 | 191.37 | 24.37 | 48.37 | 96.37 | 24.37 | 48.37 | 24.37 | ||||||||||||||||||
| vlsseg6e8.v v8,(t2),x0,v0.t | 24.37 | 48.37 | 96.37 | 191.37 | 24.37 | 48.37 | 96.37 | 24.37 | 48.37 | 24.37 | ||||||||||||||||||
| vlsseg6e8.v v8,(t2),t1/*-1*/ | 24.37 | 48.37 | 96.37 | 191.12 | 24.37 | 48.37 | 96.37 | 24.37 | 48.37 | 24.37 | ||||||||||||||||||
| vlsseg6e8.v v8,(t2),t1/*-1*/,v0.t | 24.37 | 48.37 | 96.37 | 191.12 | 24.37 | 48.37 | 96.37 | 24.37 | 48.37 | 24.37 | ||||||||||||||||||
| vlsseg6e16.v v8,(t2),t3 | 24.37 | 48.37 | 95.18 | 24.37 | 48.37 | 95.19 | 24.37 | 48.37 | 24.37 | |||||||||||||||||||
| vlsseg6e16.v v8,(t2),t3,v0.t | 24.37 | 48.37 | 95.20 | 24.37 | 48.37 | 95.23 | 24.37 | 48.37 | 24.37 | |||||||||||||||||||
| vlsseg6e16.v v8,(t2),x0 | 24.37 | 48.37 | 95.25 | 24.37 | 48.37 | 95.25 | 24.37 | 48.37 | 24.37 | |||||||||||||||||||
| vlsseg6e16.v v8,(t2),x0,v0.t | 24.37 | 48.37 | 95.25 | 24.37 | 48.37 | 95.25 | 24.37 | 48.37 | 24.37 | |||||||||||||||||||
| vlsseg6e16.v v8,(t2),t1/*-1*/ | 24.37 | 48.37 | 95.16 | 24.37 | 48.37 | 95.15 | 24.37 | 48.37 | 24.37 | |||||||||||||||||||
| vlsseg6e16.v v8,(t2),t1/*-1*/,v0.t | 24.37 | 48.37 | 95.20 | 24.37 | 48.37 | 95.18 | 24.37 | 48.37 | 24.37 | |||||||||||||||||||
| vlsseg6e32.v v8,(t2),t3 | 24.37 | 47.26 | 24.37 | 47.25 | 24.37 | 47.22 | 24.37 | |||||||||||||||||||||
| vlsseg6e32.v v8,(t2),t3,v0.t | 24.37 | 47.25 | 24.37 | 47.24 | 24.37 | 47.27 | 24.37 | |||||||||||||||||||||
| vlsseg6e32.v v8,(t2),x0 | 24.37 | 47.50 | 24.37 | 47.50 | 24.37 | 47.50 | 24.37 | |||||||||||||||||||||
| vlsseg6e32.v v8,(t2),x0,v0.t | 24.37 | 47.50 | 24.37 | 47.50 | 24.37 | 47.50 | 24.37 | |||||||||||||||||||||
| vlsseg6e32.v v8,(t2),t1/*-1*/ | 24.37 | 47.27 | 24.37 | 47.26 | 24.37 | 47.29 | 24.37 | |||||||||||||||||||||
| vlsseg6e32.v v8,(t2),t1/*-1*/,v0.t | 24.37 | 47.30 | 24.37 | 47.28 | 24.37 | 47.30 | 24.37 | |||||||||||||||||||||
| vlsseg6e64.v v8,(t2),t3 | 23.21 | 23.20 | 23.19 | 23.19 | ||||||||||||||||||||||||
| vlsseg6e64.v v8,(t2),t3,v0.t | 23.21 | 23.20 | 23.21 | 23.20 | ||||||||||||||||||||||||
| vlsseg6e64.v v8,(t2),x0 | 23.50 | 23.50 | 23.50 | 23.50 | ||||||||||||||||||||||||
| vlsseg6e64.v v8,(t2),x0,v0.t | 23.50 | 23.50 | 23.50 | 23.50 | ||||||||||||||||||||||||
| vlsseg6e64.v v8,(t2),t1/*-1*/ | 23.20 | 23.23 | 23.21 | 23.17 | ||||||||||||||||||||||||
| vlsseg6e64.v v8,(t2),t1/*-1*/,v0.t | 23.18 | 23.21 | 23.19 | 23.19 | ||||||||||||||||||||||||
| vssseg6e8.v v8,(t2),t3 | 24.00 | 48.00 | 96.00 | 192.55 | 24.00 | 48.00 | 96.00 | 24.00 | 48.00 | 24.00 | ||||||||||||||||||
| vssseg6e8.v v8,(t2),t3,v0.t | 24.00 | 48.00 | 96.00 | 192.00 | 24.00 | 48.00 | 96.00 | 24.00 | 48.00 | 24.00 | ||||||||||||||||||
| vssseg6e8.v v8,(t2),x0 | 24.00 | 48.00 | 96.00 | 192.00 | 24.00 | 48.00 | 96.00 | 24.00 | 48.00 | 24.00 | ||||||||||||||||||
| vssseg6e8.v v8,(t2),x0,v0.t | 24.00 | 48.00 | 96.00 | 192.00 | 24.00 | 48.00 | 96.00 | 24.00 | 48.00 | 24.00 | ||||||||||||||||||
| vssseg6e8.v v8,(t2),t1/*-1*/ | 24.00 | 48.00 | 96.00 | 192.00 | 24.00 | 48.00 | 96.00 | 24.00 | 48.00 | 24.00 | ||||||||||||||||||
| vssseg6e8.v v8,(t2),t1/*-1*/,v0.t | 24.00 | 48.00 | 96.00 | 192.00 | 24.00 | 48.00 | 96.00 | 24.00 | 48.00 | 24.00 | ||||||||||||||||||
| vssseg6e16.v v8,(t2),t3 | 24.00 | 48.00 | 96.25 | 24.00 | 48.00 | 96.00 | 24.00 | 48.00 | 24.00 | |||||||||||||||||||
| vssseg6e16.v v8,(t2),t3,v0.t | 24.00 | 48.00 | 96.00 | 24.00 | 48.00 | 96.00 | 24.00 | 48.00 | 24.00 | |||||||||||||||||||
| vssseg6e16.v v8,(t2),x0 | 24.00 | 48.00 | 96.00 | 24.00 | 48.00 | 96.00 | 24.00 | 48.00 | 24.00 | |||||||||||||||||||
| vssseg6e16.v v8,(t2),x0,v0.t | 24.00 | 48.00 | 96.00 | 24.00 | 48.00 | 96.00 | 24.00 | 48.00 | 24.00 | |||||||||||||||||||
| vssseg6e16.v v8,(t2),t1/*-1*/ | 24.00 | 48.00 | 96.00 | 24.00 | 48.00 | 96.00 | 24.00 | 48.00 | 24.00 | |||||||||||||||||||
| vssseg6e16.v v8,(t2),t1/*-1*/,v0.t | 24.00 | 48.00 | 96.00 | 24.05 | 48.00 | 96.00 | 24.00 | 48.00 | 24.00 | |||||||||||||||||||
| vssseg6e32.v v8,(t2),t3 | 24.00 | 48.33 | 24.00 | 48.44 | 24.00 | 49.07 | 24.00 | |||||||||||||||||||||
| vssseg6e32.v v8,(t2),t3,v0.t | 24.00 | 48.00 | 24.00 | 48.46 | 24.00 | 49.38 | 24.00 | |||||||||||||||||||||
| vssseg6e32.v v8,(t2),x0 | 24.00 | 48.00 | 24.00 | 48.00 | 24.00 | 48.00 | 24.00 | |||||||||||||||||||||
| vssseg6e32.v v8,(t2),x0,v0.t | 24.00 | 48.00 | 24.00 | 48.00 | 24.00 | 48.00 | 24.00 | |||||||||||||||||||||
| vssseg6e32.v v8,(t2),t1/*-1*/ | 24.00 | 48.00 | 24.00 | 48.00 | 24.00 | 48.00 | 24.00 | |||||||||||||||||||||
| vssseg6e32.v v8,(t2),t1/*-1*/,v0.t | 24.00 | 48.00 | 24.00 | 48.00 | 24.00 | 48.00 | 24.00 | |||||||||||||||||||||
| vssseg6e64.v v8,(t2),t3 | 24.00 | 24.16 | 24.41 | 25.05 | ||||||||||||||||||||||||
| vssseg6e64.v v8,(t2),t3,v0.t | 24.55 | 24.32 | 24.03 | 24.00 | ||||||||||||||||||||||||
| vssseg6e64.v v8,(t2),x0 | 24.00 | 24.00 | 24.00 | 24.00 | ||||||||||||||||||||||||
| vssseg6e64.v v8,(t2),x0,v0.t | 24.00 | 24.00 | 24.00 | 24.00 | ||||||||||||||||||||||||
| vssseg6e64.v v8,(t2),t1/*-1*/ | 24.00 | 24.00 | 24.00 | 24.00 | ||||||||||||||||||||||||
| vssseg6e64.v v8,(t2),t1/*-1*/,v0.t | 24.00 | 24.00 | 24.00 | 24.00 | ||||||||||||||||||||||||
| vlsseg7e8.v v8,(t2),t3 | 28.25 | 56.25 | 112.25 | 223.12 | 28.25 | 56.25 | 112.25 | 28.25 | 56.25 | 28.25 | ||||||||||||||||||
| vlsseg7e8.v v8,(t2),t3,v0.t | 28.25 | 56.25 | 112.25 | 223.12 | 28.25 | 56.25 | 112.25 | 28.25 | 56.25 | 28.25 | ||||||||||||||||||
| vlsseg7e8.v v8,(t2),x0 | 28.25 | 56.25 | 112.25 | 223.00 | 28.25 | 56.25 | 112.25 | 28.25 | 56.25 | 28.25 | ||||||||||||||||||
| vlsseg7e8.v v8,(t2),x0,v0.t | 28.25 | 56.25 | 112.25 | 223.00 | 28.25 | 56.25 | 112.25 | 28.25 | 56.25 | 28.25 | ||||||||||||||||||
| vlsseg7e8.v v8,(t2),t1/*-1*/ | 28.25 | 56.25 | 112.25 | 223.15 | 28.25 | 56.25 | 112.25 | 28.25 | 56.25 | 28.25 | ||||||||||||||||||
| vlsseg7e8.v v8,(t2),t1/*-1*/,v0.t | 28.25 | 56.25 | 112.25 | 223.18 | 28.25 | 56.25 | 112.25 | 28.25 | 56.25 | 28.25 | ||||||||||||||||||
| vlsseg7e16.v v8,(t2),t3 | 28.25 | 56.25 | 111.12 | 28.25 | 56.25 | 111.12 | 28.25 | 56.25 | 28.25 | |||||||||||||||||||
| vlsseg7e16.v v8,(t2),t3,v0.t | 28.25 | 56.25 | 111.12 | 28.25 | 56.25 | 111.13 | 28.25 | 56.25 | 28.25 | |||||||||||||||||||
| vlsseg7e16.v v8,(t2),x0 | 28.25 | 56.25 | 111.37 | 28.25 | 56.25 | 111.37 | 28.25 | 56.25 | 28.25 | |||||||||||||||||||
| vlsseg7e16.v v8,(t2),x0,v0.t | 28.25 | 56.25 | 111.37 | 28.25 | 56.25 | 111.37 | 28.25 | 56.25 | 28.25 | |||||||||||||||||||
| vlsseg7e16.v v8,(t2),t1/*-1*/ | 28.25 | 56.25 | 111.12 | 28.25 | 56.25 | 111.11 | 28.25 | 56.25 | 28.25 | |||||||||||||||||||
| vlsseg7e16.v v8,(t2),t1/*-1*/,v0.t | 28.25 | 56.25 | 111.12 | 28.25 | 56.25 | 111.12 | 28.25 | 56.25 | 28.25 | |||||||||||||||||||
| vlsseg7e32.v v8,(t2),t3 | 28.25 | 55.19 | 28.25 | 55.21 | 28.25 | 55.22 | 28.25 | |||||||||||||||||||||
| vlsseg7e32.v v8,(t2),t3,v0.t | 28.25 | 55.20 | 28.25 | 55.17 | 28.25 | 55.21 | 28.25 | |||||||||||||||||||||
| vlsseg7e32.v v8,(t2),x0 | 28.25 | 55.25 | 28.25 | 55.26 | 28.25 | 55.25 | 28.25 | |||||||||||||||||||||
| vlsseg7e32.v v8,(t2),x0,v0.t | 28.25 | 55.28 | 28.25 | 55.26 | 28.25 | 55.27 | 28.25 | |||||||||||||||||||||
| vlsseg7e32.v v8,(t2),t1/*-1*/ | 28.25 | 55.12 | 28.25 | 55.10 | 28.25 | 55.09 | 28.25 | |||||||||||||||||||||
| vlsseg7e32.v v8,(t2),t1/*-1*/,v0.t | 28.25 | 55.02 | 28.25 | 55.12 | 28.25 | 55.05 | 28.25 | |||||||||||||||||||||
| vlsseg7e64.v v8,(t2),t3 | 27.13 | 27.15 | 27.17 | 27.13 | ||||||||||||||||||||||||
| vlsseg7e64.v v8,(t2),t3,v0.t | 27.12 | 27.13 | 27.18 | 27.22 | ||||||||||||||||||||||||
| vlsseg7e64.v v8,(t2),x0 | 27.17 | 27.22 | 27.22 | 27.24 | ||||||||||||||||||||||||
| vlsseg7e64.v v8,(t2),x0,v0.t | 27.25 | 27.21 | 27.23 | 27.19 | ||||||||||||||||||||||||
| vlsseg7e64.v v8,(t2),t1/*-1*/ | 27.07 | 27.06 | 27.05 | 27.07 | ||||||||||||||||||||||||
| vlsseg7e64.v v8,(t2),t1/*-1*/,v0.t | 27.06 | 27.01 | 27.06 | 27.07 | ||||||||||||||||||||||||
| vssseg7e8.v v8,(t2),t3 | 28.00 | 56.00 | 112.00 | 224.00 | 28.00 | 56.00 | 112.00 | 28.00 | 56.00 | 28.00 | ||||||||||||||||||
| vssseg7e8.v v8,(t2),t3,v0.t | 28.00 | 56.00 | 112.00 | 224.18 | 28.00 | 56.00 | 112.00 | 28.00 | 56.00 | 28.00 | ||||||||||||||||||
| vssseg7e8.v v8,(t2),x0 | 28.00 | 56.00 | 112.00 | 224.00 | 28.00 | 56.00 | 112.00 | 28.00 | 56.00 | 28.00 | ||||||||||||||||||
| vssseg7e8.v v8,(t2),x0,v0.t | 28.00 | 56.00 | 112.00 | 224.00 | 28.00 | 56.00 | 112.00 | 28.00 | 56.00 | 28.00 | ||||||||||||||||||
| vssseg7e8.v v8,(t2),t1/*-1*/ | 28.00 | 56.00 | 112.00 | 224.00 | 28.00 | 56.00 | 112.00 | 28.00 | 56.00 | 28.00 | ||||||||||||||||||
| vssseg7e8.v v8,(t2),t1/*-1*/,v0.t | 28.00 | 56.00 | 112.00 | 224.01 | 28.00 | 56.00 | 112.00 | 28.00 | 56.00 | 28.00 | ||||||||||||||||||
| vssseg7e16.v v8,(t2),t3 | 28.00 | 56.54 | 112.42 | 28.00 | 56.00 | 112.21 | 28.00 | 56.00 | 28.00 | |||||||||||||||||||
| vssseg7e16.v v8,(t2),t3,v0.t | 28.00 | 56.00 | 112.40 | 28.00 | 56.00 | 112.08 | 28.00 | 56.00 | 28.00 | |||||||||||||||||||
| vssseg7e16.v v8,(t2),x0 | 28.00 | 56.00 | 112.00 | 28.00 | 56.00 | 112.00 | 28.00 | 56.00 | 28.00 | |||||||||||||||||||
| vssseg7e16.v v8,(t2),x0,v0.t | 28.00 | 56.00 | 112.00 | 28.00 | 56.00 | 112.00 | 28.00 | 56.00 | 28.00 | |||||||||||||||||||
| vssseg7e16.v v8,(t2),t1/*-1*/ | 28.00 | 56.00 | 112.00 | 28.00 | 56.00 | 112.00 | 28.00 | 56.00 | 28.00 | |||||||||||||||||||
| vssseg7e16.v v8,(t2),t1/*-1*/,v0.t | 28.00 | 56.00 | 112.00 | 28.00 | 56.00 | 112.00 | 28.00 | 56.00 | 28.00 | |||||||||||||||||||
| vssseg7e32.v v8,(t2),t3 | 28.00 | 56.60 | 28.00 | 57.20 | 28.00 | 56.85 | 28.00 | |||||||||||||||||||||
| vssseg7e32.v v8,(t2),t3,v0.t | 28.00 | 57.23 | 28.00 | 56.46 | 28.00 | 56.37 | 28.00 | |||||||||||||||||||||
| vssseg7e32.v v8,(t2),x0 | 28.00 | 56.00 | 28.00 | 56.00 | 28.00 | 56.00 | 28.00 | |||||||||||||||||||||
| vssseg7e32.v v8,(t2),x0,v0.t | 28.00 | 56.00 | 28.00 | 56.00 | 28.00 | 56.00 | 28.00 | |||||||||||||||||||||
| vssseg7e32.v v8,(t2),t1/*-1*/ | 28.00 | 56.00 | 28.00 | 56.00 | 28.00 | 56.00 | 28.00 | |||||||||||||||||||||
| vssseg7e32.v v8,(t2),t1/*-1*/,v0.t | 28.00 | 56.00 | 28.00 | 56.00 | 28.00 | 56.00 | 28.00 | |||||||||||||||||||||
| vssseg7e64.v v8,(t2),t3 | 29.73 | 30.59 | 29.18 | 29.82 | ||||||||||||||||||||||||
| vssseg7e64.v v8,(t2),t3,v0.t | 30.03 | 30.20 | 30.29 | 28.42 | ||||||||||||||||||||||||
| vssseg7e64.v v8,(t2),x0 | 28.00 | 28.00 | 28.00 | 28.00 | ||||||||||||||||||||||||
| vssseg7e64.v v8,(t2),x0,v0.t | 28.00 | 28.00 | 28.00 | 28.00 | ||||||||||||||||||||||||
| vssseg7e64.v v8,(t2),t1/*-1*/ | 28.91 | 29.61 | 29.24 | 30.55 | ||||||||||||||||||||||||
| vssseg7e64.v v8,(t2),t1/*-1*/,v0.t | 29.71 | 33.51 | 29.01 | 29.49 | ||||||||||||||||||||||||
| vlsseg8e8.v v8,(t2),t3 | 32.15 | 64.22 | 128.14 | 255.12 | 32.15 | 64.21 | 128.14 | 32.15 | 64.25 | 32.15 | ||||||||||||||||||
| vlsseg8e8.v v8,(t2),t3,v0.t | 32.15 | 64.22 | 128.13 | 255.12 | 32.15 | 64.20 | 128.13 | 32.15 | 64.25 | 32.15 | ||||||||||||||||||
| vlsseg8e8.v v8,(t2),x0 | 32.15 | 64.25 | 128.12 | 255.25 | 32.15 | 64.25 | 128.12 | 32.15 | 64.25 | 32.15 | ||||||||||||||||||
| vlsseg8e8.v v8,(t2),x0,v0.t | 32.15 | 64.25 | 128.12 | 255.25 | 32.15 | 64.25 | 128.12 | 32.15 | 64.25 | 32.15 | ||||||||||||||||||
| vlsseg8e8.v v8,(t2),t1/*-1*/ | 32.15 | 64.25 | 128.12 | 255.12 | 32.15 | 64.25 | 128.12 | 32.15 | 64.25 | 32.15 | ||||||||||||||||||
| vlsseg8e8.v v8,(t2),t1/*-1*/,v0.t | 32.15 | 64.25 | 128.12 | 255.13 | 32.15 | 64.25 | 128.12 | 32.15 | 64.25 | 32.15 | ||||||||||||||||||
| vlsseg8e16.v v8,(t2),t3 | 32.14 | 64.12 | 127.12 | 32.14 | 64.13 | 127.12 | 32.14 | 64.13 | 32.14 | |||||||||||||||||||
| vlsseg8e16.v v8,(t2),t3,v0.t | 32.14 | 64.12 | 127.12 | 32.14 | 64.13 | 127.12 | 32.14 | 64.13 | 32.14 | |||||||||||||||||||
| vlsseg8e16.v v8,(t2),x0 | 32.15 | 64.25 | 127.18 | 32.15 | 64.25 | 127.18 | 32.15 | 64.25 | 32.15 | |||||||||||||||||||
| vlsseg8e16.v v8,(t2),x0,v0.t | 32.15 | 64.25 | 127.18 | 32.15 | 64.25 | 127.18 | 32.15 | 64.25 | 32.15 | |||||||||||||||||||
| vlsseg8e16.v v8,(t2),t1/*-1*/ | 32.15 | 64.24 | 127.18 | 32.15 | 64.24 | 127.18 | 32.15 | 64.23 | 32.15 | |||||||||||||||||||
| vlsseg8e16.v v8,(t2),t1/*-1*/,v0.t | 32.15 | 64.23 | 127.18 | 32.15 | 64.22 | 127.18 | 32.15 | 64.23 | 32.15 | |||||||||||||||||||
| vlsseg8e32.v v8,(t2),t3 | 32.14 | 63.12 | 32.13 | 63.12 | 32.14 | 63.12 | 32.14 | |||||||||||||||||||||
| vlsseg8e32.v v8,(t2),t3,v0.t | 32.14 | 63.12 | 32.14 | 63.12 | 32.13 | 63.12 | 32.16 | |||||||||||||||||||||
| vlsseg8e32.v v8,(t2),x0 | 32.14 | 63.15 | 32.14 | 63.20 | 32.14 | 63.19 | 32.14 | |||||||||||||||||||||
| vlsseg8e32.v v8,(t2),x0,v0.t | 32.14 | 63.17 | 32.14 | 63.19 | 32.14 | 63.16 | 32.15 | |||||||||||||||||||||
| vlsseg8e32.v v8,(t2),t1/*-1*/ | 32.13 | 63.13 | 32.12 | 63.14 | 32.12 | 63.14 | 32.12 | |||||||||||||||||||||
| vlsseg8e32.v v8,(t2),t1/*-1*/,v0.t | 32.13 | 63.14 | 32.12 | 63.14 | 32.13 | 63.13 | 32.13 | |||||||||||||||||||||
| vlsseg8e64.v v8,(t2),t3 | 31.14 | 31.15 | 31.13 | 31.15 | ||||||||||||||||||||||||
| vlsseg8e64.v v8,(t2),t3,v0.t | 31.15 | 31.15 | 31.15 | 31.15 | ||||||||||||||||||||||||
| vlsseg8e64.v v8,(t2),x0 | 31.13 | 31.14 | 31.13 | 31.13 | ||||||||||||||||||||||||
| vlsseg8e64.v v8,(t2),x0,v0.t | 31.13 | 31.14 | 31.14 | 31.13 | ||||||||||||||||||||||||
| vlsseg8e64.v v8,(t2),t1/*-1*/ | 31.18 | 31.17 | 31.19 | 31.18 | ||||||||||||||||||||||||
| vlsseg8e64.v v8,(t2),t1/*-1*/,v0.t | 31.16 | 31.20 | 31.17 | 31.15 | ||||||||||||||||||||||||
| vssseg8e8.v v8,(t2),t3 | 32.00 | 64.00 | 128.00 | 256.00 | 32.00 | 64.00 | 128.00 | 32.00 | 64.00 | 32.00 | ||||||||||||||||||
| vssseg8e8.v v8,(t2),t3,v0.t | 32.00 | 64.00 | 128.00 | 256.00 | 32.00 | 64.00 | 128.00 | 32.00 | 64.00 | 32.00 | ||||||||||||||||||
| vssseg8e8.v v8,(t2),x0 | 32.00 | 64.00 | 128.00 | 256.00 | 32.00 | 64.00 | 128.00 | 32.00 | 64.00 | 32.00 | ||||||||||||||||||
| vssseg8e8.v v8,(t2),x0,v0.t | 32.00 | 64.00 | 128.00 | 256.00 | 32.00 | 64.00 | 128.00 | 32.00 | 64.00 | 32.00 | ||||||||||||||||||
| vssseg8e8.v v8,(t2),t1/*-1*/ | 32.00 | 64.00 | 128.00 | 256.00 | 32.00 | 64.00 | 128.00 | 32.00 | 64.00 | 32.00 | ||||||||||||||||||
| vssseg8e8.v v8,(t2),t1/*-1*/,v0.t | 32.00 | 64.00 | 128.00 | 256.01 | 32.00 | 64.00 | 128.00 | 32.00 | 64.00 | 32.00 | ||||||||||||||||||
| vssseg8e16.v v8,(t2),t3 | 32.00 | 64.00 | 128.47 | 32.00 | 64.00 | 129.05 | 32.00 | 64.00 | 32.00 | |||||||||||||||||||
| vssseg8e16.v v8,(t2),t3,v0.t | 32.00 | 64.00 | 128.46 | 32.00 | 64.00 | 128.21 | 32.00 | 65.40 | 32.00 | |||||||||||||||||||
| vssseg8e16.v v8,(t2),x0 | 32.00 | 64.00 | 128.00 | 32.00 | 64.00 | 128.00 | 32.00 | 64.00 | 32.00 | |||||||||||||||||||
| vssseg8e16.v v8,(t2),x0,v0.t | 32.00 | 64.00 | 128.00 | 32.00 | 64.00 | 128.00 | 32.00 | 64.00 | 32.00 | |||||||||||||||||||
| vssseg8e16.v v8,(t2),t1/*-1*/ | 32.00 | 64.00 | 128.00 | 32.00 | 64.00 | 128.00 | 32.00 | 64.00 | 32.00 | |||||||||||||||||||
| vssseg8e16.v v8,(t2),t1/*-1*/,v0.t | 32.00 | 64.00 | 128.00 | 32.00 | 64.00 | 128.00 | 32.00 | 64.00 | 32.00 | |||||||||||||||||||
| vssseg8e32.v v8,(t2),t3 | 32.00 | 65.41 | 32.73 | 64.57 | 32.00 | 64.05 | 32.00 | |||||||||||||||||||||
| vssseg8e32.v v8,(t2),t3,v0.t | 32.45 | 64.44 | 33.11 | 64.80 | 32.10 | 64.62 | 32.00 | |||||||||||||||||||||
| vssseg8e32.v v8,(t2),x0 | 32.00 | 64.00 | 32.00 | 64.00 | 32.00 | 64.00 | 32.00 | |||||||||||||||||||||
| vssseg8e32.v v8,(t2),x0,v0.t | 32.00 | 64.00 | 32.00 | 64.00 | 32.00 | 64.00 | 32.00 | |||||||||||||||||||||
| vssseg8e32.v v8,(t2),t1/*-1*/ | 32.00 | 64.00 | 32.00 | 64.00 | 32.00 | 64.00 | 32.00 | |||||||||||||||||||||
| vssseg8e32.v v8,(t2),t1/*-1*/,v0.t | 32.00 | 64.00 | 32.00 | 64.00 | 32.00 | 64.00 | 32.00 | |||||||||||||||||||||
| vssseg8e64.v v8,(t2),t3 | 34.99 | 34.92 | 33.90 | 34.69 | ||||||||||||||||||||||||
| vssseg8e64.v v8,(t2),t3,v0.t | 35.01 | 35.00 | 35.01 | 36.18 | ||||||||||||||||||||||||
| vssseg8e64.v v8,(t2),x0 | 35.15 | 35.40 | 34.85 | 34.00 | ||||||||||||||||||||||||
| vssseg8e64.v v8,(t2),x0,v0.t | 33.58 | 33.77 | 34.80 | 33.10 | ||||||||||||||||||||||||
| vssseg8e64.v v8,(t2),t1/*-1*/ | 33.85 | 34.85 | 34.20 | 35.14 | ||||||||||||||||||||||||
| vssseg8e64.v v8,(t2),t1/*-1*/,v0.t | 33.62 | 33.59 | 33.47 | 33.80 | ||||||||||||||||||||||||
| vandn.vv v8,v16,v24 | 1.00 | 1.00 | 1.00 | 1.00 | 2.00 | 4.00 | 8.00 | 1.00 | 1.00 | 1.00 | 2.00 | 4.00 | 8.00 | 1.00 | 1.00 | 2.00 | 4.00 | 8.00 | 1.00 | 2.00 | 4.00 | 8.00 | ||||||
| vandn.vv v8,v16,v24,v0.t | 1.00 | 1.00 | 1.00 | 1.00 | 2.00 | 4.00 | 8.00 | 1.00 | 1.00 | 1.00 | 2.00 | 4.00 | 8.00 | 1.00 | 1.00 | 2.00 | 4.00 | 8.00 | 1.00 | 2.00 | 4.00 | 8.00 | ||||||
| vandn.vx v8,v16,t0 | 1.06 | 1.06 | 1.06 | 1.06 | 2.00 | 4.00 | 8.00 | 1.06 | 1.06 | 1.06 | 2.00 | 4.00 | 8.00 | 1.06 | 1.06 | 2.00 | 4.00 | 8.00 | 1.06 | 2.00 | 4.00 | 8.00 | ||||||
| vandn.vx v8,v16,t0,v0.t | 1.06 | 1.06 | 1.06 | 1.06 | 2.00 | 4.00 | 8.00 | 1.06 | 1.06 | 1.06 | 2.00 | 4.00 | 8.00 | 1.06 | 1.06 | 2.00 | 4.00 | 8.00 | 1.06 | 2.00 | 4.00 | 8.00 | ||||||
| vbrev.v v8,v16 | 1.00 | 1.00 | 1.00 | 2.00 | 4.00 | 8.00 | 16.00 | 1.00 | 1.00 | 2.00 | 4.00 | 8.00 | 16.00 | 1.00 | 2.00 | 4.00 | 8.00 | 16.00 | 2.00 | 4.00 | 8.00 | 16.00 | ||||||
| vbrev.v v8,v16,v0.t | 1.00 | 1.00 | 1.00 | 2.00 | 4.00 | 8.00 | 16.00 | 1.00 | 1.00 | 2.00 | 4.00 | 8.00 | 16.00 | 1.00 | 2.00 | 4.00 | 8.00 | 16.00 | 2.00 | 4.00 | 8.00 | 16.00 | ||||||
| vbrev8.v v8,v16 | 1.00 | 1.00 | 1.00 | 2.00 | 4.00 | 8.00 | 16.00 | 1.00 | 1.00 | 2.00 | 4.00 | 8.00 | 16.00 | 1.00 | 2.00 | 4.00 | 8.00 | 16.00 | 2.00 | 4.00 | 8.00 | 16.00 | ||||||
| vbrev8.v v8,v16,v0.t | 1.00 | 1.00 | 1.00 | 2.00 | 4.00 | 8.00 | 16.00 | 1.00 | 1.00 | 2.00 | 4.00 | 8.00 | 16.00 | 1.00 | 2.00 | 4.00 | 8.00 | 16.00 | 2.00 | 4.00 | 8.00 | 16.00 | ||||||
| vclz.v v8,v16 | 1.00 | 1.00 | 1.00 | 2.00 | 4.00 | 8.00 | 16.00 | 1.00 | 1.00 | 2.00 | 4.00 | 8.00 | 16.00 | 1.00 | 2.00 | 4.00 | 8.00 | 16.00 | 2.00 | 4.00 | 8.00 | 16.00 | ||||||
| vclz.v v8,v16,v0.t | 1.00 | 1.00 | 1.00 | 2.00 | 4.00 | 8.00 | 16.00 | 1.00 | 1.00 | 2.00 | 4.00 | 8.00 | 16.00 | 1.00 | 2.00 | 4.00 | 8.00 | 16.00 | 2.00 | 4.00 | 8.00 | 16.00 | ||||||
| vctz.v v8,v16 | 1.00 | 1.00 | 1.00 | 2.00 | 4.00 | 8.00 | 16.00 | 1.00 | 1.00 | 2.00 | 4.00 | 8.00 | 16.00 | 1.00 | 2.00 | 4.00 | 8.00 | 16.00 | 2.00 | 4.00 | 8.00 | 16.00 | ||||||
| vctz.v v8,v16,v0.t | 1.00 | 1.00 | 1.00 | 2.00 | 4.00 | 8.00 | 16.00 | 1.00 | 1.00 | 2.00 | 4.00 | 8.00 | 16.00 | 1.00 | 2.00 | 4.00 | 8.00 | 16.00 | 2.00 | 4.00 | 8.00 | 16.00 | ||||||
| vcpop.v v8,v16 | 1.00 | 1.00 | 1.00 | 2.00 | 4.00 | 8.00 | 16.00 | 1.00 | 1.00 | 2.00 | 4.00 | 8.00 | 16.00 | 1.00 | 2.00 | 4.00 | 8.00 | 16.00 | 2.00 | 4.00 | 8.00 | 16.00 | ||||||
| vcpop.v v8,v16,v0.t | 1.00 | 1.00 | 1.00 | 2.00 | 4.00 | 8.00 | 16.00 | 1.00 | 1.00 | 2.00 | 4.00 | 8.00 | 16.00 | 1.00 | 2.00 | 4.00 | 8.00 | 16.00 | 2.00 | 4.00 | 8.00 | 16.00 | ||||||
| vrol.vv v8,v16,v24 | 1.00 | 1.00 | 1.00 | 2.00 | 4.00 | 8.00 | 16.00 | 1.00 | 1.00 | 2.00 | 4.00 | 8.00 | 16.00 | 1.00 | 2.00 | 4.00 | 8.00 | 16.00 | 2.00 | 4.00 | 8.00 | 16.00 | ||||||
| vrol.vv v8,v16,v24,v0.t | 1.00 | 1.00 | 1.00 | 2.00 | 4.00 | 8.00 | 16.00 | 1.00 | 1.00 | 2.00 | 4.00 | 8.00 | 16.00 | 1.00 | 2.00 | 4.00 | 8.00 | 16.00 | 2.00 | 4.00 | 8.00 | 16.00 | ||||||
| vrol.vx v8,v16,t0 | 1.06 | 1.06 | 1.06 | 2.00 | 4.00 | 8.00 | 16.00 | 1.06 | 1.06 | 2.00 | 4.00 | 8.00 | 16.00 | 1.06 | 2.00 | 4.00 | 8.00 | 16.00 | 2.00 | 4.00 | 8.00 | 16.00 | ||||||
| vrol.vx v8,v16,t0,v0.t | 1.06 | 1.06 | 1.06 | 2.00 | 4.00 | 8.00 | 16.00 | 1.06 | 1.06 | 2.00 | 4.00 | 8.00 | 16.00 | 1.06 | 2.00 | 4.00 | 8.00 | 16.00 | 2.00 | 4.00 | 8.00 | 16.00 | ||||||
| vror.vv v8,v16,v24 | 1.00 | 1.00 | 1.00 | 2.00 | 4.00 | 8.00 | 16.00 | 1.00 | 1.00 | 2.00 | 4.00 | 8.00 | 16.00 | 1.00 | 2.00 | 4.00 | 8.00 | 16.00 | 2.00 | 4.00 | 8.00 | 16.00 | ||||||
| vror.vv v8,v16,v24,v0.t | 1.00 | 1.00 | 1.00 | 2.00 | 4.00 | 8.00 | 16.00 | 1.00 | 1.00 | 2.00 | 4.00 | 8.00 | 16.00 | 1.00 | 2.00 | 4.00 | 8.00 | 16.00 | 2.00 | 4.00 | 8.00 | 16.00 | ||||||
| vror.vx v8,v16,t0 | 1.06 | 1.06 | 1.06 | 2.00 | 4.00 | 8.00 | 16.00 | 1.06 | 1.06 | 2.00 | 4.00 | 8.00 | 16.00 | 1.06 | 2.00 | 4.00 | 8.00 | 16.00 | 2.00 | 4.00 | 8.00 | 16.00 | ||||||
| vror.vx v8,v16,t0,v0.t | 1.06 | 1.06 | 1.06 | 2.00 | 4.00 | 8.00 | 16.00 | 1.06 | 1.06 | 2.00 | 4.00 | 8.00 | 16.00 | 1.06 | 2.00 | 4.00 | 8.00 | 16.00 | 2.00 | 4.00 | 8.00 | 16.00 | ||||||
| vwsll.vv v8,v16,v24 | 1.00 | 1.00 | 2.00 | 4.00 | 8.00 | 16.00 | 1.00 | 2.00 | 4.00 | 8.00 | 16.00 | 2.00 | 4.00 | 8.00 | 16.00 | |||||||||||||
| vwsll.vv v8,v16,v24,v0.t | 1.00 | 1.00 | 2.00 | 4.00 | 8.00 | 16.00 | 1.00 | 2.00 | 4.00 | 8.00 | 16.00 | 2.00 | 4.00 | 8.00 | 16.00 | |||||||||||||
| vwsll.vx v8,v16,t0 | 1.06 | 1.06 | 2.00 | 4.00 | 8.00 | 16.00 | 1.06 | 2.00 | 4.00 | 8.00 | 16.00 | 2.00 | 4.00 | 8.00 | 16.00 | |||||||||||||
| vwsll.vx v8,v16,t0,v0.t | 1.06 | 1.06 | 2.00 | 4.00 | 8.00 | 16.00 | 1.06 | 2.00 | 4.00 | 8.00 | 16.00 | 2.00 | 4.00 | 8.00 | 16.00 | |||||||||||||
| vclmul.vv v8,v16,v24 | 2.00 | 4.00 | 8.00 | 16.00 | ||||||||||||||||||||||||
| vclmul.vv v8,v16,v24,v0.t | 2.00 | 4.00 | 8.00 | 16.00 | ||||||||||||||||||||||||
| vclmul.vx v8,v16,t0 | 2.00 | 4.00 | 8.00 | 16.00 | ||||||||||||||||||||||||
| vclmul.vx v8,v16,t0,v0.t | 2.00 | 4.00 | 8.00 | 16.00 | ||||||||||||||||||||||||
| vclmulh.vv v8,v16,v24 | 2.00 | 4.00 | 8.00 | 16.00 | ||||||||||||||||||||||||
| vclmulh.vv v8,v16,v24,v0.t | 2.00 | 4.00 | 8.00 | 16.00 | ||||||||||||||||||||||||
| vclmulh.vx v8,v16,t0 | 2.00 | 4.00 | 8.00 | 16.00 | ||||||||||||||||||||||||
| vclmulh.vx v8,v16,t0,v0.t | 2.00 | 4.00 | 8.00 | 16.00 | ||||||||||||||||||||||||
| vghsh.vv v8,v16,v24 | 2.00 | 4.00 | 8.00 | 16.00 | ||||||||||||||||||||||||
| vgmul.vv v8,v16 | 2.00 | 4.00 | 8.00 | 16.00 |
Below are measurements for the scalar instructions, however they weren't measured without register interleaving, and might thus be closer to latency than throughput:
| instruction | cycles |
|---|---|
| add t0, t1, t2 | 0.34 |
| addw t0, t1, t2 | 0.34 |
| addi t0, t1, 13 | 0.34 |
| addiw t0, t1, 13 | 0.34 |
| sub t0, t1, t2 | 0.34 |
| subw t0, t1, t2 | 0.34 |
| lui t0, 13 | 0.34 |
| auipc t0, 13 | 1.00 |
| xor t0, t1, t2 | 0.34 |
| xori t0, t1, 13 | 0.34 |
| or t0, t1, t2 | 0.34 |
| ori t0, t1, 13 | 0.34 |
| and t0, t1, t2 | 0.34 |
| andi t0, t1, 13 | 0.34 |
| slt t0, t1, t2 | 0.34 |
| slti t0, t1, 13 | 0.34 |
| sltu t0, t1, t2 | 0.34 |
| sltiu t0, t1, 13 | 0.34 |
| sll t0, t1, t2 | 0.34 |
| sllw t0, t1, t2 | 0.34 |
| slli t0, t1, 13 | 0.34 |
| slliw t0, t1, 13 | 0.34 |
| srl t0, t1, t2 | 0.34 |
| srlw t0, t1, t2 | 0.34 |
| srli t0, t1, 13 | 0.34 |
| srliw t0, t1, 13 | 0.34 |
| sra t0, t1, t2 | 0.34 |
| sraw t0, t1, t2 | 0.34 |
| srai t0, t1, 13 | 0.34 |
| sraiw t0, t1, 13 | 0.34 |
| lb t0, 13(s1) | 0.50 |
| lh t0, 13(s1) | 0.50 |
| lw t0, 13(s1) | 0.50 |
| ld t0, 13(s1) | 0.50 |
| lbu t0, 13(s1) | 0.50 |
| lhu t0, 13(s1) | 0.50 |
| lwu t0, 13(s1) | 0.50 |
| sb t0, 13(s1) | 1.00 |
| sh t0, 13(s1) | 1.00 |
| sw t0, 13(s1) | 2.02 |
| sd t0, 13(s1) | 2.02 |
| mul t0, t1, t2 | 1.00 |
| mulh t0, t1, t2 | 1.00 |
| mulhsu t0, t1, t2 | 1.00 |
| mulhu t0, t1, t2 | 1.00 |
| mulw t0, t1, t2 | 1.00 |
| div t0, t1, t2 | 3.65 |
| divw t0, t1, t2 | 4.10 |
| divu t0, t1, t2 | 3.75 |
| divuw t0, t1, t2 | 3.85 |
| rem t0, t1, t2 | 3.50 |
| remw t0, t1, t2 | 3.80 |
| remu t0, t1, t2 | 3.65 |
| remuw t0, t1, t2 | 3.65 |
| lr.w t0, (s1) | 6.00 |
| lr.d t0, (s1) | 6.00 |
| sc.w t0, t1, (s1) | 10.00 |
| sc.d t0, t1, (s1) | 10.00 |
| amoswap.w t0, t1, (s1) | 16.53 |
| amoswap.d t0, t1, (s1) | 16.79 |
| amoadd.w t0, t1, (s1) | 16.53 |
| amoadd.d t0, t1, (s1) | 16.53 |
| amoxor.w t0, t1, (s1) | 16.53 |
| amoxor.d t0, t1, (s1) | 16.79 |
| amoand.w t0, t1, (s1) | 16.53 |
| amoand.d t0, t1, (s1) | 16.53 |
| amoor.w t0, t1, (s1) | 16.53 |
| amoor.d t0, t1, (s1) | 16.79 |
| amomin.w t0, t1, (s1) | 16.53 |
| amomin.d t0, t1, (s1) | 16.53 |
| amomax.w t0, t1, (s1) | 16.53 |
| amomax.d t0, t1, (s1) | 16.79 |
| amominu.w t0, t1, (s1) | 16.53 |
| amominu.d t0, t1, (s1) | 16.53 |
| amomaxu.w t0, t1, (s1) | 16.53 |
| amomaxu.d t0, t1, (s1) | 16.79 |
| fmv.w.x ft0, t0 | 0.50 |
| fmv.x.w t0, ft0 | 0.57 |
| fcvt.w.s t0, ft0 | 1.16 |
| fcvt.wu.s t0, ft0 | 1.16 |
| fcvt.s.w ft0, t0 | 1.50 |
| fcvt.s.wu ft0, t0 | 1.50 |
| fcvt.l.s t0, ft0 | 1.16 |
| fcvt.lu.s t0, ft0 | 1.16 |
| fcvt.s.l ft0, t0 | 1.50 |
| fcvt.s.lu ft0, t0 | 1.50 |
| flw ft0, 13(s1) | 0.50 |
| fsw ft0, 13(s1) | 2.02 |
| fadd.s ft0, ft1, ft2 | 0.50 |
| fsub.s ft0, ft1, ft2 | 0.50 |
| fmul.s ft0, ft1, ft2 | 0.50 |
| fdiv.s ft0, ft1, ft2 | 9.36 |
| fsqrt.s ft0, ft1 | 7.13 |
| fmadd.s ft0, ft1, ft2, ft3 | 0.50 |
| fmsub.s ft0, ft1, ft2, ft3 | 0.50 |
| fnmsub.s ft0, ft1, ft2, ft3 | 0.50 |
| fnmadd.s ft0, ft1, ft2, ft3 | 0.50 |
| fsgnj.s ft0, ft1, ft2 | 0.50 |
| fsgnjn.s ft0, ft1, ft2 | 0.50 |
| fsgnjx.s ft0, ft1, ft2 | 0.50 |
| fmin.s ft0, ft1, ft2 | 0.50 |
| fmax.s ft0, ft1, ft2 | 0.50 |
| feq.s t0, ft0, ft1 | 0.64 |
| flt.s t0, ft0, ft1 | 0.64 |
| fle.s t0, ft0, ft1 | 0.64 |
| fclass.s t0, ft0 | 0.57 |
| fmv.d.x ft0, t0 | 0.50 |
| fmv.x.d t0, ft0 | 0.57 |
| fcvt.w.d t0, ft0 | 1.16 |
| fcvt.wu.d t0, ft0 | 1.16 |
| fcvt.d.w ft0, t0 | 1.50 |
| fcvt.d.wu ft0, t0 | 1.50 |
| fcvt.l.d t0, ft0 | 1.16 |
| fcvt.lu.d t0, ft0 | 1.16 |
| fcvt.d.l ft0, t0 | 1.50 |
| fcvt.d.lu ft0, t0 | 1.50 |
| fld ft0, 13(s1) | 0.50 |
| fsd ft0, 13(s1) | 2.02 |
| fadd.d ft0, ft1, ft2 | 0.50 |
| fsub.d ft0, ft1, ft2 | 0.50 |
| fmul.d ft0, ft1, ft2 | 0.50 |
| fdiv.d ft0, ft1, ft2 | 5.00 |
| fsqrt.d ft0, ft1 | 5.00 |
| fmadd.d ft0, ft1, ft2, ft3 | 0.50 |
| fmsub.d ft0, ft1, ft2, ft3 | 0.50 |
| fnmsub.d ft0, ft1, ft2, ft3 | 0.50 |
| fnmadd.d ft0, ft1, ft2, ft3 | 0.50 |
| fsgnj.d ft0, ft1, ft2 | 0.50 |
| fsgnjn.d ft0, ft1, ft2 | 0.50 |
| fsgnjx.d ft0, ft1, ft2 | 0.50 |
| fmin.d ft0, ft1, ft2 | 0.50 |
| fmax.d ft0, ft1, ft2 | 0.50 |
| feq.d t0, ft0, ft1 | 0.64 |
| flt.d t0, ft0, ft1 | 0.64 |
| fle.d t0, ft0, ft1 | 0.64 |
| fclass.d t0, ft0 | 0.57 |
| add.uw t0, t1, t2 | 0.34 |
| sh1add t0, t1, t2 | 0.34 |
| sh1add.uw t0, t1, t2 | 0.34 |
| sh2add t0, t1, t2 | 0.34 |
| sh2add.uw t0, t1, t2 | 0.34 |
| sh3add t0, t1, t2 | 0.34 |
| sh3add.uw t0, t1, t2 | 0.34 |
| slli.uw t0, t1, 13 | 0.34 |
| zext.w t0, t1 | 0.34 |
| andn t0, t1, t2 | 0.34 |
| orn t0, t1, t2 | 0.34 |
| xnor t0, t1, t2 | 0.34 |
| clz t0, t1 | 0.34 |
| clzw t0, t1 | 0.34 |
| ctz t0, t1 | 0.34 |
| ctzw t0, t1 | 0.34 |
| cpop t0, t1 | 0.34 |
| cpopw t0, t1 | 0.34 |
| max t0, t1, t2 | 0.34 |
| maxu t0, t1, t2 | 0.34 |
| min t0, t1, t2 | 0.34 |
| minu t0, t1, t2 | 0.34 |
| sext.b t0, t1 | 0.34 |
| sext.h t0, t1 | 0.34 |
| zext.h t0, t1 | 0.34 |
| rol t0, t1, t2 | 0.34 |
| rolw t0, t1, t2 | 0.34 |
| ror t0, t1, t2 | 0.34 |
| rori t0, t1, 13 | 0.34 |
| roriw t0, t1, 13 | 0.34 |
| rorw t0, t1, t2 | 0.34 |
| orc.b t0, t1 | 0.34 |
| rev8 t0, t1 | 0.34 |
| clmul t0, t1, t2 | 0.34 |
| clmulh t0, t1, t2 | 0.34 |
| clmulr t0, t1, t2 | 0.34 |
| bclr t0, t1, t2 | 0.34 |
| bclri t0, t1, 13 | 0.34 |
| bext t0, t1, t2 | 0.34 |
| bexti t0, t1, 13 | 0.34 |
| binv t0, t1, t2 | 0.34 |
| binvi t0, t1, 13 | 0.34 |
| bset t0, t1, t2 | 0.34 |
| bseti t0, t1, 13 | 0.34 |